|
|
|
МИНИСТЕРСТВО ТРАНСПОРТНОГО СТРОИТЕЛЬСТВА ВСЕСОЮЗНЫЙ ПРОЕКТНО-ТЕХНОЛОГИЧЕСКИЙ ИНСТИТУТ ТРАНСПОРТНОГО СТРОИТЕЛЬСТВА "ВПТИTPAHCCTPOЙ" ТЕХНОЛОГИЧЕСКИЕ КАРТЫ Москва 1980 СОДЕРЖАНИЕ
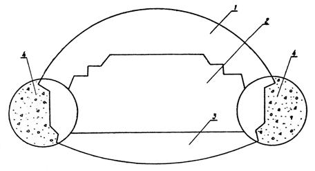
Технологические карты составлены отделом внедрения передовой технологии и организации строительства тоннелей и метрополитенов (исполнитель Д.Л. Штерн) института "ВПТИтрансстрой". ОБЩАЯ ЧАСТЬСборник технологических карт разработан на основе методов научной организации труда и предназначен для использования при составлении проектов производства работ и организации труда при сооружении односводчатой станции метрополитена глубокого заложения со сборной железобетонной обделкой, обжатой в грунт. Сборник состоит из шести карт: Карта № 1 Сооружение боковых тоннелей диаметром 5,5 м горным способом при помощи блокоукладчика со сборной железобетонной обделкой, обжатой в грунт, для опорных фундаментов. Карта № 2 Бетонирование монолитных опорных фундаментов станции с применением инвентарной металлической опалубки. Карта № 3 Сооружение верхнего свода станции со сборной железобетонной обделкой. Карта № 4 Обжатие арок обделки в грунт и нагнетание цементно-песчаного раствора за обделку верхнего свода станции. Карта № 5 Механизированная разработка ядра односводчатой станции глубокого заложения. Карта № 6 Сооружение обратного свода станции со сборной железобетонной обделкой, обжатой в грунт. Сооружение односводчатой станции глубокого заложения предусматривается в устойчивых сухих грунтах III – IV категории, типа протерозойских или спондиловых глин, часто встречающихся при строительстве метрополитенов в Ленинграде и Киеве. Односводчатые станции глубокого заложения сооружаются из сборного железобетона с обжатием обделки в грунт. Односводчатая станция в крепких устойчивых грунтах VI - VII категорий с бетонной монолитной обделкой сооружена на Тбилисском метрополитене (ст. "Политехническая"). Односводчатые станции метрополитена глубокого заложения более экономичны и значительно обогащают архитектурный облик метрополитенов, имеют эксплуатационные преимущества на пассажиронапряженных станциях. Технологические карты разработаны на основе опыта сооружения станций "Площадь Мужества": и "Политехническая" Ленинградского метрополитена. Обделка тоннеля односводчатой станции в условиях полного отсутствия грунтовых вод состоит из 13 блоков в верхнем своде и 10 блоков в обратном. Мероприятия по обеспечению водонепроницаемости тела блоков и сочленений блоков между собой проектом не предусматриваются. Конструкция односводчатой станции может быть продолжена за пределы посадочных платформ для размещения в этой удлиненной части станционной тяговой понизительной подстанции, вентиляционных камер, водоотливных установок и других обустройств для обеспечения эксплуатации линии, что исключает строительство отдельных камер для указанных обустройств и снижает затраты труда. Обделка станции, обжатая в грунт, снижает до минимальных размеров оседание грунта над шелыгой свода. Максимальная осадка грунта на сооруженных станциях "Площадь Мужества" и "Политехническая" составила 90 мм, при этом нарушений устойчивости строений и коммуникаций не было. Общие объемы работ на сооружение 1 м односводчатой станции (рис. 1) составляют: Разработка грунта, м3 224 в том числе механизированным способом 96 Монтаж сборного железобетона, м3 30,5 Установка арматуры, т 10,5 Укладка монолитного бетона, м3 47,3 Привязка карт с учетом местных условий строительства, состоит в уточнении геологических и гидрогеологических, условий заложения станции, уточнении объемов работ, затрат труда и материально-технических ресурсов.
Рис. 1. Конструкция односводчатой станции: 1 - верхний свод; 2 - обратный свод; 3 - опорные фундаменты ТЕХНОЛОГИЧЕСКАЯ КАРТА № 1
|
|||||||||||||||||||||||||||||||||||||||||||||||||||||||||||||||||||||||||||||||||||||||||||||||||||||||||||||||||||||||||||||||||||||||||||||||||||||||||||||||||||||||||||||||||||||||||||||||||||||||||||||||||||||||||||||||||||||||||||||||||||||||||||||||||||||||||||||||||||||||||||||||||||||||||||||||||||||||||||||||||||||||||||||||||||||||||||||||||||||||||||||||||||||||||||||||||||||||||||||||||||||||||||||||||||||||||||||||||||||||||||||||||||||||||||||||||||||||||||||||||||||||||||||||||||||||||||||||||||||||||||||||||||||||||||||||||||||||||||||||||||||||||||||||||||||||||||||||||||||||||||||||||||||||||||||||||||||||||||||||||||||||||||||||||||||||||||||||||||||||||||||||||||||||||||||||||||||||||||||||||||||||||||||||||||||||||||||||||||||||||||||||||||||||||||||||||||||||||||||||||||||||||||||||||||||||||||||||||||||||||||||||||||||||||||||||||||||||||||||||||||||||||||||||||||||||||||||||||||||||||||||||||||||||||||||||||||||||||||||||||||||||||||||||||||||||||||||||||||||||
|
№ пп |
Шифр нормативного источника |
Состав бригады |
Описание. работ |
Единица измерения |
Объем работ |
На единицу измерения |
На весь объем работ |
||
|
Норма времени, чел-ч |
расценка, руб.-коп. |
Нормативное время, чел-ч |
сумма заработной платы, руб.-коп. |
||||||
|
1 |
2 |
3 |
4 |
5 |
б |
7 |
8 |
9 |
10 |
|
1 |
ЕНиР § 36-2-40 табл. 2 примечание п. 3б К = 0,8 |
Проходчики: 6 разр. - 1 4 " -1 |
Разработка грунта с установкой и разборкой временной крепи |
м3 |
25 |
1,15 |
1-36 |
28,8 |
34-00 |
|
2 |
ЕНиР § 36-2-117 табл. 3 п. 3б |
Проходчик 5 разр. – 1 |
Погрузка грунта породопогрузочной машиной в вагонетки |
м3 |
25 |
0,12 |
0-14,2. |
3,0 |
3,55 |
|
3 |
§ TI27-1-7 п. 1 |
Проходчики: 6 разр. - 1 5 " - 1 4 " - 1 |
Монтаж железобетонных обделок тоннелей диаметром 5,5 - 6 м, обжатых в породу |
кольцо |
1 |
8,3 |
.10-01 |
8,3 |
10-01 |
|
4 |
§ 36-2-78 табл. 1 п. 1 |
Проходчики: 6 разр. - 1 5 " - 1 4 " -2 Машинист. 5 разр. - 1 |
Передвижка укладчика тоннельной обделки |
м |
1 |
линейного 0,26 |
1-82 |
1,3 |
1-52 |
|
5 |
ЕНиР § 32-2-82 |
Проходчик 4 разр. - 1 |
Передвижка металлической платформы под блокоукладчиком |
м |
1 |
0,66 |
0-68,2 |
0,66 |
0-68,2 |
|
6 |
ЕНиР § 36-2-137 |
Проходчик 4 разр. - 1 .Крепильщик 3 разр. - 1 |
Укладка и разборка узкоколейного пути |
м |
2 |
0,2 |
0-19,5 |
0,4 |
0-39 |
|
7 |
ТНиР T127-1-7 |
Машинист 3 разр. - 1 |
Работа машиниста блокоукладчика |
Кольцо |
1 |
1,38 |
1-27 |
1,38 |
1-27 |
|
|
Итого: |
43,84 |
51-49 |
||||||
|
Всего: |
(чел.-дн.) |
6,08 |
|
||||||
VI. Основные технико-экономические показатели
|
Наименование показателей |
Единица измерения |
По калькуляции А |
По графику Б |
На сколько процентов показатели по графику больше (+) или меньше (-), чем по калькуляции
|
|
Трудоемкость работ по сооружению 1 м тоннеля |
чел-дн |
6,08 |
4,08 |
-20,07 |
|
Средний разряд рабочих |
|
5,0 |
4,63 |
-7,4 |
VII. Материально-технические ресурсы для сооружении 1 м тоннеля
А. Основные материалы и конструкции
|
Наименование |
ГОСТ, марка и № чертежа |
Количество |
|
Железобетонные блоки 5БН-2, шт. |
чертеж Ленгипротранса № |
8 |
|
Железобетонные блоки 5БЛ-2, шт. |
-"- |
2 |
|
Вкладыши К-1, К-1a и C-1, шт. |
-"- |
5 |
|
Шпильки металлические |
-"- |
18 |
|
Бетонная смесь М-200, м3 |
0,08 |
|
|
Рельсы Р24, кг |
ГОСТ 5876-51 |
72,4 |
|
Накладки рельсовые, шт. |
4 |
|
|
Пиломатериалы хвойных пород, м3 |
6,5 |
Б. Машины, оборудование, инструмент, инвентарь
|
Наименование |
Марка, ГОСТ, № чертежа |
Количество |
|
Тоннельный укладчик |
ТУ-1ГП Московский механический завод Главтоннельметростроя |
1 |
|
Тюбинговозки |
БЛ-6А |
12 |
|
Вагонетки глухие вместимостью 1,5 м3 |
ГОСТ 15174-70 |
50 |
|
Электровозы |
7КР-660 |
2 |
|
Погрузочная машина |
ППМ-4 |
I |
|
№ п |
Контролируемые параметры |
предельные отклонения |
Схема обделки тоннеля с указанием предельных отклонений |
Примечания. |
|
|
|
1 |
Диаметр обделки |
Δ1, Δ2 = ±50 |
1. Усилие разжатия кольца должно быть не более 30 т |
|
||
|
2 |
Положение оси тоннеля в плане и профиле |
Δ3 = ±40 |
2. Боковые стороны блоков должны быть очищены |
|||
|
3. Все пустоты между обделкой и грунтом должны быть заполнены путем нагнетания цементно-песчаным раствором |
||||||
|
3 |
Положение лотковых балок |
Δ4 = 5± |
|
|||
|
ВТУ Т-4-55 Минтрансстроя, СНиП III-44-77 |
4. При разработке тоннеля перебор породы по наружному диаметру может быть не более 50 мм |
|||||
|
I |
Основные операции, подлежащие контролю |
Разработка породы |
Сборка кольца |
Монтаж и разжатие обделки |
||
|
II |
Состав контроля |
Оконтуривание забоя без перебора профиля. Забутовка переборов породы в сечении забоя |
Положение собранного кольца в плане и профиле |
Усилие разжатия кольца, диаметры кольца горизонтальные, вертикальные- и под углом 45° |
|
|
|
III |
Метод и средства контроля |
Визуальный |
Измерительный теодолит, отвес |
Визуальный, измерительный манометр, нивелир, рулетка металлическая |
|
|
|
IV |
Режим и объем контроля |
Сплошной |
Каждое кольцо |
Каждое кольцо |
|
|
|
V |
Лидо, контролирующее операцию |
Начальник смены |
Начальник смены Сменный маркшейдер |
Начальник смены Сменный маркшейдер |
|
|
|
VI |
Лицо, ответственное за организацию и осуществление контроля |
Начальник участка |
|
|||
|
VII |
Привлекаемые для контроля подразделения |
- |
Маркшейдерская служба |
Маркшейдерская служба |
|
|
|
VIII |
Где регистрируются результаты контроля |
Журнал горных работ |
Журнал горных работ |
Журнал горных работ |
|
|
|
||||||
Пяты многошарнирных арок верхнего и обратного сводов станции из сборных железобетонных блоков опираются на массивные монолитные бетонные опоры. Эти же опоры воспринимают усилия распора от разжатия блоков в арках. Опорные фундаменты сооружаются в боковых ранее пройденных тоннелях диаметром 5,5 м. Фундаменты образуют путевые стены станции и имеют ниши для размещения в них батарей кабельных труб (рис. 3).
Конструкция жесткой передвижной металлической опалубки изготовляется применительно к общему проекту строящейся станции.
Для бетонирования фундамента применяется бетон марки 300.
Бетонирование фундамента производится заходками по 6 м.
Перед укладкой бетона в очередную заходку в местах опоры пят арок верхнего и обратного сводов устанавливают металлические плиты и несколько арматурных сеток под ними. В этих местах для ликвидации пустот закладываются трубки для нагнетания цементного раствора. Выстойка бетона предусмотрена в течение суток, после чего опалубка переносится на следующую заходку.
Бетонирование фундамента в боковом тоннеле начинается после проходки тоннеля на всю длину и выполняется в обратном направлении.
После разборки опалубки к закладным деталям привариваются консоли из двутавровых балок № 36, по которым укладывается в дальнейшем путь для блокоукладочной фермы, при помощи которой монтируются арки верхнего свода, по этим же путям перемещается кран-балка для монтажа блоков обратного свода станции.

Рис. 3. Сечение опорного фундамента односводчатой станции глубокого заложения:
1 - обделка тоннеля; 2 - тело фундамента; 3 - арматурные сетки; 4 - опорный металлический лист
Металлическая опалубка устанавливается под маркшейдерским контролем.
Для спуска бетона с поверхности пробуривается скважина диаметром 400 мм и оборудуется приемный бункер для бетона. Под скважиной в тоннеле оборудуются обустройства и устанавливается пневмобетоноукладчик типа ПН-0,5 для подачи бетонной массы в подготовленный отсек фундамента.
Для производства работ применяются лебедка грузоподъемностью 0,5 т, таль ручная, набор ключей и другой инструмент.
II. Указания по технологии производственного процесса
В технологической карте заложена цикличная организация бетонирования опорных фундаментов станции заходками по 6 м.
Карта охватывает следующие процессы:
перестановку передвижной металлической опалубки для возведения бесшовных бетонных фундаментов;
установку закладных деталей, арматурных сеток, металлических опорных листов, двутавровых балок;
приемку бетона с самосвала и спуск в тоннель по скважине;
приемку бетона внизу скважины;
укладку бетона в фундамент при помощи пневмобетоноукладчика;
извлечение одиночных железобетонных блоков из обделки опорного тоннеля.
Цикл работ рассчитан на 6 рабочих смен при двухсменной работе в сутки.
До начала работ должна быть пробурена скважина для подачи бетона с обсадной трубой диаметром 400 мм и обустроен спускной пункт у устья скважины и приемный пункт внизу, установлен пневмобетоноукладчик с прокладкой трубопроводов, проложена звуковая и световая сигнализация между двумя пунктами: у скважины с пневмобетоноукладчиком и у места бетонирования. Доставлен комплект металлической опалубки и все закладные детали.
При бетонировании бесшовных бетонных фундаментов должны соблюдаться правила укладки бетонной смеси в массивы согласно СНиП III-44-77 § 5.14. Особое внимание надо обращать на качественное уплотнение бетона с учетом требований карты операционного контроля качества.
Все работы по возведению опорных фундаментов односводчатой станции следует вести в строгом соответствии с требованиями следующей технической документации:
Правилами техники безопасности и производственной санитарии при строительстве метрополитенов и тоннелей (М., Оргтрансстрой, 1975), СНиПом III-А.11-70 и сборником изменений и дополнений главы СНиПа III-А.11-70 "Техника безопасности в строительстве" (М., 1974) и типовыми инструкциями по охране труда: для бетонщиков (М., Оргтрансстрой, 1976), для электрослесаря на проходке при сооружении метрополитенов (М., Оргтрансстрой, 1973).
Операционный контроль качества работ осуществляет начальник смены в соответствии с требованиями СНиП III-44-77 и КОКК настоящей технологической карты (раздел VIII).
.Техника безопасности
Передвижная опалубка, тележки для монтажа, демонтажа и перестановки опалубки должны быть изготовлены по проекту, иметь паспорт предприятия-изготовителя и приниматься в эксплуатацию комиссией с участием главного инженера и главного механика строительства, начальника участка и представителя ГТИ.
Рабочий настил лесов для монтажа арматуры бетонирования должен иметь ширину не менее 1 м и надежное ограждение.
Перед началом укладки бетонной смеси представитель технического надзора обязан проверить надежность крепления опалубки, поддерживающих лесов, рабочих подмостей и настилов.
Каждый элемент сборной опалубки разрешается устанавливать лишь после надежного закрепления ранее установленного элемента.
Опалубку можно разбирать только с разрешения начальника смены или участка.
При подаче бетонной смеси бетононасосом или пневмобетоноукладчиком необходимо тщательно следить за надежным креплением бетоновода на всем его протяжении и за плотным соединением между собой отдельных его звеньев. У выходного отверстия бетоновода должен быть установлен козырек-отражатель. При продувке бетоновода сжатым воздухом опасное место должно быть ограждено, а рабочие должны быть удалены от выходного отверстия бетоновода на расстояние не менее 100 м.
При подаче бетонной смеси бетононасосом, пневмобетоноукладчиком или при применении шприц-бетон-машины необходимо до начала работы испытать всю систему бетоновода гидравлическим способом под давлением в 1,5 раза превышающим рабочее.
При подаче бетонной смеси бетононасосом, пневмобетоноукладчиком или при применении шприц-бетон-машины необходимо обеспечить место ведения работ двухсторонней световой и звуковой сигнализацией.
Для устранения неисправностей оборудования и ликвидации пробок в шлангах и трубопроводах следует удалить из них сжатый воздух л выключить электрическую сеть.
III. Указания по организации труда
Бетонирование опорных фундаментов ведется в две дневные смены суток по 7 час.12 мин с перерывом на обед на 48 мин.
Работы выполняет бригада по подрядному договору, с включением в состав звеньев проходчиков, обученных профессии слесарь-монтажник.
Состав звена:
Проходчик 5 разр.- 1 (П1)
Проходчики 4 разр. - 4 (П2, П3, П4 и П5)
Слесарь 4 разр. - 1 (C1).
Извлечение одиночных железобетонных блоков из обделки опорного тоннеля выполняет все звено в составе 6 чел.
При демонтаже опалубки одной заходки, выполняемом под руководством звеньевого П1, рабочие отсоединяют основные распорные узлы и совместно со слесарем C1 по его команде перемещают их на новую заходку. Проходчики П4 и П5 заняты на очистке и смазке поверхностей опалубки, соприкасающихся с бетоном.
Проходчики П2 и П3 доставляют закладные детали, арматурные сетки и опорные металлические плиты.
.Установку закладных арматурных сеток, установку опорных металлических плит и закладных трубок для нагнетания осуществляют рабочие П1, П2, П3 и C1. Они же устанавливают временные деревянные подмости.
При бетонировании фундаментов проходчик П1 руководит укладкой бетонной смеси в фундамент, выполняемой совместно с проходчиками П2 и П3. Проходчик П3 и слесарь С1 принимают бетонную смесь внизу у скважины. Они загружают пневмобетоноукладчик и транспортируют по трубам смесь на место укладки. Проходчики П4 и П5 работают на поверхности у устья скважины, принимают бетон от поступающих автомашин и по скважине спускает по сигналу в шахту.
Уплотнение бетонной массы осуществляется навесными и ручными вибраторами.
IV. График по сооружению 6 м бетонного опорного фундамента станционного тоннеля

Примечание: В числителе указано число рабочих, в знаменателе - время выполнения операции в часах.
V. Калькуляция затрат труда на сооружение 6 м опорного фундамента
|
Шифр норм и расценок |
Наименование работ |
Состав звена |
Единица измерения |
Объем работ |
На единицу измерения |
На весь объем |
||
|
норма времени, чел-ч |
расценка, руб.-коп. |
нормативное время, чел-ч |
сумма заработной платы, руб.-коп. |
|||||
|
1 |
2 |
3 |
4 |
5 |
6 |
7 |
8 |
9 |
|
ЕНиР § 36-2-83 П. 2 |
Перестановка передвижной металлической опалубки для возведения бесшовных бетонных фундаментов |
Проходчик 5 разр. - 1 |
м2 |
43,5 |
0,62 |
0-73,4 |
26,9 |
31-93 |
|
ЕНиР § 36-2-91 п. 2б |
Установка закладных деталей арматурных сеток, металлических листов, двутавровых отрезков балок |
Проходчик 4 разр. - 1 |
100 кг |
20 |
2,8 |
2-89 |
56,0 |
57-80 |
|
Факт. расход пояснительная записка № 10 от 11.4.78 г. |
Приемка бетона с самосвала и спуск по скважине |
Проходчик 3 разр. – 1 |
м3 |
73,7 |
0,64 |
0-59,4 |
47,2 |
29-04 |
|
То же, обследование от 22.6.78 г. |
Приемка бетона внизу скважины |
Проходчик 4 разр. - 1 |
м3 |
73,7 |
0,14 |
0-17,5 |
10,3 |
12-89 |
|
ЕНиР § 36-2-92 табл. 3, п. 16 |
Укладка
бетона в фундаменты с помощью пневмобетоно- |
Проходчики: 5 разр. - 1 |
м3 |
73,7 |
1,1 |
1-22 |
81,1 |
89-91 |
|
ЕНиР § 36-2-70 n. 1а |
Выемка одиночных железобетонных блоков из обделки опорного тоннеля выемка первого |
Проходчики: 6 разр. - 1 5 " - 1 4 " - 1 |
шт. |
6 |
4,1 |
4-59 |
24,6 |
27-54 |
|
ЕНиР § 36-2-70 п. 2а |
То же, последующих |
-"- |
" |
24 |
2,4 |
2-69 |
57,6 |
64-56 |
|
|
Итого: |
303,7 |
313-67 |
|||||
|
|
Всего: |
(чел.-дн.) |
42,2 |
|
||||
VI. Основные технико-экономические показатели
|
Наименование показателей |
Единица измерения |
По калькуляции А |
По графику Б |
На сколько процентов показатели по графику больше (+) или меньше (-), чем по калькуляции
|
|
Трудоемкость на 6 м фундамента для станционного тоннеля |
чел-дн |
42,2 |
39,2 |
-7,1 |
|
Средний разряд рабочих |
|
4,56 |
4,16 |
-0,4 |
VII. Материально-технические ресурсы на сооружение 6 м фундаменте
А. Основные материалы и конструкции
|
Наименование |
Номер ГОСТа или чертежа |
Количество |
|
Бетон марки 300, м3 |
ГОСТ 8424-72 |
73,7 |
|
Металлическая прокатная листовая сталь толщиной 16 мм, т |
1,36 |
|
|
Арматура периодического профиля 12 мм, т |
0,345 |
|
|
Двутавровая балка № 36, т |
0,292 |
Б. Машина, оборудование, инструменты, инвентарь
|
Наименование |
Марка, ГОСТ |
Количество |
|
Инвентарная опалубка, комплект |
По проекту. |
1 |
|
Лебедка грузоподъемностью 5 т |
ЛП 5/500-1 |
1 |
|
Отбойные молотки |
МО-8 |
5 |
|
Лопаты строительные |
ГОСТ 3620-76 |
4 |
|
Набор гаечных ключей |
ГОСТ 10112-71 |
5 (компл.) |
|
Ломы стальные строительные |
ГОСТ 1405-72 |
2 |
|
Рулетка измерительная металлическая |
1 |
|
|
Таль ручная 0,5 т |
ГОСТ 1107-62 |
1 |
|
Вибраторы пневматические ручные |
ГОСТ 10826-75 |
4 |
|
Пневмобетоноукладчик |
ПН-0,5 |
1 |
|
Вибраторы пневматические прикрепляемые, шт. |
ГОСТ 12372-66 |
6 |
|
№ п |
Контролируемые параметры |
Предельные отклонения, мм |
Схема опорного фундамента с указанием предельных - отклонений |
Примечания. |
|
|
|
1 |
Положение установленной передвижной секции опалубки |
Δ1 = ±10 |
1. Металлическая опалубка должна быть прочно закреплена, очищена от остатков бетона и смазана |
|
||
|
2 |
Положение опорных плит на 1 м длины, мм |
Δ2 = ±25 |
2. Под опорной плитой должны устанавливаться трубки для инъецирования раствора в пустоты |
|
||
|
|
на секции 6 м |
Δ2 = ±75 |
||||
|
3. Подвижность бетонной смеси (на месте укладки) при уплотнении вибратором составляет 50-80 мм |
|
|||||
|
4. Наибольшая толщина слоев бетонной смеси должна быть не более 250 мм |
||||||
|
СНиП III-15-76; СНиП III-44-77 |
|
|||||
|
I |
Основные операции, подлежащие контролю |
Установка передвижной металлической опалубки на секцию |
Положение опорных металлических плит под блоки арок сводов |
Укладка бетонной смеси |
|
|
|
II |
Состав контроля |
Установка и подготовка опалубки к бетонированию |
Устойчивое раскрепление опорных плит, наличие трубок для инъекции |
Подвижность бетонной смеси Срок схватывания бетонной смеси |
|
|
|
III |
Метод и средства контроля |
Измерительный, визуальный, рулетка металлическая |
Измерительный, рулетка металлическая, отвес, теодолит |
Визуальный, измерительный, метр стальной, стандартный конус |
|
|
|
IV |
Режим и объем контроля |
Сплошной |
Каждое место опоры арок |
Сплошное |
|
|
|
V |
Лицо, контролирующее операцию |
Начальник смены, маркшейдер |
Начальник смены, маркшейдер |
Бригадир, начальник смены |
|
|
|
VI |
Лицо, ответственное за организацию и осуществление контроля |
Начальник участка |
|
|||
|
VII |
Привлекаемые для контроля подразделения |
Маркшейдерская служба |
Маркшейдерская служба |
- |
|
|
|
VIII |
Где регистрируются результата контроля |
Журнал работ |
Журнал маркшейдерских работ |
Журнал бетонных работ |
|
|
|
||||||
До начала работ по сооружению верхнего свода станции должна быть выполнена проходка боковых тоннелей на всю длину станции и на 50% длины станции сооружены опорные фундаменты в этих тоннелях, а также обеспечено накопление элементов обделки станции и необходимых строительных материалов, в том числе досок обрезных толщиной 40 мм для крепления кровли и лба забоя.
В связи с большим пролетом станции (18,4 м) и. разработкой каллотной прорези до 2 м, закрепляемой временной крепью, необходима бесперебойная поставка обделки и оборудования, создание на месте работ аварийного запаса материалов, за комплектностью которого производственный персонал должен обеспечивать постоянный (каждосменный) контроль.
II. Указания по технологии производственного процесса
Для рассечки выработки и установки первых трех арок станций из боковых тоннелей, в которых забетонированы опорные фундаменты, проходятся фурнели и разрабатывается прорезь каллотного сечения. В прорези монтируется блокоукладочная ферма, изготовленная по проекту Ленметрогипротранса, и собираются первые три арки. После заполнения всех пустот за арками путем первичного нагнетания окончательного разжатия арок и закрепления одного торца выработки приступают к проходке свода станции с разработкой грунта отбойными полотками и монтажу обделки по циклограмме технологической карты.
Блокоукладочная ферма перемещается по путям, уложенным на консолях двутавровых балок, забетонированных в опорных боковых фундаментах (рис. 4).
Грунт разрабатывается с площадок блокоукладочной фермы заходками в 1 м. Кровлю забоя крепят сплошной деревянной затяжкой (марчеванами), опирающимися одной стороной на ранее собранную арку, а другой - в штрабу, устроенную в грунте. Концы затяжек, заведенные в штрабу, крепятся путем установки составной дуги из швеллера № 20 на 16 трубчатых домкратных стойках (рис. 5). Зона временного крепления заходки забоя (с учетом разработки на очередной цикл, размещения временного крепления и блокоукладочной фермы) имеет протяженность около 2 м. В средней части призабойного пространства между укладчиком и временным креплением на горизонтальной площадке подошвы выработки устанавливается ленточный 6-метровый транспортер. По обеим сторонам транспортера устанавливаются по наклонным плоскостям к пятам арки металлические лотки, по которым разработанный грунт с транспортера попадает в течки, установленные на блокоукладочной ферме, и оттуда - в вагонетки.
Под погрузку вагонетки подают электровозами по путям узкой колеи, уложенным в опорных тоннелях. На цикл работ (1 м) требуется 40 - 45 порожних вагонов.
Свод крепится без зазоров между марчеванами, а лоб - вразбежку с заводкой и расклинкой досок за стойки крепления. Обделка свода собирается из отдельных арок, опирающихся на опорные фундаменты. Каждая арка состоит из 12 нормальных блоков 9,8 НБО и одного распорного блока, в теле которого установлены плоские гидравлические домкраты Фрейссине. Нормальные блоки сплошного сечения имеют ширину 0,5 м и толщину 0,7 м.

Рис. 4. Блокоукладочная ферма:
1 - металлоконструкция; 2 - осадочные кулаки; 3 - тележка; 4 - рольганг; 5 - лекальный путь; 6 - подъемник; 7 - привод подъемника блоков; 8 - приводные тележки

Рис. 5. Паспорт временного крепления разработки неплотной прорези:
1 - трубчатая раздвижная стойка; 2 - сегменты дуги из швеллера; 3 - деревянная затяжка (свода и лба забоя); 4 - распорные мальчики; 5 - блокоукладочная ферма; 6 - обделка свода; 7 - опорный фундамент
Блоки доставляются на блоковозках электровозом.
Лебедкой блокоукладочной фермы блок подтягивается по нижнему рольгангу до подъемной площадки и той же лебедкой поднимается до уровня верхнего монтажного пояса. При помощи специальной каретки блоки поочередно укладываются на металлическую опорную конструкцию вправо и влево от пят арки к замку. Последним устанавливается блок с гидравлическими распорными домкратами. Блоки между собой соединяются шпильками, устанавливаемыми в торцах в углубления, отформованные при изготовлении.
Все работы по возведению верхнего свода станции следует вести в строгом соответствии с требованиями следующей технической документации: Правилами техники безопасности и производственной санитарии при строительстве метрополитенов и тоннелей (М., Оргтрансстрой, 1975), СНиПом III-А.11-70 и сборником изменений и дополнений главы СНиПа III-А.11-70 (Техника безопасности в строительства, М., 1974) и типовыми инструкциями по охране труда: для проходчика (М., Оргтрансстрой, 1978), для нагнетальщика (М., Оргтрансстрой, 1972).
Операционный контроль качества работ осуществляет начальник смены в соответствии с требованиями СНиП III-44-77 и КОКК настоящей технологической карты (раздел VIII).
Техника безопасности
До начала работ по проходке подземных выработок все представители технического надзора должны быть ознакомлены под расписку с геологическими гидрогеологическими условиями участка.
Выполнять подземные работы при отсутствии или недостаточном количестве аварийного запаса материалов, инструмента или инвентаря, противопожарных и других средств защиты запрещается.
На время пропуска подвижного состава работы в фурнели должны прекращаться, о чем работающие там должны предварительно оповещаться.
Фурнели должны крепиться по проекту венцовой крепью с забутовкой пустот и тщательной расклинкой.
Все фурнели должны иметь отделение для прохода людей, размер которого не должен быть менее 1×0,6 м.
Все действующие фурнели должны быть оборудованы двухсторонней звуковой и световой сигнализацией.
Длина каллоты определяется проектом в зависимости от. геологических условий и должна быть указана в паспорте крепления.
Раскрытие тоннеля на полный профиль и монтаж обделки должны осуществляться в соответствии с проектом под непосредственным руководством представителя технического надзора с обязательной установкой надежной временной крепи.
Элементы временной крепи выработки должны быть расположены так, чтобы не требовалась их перестановка при укладке блоков арки. Удалять элементы крепи до полного окончания возведения обделки и окончательного ее закрепления запрещается.
Выработки сплошным забоем должны разрабатываться с применением передвижных металлических подмостей или другого специального проходческого оборудования, обеспечивающего удобства и безопасность производства работ в забое.
Подмости и буровые рамы следует передвигать плавно под руководством начальника смены.
Кузовы вагонеток не должны загружаться породой доверху. Расстояние от породы до верха борта должно быть не менее 10 см.
До начала работ по монтажу сборной обделки тоннеля укладчик должен быть тщательно осмотрен машинистом укладчика и дежурным электрослесарем. Результаты осмотра должны быть занесены в журнал приема и сдачи смен.
Подавать сигналы машинисту укладчика или лебедки разрешается только одному рабочему, назначенному службой технического надзора. Каждый непонятный сигнал должен быть воспринят машинистом укладчика или лебедки как сигнал "стоп".
Оставлять тюбинг (блок): в поднятом состоянии при окончании работы или на время перерыва в работе запрещается.
В процессе обжатия кольца обделки в породу нахождение лиц в пределах обжимаемого кольца запрещается.
III. Указания по организации труда
Технологической картой предусмотрена цикличная организация работ по сооружению 1 м верхнего свода в сутки.
Работы ведутся круглосуточно по скользящему графику комплексной бригадой, выполняющей сооружение свода станции по бригадному подряду.
Состав звена:
Проходчик 6 разр, - 1 (П1) - звеньевой
-"- 5 » - 1 (П2)
Проходчики 4 разр. - 7 (П3, П4, П5, П6, П7, П8, П9)
Проходчик П1, после прохождения обучения, имеет специальность машиниста блокоукладочной фермы, а проходчик П2 имеет специальность электрослесаря. Комплексная бригада выполняет следующие операции:
разработку грунта;
погрузку и откатку грунта;
разборку временного крепления;
временное крепление кровли и лба забоя;
подрубку отбойными молотками блоков опорных тоннелей;
передвижку блокоукладочной фермы (вперед);
монтаж обделки;
передвижку блокоукладочной фермы (назад).
Цикл работ начинается с разработки грунта забоя с одновременной разборкой временного крепления. На этой операции заняты 3 проходчика (II1, П2, П3), Проходчики П4, П5, П6 и П7 заняты на погрузке грунта на транспортер и по лоткам в вагонетки, а также подкатке порожних вагонов и откатке груженых. Крепление кровли и лба забоя ведут 2 проходчика - П8 и П9.
Срубку бетона обделки боковых тоннелей в небольшом объеме (0,2 м3) выполняют два проходчика.
Перед началом монтажа арок звено в полном составе передвигает блокоукладочную ферму вперед. Монтаж арок ведет все звено: П1 работает на блокоукладочной ферме, а остальные заняты монтажом с установкой связующих шпилек между блоками.
Разжатие арок, контрольное нагнетание и расчеканку швов выполняет отдельное звено комплексной бригады нагнетальщиков. До завершения работ по циклу звено проходчиков в полном составе производит передвижку блокоукладочной фермы назад для того, чтобы проходчики с площадок могли приступить к работам последующего цикла.
IV. График сооружения 1 м верхнего свода односводчатой станции

Примечание. В числителе показано число рабочих, в знаменателе время выполнения операций в минутах
V. Калькуляция затрат труда на сооружение 1 м свода станции
|
Шифр норм и расценок |
Наименование работ |
Состав звена |
Единица измерения |
Объем работ |
На единицу измерения |
На весь объем |
||
|
Норма времени, чел-ч |
расценка, руб.-коп. |
затраты труда, чел-ч |
сумма заработной платы, руб.-коп. |
|||||
|
1 |
2 |
3 |
4 |
5 |
6 |
7 |
8 |
9 |
|
ЕНиР § 36-2-40 п. 3б |
Разработка грунта отбойными молотками IV категории |
Проходчик 5 разр. - 1 |
м3 |
56,7 |
1,15 |
1-36 |
65,2 |
77-11 |
|
ЕНиР § 36-2-120- л. 1б п. 6б |
Погрузка и перемещение грунта вагонетками вручную вне зоны забоя: |
|
|
|
|
|
|
|
|
а) погрузка |
Проходчик 4 разр. - 1 |
м3 |
56,7 |
0,66 |
0-68,2 |
37,4 |
38-67 |
|
|
б) перемещение |
м3 |
56,7 |
0,15 |
0-15,5 |
8,5 |
8-79 |
||
|
ЕНиР § 36-2-47 п. В-1 п. В-2 |
Установка и снятие марчеван при проходке тоннелей горным способом: |
|
|
|
|
|
|
|
|
а) установка кровли |
Проходчики 5 разр. - 1 4 " - 1 |
м2 |
24 |
0,28 |
0-31 |
6,7 |
7-44 |
|
|
б) установка лба |
" |
57 |
0,25 |
0-27,7 |
14,3 |
15-79 |
||
|
в) снятие кровли |
" |
24 |
0,057 |
0-06,3 |
1,37 |
1-5I |
||
|
г) снятие лба |
" |
57 |
0,038 |
0-04,2 |
2,2 |
2-39 |
||
|
ЕНиР § 36-2-145 |
Срубка сплошного слоя бетона |
Проходчик 4 разр. - 1 |
м2 |
1 |
1,3 |
1-34 |
1,3 |
1-34 |
|
ЕНиР § 36-2-42 |
Установка и разборка временной крепи забоя: |
Проходчики: 5 разр, - 2 4 " - 1 |
|
- |
|
|
|
|
|
а) установка (металлические стойки и сегменты) |
арка |
1 |
1,05 |
1-19 |
1,1 |
1-19 |
||
|
б) разборка |
-"- |
1 |
0»55 |
0-62,3 |
0,6 |
0-62 |
||
|
Местная норма СМУ-17 Ленметро-строя |
Передвижка блокоукладочной фермы |
Проходчики: 5 разр. - 1 4 " - 6 3 " - 2 |
передвижка |
|
|
|
|
|
|
вперед. |
2 |
4,7 |
3-63 |
9,4 |
7-26 |
|||
|
То же. назад |
1 |
2,21 |
1-71 |
2,21 |
1-71 |
|||
|
.Местная норма СМУ-17 Ленметро-строя |
Монтаж блоков верхнего свода односводчатой станции |
-"- |
арка |
2 |
48 |
37-12 |
96 |
74-24 |
|
ЕНиР § 36-2-127 п. б прим. |
Погрузка грунта на транспортер |
Проходчик 4 разр, - 1 |
м3 |
56,7 |
0,09 |
0-07,5 |
5,1 |
8-79 |
|
|
Всего: |
251,4 |
246-85 |
|||||
|
|
Итого: |
(чел.-дн.) |
34,91 |
|
||||
VI. Основные технико-экономические показатели
|
Наименование показателей |
Единица измерения |
По калькуляции А |
По графику Б |
На сколько процентов показатели по графику больше (+) или меньше (-), чем по калькуляции
|
|
Трудоемкость работ на сооружение 1 м верхнего свода односводчатой станции |
чел-дн |
34,91 |
27 |
-22,65 |
|
Средний разряд рабочих |
|
3,91 |
4,48 |
+0,57 |
VII. Материально-технические ресурсы на сооружение 1 м верхнего свода станции
А. Основные материалы и конструкции
|
Наименование |
Номер ГОСТа или чертежа |
Количество |
|
Железобетонные блоки, шт. |
9,8 НБО |
24 |
|
Распорные железобетонные блоки, шт. |
-"- |
2 |
|
Доски обрезные, м3 |
ГОСТ 38081-75 |
3 |
|
Швеллер № 20, м |
20 |
|
|
Трубы диаметром 152, м |
60 |
|
|
Трубы диаметром 100, м |
-"- |
50 |
|
Рельсы Р24, м |
ГОСТ 5876-51 |
4 |
|
Шланги для отбойных молотков, м |
60 |
Б. Машины, оборудование, инструмент, инвентарь
|
Наименование |
Марка, ГОСТ |
Количество |
|
Блокоукладочная ферма |
Чертеж Ленметрогипротранса |
1 |
|
Вагонетки шахтные глухие вместимостью 1,5 м3 |
ГОСТ 15174-70 |
40 |
|
Электровозы |
7КР-60 |
2 |
|
Отбойные пневматические молотки |
МО-8П |
8 |
|
Блоковозки |
ГОСТ 22044-76 |
24 |
VIII. Карта операционного контроля качества работ по сооружению верхнего свода станции
ОК-У-145
|
№ п |
Контролируемые параметры |
Предельные отклонения, мм |
Схема конструкции станции с указанием предельных отклонений |
Примечания. |
|
|
|
1 |
Ось станции |
Δ1 = ±50 |
1. Разработка грунта должна производиться только в пределах очертания свода. Переборы обязательно забучивать. |
|
||
|
2 |
Радиус кривизны свода, мм |
Δ2 = ±25 |
|
|||
|
3 |
Давление первичного разжатия арки свода, кгс/см2 |
±5 |
2. Временное крепление каллотной прорези должно соответствовать паспорту. |
|
||
|
4 |
Давление окончательного разжатия арки свода, кгс/см2 |
±10 |
3. Торцы блоков арки должны быть очищены перед монтажом. |
|
||
|
4. Нагнетание цементно-песчаного раствора должно производиться при давлении в сети сжатого воздуха не ниже 5 кгс/см2. |
|
|||||
|
5. Пятовые блоки должны тщательно соприкасаться с опорными плитами. |
|
|||||
|
6. Нагнетание раствора за обделку должно производиться до достижения отказа в отверстие каждого блока. |
|
|||||
|
7. При разработке грунта свода перебор по наружному диаметру может быть не более 50 мм. |
||||||
|
СНиП III-44-77, § 5.7, § 5.8 |
|
|||||
|
I |
Основные операции, подлежащие контролю |
Разработка каллотной прорези |
Монтаж арки свода из сборных железобетонных блоков |
Нагнетание раствора за обделку, первичное и окончательное разжатие арки |
|
|
|
II |
Состав контроля |
Соблюдение габарита разработки и паспорта крепления |
Чистота блоков при монтаже. Соприкасание пятовых блоков к опорным плитам фундаментов |
Тщательность нагнетания. Усилие разжатия арки. |
|
|
|
III |
Метод и средства контроля |
Измерительный. визуальный, метр стальной |
Визуальный, измерительный. Нивелир, рулетка металлическая. |
Визуальный, измерительный манометр |
|
|
|
IV |
Режим и объем контроля |
Сплошной |
Каждая арка |
Каждая арка |
|
|
|
V |
Лицо, контролирующее операцию |
Начальник смены |
Начальник смены, маркшейдер |
Начальник смены |
|
|
|
VI |
Лицо, ответственное за организацию и осуществление контроля |
Начальник участка |
|
|||
|
VII |
Привлекаемые для контроля подразделения |
- |
Маркшейдерская служба |
- |
|
|
|
VIII |
Где регистрируются результата контроля |
Журнал горных работ |
Журнал горных работ |
Журнал горных работ |
|
|
|
||||||
Особенностью организации технологического процесса по сооружению односводчатой станции глубокого наложения является обеспечение устойчивости окружающих грунтов и минимальных осадок поверхности. При сооружении двух станций Ленинградского метрополитена ("Площадь Мужества" и "Политехническая") осадки поверхности составили 70 - 90 мм, что обеспечило сохранность наземных сооружений и подземных коммуникаций. Такие минимальные осадки были получены благодаря нагнетанию, выполняемому вслед за проходкой, разжатию и обжатию обделки свода в грунт.
Выполнение процесса нагнетания, разжатия и обжатия обделки отдельной бригадой нагнетальщиков повысило ответственность, что позволило улучшить качество работ и исключило отставание в выполнении этих работ.
II. Указания по технологии производственного процесса
Организация работ по нагнетанию и разжатию обделки предусмотрена по скользящему графику без остановок в выходные дни с тремя сменами в сутки.
Работа звена нагнетальщиков тесно увязана с работой бригады проходчиков по сооружению верхнего свода станции.
По окончании разработки забоя на 1 м, передвижки блокоукладочной фермы и монтажа первой арки, звено нагнеталыциков производит первичное разжатие арки домкратом Фрейссине при давлении 75 - 80 кгс/см2. До этого звено выполняло нагнетание в предыдущие арки цементно-песчаного раствора в соотношении 1:2 при помощи растворонагнетателя PH-1.
По завершении монтажа следующей арки звено выполняет ее первичное разжатие. При этом ликвидируются все зазоры в арке между блоками.
В замковом блоке арки заделываются два плоских домкрата Фрейссине однократного действия. Одним домкратом при давлении 75 - 80 кгс/см2 осуществляется первичное разжатие арок, а после завершения нагнетания и схватывания раствора, вторым домкратом выполняется окончательное обжатие арки в грунт при давлении в 200 кгс/см2.
Первичное разжатие выполняется на первой и второй арках, а окончательное обжатие в грунт - третьей и четвертой арках.
Все работы по сооружению станции выполняются поточным методом.
Контрольное нагнетание цементным раствором и чеканочные работы выполняются при отставании от забоя не более 10 - 12 м. Этим обеспечивается также и уменьшение просадок поверхности.
Контрольное нагнетание и чеканка швов технологической картой не предусмотрены и выполняются отдельной бригадой.
Растворонасос PH-1 устанавливается вблизи транспортных путей, подготовленная сухая просеянная смесь песка с цементом подается в вагонах электровозом. Готовый раствор от нагнетателя поступает в отверстия в блоках через сопло по гибкому шлангу диаметром 50 мм.
Нагнетание производится от пят арки к замку. Звуковая или световая сигнализация связывает пост приготовления раствора с местом нагнетания.
Работы по первичному нагнетанию и разжатию арок верхнего овода следует вести в строгом соответствии со СНиП III-44-77 (Правила производства и приемки работ. Тоннели железнодорожные, автодорожные и гидротехнические, Метрополитены), СНиП III-А.11-70 (Строительные нормы и правила "Техника безопасности в строительстве") и сборником изменений и дополнений главы СНиП III-А.11-70 "Техника безопасности в строительстве. М., 1974, Правилами техники безопасности и производственной санитарии при строительстве метрополитенов и тоннелей (М., Оргтрансстрой, 1975) и типовой инструкцией по охране труда для нагнетальщика (М., Оргтрансстрой, 1972).
Операционный контроль качества работ осуществляет начальник смены в соответствии с требованиями СНиП III-44-77 и КОКК настоящей технологической карты (раздел VIII).
Техника безопасности
Работать неисправными растворонагнетателями, растворонасосами, а также со снятыми кожухами ограждения запрещается.
Растворопроводы для подачи (раствора от нагнетающих агрегатов за обделку, в швы обделки или в окружающую породу должны состоять из труб и шлангов, рассчитанных на давление, превышающее максимальное рабочее давление не менее чем в 1,5 раза.
Растворонасосы и растворонагнетатели должны быть оборудованы манометрами для измерения рабочего давления.
Рабочие, выполняющие работы по нагнетанию тампонажных растворов должны быть обеспечены предохранительными очками с небьющимся стеклом, резиновыми перчатками и соответствующей спецодеждой и обязаны ими пользоваться.
Инъекционное сопло должно прочно и надежно закрепляться в отверстиях и дополнительно прикрепляться к обделке страхующими устройствами.
В местах прохода рабочих растворопроводы и воздухопроводы должны быть дополнительно надежно прикреплены к обделке выработки.
Нагнетать раствор за обделку на высоте разрешается только с проверенных подвесных или передвижных подмостей. Применение лестниц запрещается.
При промывке или продувке шлангового растворопровода конец его должен быть отведен в сторону и закреплен. При этом запрещается осматривать и прочищать шланг со стороны свободного конца.
III. Указания по организации труда
Первичное нагнетание за обделку и обжатие арок в грунт выполняет сквозная бригада по подрядному договору из четырех звеньев при трехсменной работе по скользящему графику.
Состав звена: нагнетальщики 4 разр. - 2
Звеном выполняются следующие операции:
- первичное нагнетание цементно-песчаного раствора в третью и четвертую арки - от забоя;
- первичное разжатие первой и второй арок от забоя;
- окончательное обжатие третьей и четвертой арок в грунт.
При первичном нагнетании оба нагнетальщика обеспечивают подкатку вагонеток с сухой смесью, загрузку ее в растворонагнетатель, прокладку растворопровода, закрепление сопла в отверстии блока для нагнетания. При нагнетании один управляет подачей раствора, а второй наблюдает за прохождением раствора, и в случаях необходимости подает сигнал о прекращении нагнетания. Замковые блоки по торцам имеют винипластовые листы для правильной передачи усилий от домкрата. В обязанности нагнетальщиков входит промывка и продувка растворопровода и растворонагнетателя, и надлежащее содержание рабочего поста.
После завершения окончательного обжатия третьей и четвертой от забоя арок нагнетальщики цементно-песчаным раствором заделывают гнезда домкратов Фрейссине. Заданное давление в домкратах достигается при помощи насоса высокого давления Н-403 с электромоторов 28 кВт.
Операции, подлеющие контролю при обжатии обделки и первичном нагнетании, приведены в карте операционного контроля.
IV. График производства обжатия арок обделки и нагнетания цементно-песчаного раствора за обделку верхнего свода станции

Примечание: В числителе указано число рабочих, в знаменателе - время выполнения операций в минутах.
V. Калькуляция затрат труда на обжатие арок, и нагнетание цементно-песчаного раствора за обделку верхнего свода станции на 1 м станции
|
№ п |
Шифр нормативного источника |
Наименование работ |
Состав бригады |
Единица измерения |
Объем работ |
На единицу измерения |
На весь объем |
||
|
норма времени, чел-ч |
расценка, руб.-коп. |
нормативное время, чел-ч |
сумма заработной платы, руб.-коп. |
||||||
|
1 |
ЕНиР § 36-2-104 п. 5 |
Нагнетание цементно-песчаного раствора за обделку тоннеля большого диаметра (18,4 м) нагнетателем PH-1 |
Проходчик 5 разр. - 1 Нагнетальщик 3 разр. - 1 |
м3 |
7,5 |
3,7 |
.3-89 |
27,75 |
29-18 |
|
2 |
Местная норма СМУ-17 Ленметро-строя |
а) Первичное разжатие арок обделки |
Проходчики: 5 разр. - 1 4 " - 2 |
арка |
2 |
4,7 |
3-39 |
9,4 |
6-78 |
|
б) Окончательное обжатие в грунт арок обделки |
-"- |
2 |
4,7 |
3-39 |
9,4 |
6-78 |
|||
|
|
|
Итого; |
46,55 |
42-74 |
|||||
|
|
|
Всего: |
(чел-дн) 6,46 |
|
|||||
VI. Основные технико-экономические показатели на обжатие обделки и нагнетание цементно-песчаной смеси на 1 м станций
|
Наименование показателей |
Единица измерения |
По калькуляции А |
По графику Б |
На сколько процентов показатели по графику больше (+) или меньше (-), чем по калькуляции
|
|
Трудоемкость на обжатие и нагнетание |
чел-дн |
6,46 |
6,0 |
- 7,1 |
|
Средний разряд рабочих |
|
4,11 |
4 |
- 2,7 |
VII. Материально-технические ресурсы на обжатие обделки и первичное нагнетание
А. Основные материалы
|
Наименование |
ГОСТ, марка |
Единица измерения |
Количество |
|
Цемент марки 400 |
т |
2,1 |
|
|
Песок |
м3 |
5 |
Б. Машины, оборудование, инструмент, инвентарь
|
Наименование |
Марка, ГОСТ |
Количество |
|
Растворонагнетатель |
PH-1 |
1 |
|
Насос высокого давления |
Н-403 |
1 |
|
Указания по качеству работ |
|
|
|
1. Раствор не может иметь расслаивания в течение 1 ч более 20% |
8. Все пустоты за обделкой заполняются раствором. |
|
|
2. Растекаемостъ раствора в течение нагнетания должна составлять 16 - 20 см, в конце - не более 16 см. |
9. Давление первичного нагнетания - 4-5 кгс/см2 |
|
|
3. Срок схватывания от начала затворения: - для обводненных тоннелей: начало - через 40-60 мин, конец черев 1-5 ч - для необводненных тоннелей: начало - черве 3-4 ч, конец - 6-8 ч. |
10. Температуре воздуха в тоннеле - не ниже +5°С. |
|
|
11. Температура раствора при выходе из сопла при нагнетании в замороженных породах - не ниже +20°С |
||
|
4. Состав раствора: для сборной железобетонной обделки 1:2. |
|
|
|
5. Отставание зоны первичного нагнетания - не более трех колец |
|
|
|
6. Строительный зазор перед нагнетанием раствора со стороны забоя (пикетаж) должен закрываться. |
|
|
|
7. Первичное нагнетание должно производиться одновременно по обе стороны тоннеля и снизу вверх. |
|
ВСН 132-66 Минтрансстроя, СНиП III-44-77
|
I |
Основные операции, подлежащие контролю |
Приготовление раствора |
Нагнетание раствора |
Проверка первичного нагнетания |
|
II |
Состав контроля |
Состав раствора, срок схватывания р-ра, растекаемостъ и расслаиваемость р-ра |
Отставание от забоя зоны нагнетания, пикетаж строительного зазора, очередность нагнетания, температура воздуха и раствора, давление сжатого воздуха в сети |
Отсутствие пустот |
|
III |
Метод и средства контроля |
Лабораторный анализ (отбор проб), мерная тара |
Визуальный, термометр, манометр |
Внешний осмотр, металлический щуп через разбуренные скважины |
|
IV |
Режим и объем контроля |
3 раза в смену |
3 раза в смену |
Через 5 колец (1 - 2 отверстия) |
|
V |
Лицо, контролирующее операцию |
Начальник смены, лаборант |
Начальник смены |
Начальник смены |
|
VI |
Лицо, ответственное за организацию и осуществление контроля |
Начальник участка |
||
|
VII |
Привлекаемые для контроля подразделения |
Строительная лаборатория |
- |
- |
|
VIII |
Где регистрируются результаты контроля |
журнал первичного нагнетания журнал лабораторных работ |
Журнал первичного нагнетания |
|
Сооружение станции выполняется поточно с совмещением отдельных процессов общего технологического комплекса. После продвижения забоя и монтажа обделки свода на 70 - 80 м разрабатывается ядро станции.
Объем разрабатываемого грунта (без учета проходки опорных тоннелей) на 1 м станции составляет 173,7 м3 (рис. 6).
В технологическую карту включены только работы по разработке, погрузке и вывозке грунта.
II. Указания по технологии производственного процесса
До начала разработки грунта должны быть уложены пути для подачи порожних и вывозки груженых вагонов. Предусматривается бесперебойная вывозка грунта. В пределах разработки ядра должно быть выполнено контрольное нагнетание и чеканка швов обделки свода.
Грунт ядра станции разрабатывается электрическим экскаватором (на базе экскаватора ЭП-1), оборудованным обратной лопатой с ковшом активного действия емкостью 0,6 м3. При повышенном сопротивлении ковшу экскаватора пневматические устройства на кромке ковша (вместо обычных зубьев) облегчает разработку грунта.
Из 20,2 тыс. м3 грунта ядра станции 17,5 тыс. м3 разрабатывается экскаватором.

Рис. 6. Схема разработки грунта в сечении односводчатой станции.
1 - разработка верхнего свода (56,7 м3); 2 - разработка ядра, (72 м3); 3 - разработка обратного свода (45 м3)
Разработка грунта производится уступом (см. рис. 5) с погрузкой грунта в бункер, откуда транспортером подается в вагонетки составами.
Разработка грунта ядра следует вести в строгом соответствии со СНиП III-44-77 (Правила производства и приемки работ. Тоннели железнодорожные, автодорожные и гидротехнические. Метрополитены), СНиП III-А.11-70 (Строительные нормы и правила. "Техника безопасности в строительстве") и сборником изменений и дополнений, глава СНиП III-А.11-70 "Техника безопасности в строительстве" (М., 1974), Правилами техники безопасности и производственной санитарии при строительстве метрополитенов и тоннелей (М., Оргтрансстрой, 1975) и типовыми инструкциями по охране труда для проходчика (М., Оргтрансстрой, 1978), машиниста породопогрузочной машины (М., Оргтрансстрой, 1978).
Техника безопасности
При погрузке грунта в забое погрузочной машиной или экскаватором в зоне их действия могут находиться только машинист и его помощник. Выполнять при помощи указанных машин в забое другие работы запрещается.
Кузовы вагонеток, бадей и других транспортных средств не должны загружаться породой доверху. Расстояние от породы до верха борта должно быть не менее 10 см.
Применяемые для погрузки породы экскаваторы должны быть оснащены звуковыми сигналами, подаваемыми по установленной схеме, с которой должен быть ознакомлен весь работающий в забое персонал. Таблицу сигналов надлежит вывешивать на видном месте вблизи экскаватора.
Разгрузочная часть транспортера должна периодически очищаться от породы. Эта работа может выполняться при остановленной транспортерной ленте и отключенном электродвигателе. При погрузке породы транспортером в нерасцепленный состав запрещается находиться в непосредственной близости от вагонеток и электровоза, а также на пути, занятым этим составом.
III. Указания по организации труда
Разработка и извлечение грунта из ядра станционного тоннели производятся при трехсменной работе по скользящему графику сквозной бригадой, работающей по бригадному подряду.
Состав звена, работающего в одну смену:
Экскаваторщик 6 разр. 1;
Помощник экскаваторщика 5 разр. 1;
Проходчик 4 разр. 1.
Экскаваторщик и помощник разрабатывают грунт ядра, перемещают машину вдоль фронта работ, производят профилактический осмотр машины, наращивают шланги с электрокабелем и сжатым воздухом.
Проходчик 4 разр. обеспечивает подачу грунта конвейером в вагонетки и смену составов вагонеток при помощи электровоза. Работа машиниста электровоза картой не учтена,
IV. График разработки и погрузни грунта ядра станционного тоннеля (на 1 м)

V. Калькуляция затрат труда на разработку и погрузку грунта ядра станционного тоннеля (на 1 м)
|
№ п |
Шифр нормативного источника |
Наименование работ |
Единица измерения |
Объем работ |
Состав бригады |
На единицy измерения |
На весь объем |
||
|
норма времени, чел-ч |
расценка, руб.-коп. |
нормативное время, чел-ч |
сумма заработной платы, руб.-коп. |
||||||
|
1 |
Местная норма СМУ-3 |
Разработка грунта, погрузка в ковш экскаватора, разгрузка в бункер |
100 м3 |
0,72 |
Экскаваторщик 6 разр. - 1; Помощник 5 разр. - 1 |
27,5 |
35-52 |
19,8 |
25-57 |
|
2 |
ЕНиР §.36-2-120 п. 3б примечание |
Погрузка грунта конвейером в вагонетки. |
м3 |
72 |
Проходчик 4 разр. – 1 |
0,09 |
0-09,3 |
6,48 |
6-70 |
|
|
|
Итого. |
26,28 |
32-27 |
|||||
|
|
|
Всего: |
(чел-дн) |
3,65 |
|
||||
VI. Основные технико-экономические показатели разработки и погрузки грунта ядра станционного тоннеля (на 1 м)
|
Наименование показателей |
Единица измерения |
По калькуляции А |
По графику Б |
На сколько процентов показатели по графику больше (+) или меньше (-), чем по калькуляции
|
|
Трудоемкость разработки и погрузки грунта ядра |
чел-дн |
26,8 |
29,7 |
+ 13,01 |
|
Средний разряд рабочих |
|
5,25 |
5,25 |
|
VII. Материально-технические ресурсы
Машины, оборудование, инструмент, инвентарь
|
Наименование |
Марка и номер ГОСТа |
Количество |
|
Экскаватор с электродвигателем, емкость ковша 0,6 м3 |
ЭП-1 |
1 |
|
Вагонетки шахтные вместимостью 1,5 м3 |
ГОСТ 1517-70 |
40 |
Замыкающий процессом по сооружению конструкции односводчатой станции глубокого заложения является разработка грунта в лотковой части и монтаж обделки обратного свода с обжатием в опорные фундаменты и окружающий грунт.
Доработка грунта на высоту 3,7 м выполняется экскаватором, которым разрабатывался грунт ядра. Объем грунта, оставшегося для доработки на 1 м станции, составляет 45 м3. Сооружение обратного свода выполняют с отступлением от забоя ядра на 15 - 20 м (рис, 7),
В технологическую карту включены работы по разработке грунта в лотке, монтажу обделки и обжатию ее в грунт.
II. Указания по технологии производства работ
До начала работ по сооружению обратного свода на подкрановых путях, по которым перемещалась блокоукладочная ферма для монтажа верхнего свода, монтируется электрическая кран-балка грузоподъемностью 5 т конструкции Ленметрогипротранса. Эта кран-балка помимо монтажа обратного свода станции впоследствии используется для монтажа платформы и других работ.
После разработки грунта экскаватором выравнивается профиль по шаблону вручную для получения проектного очертания лотка.
Кольцо обделки состоит из 10 блоков, изготовленных по типу блоков верхнего свода. Замковый распорный блок имеет домкрат Фрейссине. Монтаж арки начинается с укладки кран-балкой нормальных блоков от середины к опорам.

Рис. 7. Схема производства работ по разработке грунта ядра и монтажу блоков обратного свода станции:
1 - экскаватор с ковшом активного действия; 2 - кран-балка для монтажа блоков обратного свода; 3 - обделка верхнего свода; 4 - обделка обратного свода; 5 – предохранительный барьер
Последним укладывается замковый блок. Выполняется первичное нагнетание цементного раствора с песком в соотношении 1:2. Вслед за этим домкратом Фрейссине производится обжатие арки в грунт при давлении 200 кгс/см2. Таким образом, вся обделка станции обжимается в грунт, приобретая необходимую емкость и устойчивость всей конструкции. Грунт экскаватором грузится непосредственно в вагонетки и отправляется к стволу.
Работы по сооружению обратного свода станции следует вести в строгом соответствии со СНиП III-44-77 (Правила производства и приемки работ. Тоннели железнодорожные, автодорожные и гидротехнические. Метрополитены), СНиП III-А.11-70 "Техника безопасности в строительстве" и сборником изменений и дополнений, глава СНиП III-А.11-70 "Техника безопасности, в строительстве" (М., 1974), "Правилами техники безопасности и производственной санитарии при строительстве метрополитенов и тоннелей (М., Оргтрансстрой, 1975) и типовыми инструкциями по охране труда: для проходчика (M., Оргтрансстрой, 1978), для машиниста породопогрузочной машины (М., Оргтрансстрой, 1978), для нагнетальщика (М., Оргтрансстрой, 1972).
Операционный контроль качества работ осуществляет начальник смены в соответствии с требованиями СНиП III-44-77 и КОКК настоящей технологической карты (раздел VIII).
Техника безопасности
При погрузке породы погрузочной машиной или экскаватором в зоне их действия может находиться только машинист или его помощник. Выполнять при помощи указанных машин в забое другие работы воспрещается.
Кузова вагонеток, бадей и других транспортных средств не должны загружаться породой доверху. Расстояние от породы до верха борта должно быть не менее 10 см.
Применяемые для погрузки породы экскаваторы должны быть оснащены звуковыми сигналами, подаваемыми по установленной схеме, с которой должен быть ознакомлен весь работающий в забое персонал. Таблицу сигналов надлежит вывешивать на видном месте вблизи экскаватора. При погрузке породы транспортером в нерасцепленный состав запрещается находиться в непосредственной близости от вагонеток и электровоза и на пути, занятом этим составом.
До начала работ по монтажу сборной обделки станции механизмы должны быть тщательно осмотрены. Подавать сигналы машинисту кран-балки разрешается только одному рабочему, назначенному службой технического надзора.
Канаты для подъема и опускания блоков должны отвечать требованиям технических норм, они должны быть пропущены через защищенные блоки безопасной конструкции, тщательно укрепленные на специальных подвесках.
Прикреплять блоки к канату лебедки для подъема и спуска следует при помощи специального устройства, обеспечивающего безопасность производства работ.
Принимать и опускать блоки следует плавно, не допуская рывков, раскачивания и резких остановок.
III. Указания по организации труда
Сооружение обратного свода станции (лотка) выполняемся звеньями при трехсменной работе.
Разработка грунта в лотке ведется звеном в составе экскаваторщика 6 разр., помощника 5 разр. и проходчика 4 разр.
Сооружение обратного свода выполняют звенья, имеющие в своем составе:
Проходчик 5 разр. - 1 (П1);
Проходчики 4 разр. - 6 (П2, П3, П4, П5, П6, П7).
Грунт лотка разрабатывается экскаватором, оборудованным обратной лопатой с ковшом активного действия. Звено экскаваторщика разрабатывает и грузит грунт в вагонетки (в перерывах по разработке ядра), перемещая экскаватор и разрабатывая заходку на 3 м. Экскаваторов разрабатывается 40 м3 на 1 м лотка, а остальные 5 м3 дорабатывает до проектного профиля бригада, сооружающая обратный свод.
Доработку грунта в лотке выполняет звено проходчиков отбойными молотками по шаблону с зачисткой ложа лотка.
На разработке грунта занято все звено проходчиков. Грунт при доработке профиля перекидывается вперед и удаляется при экскавации грунта на следующей заходке.
После подготовки фронта работ на 1 м звено начинает монтировать две арки обделки, собирая их поочередно. На монтаже арок, состоящих из 9 нормальных блоков и одного замкового, занято вое звено. При этом П4 и П5 подкатывают блоковозки, прицепляют блоки к кран-балке на уровне откаточных путей и управляют кран-балкой. Вначале укладываются в лоток кран-балкой нормальные блоки от середины к опорным местам фундаментов, а затем устанавливается замковый блок. Проходчики П6 и П7 подготовляют растворонагнетатель к работе и нагнетают цементно-песчаный раствор за обделку. Проходчики П1 и П2 подготовляют насос Н-403 для обжатия обделки.
При монтаже блоков проходчик П3 срубка бетона обделки опорных тоннелей отбойным молотком.
Обжатием двух арок станции завершается цикл работ.
IV. График сооружения 1 м обратного свода станции

Примечание: В числителе указано число рабочих, в знаменателе - время выполнения операций в минутах
V. Калькуляция затрат труда на разработку и погрузку грунта лотка станционного тоннеля (на 1 м)
|
Шифр нормативного источника |
Наименование работ |
Единица измерения |
Объем работ |
Состав бригады |
На единицу измерения |
На весь объем |
||
|
норма времени, чел-ч |
расценка, руб.-коп. |
нормативное время, чел-ч |
Сумма заработной платы, руб.-коп. |
|||||
|
Местная норма СМУ-3 |
Разработка грунта, погрузка в ковш экскаватора, разгрузка в бункер |
100 м3 |
0,40 |
Экскаваторщик 6 разр. - 1 Помощник 5 разр. - 1 |
27,5 |
36-52 |
11,0 |
13-01 |
|
ЕНиР § 36-2-120 п. 3б примечание |
Погрузка грунта конвейером в вагонетки |
1 м3 |
40 |
Проходчик 4 разр. - 1 |
0,09 |
0-09,3 |
3,6. |
3-72 |
|
|
Всего |
|
14,6 |
16-73 |
||||
|
|
Итого |
(чел-дн) |
2,03 |
|
||||
V. Калькуляция затрат труда на сооружение 1 м обратного свода станции
|
Шифр норм и расценок |
Наименование работ |
Единица измерения |
Объем работ |
Состав звена |
На единицу измерения |
На весь объем |
||
|
норма времени, чел-ч |
расценка, руб.-коп. |
затраты труда, чел-ч |
сумма заработной платы, руб.-коп. |
|||||
|
1 |
2 |
3 |
4 |
5 |
6 |
7 |
8 |
9 |
|
ЕНиР § 36-2-40 п. 3б |
Разработка грунта отбойными молотками IV категории |
м3 |
5 |
Проходчик 5 разр. - 1 |
1,15 |
1-36 |
5,75 |
6-48 |
|
ЕНиР § 36-2-128" п. б |
Перекидка породы |
" |
5 |
Проходчик 4 разр. – 1 |
1,1 |
1-14 |
5,5 |
5-70 |
|
ЕНиР § 36-2-147 |
Срубка сплошного слоя бетона |
М2 |
1 |
Проходчик 4 разр. – 1 |
1,3 |
1-34 |
1,3 |
1-34 |
|
Местная норма СМУ-17 Ленметро-строя |
Передвижка кран-балки специальной конструкции |
передвижка |
1 |
Проходчики: 5 разр. – 1 4 " - 5 |
4,7 |
3-63 |
4,7 |
3-63 |
|
ЕНиР § 36-2-59 п.5а, 6а с поправкой на количество |
Монтаж обделки обратного свода (10 блоков в арке) |
Арка |
2 |
Проходчики: 6 разр. - 1 5 " - 1 4 " - 1 |
21,0 |
25-31 |
42 |
50-62 |
|
ЕНиР § 36-2-104 |
Нагнетание цементно-песчаного раствора за обделку тоннеля большого диаметра нагнетателем РН-1 |
М3 |
3,5 |
Проходчик 5 разр. - 1 Нагнетальщик 3 разр. - 1 |
3,7 |
3-89 |
12,95 |
13-61 |
|
|
Всего |
72,2 |
81-38 |
|||||
|
|
Итого |
(чeл.-дн.) |
10,02 |
|
||||
VI. Основные технико-экономические показатели на сооружение 1 м обратного свода станции
|
Наименование показателей |
Единица измерения |
По калькуляции А |
По графику Б |
На сколько процентов показатели по графику больше (+) или меньше (-), чем по калькуляции
|
|
Трудоемкость сооружения обратного овода (1 м) |
чел-дн |
12,05 |
10,56 |
-12,3 |
|
Средний разряд рабочих |
|
4,02 |
4,14 |
+1,03 |
VII. Материально-технические ресурсы на сооружение 1 м обратного свода
А. Основные материалы и конструкции
|
Наименование |
Номер ГОСТа, марка |
Количество |
|
Блоки железобетонные, шт. |
9,8 НБО |
18 |
|
Распорный железобетонный блок, шт. |
-"- |
2 |
|
Цемент марки 400, т |
0,9 |
|
|
Песок, м3 |
3,0 |
Б. Машины, оборудование, инструмент, инвентарь
|
Наименование |
Марка, номер ГОСТа, чертежа |
Количество |
|
Кран-балка пролетом 18,4 м грузоподъемностью 3 т |
По проекту Ленметрогипротранса |
1 |
|
Растворонагнетатель |
PH-1 |
1 |
|
Насос высокого давления |
Н-403 |
1 |
|
Отбойные пневматические молотки |
МО-8П |
4 |
|
Блоковозки |
20 |
|
|
Вагонетки вместимостью 1,5 м3 |
ГОСТ 15174-70 |
16 |
|
ГОСТЫ, СТРОИТЕЛЬНЫЕ и ТЕХНИЧЕСКИЕ НОРМАТИВЫ. Некоммерческая онлайн система, содержащая все Российские Госты, национальные Стандарты и нормативы. В Системе содержится более 150000 файлов нормативно-технической документации, действующей на территории РФ. Система предназначена для широкого круга инженерно-технических специалистов. Copyright © www.gostrf.com, 2008 - 2026 |