|
|
КОНТЕЙНЕРЫ ГРУЗОВЫЕ СЕРИИ 1 Классификация, размеры и масса ISO 668:1995
Предисловие Цели и принципы стандартизации в Российской Федерации установлены Федеральным законом
от 27 декабря Сведения о стандарте 1 ПОДГОТОВЛЕН Закрытым акционерным обществом «Промтрансниипроект» (ЗАО «Промтрансниипроект») 2 ВНЕСЕН Техническим комитетом по стандартизации ТК 246 «Контейнеры» 3
УТВЕРЖДЕН И ВВЕДЕН В ДЕЙСТВИЕ Приказом Федерального агентства по техническому
регулированию и метрологии от 27 мая 4 Настоящий стандарт является модифицированным по отношению к международному стандарту ИСО 668:1995 «Контейнеры грузовые серии 1. Классификация, размеры и масса» (ISO 668:1995 «Series 1 freight containers - Classification, dimensions and ratings») путем внесения технических отклонений, объяснение которых приведено во введении к настоящему стандарту, и изменения его структуры. При этом дополнительные слова, показатели и их значения, включенные в текст стандарта для учета потребностей национальной экономики Российской Федерации, выделены курсивом 5 ВВЕДЕН ВПЕРВЫЕ Информация об изменениях к настоящему стандарту публикуется в ежегодно издаваемом информационном указателе «Национальные стандарты», а текст изменений и поправок - в ежемесячно издаваемых информационных указателях «Национальные стандарты». В случае пересмотра (замены) или отмены настоящего стандарта соответствующее уведомление будет опубликовано в ежемесячно издаваемом информационном указателе «Национальные стандарты». Соответствующая информация, уведомление и тексты размещаются также в информационной системе общего пользования - на официальном сайте Федерального агентства по техническому регулированию и метрологии в сети Интернет Содержание Введение Настоящий стандарт является модифицированным по отношению к международному стандарту ИСО 668:1995 «Контейнеры грузовые серии 1. Классификация, размеры и масса». По сравнению с примененным международным стандартом ИСО 668:1995 в текст настоящего стандарта внесены следующие изменения: - в разделе 1 исключен полностью третий абзац; - в разделе 2 международные стандарты заменены на аналогичные национальные; - в разделе 3 исключены термины и определения, приведены ссылки на ГОСТ Р 52202-2004 (ИСО 830-99) «Контейнеры грузовые. Термины и определения»; - в разделе 4, таблицы 1, номинальная длина приведена в мм; - в разделе 5, 5.2.2 исключен текст после первой запятой; 5.3.2 первый абзац перенесен в примечания к 5.3.2.2 и 5.3.3; в 5.3.2.1 исключен седьмой абзац; в 5.3.2.2 объединены три абзаца в один. НАЦИОНАЛЬНЫЙ СТАНДАРТ РОССИЙСКОЙ ФЕДЕРАЦИИ
Дата введения - 2010-01-01 1 Область примененияНастоящий стандарт устанавливает классификацию грузовых контейнеров серии 1 (далее - контейнеры), основанную на наружных размерах, максимальной массе брутто, минимальных внутренних размерах и минимальных размерах дверных проемов для контейнеров различных типов. Контейнеры предназначены для перевозок железнодорожным, морским (речным) и автомобильным транспортом. 2 Нормативные ссылкиВ настоящем стандарте использованы нормативные ссылки на следующие стандарты: ГОСТ Р 50697-94 (ИСО 1496-2-88) Контейнеры грузовые серии 1. Технические требования и методы испытаний. Часть 2. Контейнеры изотермические ГОСТ Р 51876-2008 (ИСО 1496-1:1990) Контейнеры грузовые серии 1. Технические требования и методы испытаний. Часть 1. Контейнеры общего назначения ГОСТ Р 51891-2008 (ИСО 1161:1984) Контейнеры грузовые серии 1. Фитинги. Технические условия ГОСТ Р 52202-2004 (ИСО 830- 99) Контейнеры грузовые. Термины и определения ГОСТ Р 52524-2005 (ИСО 6346:1995) Контейнеры грузовые. Кодирование, идентификация и маркировка ГОСТ 30302-95/ГОСТ Р 50610-93 Контейнеры специализированные. Типы, основные параметры и размеры ГОСТ 31314.3-2006 (ИСО 1496-3:1995) Контейнеры грузовые серии 1. Технические требования и методы испытаний. Часть 3. Контейнеры-цистерны для жидкостей, газов и сыпучих грузов под давлением Примечание - При пользовании настоящим стандартом целесообразно проверить действие ссылочных стандартов в информационной системе общего пользования - на официальном сайте Федерального агентства по техническому регулированию и метрологии в сети Интернет или по ежегодно издаваемому информационному указателю «Национальные стандарты», который опубликован по состоянию на 1 января текущего года, и по соответствующим ежемесячно издаваемым информационным указателям, опубликованным в текущем году. Если ссылочный стандарт заменен (изменен), то при пользовании настоящим стандартом следует руководствоваться заменяющим (измененным) стандартом. Если ссылочный стандарт отменен без замены, то положение, в котором дана ссылка на него, применяется в части, не затрагивающей эту ссылку. 3 Термины и определенияВ настоящем стандарте применены термины по ГОСТ Р 52202. 4 Классификация и конструктивные параметрыКонтейнеры имеют постоянную ширину Номинальная длина различных типов контейнеров приведена в таблице 1. Таблица 1 - Номинальная длина контейнеров
Контейнеры 1ЕЕЕ, 1ААА и 1ВВВ имеют высоту Контейнеры 1ЕЕ, 1АА, 1ВВ и 1СС имеют высоту Контейнеры 1А, 1В, 1С и 1D имеют высоту Контейнеры 1АХ, 1ВХ, 1СХ и 1DX имеют высоту менее Примечание - Буква «X», применяемая при определении типа контейнера, не имеет специального значения; она показывает, что значение высоты контейнера от 0 до 5 Размеры, допуски и масса5.1 Учет температуры при измеренияхРазмеры и допуски указаны для температуры 20°С (68° по Фаренгейту); в измерения, выполненные при других температурах, должны быть внесены соответствующие поправки. 5.2 Наружные размеры, допуски и масса5.2.1 Наружные размеры и допуски Наружные размеры и разрешенные допуски приведены в таблице 2 для контейнеров всех типов по ГОСТ Р 50697, ГОСТ Р 51876, ГОСТ 30302, ГОСТ 31314.3, [1] и [2]. Пониженная высота контейнеров допустима для контейнеров-цистерн по ГОСТ 31314.3, контейнеров с открытым верхом по ГОСТ Р 51876, контейнеров для сыпучих грузов по [1], контейнеров-платформ и на базе платформ по [2]. Значения масс, приведенные в таблице 2, применимы к контейнерам всех типов по ГОСТ Р 50697, ГОСТ Р 51876, ГОСТ 30302, ГОСТ 31314.3, [1] и [2]. Примечание - Учитывая постоянную потребность в специализированных контейнерах для специальных видов перевозок, следует обратить внимание на то, что имеется значительное количество контейнеров, которые по размерам длины и ширины удовлетворяют требованиям, предъявляемым к контейнерам серии 1 ИСО, но имеют высоту или максимальную массу брутто, превышающие значения, определенные настоящим стандартом и установленные в таблице 2. Такие контейнеры не могут быть рекомендованы для перевозок железнодорожным, морским (речным) и автомобильным транспортом, а их эксплуатация требует особой регламентации. Таблица 2 - Значения наружных размеров, разрешенных допусков и масс контейнеров
5.2.3 Паз (несквозной тоннель) «шея гуся» В основании контейнеров типов 1ЕЕЕ и 1ААА паз (несквозной тоннель) должен быть выполнен обязательно, а для контейнеров типов 1ЕЕ, 1АА, 1А, 1АХ, 1ВВ, 1В и 1ВХ паз не является обязательным элементом. Требования к размерам паза установлены в приложении С. 5.3 Внутренние размеры и размеры дверных проемов5.3.1 Внутренние размеры контейнеров с выступающими вовнутрь угловыми фитингами Если верхний угловой фитинг выступает во внутреннее пространство контейнера, то та его часть, которая выступает вовнутрь контейнера, не учитывается при определении внутренних размеров контейнера, приведенных в таблице 3. Таблица 3 - Минимальные внутренние размеры и минимальные размеры дверного проема контейнеров В миллиметрах
5.3.2 Контейнеры общего назначения по ГОСТ Р 51876 5.3.2.1 Минимальные внутренние размеры Внутренние размеры контейнеров должны быть, по возможности, наибольшими, но в любом случае: - для контейнеров типов G0, G1, V0 должны выполняться требования к величинам минимальных внутренних размеров длины, ширины и высоты, приведенные в таблице 3; - для контейнеров типа G3, имеющих дверной(ые) проем(ы) в боковой(ых) стенке(ах), должны выполняться требования к величинам минимальных внутренних размеров длины и высоты, приведенные в таблице 3; - для контейнеров типов U0 и U5 с открытым верхом должны выполняться требования к величинам минимальных внутренних размеров длины и ширины, приведенные в таблице 3; - для контейнеров типов G2 и U2, имеющих открытую(ые) сторону(ы) и/или открытый верх, должны выполняться требования к величине минимального внутреннего размера длины, приведенные в таблице 3. 5.3.2.2 Минимальные размеры дверных проемов Закрытые контейнеры 1ЕЕЕ, 1ЕЕ, 1ААА, 1АА, 1А, 1ВВВ, 1ВВ, 1В, 1СС, 1С и 1D (типов G0, G1 и G3) должны иметь дверной проем, предпочтительно совпадающий по размерам с внутренним поперечным сечением (высота и ширина) контейнеров. Размеры дверного проема должны быть не меньше значений, приведенных в таблице 3. Примечание - Пояснения к кодам типов контейнеров по ГОСТ Р 52524. 5.3.3 Изотермические контейнеры по ГОСТ Р 50697 Внутренние размеры и размеры дверных проемов изотермических контейнеров должны быть, по возможности, наибольшими. Дверные проемы, предпочтительно, должны иметь размеры, соответствующие внутреннему поперечному сечению контейнеров. Внутренние размеры должны измеряться от внутренних поверхностей обрешеток, переборок, воздухопроводов в потолке и полу контейнера или других устройств, где они предусмотрены. Для контейнеров с кодами типа групп R и Н минимальная внутренняя ширина должна быть
Примечание - Пояснения к кодам типов контейнеров по ГОСТ Р 52524. 5.3.4 Другие типы контейнеров по [1] Внутренние размеры, размеры дверных проемов и размеры торцевых открытий должны быть, по возможности, наибольшими. 5.4 Размещение угловых фитингов по ГОСТ Р 51891Размеры (длина и ширина) между центрами отверстий, их допуски и значения разности диагоналей, измеренных по центрам отверстий угловых фитингов, приведены в приложении А. Приложение А
|
||||||||||||||||||||||||||||||||||||||||||||||||||||||||||||||||||||||||||||||||||||||||||||||||||||||||||||||||||||||||||||||||||||||||||||||||||||||||||||||||||||||||||||||||||||||||||||||||||||||||||||||||||||||||||||||||||||||||||||||||||||||||||||||||||||||||||||||||||||||||||||||||||||||||||||||||||||||||||||||||||||||||||||||||||||||||||||||||||||||||||||||||||||||||||||||||||||||||||||||||||||||||||||||||||||||||||||||||||||
|
Тип контейнера |
S (ref.) |
Р (ref.) |
К1 max1) |
К2 max2) |
||||||
|
мм |
фут |
дюйм |
мм |
фут |
дюйм |
мм |
дюйм |
мм |
дюйм |
|
|
1ЕЕЕ |
13509 |
44 |
3 7/8 |
2259 |
7 |
4 31/32 |
19 |
3/4 |
10 |
3/8 |
|
1ЕЕ |
||||||||||
|
1ААА |
11985 |
39 |
3 7/8 |
2259 |
7 |
4 31/32 |
19 |
3/4 |
10 |
3/8 |
|
1АА |
||||||||||
|
1А |
||||||||||
|
1АХ |
||||||||||
|
1ВВВ |
8918 |
29 |
3 1/8 |
2259 |
7 |
4 31/32 |
16 |
5/8 |
10 |
3/8 |
|
1ВВ |
||||||||||
|
1В |
||||||||||
|
1ВХ |
||||||||||
|
1СС |
5853 |
19 |
2 7/16 |
2259 |
7 |
4 31/32 |
13 |
1/2 |
10 |
3/8 |
|
1С |
||||||||||
|
1СХ |
||||||||||
|
1D |
2787 |
9 |
1 23/32 |
2259 |
7 |
4 31/32 |
10 |
3/8 |
10 |
3/8 |
|
1DX |
||||||||||
|
Допуски к размерам S и Р устанавливаются в соответствии с допусками, приведенными для наружной длины и ширины контейнера в настоящем стандарте и в ГОСТ Р 51891. Размеры и допуски в футах и дюймах приведены для справок. |
||||||||||
|
1) К1 - разность между Д1 и Д2 или между Д3 и Д4, следовательно К1 = (Д1 - Д2) или К1 = (Д3 - Д4) 2) К2 - разность между Д5 и Д6, следовательно К2 = (Д5 - Д6). |
||||||||||

С1 -размер углового фитинга 101,50-
Примечание - Размеры L, H и W измеряют вдоль соответствующих кромок.
Рисунок А.1 - Размещение угловых фитингов
В.1 Предусмотренные конструкцией основания торцевые и поперечные элементы (балки), на которых расположены опорные (контактные) площадки, должны выдерживать и передавать нагрузки на соответствующие продольные элементы конструкций транспортного средства (например, полуприцепа-контейнеровоза).
Предполагается, что продольные элементы транспортного средства лежат в пределах двух зон шириной по

Рисунок В.1 - Основание контейнера
В.2 Контейнеры, в основании которых нет поперечных элементов (балок), удаленных друг от друга на расстояние
В.2.1 Каждая пара опорных (контактных) площадок, расположенных на торцевых поперечных элементах (балках), должна выдерживать нагрузки не менее 0,5 Rg, т. е. силы, которые могут возникнуть при установке контейнера на такое транспортное средство, на котором он не опирается на свои нижние угловые фитинги.
Нагрузку, возникающую при выполнении транспортных операций и воспринимаемую промежуточными опорными (контактными) площадками, рассчитывают как 1,5 Rg/n [n - число пар промежуточных опорных (контактных) площадок].
В.2.2 Минимальное число пар опорных (контактных) площадок составляет:
4 для контейнеров типов 1СС, 1С, 1СХ;
5 для контейнеров типов 1ВВВ, 1ВВ, 1В, 1ВХ;
5 для контейнеров типов 1ЕЕ, 1АА, 1А, 1АХ;
6 для контейнеров типов 1ЕЕЕ, 1ЕЕ, 1ААА, 1АА, 1А, 1АХ, оснащенных несквозным тоннелем для установки на полуприцепе с передней балкой типа «шея гуся».
В случае большого числа пар опорных (контактных) площадок их размещают равномерно по всей длине контейнера.
В.2.3 Расстояние между торцевым поперечным элементом (балкой) и ближайшей промежуточной парой опорных (контактных) площадок должно быть:
- от 1700 до
- от 1000 до
В.2.4 Каждая опорная (контактная) площадка должна быть размером не менее
В.3 Минимальные требования к опорным (контактным) площадкам, расположенным вблизи тоннеля «шея гуся», показаны на рисунке В.10.
Примечание - На рисунках В.2 - В.9 опорные (контактные) площадки, соприкасающиеся с основанием контейнера, показаны черным. Контактные площадки в тоннеле «шея гуся» показаны черным на рисунке В.10.
Размещение опорных (контактных) площадок по типам контейнеров
|
|
|
|
Рисунок В.2 - Контейнеры типов 1СС, 1С или 1СХ. Минимальные требования: четыре пары опорных (контактных) площадок (одна пара на каждом торце плюс две промежуточные пары) |
Рисунок В.3 - Контейнеры типов 1СС, 1С или 1СХ. Требования к контейнерам, имеющим пять пар опорных (контактных) площадок |

Рисунок В.4 - Контейнеры типов 1ВВВ, 1ВВ, 1В или 1ВХ.
Минимальные требования: пять пар опорных (контактных) площадок (одна пара на каждом торце плюс три промежуточные пары)

Рисунок В.5 - Контейнеры типов 1ВВВ, 1ВВ, 1В или 1ВХ.
Требования к контейнерам, имеющим шесть пар опорных (контактных) площадок

Рисунок В.6 - Контейнеры типов 1ЕЕ, 1АА, 1А или 1АХ (без тоннеля для установки на полуприцепе с передней балкой типа «шея гуся»).
Минимальные требования: пять пар опорных (контактных) площадок (одна пара на каждом торце плюс три промежуточные пары)

Рисунок В.7 - Контейнеры типов 1ЕЕ, 1АА, 1А или 1АХ (без тоннеля для установки на полуприцепе с передней балкой типа «шея гуся»).
Требования к контейнерам, имеющим шесть пар опорных (контактных) площадок

Минимально локализуемая конструкция (см. также рисунок В.10)
Рисунок В.8 - Контейнеры типов 1ЕЕЕ, 1ЕЕ, 1ААА, 1АА или 1АХ, имеющие несквозной тоннель для установки на полуприцепе с передней балкой типа «шея гуся».
Минимальные требования: шесть пар опорных (контактных) площадок (одна пара на каждый торец плюс четыре промежуточные пары)
Минимально локализуемая конструкция (см. также рисунок В.10)
Рисунок В.9 - Контейнеры типов 1ЕЕЕ, 1ЕЕ, 1ААА, 1АА или 1АХ, имеющие несквозной тоннель для установки на полуприцепе с передней балкой типа «шея гуся».
Требования к контейнерам, имеющим семь пар опорных (контактных) площадок
1 - торец контейнера; 2 - центральная ось
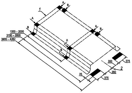
Все опорные площадки тоннеля состоят из двух частей: верхней части А и нижней части В. Эти спаренные части А и В следует рассматривать как единую опорную площадку, состоящую из двух компонентов А + В, имеющую площадь не более 1250 мм2.
Примечание - Там, где тоннель имеет сплошные боковые элементы в пределах расстояния 3150-
Рисунок В. 10 - Минимальные требования к опорным площадкам в тоннеле для установки контейнера на полуприцеп с передней балкой типа «шея гуся»

1 - поверхность передней торцевой балки; 2 - уровень нижних поверхностей поперечных элементов
Рисунок С.1 - Размеры тоннеля контейнера, в который может входить балка типа «шея гуся» полуприцепа
Таблица С.1
В миллиметрах
|
Длина |
Ширина |
Высота |
||||||||
|
Lt |
D |
Wt |
Xt |
Yt |
Yt |
Z |
Bt |
bt |
bt |
С |
|
3900-4000* |
|
930 |
|
1070 |
1130 |
25 |
|
35 |
70 |
|
|
Примечания 1 Размер Bt измеряют в задней части тоннеля на расстоянии примерно 2 Конструкция тоннеля может быть образована сплошными элементами с минимальной длиной, указанной в таблице, и внутренними размерами, обведенными сплошной черной линией на рисунке В.10. |
||||||||||
* Только для контейнеров типа 1ЕЕЕ.
Таблица D.1
|
Обозначение ссылочного национального стандарта Российской Федерации |
Обозначение и наименование ссылочного международного стандарта и условное обозначение степени его соответствия ссылочному национальному стандарту |
|
ГОСТ
Р 50697-94 |
ИСО 1496-2:1988 «Контейнеры грузовые серии 1. Технические требования и методы испытаний. Часть 2. Контейнеры изотермические» (MOD) |
|
ГОСТ Р 51876-2008 |
ИСО 1496-1:1990 «Контейнеры грузовые серии 1. Технические требования и методы испытаний. Часть 1. Контейнеры общего назначения» (MOD) |
|
ГОСТ Р 51891-2008 |
ИСО 1161:1984 «Контейнеры грузовые серии 1. Фитинги. Технические условия» (MOD) |
|
ГОСТ Р 52202-2004 |
ИСО 830:1999 «Контейнеры грузовые. Термины и определения» |
|
ГОСТ Р 52524-2004 |
ИСО 6346:1995 «Контейнеры грузовые. Кодирование, идентификация и маркировка» |
|
ГОСТ 31314.3-2006 |
ИСО 1496-3:1995 «Контейнеры грузовые серии 1. Технические требования и методы испытаний. Часть 3. Контейнеры-цистерны для жидкостей, газов и сыпучих грузов под давлением» |
|
Примечание - В настоящей таблице использовано следующее условное обозначение степени соответствия стандартов: - MOD - модифицированные стандарты. |
|
|
[1] ИСО 1496-4:1991 |
Контейнеры грузовые серии 1. Технические требования и методы испытаний. Часть 4. Балк-контейнеры для сыпучих грузов без давления |
|
[2] ИСО 1496-5:1991 |
Контейнеры грузовые серии 1. Технические требования и методы испытаний. Часть 5. Контейнеры-платформы и на базе платформы |
Ключевые слова: грузовые контейнеры, классификация, код типа контейнера, тип контейнера, номинальная длина, закрытый контейнер, контейнер общего назначения, изотермический контейнер, контейнер-платформа, опорные площадки
|
ГОСТЫ, СТРОИТЕЛЬНЫЕ и ТЕХНИЧЕСКИЕ НОРМАТИВЫ. Некоммерческая онлайн система, содержащая все Российские Госты, национальные Стандарты и нормативы. В Системе содержится более 150000 файлов нормативно-технической документации, действующей на территории РФ. Система предназначена для широкого круга инженерно-технических специалистов. Copyright © www.gostrf.com, 2008 - 2026 |