|
|
|
ФЕДЕРАЛЬНОЕ АГЕНТСТВО
Государственная
система обеспечения КОЛЕБАТЕЛЬНАЯ
МОЩНОСТЬ, ИЗЛУЧАЕМАЯ Часть 2 Методика выполнения косвенных измерений
Предисловие Цели и принципы стандартизации в Российской Федерации установлены Федеральным законом от 27 декабря 2002 г. № 184-ФЗ «О техническом регулировании», а правила применения национальных стандартов Российской Федерации - ГОСТ Р 1.0-2004 «Стандартизация в Российской Федерации. Основные положения» Сведения о стандарте 1 РАЗРАБОТАН Федеральным государственным унитарным предприятием «Всероссийский научно-исследовательский институт метрологии им. Д.И. Менделеева» (ФГУП «ВНИИМ им. Д.И. Менделеева») Федерального агентства по техническому регулированию и метрологии и Федеральным государственным унитарным предприятием Государственным научным центром Российской Федерации «Центральный научно-исследовательский институт им. академика А.Н. Крылова» (ФГУП «ЦНИИ им. академика А.Н. Крылова») 2 ВНЕСЕН Управлением метрологии Федерального агентства по техническому регулированию и метрологии 3 УТВЕРЖДЕН И ВВЕДЕН В ДЕЙСТВИЕ Приказом Федерального агентства по техническому регулированию и метрологии от 20 июля 2009 г. № 255-ст 4 ВВЕДЕН ВПЕРВЫЕ Информация об изменениях к настоящему стандарту публикуется в ежегодно издаваемом информационном указателе «Национальные стандарты», а текст изменений и поправок - в ежемесячно издаваемых информационных указателях «Национальные стандарты». В случае пересмотра (замены) или отмены настоящего стандарта соответствующее уведомление будет опубликовано в ежемесячно издаваемом информационном указателе «Национальные стандарты». Соответствующая информация, уведомление и тексты размещаются также в информационной системе общего пользования - на официальном сайте Федерального агентства по техническому регулированию и метрологии в сети Интернет Содержание НАЦИОНАЛЬНЫЙ СТАНДАРТ РОССИЙСКОЙ ФЕДЕРАЦИИ Государственная система обеспечения единства измерений КОЛЕБАТЕЛЬНАЯ
МОЩНОСТЬ, ИЗЛУЧАЕМАЯ МАШИНАМИ Часть 2 Методика выполнения косвенных измерений State system for ensuring the uniformity of
measurements. Mechanical vibration and shock. Дата введения - 2010-01-01 1 Область применения1.1 Настоящий стандарт устанавливает методику выполнения измерений (далее - методика измерений) колебательной мощности, излучаемой механизмами, установками, оборудованием, трубопроводами (далее - машина) в виброизоляторы, расположенные между машиной и присоединенными опорными конструкциями (далее - фундамент), и через виброизоляторы в фундамент, при стационарном случайном вибрационном процессе. 1.2 В настоящем стандарте использован косвенный метод определения колебательной мощности, излучаемой машиной, по результатам обработки электрических сигналов, поступающих с электромеханических преобразователей (датчиков), фиксирующих скорость (или ускорение) вибрации на входе и выходе виброизоляторов машины, а также на основе информации о входных и передаточных механических сопротивлениях виброизоляторов. 1.3 Настоящий стандарт устанавливает методику измерений шести составляющих колебательной мощности, излучаемой машиной в виде трех линейных (поступательных) и трех поворотных составляющих вибрации. 1.4 Методика измерений с помощью косвенного метода, установленная настоящим стандартом, предусматривает: - работу машины в стационарном режиме; - установку датчиков вибрации на входе и выходе виброизоляторов, соединяющих машину с фундаментом; - измерение действительной и мнимой частей взаимных спектров вибрации на входе и выходе виброизоляторов. Результаты измерений излучаемой колебательной мощности могут быть использованы в целях: а) определения и сравнения виброактивности машин различных принципов действия, типов, масс и габаритных размеров в конкретных условиях эксплуатации; б) разработки технических требований к допустимой вибрации машин; в) разработки предложений по контролю вибрации машин и условий проведения этого контроля; г) решения задач виброакустической диагностики машин и их виброакустической защиты; д) разработки мероприятий по уменьшению виброактивности машин и повышению эффективности виброакустической защиты машин. 2 Нормативные ссылкиВ настоящем стандарте использованы нормативные ссылки на следующие стандарты: ГОСТ 12.2.007.0-75 Система стандартов безопасности труда. Изделия электротехнические. Общие требования безопасности ГОСТ ИСО 5348-2002 Вибрация и удар. Механическое крепление акселерометров ГОСТ 16819-71 Приборы виброизмерительные. Термины и определения ГОСТ 24346-80 Вибрация. Термины и определения ГОСТ 24347-80 Вибрация. Обозначения и единицы величин Примечание - При пользовании настоящим стандартом целесообразно проверить действие ссылочных стандартов в информационной системе общего пользования - на официальном сайте Федерального агентства по техническому регулированию и метрологии в сети Интернет или по ежегодно издаваемому информационному указателю «Национальные стандарты», который опубликован по состоянию на 1 января текущего года, и по соответствующим ежемесячно издаваемым информационным указателям, опубликованным в текущем году. Если ссылочный стандарт заменен (изменен), то при пользовании настоящим стандартом следует руководствоваться заменяющим (измененным) стандартом. Если ссылочный стандарт отменен без замены, то положение, в котором дана ссылка на него, применяется в части, не затрагивающей эту ссылку. 3 Термины, определения и обозначенияВ настоящем стандарте применены термины по ГОСТ 16819, ГОСТ 24346, ГОСТ 24347, рекомендациям по метрологии [1], а также следующие термины с соответствующими определениями и обозначениями: 3.1 косвенный метод: Метод измерения колебательной мощности, излучаемой машиной, по результатам измерений взаимных спектров вибрации на входе и выходе виброизоляторов и на основе информации о механических сопротивлениях виброизоляторов машины. 3.2 виброизолятор: Устройство, одной из функций которого является уменьшение передачи колебаний в определенном диапазоне частот. 3.3 линейность: Свойство виброизолятора, проявляющееся в случае, когда его динамическое поведение удовлетворяет принципу суперпозиции. 3.4 вектор скорости вибрации q: Вектор, содержащий шесть составляющих скорости вибрации (три линейные и три поворотные), направленных вдоль координатных осей х, у и z. 3.5 линейные составляющие скорости вибрации 3.6 поворотные составляющие скорости вибрации φ,
ψ, Θ, 3.7 составляющие ускорения вибрации 3.8 вектор силы F: Вектор возмущающей силы, содержащий шесть составляющих (три линейные силы и три момента силы), направленных вдоль координатных осей х, у и z соответственно. 3.9 линейные составляющие силы Fi: Линейные составляющие возмущающей силы (i = 1, 2, 3), направленные вдоль координатных осей х, у и z соответственно. 3.10 составляющие момента силы Мi(Fi): Составляющие момента возмущающей силы (i = 4, 5, 6), направленные вдоль координатных осей х, у и z соответственно. 3.11 вектор силы, приложенной к n-му виброизолятору Fn: Вектор возмущающей силы, приложенной к n-му виброизолятору (матрица - столбец), содержащий шесть составляющих (три линейные силы и три момента силы), направленных вдоль координатных осей х, у и z соответственно. 3.12 составляющие силы, приложенной к n-му виброизолятору Fin: Составляющие возмущающей силы (i = 1, 2, 3, 4, 5, 6), приложенной к n-му виброизолятору. 3.13 вектор скорости вибрации n-го виброизолятора 3.14 составляющие скорости вибрации в точке 3.15 составляющие ускорения вибрации в точке 3.16 составляющие скорости вибрации машины и фундамента 3.17 составляющие
ускорения вибрации машины и фундамента 3.18 составляющие силы, приложенной к n-му виброизолятору со стороны машины Fin,аф: Составляющие возмущающей силы (i = 1, 2, 3, 4, 5, 6), приложенной со стороны машины к n-му виброизолятору. 3.19 составляющие силы, приложенной к фундаменту Fin,ф: Составляющие возмущающей силы (i = 1, 2, 3, 4, 5, 6), приложенной к фундаменту через n-й виброизолятор. 3.20 матрица механических сопротивлений виброизолятора [Z]: Матрица частотно-зависимых комплексных механических сопротивлений виброизолятора. 3.21 матрица входных и выходных механических сопротивлений виброизолятора [Zвх] и [Zвых]: Матрица входных и выходных частотно-зависимых комплексных механических сопротивлений виброизолятора. 3.22 матрица передаточных механических сопротивлений виброизолятора |Zперед| (|Zвх, вых|; |Zвых, вх|): Матрица передаточных частотно-зависимых комплексных механических сопротивлений виброизолятора. 3.23 входное механическое сопротивление виброизолятора Zвх ij: Частотно-зависимое комплексное отношение силы, приложенной ко входу отдельного виброизолятора в i-м направлении, к j-й составляющей скорости вибрации на входе виброизолятора при условии, что остальные пять составляющих вибрации на входе виброизолятора и шесть составляющих вибрации на его выходе блокированы, т. е. равны нулю. 3.24 выходное механическое сопротивление виброизолятора Zвых ij: Частотно-зависимое комплексное отношение силы, приложенной к выходу отдельного виброизолятора в i-м направлении, к j-й составляющей скорости вибрации на выходе виброизолятора при условии, что остальные шесть составляющих вибрации на входе виброизолятора и пять составляющих вибрации на его выходе блокированы, т. е. равны нулю. 3.25 передаточное механическое сопротивление виброизолятора Zперед ij; (Zвх, вых ij; Zвых, вх ij): Частотно-зависимое комплексное отношение силы, приложенной к блокированному выходу (входу) отдельного виброизолятора в i-м направлении, к j-й составляющей скорости вибрации на входе (выходе) виброизолятора при условии, что остальные пять составляющих вибрации на входе (выходе) виброизолятора равны нулю. 3.26 излучаемая колебательная мощность Р: Скалярное произведение вектора силы и вектора скорости вибрации. 3.27 составляющие излучаемой колебательной мощности Рi: Составляющие колебательной мощности, излучаемые в виде i-й составляющей скорости вибрации. 3.28 колебательная мощность, излучаемая машиной в n-й виброизолятор Рп, аф: Скалярное произведение векторов силы, приложенной со стороны машины к n-му виброизолятору, и скорости вибрации в месте крепления n-го виброизолятора к машине. 3.29 колебательная мощность, излучаемая машиной в фундамент через n-й виброизолятор Рп, ф: Скалярное произведение векторов силы, приложенной к фундаменту через n-й виброизолятор, и скорости вибрации фундамента в месте крепления n-го виброизолятора к фундаменту. 3.30 взаимный спектр ReG(A, В) и lmG(A, В): Действительная и мнимая части взаимного спектра вибрационных процессов A(t) и B(t). 3.31 уровень колебательной мощности Lp, дБ: Десятичный логарифм отношения значения измеренной колебательной мощности к значению колебательной мощности 10-12 Вт, соответствующему ее нулевому уровню.
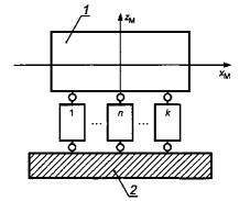
4 Метод измерений4.1 Определение излучаемой колебательной мощности косвенным методом. Общие сведения4.1.1 На рисунке 1 приведены аналитическая модель машины, установленной на виброизоляторы, и система координат, связанная с машиной. На рисунке 2 приведены система координат на входе и выходе виброизолятора, а также обозначения составляющих силы и скорости вибрации.
1 - машина; 2 - фундамент Рисунок 1 - Аналитическая модель машины, установленной на виброизоляторы
1 - виброизолятор Рисунок 2 - Система координат на входе и выходе виброизолятора и обозначения составляющих силы и скорости Плоскости систем координат машины и виброизоляторов zМxМ и xz; zМyМ и zy; хМуМ и ху являются параллельными, соответственно. Координатные оси zM и z; xM и х; ум и у также взаимопараллельны. 4.1.2 Колебательную мощность, излучаемую машиной в n-й виброизолятор (или через него в фундамент), определяют как среднее в бесконечном промежутке времени скалярного произведения векторов силы, действующей на n-й виброизолятор (или через виброизолятор на фундамент), и скорости вибрации на входе n-го виброизолятора в месте соединения с машиной (или на выходе в месте соединения n-го виброизолятора с фундаментом): где Δt = t2 - t1 - интервал времени, в течение которого выполняется усреднение. 4.1.3 Колебательная мощность, излучаемая в n-й виброизолятор (или через него в фундамент), равна сумме мощностей, излучаемых в виде шести составляющих вибрации входного (или выходного) сечения n-го виброизолятора:
4.1.4 Колебательную мощность Р, излучаемую машиной во все виброизоляторы (или через все виброизоляторы в фундамент), определяют как сумму мощностей, излучаемых в отдельные виброизоляторы (или через отдельные виброизоляторы):
4.1.5 Составляющую колебательной мощности, излучаемой машиной через все виброизоляторы в виде i-й составляющей вибрации, определяют по формуле 4.1.6 В частотной области колебательная мощность, излучаемая
в n-й
виброизолятор Рin, аф
и через n-й
виброизолятор в фундамент Рin, ф,
равна действительной части взаимного спектра стационарных случайных процессов
сил Fin,
аф, Fin, ф
и скоростей
где 4.1.7 Соотношения между силами, действующими на
виброизолятор Fiаф
и на фундамент Fiф,
скоростями вибрации машины
Использование этих соотношений позволяет реализовать косвенный метод измерения колебательной мощности, излучаемой в виброизоляторы и через виброизоляторы в фундамент. 4.1.8 При реализации косвенного метода определения колебательной мощности, излучаемой машиной, следует использовать информацию о спектрах механических сопротивлений виброизоляторов и скоростях вибрации машины при полосе частотного анализа Δω, в которой механические сопротивления виброизоляторов возможно рассматривать как комплексные величины. Для выполнения этого условия добротность анализирующего фильтра Q должна быть больше добротности резонансов колебательной системы «машина - система виброизоляции - фундамент». Это условие выполняется при использовании информации о спектрах механических сопротивлений виброизоляторов и скоростях вибрации машины при полосах частотного анализа 1/9-, 1/12- или 1/24-октавы. 4.1.9 Колебательные мощности, излучаемые машиной в виброизоляторы и в фундамент, определяют косвенным методом по результатам измерения скорости вибрации по формулам: 4.1.10 Колебательные мощности, излучаемые машиной в виброизоляторы и в фундамент, определяют косвенным методом по результатам измерения ускорения вибрации по формулам: 4.1.11 В случае если оператор владеет информацией только об элементах матрицы механических сопротивлений виброизоляторов «сила - линейные составляющие вибрации», настоящая методика устанавливает метод измерения трех составляющих колебательных мощностей, излучаемых в виде трех линейных составляющих вибрации. В этом случае индексы i, j в формулах (1)-(11) имеют значения только 1, 2, 3. Примечание - Общая матрица механических сопротивлений виброизоляторов 12×12 приведена на рисунке А.1 (приложение А). На рисунке А.2 (приложение А) приведена матрица механических сопротивлений 6×6, включающая в себя механические сопротивления между линейными силами и линейными скоростями вибрации. На рисунке Б.1 (приложение Б) приведена обобщенная схема осесимметричных виброизоляторов. Этот тип виброизоляторов наиболее распространен на практике. На рисунке Б.2 (приложение Б) приведена матрица механических сопротивлений 6x6, включающая в себя механические сопротивления между линейными силами и линейными скоростями вибрации одиночного осесимметричного виброизолятора. 4.1.12 Для осесимметричных виброизоляторов и виброизоляторов, симметричных относительно плоскостей zx и zy, колебательную мощность, излучаемую машиной в n-й виброизолятор и через него в фундамент в виде линейных составляющих вибрации (i = 1, 2, 3), определяют по формулам:
В случае измерения ускорения вибрации колебательную мощность определяют по формулам:
Примечание - Входное сопротивление виброизоляторов, как правило, больше передаточного сопротивления или равно ему, за исключением металлических пружинных виброизоляторов без средств демпфирования на резонансных частотах. 4.1.13 В случае если уменьшение вибрации при ее
распространении от машины через n-й виброизолятор к фундаменту значительно
(например, более 10 дБ), колебательную мощность 4.1.14 При наличии результатов измерений колебательной
мощности, излучаемой машиной через ограниченное число виброизоляторов l, колебательную мощность 4.1.15 Спектр колебательной мощности, излучаемой машиной в присоединенные конструкции, при узкой полосе Δω частотного анализа измеряют в следующем порядке: - поочередно измеряют действительную и мнимую части взаимного спектра составляющих скорости (или ускорения) вибрации на входе и выходе виброизоляторов; - определяют суммы спектров колебательных мощностей, излучаемых в виде каждой из трех линейных и трех поворотных составляющих вибрации через все виброизоляторы, связывающие машину с присоединенными конструкциями; - определяют спектр полной колебательной мощности, излучаемой машиной через все виброизоляторы в виде трех линейных и трех поворотных составляющих вибрации. 4.2 Определение колебательной мощности, излучаемой в 1/3-октавной полосе частот4.2.1 Колебательную мощность, излучаемую в полосе частот (например, в 1/3-октавной), определяют по формуле где N - число спектральных значений мощности Ра(Δω), измеренной в узкой полосе частот (Δω), в 1/3-октавной полосе частот. 4.2.2 При наличии в 1/3-октавной полосе частот узкополосных
составляющих, имеющих положительные значения, и составляющих, имеющих
отрицательные значения, определяют отдельно положительное где NÅ
- число положительных спектральных составляющих мощности
где N-
- число отрицательных спектральных составляющих мощности 5 Характеристика точности измеренийПределы относительной доверительной погрешности измерений колебательной мощности, излучаемой машиной в виброизоляторы или в фундамент через виброизоляторы в виде i-й составляющей вибрации, составляют 25 % при доверительной вероятности Р = 0,95. 6 Средства измерений и другие технические средства6.1 При выполнении измерений применяют средства измерений и другие технические средства, приведенные в таблице 1. Таблица 1 - Применяемые средства измерений и технические средства
6.2 Метрологические характеристики средств измерений (включая и фазочастотные) определяют в исследуемых диапазонах частот и амплитуд до их установки на место эксплуатации. 7 Требования безопасности7.1 При проведении измерений необходимо соблюдать требования ГОСТ 12.2.007.0. 7.2 При подготовке и проведении измерений необходимо соблюдать требования [2] и [3]. 7.3 Средства измерений и технические средства, а также вспомогательное оборудование должны иметь защитное заземление. Не допускается использовать в качестве заземления корпус (коробку) силовых электрических и осветительных щитов и арматуру центрального отопления. 7.1.4 Установку средств измерений проводят при выключенном напряжении питания. 8 Требования к квалификации операторовК выполнению измерений колебательной мощности, излучаемой машинами в фундамент, допускают лиц: - имеющих высшее техническое или среднее техническое образование; - изучивших настоящую методику измерений, руководства по эксплуатации применяемых средств измерений и технических средств; - знающих правила обработки результатов испытаний; - имеющих опыт проведения виброакустических испытаний и работы со средствами измерений параметров вибрации не менее одного года. 9 Условия измерений9.1 При выполнении измерений колебательной мощности, излучаемой машинами в фундамент, соблюдают следующие условия: температура окружающего воздуха . . . . . . . . . . . . . . . . . от 15 °С до 30 °С; относительная влажность . . . . . . . . . . . . . . . . . . . . . . . . . .от 45 % до 75 %; атмосферное давление . . . . . . . . . . . . . . . . . . . . . . . . . . . . от 84 до 106 кПа. 9.2 При изменении условий измерений, указанных в 9.1, следует учитывать дополнительные погрешности от влияющих факторов, определенные по паспортным данным на средство измерений или техническое средство. 10 Подготовка к выполнению измерений10.1 Общие требования к местам установки и выбору средств измерений10.1.1 Места установки средств измерений должны быть очищены от загрязнений, ржавчины и других мешающих факторов. 10.1.2 Применяемые средства измерений по амплитудному и частотному диапазонам должны соответствовать решаемой измерительной задаче. 10.1.3 Суммарная масса устанавливаемых датчиков вибрации должна быть не менее чем в десять раз меньше массы испытуемой машины, излучающей колебательную мощность в виброизоляцию или фундамент. 10.2 Выбор числа контролируемых виброизоляторов10.2.1 Для получения точных результатов определения суммарной колебательной мощности измеряют колебательную мощность, излучаемую через все виброизоляторы, связывающие машину с фундаментом. Если это невозможно, ограниченное число виброизоляторов для контроля потока колебательной мощности выбирают в следующем порядке. 10.2.2 Измеряют во время работы машины значение
составляющих вибрации вдоль осей х, у и z -
а при наличии исходной информации в единицах относительных величин (дБ) - по формуле
где 10.2.3 Выбирают виброизоляторы, через которые предполагается осуществлять измерение колебательной мощности. В это число следует включить угловые виброизоляторы и произвольные виброизоляторы с каждой из протяженных сторон машины, расположенные на расстоянии не более 1 м друг от друга. 10.2.4 Определяют уровни
или по формуле (при наличии исходной информации в единицах относительных величин, дБ)
Абсолютная разность между уровнями среднеквадратичной вибрации для k и l виброизоляторов должна быть не более 3 дБ
Если неравенство не соблюдается, то число выбранных виброизоляторов следует увеличить. 10.3 Расположение датчиков скорости (ускорения)10.3.1 Крепление датчиков вибрации (датчиков скорости или ускорения) проводят в соответствии с рекомендациями ГОСТ ИСО 5348. 10.3.2 Для определения шести составляющих колебательной мощности, излучаемой машиной в виброизоляторы и фундамент, на машину и фундамент устанавливают датчики вибрации, как показано на рисунках 3 и 4.
Рисунок 3 - Схема расположения датчиков вибрации на машине и фундаменте в местах крепления виброизоляторов к машине и фундаменту с использованием болтовых соединений
Рисунок 4 - Схема расположения датчиков вибрации при установке машины на протяженный виброизолятор 10.3.3 Если оператор владеет информацией только об ограниченном числе механических сопротивлений виброизолятора из общей матрицы, то при измерении излучаемой колебательной мощности по формулам (8), (9) и (12), (13) число членов в формулах и измеряемых составляющих колебательной мощности ограничивают числом известных коэффициентов матрицы механических сопротивлений виброизолятора. 10.3.4 В случае если виброизолятор имеет одно болтовое соединение с машиной и одно болтовое соединение с фундаментом, измерение линейных составляющих скорости (или ускорения) вибрации машины и фундамента выполняют при расположении датчиков вибрации на головке болта по схеме, приведенной на рисунке 3 (см. 1м, 2м, 3м, 1ф, 2ф, 3ф на рисунке 3). Поворотные составляющие скорости вибрации измеряют с помощью датчиков 4м, 4'м, 5м, 5'м, 6м, 6'м, 4ф, 4'ф, 5ф, 5'ф, 6ф, 6'ф, схема расположения которых приведена на рисунке 3. Поворотные составляющие ускорения вибрации определяют по формулам:
Чувствительность пары датчиков вибрации к поворотным колебаниям λi = 4, 5, 6 = λi = 1, 2, 3l, (28) где λi = 1, 2, 3 - чувствительность одного из датчиков вибрации; l - расстояние между соответствующими датчиками. Примечание - При наличии информации только о матрице механических сопротивлений виброизолятора 6×6 по отношению к линейным силам поворотные составляющие вибрации машины не измеряют. 10.3.5 В случае применения протяженного виброизолятора, имеющего несколько болтовых соединений с машиной и фундаментом, датчики вибрации устанавливают на лапе машины и полке фундамента или на фланцах соединения виброизолятора с машиной и фундаментом по схеме, представленной на рисунке 4. В случае если виброизолятор имеет протяженные размеры вдоль оси машины, датчики вибрации 2 и 5 устанавливают на крайние болтовые соединения виброизолятора. 10.3.5.1 Линейные составляющие скорости вибрации могут быть измерены двумя способами. Первый способ - с использованием двух датчиков вибрации для определения каждой линейной составляющей вибрации по формулам:
Второй способ - с использованием одного трехкомпонентного датчика вибрации. Трехкомпонентный датчик вибрации монтируют на головке болта в центре протяженного виброизолятора по схеме, приведенной на рисунке 3 (см. расположение датчиков 1м, 2м, 3м, 1ф, 2ф, 3ф). 10.3.5.2 Поворотные составляющие ускорения вибрации машины и фундамента определяют по формуле (27). 10.4 Предельная верхняя частота измерений10.4.1 Предельную верхнюю частоту при измерении линейных составляющих вибрации с использованием датчиков вибрации, установленных на головки болтов, которая должна быть значительно меньше резонансной частоты рабочей части болта, Гц, определяют по формуле
где hл - толщина лапы машины, м. 10.4.2 Предельную верхнюю частоту при измерении линейных и поворотных составляющих вибрации с использованием двух датчиков вибрации, расположенных на расстоянии liм (на машине) и liф (на фундаменте), Гц, определяют по формуле где li - наибольшее из liм и liф, м. 10.5 Подготовка измерительного тракта для выполнения измерений взаимных спектров вибрации10.5.1 Типовая схема тракта для измерения взаимных спектров вибрации приведена на рисунке 5.
1 - датчик ускорения; 2 - предварительный усилитель (усилитель заряда); 3 - сумматор Рисунок 5 - Схема типичного измерительного тракта для определения взаимного спектра составляющих вибрации машины и фундамента с помощью датчиков ускорения вибрации 10.5.2 Полосу спектрального анализа выбирают в соответствии с 4.1.8. 10.5.3 Перед выполнением измерений излучаемой колебательной мощности проводят контроль идентичности фазовых характеристик каналов тракта измерения скорости вибрации до и после виброизолятора. Полученные данные вводят в программу компьютера для учета неидентичности фазовых характеристик каналов скорости при обработке результатов измерений. 10.5.4 При измерении вибрации и взаимных спектров вибрации машины и фундамента в районе n-го виброизолятора электрические сигналы с двух датчиков вибрации, образующих пару, складывают для нахождения линейных составляющих вибрации и вычитают для нахождения поворотных составляющих вибрации машины и фундамента. Перед сложением и вычитанием сигналов необходимо скорректировать возможную разницу между чувствительностями и фазовыми характеристиками датчиков вибрации, аналоговых устройств и анализаторов БПФ. Вычитание следует заменить сложением и, наоборот, сложение - вычитанием в том случае, если один из датчиков вибрации, составляющих пару, установлен встречно. 10.6 Определение числа выборок анализатора nd, участвующих в усреднении измерений взаимного спектра вибрации10.6.1 Для определения числа выборок анализатора
nd участвующих в усреднении измерений взаимного спектра
вибрации, устанавливают процесс усреднения анализатора при числе независимых
выборок n
= 100. Проводят не менее 10 измерений взаимных спектров
вибрации А на частотах 10, 100 и 1000 Гц. Вычисляют среднее значение
амплитуды взаимного спектра вибрации (автоспектра Таблица 2 - Среднее значение амплитуды взаимного спектра
Для частот f1, f2 и f3 определяют среднеквадратичные отклонения При обработке результатов измерений выбирают наибольшее
значение Определяют минимально необходимое число выборок nd, устанавливаемых в анализаторе при проведении измерений
где Кз = 2 -
коэффициент запаса, учитывающий погрешность определения 11 Выполнение измерений11.1 Анализируют матрицу механических сопротивлений виброизоляторов, расположенных под машиной. Определяют объем имеющейся информации о коэффициентах матрицы сопротивлений. Вводят в компьютер массив данных о спектре комплексных входных и передаточных сопротивлений виброизоляторов при полосе частотного анализа Δω, выбранной в соответствии с 4.1.8. 11.2 Число контролируемых виброизоляторов выбирают в соответствии с 10.2 при работающей машине. 11.3 Располагают датчики вибрации в соответствии с 10.3 и рисунками 3 и 4. 11.4 Определяют граничную частоту измерений вибрации fmax по формулам (31) и (32). 11.5 Измерения проводят с использованием измерительного тракта, схема которого представлена на рисунке 5, в следующем порядке. 11.5.1 Устанавливают на анализаторе в режиме «измерение взаимного спектра» частотный диапазон от 0 до fmax и полосу частотного анализа Δω, выбранную в соответствии с 4.1.8. 11.5.2 Для выполнения измерений вибрации на работающей машине: - на первый и второй каналы анализатора подключают через предварительные усилители датчики ускорения, установленные на входе и выходе виброизоляторов; - устанавливают в каналах анализатора чувствительности датчиков ускорения, умноженные на коэффициенты передачи предварительных усилителей (соотношение сигнал/шум в каналах должно быть не менее 14 дБ); - устанавливают диапазон частот измерения на анализаторе; - устанавливают число выборок nd; - приводят в действие процесс усреднения выборок анализатора и получают результат измерения взаимного спектра. 11.6 Поочередно на всех контролируемых виброизоляторах и для всех выбранных для контроля составляющих вибрации измеряют взаимные спектры при полосе частотного анализа Δω и вводят массивы взаимных спектров в компьютер. 12 Обработка и оформление результатов измерений12.1 Порядок обработки результатов измерений колебательной мощности, излучаемой в виде всех шести (или любых из шести) составляющих вибрации в элементы системы «виброизоляция - фундамент»12.1.1 Порядок обработки результатов измерений колебательной мощности, излучаемой в виброизоляторы в виде всех шести (или любых из шести) составляющих вибрации 12.1.1.1 Вычисляют колебательную мощность Рin,аф(Δω), излучаемую машиной в n-й виброизолятор в виде i-й составляющей вибрации в узкой полосе частот, по формуле (8) или (10). 12.1.1.2 Используя результаты определения Рin,аф(Δω), вычисляют колебательную мощность Рin,аф(1/3) излучаемую машиной в 1/3-октавной полосе частот, по формуле (19). 12.1.1.3 Определяют колебательную мощность Рiаф(1/3), излучаемую во все виброизоляторы в виде i-й составляющей вибрации, по формуле (5). 12.1.1.4 Вычисляют суммарную колебательную мощность Раф (1/3), излучаемую машиной в виде всех шести (или любых из шести) составляющих вибрации, по формуле (4). 12.1.2 Порядок обработки результатов измерений колебательной мощности, излучаемой в фундамент в виде всех шести (или любых из шести) составляющих вибрации 12.1.2.1 Вычисляют колебательную мощность Рin,аф(Δω), излучаемую машиной в фундамент через n-й виброизолятор в виде i-й составляющей вибрации в узкой полосе частот, по формуле (9) или (11). 12.1.2.2 Используя результаты определения Рin,аф(Δω), вычисляют положительное и отрицательное значения колебательной мощности Рin,аф(1/3), излучаемой машиной в третьоктавной полосе частот в фундамент, по формулам (20) и (21). 12.1.2.3 Определяют положительное и отрицательное значения колебательной мощности Рiаф(1/3), излучаемой машиной через все виброизоляторы в фундамент в виде i-й составляющей вибрации, по формуле (5). 12.1.2.4 Вычисляют значения положительной и отрицательной суммарной колебательной мощности Раф(1/3), излучаемой машиной в виде всех шести (или любых из шести) составляющих вибрации, по формуле (4). 12.2 Порядок обработки результатов измерений колебательной мощности, излучаемой в виде трех линейных составляющих вибрации, при установке машины на осесимметричные или прямоугольные виброизоляторы12.2.1 Порядок обработки результатов измерений колебательной мощности, излучаемой в виброизоляторы в виде трехлинейных составляющих вибрации, при установке машины на осесимметричные или прямоугольные виброизоляторы 12.2.1.1 Вычисляют колебательную мощность Рin,аф(Δω), излучаемую машиной в n-й виброизолятор в виде i-й линейной составляющей вибрации в узкой полосе частот, по формуле (12) или (14). При перепаде вибрации на виброизоляторе более 10-15 дБ допускается вычислять Рin,аф(Δω) по формуле (16) или (17). 12.2.1.2 Используя результаты определения Рin,аф(Δω), вычисляют колебательную мощность Рin,аф(1/3), излучаемую машиной в третьоктавной полосе частот, по формуле (19). 12.2.1.3 Определяют колебательную мощность Рiаф(1/3), излучаемую во все виброизоляторы в виде i-й линейной составляющей вибрации, по формуле (5). 12.2.1.4 Вычисляют суммарную колебательную мощность Раф(1/3), излучаемую машиной в виде трех линейных составляющих вибрации, по формуле (4). 12.2.2 Порядок обработки результатов измерений колебательной мощности, излучаемой в фундамент в виде трех линейных составляющих вибрации, при установке машины на осесимметричные или прямоугольные виброизоляторы 12.2.2.1 Вычисляют колебательную мощность Рin, ф(Δω), излучаемую машиной через n-й виброизолятор в фундамент в виде i-й составляющей вибрации в узкой полосе частот, по формуле (13) или (15). 12.2.2.2 Используя результаты определения Рin, ф(Δω), вычисляют положительное и отрицательное значения колебательной мощности Рin, ф(1/3), излучаемой машиной в 1/3-октавной полосе частот в фундамент в виде i-й линейной составляющей вибрации, по формулам (20) и (21). 12.2.2.3 Определяют положительное и отрицательное значения колебательной мощности Рiаф(1/3), излучаемой во все виброизоляторы в виде i-й линейной составляющей вибрации, по формуле (5). 12.2.2.4 Вычисляют положительное и отрицательное значения суммарной колебательной мощности Раф(1/3), излучаемой машиной в виде всех линейных составляющих вибрации, по формуле (4). 12.3 В случае если вибрацию машины измеряют при ограниченном числе виброизоляторов, то полную колебательную мощность определяют по формуле (18). 12.4 Полученные положительное и отрицательное значения колебательных мощностей представляют на бланке, приведенном на рисунке 6.
Рисунок 6 - Бланк представления характеристик колебательных мощностей 12.5 Расчет погрешности измерений колебательной мощности рекомендуется проводить в соответствии с приложением В. Приложение
А
|
||||||||||||||||||||||||||||||||||||||||||||||||||||||||||||||
|
Наименование составляющей погрешности |
Обозначение составляющей погрешности |
Значение составляющей погрешности* |
|
1 Доверительные границы погрешности датчика вибрации |
±ΔА |
±7% |
|
2 Доверительные границы погрешности предварительного усилителя |
±Δу |
±1 % |
|
3 Доверительные границы погрешности анализатора спектра |
±ΔАС |
±1 % |
|
4 Доверительные границы погрешности определения модуля входного сопротивления виброизолятора |
±Δ[Z] |
±19% |
|
5 Доверительные границы погрешности, вызванной фазовой неидентичностью каналов силы и скорости колебаний |
|
±6,6 % |
|
6 Среднеквадратичное отклонение результатов измерений взаимных спектров |
|
2 % |
|
* Значения погрешностей приведены для условий измерений, указанных в разделе 9. |
||
В.5 Пример расчета неисключенной систематической составляющей погрешности
Границы неисключенной систематической погрешности колебательной мощности при доверительной вероятности 0,95
![]()
где

![]()
В
соответствии с 10.7.4 назначенная случайная относительная среднеквадратичная погрешность
измерения мощности ![]()
Соотношение систематической и случайной погрешностей
![]()
В этом случае за погрешность результата косвенного измерения принимают неисключенную систематическую составляющую погрешности измерения.
Поэтому значение предельной относительной погрешности измерения колебательной мощности
![]()
[1] РМГ 29-99 Государственная система обеспечения единства измерений. Метрология. Основные термины и определения
[2] Правила технической эксплуатации электроустановок потребителей. Утверждены Приказом Минэнерго РФ от 13.01.2003 № 6
[3] Межотраслевые правила по охране труда (правила безопасности) при эксплуатации электроустановок. Утверждены Минтруда РФ 18 февраля 2003 г. и Минэнерго РФ 20 февраля 2003 г.
Ключевые слова: колебательная мощность, вибрация, скорость вибрации, ускорение вибрации, датчик вибрации, вектор силы, момент силы, матрица механических сопротивлений, спектральная характеристика, виброизолятор, фундамент, опорная конструкция, погрешность
|
ГОСТЫ, СТРОИТЕЛЬНЫЕ и ТЕХНИЧЕСКИЕ НОРМАТИВЫ. Некоммерческая онлайн система, содержащая все Российские Госты, национальные Стандарты и нормативы. В Системе содержится более 150000 файлов нормативно-технической документации, действующей на территории РФ. Система предназначена для широкого круга инженерно-технических специалистов. Copyright © www.gostrf.com, 2008 - 2026 |