|
|
|
Воздушные линии электропередачи ООО «КЦЦС» совместно с «РЦЦС СПб» при участии «Центра экспертиз ценообразования в строительстве и ЖКХ» Федерального центра информатизации Счетной Палаты Российской Федерации» (ФГУП «СП-Центр») продолжает разработку сметных норм и расценок по воздушным линиям электропередачи с самонесущими изолированными проводами (СИП). Содержание СПРАВОЧНАЯ ИНФОРМАЦИЯ. I. ОБЩИЕ СВЕДЕНИЯ ВЛИПо сравнению с традиционными воздушными линиями электропередачи (ВЛ) линии с применением самонесущих изолированных проводов (ВЛИ) при относительно небольшом повышении затрат имеют ряд конструктивных особенностей - наличие изоляционного покрова на токоведущих проводниках, повышенная механическая прочность, прогрессивная сцепная и ответвительная арматура и др. Эти особенности обусловливают значительное повышение надежности электроснабжения потребителей и резкое снижение эксплуатационных затрат. Что в свою очередь, и определяет высокую экономическую эффективность использования изолированных проводов в распределительных электрических сетях. Все преимущества ВЛИ можно объединить в три группы. Первая группа - преимущества, которые сказываются при проектировании и монтаже: - простота конструктивного исполнения линии; - простота исполнения нескольких ответвлений от одной опоры; - простота исполнения многоцепных линий электропередачи, возможность исполнения четырех- и более цепных линий. - простота совместной подвески линий уличного освещения; - возможность совместной подвески на одной опоре с телефонной линией, а также на опорах ВЛ 6-10 кВ с проводами с другим уровнем напряжения; - уменьшение безопасных расстояний от зданий и инженерных сооружений; - возможность применения существующих опор или новых опор меньшей высоты (для неизолированных проводов уровень подвески должен быть не менее 6,0 м, а для изолированного 4,0 м), а также уменьшение безопасных расстояний до зданий и других инженерных сооружений; - увеличение длины пролетов до 60 м (это преимущество не распространяется на систему СИП с изолированным нулевым несущим проводником); - эстетичность конструктивного исполнения ВЛИ в условиях жилой застройки при отказе от опор и монтаже линии по фасадам зданий; - эстетичность исполнения воздушных линий уличного освещения; - отсутствие необходимости в вырубке просеки перед монтажом; - возможность монтажа изолированного провода по фасадам зданий; - простота монтажных работ и, соответственно, уменьшение сроков строительства. Вторая группа - преимущества эксплуатации и безопасность: - высокая надежность в обеспечении электрической энергией в связи с низкой удельной поврежденностью; - отсутствие многочисленных замен поврежденных изоляторов и дефектного провода; - сокращение объемов и времени аварийно-восстановительных работ; - резкое снижение (более 80 %) эксплуатационных затрат по сравнению с традиционными ВЛ. Это обусловливается высокой надежностью и бесперебойностью электроснабжения потребителей, а также отсутствием необходимости в расчистке просек в процессе эксплуатации линии; - практическое исключение коротких междуфазных замыканий и замыканий на землю; - уменьшение не менее чем на 30 % гололедно-ветровых нагрузок на опору; - высокая механическая прочность проводов и, соответственно, меньшая вероятность их обрыва; - пожаробезопасность, исключение коротких замыканий при схлестывании проводов или перекрытии их посторонними предметами; - адаптация к изменению режима и развитию сети; - уменьшение безопасных расстояний до зданий и инженерных сооружений; - возможность выполнения работ на ВЛИ под напряжением без отключения потребителей (подключение абонентов, присоединение новых ответвлений); - значительное уменьшение случаев электротравматизма при ремонте и эксплуатации линии; - обеспечение безопасности обслуживания и выполнения различных работ вблизи ВЛИ. Третья группа - преимущества, влияющие на качество электрической энергии, снижение технических и коммерческих потерь в воздушных распределительных сетях напряжением до 1 кВ; - снижение падения напряжения на линии с использованием СИП вследствие малого реактивного сопротивления (0,1 Ом/км по сравнению с 0,35 Ом/км для голого провода); - снижение коммерческих потерь электрической энергии. Существенно ограничен несанкционированный отбор электроэнергии, так как изолированные, скрученные между собой жилы исключают самовольное подключение к ВЛИ путем выполнения наброса на провода. Значительное снижение случаев вандализма и воровства. Температура плавления изоляции жил близка к температуре плавления алюминия. СИП не пригодны для вторичной переработки с целью получения цветного металла. Наиболее эффективно применять СИП при новом строительстве и реконструкции ВЛ-0,4 кВ. Наибольший эффект от применения защищенных проводов достигается на ВЛ, подверженных большим ветровым и гололедным нагрузкам; где часты схлестывания и пережоги проводов; при осуществлении совместной подвески с проводами ВЛ (ВЛИ) до 1 кВ; при выполнении глубокого ввода напряжения 10 кВ в населенной местности; при сокращении ширины просек в лесных массивах, как это трактуют глава 2.5 ПУЭ и другие НТД. Преимущественное применение изолированной несущей жилы в СИП (кстати, более дорогой) рекомендуется только в районах с высокой агрессивностью внешней среды, а также при прохождении ВЛИ по территориям спортивных сооружений, школ, детских учреждений и т.п. II. Краткая характеристика ВЛИА. Воздушные линии электропередачи напряжением до 1 кВКонструктивно воздушные линии электропередачи напряжением до 1 кВ с самонесущими изолированными проводами (ВЛИ) представляют собой воздушные линии электропередачи, выполненные на опорах с применением железобетонных, деревянных или металлических стоек, а также возможно к стенам зданий. К опорам или стенам посредством специальной арматуры подвешены самонесущие изолированные провода (СИП). Крепление СИП к опорам осуществляется в основном с помощью металлоконструкций (крюков, бандажных лент и др.), поддерживающих и натяжных зажимов. Соединения и ответвления проводов осуществляется с помощью соединительных и ответвительных зажимов. Конструкция СИП состоит из нулевого и фазных проводников, покрытых изоляционной оболочкой и скрученных в один жгут. Изоляционная оболочка может быть выполнена из светостабилизационного термопластичного или сшитого полиэтилена (XLPE-кабеля). Дополнительно к фазным проводникам в жгут могут быть включены 1-2 изолированные проводника для уличного освещения или контрольные кабели. В настоящее время распространены три основные системы СИП напряжением до 1 кВ. Первая система самонесущих изолированных проводов напряжением до 1 кВ представляет собой изолированные фазные проводники, скрученные вокруг неизолированного нулевого проводника (жилы), который является несущим элементом конструкции. Подвеска жгута осуществляется за нулевой проводник. Нулевой проводник изготавливается из термоупроченного алюминиевого сплава, фазные проводники - из алюминия. Сечение нулевого несущего проводника, как правило, на одну ступень больше сечения фазных проводников.
1. Нулевая несущая жила из алюминия, скрученная из алюминиевого сплава неизолированная 2. Фазная токопроводящая жила из алюминиевого сплава 3. Изоляция - из светостабилизированного сшитого полиэтилена Вторая система самонесущих изолированных проводов напряжением до 1 кВ с изолированным нулевым несущим проводником (жилы) отличается от первой наличием изоляционного покрова на нулевом несущем проводнике.
1. Нулевая несущая жила из алюминия, скрученная из алюминиевого сплава изолированная 2. Фазная токопроводящая жила из алюминиевого сплава 3. Изоляция: - из светостабилизированного сшитого полиэтилена Третья система самонесущих изолированных проводов напряжением до 1 кВ без несущего элемента (жилы) состоит из проводников одинакового сечения, покрытых изоляционной оболочкой и скрученных между собой. Все проводники, в том числе и нулевой изготавливается из алюминия. Подвеска жгута на промежуточных опорах и закрепление на анкерных осуществляется за все проводники одновременно.
1. Фазная токопроводящая жила из алюминиевого сплава 2. Изоляция - из светостабилизированного сшитого полиэтилена Б. Воздушные линии электропередачи напряжением 6-20 кВСистема защищенных проводов напряжением 6-20 кВ представляет собой воздушные линии электропередачи, выполненные на опорах с применением железобетонных или металлических стоек, реже - деревянных. На опорах посредством специальной арматуры подвешены защищенные провода. Крепление проводов к опорам осуществляется в основном с помощью траверс (оголовков) и изоляторов. Соединение и ответвления проводов осуществляется с помощью соединительных и ответвительных зажимов. Помимо линейной арматуры неотъемлемой частью конструкций опор являются устройства грозозащиты ВЛЗ. Защищенные провода изготавливаются из термоупрочненного алюминиевого сплава. Провод покрыт изолирующей оболочкой из атмосферостойкого светостабилизированного полиэтилена и имеет круглую форму сечения. В конструкции провода может присутствовать водонабухающий слой, расположенный под изолирующей оболочкой. Водонабухающий слой, предназначен для защиты провода от проникновения атмосферной влаги.
1. Фазная токопроводящая жила из алюминиевого сплава 2. Изоляция - из светостабилизированного сшитого полиэтилена III. Обзор рынка СИП в РоссииВоздушные линии электропередачи могут включать марки проводов как иностранных государств, так и российских производителей. Марки проводов распространенные в настоящее время: - АМКА производства Финляндии, СИП-1, СИП-2 (ТУ 16.К-71-268-98) с неизолированным несущим нулевым проводником; - АМКА-Т производства Финляндии, TORSADA - Франции, СИП-1А, СИП-2А, СИП-2 (ГОСТ Р 52373-2005) с изолированным несущем нулевым проводником; - ALUS производства Швеции, ЕХ - Норвегии, AsXS, AsXSn - Польши, СИП-4, СИПн-4, СИПс-4, СИП-2AF без несущего элемента; - SAX, SAX-W производства Финляндии, СИП-3, ЗАЛП, ЗАЛП-В - защищенные изолированные провода. Таблица
Таблица конструкции марок проводов
IV.
Изменения в обозначениях и применение СИП
|
|||||||||||||||||||||||||||||||||||||||||||||||||||||||||||||||||||||||||||||||||||||||||||||||||||||||||||||||||||||||||||||||||||||||||||||||||||||||||||||||||||||||||||||||||||||||||||||||||||||||||||||||||||||||||||||||||||||||||||||||||||||||||||||||||||||||||||||||||||||||||||||||||||||||||||||||||||||||||||||||||||||||||||||||||||||||||||||||||||||||||||||||||||||||||||||||||||||||||||||||||||||||||||||||||||||||||||||||||||||||||||||||||||||||||||||||||||||||||||||||||||||||||||||||||||||||||||||||||||||||||||||||||||||||||||||||||||||||||||||||||||||||||||||||||||||||||||||||||||||||||||||||||||||||||||||||||||||||||||||||||||||||||||||||||||||||||||||||||||||||||||||||||||||||||||||||||||||||||||||||||||||||||||||||||||||||||||||||||||||||||||||||||||||||||||||||||||||||||||||||||||||||||||||||||||||||||||||||||||||||||||||||||||||||||||||||||||||||||||||||||||||||||||||||||||||||||||||||||||||||||||||||||||||||||||||||||||||||||||||||||||||||||||||||||||||||||||||||||||||||
|
Марка и конструкция СИП |
Напряжение, |
Сечение, |
ГОСТ, |
Марка и конструкция СИП |
Напряжение, |
Сечение, |
ГОСТ, |
|
|
Алюминиевый
сплав / |
Алюминиевый сплав |
|
||||||
|
СИП-1 Нулевая несущая жила - неизолированный трос из алюминиевого сплава или из алюминиевого провода, упрочненного стальной проволокой |
0,6/1 |
16- |
ТУ 16.К71-268-98 |
СИП-1Жила несущая нулевая - неизолированный трос из алюминиевого сплава Изоляция - светостабилизиро- ванный сшитый полиэтилен |
0,6/1 |
16- |
ГОСТ Р 52373-2005 ТУ 16-705.500-2006 |
|
|
Фазные токопроводящие жилы - сталеалюминиевые или из алюминиевого сплава Изоляция - светостабилизированный термопластичный полиэтилен |
||||||||
|
|
|
|||||||
|
СИП-2 Нулевая несущая жила - неизолированный трос из алюминиевого сплава или из алюминиевого провода, упрочненного стальной проволокой Фазные токопроводящие жилы - сталеалюминиевые или из алюминиевого сплава Изоляция - светостабилизированный сшитый полиэтилен |
0,6/1 |
16- |
||||||
СИП-1АНулевая несущая жила - изолированный трос из алюминиевого сплава или из алюминиевого провода, упрочненного стальной проволокой Фазные токопроводящие жилы - сталеалюминиевые или из алюминиевого сплава Изоляция - светостабилизированный термопластичный полиэтилен |
0,6/1 |
16- |
|
СИП-2Несущий нулевой проводник - изолированный трос из алюминиевого сплава Изоляция - светостабилизированный сшитый полиэтилен |
0,6/1 |
16- |
|
|
СИП-2АНулевая несущая жила - изолированный трос из алюминиевого сплава или из алюминиевого провода, упрочненного стальной проволокой Фазные токопроводящие жилы - сталеалюминиевые или из алюминиевого сплава Изоляция - светостабилизированный сшитый полиэтилен |
0,6/1 |
16- |
|
|||||
СИП-3Жила из алюминиевого сплава (или сталеалюминиевая) Изоляция - светостабилизированный сшитый ПЭ |
20 |
35- |
ТУ 16.К71-272-97 |
СИП-3Жила из алюминиевого сплава Изоляция - светостабилизированный сшитый полиэтилен |
20 |
35- |
||
СИП-3Жила из алюминиевого сплава Изоляция - светостабилизированный сшитый полиэтилен |
35 |
35- |
||||||
СИП-4Все жилы имеют изоляцию из термопластичного светостабилизированного полиэтилена |
0,6/1 |
16- |
ТУ 3553-015-0575571 4-2002 |
СИП-4Все жилы имеют изоляцию из светостабилизированного сшитого полиэтилена |
0,6/1 |
16- |
||
СИПс-4Все жилы имеют изоляцию из сшитого светостабилизированного полиэтилена |
0,6/1 |
16- |
||||||
СИПн-4Все жилы имеют изоляцию из светостабилизированной полимерной композиции, не распространяющей горение. |
0,6/1 |
16- |
||||||
Технические условия «ПРОВОДА САМОНЕСУЩИЕ ИЗОЛИРОВАННЫЕ И ЗАЩИЩЕННЫЕ ДЛЯ ВОЗДУШНЫХ ЛИНИЙ ЭЛЕКТРОПЕРЕДАЧИ» ТУ 16-705.500-2006 (Взамен ТУ 16.К71-268-98 и ТУ 16.К71-272-98), введены с 01.07.2006, распространяются на самонесущие изолированные провода для воздушных линий электропередачи на номинальное напряжение до 0,6/1 кВ включительно и провода самонесущие защищенные для воздушных линий электропередачи на номинальное напряжение 20 кВ (для сетей на напряжение 10, 15 и 20 кВ) и 35 кВ (для сетей на напряжение 35 кВ) номинальной частотой 50 Гц.
Провода по конструктивному исполнению, техническим характеристикам и эксплуатационным свойствам соответствуют национальному стандарту Российской Федерации ГОСТ Р 52373-2005.
Климатическое исполнение проводов - В, категории размещения - 1, 2 и 3 по ГОСТ 15150-69.
Примеры записи условного обозначения при заказе и в документации другого изделия:
- провода самонесущего изолированного марки СИП-1 с тремя основными жилами номинальным сечением 70 мм2, с неизолированной несущей жилой номинальным сечением 95 мм2, на номинальное напряжение 0,6/1 кВ:
«Провод СИП-1 3×70+1×95-0,6/1 ТУ 16-705.500-2006-2006»;
- провода самонесущего изолированного марки СИП-2 с тремя основными жилами номинальным сечением 50 мм2, с изолированной несущей жилой номинальным сечением 70 мм2, с двумя вспомогательными жилами номинальным сечением 16 мм2, на номинальное напряжение 0,6/1 кВ:
«Провод СИП-2 3×50+1×70+2×16-0,6/1 ТУ 16-705.500-2006-2006»;
- провода защищенного марки СИП-3 с жилой номинальным сечением 120 мм2, на номинальное напряжение 20 кВ:
«Провод СИП-3 1×120-20 ТУ 16-705.500-2006-2006».
Марки проводов, их наименование и преимущественная область применения приведены в таблице 1.
Таблица 1
|
Марка провода |
Наименование |
Преимущественная область применения |
СИП-1 |
Провод самонесущий с алюминиевыми жилами, с изоляцией из светостабилизированного сшитого полиэтилена (ПЭ), с нулевой несущей неизолированной жилой из алюминиевого сплава |
Для магистралей воздушных линий электропередачи (ВЛ) и линейных ответвлений от ВЛ в атмосфере воздуха типов I и II по ГОСТ 15150-69 |
СИП-2 |
То же, с нулевой несущей жилой из алюминиевого сплава, изолированной светостабилизированным сшитым ПЭ |
Для магистралей ВЛ и линейных ответвлений от ВЛ в атмосфере воздуха типов II и III по ГОСТ 15150-69, в том числе на побережьях морей, соленых озер, в промышленных районах и районах засоленных песков |
СИП-3 |
Провод самонесущий защищенный с токопроводящей жилой из алюминиевого сплава, с защитной изоляцией из светостабилизированного сшитого ПЭ |
Для ВЛ на номинальное напряжение 10-35 кВ в атмосфере воздуха типов II и III по ГОСТ 15150-69, в том числе на побережьях морей, соленых озер, в промышленных районах и районах засоленных песков |
СИП-4 |
Провод самонесущий изолированный без несущего элемента, с алюминиевыми токопроводящими жилами, с изоляцией из светостабилизированного сшитого ПЭ |
Для ответвлений от ВЛ к вводу и для прокладки по стенам зданий и инженерных сооружений в атмосфере воздуха типов II и III по ГОСТ 15150-69 |
По требованию провода всех марок могут быть изготовлены герметизированными. В этом случае к буквенному обозначению марки провода добавляется индекс «г», например СИПг-3.
Число, номинальное сечение фазных и нулевой несущей жил, расчетный наружный диаметр справочно приведены в таблице 2.
Провода марок СИП-1 и СИП-2 с нулевой несущей жилой сечением 50 мм2 и более могут изготавливаться с 1, 2 или 3 вспомогательными жилами.
Номинальное сечение вспомогательных жил для цепей наружного освещения 16, 25 или 35 мм2, для цепей контроля - 1,5; 2,5 или 4 мм2.
Основные и вспомогательные жилы для цепей освещения должны быть скручены из круглых алюминиевых проволок, иметь круглую форму и быть уплотненными. Вспомогательные жилы для цепей контроля должны быть медными однопроволочными и соответствовать ГОСТ 22483-77.
Допускается сварка алюминиевых проволок при их обрыве или сходе в процессе скрутки. Число соединений проволок не должно быть более шести на строительной длине, расстояние между соседними соединениями проволок должно быть не менее 50 м.
Нулевая несущая жила и токопроводящая жила защищенных проводов должны быть скручены из круглых проволок из алюминиевого сплава, иметь круглую форму и быть уплотненными.
Изоляция основных и вспомогательных токопроводящих жил, изоляция (при наличии) нулевой несущей жилы и защитная изоляция защищенных проводов должна быть экструдирована (выпрессована) из светостабилизированного сшитого полиэтилена. Изоляция должна быть черного цвета.
Изолированные основные и вспомогательные жилы должны быть скручены вокруг нулевой несущей жилы при ее наличии.
Изолированные жилы проводов без нулевой несущей жилы должны быть скручены между собой.
Провода должны быть стойкими к воздействию температуры окружающей среды от -60°С до +50°С и к воздействию солнечного излучения.
Срок службы проводов должен быть не менее 40 лет.
Монтаж проводов рекомендуется проводить при температуре окружающей среды не ниже минус 20°С.
Самонесущие изолированные провода на номинальное напряжение 0,6/1 кВ без нулевой несущей жилы марки СИП-4 предназначены для выполнения ответвлений от ВЛ к вводу, для прокладки по стенам зданий или сооружений.
Гарантийный срок эксплуатации - 3 года. Гарантийный срок исчисляют с даты ввода провода в эксплуатацию, но не позднее 6 месяцев с даты изготовления.
Таблица 2
|
Марка и номинальное напряжение провода |
Число и номинальное сечение фазных и нулевой несущей жил, шт. × мм2 |
Расчетный наружный диаметр провода, мм |
СИП-1-0,6/1 кВ |
1 × 16 + 1 × 25 |
15 |
|
3 × 16 + 1 × 25 |
22 |
|
|
3 × 25 + 1 × 35 |
26 |
|
|
3 × 35 + 1 × 50 |
30 |
|
|
3 × 50 + 1 × 50 |
32 |
|
|
3 × 50 + 1 × 70 |
35 |
|
|
3 × 70 + 1 × 70 |
37 |
|
|
3 × 70 + 1 × 95 |
41 |
|
|
3 × 95 + 1 × 70 |
41 |
|
|
3 × 95 + 1 × 95 |
43 |
|
|
3 × 120 + 1 × 95 |
46 |
|
|
3 × 150 + 1 × 95 |
48 |
|
|
3 × 185 + 1 × 95 |
52 |
|
|
3 × 240 + 1 × 95 |
56 |
|
СИП-2-0,6/1 кВ |
3 × 16 + 1 × 25 |
24 |
|
3 × 25 + 1 × 35 |
27 |
|
|
3 × 35 + 1 × 50 |
31 |
|
|
3 × 50 + 1 × 50 |
34 |
|
|
3 × 50 + 1 × 70 |
36 |
|
|
3 × 70 + 1 × 70 |
40 |
|
|
3 × 70 + 1 × 95 |
41 |
|
|
3 × 95 + 1 × 70 |
43 |
|
|
3 × 95 + 1 × 95 |
45 |
|
|
3 × 120 + 1 × 95 |
48 |
|
|
3 × 150 + 1 × 95 |
50 |
|
|
3 × 185 + 1 × 95 |
55 |
|
|
3 × 240 + 1 × 95 |
60 |
|
СИП-3-20 кВ |
1 × 35 |
12 |
|
1 × 50 |
13 |
|
|
1 × 70 |
15 |
|
|
1 × 95 |
16 |
|
|
1 × 120 |
18 |
|
|
1 × 150 |
19 |
|
|
1 × 185 |
21 |
|
|
1 × 240 |
24 |
|
СИП-3-35 кВ |
1 × 35 |
14 |
|
1 × 50 |
16 |
|
|
1 × 70 |
17 |
|
|
1 × 95 |
19 |
|
|
1 × 120 |
20 |
|
|
1 × 150 |
22 |
|
|
1 × 185 |
24 |
|
|
1 × 240 |
26 |
|
СИП-4-0,6/1 кВ |
2 × 16 |
15 |
|
4 × 16 |
18 |
|
|
2 × 25 |
17 |
|
|
4 × 25 |
21 |
Фазные токопроводящие жилы провода должны соответствовать классу гибкости 1 или 2 по ГОСТ 22483.
Фазные токопроводящие жилы проводов на напряжение до 1 кВ должны быть алюминиевыми, круглыми, многопроволочными, уплотненными. Жила сечением 16 мм может быть однопроволочной.
Число проволок в основной токопроводящей жиле и наружный диаметр основных токопроводящих жил должны соответствовать значениям, указанным в таблице:
|
Номинальное сечение основной токопроводящей жилы, мм2 |
Число проволок в жиле, шт., не менее |
Наружный диаметр жилы, мм |
|
|
мин. |
макс. |
||
|
16 |
1 |
4,35 |
4,45 |
|
16 |
7 |
4,60 |
5,10 |
|
25 |
7 |
5,70 |
6,10 |
|
35 |
7 |
6,70 |
7,10 |
|
50 |
7 |
7,85 |
8,35 |
|
70 |
7 |
9,45 |
9,95 |
|
95 |
7 |
11,10 |
11,70 |
|
95 |
19 |
11,00 |
12,00 |
|
120 |
19 |
12,50 |
13,10 |
|
150 |
19 |
14,00 |
14,50 |
|
185 |
19 |
15,45 |
16,15 |
|
240 |
19 |
17,75 |
18,45 |
Нулевая несущая жила проводов марок СИПс-1, СИПс-2, СИПт-1, СИПт-2 и фазные жилы защищенных проводов должны быть скручены из проволок алюминиевого сплава, иметь круглую форму и быть уплотненной.
Наружный диаметр нулевой несущей жилы и фазных жил защищенных проводов должны соответствовать указанным в таблице:
|
Номинальное сечение несущей жилы и жил защищенных проводов, мм2 |
Число проволок в жиле, шт., не менее |
Наружный диаметр жилы несущей жилы и жил защищенных проводов, мм2 |
|
|
мин. |
макс. |
||
|
25 |
7 |
5,70 |
6,20 |
|
35 |
7 |
6,70 |
7,50 |
|
50 |
7 |
7,85 |
8,65 |
|
54,6 |
7 |
9,20 |
9,60 |
|
70 |
7 |
9,45 |
10,5 |
|
95 |
7 |
11,10 |
12,10 |
|
95 |
19 |
12,20 |
12,90 |
|
120 |
19 |
12,50 |
13,10 |
|
150 |
19 |
13,90 |
14,50 |
|
185 |
19 |
15,45 |
16,15 |
|
240 |
19 |
17,75 |
18,45 |
Допускается изготавливать несущие жилы проводов до 1 кВ и фазные жилы защищенных проводов из алюминиевых проволок, упрочненных стальными оцинкованными проволоками, при условии соответствия этих жил электрическому сопротивлению, разрывной прочности и геометрическим размерам жил из алюминиевого сплава аналогичного сечения.
Изготовление нулевой несущей жилы сечением 54,6 мм2 производится только из алюминиевого сплава.
Подготовленная разработка включает 63 позиции по 4 видам СИП:
- в системах с напряжением до 1 кВ предусмотрена арматура отечественного производства и компании «TYCO»;
- в системах с напряжением 6 - 20 кВ - арматура компании «ENSTO».
Нормы и расценки таблицы 08-02-375 на монтаж воздушной линии с самонесущими изолированными проводами напряжением до 0,4 кВ с изолированным нулевым несущим проводником при установке опор через 25-35 м, натягивание провода вручную СИП «Торсада» (8 позиций).
Нормы являются усредненными и подготовлены на основе индивидуальных элементных сметных норм, разработанных предприятием «Оргтехстрой» Краснодарского края при участии Краснодарской МК № 30 ОАО «Кубаньсельэлектросетьстрой» и прошедших экспертизу в «Кубаньстройцене» и в настоящей разработке представленные в откорректированном виде.
- нормы и расценки на монтаж воздушной линии с самонесущими изолированными проводами напряжением до 1 кВ СИП с использованием проводов с изолированным и неизолированным несущим проводом и СИП-4 с проводом без несущего элемента.
Нормы и расценки объединены в таблицу 08-02-376 на монтаж воздушных линий с самонесущими изолированными проводами (СИП) напряжением до 1 кВ и содержат 36 позиций.
В состав таблицы выключены позиции:
- на прокладку самонесущих изолированных проводов напряжением до 1 кВ, натягивание вручную (08-02-376-01);
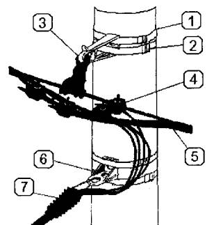
- на монтаж узлов участка воздушной линии при прокладке СИП с изолированным нулевым несущим проводником - 14 позиций (с 08-02-376-02 по 08-02-376-15) разработаны по технологии Научно-исследовательского Центра «СТАРИНФО» г. Королев Московской обл.:
• анкерное крепление и соединение СИП с силовым кабелем
• анкерное крепление для СИП абонентов
• двойное анкерное крепление СИП и подключение ОПН
• угловое анкерное крепление СИП и подключение уличного освещения
• анкерное крепление СИП и присоединение его к голым проводам
• арматура для прокладки СИП по фасадам зданий
• заделка концов СИП у абонентов
• ввод СИП в ТП и подключение к трансформатору
• соединение проводов СИП
• промежуточное крепление СИП и абонентское ответвление
• промежуточное крепление СИП и повторное заземление
• промежуточное крепление СИП и основное ответвление
• промежуточное крепление СИП для основной линии
• промежуточное крепление СИП
- на монтаж узлов участка воздушной линии при прокладке СИП-4 с проводом без несущего элемента - 8 позиций (с 08-02-376-16 по 08-02-376-23) по технологии «СТАРИНФО»:
• соединение СИП с кабелем
• сращивание проводов СИП-4 при соединении двух проводов
• изгиб СИП на промежуточной опоре
• подключение ответвления к СИП
• соединение СИП с голой ВЛ
• подключение СИП - ответвление к голой ВЛ
• изгиб СИП на угловой опоре
• подключение СИП к трансформатору
- на монтаж узлов участка воздушной линии при прокладке СИП с неизолированным нулевым несущим проводом- 13 позиций (с 08-02-376-24 по 08-02-376-36) по технологии компании «Норма-Кабель»:
• абонентское ответвление от промежуточной опоры
• абонентское ответвление от поворотной (анкерной) опоры
• абонентское и анкерное ответвление от промежуточной опоры
• угловая анкерная опора
• промежуточная анкерная опора
• подключение светильника
• концевая опора и установка кабельной муфты
• ответвление СИП от ВЛ 0,38 кВ неизолированными проводами
• установка переносного заземления на концевой опоре
• прокладка проводов СИП по стенам зданий
• установка предохранителя на ответвлении к вводам
• ввод в здание
• соединение СИП в пролете.
Для воздушной линии с самонесущими изолированными и защищенными проводами напряжением 6-20 кВ СИП-3 разработаны нормы и расценки таблицы 08-02-377.
В состав таблицы включены позиции на прокладку проводов по конструкциям одноцепных и двухцепных железобетонных опор с установкой линейной арматуры для крепления проводов на опорах - 13 позиций по технологии ОАО «РОСЭП»:
Прокладка проводов воздушной линии на конструкциях одноцепных железобетонных опор.
Линейная арматура и металлоконструкции для крепления проводов на конструкциях одноцепной железобетонной опоры:
• промежуточной
• анкерной
• концевой
• угловой промежуточной
• угловой анкерной
• ответвительной анкерной.
Прокладка проводов воздушной линии на конструкциях двухцепных железобетонных опор.
Линейная арматура и металлоконструкции для крепления проводов на конструкциях двухцепной железобетонной опоры:
• промежуточной
• угловой промежуточной
• анкерной
• угловой анкерной
• ответвительной.
Таблицей 08-02-378 предусмотрены работы по установке и креплению по стенам фасадного крепления:
- крепление по стенам (деревянным, кирпичным и бетонным) фасадного крепления - (3 позиции);
- установка дополнительного фасадного крепления, сверх учтенных в узлах прокладки СИП по фасадам зданий (3 позиции).
В нормах и расценках на монтаж воздушных линий с самонесущими изолированными проводами (СИП) напряжением до 1 кВ учтена арматура отечественного производства и компании «TYCO», в системах напряжением 6-20 кВ (СИП-3) - арматура компании «ENSTO».
В случае, если проектом предусматривается арматура других компаний, то следует производить замену типов арматуры, отличных от принятой в нормах и расценках, согласно таблицам взаимозаменяемости СИП, или типовым решениям.
Далее приводятся таблицы взаимозаменяемости арматуры СИП (по данным «Московского завода высоковольтной арматуры).
Таблица взаимозаменяемости арматуры
СИП
(по
данным «Московского завода высоковольтной
арматуры»
|
«МЗВА» |
Сечение мм , диаметр мм2 |
Разру- |
АНАЛОГИ «TYCO» |
Сечение мм , диаметр мм2 |
Разру- |
АНАЛОГИ «НИЛЕД» |
Сечение мм2, диаметр мм2 |
Разру- |
АНАЛОГИ «SICAME» |
Сечение мм2, диаметр мм2 |
Разру- |
АНАЛОГИ «ENSTO» |
Сечение мм2, диаметр мм2 |
Разру- |
|
Комплект промежуточной подвески |
||||||||||||||
|
|
|
|
ES 35-1500 |
16-35 |
430 |
ES 1500.E |
16-95 |
1200 |
ES 54-14 |
25-95 |
1500 |
SO 260 |
16-95 |
1200 |
|
ES 1500 |
16-70 |
1200 |
ES F54/70 |
50-70 |
700 |
|||||||||
|
ES 1500/95 |
95 |
1200 |
ES 1500 |
50-70 |
1200 |
|||||||||
|
|
|
|
ES 2000 |
50-70 |
1600 |
ES 70-14 |
54-95 |
2000 |
||||||
|
Поддерживающий зажим кронштейн |
||||||||||||||
|
|
|
|
PS 35 |
16-35 |
430 |
PS 1500 + LM-E |
16-95 |
1200 |
PSL54 |
25-95 |
1500 |
SO 69.95 |
16-95 |
1200 |
|
PS 16/70 (1500) |
16-70 |
1200 |
PS 54 (PS 54 + LM) |
50-70 |
1200 |
PSQ54R |
25-95 |
1200 |
SO 265 |
16-95 |
1200 |
|||
|
PS 95-1500 |
95 |
1200 |
PSQ54 |
25-95 |
1200 |
SO 260.1 |
16-95 |
1200 |
||||||
|
- |
- |
- |
PS 120 |
95-120 |
3000 |
- |
- |
- |
- |
- |
- |
- |
- |
- |
|
Комплект анкерной подвески |
||||||||||||||
|
ЕА1500/35 |
35-70 |
1500 |
EA1000 |
25-35 |
1000 |
- |
- |
- |
EAS 35-10 |
25-35 |
1000 |
- |
- |
- |
|
EA1500 |
50-70 |
1500 |
- |
- |
- |
EAS 54-10 |
50-70 |
1500 |
- |
- |
- |
|||
|
ЕА1500 |
50-70 |
1500 |
EA1500 |
50-70 |
1500 |
- |
- |
- |
EAS 54-10 |
50-70 |
1500 |
- |
- |
- |
|
EA1500S |
35-70 |
1500 |
EA1000 |
25-35 |
1000 |
- |
- |
- |
EAS 35-10 |
25-35 |
1000 |
- |
- |
- |
|
EA1500 |
50-70 |
1500 |
- |
- |
- |
EAS 54-10 |
50-70 |
1500 |
- |
- |
- |
|||
|
ЕА2200 |
95 |
2200 |
EA 95-2000 |
95 |
2000 |
- |
- |
- |
- |
- |
- |
- |
- |
- |
|
Кронштейн анкерный |
||||||||||||||
|
СА1500 |
- |
1500 |
CA1500-2 CA1500 |
- |
1500 |
CS 10.3 |
- |
1500 |
CS 10.3 |
- |
1500 |
SO 253 |
- |
1250 |
|
CF16 |
- |
1800 |
- |
- |
- |
SOT 29 |
- |
1250 |
||||||
|
СА2000 |
- |
2200 |
CA 1500/2000 |
- |
2000 |
CS 2000 |
- |
2000 |
CS 2000 |
- |
2000 |
- |
- |
- |
|
Анкерный зажим |
||||||||||||||
|
|
|
|
|
|
|
- |
- |
- |
РА 25-600 |
16-25 |
600 |
- |
- |
- |
|
РА 1500/35 |
35-70 |
1500 |
PA 1000 |
25-35 |
1000 |
DN35 |
25-35 |
1000 |
РА 35-1000(A) РА 35-1000 |
25-35 |
1000 |
SO 252.01 |
25-35 |
1500 |
|
РА 1500 РАС 1500 |
50-70 |
1500 |
РА 54-1500(C) РА 54-1500 РАС 54-1500 |
50-70 |
1500 |
SO 250.01 |
50-70 |
1500 |
||||||
|
РА 1500 |
50-70 |
1500 |
PA 1500 |
50-70 |
1500 |
РА 1500 РАС 1500 |
50-70 |
1500 |
РА 54-1500(A) РА 54-1500 РАС 54-1500 |
50-70 |
1500 |
SO 250.1 |
50-70 |
1500 |
|
PA1500S |
35-70 |
2200 |
PA 2000 |
50-70 |
2000 |
РА 1500 РАС 1500 |
50-70 |
1500 |
РА 70-2000(А) РА 70-2000 РАС 70-2000 |
54-70 |
1950 |
SO 250.01 |
50-70 |
1500 |
|
DN35 |
25-35 |
1000 |
РА 35-1000(A) РА 35-1000 |
25-35 |
1000 |
SO 252.01 |
25-35 |
1500 |
||||||
|
РА 2200 |
95 |
2200 |
PA 95-2000 |
95 |
2000 |
РА 2200 |
80-95 |
2200 |
РА 95-2000(А) РА 95-2000 РАС 95-2000 |
70-95 |
1950 |
SO 251.01 |
95 |
1500 |
|
- |
- |
- |
- |
- |
- |
- |
- |
- |
РА 120-2000 |
95-120 |
1950 |
- |
- |
- |
|
Анкерный зажим для ответвлений к вводам |
||||||||||||||
|
РА 25×100 |
2×16-4×25 |
350 |
PA 25×100 |
2×16-4×25 |
300 |
DN123 |
2×6-4×25 |
350 |
PC 63F27 |
2 × 6-4 × 35 |
- |
SO 157.1 |
2×16-35 |
600 |
|
DN1 |
2×16-2×25 |
220 |
SO 158.1 |
4×16-35 |
875 |
|||||||||
|
SO 25 |
2×16-4×25 |
200 |
||||||||||||
|
Фасадное крепление |
||||||||||||||
|
BRPF-1 |
D25-60 |
200 |
BRPF |
D25-60 |
200 |
SF20 |
D25-60 |
200 |
SC 93.1 PC |
D20-50 |
200 |
SO 90.1 |
D15-45 |
120 |
|
BRPF-6 |
D25-60 |
200 |
BRPF |
D25-60 |
200 |
SF50 |
D25-60 |
200 |
SC 93.6PC |
D20-50 |
200 |
SO 70.13 |
D12-47 |
120 |
|
Герметичные ответвительные зажимы с одновременной затяжкой болта |
||||||||||||||
|
ОР 6 |
6-150/1,5-6 |
- |
EP 95-13 или KZEP-13 |
16-95/1,5-10 |
- |
Р 6 |
6-150/1,5-6 |
- |
TTD 051F |
6-35/1,5-6 |
- |
SLIW 11.1 |
16-95/1,5-10 |
- |
|
Р 616 |
6-95/1,5-16 |
- |
||||||||||||
|
ОР 645 |
6-150/6-35 |
- |
P2×95 |
16-25/4-35 |
- |
Р 645 |
6-150/6-35 |
- |
TTD 151FJ |
25-95/4-35 |
- |
SLIW 15.1 |
25-95/6-50 |
- |
|
ОР 95 |
16-150/16-95 |
- |
P3×95 |
25-95/25-95 |
- |
Р 95 |
16-150/16-95 |
- |
TTD 201F |
35-95/25-95 |
- |
SLIW 17.2 |
25-150/25-150 |
- |
|
Влагозащищенный ответвительный зажим с раздельной затяжкой болта |
||||||||||||||
|
OVZ 71 |
16-95/2,5-54 |
- |
KZ 31-150/70 |
50-150/35-70 |
- |
Р71 |
16-95/2,5-54 |
- |
F35 + TTD 151FJ
|
25-95/6-35 |
- |
- |
- |
- |
|
KZ 31-70/70 |
35-70/35-70 |
- |
||||||||||||
|
OVZ 72 |
16-95/2,5-54 |
- |
KZ 2-150-Bp |
25-150/2×6-35 |
- |
Р 72 |
16-95/2,5-54 |
- |
FT235 + TTD |
25-95/2×6-35 |
- |
- |
- |
- |
|
Герметичные ответвительные с одновременной затяжкой болта для ответвления СИП от ВЛН |
||||||||||||||
|
ZP 1 |
6-120/6-25 |
- |
RDP 25/CN |
7-100/16-35 |
- |
N640 |
6-120/6-25 |
- |
NTD |
35-95/2,5-35 |
- |
- |
- |
- |
|
ZP 2 |
22-150/16-95 |
- |
CDR/CN 1S95VK |
7-100/25-95 |
- |
N95 |
22-150/16-95 |
- |
- |
- |
- |
SLIP 22.12 |
25-95/25-95 |
- |
|
Зажим для временного заземления в комплекте с адаптером |
||||||||||||||
|
AIZZ |
- |
- |
РМСС |
- |
- |
- |
- |
- |
- |
- |
- |
SE 40 |
- |
- |
|
ZVZ 481 |
16-150 |
- |
- |
- |
- |
PC 481 |
16-150 |
- |
TTD 2-СС |
35-95 |
- |
- |
- |
- |
|
Соединительный зажим |
||||||||||||||
|
MJPT 25, 35,50,70 |
25,35,50,70 |
- |
MJPT 25,35, 50,70 |
25,35,50,70 |
- |
MJPT 25,35,50,70 |
35,50,70 |
- |
MJPT 25SF, 35SF, 50SF, 70SF |
25,35,50,70 |
- |
SJ 8.25, 8.35, 8.50, 8.70 |
25,35, 50, 70 |
- |
|
MJPT 95 |
95 |
- |
MJPT 95 |
95 |
- |
MJPT 95 |
95 |
- |
MJP |
95 |
- |
SJ 8.95 |
95 |
- |
|
MJPT 120,150 |
120,15 |
- |
MJPT 120,150 |
120,15 |
- |
MJPT 120,150 |
120,15 |
- |
MJPT 120SF.150SF |
120,150 |
- |
SJ 8.120 |
120 |
- |
|
Соединительный зажим для проводов ввода |
||||||||||||||
|
MJPB 06-16 |
16-16 |
- |
MJPB 6-16 |
16-16 |
- |
MJPB 6-16 |
16-16 |
- |
MJPB 16-6CG |
16-25 |
- |
- |
- |
- |
|
MJPB 16 |
16 |
- |
MJPB 16 |
16 |
- |
MJPB 16 |
16 |
- |
MJPB 16CG |
16 |
- |
SJ 8.16 |
16 |
- |
|
MJPB 25 |
25 |
- |
MJPB 25 |
25 |
- |
MJPB 25 |
25 |
- |
MJPB 25CG |
25 |
- |
SJ 8.25 |
25 |
- |
|
MJPB 16-25 |
16-25 |
- |
MJPB 16-25 |
16-25 |
- |
MJPB 16-25 |
16-25 |
- |
MJPB 25-16CG |
16-25 |
- |
- |
- |
- |
|
Соединительный зажим для нейтрали |
||||||||||||||
|
MJPT 25N |
25 |
- |
- |
- |
- |
MJPT 25N |
25 |
- |
MJPT 25NSF |
25 |
- |
CIJ 1 |
25-50 |
- |
|
MJPT 35N |
35 |
- |
- |
- |
- |
MJPT 35N |
35 |
- |
MJPT 35NSF |
35 |
- |
CIJ 1 |
25-50 |
- |
|
MJPT 50N |
50 |
- |
- |
- |
- |
MJPT 50N |
50 |
- |
MJPT 50NSF |
50 |
- |
SJ 8.501 |
50,54 |
- |
|
MJPT 54,6N |
54,6 |
- |
MJPT 54 |
54,6 |
- |
MJPT 54,6N |
54,6 |
- |
MJPT 54SF |
54,6 |
- |
SJ 8.501 |
50,54 |
- |
|
MJPT 70N |
70 |
- |
MJPT 70N |
70 |
- |
MJPT 70N |
70 |
- |
MJPT 70NSF |
70 |
- |
SJ 8.701 |
70 |
- |
|
MJPT 95N |
95 |
- |
- |
- |
- |
MJPT 95N |
95 |
- |
MJPT 95NSF |
95 |
- |
SJ 8.951 |
95 |
- |
|
Изолированный наконечник |
||||||||||||||
|
CPTAU 16....70 |
16-70 |
- |
CPTAU 16D, 25D, |
16-70 |
- |
CPTAUR 16....70 |
16-70 |
- |
CPTAU 16....70 |
16-70 |
- |
SAL 1.27 |
10-50 |
- |
|
CPTAU 95 |
95 |
- |
CPTAU 95 |
95 |
- |
CPTAUR 95 |
95 |
- |
CPTAU 95 |
95 |
- |
SAL 2.27 |
50-95 |
- |
|
CPTAU 120,150 |
120,150 |
- |
CPTAU 120D, 150D |
120,150 |
- |
CPTAUR 120,150 |
120,150 |
- |
CPTAU 120,150 |
120,150 |
- |
SAL 3.27 |
95-185 |
- |
|
Стяжной хомут |
||||||||||||||
|
KR 1 |
D 10-45 |
- |
CSB |
D 10-45 |
- |
E 778 |
D10-45 мм |
- |
CCI 9-180 |
D8-22 |
- |
PER 15 |
10-62 |
- |
|
KR2 |
D 25-62 |
- |
CSL 260 |
D 26-66 |
- |
E 260 |
D25-62 мм |
- |
CCI 9-265 |
D20-62 |
- |
PER 15 |
10-62 |
- |
|
KR 3 |
D 55-92 |
- |
CSL 350 |
D 55-93 |
- |
E 350 |
D55-92 мм |
- |
CCI 9-360 |
D20-92 |
- |
PER 26.375 |
10-92 |
- |
|
Лента крепления |
||||||||||||||
|
F 20.07 |
упак. 50 м. |
- |
F 2007 |
упак. 50 м. |
- |
F207 |
упак. 50 м. |
- |
IF 207 |
упак. 50 м. |
- |
СОТ 37 |
упак. 25 м. |
- |
|
Скрепа для ленты |
||||||||||||||
|
С 20 |
20 мм |
- |
A 200 |
20 мм |
- |
NC 20 |
20 мм |
- |
CF 20 |
20 мм |
- |
COT 36 |
20 мм |
- |
|
|
|
- |
- |
- |
- |
NB 20 |
20 мм |
- |
- |
- |
- |
- |
- |
- |
|
Колпачок изолирующий |
||||||||||||||
|
CI 6-35 |
16-35 |
- |
CECT 6-35 |
16-35 |
- |
CE 6-35 |
июн.35 |
- |
СРЕ 3 |
окт.35 |
- |
PK 99.025 |
16-25 |
- |
|
CI 16-150 |
25-150 |
- |
CECT 16-150 |
25-150 |
- |
CE 25-150 |
25-150 |
- |
СРЕ 5 |
50-95 |
- |
PK 99.050 |
35-50 |
- |
|
PK 99.95 |
70-95 |
- |
||||||||||||
|
PK 99.2595 |
25-95 |
- |
||||||||||||
Таблица соответствия арматуры для ВЛ 6-20 кВ, в том числе с проводами
СИП-3 (SAX)
(по данным «Московского завода высоковольтной арматуры»
|
Обозначение |
Отечественная арматура и изоляторы |
ENSTO |
NILED |
|
Штыревые фарфоровые изоляторы |
ШФ-20УО ШФ-20Г1 |
SDI 37 |
IF 27 |
|
ШФ-20Г |
SDI 30 |
IF 20 |
|
|
Композитные изоляторы |
ЛК-70/10-ИУ-ЗСС |
SDI 80 |
- |
|
Поддерживающие зажимы |
ПГН-2-6* ПГН-3-5* |
SO 181* SO 241* SO 241.2* |
- |
|
Анкерные зажимы |
НКК-1-1Б* НБ-2-6А* НЗ-2-7* |
SO 235* SO 236* SO 146* SO 105* SO 85.2* SO 85* |
PAZ 1* PAZ 2* PAZ 3* |
|
Ответвительные прокалывающие зажимы |
ОАЗ-2 |
SE 20 SL 25.2 |
CD153N + BI |
|
Защитные кожухи для ответвительных прокалывающих зажимов |
ФП-2 |
SP 16 |
- |
|
Ответвительные зажимы |
Зажимы типа ПА* |
Зажимы типа SL* |
RP 150* RP 240* |
Примечание.
* - для точного определения взаимозаменяемости в каждом конкретном случае требуется уточнение сечения применяемых проводов.

|
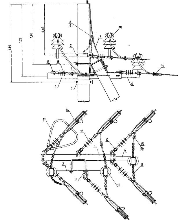
№ узла |
Номер позиции |
Название узла |
|
1 |
Заделка концов СИП у абонентов |
|
|
2 |
Арматура для прокладки СИП по фасадам зданий |
|
|
3 |
Анкерное крепление СИП абонентов |
|
|
4 |
Анкерное крепление и соединение СИП с силовым кабелем |
|
|
5 |
Соединение (сращивание) проводов СИП |
|
|
6 |
Промежуточное крепление СИП и абонентское ответвление |
|
|
7 |
Ввод СИП в трансформаторную подстанцию и его подключение |
|
|
8 |
Двойное анкерное крепление СИП и подключение ОПН |
|
|
9 |
Промежуточное крепление СИП и повторное заземление |
|
|
10 |
Промежуточное крепление СИП и основное ответвление |
|
|
11 |
Промежуточное крепление СИП для основной линии |
|
|
12 |
Промежуточное крепление СИП |
|
|
13 |
Угловое анкерное крепление СИП и подключение уличного освещения |
|
|
14 |
Анкерное крепление СИП и присоединение его к голым проводам |
Применяется при подключении к счетчикам, автоматам и другой аппаратуре.

|
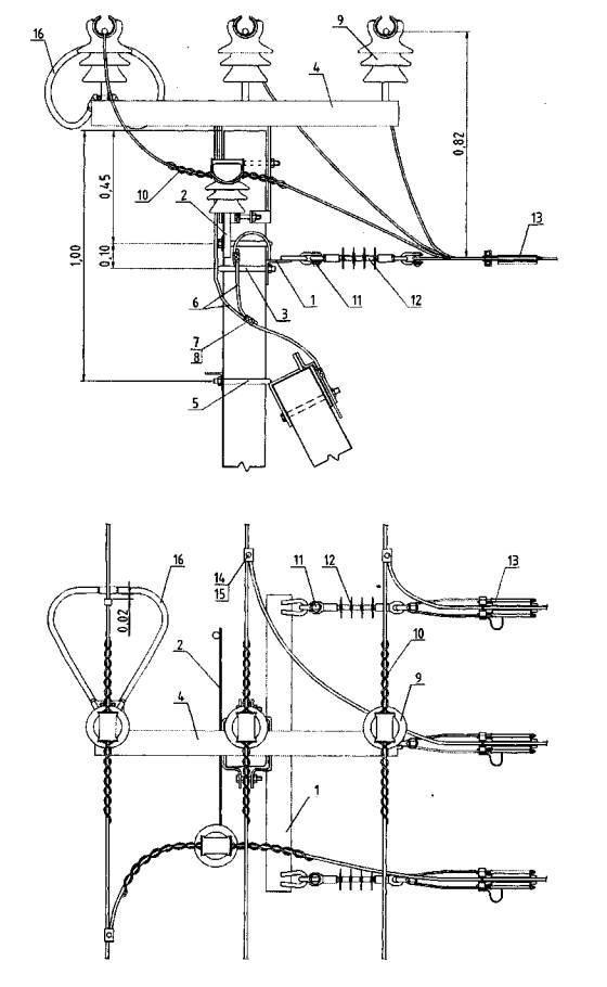
№ по схеме |
Наименование |
|
1 |
Наконечник изолированный CPTAU 16 |
Примечание.
Тип наконечников выбирается с учетом сечения СИП и материала контактов подключения у потребителя.
Применяется при прокладке линии с СИП по фасаду здания.

|
№ |
Наименование |
|
1 |
Кронштейн анкерный СА 1500 |
|
2 |
Зажим анкерный РА 25×100 |
|
3 |
Крепление фасадное BRPF 70-150-IF |
Примечание.
Элементы выбираются с учетом сечения СИП, длины линии вдоль стены.
Применяется при отклонении направления трассы абонентской линии и в качестве промежуточного крепления при большой длине пролета.

|
№ |
Наименование |
|
|
1 |
Лента из нержавеющей стали F 2007 |
|
|
2 |
Скрепа для крепления ленты А 200 |
|
|
3 |
Кронштейн анкерный СА 1500 |
|
|
4 |
Зажим анкерный РА 25×100 |
|
|
5 |
Ремешок кабельный CSB |
|
Примечание.
Элементы выбираются с учетом конструкции и сечения СИП, длины линии и угла ее поворота.
Применяется при обустройстве кабельных вводов в ТП:
- в заводских сетях,
- при обустройстве кабельных переходов через железные и автомобильные дороги, а также через мосты.

|
№ |
Наименование |
|
1 |
Лента из нержавеющей стали F 2007 |
|
2 |
Скрепа для крепления ленты А 200 |
|
3 |
Кронштейн анкерный СА 1500 |
|
4 |
Зажим анкерный РА 1500 |
|
5 |
Ремешок кабельный CSB |
|
6 |
Ремешок кабельный CSL 350 |
|
7 |
Соединитель механический HEL 6893ZAK |
|
8 |
Трубка герметизирующая WCSM 33/8-150/S |
|
9 |
Трубка защитная CGPT 18/6-0 |
|
10 |
Перчатка термоусаживаемая 502 К 016/S |
|
11 |
Профиль защитный из ПВХ GPC 60×60 L-2750 |
Примечание.
Элементы выбираются с учетом сечения кабеля и СИП, их конструкции, с учетом размера и количества опор, а также их материала (дерево, сталь, кирпич, бетон).
Применяется при необходимости соединения (сращивание) двух проводов СИП.

|
№ |
Наименование |
|
1 |
Гильза соединительная MJPT 54 |
|
2 |
Гильза соединительная MJPT 70 |
|
3 |
Ремешок кабельный CSB |
Примечание.
Элементы выбираются с учетом сечения соединяемых СИП.
Применяется при креплении СИП на промежуточной опоре и при ответвлении к абоненту.

|
№ |
Наименование |
|
1 |
Лента из нержавеющей стали F 2007 |
|
2 |
Скрепа для крепления ленты А 200 |
|
3 |
Комплект промежуточного крепления ES 1500 |
|
4 |
Зажим прокалывающий KZ2-95 |
|
5 |
Ремешок кабельный CSB |
|
6 |
Кронштейн анкерный СА 1500 |
|
7 |
Зажим анкерный РА 25×100 |
Примечание.
Элементы выбираются с учетом размеров опоры, а также конструкции и сечения СИП.
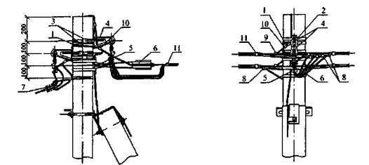
Применяется при осуществлении ввода СИП в трансформаторную подстанцию и подключении к трансформатору.

|
№ |
Наименование |
|
1 |
Ремешок кабельный CSB |
|
2 |
Зажим анкерный РА 1500 |
|
3 |
Кронштейн анкерный СА 1500 |
|
4 |
Наконечник изолированный CPTAU 70 |
|
5 |
Наконечник изолированный CPTAU 54 |
|
6 |
Крепление фасадное BRPF 70-150-IF |
|
7 |
Уплотнитель кабельных проходов RDSS 75+Clips 75 |
Примечание.
Элементы выбираются с учетом геометрии ТП, количества вводимых линий СИП, сечения проводов, а также материала контактных участков трансформатора.
Применяется при отклонении направления трассы линии с СИП и для защиты от перенапряжений.

|
№ |
Наименование |
|
1 |
Лента из нержавеющей стали F 2007 |
|
2 |
Скрепа для крепления ленты А 200 |
|
3 |
Ремешок кабельный CSB |
|
4 |
Кронштейн анкерный СА 1500 |
|
5 |
Зажим анкерный РА 1500 |
|
6 |
Ограничитель перенапряжения LVA-440-CS |
|
7 |
Зажим прокалывающий KZ2-95 |
Примечание.
Элементы выбираются с учетом:
- размеров и конструкции опоры,
- материала опоры (бетон, дерево, сталь),
- сечения СИП.
Применяется при подвесе СИП на промежуточной опоре и для присоединения нейтрали СИП к заземляющему спуску опоры.

|
№ |
Наименование |
|
1 |
Лента из нержавеющей стали F 2007 |
|
2 |
Скрепа для крепления ленты А 200 |
|
3 |
Комплект промежуточного крепления ES 1500 |
|
4 |
Зажим прокалывающий Р2×95 |
|
5 |
Ремешок кабельный CSB |
Примечание.
Элементы выбираются с учетом:
- сечения заземляющего спуска,
- его конструкции (круглый, плоский),
- материала спуска (сталь, медь, алюминий),
- материала опоры (бетон, дерево, сталь),
- сечения и конструкции СИП.
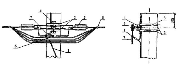
Применяется при разветвлении основной линии с СИП и для трансформаторного ответвления.

|
№ |
Наименование |
|
1 |
Лента из нержавеющей стали F 2007 |
|
2 |
Скрепа для крепления ленты А 200 |
|
3 |
Комплект промежуточного крепления ES 1500 |
|
4 |
Зажим прокалывающий KZ3-95 |
|
5 |
Ремешок кабельный CSB |
|
6 |
Кронштейн анкерный СА 1500 |
|
7 |
Зажим анкерный РА 1500 |
Примечание.
Элементы выбираются с учетом:
- размера опоры,
- материала опоры (бетон, дерево, сталь),
- сечения СИП.
Применяется при подвесе СИП на промежуточной опоре.

|
№ |
Наименование |
|
1 |
Лента из нержавеющей стали F 2007 |
|
2 |
Скрепа для крепления ленты А 200 |
|
3 |
Комплект промежуточного крепления ES 1500 |
|
4 |
Ремешок кабельный CSB |
Примечание.
Элементы выбираются с учетом:
- размера опоры,
- материала опоры (бетон, дерево, сталь),
- сечения СИП.
Применяется при подвесе СИП на промежуточной опоре.

|
№ |
Наименование |
|
1 |
Лента из нержавеющей стали F 2007 |
|
2 |
Скрепа для крепления ленты А 200 |
|
3 |
Комплект промежуточного крепления ES 1500 |
|
4 |
Ремешок кабельный CSB |
Примечание.
Элементы выбираются с учетом:
- размера опоры,
- материала опоры (бетон, дерево, сталь),
- сечения и конструкции СИП.
Применяется при подвесе СИП на угловой опоре, при соединении двух ВЛИ и присоединении светильников уличного освещения.

|
№ |
Наименование |
|
1 |
Лента из нержавеющей стали F 2007 |
|
2 |
Скрепа для крепления ленты А 200 |
|
3 |
Комплект анкерного крепления ЕА 1500 |
|
4 |
Ремешок кабельный CSB |
|
5 |
Гильза соединительная MJPT 70 |
|
6 |
Гильза соединительная MJPT 54 |
|
7 |
Зажим прокалывающий KZEP-13 |
|
8 |
Комплект уличного светильника |
|
9 |
Предохранитель проходной В 6770-10А |
Примечание.
Элементы выбираются с учетом:
- размера опоры,
- материала опоры (бетон, дерево, сталь),
- сечения и конструкции СИП,
- присоединительного провода светильника,
- мощности лампы светильника.
Применяется при соединении линии с СИП с линией, выполненной голыми проводами.

|
№ |
Наименование |
|
1 |
Лента из нержавеющей стали F 2007 |
|
2 |
Скрепа для крепления ленты А 200 |
|
3 |
Ремешок кабельный CSB |
|
4 |
Кронштейн анкерный СА 1500 |
|
5 |
Зажим анкерный РА 1500 |
|
6 |
Зажим ответвительный для присоединения СИП к голым проводам CDR/CN 1S 95 UK |
|
7 |
Зажим ответвительный для присоединения СИП к голым проводам RDP 25/CN |
Примечание.
Элементы выбираются с учетом:
- размера опоры,
- материала опоры (бетон, дерево, сталь),
- сечения СИП и голого провода.

|
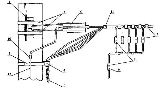
№ п/п |
Номер позиции |
Название узла |
|
1 |
Соединение СИП с кабелем |
|
|
2 |
Соединение (сращивание) проводов СИП |
|
|
3 |
Изгиб СИП на промежуточной опоре |
|
|
4 |
Подключение ответвления к СИП |
|
|
5 |
Соединение СИП с голой ВЛ |
|
|
6 |
Подключение СИП - ответвления к голой ВЛ |
|
|
7 |
Изгиб СИП на угловой опоре |
|
|
8 |
Подключение СИП к трансформатору |
Применяется в:
- кабельных вводах в ТП,
- заводских сетях,
- кабельных переходах через железные дороги, мосты, автодороги.

|
№ |
Наименование |
|
1 |
Крюк болтовой HEL-5552 |
|
2 |
Зажим анкерный HEL-5504 |
|
3 |
Соединитель механический HEL-6893ZAK |
|
4 |
Трубка герметизирующая WCSN 43/12-150/S |
|
5 |
Трубка защитная CGPT 18/6-0 |
|
6 |
Перчатка термоусаживаемая 502 К 016/S |
|
7 |
Профиль защитный из ПВХ GPC 60×60 L-2750 |
|
8 |
Ремешок кабельный CSB |
Примечание.
Элементы выбираются с учетом:
- размера и количества опор,
- материала опор (дерево, сталь, кирпич, бетон),
- сечение кабеля и его конструкции,
- сечение СИП.
Применяется при соединении (сращивании) двух проводов СИП.

|
№ |
Наименование |
|
1 |
Гильза герметичная изолированная MJPT-95 Alus |
|
2 |
Ремешок кабельный CSB |
Примечание.
Диаметр гильзы выбирается с учетом сечения.
Применяется при изгибе ВЛ с СИП-4 на угол 30°...60°.

|
№ |
Наименование |
|
1 |
Крюк болтовой HEL-5552 |
|
2 |
Пластина подвесная PSY |
|
3 |
Зажим промежуточный PS 495 |
Примечание.
Тип промежуточного зажима и метода крепления выбирается с учетом:
- сечения СИП,
- материала опоры (бетон, дерево, сталь),
- угол поворота линии.
Применяется при подключении абонентской линии СИП к магистрали СИП-4.

|
№ |
Наименование |
|
1 |
Крюк болтовой HEL-5551 |
|
2 |
Зажим промежуточный PS 495 |
|
3 |
Зажим прокалывающий Р2×95 |
|
4 |
Ремешок кабельный CSB |
|
5 |
Зажим анкерный |
Примечание.
Тип комплектующих элементов выбирается с учетом:
- сечения СИП,
- материала опоры (бетон, дерево, сталь),
- количества ответвляемых фаз.
Применяется при переходе от линии с голыми проводами к линии с СИП-4.

|
№ |
Наименование |
|
1 |
Крюк болтовой HEL-5552 |
|
2 |
Зажим анкерный HEL-5505 |
|
3 |
Зажим ответвительный для присоединения СИП к голым проводам CDR/CN 1S 95 UK |
|
4 |
Зажим анкерный с изогнутыми пазами HEL-38031 |
Примечание.
Критерии выбора комплектующих:
- сечение СИП и голого провода,
- материал опор (дерево, сталь, кирпич, бетон),
- количество опор и их размер,
- основание крепления опор.
Применяется при подключении абонентского ответвления СИП к существующей ВЛ с голыми проводами.

|
№ |
Наименование |
|
1 |
Зажим ответвительный для присоединения СИП к голым проводам RDP 25/CN |
|
2 |
Зажим анкерный РА 25×100 |
|
3 |
Крюк болтовой HEL-5552 |
Примечание.
Критерии выбора комплектующих:
- сечение СИП и голого провода,
- материал опор (дерево, сталь, кирпич, бетон),
- количество опор и их размер,
- количество ответвляемых фаз.
Применяется при изгибе ВЛ с СИП-4 при углах поворота более 60°.

|
№ |
Наименование |
|
1 |
Крюк болтовой HEL-5552 |
|
2 |
Зажим анкерный HEL-5505 |
|
3 |
Ремешок кабельный CSB |
Примечание.
Комплектующие элементы выбирается с учетом сечения СИП и материала опор.
Применяется при подключении линии с СИП-4 к трансформатору.

|
№ |
Наименование |
|
1 |
Зажим анкерный HEL-5505 |
|
2 |
Крюк болтовой HEL-5552 |
|
3 |
Ремешок кабельный CSB |
|
4 |
Уплотнитель кабельных проходов RDSS 75+Clips 75 |
|
5 |
Наконечник изолированный СРТА 95 D20 |
Примечание.
Критерии выбора комплектующих:
- сечение СИП,
- тип контактных клемм на трансформаторе.
|
№ п/п |
Номер позиции |
Название узла |
|
1 |
Абонентское ответвление от промежуточной опоры |
|
|
2 |
Абонентское ответвление от поворотной (анкерной) опоры |
|
|
3 |
Абонентское и анкерное ответвление от промежуточной опоры |
|
|
4 |
Угловая анкерная опора |
|
|
5 |
Промежуточная анкерная опора |
|
|
6 |
Подключение светильника |
|
|
7 |
Концевая опора и установка кабельной муфты |
|
|
8 |
Ответвление СИП от ВЛ 0,38 кВ неизолированными проводами |
|
|
9 |
Установка переносного заземления на концевой опоре |
|
|
10 |
Прокладка проводов СИП по стенам зданий |
|
|
11 |
Установка предохранителя на ответвлении к вводам |
|
|
12 |
Ввод в здание |
|
|
13 |
Соединение (сращивание) СИП в пролете |

|
№ |
Наименование |
|
1 |
Проводник заземляющий ЗП 6 |
|
2 |
Лента из нержавеющей стали Л-207 |
|
3 |
Скрепа для крепления ленты А 200 |
|
4 |
Комплект промежуточного крепления ES 1500 |
|
5 |
Кронштейн анкерный СА 1500 |
|
6 |
Зажим анкерный РА 25×100 |
|
7 |
Зажим прокалывающий Р2×95 |
|
8 |
Зажим ответвительный SLIP 22.12 |
|
9 |
Зажим плашечный ПС-1-1 |
|
10 |
Ремешок кабельный CSB или CSL 260 |

|
№ |
Наименование |
|
1 |
Проводник заземляющий ЗП 6 |
|
2 |
Лента из нержавеющей стали Л-207 |
|
3 |
Скрепа для крепления ленты А 200 |
|
4 |
Кронштейн анкерный СА 1500 |
|
5 |
Зажим анкерный РА 1500 (для сечений нулевой жилы 50-70), РА 1000 (для сечений несущей жилы 25-35), РА 95-2000 (для сечений нулевой жилы 70-95) |
|
6 |
Зажим анкерный РА 25×100 |
|
7 |
Зажим прокалывающий Р2×95 |
|
8 |
Зажим ответвительный SLIP 22.12 |
|
9 |
Зажим плашечный ПС-1-1 |
|
10 |
Ремешок кабельный CSB или CSL 260 |

|
№ |
Наименование |
|
1 |
Проводник заземляющий ЗП 6 |
|
2 |
Лента из нержавеющей стали Л-207 |
|
3 |
Скрепа для крепления ленты А 200 |
|
4 |
Комплект промежуточного крепления ES 1500 |
|
5 |
Кронштейн анкерный СА 1500 |
|
6 |
Зажим анкерный РА 1500 (для сечений нулевой жилы 50-70), РА 1000 (для сечений несущей жилы 25-35), РА 95-2000 (для сечений нулевой жилы 70-95) |
|
7 |
Зажим анкерный РА 25×100 |
|
8 |
Зажим прокалывающий Р2×95 |
|
9 |
Зажим ответвительный SLIP 22.12 |
|
10 |
Зажим плашечный ПС-1-1 |
|
11 |
Ремешок кабельный CSB или CSL 260 |
Примечание.
Зажим прокалывающий Р3×95 (для магистральных проводов) количество определяется от числа подключаемых проводов.

|
№ |
Наименование |
|
1 |
Проводник заземляющий ЗП 6 |
|
2 |
Лента из нержавеющей стали Л 207 |
|
3 |
Скрепа для крепления ленты А 200 |
|
4 |
Кронштейн анкерный СА 1500 |
|
5 |
Зажим анкерный РА 1500 (для сечений нулевой жилы 50-70), РА 1000 (для сечений несущей жилы 25-35), РА 95-2000 (для сечений нулевой жилы 70-95) |
|
6 |
Зажим ответвительный SLIP 22.12 |
|
7 |
Зажим плашечный ПС-1-1 |
|
8 |
Ремешок кабельный CSB или CSL 260 |

|
№ |
Наименование |
|
1 |
Проводник заземляющий ЗП 6 |
|
2 |
Лента из нержавеющей стали Л 207 |
|
3 |
Скрепа для крепления ленты А 200 |
|
4 |
Кронштейн анкерный СА 1500 |
|
5 |
Зажим анкерный РА 1500 (для сечений нулевой жилы 50-70), РА 1000 (для сечений несущей жилы 25-35), РА 95-2000 (для сечений нулевой жилы 70-95) |
|
6 |
Зажим ответвительный SLIP 22.12 |
|
7 |
Зажим плашечный ПС-1-1 |
|
8 |
Ремешок кабельный CSB или CSL 260 |

|
№ |
Наименование |
|
1 |
Зажим ответвительный прокалывающий ЕР 95-13 |
|
2 |
Комплект промежуточного крепления ES 1500 |
|
3 |
Лента из нержавеющей стали Л 207 |
|
4 |
Скрепа для крепления ленты А 200 |
|
5 |
Светильник |
Концевое крепление

Установка кабельной муфты

|
№ |
Наименование |
|
1 |
Проводник заземляющий ЗП 6 |
|
2 |
Лента из нержавеющей стали Л 207 |
|
3 |
Скрепа для крепления ленты А 200 |
|
4 |
Кронштейн анкерный СА 1500 |
|
5 |
Зажим анкерный РА 1500 (для сечений нулевой жилы 50-70), РА 1000 (для сечений несущей жилы 25-35), РА 95-2000 (для сечений нулевой жилы 70-95) |
|
6 |
Колпачок герметический СЕСТ 16-150 |
|
7 |
Соединительная муфта СИП-Кабель |
|
8 |
Зажим ответвительный SLIP 22.12 |
|
9 |
Зажим плашечный ПС-1-1 |
|
10,11 |
Ремешок кабельный CSB или CSL 260 |
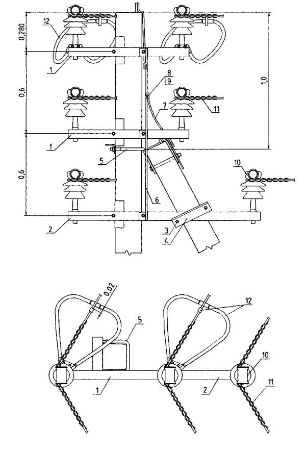
|
12 |
Арматура класса A-I d = 6 мм |

|
№ |
Наименование |
|
1 |
Проводник заземляющий ЗП 6 |
|
2 |
Лента из нержавеющей стали Л 207 |
|
3 |
Скрепа для крепления ленты А 200 |
|
4 |
Кронштейн анкерный СА 1500 |
|
5 |
Бандаж дистанционный SO 79.1 |
|
6 |
Зажим анкерный РА 1500 (для сечений нулевой жилы 50-70), РА 1000 (для сечений несущей жилы 25-35), РА 95-2000 (для сечений нулевой жилы 70-95) |
|
7 |
Зажим ответвительный SLIP 22.12 |
|
8 |
Зажим плашечный ПС-1-1 |
|
9 |
Ремешок кабельный CSB или CSL 260 |

|
№ |
Наименование |
|
1 |
Лента из нержавеющей стали Л 207 |
|
2 |
Скрепа для крепления ленты А 200 |
|
3 |
Кронштейн анкерный С А 1500 |
|
4 |
Бандаж дистанционный SO 79.1 |
|
5 |
Зажим анкерный РА 1500 (для сечений нулевой жилы 50-70), РА 1000 (для сечений несущей жилы 25-35), РА 95-2000 (для сечений нулевой жилы 70-95) |
|
6 |
Колпачок герметический СЕСТ 16-150 |
|
7 |
Зажим соединительный для закорачивания и заземления СМСС |
|
8 |
Устройство для закорачивания M6D |
|
9 |
Устройство заземления |
|
10 |
Зажим плашечный ПС-1-1 |
|
11 |
Ремешок кабельный CSB или CSL 260 |
|
12 |
Арматура класса A-I d = 6 мм |

|
№ |
Наименование |
|
1 |
Кронштейн анкерный СА 1500 |
|
2 |
Зажим анкерный РА 1500 (для сечений нулевой жилы 50-70), РА 1000 (для сечений несущей жилы 25-35), РА 95-2000 (для сечений нулевой жилы 70-95) |
|
3 |
Крепление фасадное BRPF 70-150-IF или BRPF 70-150-6F |
|
4 |
Ремешок кабельный CSB или CSL 260 |

|
№ |
Наименование |
|
1 |
Проводник заземляющий ЗП 6 |
|
2 |
Лента из нержавеющей стали Л 207 |
|
3 |
Скрепа для крепления ленты А 200 |
|
4 |
Комплект промежуточного крепления ES 1500 |
|
5 |
Кронштейн анкерный СА 1500 |
|
6 |
Зажим анкерный РА 25×100 |
|
7 |
Зажим прокалывающий Р2×95 |
|
8 |
Предохранитель |
|
9 |
Зажим ответвительный SLIP 22.12 |
|
10 |
Зажим плашечный ПС-1-1 |
|
11 |
Ремешок кабельный CSB или CSL 260 |

|
№ |
Наименование |
|
1 |
Кронштейн анкерный СА 1500 |
|
2 |
Зажим анкерный РА 1500 (для сечений нулевой жилы 50-70), РА 1000 (для сечений несущей жилы 25-35), РА 95-2000 (для сечений нулевой жилы 70-95), РА 25×100 (для 2×16-4×16) |
|
3 |
Наконечник изолированный CPTAU 70 |
|
4 |
Ремешок кабельный CSB или CSL 260 |

|
№ |
Наименование |
|
1 |
Гильза соединительная MJPT 25-150 |
|
2 |
Гильза соединительная MJPB 16-25 (для нулевой жилы) |
|
3 |
Гильза соединительная MJPB 16-25 (для жилы освещения) |
|
4 |
Ремешок кабельный CSB или CSL 260 |
|
№ узла |
Номер позиции |
Название узла |
|
|
|
Линейная арматура и металлоконструкции для подвески проводов на конструкциях одноцепной железобетонной опоры: |
|
1 |
промежуточной |
|
|
2 |
анкерной |
|
|
3 |
концевой |
|
|
4 |
угловой промежуточной |
|
|
5 |
угловой анкерной |
|
|
6 |
ответвительной анкерной |
|
|
|
|
Линейная арматура и металлоконструкции для подвески проводов на конструкциях двухцепной железобетонной опоры: |
|
7 |
промежуточной |
|
|
8 |
угловой промежуточной |
|
|
9 |
анкерной |
|
|
10 |
угловой анкерной |
|
|
11 |
ответвительной |

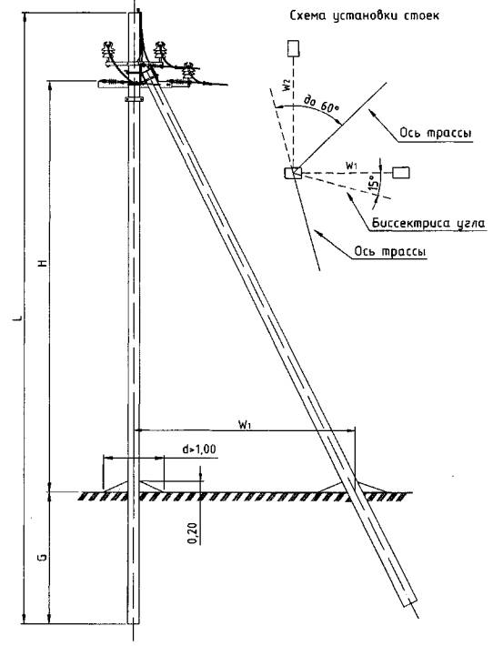
Примечание. (Относится ко всем схемам расположения опор).
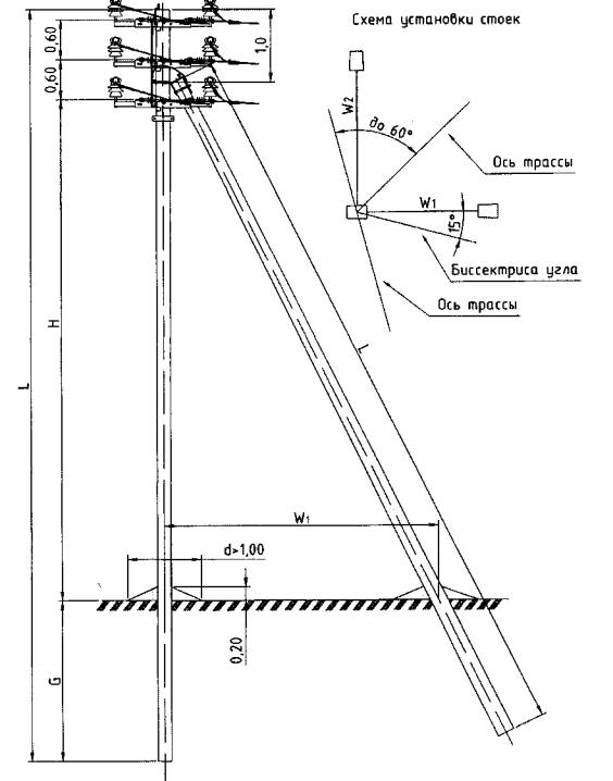
На схеме расположения опоры и установки стойки приводятся буквенные обозначения размеров опор и расстояний по установки стоек от подстанции и трассы. Размеры определяются по типам опор и марок стоек.

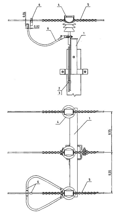
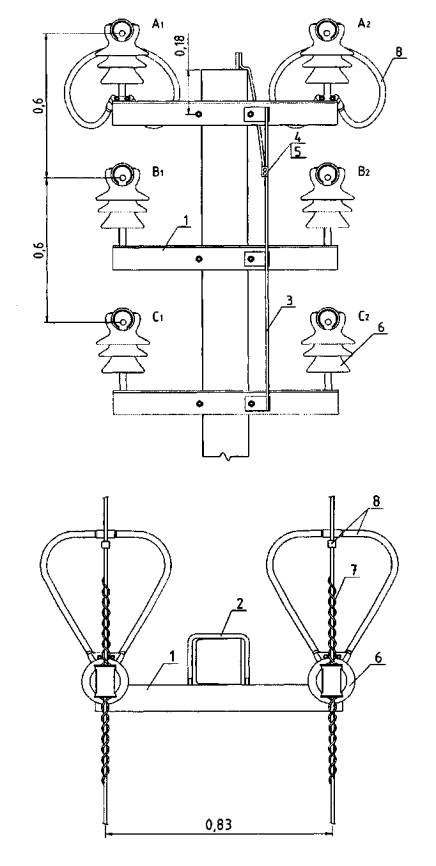
|
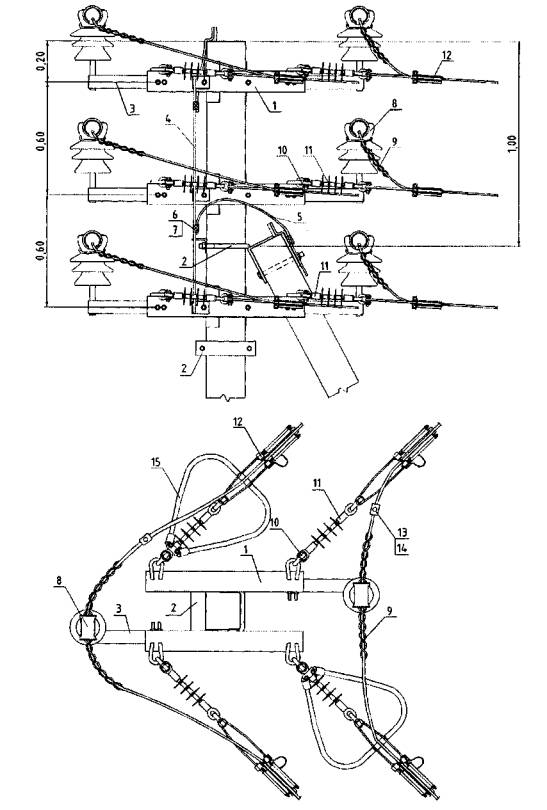
№ |
Наименование |
|
1 |
Оголовок Ors54 (Ors55) |
|
2 |
Зажим плашечный SL 37.2 (HEL-3590) |
|
3 |
Кожух защитный SP 15 |
|
4 |
Изолятор штыревой SD I37 |
|
5 |
Вязка спиральная SO 115 |
|
6 |
Разрядник длинно-искровой SDI 97 |


|
№ |
Наименование |
|
1 |
Траверса ТМ73 |
|
2 |
Траверса TMs60 (TMs60a) |
|
3 |
Накладка ОГ52 |
|
4 |
Хомут Х51 (X1) |
|
5 |
Крепление подкоса У52 (У1) |
|
6 |
Проводник заземляющий ЗП21 |
|
7 |
Зажим плашечный SL 37.2 (HEL-3590) |
|
8 |
Кожух защитный SP 15 |
|
9 |
Изолятор штыревой SDI 37 |
|
10 |
Вязка спиральная SO 115 |
|
11 |
Скоба СК7 |
|
12 |
Изолятор натяжной SD 90.150 |
|
13 |
Зажим натяжной SO 235, SO 236 |
|
14 |
Зажим прокалывающий SL 25.2 |
|
15 |
Кожух защитный SP 16 |
|
16 |
Разрядник длинно-искровой SDI 97 |


|
№ |
Наименование |
|
1 |
Траверса ТМ73 |
|
2 |
Траверса TMs60 (TMs60a) |
|
3 |
Накладка ОГ52 |
|
4 |
Хомут Х51 (X1) |
|
5 |
Крепление подкоса У52 (У1) |
|
6 |
Проводник заземляющий ЗП21 |
|
7 |
Зажим шишечный SL 37.2 (HEL-3590) |
|
8 |
Кожух защитный SP 15 |
|
9 |
Изолятор штыревой SDI 37 |
|
10 |
Вязка спиральная SO 115 |
|
11 |
Скоба СК7 |
|
12 |
Изолятор натяжной SD 90.150 |
|
13 |
Зажим натяжной SO 235, SO 236 |
|
14 |
Зажим прокалывающий SL 25.2 |
|
15 |
Кожух защитный SP 16 |
|
16 |
Разрядник длинно-искровой SDI 97 |


|
№ |
Наименование |
|
1 |
Оголовок ОГs58 (Ors59) |
|
2 |
Крепление подкоса У52 (У 1) |
|
3 |
Проводник заземляющий ЗП21 |
|
4 |
Зажим плашечный SL 37.2 (HEL-3590) |
|
5 |
Кожух защитный SP 15 |
|
6 |
Изолятор штыревой SDI 37, SDI 96 |
|
7 |
Вязка спиральная SO 115 |
|
8 |
Разрядник длинно-искровой SDI 97 |


|
№ |
Наименование |
|
1 |
Траверса ТМ73 |
|
2 |
Траверса TMs60 (TMs60a) |
|
3 |
Накладка ОГ52 |
|
4 |
Хомут Х51 (X1) |
|
5 |
Крепление подкоса У52 (У1) |
|
6 |
Крепление изолятора KиsI |
|
7 |
Проводник заземляющий ЗП21 |
|
8 |
Зажим плашечный SL 37.2 (HEL-3590) |
|
9 |
Кожух защитный SP 15 |
|
10 |
Изолятор штыревой SDI 37, SDI 96 |
|
11 |
Вязка спиральная SO 115 |
|
12 |
Скоба СК7 |
|
13 |
Изолятор натяжной SD 90.150 |
|
14 |
Зажим натяжной SO 235, SO 236 |
|
15 |
Зажим прокалывающий SL 25.2 |
|
16 |
Кожух защитный SP 16 |
|
17 |
Разрядник длинно-искровой SDI 97 |


|
№ |
Наименование |
|
1 |
Траверса ТМ73 |
|
2 |
Траверса TMs60 (TMs60a) |
|
3 |
Хомут Х51 (X1) |
|
4 |
Оголовок Ors54 (ОГs55) |
|
5 |
Крепление подкоса У52 (У1) |
|
6 |
Проводник заземляющий ЗП21 |
|
7 |
Зажим плашечный SL 37.2 (HEL-3590) |
|
8 |
Кожух защитный SP 15 |
|
9 |
Изолятор штыревой SDI 37, SDI 96 |
|
10 |
Вязка спиральная SO 115 |
|
11 |
Скоба СК7 |
|
12 |
Изолятор натяжной SD 90.150 |
|
13 |
Зажим натяжной SO 235, SO 236 |
|
14 |
Зажим прокалывающий SL 25.2 |
|
15 |
Кожух защитный SP 16 |
|
16 |
Разрядник длинно-искровой SDI 97 |


|
№ |
Наименование |
|
1 |
Траверса TMs68 |
|
2 |
Хомут Х51 |
|
3 |
Проводник заземляющий ЗП64 |
|
4 |
Зажим плашечный SL 37.2 (HEL-3590) |
|
5 |
Кожух защитный SP 15 |
|
6 |
Изолятор штыревой SDI 37 |
|
7 |
Вязка спиральная SO 115 |
|
8 |
Разрядник длинно-искровой SDI 97 |


|
№ |
Наименование |
|
1 |
Траверса TMs93 |
|
2 |
Траверса TMs94 |
|
3 |
Хомут Х51 |
|
4 |
Упор УП 50 |
|
5 |
Крепление подкоса У52 |
|
6 |
Проводник заземляющий ЗП69 |
|
7 |
Проводник заземляющий ЗП21 |
|
8 |
Зажим плашечный SL 37.2 (HEL-3590) |
|
9 |
Кожух защитный SP 15 |
|
10 |
Изолятор штыревой SDI 37 |
|
11 |
Вязка спиральная SO 115 |
|
12 |
Разрядник длинно-искровой SDI 97 |

Линейная арматура и металлоконструкции для подвески проводов на конструкциях двухцепной железобетонной анкерной опоры (08-02-377-11)

|
№ |
Наименование |
|
1 |
Траверса TMs72a |
|
2 |
Хомут Х51 |
|
3 |
Крепление подкоса У52 |
|
4 |
Проводник заземляющий ЗП69 |
|
5 |
Проводник заземляющий ЗП21 |
|
6 |
Зажим плашечный SL 37.2 (HEL-3590) |
|
7 |
Кожух защитный SP 15 |
|
8 |
Скоба СК7 |
|
9 |
Изолятор натяжной SD 90.150 |
|
10 |
Зажим натяжной SO 235, SO 236 |
|
11 |
Зажим прокалывающий SL 25.2 |
|
12 |
Кожух защитный SP 16 |
|
13 |
Разрядник длинно-искровой SDI 97 |


|
№ |
Наименование |
|
1 |
Траверса TMs72a |
|
2 |
Крепление подкоса У52 |
|
3 |
Крепление изолятора KиsI |
|
4 |
Проводник заземляющий ЗП64 |
|
5 |
Проводник заземляющий ЗП21 |
|
6 |
Зажим плашечный SL 37.2 (HEL-3590) |
|
7 |
Кожух защитный SP 15 |
|
8 |
Изолятор штыревой SD I37 |
|
9 |
Вязка спиральная SO 115 |
|
10 |
Скоба СК7 |
|
11 |
Изолятор натяжной SD 90.150 |
|
12 |
Зажим натяжной SO 235, SO 236 |
|
13 |
Зажим прокалывающий SL 25.2 |
|
14 |
Кожух защитный SP 16 |
|
15 |
Разрядник длинно-искровой SDI 97 |


|
№ |
Наименование |
|
1 |
Траверса TMs72a |
|
2 |
Хомут Х51 |
|
3 |
Крепление подкоса У52 |
|
4 |
Крепление изолятора KhsI |
|
5 |
Проводник заземляющий ЗП64а |
|
6 |
Проводник заземляющий ЗП21 |
|
7 |
Зажим плашечный SL 37.2 (HEL-3590) |
|
8 |
Кожух защитный SP 15 |
|
9 |
Изолятор штыревой SDI 37 |
|
10 |
Вязка спиральная SO 115 |
|
11 |
Скоба СК7 |
|
12 |
Изолятор натяжной SD 90.150 |
|
13 |
Зажим натяжной SO 235, SO 236 |
|
14 |
Зажим прокалывающий SL 25.2 |
|
15 |
Кожух защитный SP 16 |
|
16 |
Разрядник длинно-искровой SDI 97 |
|
ГОСТЫ, СТРОИТЕЛЬНЫЕ и ТЕХНИЧЕСКИЕ НОРМАТИВЫ. Некоммерческая онлайн система, содержащая все Российские Госты, национальные Стандарты и нормативы. В Системе содержится более 150000 файлов нормативно-технической документации, действующей на территории РФ. Система предназначена для широкого круга инженерно-технических специалистов. Copyright © www.gostrf.com, 2008 - 2026 |