|
|
МЕНЕДЖМЕНТ КАЧЕСТВА Удовлетворенность потребителей. ISO 10003:2007
ПредисловиеЦели и принципы стандартизации в Российской Федерации установлены Федеральным законом от 27 декабря 2002 г. № 184-ФЗ «О техническом регулировании», а правила применения национальных стандартов Российской Федерации - ГОСТ Р 1.0-2004 «Стандартизация в Российской Федерации. Основные положения» Сведения о стандарте 1 ПОДГОТОВЛЕН Открытым акционерным обществом «Всероссийский научно-исследовательский институт сертификации» (ОАО «ВНИИС») на основе собственного аутентичного перевода стандарта, указанного в пункте 4 2 ВНЕСЕН Управлением технического регулирования и стандартизации Федерального агентства по техническому регулированию и метрологии 3 УТВЕРЖДЕН И ВВЕДЕН В ДЕЙСТВИЕ Приказом Федерального агентства по техническому регулированию и метрологии от 27 мая 2009 г. № 167-ст 4 Настоящий стандарт идентичен международному стандарту ИСО 10003:2007 «Менеджмент качества. Удовлетворенность потребителей. Рекомендации по урегулированию спорных вопросов вне организации» (ISO 10003:2007 «Quality management - Customer satisfaction - Guidelines for dispute resolution external to organizations»). При применении настоящего стандарта рекомендуется использовать вместо ссылочного международного стандарта соответствующий ему национальный стандарт Российской Федерации, сведения о которых приведены в дополнительном приложении N 5 ВВЕДЕН ВПЕРВЫЕ Информация об изменениях к настоящему стандарту публикуется в ежегодно издаваемом информационном указателе «Национальные стандарты», а текст изменений и поправок - в ежемесячно издаваемых информационных указателях «Национальные стандарты». В случае пересмотра (замены) или отмены настоящего стандарта соответствующее уведомление будет опубликовано в ежемесячно издаваемом информационном указателе «Национальные стандарты». Соответствующая информация, уведомления и тексты размещаются также в информационной системе общего пользования - на официальном сайте Федерального агентства по техническому регулированию и метрологии в сети Интернет Введение0.1 Общие положенияНастоящий стандарт содержит рекомендации для организации по планированию, проектированию, разработке, выполнению, поддержанию и улучшению эффективного и результативного урегулирования вне организации спорных вопросов, связанных с жалобами на продукцию. Урегулирование спорных вопросов представляет собой исправление различными методами ситуации, когда организация не может разрешить жалобу своими силами. Большинство жалоб могут быть успешно урегулированы внутри организации без необходимости в дальнейших временных тратах и более сложных процессуальных процедурах. Примечания 1 Организациям рекомендуется разработать эффективный и результативный внутренний процесс работы с жалобами, соответствующий ИСО 10002. Существуют различные методы урегулирования спорных вопросов и термины, их описывающие. Это - согласительные, консультативные и устанавливающие методы (см. приложение А). Каждый из этих методов может быть применен как самостоятельно, так и в последовательности друг за другом. Настоящий стандарт может быть использован: a) для разработки процесса урегулирования спорных вопросов и принятия решения о том, когда предлагать истцам начать этот процесс; b) для выбора агента по решению спорных вопросов (далее - агент, см. 3.9), способного удовлетворить специфическим требованиям и ожиданиям организации. 2 Агенты из общественного и частного секторов могут иметь различные организационные формы, включая ассоциации из межотраслевых и отраслевых секторов, ассоциации, назначаемые правительством для рассмотрения жалоб частных лиц в отношении государственных учреждений. Настоящий стандарт, предназначенный для организаций, может быть полезен и агентам для понимания того, чем руководствуются организации. Агенты также могут применять рекомендации в процессе урегулирования спорных вопросов внутри своей организации. Организациям рекомендуется планировать, проектировать, разрабатывать, выполнять, поддерживать и улучшать процесс урегулирования спорных вопросов в соответствии с правилами достижения удовлетворенности потребителя и процессом работы с жалобами и интегрировать их в систему менеджмента качества или другие системы менеджмента организации. Выполнение рекомендаций настоящего стандарта поможет частным лицам и организациям оценить эффективность, результативность и беспристрастность процесса урегулирования спорных вопросов в организации. Внедрение настоящего стандарта позволит: - обеспечить гибкое урегулирование спорных вопросов, что в сравнении с судебным разбирательством может быть более дешевым, простым и быстрым, особенно при международных конфликтах; - повысить степень удовлетворенности и лояльности потребителей; - задать ориентир, в соответствии с которым физические лица и организации могут оценивать требования, по которым работают организации и агенты, относительно эффективности, результативности и беспристрастности их деятельности; - оказать помощь в информировании потенциальных участников урегулирования спорных вопросов об условиях участия, стоимости и юридических последствиях; - повысить возможности организации по выявлению и устранению причин возникновения разногласий; - улучшить способы работы с жалобами и разногласиями в организации; - предоставить дополнительную информацию, способствующую улучшению процессов и продукции организации; - повысить репутацию организации или избежать причинения ущерба; - повысить конкурентоспособность на внутреннем и мировом рынках; - обеспечить уверенность в беспристрастном и надлежащем разрешении спорных вопросов на мировом рынке. Примечание - Терминология, используемая в отношении урегулирования спорных вопросов, не всегда одинакова в разных странах мира. В приложении А приведен глоссарий некоторых эквивалентных терминов. 0.2 Совместимость с ИСО 9001 и ИСО 9004Настоящий стандарт совместим с ИСО 9001 и ИСО 9004 и поддерживает цели этих двух стандартов посредством эффективного и действенного применения процесса урегулирования спорных вопросов. Настоящий стандарт может также быть использован независимо от ИСО 9001 и ИСО 9004. ИСО 9001 устанавливает требования к системе менеджмента качества, которые могут быть использованы для целей внутреннего применения организациями, сертификации или заключения контрактов. Процесс урегулирования спорных вопросов, описанный в настоящем стандарте, может являться элементом системы менеджмента качества. Настоящий стандарт не предназначен для целей сертификации или заключения контрактов. ИСО 9004 содержит рекомендации по постоянному улучшению функционирования систем менеджмента качества. Применение настоящего стандарта может в дальнейшем улучшить работу в отношении урегулирования спорных вопросов с истцами и повысить степень удовлетворенности потребителей, истцов и других заинтересованных сторон. Применение стандарта может также способствовать постоянному улучшению качества продукции и процессов, основанных на обратной связи от потребителей, истцов и других заинтересованных сторон. Примечание - Заинтересованными сторонами могут быть: потребители, агенты, промышленные объединения и их члены, потребительские организации, соответствующие правительственные органы, персонал, владельцы и другие. 0.3 Совместимость с ИСО 10001 и ИСО 10002Настоящий стандарт совместим с ИСО 10001 и ИСО 10002. Эти три стандарта могут быть использованы как по отдельности, так и совместно. При совместном использовании ИСО 10001, ИСО 10002 и ИСО 10003 могут стать частью более обширной интегрированной системы на основе правил достижения удовлетворенности потребителя (далее - правила), обращения с жалобами и урегулирования спорных вопросов (см. приложение В). ИСО 10001 содержит рекомендации относительно правил достижения организацией удовлетворенности потребителя. Установленные в таких правилах ожидания потребителей от организации и ее продукции могут снизить вероятность возникновения жалоб и спорных вопросов. При возникновении жалоб и спорных вопросов наличие правил позволит сторонам понять ожидания потребителей и старания организации по их удовлетворению. ИСО 10002 содержит рекомендации по внутреннему обращению с жалобами, относящимися к продукции. Настоящий стандарт может быть использован в случае невозможности разрешения жалобы внутри организации. 0.4 Утверждения относительно соответствияНастоящий стандарт разработан для самостоятельного использования в качестве руководящего документа. При выполнении всех требований, установленных настоящим стандартом, организация может сделать заявление о внедрении процесса урегулирования спорных вопросов на основе настоящего стандарта. Однако любых заявлений о соответствии ИСО 10003, противоречащих настоящему стандарту, следует избегать. Примечание - Заявления о соответствии ИСО 10003 не допускается использовать в любых рекламных и информационных материалах, пресс-релизах, брошюрах, видео, официальных заявлениях, эмблемах, лозунгах и заголовках для различных средств массовой информации - от печати и радиовещания до Интернета и мультимедийных приложений, ярлыков на продукцию, символов и баннеров. ГОСТ Р ИСО 10003-2009 НАЦИОНАЛЬНЫЙ СТАНДАРТ РОССИЙСКОЙ ФЕДЕРАЦИИ МЕНЕДЖМЕНТ КАЧЕСТВА Удовлетворенность потребителей. Рекомендации по урегулированию спорных вопросов вне организации Quality management. Customer satisfaction. Guidelines for dispute resolution external to organizations Дата введения - 2010-07-01 1 Область примененияНастоящий стандарт содержит рекомендации по планированию, проектированию, разработке, выполнению, поддержанию и улучшению эффективности и результативности процесса урегулирования спорных вопросов, связанных с жалобами, которые организации не удалось разрешить своими силами. Настоящий стандарт применим: - для жалоб, относящихся к продукции, предназначенной для потребителей, процесса работы с жалобами или урегулирования спорных вопросов. Примечание - В соответствии с настоящим стандартом термин «продукция» включает в себя услуги, программное обеспечение, оборудование и перерабатываемые материалы; - для разрешения спорных вопросов, возникающих в ходе осуществления деятельности в пределах страны и за рубежом, включая электронную коммерцию. Настоящий стандарт, предназначенный для применения всеми организациями независимо от их вида, размера и выпускаемой продукции, содержит рекомендации: - относительно того, когда и каким образом организации могут участвовать в урегулировании спорных вопросов; - по выбору агентов и использованию их услуг; - по вовлечению высшего руководства и принятию им обязательств относительно урегулирования спорных вопросов и обеспечения соответствующими ресурсами внутри организации; - по обеспечению беспристрастности, пригодности, прозрачности и доступности деятельности по урегулированию спорных вопросов; - по менеджменту участия организации в решении спорных вопросов; - по мониторингу, оценке и улучшению процесса решения спорных вопросов. Примечание - В частности, настоящий стандарт нацелен как на урегулирование спорных вопросов между организацией и лицами, приобретающими или использующими продукцию для личных или бытовых нужд, так и на урегулирование спорных вопросов между организацией и малым бизнесом. Настоящий стандарт не предназначен для целей сертификации или заключения контрактов. Стандарт не предназначен для урегулирования спорных вопросов других видов, таких как трудовые споры. Настоящий стандарт не предназначен для изменения каких-либо прав или обязанностей, установленных соответствующими законодательными и другими обязательными требованиями. Настоящий стандарт не распространяется на жалобы внутри организации. 2 Нормативные ссылкиУказанный ниже ссылочный документ необходим для использования настоящего стандарта. Для датированных ссылок применяют только ту версию, которая была упомянута в тексте. Для недатированных ссылок необходимо использовать самое последнее издание документа (включая любые поправки). ИСО 9000:2005 Системы менеджмента качества. Основные положения и словарь 3 Термины и определенияВ настоящем стандарте применены термины, данные в ИСО 9000:2005, а также следующие термины с соответствующими определениями: 3.1 ассоциация (association): Организация (3.8), членами которой являются другие организации или отдельные лица. 3.2 истец (complainant): Лицо, организация (3.8) или их представитель, подающий жалобу (3.3). Примечания 1 В соответствии с настоящим стандартом потребителя, подающего жалобу на агента в первой инстанции, также считают «истцом». 2 Данное определение уточняет термин, приведенный в ИСО 10002:2004, согласно которому представитель может выступать от имени как физического лица, так и организации. 3.3 жалоба (complaint): Направленное в организацию (3.8) выражение неудовлетворенности ее продукцией или самим процессом обращения с жалобами, в явной или неявной форме предполагающее ответ или резолюцию. [ИСО 10002:2004, статья 3.2] Примечание - Жалобы могут относиться к процессу урегулирования спорных вопросов (3.6). 3.4 потребитель (customer): Организация (3.8) или лицо, получающее продукцию. Пример - Заказчик, клиент, конечный пользователь, розничный торговец, бенефициар или покупатель. Примечания 1 Потребитель может быть внутренним или внешним по отношению к организации. 2 Применительно к настоящему стандарту термин «потребитель» включает в себя также потенциальных потребителей. 3 Термин адаптирован из ИСО 9000:2005 (3.3.5). 3.5 удовлетворенность потребителя (customer satisfaction): Восприятие потребителем (3.4) степени выполнения его требований. Примечания 1 Жалоба (3.3) является общим показателем низкой удовлетворенности потребителя, однако ее отсутствие не обязательно предполагает высокую удовлетворенность потребителя. 2 Даже если требования потребителя были с ним согласованы и выполнены, это не обязательно обеспечивает высокую удовлетворенность потребителя. [ИСО 9000:2005, статья 3.1.4] 3.6 спорный вопрос (dispute resolution): Несогласие, возникшее из жалобы (3.3), переданной агенту (3.9). Примечание - Некоторые организации (3.8) предоставляют своим потребителям (3.4) возможность направить жалобу непосредственно агенту. В таком случае выражение неудовлетворенности становится жалобой после передачи его в организацию для ответа и становится разногласием, если его не удается урегулировать внутри организации без участия агента. Многие организации предпочитают, чтобы потребители сообщали в первую очередь им о любой неудовлетворенности, прежде чем начинать урегулировать спорные вопросы вне организации. 3.7 представитель (по разрешению спорных вопросов) (dispute resolver): Лицо, назначаемое агентом (3.9), для оказания помощи сторонам в решении спорных вопросов (3.6). Примечание - Представителем может быть персонал, лицо, ведущее чужие дела без поручения, или лицо, нанятое на договорной основе. 3.8 организация (organization): Группа работников и необходимых средств с распределением ответственности, полномочий и взаимоотношений. Пример - Компания, корпорация, фирма, предприятие, учреждение, благотворительная организация, предприятие розничной торговли, ассоциация (3.1), а также их подразделения или комбинация из них. Примечания 1 Настоящий стандарт применим к организациям разного типа, каждая из которых играет различную роль в процессе урегулирования спорных вопросов (3.6). Сюда относятся организации, имеющие неразрешенные жалобы (3.3), агенты (3.9) по решению спорных вопросов и ассоциации (3.1), проводящие или спонсирующие процесс урегулирования спорных вопросов. Для удобства пользования в настоящем стандарте термин «организация», применяемый самостоятельно, означает учреждение, получившее неразрешенную жалобу, которое в настоящий момент является участником спора или будет им. Термины «агент» и «ассоциация» применимы для описания организаций других типов. 2 Термин адаптирован из ИСО 9000:2005, статья 3.3.1. 3.9 агент (по решению спорных вопросов) (provider): Лицо или организация (3.8), проводящая процесс или руководящая процессом урегулирования спорных вопросов (3.6), являющаяся внешней по отношению к организации. Примечания 1 В общем случае агент - это лицо, юридически независимое от организации и истца (3.2). Таким образом, соблюдается независимость и беспристрастность (см. 4.5). В некоторых случаях в рамках организации создается отдельное подразделение по работе с неразрешенными жалобами (3.3). Настоящий стандарт не предназначен для таких случаев, но может оказаться полезным. 2 Агент заключает со сторонами контракт на урегулирование спорных вопросов и отчитывается по работе. Агент назначает представителя, а также организует поддержку, управление и другие виды работ по обеспечению финансовыми ресурсами, канцтоварами, составлению расписаний, обучению, предоставлению помещений, надзору и т.д. 3 Агентами могут быть организации различных форм собственности, включая некоммерческие, коммерческие и общественные учреждения, в том числе и ассоциации (3.1). 4 Руководящие принципы4.1 Общие положенияВ основе эффективного и результативного урегулирования спорных вопросов лежит четкое следование руководящим принципам, установленным в 4.2-4.12. 4.2 Согласие на участиеУчастие истцов в урегулировании спорных вопросов, предлагаемое организацией, должно быть добровольным. Согласие на участие должно быть основано на полном понимании процесса, информировании о нем и его возможных результатах. Если потребителем является лицо, купившее или использующее продукцию для личных или бытовых нужд, то его согласие на участие в урегулировании не должно быть обязательным (см. приложение С). Примечания 1 Согласие на участие в урегулировании спорных вопросов может быть обязательным условием в контрактах между организациями. 2 В различных странах согласие на участие может подпадать под действие законодательных и других обязательных требований. 4.3 ДоступностьПроцесс урегулирования спорных вопросов должен быть доступным для обнаружения и использования (см. приложение D). 4.4 ПрименимостьМетод урегулирования спорных вопросов, предлагаемый сторонам - участникам спора (см. приложение А), и все возможные виды компенсаций истцу должны соответствовать предмету спора (см. приложение Е). 4.5 БеспристрастностьОрганизация должна приступать к урегулированию спорных вопросов с намерением беспристрастного и честного разрешения спора с истцом. Организация должна выбрать агента, персонал которого и представители, занятые в урегулировании спорных вопросов, не имеют предубеждений и объективны. Таким образом, процессы, рекомендации и устанавливающие решения будут считаться независимыми и справедливыми для обеих сторон (см. приложение F). 4.6 КомпетентностьПерсонал организации, агенты и представители должны обладать личными качествами, навыками, подготовкой и опытом, необходимыми для выполнения своих обязанностей надлежащим образом (см. приложение G). 4.7 СвоевременностьСпорные вопросы должны быть урегулированы так быстро, как только возможно, с учетом предмета спора и используемого процесса (см. приложение Н). 4.8 КонфиденциальностьНеобходимо поддерживать конфиденциальность и защищать персональную информацию, если ее раскрытие не требуется по закону, или при получении на это согласия заинтересованного лица. Аналогичным образом следует поддерживать конфиденциальность и защиту коммерческой тайны, если раскрытие данной информации не требуется по закону, или при согласии стороны - обладателя коммерческой тайны на ее обнародование. Примечания 1 Персональная информация - это сведения, которые, будучи связанными с конкретным лицом, могут быть использованы для его идентификации, включая установление имени, адреса, электронной почты, номера телефона и других данных. Для каждой страны существует свое точное толкование этого термина. 2 Данный принцип может быть применим посредством политики управления относительно доведения и использования информации, полученной в процессе урегулирования спорных вопросов, при заявлении о такой политике его участникам. 3 Для привлечения на добровольной основе организаций к урегулированию спорных вопросов иногда необходимо защищать данные о наименовании организации, если раскрытие этих данных не требуется по закону. 4.9 ПрозрачностьНеобходимая информация, касающаяся процесса урегулирования спорных вопросов, агента и его деятельности, должна быть раскрыта истцам, организациям и общественности (см. приложение I). Примечание - Принцип прозрачности связан только с информацией о процессе урегулирования спорных вопросов, агенте и его деятельности, но не связан с обнародованием персональных данных об истце и коммерческой тайны организации. 4.10 ЗаконностьПроцесс урегулирования спорных вопросов должен осуществляться в соответствии с действующим законодательством и договоренностями сторон. 4.11 ВозможностьНеобходимые ресурсы для урегулирования спорных вопросов должны быть в наличии и должны быть используемыми, а также эффективно и результативно управляемыми. 4.12 Постоянное улучшениеПовышение эффективности и результативности процесса урегулирования спорных вопросов должно быть постоянной целью организации. 5 Структура урегулирования спорных вопросов5.1 ОбязательствоОрганизация должна стремиться к эффективному и результативному процессу урегулирования спорных вопросов в соответствии со своей политикой урегулирования спорных вопросов (см. 5.2). Особенно важно, чтобы высшее руководство было заинтересовано в обеспечении результативного и эффективного процесса урегулирования спорных вопросов и доведении сведений до персонала организации. Стремление урегулированию спорных вопросов может стать полезным дополнением к процессу работы с жалобами внутри организации и позволить персоналу и истцам способствовать улучшению процессов и продукции организации. Это стремление должно быть отражено при формировании и развертывании политики и процедур урегулирования спорных вопросов посредством обеспечения необходимыми ресурсами, включая обучение. Организация должна также стремиться к выбору наиболее эффективных и результативных агентов по решению спорных вопросов в соответствии с целями организации и ее процессами (см. приложение J). Примечание - Если агентом является ассоциация, рекомендуется, чтобы она предоставила документы об оценке своей деятельности и возможностей в данной области. 5.2 Политика урегулирования спорных вопросов5.2.1 Формирование политики Высшее руководство должно формировать четкую и однозначную политику урегулирования спорных вопросов. Такая политика должна характеризовать обстоятельства, при которых организация будет информировать потребителей о процессе урегулирования спорных вопросов и предлагать истцам разрешить спорную ситуацию (см. приложение К). Организации надлежит определить, должны ли истцы воспользоваться процессом работы с жалобами внутри организации до начала процесса урегулирования спорных вопросов. Политика должна быть доступна для соответствующего персонала, истцов, потребителей и других заинтересованных сторон. Она должна поддерживаться процедурами и целями для каждой функции и роли вовлеченного в процесс персонала. Примечание - Организация может согласиться на урегулирование спорных вопросов до возникновения спорной ситуации или, в зависимости от обстоятельств, после возникновения спорной ситуации на предлагаемых ей условиях. Организация может придерживаться этого принципа как для всех случаев, так и для дел отдельных категорий. Организация может предоставить дополнительные обязательства, например гарантийные обязательства, или заключить договор с потребителем (см. приложение С), рекламные «обещания» или соглашения с агентом. При формировании политики урегулирования спорных вопросов организация должна учитывать: - все соответствующие законодательные и другие обязательные требования; - финансовые, оперативные и организационные потребности; - оценку влияния политики на удовлетворенность потребителя; - конкурентную среду; - входные данные от истцов, потребителей, персонала и других заинтересованных сторон; - процессы менеджмента качества, правила достижения удовлетворенности потребителей и процессы обращения с жалобами в организации; - другие способы урегулирования спорных вопросов, например судебное разбирательство. 5.2.2 Анализ политики Политика должна анализироваться с определенной периодичностью и при необходимости актуализироваться. 5.2.3 Согласованность политики Политика в области качества и политика по работе с жалобами и урегулированию спорных вопросов должны быть согласованы между собой. 5.3 Ответственность высшего руководстваВысшее руководство должно обеспечить, чтобы: - политика урегулирования спорных вопросов была доведена до сведения персонала организации и цели урегулирования спорных вопросов были установлены в соответствующих подразделениях организации и на соответствующих ее уровнях; - процесс урегулирования спорных вопросов подлежал планированию, проектированию, разработке, выполнению, поддержанию и улучшению в соответствии с этими целями; - персонал понимал взаимосвязь процесса урегулирования спорных вопросов с намерениями организации по обеспечению удовлетворенности потребителя; - организация определила и распределила ресурсы, необходимые для эффективного, результативного и беспристрастного процесса урегулирования спорных вопросов, включая соответствующее обучение; - процесс урегулирования спорных вопросов пропагандировался в организации и был доведен до сведения соответствующего персонала, потребителей и истцов (см. 4.3, 4.9 и приложения D и I); - ответственность и полномочия, связанные с урегулированием спорных вопросов, внутри организации были четко определены; - безотлагательно и эффективно были получены уведомления обо всех значимых жалобах, касающихся процесса урегулирования спорных вопросов, представителях организации, агентах, участвующих в этом процессе, и любых его результатах. 6 Планирование, проектирование и разработка6.1 Общие положенияОрганизация должна спланировать, спроектировать и разработать эффективный и результативный процесс урегулирования спорных вопросов. Организация должна разработать необходимые для данного процесса процедуры. 6.2 ЦелиОрганизация должна определить цели урегулирования спорных вопросов. Данные цели должны быть измеримыми и согласуемыми с политикой урегулирования спорных вопросов (см. 5.2). Цели должны анализироваться с определенной периодичностью и при необходимости актуализироваться. 6.3 МероприятияОрганизация должна оценить свои текущие возможности в отношении урегулирования жалоб и спорных вопросов для определения потребности в дополнительных ресурсах или изменениях. Такая оценка может включать в себя: - характер и периодичность возникновения жалоб и спорных вопросов; - методы текущей работы с жалобами; - случаи успешного и неудачного урегулирования спорных вопросов для организации; - затраты и выгоды от успешного и неудачного урегулирования спорных вопросов; - затраты и выгоды от адаптации стороннего процесса урегулирования спорных вопросов. 6.3.1 Проектирование Организация должна проектировать процесс урегулирования спорных вопросов на основе анализа своей деятельности по работе с жалобами и урегулированию спорных вопросов, ресурсов и политики урегулирования спорных вопросов. Процесс урегулирования спорных вопросов может быть взаимосвязан и должен быть согласован с другими процессами системы менеджмента качества организации. При проектировании необходимо учитывать опыт других организаций в урегулировании спорных вопросов и привлекать агентов по урегулированию спорных вопросов (см. приложение L). Принимаемые во внимание факторы: - принципы, описанные в разделе 4; - виды спорных вопросов, требующих урегулирования (например, по категориям потребителей или истцов, видам продукции); - возможные и подлежащие рассмотрению способы возмещения ущерба; - предлагаемые методы урегулирования спорных вопросов (согласительные, консультативные и/или устанавливающие); - возможное принятие организацией дополнительных обязательств по участию в урегулировании спорных вопросов или решений в зависимости от ситуации; - квалификация представителей по разрешению спорных вопросов; - выплаты, при наличии таковых, полагающиеся истцам (см. приложение D); - участие сторон (например, личное, в письменной форме, по телефону и/или Интернету); - критерии оценки спорных вопросов (законодательные и другие обязательные требования, правила и/или беспристрастность или равноправие). Примечание - Ассоциации также могут проектировать процессы урегулирования спорных вопросов для своих членов и других организаций. 6.3.2 Анализ Организация должна анализировать особенности проектирования процесса урегулирования спорных вопросов среди различных категорий истцов до его внедрения. Анализ может быть проведен с участием одного и/или нескольких агентов. Его результаты должны быть проанализированы с точки зрения улучшения особенностей проекта таким образом, чтобы в большей степени удовлетворять политике и целям организации. 6.4 РесурсыОрганизация должна располагать ресурсами, такими как персонал, информация, материалы, финансы и инфраструктура, и использовать их для эффективного и результативного: - выбора соответствующего агента; - вклада в работу агента должным образом; - участия в процессе урегулирования спорных вопросов; - оценивания деятельности агента, его представителей и функционирования процесса урегулирования спорных вопросов. 7 Действия7.1 Общие положенияОрганизация должна применять процедуры урегулирования спорных вопросов беспристрастно, эффективно и результативно. При необходимости агент и организация должны согласовать последовательность своих действий в целях координации деятельности в процессе возникновения, контроля, подтверждения, оценки, урегулирования спорных вопросов (включая процедуры сбора соответствующих доказательств), исполнения вынесенного решения и последующих мероприятий. Представленная в приложении М блок-схема иллюстрирует различные этапы урегулирования спорных вопросов. 7.2 Направление жалобыОрганизация должна внедрить процедуру направления неразрешенных жалоб агенту. Организация может передавать жалобы, которые были рассмотрены, но не урегулированы внутри организации. Жалоба может быть направлена агенту по желанию истцов, минуя организацию, если это предусмотрено политикой урегулирования спорных вопросов организации. Организация должна проводить оценку жалоб в соответствии с установленными критериями, согласованными с агентом или оговоренными в контракте с потребителем. Организация должна направлять жалобу агенту, если эта жалоба соответствует установленным критериям. В противном случае организация должна закрыть жалобу, используя соответствующие процедуры. Организация также должна обеспечивать прослеживаемость каждой жалобы, направленной агенту таким образом, чтобы она достигала адресата. 7.3 Получение уведомления о спорном вопросеПосле инициирования процесса урегулирования спорных вопросов организация должна проинформировать об этом соответствующий персонал. Кроме лиц, ответственных за урегулирование спорных вопросов, могут быть проинформированы подразделения, ответственные за обеспечение качества, обработку жалоб, работу с потребителями и правовые вопросы. 7.4 Подготовка ответа организацией7.4.1 Оценка спорного вопроса Организация должна предпринимать необходимые действия по оценке спорных вопросов. Такими действиями могут быть: - получение записей по делу или процессу, ставшему причиной возникновения спорного вопроса, включая записи о продаже или копию рекламного объявления (при необходимости), записи о проверке или ремонте, все итоговые записи о работе с жалобами и информацию о других жалобах (при наличии таковых), поданных истцом; - консультации по техническим, юридическим, торговым, маркетинговым вопросам, а также связанным с обращениями, с жалобами и другим вопросам с персоналом агента, работающим от имени организации, если это применимо к спорной ситуации. Примечание - Рекомендуется, чтобы организация поддерживала записи о спорных вопросах, жалобах для передачи их агенту, представителю и/или другой стороне в предпочтительной для них форме. 7.4.2 Выработка начальной позиции После сбора соответствующих записей и входных данных организация должна выработать начальную позицию в отношении потенциальной ответственности, которую она готова понести, и компенсаций, при наличии таковых, которые она намерена возместить истцу. В соответствии с процедурами урегулирования спорных вопросов организация должна проинформировать о своей позиции агента или непосредственно истца, доведя эту информацию и до агента. Начальная позиция может быть выработана: - по разрешению спорного вопроса на условиях истца; - по выполнение некоторых, но не всех условий, предъявленных истцом; - по невыполнению ни одного из предъявленных условий. Примечание - При урегулировании спорных вопросов обычной практикой для организации будет решение о предложении истцу одного или более варианта компенсаций, не противоречащее, по ее мнению, закону, правилам или другим нормам. Это может быть проведено в виде жеста доброй воли, в рамках политики удовлетворенности потребителя или с учетом позиции представителя по разрешению спорных вопросов, ассоциации, ответственной за правила, или суда. 7.5 Урегулирование спорного вопроса7.5.1 Согласительный метод При использовании согласительного метода (см. приложение А) заявление о начальной позиции будет рассматриваться как выражение готовности организации к урегулированию спорного вопроса. Организация может получать такие предложения как непосредственно от истца, так и через представителя. Получив предложения по урегулированию спорного вопроса, организация должна довести позицию истца до сведения соответствующего персонала (см. 7.3). В отношении предложенного урегулирования спорного вопроса организация может дополнительно провести оценку и получить дополнительные входные данные (см. 7.4). Организация должна решить, принимает ли она предложенные условия урегулирования спорных вопросов, отклоняет их или делает встречное предложение. Она должна уведомить об этом истца и/или представителя в соответствии с процедурами, установленными агентом. В случае принятия предложения организация должна перенаправить спорный вопрос соответствующему персоналу: юрисконсульту и работникам, привлеченным к исполнению принятого решения (см. 7.6). В случае недостижения согласия и непринятия решения на данном этапе организация должна определить, какие дальнейшие методы урегулирования спорных вопросов, при их наличии, будут применены к урегулированию спорного вопроса, и проинформировать об этом агента. 7.5.2 Консультативные и устанавливающие методы При необходимости использования консультативного или устанавливающего метода (см. приложение А) организация должна разработать план и быть готова к эффективному и результативному участию в процессе. Примерные действия, которые организация должна предпринять: - назначение лица, ответственного за ведение дела; - определение предпочтительного способа участия в соответствии с процедурами урегулирования спорных вопросов (например, личное присутствие, по телефону, в письменной форме); - проведение дальнейшего расследования, при необходимости; - сбор и сортировка доказательств; - установление потенциальных свидетелей и документально подтвержденных свидетельств; - определение диапазона решений по урегулированию спорных вопросов, приемлемых для организации; - определение ответственности за принятие решения по спорному вопросу; - разработка устных и/или письменных заявлений, если применимо; - оценка возможностей по урегулированию спорных вопросов до принятия решения; - участие в процессе. 7.5.3 Соглашение В случае достижения соглашения по спорному вопросу организация должна перенаправить его соответствующему персоналу: юрисконсульту и работникам, привлеченным к исполнению принятого решения (см. 7.6). 7.5.4 Принятие рекомендации При получении рекомендации по итогам процесса урегулирования спорного вопроса (см. приложение А) организация должна уделить ей особое внимание и определить возможность ее принятия. Организация должна уведомить о принятии рекомендации агента и истца согласно процедурам урегулирования спорных вопросов и соответствующим правилам. В случае достижения соглашения между организацией и истцом по спорному вопросу данный вопрос должен быть перенаправлен для исполнения соответствующему персоналу (см. 7.6). При отклонении рекомендации организация должна сообщить агенту и истцу о причинах отказа. 7.5.5 Анализ устанавливающего решения В случае завершения процесса устанавливающим решением организация должна определить необходимость проведения анализа, если его возможно провести согласно процедурам урегулирования спорных вопросов или действующему законодательству. Целью анализа является оценка соответствия принципам урегулирования спорных вопросов (см. раздел 4) и точного соблюдения процедур. При невозможности проведения анализа или если организация решила не проводить такую оценку, об этом должен быть проинформирован соответствующий персонал организации для обеспечения исполнения принятого решения (см. 7.6). 7.6 Исполнение принятого решенияПосле урегулирования спорного вопроса организация должна предпринять все необходимые действия по исполнению принятого решения таким образом, чтобы оно соответствовало соглашению, рекомендации или устанавливающему решению. Эти действия могут включать в себя: - определение каких-либо специфических действий, требуемых для исполнения организацией принятого решения (например, возмещение ущерба или другие выплаты, ремонт продукции или другие действия, предписанные либо согласованные). Примечание - Для выполнения соглашения, рекомендации или устанавливающего решения истцу может понадобиться предпринять определенные действия (например, вернуть продукцию как условие возмещения убытков или доставить продукцию в ремонтную службу, указанную организацией); - распределение ответственности заданные действия между соответствующим персоналом внутри и вне организации (например, по взаимодействию с потребителями, финансовой инспекцией, дистрибьюторами, франчайзингом, отделом продаж и производством) и доведение до их сведения информации о требуемых сроках или ожидаемых периодах исполнения, если это применимо; - координацию исполнения принятого решения между ответственным персоналом, истцом и другими лицами, а также мониторинг процесса выполнения решения по каждому из них; - подтверждение выполнения решения; - уведомление агента о выполнении решения или, в случае задержки, о ее причинах; - определение удовлетворенности истца исполнением решения: закрытие дела в случае достижения удовлетворенности истца; определение дополнительных действий в случае неудовлетворенности истца исполнением принятого решения. Примечание - Дополнительные действия могут включать в себя дальнейшие действия по обеспечению исполнения принятого решения либо возобновление процесса урегулирования спорных вопросов. 7.7 Закрытие делаПосле удовлетворительного исполнения принятого решения по урегулированию спорных вопросов либо в случае завершения процесса без возмещения компенсации организация может закрыть дело и проинформировать об этом соответствующий персонал внутри и вне организации. Записи по делу организация должна поддерживать в рабочем состоянии в соответствии с процедурой хранения документации в организации и требованиями законодательства. 8 Поддержание и улучшение8.1 МониторингОрганизация должна осуществлять сбор и регистрацию информации, относящейся к причине возникновения, к самому процессу и результатам решения всех спорных вопросов. Организация может поддерживать в рабочем состоянии записи об урегулировании спорных вопросов или использовать сведения, полученные от агента. 8.2 Анализ и оценкаОрганизация должна регулярно анализировать данные об урегулировании спорных вопросов в целях выявления систематических и разовых причин и тенденций относительно продукции, достижения удовлетворенности потребителя, процедур обращения с жалобами и урегулирования спорных вопросов, представления решений спорных вопросов и выбора агента. 8.3 Анализ со стороны руководства8.3.1 Общие положения Высшее руководство должно регулярно проводить анализ процесса урегулирования спорных вопросов в организации в целях: - поддержания пригодности, адекватности, эффективности и результативности процесса урегулирования спорных вопросов; - рассмотрения случаев ненадлежащего выполнения процессов урегулирования спорных вопросов в соответствии с соглашением, рекомендацией или устанавливающим решением; - выявления и корректирования несоответствий при участии организации в процессе урегулирования спорных вопросов; - оценки возможностей для улучшения процессов, продукции и усилий, направленных на достижение удовлетворенности потребителя. 8.3.2 Входные данные Входные данные для анализа со стороны руководства должны содержать следующую информацию: - внутренние факторы, например изменение политики, целей, организационной структуры, доступности ресурсов, процессов и предлагаемой продукции; - внешние факторы, например изменения в законодательстве, практике конкурентов или технологические инновации; - общее функционирование процесса урегулирования спорных вопросов; - результаты оценки методов агента; - предупреждающие и корректирующие действия; - действия, решения по которым были приняты в ходе предыдущего анализа. Примечание - Информация по общему функционированию процесса урегулирования спорных вопросов может включать в себя: данные об эффективности, результативности, доверии потребителей к организации, их удовлетворенности, процент разрешенных жалоб, затраты (включая сравнение с потенциальными судебными издержками) и результаты постоянной оценки агентов. 8.3.3 Выходные данные Выходные данные анализа со стороны руководства должны включать в себя решения по следующим вопросам: - повышение эффективности и результативности процессов урегулирования спорных вопросов, обращение с жалобами, а также улучшение качества продукции; - компетентность, функционирование и пригодность действующего агента для урегулирования спорных вопросов; - работа с установленными потребностями и недостатками организации (например, программы подготовки), связанными с урегулированием спорных вопросов. Записи, относящиеся к анализу со стороны руководства, должны вестись и поддерживаться в рабочем состоянии. 8.4 Постоянное улучшениеОрганизация должна непрерывно повышать эффективность и результативность процесса урегулирования спорных вопросов. Это может быть достигнуто посредством предупреждающих и корректирующих действий, а также инновационных улучшений. Организация должна предпринимать действия по устранению причин существующих и потенциальных проблем, приводящих к жалобам, в целях предупреждения их повторного возникновения и недопущения, соответственно. Организация должна: - изучать, выявлять и использовать опыт других организаций в процессе урегулирования спорных вопросов; - культивировать в организации подход, ориентированный на потребителя; - поощрять инновации при разработке процесса урегулирования спорных вопросов; - информировать лиц, ответственных за разработку процесса урегулирования спорных вопросов, обо всех связанных с ним проблемах; - узнавать о случаях, когда урегулирование спорных вопросов было осуществлено наилучшим образом. Примечание - Для дополнительных рекомендаций по методике постоянного улучшения организации могут воспользоваться ИСО 9004:2000 (приложение В). Приложение А
|
||||||||||||||||||||||||||||||||||||
|
Элемент проекта |
Примеры |
|
Какова организационно-правовая форма агента? |
Промышленная ассоциация; ассоциация потребителей; некоммерческая организация; коммерческая организация; индивидуальный предприниматель |
|
Споры каких видов может регулировать агент? |
Нарушение гарантийных обязательств, несвоевременность поставки, ложная реклама, нарушение контракта, надежность продукции |
|
Какие методы урегулирования спорных вопросов могут быть предложены? |
Согласительный, консультативный и/или устанавливающий (обязательный или необязательный) |
|
Как будет осуществлено финансирование спора? |
Отчисления от одной или обеих сторон; членские взносы в рамках ассоциации; правительственные или благотворительные гранты |
|
Какие методы урегулирования спорных вопросов будут использованы в индивидуальных спорах? |
Только соглашение; только устанавливающее решение; соглашение и устанавливающее решение, при необходимости |
|
Какова квалификация представителей по разрешению спорных вопросов? |
Должны пройти 40-часовой курс подготовки; должны обладать 10-летним опытом работы в соответствующей сфере; должны быть юристами |
|
Как будет достигнута независимость? |
Этичные правила поведения; сбалансированный орган управления во главе с несколькими акционерами; представители по разрешению спорных вопросов, нанятые агентом; представители по разрешению спорных вопросов изолированы от другого персонала агента |
|
Какие критерии будут использованы при принятии решений об урегулировании спорных вопросов? |
Точное выполнение законодательных принципов, следование правилам и/или беспристрастность |
|
Каковы временные рамки урегулирования спора? |
Принятие решения в течение 60 дней; попытка соглашения будет предпринята за 40 дней до вынесения окончательного решения |
|
В какой форме доступно урегулирование спорных вопросов? |
Лично; по телефону; через письменные документы; онлайн |
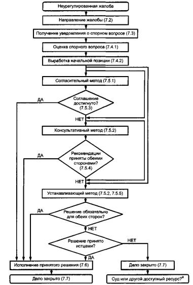
На рисунке М.1 представлены различные этапы урегулирования спорных вопросов.

а Истец может воспользоваться своим правом выйти из процесса урегулирования спорного вопроса в любое время и на любом этапе. Здесь могут быть ограничения, зависящие от обстоятельств (например, от взаимоотношений между организациями).
Рисунок М.1 - Блок-схема урегулирования спорных вопросов
Таблица N.1
|
Обозначение ссылочного международного стандарта |
Обозначение и наименование соответствующего национального стандарта Российской Федерации |
|
ИСО 9000:2005 |
ГОСТ Р ИСО 9000-2008 Системы менеджмента качества. Основные положения и словарь |
[1] ISO 9001 Quality management systems - Requirements
[2] ISO 9004:2000 Quality management systems - Guidelines for performance improvements
[3] ISO 10001 Quality management - Customer satisfaction - Guidelines for codes of conduct for organizations
[4] ISO 10002:2004 Quality management - Customer satisfaction - Guidelines for complaints handling in organizations
[5] ISO 10015 Quality management - Guidelines for training
[6] ISO/IEC Guide 37 Instructions for use of products of consumer interest
Ключевые слова: урегулирование спорных вопросов, методы урегулирования спорных вопросов, агент, представитель по решению спорных вопросов, соглашение, рекомендация, устанавливающее решение, термины и определения
|
ГОСТЫ, СТРОИТЕЛЬНЫЕ и ТЕХНИЧЕСКИЕ НОРМАТИВЫ. Некоммерческая онлайн система, содержащая все Российские Госты, национальные Стандарты и нормативы. В Системе содержится более 150000 файлов нормативно-технической документации, действующей на территории РФ. Система предназначена для широкого круга инженерно-технических специалистов. Copyright © www.gostrf.com, 2008 - 2026 |