Крупнейшая бесплатная информационно-справочная система онлайн доступа к полному собранию технических нормативно-правовых актов РФ. Огромная база технических нормативов (более 150 тысяч документов) и полное собрание национальных стандартов, аутентичное официальной базе Госстандарта. GOSTRF.com - это более 1 Терабайта бесплатной технической информации для всех пользователей интернета. Все электронные копии представленных здесь документов могут распространяться без каких-либо ограничений. Поощряется распространение информации с этого сайта на любых других ресурсах. Каждый человек имеет право на неограниченный доступ к этим документам! Каждый человек имеет право на знание требований, изложенных в данных нормативно-правовых актах!

  


 

ФЕДЕРАЛЬНОЕ АГЕНТСТВО
ПО ТЕХНИЧЕСКОМУ РЕГУЛИРОВАНИЮ И МЕТРОЛОГИИ

НАЦИОНАЛЬНЫЙ
СТАНДАРТ
РОССИЙСКОЙ
ФЕДЕРАЦИИ

ГОСТ Р
53365-
2009

ТРУБЫ ОБСАДНЫЕ И НАСОСНО-КОМПРЕССОРНЫЕ И МУФТЫ К НИМ.

ОСНОВНЫЕ ПАРАМЕТРЫ И КОНТРОЛЬ РЕЗЬБОВЫХ СОЕДИНЕНИЙ

Общие технические требования

Москва
Стандартинформ
2010

Предисловие

Цели и принципы стандартизации в Российской Федерации установлены Федеральным законом от 27 декабря 2002 г. № 184-ФЗ «О техническом регулировании», а правила применения национальных стандартов Российской Федерации - ГОСТ Р 1.0-2004 «Стандартизация в Российской Федерации. Основные положения»

Сведения о стандарте

1 РАЗРАБОТАН Рабочей группой Подкомитета ПК 7 «Нарезные трубы» Технического комитета по стандартизации ТК 357 «Стальные и чугунные трубы и баллоны»

2 ВНЕСЕН Техническим комитетом по стандартизации ТК 357 «Стальные и чугунные трубы и баллоны»

3 УТВЕРЖДЕН И ВВЕДЕН В ДЕЙСТВИЕ Приказом Федерального агентства по техническому регулированию и метрологии от 16 июля 2009 г. № 251-ст

4 ВВЕДЕН ВПЕРВЫЕ

Информация об изменениях к настоящему стандарту публикуется в ежегодно издаваемом информационном указателе «Национальные стандарты», а текст изменений и поправок - в ежемесячно издаваемых информационных указателях «Национальные стандарты». В случае пересмотра (замены) или отмены настоящего стандарта соответствующее уведомление будет опубликовано в ежемесячно издаваемом информационном указателе «Национальные стандарты». Соответствующая информация, уведомление и тексты размещаются также в информационной системе общего пользования - на официальном сайте Федерального агентства по техническому регулированию и метрологии в сети Интернет

СОДЕРЖАНИЕ

Предисловие

Введение

1 Область применения

2 Нормативные ссылки

3 Термины, определения, обозначения и сокращения

4 Общие требования

5 Резьбовые соединения обсадных труб

5.1 Профиль резьбы

5.2 Основные параметры резьбового соединения ОТТМ

5.3 Основные параметры резьбового соединения ОТТГ

6 Резьбовые соединения насосно-компрессорных труб

6.1 Профиль резьбы

6.2 Основные параметры резьбовых соединений НКТ и НКТВ

6.3 Основные параметры резьбового соединения НКМ

7 Контроль резьбовых соединений

7.1 Порядок контроля

7.2 Контроль качества поверхности и геометрических параметров

7.3 Контроль натяга калибрами

 

Введение

Настоящий стандарт распространяется на резьбовые соединения обсадных и насосно-компрессорных труб и муфт к ним и разработан с целью унификации резьбовых соединений и установления требований к ним, отдельных от требований к трубам и муфтам.

Требования, правила приемки и методы контроля резьбовых соединений изложены с учетом международной практики в этой области, что повышает совместимость и взаимозаменяемость трубной продукции с такими резьбовыми соединениями.

Геометрические параметры и характеристики резьбовых соединений настоящего стандарта соответствуют геометрическим параметрам и характеристикам резьбовых соединений ГОСТ 632-80 «Трубы обсадные и муфты к ним. Технические условия» и ГОСТ 633-80 «Трубы насосно-компрессорные и муфты к ним», а также дополнены значениями для обсадных труб условным диаметром 102 мм с резьбовым соединением ОТТМ и обсадных труб с условным диаметром 324 мм с резьбовым соединением ОТТГ.

Настоящий стандарт не включает требования к резьбовым соединениям раструбных обсадных труб с трапецеидальной резьбой (ТБО) и насосно-компрессорных труб (НКБ), а также требования к резьбовым соединениям обсадных труб с короткой и удлиненной треугольной резьбой по ГОСТ Р 51906-2002, дублирующие требования к резьбовым соединениям, применяемым в международной практике.

НАЦИОНАЛЬНЫЙ СТАНДАРТ РОССИЙСКОЙ ФЕДЕРАЦИИ

ТРУБЫ ОБСАДНЫЕ И НАСОСНО-КОМПРЕССОРНЫЕ И МУФТЫ К НИМ.

ОСНОВНЫЕ ПАРАМЕТРЫ И КОНТРОЛЬ РЕЗЬБОВЫХ СОЕДИНЕНИЙ

Общие технические требования

Pipes for use as casing or tubing and couplings for them. Basic parameters and inspection of thread connections. General technical requirements

Дата введения - 2010-03-01

1 Область применения

Настоящий стандарт распространяется на резьбовые соединения обсадных и насосно-компрессорных труб и муфт к ним, применяемых в нефтяной и газовой промышленности и устанавливает требования к основным параметрам и контролю резьбы и резьбовых соединений.

Настоящий стандарт устанавливает требования к следующим типам резьбовых соединений:

- резьбовому соединению обсадных труб и муфт с трапецеидальной резьбой ОТТМ;

- резьбовому высокогерметичному соединению обсадных труб и муфт с трапецеидальной резьбой и узлом уплотнения «металл-металл» ОТТГ;

- резьбовому соединению насосно-компрессорных труб и муфт с закругленной треугольной резьбой НКТ;

- резьбовому соединению насосно-компрессорных труб и муфт с закругленной треугольной резьбой и высаженными наружу концами труб НКТВ;

- резьбовому высокогерметичному соединению насосно-компрессорных труб и муфт с трапецеидальной резьбой и узлом уплотнения «металл-металл» НКМ.

2 Нормативные ссылки

В настоящем стандарте использованы нормативные ссылки на следующие стандарты:

ГОСТ Р 51906-2002 Соединения резьбовые обсадных, насосно-компрессорных труб и трубопроводов и резьбовые калибры для них

ГОСТ Р 53366-2009 (ИСО 11960-2004) Трубы стальные, применяемые в качестве обсадных или насосно-компрессорных труб для скважин в нефтяной и газовой промышленности. Общие технические условия

ГОСТ 9378-93 (ИСО 2632-1-85, ИСО 2632-2-85) Образцы шероховатости поверхности (сравнения). Общие технические условия

ГОСТ 10654-81 Калибры для треугольной резьбы насосно-компрессорных труб и муфт к ним. Типы, основные размеры и допуски

ГОСТ 11708-82 Основные нормы взаимозаменяемости. Резьба. Термины и определения

ГОСТ 25575-83 Калибры для соединений с трапецеидальной резьбой обсадных труб и муфт к ним. Типы, основные размеры и допуски

ГОСТ 25576-83 Калибры для соединений с трапецеидальной резьбой насосно-компрессорных труб и муфт к ним. Типы, основные размеры и допуски

Примечание - При пользовании настоящим стандартом целесообразно проверить действие ссылочных стандартов в информационной системе общего пользования - на официальном сайте Федерального агентства по техническому регулированию и метрологии в сети Интернет или по ежегодно издаваемому информационному указателю «Национальные стандарты», который опубликован по состоянию на 1 января текущего года, и по соответствующим ежемесячно издаваемым информационным указателям, опубликованным в текущем году. Если ссылочный стандарт заменен (изменен), то при пользовании настоящим стандартом следует руководствоваться заменяющим (измененным) стандартом. Если ссылочный стандарт отменен без замены, то положение, в котором дана ссылка на него, применяется в части, не затрагивающей эту ссылку.

3 Термины, определения, обозначения и сокращения

3.1 В настоящем стандарте применены термины по ГОСТ 11708 и ГОСТ Р 51906, а также следующие термины с соответствующими определениями:

3.1.1 боковая сторона резьбы: Часть винтовой поверхности резьбы, расположенная между вершиной и впадиной резьбы и имеющая в плоскости осевого сечения прямолинейный профиль.

3.1.2 вершина резьбы: Часть винтовой поверхности резьбы, соединяющая смежные боковые стороны резьбы по верху.

3.1.3 винтовая линия резьбы: Линия, образованная на боковой поверхности реального или воображаемого прямого кругового конуса точкой, перемещающейся таким образом, что отношение между ее осевым перемещением и соответствующим угловым перемещением постоянно, но не равно нулю или бесконечности.

3.1.4 винтовая поверхность резьбы: Поверхность, образованная кривой, лежащей в одной плоскости с осью, и перемещающаяся относительно оси таким образом, что каждая точка кривой движется по винтовой линии резьбы и все возможные винтовые линии от точек кривой имеют одинаковые параметры.

3.1.5 виток резьбы: Часть выступа резьбы, соответствующая одному полному обороту точек винтовой поверхности резьбы относительно оси резьбы.

3.1.6 витки резьбы с черновинами, витки с черными вершинами: Вершины резьбы, образованные исходной поверхностью трубы после ее механической обработки.

3.1.7 внутренний диаметр конической резьбы: Диаметр воображаемого прямого кругового конуса в основной плоскости или заданном сечении, вписанного во впадины наружной или в вершины внутренней конической резьбы.

3.1.8 внутренняя резьба: Резьба, образованная на внутренней прямой круговой конической поверхности.

3.1.9 впадина резьбы: Часть винтовой поверхности резьбы, соединяющая смежные боковые стороны резьбы по низу.

3.1.10 высокогерметичное резьбовое соединение: Резьбовое соединение, в конструкцию которого включены специальные элементы, повышающие герметичность соединения, например узел уплотнения «металл-металл».

3.1.11 высота профиля резьбы: Расстояние между вершиной и впадиной резьбы в плоскости осевого сечения в направлении, перпендикулярном к оси резьбы.

3.1.12 выступ резьбы: Выступающая часть материала изделия, ограниченная винтовой поверхностью резьбы.

3.1.13 длина резьбы: Длина участка изделия, на котором образована резьба, включая сбег и фаску.

3.1.14 длина резьбы с полным профилем: Длина участка резьбы, на котором вершины и впадины соответствуют номинальному профилю резьбы и находятся в пределах отклонений наружного и внутреннего диаметров резьбы.

3.1.15 длина свинчивания: Длина участка взаимного перекрытия наружной и внутренней резьбы в осевом направлении.

3.1.16 длина резьбы с неполным профилем: Длина участка резьбы, на котором витки имеют неполную (незавершенную) форму.

3.1.17 конец сбега резьбы: Конец стороны впадины непрерывно исчезающей нитки резьбы, наиболее удаленный от торца трубы.

3.1.18 коническая резьба: Один или несколько равномерно расположенных выступов резьбы постоянного сечения, образованных на боковой поверхности прямого кругового конуса.

3.1.19 конусность резьбы: Угол при вершине между образующими конуса в одной плоскости. Конусность резьбы характеризуется изменением диаметра резьбы в осевом направлении и определяется разностью диаметров (наружных, внутренних и средних) между двумя любыми перпендикулярными к оси сечениями, деленной на расстояние между этими сечениями.

3.1.20 механическое свинчивание: Свинчивание резьбового соединения с определенным усилием и/или до определенного положения с помощью специального механизма или муфтонаверточного станка.

3.1.21 минимальная толщина стенки трубы под резьбой в плоскости торца трубы: Условная толщина стенки, характеризующая устойчивость резьбовой части конца трубы к разрушению, в условиях действия разнонаправленных напряжений.

3.1.22 наружная резьба: Резьба, образованная на наружной прямой круговой конической поверхности.

3.1.23 наружный диаметр конической резьбы: Диаметр воображаемого прямого кругового конуса в основной плоскости или заданном сечении, описанного вокруг вершин наружной или впадин внутренней конической резьбы.

3.1.24 натяг: Расстояние, характеризующее посадку одного изделия на другое, и припуск на механическое довинчивание.

3.1.25 натяг при свинчивании труб с муфтами: Расстояние от торца муфты до плоскости конца сбега резьбы на трубе.

3.1.26 натяг при контроле калибрами: Расстояние от измерительной плоскости калибра до плоскости изделия, выбранной за начало измерения натяга.

3.1.27 номинальный диаметр резьбы: Диаметр, условно характеризующий размеры резьбы и используемый при ее обозначении.

3.1.28 номинальный профиль конической резьбы: Профиль наружной или внутренней конической резьбы, который определен номинальными размерами его линейных и условных элементов и к которому в установленной основной плоскости относятся номинальный размеры наружного, среднего и внутреннего диаметров резьбы.

3.1.29 обычная муфта: Муфта наружным диаметром, принятым за основной диаметр по сравнению со специальной муфтой, имеющей меньший наружный диаметр. Термин применяют в случае, если для труб одного диаметра применяют муфты разных диаметров.

3.1.30 основная плоскость конической резьбы: Плоскость, перпендикулярная к оси резьбы, в которой задаются номинальные размеры наружного, среднего и внутреннего диаметров конической резьбы.

3.1.31 ось резьбы: Ось, относительно которой образована винтовая поверхность резьбы.

3.1.32 профиль резьбы: Профиль выступа и впадины резьбы в плоскости осевого сечения резьбы.

3.1.33 резьбовое соединение: Соединение двух изделий с помощью резьбы, в котором одно из изделий имеет наружную резьбу, другое - внутреннюю.

3.1.34 сбег резьбы: Участок в зоне перехода резьбы к гладкой части изделия, на котором резьба имеет неполный профиль.

3.1.35 свинчивание вручную, ручное свинчивание: Свинчивание резьбового соединения усилием одного человека без применения специального механизма или муфтонаверточного станка.

3.1.36 специальная муфта: Муфта, имеющая меньший наружный диаметр, по сравнению с наружным диаметром обычной муфты.

3.1.37 средний диаметр конической резьбы: Диаметр в основной плоскости или заданном сечении воображаемого прямого кругового конуса, соосного с конической резьбой, каждая образующая которого пересекает профиль резьбы таким образом, что проекции на ось резьбы отрезков, образованных при пересечении с впадиной, равны половине номинального шага резьбы.

3.1.38 трапецеидальная резьба: Коническая резьба, предназначенная для соединения нарезных труб и муфт к ним, исходный профиль которой представляет собой трапецию, угол наклона одной из боковых сторон (несущей) которой меньше, чем угол наклона другой стороны (угол трения).

3.1.39 закругленная треугольная резьба: Коническая резьба, предназначенная для соединения нарезных труб и муфт к ним, исходный профиль которой представляет собой треугольник с закругленными вершинами и впадинами.

3.1.40 угол наклона боковой стороны резьбы: Угол между боковой стороной резьбы и перпендикуляром к оси резьбы в плоскости сечения.

3.1.41 угол профиля резьбы: Угол между смежными боковыми сторонами резьбы в плоскости осевого сечения.

3.1.42 угол уклона резьбы: Угол, образованный касательной к винтовой линии, описываемой средней точкой боковой стороны резьбы, и плоскостью, перпендикулярной к оси резьбы.

3.1.43 узел уплотнения «металл-металл»: Совокупность конструктивных металлических уплотнительных и упорных элементов резьбового соединения, которые при механическом свинчивании обеспечивают в результате сопряжения поверхностей с определенным натягом высокую герметичность резьбового соединения.

3.1.44 уплотнительная проточка: Радиальная уплотнительная поверхность трубы - конструктивный уплотнительный элемент узла уплотнения «металл-металл».

3.1.45 уплотнительная расточка: Радиальная уплотнительная поверхность муфты - конструктивный уплотнительный элемент узла уплотнения «металл-металл».

3.1.46 упорный торец трубы: Упорная поверхность, проходящая через плоскость меньшего диаметра уплотнительной проточки, расположенная под прямым или другим углом к оси резьбы трубы - конструктивный упорный элемент узла уплотнения «металл-металл».

3.1.47 упорный уступ муфты: Упорная поверхность, проходящая через плоскость меньшего диаметра уплотнительной расточки, расположенная под прямым или другим углом к оси резьбы муфты - конструктивный упорный элемент узла уплотнения «металл-металл».

3.1.48 шаг резьбы: Расстояние по линии, параллельной оси резьбы между средними точками ближайших одноименных боковых сторон профиля резьбы, лежащими в одной осевой плоскости по одну сторону от оси резьбы.

3.2 В настоящем стандарте применены следующие сокращения:

НКМ - резьбовое высокогерметичное соединение насосно-компрессорных труб и муфт с трапецеидальной резьбой и узлом уплотнения «металл-металл»;

НКТ - резьбовое соединение насосно-компрессорных труб и муфт с закругленной треугольной резьбой;

НКТВ - резьбовое соединение насосно-компрессорных труб и муфт с закругленной треугольной резьбой и высаженными наружу концами труб;

ОТТГ - резьбовое высокогерметичное соединение обсадных труб и муфт с трапецеидальной резьбой и узлом уплотнения «металл-металл»;

ОТТМ - резьбовое соединение обсадных труб и муфт с трапецеидальной резьбой.

3.3 В настоящем стандарте применены следующие обозначения:

Аh - натяг при свинчивании трубы и муфты вручную;

А - натяг при механическом свинчивании трубы и муфты;

A1, A2, А3, А4 - натяги резьбы или элементов резьбового соединения по калибрам;

α1, α2, α3 - углы наклона элементов профиля резьбы;

В - ширина торцовой плоскости;

b, b1, b2, b3, b4 - ширина элементов профиля резьбы;

D - наружный диаметр трубы;

DB - наружный диаметр высаженного конца трубы;

DM - наружный диаметр обычной муфты;

DC - наружный диаметр специальной муфты;

d - внутренний диаметр трубы;

dM - внутренний диаметр муфты;

dcp - средний диаметр резьбы в основной плоскости;

dBH - внутренний диаметр резьбы в основной плоскости;

d0, d1, d2, d3, d4, d5 - диаметры элементов резьбы или резьбового соединения;

φ - угол уклона резьбы;

Н - высота исходного профиля резьбы;

h, h1, h2, h3, h4, h5 - высота или глубина элементов профиля резьбы или резьбового соединения;

L - общая длина резьбы трубы;

LM - длина муфты;

L1 - расстояние от торца муфты до упорного уступа;

l0, l1, l2, l3, l4, l5, l6, l7, l8, l9, l10 - расстояние или длина элементов резьбового соединения;

Р - шаг резьбы;

r, r1, r2, r3, r4 - радиусы скругления элементов профиля резьбы или резьбового соединения;

t - толщина стенки трубы;

tr - толщина стенки трубы под резьбой в плоскости торца трубы;

K - конусность резьбы;

z -зазор.

4 Общие требования

4.1 Резьбовые соединения, установленные настоящим стандартом, предназначены для обсадных, насосно-компрессорных труб и муфт к ним по ГОСТ Р 53366.

4.2 Резьбовые соединения труб и муфт к ним должны быть выполнены в соответствии с требованиями настоящего стандарта по технологическим регламентам, утвержденным в установленном порядке.

4.3 Геометрические параметры труб и муфтовых заготовок, предназначенных для нарезания резьбы, должны обеспечивать выполнение требований настоящего стандарта к геометрическим параметрам резьбы и резьбовых соединений.

4.4 Соблюдение требований к профилю, геометрическим параметрам, качеству поверхности резьбы и резьбового соединения должно обеспечивать герметичность резьбового соединения при правильно выполненном механическом свинчивании и использовании соответствующей резьбовой смазки.

4.5 Поверхности резьбы, уплотнительных и упорных элементов резьбового соединения должны быть гладкими, без следов коррозии.

Не допускаются рванины, заусенцы и другие дефекты, которые нарушают непрерывность поверхности резьбы, уплотнительных и упорных элементов, могут привести к отслоению металла или защитного покрытия, образованию задиров при свинчивании.

4.6 На длине резьбы трубы с неполным профилем допускаются риски, царапины, вмятины и другие несовершенства поверхности глубиной, не выходящей за внутренний диаметр резьбы или не превышающей 12,5% номинальной толщины стенки трубы при измерении от поверхности трубы, в зависимости от того, что больше.

4.7 Допускается зачистка поверхности резьбы, уплотнительных и упорных элементов резьбовых соединений для уменьшения глубины несовершенств или для их удаления, при условии соблюдения требований к геометрическим параметрам резьбы и резьбовых соединений.

4.8 Шероховатость Ra поверхности резьбы и упорных элементов резьбовых соединений не должна превышать 3,2 мкм, поверхности уплотнительных элементов резьбовых соединений - 1,6 мкм.

4.9 На всю поверхность резьбы и уплотнительных конических расточек муфт должно быть нанесено цинковое или фосфатное покрытие.

4.10 При свинчивании труб с муфтами должна применяться резьбоуплотнительная смазка или другие смазки, обеспечивающие герметичность резьбового соединения и предохраняющие его от коррозии и задиров при свинчивании.

5 Резьбовые соединения обсадных труб

5.1 Профиль резьбы

5.1.1 Форма и геометрические параметры профиля трапецеидальной резьбы резьбовых соединений ОТТМ и ОТТГ обсадных труб и муфт к ним должны соответствовать указанным на рисунке 1 и в таблице 1.

Предельные отклонения геометрических параметров профиля резьбы должны соответствовать указанным в таблицах 1 и 2.

_______________

* Размер для справок.

α - угол профиля; α1, α2 - углы наклона сторон профиля; b - ширина вершины профиля; b1 - ширина впадины профиля; φ - угол уклона резьбы; h1 - высота профиля; Р - шаг резьбы; r, r1, r2, r3 - радиусы скругления профиля

Рисунок 1 - Форма и геометрические параметры профиля трапецеидальной резьбы резьбовых соединений

Таблица 1 - Геометрические параметры профиля трапецеидальной резьбы резьбовых соединений ОТТМ и ОТТГ

В миллиметрах

Наименование параметра

Номинальное значение

Предельное отклонение

Шаг резьбы Р

5,08

Таблица 2

Высота профиля h1

1,60

±0,03

Угол профиля α *

13°

-

Угол наклона стороны профиля

 

 

α1

±1°

α2

10°

±1°

Ширина вершины профиля b *

2,29

-

Ширина впадины профиля b1, *

2,43

+ 0,05

Радиус округления профиля:

 

 

r *

0,20

+ 0,05

r1, *

0,80

-0,05

r2, *

0,20

-0,05

r3, *

0,80

+ 0,05

Угол уклона резьбы φ *

1°47'24"

-

Конусность резьбы K *

6,25

(1:16)

Таблица 2

* Размер для справок

** Конусность наружного и внутреннего диаметров резьбы трубы и муфты на длине резьбы 100 мм.

Примечание - Параметры резьбы для справок и их предельные отклонения приведены для проектирования резьбообразующего инструмента и контролю не подвергаются.

Таблица 2 - Предельные отклонения шага и конусности трапецеидальной резьбы резьбовых соединений ОТТМ и ОТТГ

В миллиметрах

Тип соединения

Предельное отклонение

шага резьбы Р

конусности резьбы К

на длине 25,4 мм *

на всей длине резьбы с полным профилем

трубы

муфты

условным диаметром до 194 мм включ.

условным диаметром св. 194 мм

для труб условным диаметром до 194 мм включ.

для труб условным диаметром св. 194 мм

ОТТМ

±0,05

±0,10

+ 0,25

+0,25

+0,00

+0,10

-0,10

-0,25

-0,25

ОТТГ

+0,15

+0,20

+0,00

+0,05

-0,05

-0,15

-0,20

* Предельные отклонения шага резьбы на длине 25,4 мм допускаются на расстоянии между любыми двумя витками резьбы с полным профилем, не превышающим 25,4 мм. На расстоянии между любыми двумя витками резьбы, превышающем 25,4 мм, допускается увеличение предельных отклонений шага резьбы пропорционально увеличению расстояния, но не более указанных в настоящей таблице предельных отклонений для всей длины резьбы с полным профилем.

5.2 Основные параметры резьбового соединения ОТТМ

5.2.1 Общий вид резьбового соединения ОТТМ при свинчивании вручную и при механическом свинчивании показан на рисунке 2.

D - наружный диаметр трубы; DM - наружный диаметр обычной муфты; DC - наружный диаметр специальной муфты; d - внутренний диаметр трубы; LM - длина муфты; t - толщина стенки трубы

Рисунок 2 - Общий вид резьбового соединения ОТТМ

5.2.2 Основные геометрические параметры и предельные отклонения параметров резьбового соединения ОТТМ должны соответствовать указанным на рисунках 3 и 4 и в таблицах 3 и 4.

_______________

* Размер для справок.

** Размер не регламентируется.

D - наружный диаметр трубы; dВН - внутренний диаметр резьбы в основной плоскости; d1 - наружный диаметр резьбы в плоскости торца трубы; d2 - внутренний диаметр резьбы в плоскости торца трубы; L - общая длина резьбы трубы (от торца трубы до конца сбега резьбы); l -длина резьбы трубы с полным профилем (длина резьбы от торца трубы до основной плоскости); l1 -длина резьбы с неполным профилем; l2 - длина сбега резьбы трубы

Рисунок 3 - Основные геометрические параметры резьбового соединения ОТТМ трубы

Таблица 3 - Основные геометрические параметры резьбового соединения ОТТМ трубы

В миллиметрах

Условный диаметр трубы

Наружный диаметр трубы D *

Внутренний диаметр резьбы в основной плоскости dВН *

Наружный диаметр резьбы в плоскости торца трубы d1*

Внутренний диаметр резьбы в плоскости торца трубы d2*

Общая длина резьбы L ±2

Длина резьбы с полным профилем l*

Длина сбега резьбы l2, не более

102

101,60

98,400

99,287

96,087

69

37

13

114

114,30

111,100

111,675

108,475

74

42

13

127

127,00

123,800

124,250

121,050

76

44

13

140

139,70

136,500

136,700

133,500

80

48

13

146

146,10

142,850

143,050

139,850

80

48

13

168

168,28

165,075

165,025

161,825

84

52

13

178

177,80

174,600

174,300

171,100

88

56

13

194

193,68

190,475

189,925

186,725

92

60

13

219

219,08

215,875

214,950

211,750

98

66

13

245

244,48

241,275

240,350

237,150

98

66

13

273

273,05

269,850

268,925

265,725

98

66

13

299

298,45

295,250

294,325

291,125

98

66

13

324

323,90

320,650

319,725

316,525

98

66

13

340

339,72

336,525

335,600

332,400

98

66

13

* Размер для справок.

_________________

* Размер для справок.

В - ширина торцовой плоскости обычной муфты; dBH - внутренний диаметр резьбы в основной плоскости; dQ - диаметр фаски в плоскости торца муфты; d3 - внутренний диаметр резьбы в плоскости торца муфты; l3 - длина резьбы с полным профилем муфты; r - радиус скругления кромки торца специальной муфты

Примечания

1. Для выхода резьбообразующего инструмента на середине муфты может быть выполнена проточка глубиной, превышающей высоту профиля резьбы h1 не более чем на 0,50 мм. Проточка не должна иметь острых кромок. При отсутствии проточки допускается перерез встречных ниток в середине муфты на длине резьбы с неполным профилем.

2 Для специальных муфт допускается замена фаски 35° ±5° скруглением кромки торца радиусом, не превышающим ширину фаски.

Рисунок 4 - Основные геометрические параметры резьбового соединения ОТТМ муфты

Таблица 4 - Основные геометрические параметры резьбового соединения ОТТМ муфты

В миллиметрах

Условный диаметр трубы

Наружный диаметр трубы D *

Внутренний диаметр резьбы в основной плоскости dВН *

Внутренний диаметр резьбы в плоскости торца муфты d3*

Диаметр фаски в плоскости торца муфты d0 +1,0

Длина резьбы с полным профилем l3, не менее

Ширина торцовой плоскости обычной муфты В, не менее

102

101,60

98,400

99,525

103,8

74

1,5

114

114,30

111,100

112,225

116,5

76

3,0

127

127,00

123,800

124,925

129,2

78

4,0

140

139,70

136,500

137,625

141,9

82

3,5

146

146,10

142,850

143,975

148,3

82

6,5

168

168,28

165,075

166,200

170,5

86

6,0

178

177,80

174,600

175,725

180,0

90

4,5

194

193,68

190,475

191,600

195,9

94

7,5

219

219,08

215,875

217,000

221,3

100

9,0

245

244,48

241,275

242,400

246,7

100

9,0

273

273,05

269,850

270,975

275,3

100

8,5

299

298,45

295,250

296,375

300,7

100

8,5

324

323,90

320,650

321,775

326,1

100

9,5

340

339,72

336,525

337,650

342,0

100

8,5

* Размер для справок.

Примечание - Ширина торцовой плоскости специальной муфты не нормируется.

5.2.3 `На расстоянии менее (l - 10) мм от торца трубы не допускаются витки резьбы с черновинами.

На расстоянии (l - 10) мм и более от торца трубы допускаются витки резьбы с черновинами общей протяженностью на каждом витке не более 25% длины витка резьбы:

- на одном витке резьбы - для труб условным диаметром до 194 мм включительно;

- на двух витках резьбы - для труб условным диаметром 219 мм и более.

5.2.4 Минимальная толщина стенки трубы под резьбой в плоскости торца трубы должна быть не менее 1,5 мм.

Толщину стенки трубы под резьбой в плоскости торца трубы вычисляют по следующей формуле

tr = 0,875t - 0,5(1,01D - d2),

(1)

где tr - толщина стенки трубы под резьбой в плоскости торца трубы, мм, округленная до 0,1 мм;

t - номинальная толщина стенки трубы, мм;

D - номинальный наружный диаметр трубы, мм;

d2 - внутренний диаметр резьбы в плоскости торца трубы, мм.

Если расчетное значение tr менее или равно 1,5 мм, то минимальная толщина стенки трубы под резьбой в плоскости торца трубы должна быть не менее 1,5 мм.

Если расчетное значение tr более 1,5 мм, то минимальная толщина стенки трубы под резьбой в плоскости торца трубы должна быть не менее расчетного значения.

5.2.5 Разностенность в плоскости торца специальных муфт не должна превышать 1,00 мм.

5.2.6 Оси резьбы обоих концов муфты должны совпадать. Предельное отклонение от соосности резьбы в плоскости торца муфты не должно превышать 0,75 мм, предельное отклонение от соосности резьбы на расстоянии 1 м от середины муфты не должно превышать 3,00 мм.

5.2.7 При свинчивании труб с муфтами вручную натяг Аh (расстояние от торца муфты до конца сбега резьбы на трубе) должен быть равен (14,0 ±3,0) мм (рисунок 5).

А - натяг при механическом свинчивании труб с муфтами; Ah - натяг при свинчивании труб с муфтами вручную

Рисунок 5 - Схема свинчивания труб и муфт с резьбовым соединением ОТТМ

При механическом свинчивании труб с муфтами натяг А должен быть не более 5,0 мм, т.е. торец муфты должен совпадать с концом сбега резьбы трубы или не доходить до него не более чем на 5,0 мм (рисунок 5).

5.3 Основные параметры резьбового соединения ОТТГ

5.3.1 Общий вид резьбового соединения ОТТГ с узлом уплотнения «металл-металл» при свинчивании вручную и при механическом свинчивании показан на рисунке 6.

D - наружный диаметр трубы; DM - наружный диаметр обычной муфты; DC - наружный диаметр специальной муфты; d - внутренний диаметр трубы; dM - внутренний диаметр муфты; t - толщина стенки трубы; LM - длина муфты

Рисунок 6 - Общий вид резьбового соединения ОТТГ

5.3.2 Основные геометрические параметры и предельные отклонения параметров резьбового соединения ОТТГ должны соответствовать указанным на рисунках 7 и 8 и в таблицах 5 и 6.

_________________

* Размер для справок.

** Размер не регламентируется,

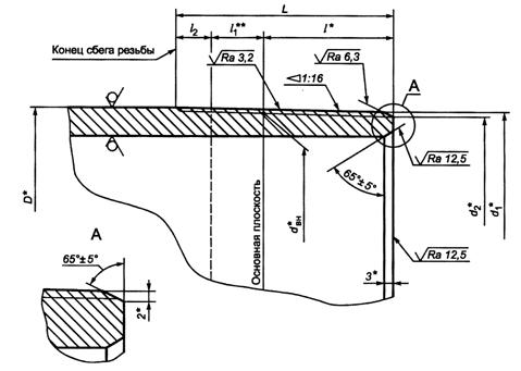
D - наружный диаметр трубы; dBH - внутренний диаметр резьбы в основной плоскости; d1 - наружный диаметр резьбы в плоскости торца трубы; d2 - диаметр уплотнительной конической проточки в плоскости торца трубы; L - расстояние от торца до конца сбега резьбы; l - длина резьбы от торца трубы до основной плоскости; l1 - длина резьбы с полным профилем; 12 – длина резьбы с неполным профилем; l3 - длина сбега резьбы

Рисунок 7 - Основные геометрические параметры резьбового соединения ОТТГ трубы

_________________

* Размер для справок.

** Размер не регламентируется.

В - ширина торцовой плоскости муфты; dBH - внутренний диаметр резьбы в основной плоскости; dM - внутренний диаметр муфты; d0 - диаметр фаски в плоскости торца муфты; d3 - внутренний диаметр резьбы в плоскости торца муфты; d4 - диаметр уплотнительной конической расточки муфты в расчетной плоскости; L - расстояние от торца муфты до упорного уступа; l4 - расстояние от торца муфты до расчетной плоскости; l5 - длина резьбового конуса муфты (от торца муфты до конца сбега резьбы); l6 - длина сбега резьбы; l7 - длина резьбы с полным профилем; r - радиус скругления профиля

Примечания

1 Конец сбега резьбы муфты не должен выходить за пределы фаски, расположенной между резьбой и уплотнительной конической расточкой.

2 Для специальных муфт допускается замена фаски 35° ±5° округлением кромки торца радиусом, не превышающим ширину фаски.

Рисунок 8 - Основные геометрические параметры резьбового соединения ОТТГ муфты

Таблица 5 - Основные геометрические параметры резьбового соединения ОТТГ трубы

В миллиметрах

Условный диаметр трубы

Наружный диаметр трубы D*

Внутренний диаметр резьбы в основной плоскости d8H *

Наружный диаметр резьбы в плоскости торца трубы d1 *

Диаметр уплотнительной конической проточки в плоскости торца трубы d2*

Расстояние от торца до конца сбега резьбы

L - 1

Расстояние от торца до основной плоскости l *

Длина сбега резьбы l3, не более

114

114,30

111,100

110,175

106,375

98

66

13

127

127,00

123,800

122,750

118,950

100

68

13

140

139,70

136,500

135,200

131,400

104

72

13

146

146,10

142,850

141,550

137,750

104

72

13

168

168,28

165,075

163,525

159,725

108

76

13

178

177,80

174,600

172,800

169,000

112

80

13

194

193,68

190,475

188,425

184,625

116

84

13

219

219,08

215,875

213,450

209,650

122

90

13

245

244,48

241,275

238,850

235,050

122

90

13

250

250,80

241,275

238,850

235,050

130

90

13

273

273,05

269,850

267,425

263,625

122

90

13

324

323,90

320,650

318,225

314,425

122

90

13

* Размер для справок.

Таблица 6 - Основные геометрические параметры резьбового соединения ОТТГ муфты

В миллиметрах

Условный диаметр трубы

Наружный диаметр трубы D*

Внутренний диаметр резьбы в основной плоскости d8H *

Диаметр фаски в плоскости торца муфты d0

+ 1,0

-0,0

Внутренний диаметр резьбы в плоскости торца муфты d3 *

Диаметр уплотнительной конической расточки в расчетной плоскости

d4 *

Расстояние от торца муфты до упорного уступа L1 + 1

Расстояние от торца муфты до расчетной плоскости l4 *

Длина резьбового конуса муфты l5 - 1

Длина резьбы с полным профилем муфты l7, не менее

Ширина торцовой плоскости обычной муфты В, не менее

114

114,30

111,100

116,5

112,475

106,425

96

88

82

72

3,0

127

127,00

123,800

129,2

125,175

119,000

98

90

84

74

4,0

140

139,70

136,500

141,9

137,875

131,450

102

94

88

78

3,5

146

146,10

142,850

148,3

144,225

137,800

102

94

88

78

6,5

168

168,28

165,075

170,5

166,450

159,775

106

98

92

82

6,0

178

177,80

174,600

180,0

175,975

169,050

110

102

96

86

4,5

194

193,68

190,475

195,9

191,850

184,675

114

106

100

90

7,5

219

219,08

215,875

221,3

217,250

209,700

120

112

106

96

9,0

245

244,48

241,275

246,7

242,650

235,100

120

112

106

96

9,0

250

250,80

241,275

246,7

242,650

235,100

120

112

106

96

9,0

273

273,05

269,850

275,3

271,225

263,675

120

112

106

96

8,5

324

323,90

320,650

326,1

322,025

314,475

120

112

106

96

8,5

* Размер для справок.

Примечание - Ширина торцовой плоскости специальных муфт не нормируется.

5.3.3 На расстоянии менее (l - 10) мм от торца трубы не допускаются витки резьбы с черновинами.

На расстоянии (l - 10) мм и более от торца трубы допускаются витки с черновинами общей протяженностью на каждом витке не более 25% длины витка резьбы:

- на одном витке резьбы -для труб условным диаметром до 194 мм включительно;

- на двух витках резьбы - для труб условным диаметром 219 мм и более.

5.3.4 Минимальная толщина стенки трубы под резьбой в плоскости торца трубы должна быть не менее 3,0 мм, кроме труб следующих размеров, для которых минимальная толщина стенки трубы под резьбой в плоскости торца трубы должна быть не менее 2,5 мм:

- труб условным диаметром 146 мм и толщиной стенки 8,5 мм,

- труб условными диаметрами 168, 219, 245 и 273 мм и толщинами стенки 8,0 и 8,9 мм,

- труб условным диаметром 324 мм и толщиной стенки 9,5 мм.

Толщину стенки трубы под резьбой в плоскости торца трубы вычисляют по следующей формуле

tr = 0,875t - 0,5(1,01D - d2),

(2)

где tr - толщина стенки трубы под резьбой в плоскости торца трубы, мм, округленная до 0,1 мм;

t - номинальная толщина стенки трубы, мм;

D - номинальный наружный диаметр трубы, мм;

d2 - диаметр уплотнительной конической проточки в плоскости торца трубы, мм.

Если расчетное значение tr менее или равно 3,0 мм, а для труб с указанными размерами менее или равно 2,5 мм, то минимальная толщина стенки трубы под резьбой в плоскости торца трубы должна быть не менее 3,0 мм или 2,5 мм соответственно.

Если расчетное значение tr более 3,0 мм или для труб с указанными размерами более 2,5 мм, то минимальная толщина стенки трубы под резьбой в плоскости торца трубы должна быть не менее расчетного значения.

5.3.5 Предельные отклонения конусности на всей длине уплотнительной конической проточки трубы не должны превышать ±0,03 мм, предельные отклонения конусности уплотнительной конической расточки муфты не должны превышать +0,06 мм.

5.3.6 Разностенность в плоскости торца специальных муфт не должна превышать 1,00 мм.

5.3.7 Упорные торцы трубы и упорные уступы муфты должны быть плоскими и перпендикулярными к оси резьбы. Предельное отклонение упорных элементов от перпендикулярности не должно превышать 0,06 мм. Предельное отклонение упорных элементов от плоскостности не должно превышать 0,06 мм.

5.3.8 Оси резьбы обоих концов муфты должны совпадать. Предельное отклонение от соосности резьбы в плоскости торца муфты не должно превышать 0,75 мм, предельное отклонение от соосности резьбы на расстоянии 1 м от середины муфты не должно превышать 3,00 мм.

5.3.9 Оси резьбы и уплотнительных элементов труб и муфт должны совпадать. Предельное отклонение от соосности в плоскости торца трубы или муфты не должно превышать 0,04 мм.

5.3.10 При свинчивании труб с муфтами вручную натяг Ah (расстояние от торца муфты до конца сбега резьбы на трубе) должен быть равен (10,0 ±2,0) мм (рисунок 9).

При механическом свинчивании трубы с муфтой должно быть обеспечено сопряжение упорного торца трубы и упорного уступа муфты по всему периметру стыка упорных поверхностей (рисунок 9).

Ah - натяг при свинчивании труб с муфтами вручную

Рисунок 9 - Схема свинчивания труб и муфт с резьбовым соединением ОТТГ

6 Резьбовые соединения насосно-компрессорных труб

6.1 Профиль резьбы

6.1.1 Форма и геометрические параметры профиля закругленной треугольной резьбы соединений НКТ и НКТВ насосно-компрессорных труб и муфт к ним должны соответствовать указанным на рисунке 10 и в таблице 7.

Предельные отклонения геометрических параметров профиля резьбы должны соответствовать указанным в таблицах 7 и 8.

_______________

* Размер для справок.

α - угол профиля; α/2 - угол наклона стороны профиля; φ - угол уклона резьбы; Н - высота исходного профиля; h - рабочая высота профиля; h1, h3 - высота профиля; h2, h4 - срез по вершинам профиля резьбы трубы и муфты; h5, h6 - срез по впадинам профиля резьбы трубы и муфты; Р - шаг резьбы; r1 - радиус скругления впадины профиля; r - радиус скругления вершины профиля; z - зазор

Рисунок 10 - Форма и геометрические параметры профиля закругленной треугольной резьбы соединений

Таблица 7 - Геометрические параметры профиля закругленной треугольной резьбы соединений НКТ и НКТВ

В миллиметрах

Наименование параметра

Число ниток на длине 25,4 мм

10

8

Номинальное значение

Предельное отклонение

Номинальное значение

Предельное отклонение

Шаг резьбы Р

2,540

Таблица 2

3,175

Таблица 2

Высота исходного профиля Н*

2,200

-

2,750

-

Рабочая высота профиля h*

1,336

-

1,734

-

Высота профиля h1, h3

1,412

+0,050

1,810

+0,050

-0,100

-0,100

Угол профиля α*

60°

-

60°

-

Угол наклона стороны профиля α/2

30°

±1°

30°

±°

Радиус скругления вершины профиля

 

 

 

 

r*

0,432

+0,045

0,508

+0,045

r2*

0,356

-0,045

0,432

-0,045

Срез по вершинам профиля h2, h4

0,432

 

0,508

-

Срез по впадинам профиля h5, h6

0,356

-

0,432

-

Зазор z*

0,076

-

0,076

-

Угол уклона резьбы φ*

1°47'24"

-

1°47'24"

-

Конусность резьбы К**

6,25

Таблица 2

6,25

Таблица 2

(1:16)

(1:16)

* Размер для справок.

** Конусность среднего диаметра резьбы трубы и муфты, наружного диаметра резьбы трубы и внутреннего диаметра резьбы муфты на длине 100 мм.

Примечание - Параметры резьбы для справок и их предельные отклонения приведены для проектирования резьбообразующего инструмента и контролю не подвергаются.

Таблица 8 - Предельные отклонения шага и конусности резьбы соединений НКТ и НКТВ

В миллиметрах

Предельное отклонение

шага резьбы Р

конусности резьбы К

на длине 25,4 мм*

на всей длине резьбы с полным профилем

трубы

муфты

± 0,075

±0,120

+0,36

+0,22

-0,22

-0,36

* Предельные отклонения шага резьбы на длине 25,4 мм допускаются на расстоянии между любыми двумя витками резьбы с полным профилем, не превышающем 25,4 мм. На расстоянии между любыми витками резьбы, превышающем 25,4 мм, допускается увеличение предельных отклонений шага резьбы пропорционально увеличению длины, но не свыше предельных отклонений, указанных для всей длины резьбы с полным профилем.

6.1.2 Форма и геометрические параметры профиля трапецеидальной резьбы соединения НКМ насосно-компрессорных труб условным диаметром от 60 до 102 мм включительно и муфт к ним должны соответствовать указанным на рисунке 11 и в таблице 9, для труб условным диаметром 114 мм и муфт к ним - на рисунке 12 и в таблице 9.

Предельные отклонения геометрических параметров профиля резьбы должны соответствовать указанным в таблицах 9 и 10.

________________

* Размер для справок.

α - угол профиля; α1, α2 - углы наклона сторон профиля; b - ширина вершин профиля трубы, b1 - ширина вершин профиля муфты; b2 - ширина впадин профиля трубы; b3 - ширина впадин профиля муфты; b4 - ширина фаски вершин профиля; h1 - высота профиля; Р - шаг резьбы; r1 - радиус скругления впадин профиля, r2 - радиус скругления вершин профиля; φ - угол уклона резьбы

Примечание - Допускается замена фаски вершин профиля скруглением вершин радиусом, равным (0,2 +0,05) мм.

Рисунок 11 - Форма и геометрические параметры профиля трапецеидальной резьбы соединения НКМ насосно-компрессорных труб условным диаметром от 60 до 102 мм включительно и муфт к ним

_______________

* Размер для справок.

α - угол профиля; α1, α2 - углы наклона сторон профиля; b - ширина вершин профиля трубы, b1 - ширина вершин профиля муфты; b2 - ширина впадин профиля трубы; b3 - ширина впадин профиля муфты; φ - угол уклона резьбы; h1 - высота профиля; Р - шаг резьбы; r, r3 - радиусы скругления вершин профиля; r1, r4 - радиусы округления впадин профиля

Рисунок 12 - Форма и геометрические параметры профиля трапецеидальной резьбы соединения НКМ насосно-компрессорных труб условным диаметром 114 мм и муфт к ним

Таблица 9 - Геометрические параметры профиля трапецеидальной резьбы резьбового соединения НКМ

В миллиметрах

Наименование параметра

Условный диаметр труб

от 60 до 102 мм включ.

114 мм

Номинальное значение

Предельное отклонение

Номинальное значение

Предельное отклонение

Шаг резьбы Р

4,233

Таблица 2

5,080

Таблица 2

Высота профиля h1

 

 

 

 

наружная резьба

1,20

+0,05

1,60

±0,03

внутренняя резьба

1,30

+0,05

1,60

±0,03

Угол профиля α*

33°

-

13°

-

Угол наклона стороны профиля:

 

 

 

 

α1

±1°

±1°

α2

30°

±1°

10°

±1°

Радиус скругления профиля:

 

 

 

 

r *

-

-

0,20

+0,05

r1 *

0,20

-0,05

0,20

-0,05

r2 *

0,25

-0,05

-

-

r3 *

-

-

0,80

+0,05

r4 *

-

-

0,80

-0,05

Ширина вершины профиля:

 

 

 

 

b *

1,659

-

2,29

-

b1 *

1,600

-

2,29

-

Ширина впадины профиля:

 

 

 

 

b2*

1,800

+0,05

2,43

+0,05

b3 *

1,794

+0,05

2,43

+0,05

Ширина фаски вершин профиля b4

0,30

+0,05

-

-

Угол уклона резьбы φ *

2°23'09"

-

1°47'24"

-

Конусность резьбы К **

8,33

Таблица 2

6,25

Таблица 2

(1:12)

(1:16)

* Размер для справок.

** Конусность наружного и внутреннего диаметров резьбы трубы и муфты на длине 100 мм.

Примечание - Параметры резьбы, приведенные для справок, и их предельные отклонения приведены для проектирования резьбообразующего инструмента и контролю не подвергаются.

Таблица 10 - Предельные отклонения шага и конусности резьбы резьбового соединения НКМ

В миллиметрах

Шаг резьбы Р

Предельное отклонение

шага резьбы Р

конусности резьбы К

на длине 25,4 мм *

на всей длине резьбы с полным профилем

наружной

внутренней

4,233

±0,04

±0,08

+0,15

-0,15

5,080

±0,05

±0,10

+0,15

-0,15

* Предельные отклонения шага резьбы на длине 25,4 мм допускаются на расстоянии между любыми двумя витками резьбы с полным профилем, не превышающим 25,4 мм. На расстоянии между любыми витками резьбы, превышающем 25,4 мм, допускается увеличение предельных отклонений шага резьбы пропорционально увеличению длины, но не более предельных отклонений, указанных для всей длины резьбы с полным профилем.

6.2 Основные параметры резьбовых соединений НКТ и НКТВ

6.2.1 Общий вид резьбовых соединений НКТ и НКТВ показан на рисунках 13 и 14.

D - наружный диаметр трубы; DM - наружный диаметр муфты; d - внутренний диаметр трубы; LM - длина муфты; t - толщина стенки трубы

Рисунок 13 - Общий вид резьбового соединения НКТ

D - наружный диаметр трубы; DВ - наружный диаметр высаженного конца трубы; DM - наружный диаметр муфты; d - внутренний диаметр трубы; LM - длина муфты; t - толщина стенки трубы

Рисунок 14 - Общий вид резьбового соединения НКТВ

6.2.2 Основные геометрические параметры и предельные отклонения параметров резьбового соединения НКТ должны соответствовать указанным на рисунках 15 и 16 и в таблицах 11 и 13, резьбового соединения НКТВ - на рисунках 15 и 16 и в таблицах 12 и 14.

_______________

* Размер для справок.

** Размер не регламентируется.

D - наружный диаметр трубы; DВ - наружный диаметр высаженного конца трубы с соединением НКТВ; dср - средний диаметр резьбы в основной плоскости; d1 - наружный диаметр резьбы в плоскости торца трубы; d2 - внутренний диаметр резьбы в плоскости торца труб; L - общая длина резьбы трубы (от торца трубы до конца сбега резьбы); l - длина резьбы с полным профилем (от торца трубы до основной плоскости); l1 - длина резьбы с неполным профилем; l2 - длина сбега резьбы

Рисунок 15 - Основные геометрические параметры резьбовых соединений НКТ или НКТВ трубы

________________

* Размер для справок.

** Размер не регламентируется.

В - ширина торцовой плоскости муфты; d0 - диаметр цилиндрической расточки муфты; d3 - внутренний диаметр резьбы муфты в плоскости торца трубы; LM - длина муфты; l0 - длина цилиндрической расточки муфты

Примечания

1 Вместо цилиндрической расточки у торца муфты допускается выполнение конической расточки с теми же длиной и диаметром, образующая которой параллельна образующей конуса резьбы.

2 Для выхода резьбообразующего инструмента на середине муфты может быть выполнена проточка на глубину, превышающую высоту профиля не более чем на 0,50 мм. Проточка не должна иметь острых кромок. При отсутствии проточки допускается перерез встречных ниток в середине муфты, на расстоянии не более (13 - Р) мм от середины муфты в обе стороны, где Р - шаг резьбы, округленный до целого значения.

Рисунок 16 - Основные геометрические параметры резьбовых соединений НКТ и НКТВ муфты

Таблица 11 - Основные геометрические параметры резьбового соединения НКТ трубы

В миллиметрах

Условный диаметр трубы

Наружный диаметр трубы D*

Шаг резьбы Р

Средний диаметр резьбы в основной плоскости dср *

Наружный диаметр резьбы в плоскости торца трубы d1*

Внутренний диаметр резьбы в плоскости торца трубы d2*

Общая длина резьбы L

Длина резьбы с полным профилем

l*

Длина сбега резьбы l2 не более

Номинальное значение

Предельное отклонение

33

33,40

2,540

32,065

32,382

29,568

29,0

±2,5

16,3

8

42

42,18

40,828

40,948

38,124

32,0

19,3

48

48,26

46,924

46,866

44,042

35,0

22,3

60

60,32

58,989

58,494

55,670

42,0

29,3

73

73,02

71,689

70,506

67,682

53,0

40,3

89

88,90

87,564

85,944

83,120

60,0

47,3

102

101,60

3,175

99,866

98,519

94,899

62,0

±3,2

49,3

10

114

114,30

112,566

111,031

107,411

65,0

52,03

* Размер для справок.

Таблица 12 - Основные геометрические параметры резьбового соединения НКТВ трубы

В миллиметрах

Условный диаметр трубы

Наружный диаметр трубы D*

Наружный диаметр высаженной части DВ*

Шаг резьбы Р

Средний диаметр резьбы в основной плоскости dср *

Наружный диаметр резьбы в плоскости торца трубы d1 *

Внутренний диаметр резьбы в плоскости торца трубы d2*

Общая длина резьбы L

Длина резьбы с полным профилем

l *

Длина сбега резьбы l2 не более

Номинальное значение

Предельное отклонение

27

26,67

33,40

2,540

32,065

32,383

29,568

29,0

±2,5

16,3

8

33

33,40

37,30

35,970

36,100

33,276

32,0

19,3

42

42,16

46,00

44,701

44,634

41,819

35,0

22,3

48

46,26

53,20

51,845

51,662

48,833

37,0

24,3

60

60,32

65,90

3,175

64,148

63,551

59,931

50,0

±3,2

37,3

10

73

73,90

78,60

76,848

76,001

72,381

54,0

41,3

89

88,90

95,20

93,516

92,294

88,674

60,0

47,3

102

101,60

108,00

106,216

104,744

101,124

64,0

51,3

114

114,30

120,60

118,916

117,256

113,636

67,0

54,3

* Размер для справок.

Таблица 13 - Основные геометрические параметры резьбового соединения НКТ муфты

В миллиметрах

Условный диаметр трубы

Наружный диаметр трубы D*

Шаг резьбы Р

Средний диаметр резьбы в основной плоскости dср *

Диаметр цилиндрической расточки муфты d0

+0,8

-0,0

Внутренний диаметр резьбы муфты в плоскости торца муфты d3 *

Длина цилиндрической расточки муфты l0

+1,5

-0,5

Ширина торцовой плоскости муфты В, не менее

Натяг при свинчивании трубы с муфтой вручную

Ah ±P**

33

33,40

2,540

32,065

35,0

31,210

8,0

2,0

5,0 ±2,5

42

42,16

40,828

43,8

39,973

2,5

48

48,26

46,924

49,9

46,069

1,5

60

60,32

58,989

61,9

58,134

4,0

73

73,90

71,689

74,6

70,834

5,5

89

88,90

87,564

90,5

86,709

6,5

102

101,60

3,175

99,866

103,2

98,519

9,5

6,5

6,5 ±3,2

114

114,30

112,566

115,9

111,219

6,0

* Размер для справок.

** Значение шага резьбы, округленное до первого десятичного знака.

Таблица 14 - Основные геометрические параметры резьбового соединения НКТВ муфты

В миллиметрах

Условный диаметр трубы

Наружный диаметр трубы D*

Шаг резьбы Р

Средний диаметр резьбы в основной плоскости dср *

Диаметр цилиндрической расточки муфты d0

+0,8

Внутренний диаметр резьбы в плоскости торца муфты

d3*

Длина расточки муфты l0

+1,5

-0,5

Ширина торцовой плоскости муфты В, не менее

Натяг при свинчивании трубы с муфтой вручную Ah ±Р **

27

26,67

2,540

32,065

35,0

31,210

8,0

2,0

5,0 ±2,5

33

33,40

35,970

38,9

35,115

3,0

42

42,16

44,701

47,6

43,846

2,5

48

48,26

51,845

54,8

50,990

2,5

60

60,32

3,175

64,148

67,5

62,801

9,5

3,5

6,5 ±3,2

73

73,90

76,848

80,2

75,501

4,5

89

88,90

93,516

96,9

92,169

6,5

102

101,60

106,216

109,6

104,869

6,5

114

114,30

118,916

122,3

117,569

7,5

* Размер для справок.

** Значение шага резьбы, округленное до первого десятичного знака.

6.2.3 На расстоянии от торца трубы менее (l - 7,5) мм для резьбы с шагом 2,540 мм и менее (l - 10,0) мм для резьбы с шагом 3,175 мм не допускаются витки резьбы с черновинами.

6.2.4 Минимальная толщина стенки трубы под резьбой в плоскости торца трубы должна быть не менее 1,0 мм для труб условным диаметром до 48 мм включительно и не менее 2,0 мм для труб остальных диаметров.

Толщину стенки трубы под резьбой в плоскости торца трубы вычисляют по следующей формуле

tr = 0,875t - 0,5[(D + Δ) - d2],

(3)

где tr - толщина стенки трубы под резьбой в плоскости торца трубы, мм, округленная до 0,1 мм;

r - номинальная толщина стенки, мм;

D - номинальный наружный диаметр трубы, мм;

d2 - внутренний диаметр резьбы в плоскости торца трубы, мм;

Δ - величина плюсового предельного отклонения наружного диаметра трубы, равная 0,8 мм для труб условным диаметром до 102 мм включительно и 0,9 мм для труб условным диаметром 114 мм.

Если расчетное значение tr менее или равно 1,0 мм для труб условным диаметром до 48 мм включительно и менее или равно 2,0 мм для труб остальных диаметров, то минимальная толщина стенки трубы под резьбой в плоскости торца трубы должна быть не менее 1,0 или 2,0 мм соответственно,

Если расчетное значение tr более 1,0 мм для труб условным диаметром до 48 мм включительно или более 2,0 мм для труб остальных диаметров, то минимальная толщина стенки трубы под резьбой в плоскости торца трубы должна быть не менее расчетного значения.

6.2.5 Оси резьбы обоих концов муфты должны совпадать. Предельное отклонение от соосности в плоскости торца муфты не должно превышать 0,75 мм, предельное отклонение от соосности на расстоянии 1 м от середины муфты не должно превышать 3,00 мм. Допускается увеличение предельного отклонения от соосности в плоскости торца муфты до 1,00 мм при одновременном уменьшении предельного отклонения от соосности на расстоянии 1 м от середины муфты до 2,00 мм.

6.2.6 Овальность резьбы муфты (разность диаметров резьбы муфты в одном сечении) не должна превышать:

- 0,100 мм - для муфт к трубам условным диаметром от 27 до 60 мм;

- 0,130 мм - для муфт к трубам условным диаметром от 73 до 89 мм;

- 0,150 мм - для муфт к трубам условным диаметром от 102 до 114 мм.

6.2.7 При свинчивании труб с муфтами вручную натяг Ah (расстояние от торца муфты до конца сбега резьбы на трубе) (рисунок 17) должен соответствовать указанному в таблицах 12 и 14.

При механическом свинчивании труб с муфтами торец муфты должен совпадать с концом сбега резьбы на трубе (см. рисунок 17).

Ah - натяг при свинчивании труб с муфтами вручную

Рисунок 17 - Схема свинчивания муфт и труб с резьбовыми соединениями НКТ или НКТВ

6.3 Основные параметры резьбового соединения НКМ

6.3.1 Общий вид резьбового соединения НКМ с узлом уплотнения «металл-металл» показан на рисунке 18.

D - наружный диаметр трубы; DM - наружный диаметр муфты; d - внутренний диаметр трубы; dM - внутренний диаметр муфты; lM - длина муфты; t - толщина стенки трубы

Рисунок 18 - Общий вид резьбового соединения НКМ

6.3.2 Основные геометрические параметры и предельные отклонения параметров резьбового соединения НКМ должны соответствовать указанным на рисунках 19 и 20 и в таблицах 15 и 16.

__________________

* Размер для справок.

** Размер не регламентируется.

dM - внутренний диаметр резьбы в основной плоскости; d1 - наружный диаметр резьбы в плоскости торца трубы; d2 - диаметр уплотнительной конической проточки в плоскости торца; h1 - глубина уплотнительной проточки трубы; L - расстояние от торца до конца сбега резьбы; l - расстояние от торца трубы до основной плоскости; l1 - расстояние от торца трубы до начала резьбы; l2 - длина резьбы с полным профилем; l3 - длина резьбы с неполным профилем; l4 - длина сбега резьбы; l5 - длина уплотнительной конической проточки; 2tg φ - конусность

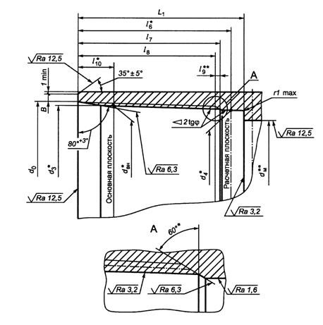
Рисунок 19 - Основные геометрические параметры резьбового соединения НКМ трубы

_______________

* Размер для справок.

** Размер не регламентируется.

В - ширина торцовой плоскости муфты; dBH - внутренний диаметр резьбы в основной плоскости; dM - внутренний диаметр; d3 - внутренний диаметр резьбы в плоскости торца; d0 - диаметр фаски в плоскости торца; d4 - диаметр уплотнительной конической расточки в расчетной плоскости; L1 - расстояние от торца до упорного уступа; l6 - расстояние от торца муфты до расчет ной плоскости; 17 - длина резьбового конуса муфты (от торца муфты до конца сбега резьбы); l8 - длина резьбы с полны профилем; l9 - длина сбега резьбы; l10 - расстояние от торца муфты до основной плоскости; 2tg φ - конусность резьбы r - радиус скругления

Примечание - Конец сбега резьбы муфты не должен выходить за пределы фаски, расположенной между резьбой и уплотнительной конической расточкой.

Рисунок 20 - Основные геометрические параметры резьбового соединения НКМ муфты

 


Таблица 15 - Основные геометрические параметры резьбового соединения НКМ трубы

В миллиметрах

Условный диаметр

Наружный диаметр трубы D*

Конусность 2tg φ

Внутренний диаметр резьбы в основной плоскости

dВН *

Наружный диаметр резьбы в плоскости торца трубы

d1 *

Диаметр уплотнительной конической проточки в плоскости торца трубы

d2*

Расстояние от торца до конца сбега резьбы L - 1

Расстояние от торца трубы до основной плоскости l*

Расстояние от торца до начала резьбы l1 - 1

Длина сбега резьбы 14, не более

Длина уплотнительной конической проточки l5 -1

Глубина проточки hr + 0,25

60

60,32

1:12

57,925

56,575

54,175

65

45

20

10

10

1,60

73

73,02

70,625

69,275

66,875

65

45

89

88,90

86,500

84,317

81,917

75

55

102

101,60

99,200

97,017

94,617

75

55

114

114,30

1:16

111,100

110,175

106,375

98

66

29

13

14

2,00

* Размер для справок.

Таблица 16 - Основные геометрические параметры резьбового соединения НКМ муфты

В миллиметрах

Условный диаметр трубы

Наружный диаметр трубы D*

Конусность 2tg φ

Внутренний диаметр резьбы в основной плоскости dВН *

Внутренний диаметр резьбы в плоскости торца d3*

Диаметр уплотнительной конической расточки в расчетной плоскости

d4*

Диаметр фаски в плоскости торца d0

+1,000

Расстояние от торца до упорного уступа L1 + 1,0

Расстояние от торца до расчетной плоскости l6

Длина резьбового конуса l7 -1

Длина резьбы с полным профилем l8, не менее

Расстояние от торца до основной плоскости l10

Ширина торцовой плоскости

B, не менее

Натяг при свинчивании трубы с муфтой вручную Ah ±P**

60

60,32

1:12

57,925

59,225

54,475

62,500

63,0

57

53

43

15,6

3,5

4,4 ±4,2

73

73,02

70,625

71,875

67,125

75,000

63,0

57

53

43

15,0

5,0

5,0 ±4,2

89

88,90

86,500

87,700

82,117

91,000

73,0

67

63

53

14,4

6,5

5,6 ±4,2

102

101,60

99,200

100,350

94,767

104,000

73,0

67

63

53

13,8

6,0

6,2 ±4,2

114

114,30

1:16

111,100

112,475

106,425

116,500

96,0

90

82

72

24,0

5,5

8,0 ±5,1

* Размер для справок.

** Значение шага резьбы, округленное до первого десятичного знака.


6.3.3 На расстоянии от торца трубы не менее (l - 8,5) мм для резьбы с шагом 4,233 мм и не менее (l - 10,0) мм для резьбы с шагом 5,080 мм не допускаются витки резьбы с черновинами.

6.3.4 Минимальная толщина стенки трубы под резьбой в плоскости торца трубы должна быть не менее 1,8 мм, кроме труб условным диаметром 73 и 60 мм толщиной стенки 5,5 мм, для которых толщина стенки трубы под резьбой в плоскости торца трубы должна быть не менее 1,5 и 1,2 мм соответственно.

Толщину стенки трубы под резьбой в плоскости торца трубы вычисляют по следующей формуле

tr = 0,875t - 0,5[(D + Δ) - d2],

(4)

где tr - толщина стенки трубы под резьбой в плоскости торца трубы, мм, округленная до 0,1 мм;

t - номинальная толщина стенки, мм;

D - номинальный наружный диаметр трубы, мм;

Δ - величина плюсового предельного отклонения наружного диаметра трубы, равная 0,8 мм для труб условным диаметром до 102 мм включительно и 0,9 мм для труб условным диаметром 114 мм;

d2 - диаметр уплотнительной конической проточки в плоскости торца трубы, мм.

Если расчетное значение tr менее или равно 1,8 мм, а для труб условными диаметрами 73 и 60 мм с толщиной стенки 5,5 мм соответственно менее или равно 1,5 и 1,2 мм, то минимальная толщина стенки трубы под резьбой в плоскости торца трубы должна быть не менее 1,8, 1,5 и 1,2 мм, соответственно.

Если расчетное значение tr более 1,8 мм, а для труб условными диаметрами 73 и 60 мм толщиной стенки 5,5 мм соответственно более 1,5 и 1,2 мм, то минимальная толщина стенки трубы под резьбой в плоскости торца трубы должна быть не менее расчетного значения.

6.3.5 Предельные отклонения конусности на всей длине уплотнительной конической проточки трубы не должны превышать ±0,03 мм, уплотнительной конической расточки муфты не должны превышать +0,06 мм.

6.3.6 Упорные торцы трубы и упорные уступы муфты должны быть плоскими и перпендикулярными к оси резьбы.

Предельное отклонение упорных элементов от перпендикулярности не должно превышать 0,06 мм. Предельное отклонение упорных элементов от плоскостности не должно превышать 0,06 мм.

6.3.7 Овальность резьбы муфты (разность диаметров резьбы муфты в одном сечении) не должна превышать:

- 0,100 мм - для муфт к трубам условным диаметром от 27 до 60 мм включительно;

- 0,130 мм - для муфт к трубам условным диаметром от 73 до 89 мм включительно;

- 0,150 мм - для муфт к трубам условным диаметром от 102 до 114 мм включительно.

6.3.8 Оси резьбы обоих концов муфты должны совпадать. Предельное отклонение от соосности резьбы в плоскости торца муфты не должно превышать 0,75 мм, предельное отклонение от соосности резьбы на расстоянии 1 м от середины муфты не должно превышать 3,00 мм.

6.3.9 Оси резьбы и уплотнительных элементов труб и муфт должны совпадать. Предельное отклонение от соосности в плоскости торца трубы или муфты не должно превышать 0,04 мм.

6.3.10 При свинчивании труб с муфтами вручную натяг Ah (расстояние от торца муфты до конца сбега резьбы на трубе) (рисунок 21) должен быть равен указанному в таблице 16.

Ah - натяг муфт с трубами при свинчивании вручную

Рисунок 21 - Схема свинчивания муфт и труб с резьбовым соединением НКМ

При механическом свинчивании трубы с муфтой должно быть обеспечено сопряжение упорного торца трубы и упорного уступа муфты по всему периметру стыка упорных поверхностей (рисунок 21).

7 Контроль резьбовых соединений

7.1 Порядок контроля

7.1.1 Контроль резьбовых соединений должен быть проведен изготовителем изделий с резьбовыми соединениями или предприятием, нарезающим резьбу.

Допускается контроль резьбовых соединений представителем заказчика.

7.1.2 Контроль резьбового соединения включает контроль качества поверхности, полноты нанесения покрытия, геометрических параметров резьбы и элементов резьбовых соединений, для которых установлены предельные отклонения, а также контроль натяга и сопряжения при свинчивании резьбовых соединений.

Контролю качества поверхности резьбы и элементов резьбовых соединений подвергают каждую трубу и каждую муфту партии.

Контролю шероховатости поверхности резьбы, упорных и уплотнительных элементов труб и муфт подвергают 1% изделий.

Контролю полноты нанесения покрытия подвергают каждую муфту.

Остальным видам контроля подвергают:

а) не менее 1% муфт - при контроле соосности резьбы муфты;

б) не менее 1% труб и муфт - при контроле соосности резьбы и уплотнительных элементов;

в) каждое резьбовое соединение - при контроле натяга трубы и муфты при свинчивании вручную (только при выполнении заказа на трубы с муфтами, свинченными вручную);

г) каждое резьбовое соединение - при контроле натяга трубы и муфты при механическом свинчивании;

д) каждое резьбовое соединение - при контроле сопряжения упорных поверхностей трубы и муфты при механическом свинчивании;

е) каждую трубу и муфту - при контроле натяга калибрами.

Контроль калибрами резьбы и уплотнительной конической расточки муфты допускается проводить до нанесения покрытия.

Контроль остальных геометрических параметров резьбы и элементов резьбовых соединений, для которых установлены предельные отклонения, проводят в объемах и с периодичностью, установленными в технологической документации изготовителя.

7.2 Контроль качества поверхности и геометрических параметров

7.2.1 Контроль качества поверхности резьбы, упорных и уплотнительных элементов резьбовых соединений труб и муфт проводят визуально без применения увеличительных приспособлений.

7.2.2 Шероховатость резьбы, упорных и уплотнительных элементов труб и муфт проверяют методом сравнения с применением образцов шероховатости поверхности по ГОСТ 9378.

7.2.3 Полноту нанесения цинкового или фосфатного покрытия на поверхность резьбы и уплотнительных конических расточек муфты контролируют визуально без применения увеличительных приспособлений.

7.2.4 Контроль геометрических параметров проводят с использованием универсальных или специальных средств измерений, обеспечивающих необходимую точность измерений, в соответствии с нормативными и техническими документами, утвержденными в установленном порядке.

При проведении контроля соблюдают следующие условия:

- перед контролем проверяемую поверхность тщательно очищают;

- контроль параметров резьбы и уплотнительной конической расточки муфты проводят перед нанесением или после удаления покрытия химическим способом;

- контроль проводят до механического свинчивания резьбового соединения, после развинчивания резьбового соединения проводить контроль не допускается;

- перед контролем средства измерений и изделия выдерживают при температуре, при которой проводят контроль, в течение времени, достаточного для выравнивания температуры.

7.2.5 Геометрические параметры измеряют в следующих положениях:

а) шаг резьбы - параллельно оси резьбы, приблизительно вдоль средней линии резьбы;

б) высоту профиля - в плоскости перпендикулярной к оси резьбы;

в) конусность резьбы - при измерении диаметров резьбы в плоскостях, перпендикулярных к оси резьбы;

г) углы наклона сторон профиля - в плоскости, перпендикулярной к оси резьбы;

д) длину резьбы и элементов резьбового соединения - параллельно оси резьбы;

е) толщину стенки под резьбой - в плоскости торца трубы во впадине первого витка резьбы со стороны торца трубы или по вершине первого витка с полным профилем;

ж) ширину торцовой плоскости обычной муфты - при измерении толщины стенки муфты в плоскости торца;

и) соосность резьбы концов муфты - в плоскости торца муфты и в плоскости конца стержня;

к) соосность резьбы и уплотнительных элементов - в плоскости торца трубы и муфты;

л) натяг - параллельно оси трубы и муфты;

м) сопряжение упорных поверхностей - по всему периметру стыка поверхностей.

7.2.6 Шаг резьбы измеряют на длине 25,4 мм и всей длине резьбы с полным профилем (суммарный шаг). При измерениях шага на длине, отличающейся от 25,4 мм, измеренные значения должны быть пересчитаны на длину 25,4 мм.

При контроле шага резьбы на длине 25,4 мм, высоты профиля и конусности наружной и внутренней резьбы измерения проводят на первом и последнем витках резьбы с полным профилем и продолжают от этих витков через интервал 25,4 мм для изделий с расстоянием между первым и последним полными витками, превышающим 25,4 мм; через интервал 12,7 мм для изделий с расстоянием между первым и последним полными витками 25,4 мм и менее. Конусность трапецеидальной резьбы контролируют на участке резьбы с неполным профилем.

При контроле шага резьбы на общей длине наружной и внутренней резьбы (суммарного шага) измерения проводят на участке между первым и последним полными витками длиной, равной наибольшему кратному 12,7 мм при четном числе витков на длине 25,4 мм или наибольшему кратному 25,4 мм при нечетном числе витков на длине 25,4 мм.

Измерительные наконечники приборов для измерения конусности и шага закругленной треугольной резьбы должны иметь сферическую форму и контактировать с боковыми сторонами резьбы приблизительно по средней линии резьбы (по среднему конусу). Диаметры наконечников должны соответствовать указанным в таблице 17.

Таблица 17

В миллиметрах

Измеряемый параметр закругленной треугольной резьбы

Шаг резьбы

Число витков на 25,4 мм

Диаметр наконечника

Номинальное значение

Предельное отклонение

Шаг резьбы и конусность

3,175

8

1,829

±0,05

2,540

10

1,448

Измерительные наконечники приборов для измерения высоты профиля закругленной треугольной резьбы должны иметь коническую форму (с углом конуса не более 50°) и не должны контактировать с боковыми сторонами профиля. Диаметры наконечников должны соответствовать указанным в таблице 17.

Измерительные наконечники приборов для измерения шага трапецеидальной резьбы должны иметь сферическую форму и одновременно контактировать с впадиной резьбы и боковой стороной профиля, имеющей угол наклона 3°. Диаметры наконечников должны соответствовать указанным в таблице 18.

Таблица 18

В миллиметрах

Измеряемый параметр трапецеидальной резьбы

Диаметр сферического наконечника

Номинальное значение

Предельное отклонение

Конусность

2,286

±0,05

Шаг

1,575

Измерительные наконечники приборов для измерения конусности трапецеидальной резьбы должны иметь сферическую форму и контактировать с впадинами резьбы. Диаметр наконечников должен соответствовать указанному в таблице 18.

Измерительные наконечники приборов для измерения высоты профиля трапецеидальной резьбы должны иметь коническую (с углом конуса не более 50°) или сферическую форму и не должны контактировать с боковыми сторонами профиля. Диаметр наконечников не должен превышать 2,337 мм.

7.2.7 Конусность уплотнительных элементов трубы и муфты контролируют при помощи специальных средств измерений или калибрами в соответствии с 8.2.

7.2.8 Углы наклона сторон профиля контролируют специальными средствами измерений непосредственно по профилю резьбы или слепку резьбы. Слепок должен быть сделан из стабильного материала, не обладающего усадкой.

7.2.9 Соосность резьбы концов муфты у торца муфты и на расстоянии 1 м от середины муфты проверяют с использованием специального приспособления и двух механически обработанных цилиндрических стержней длиной не менее 250 мм с резьбой.

Конец муфты свинчивают с одним из стержней, точно выверенным и центрированным в специальном приспособлении. В другой конец муфты ввинчивают другой стержень. Вращая муфту, определяют удвоенное отклонение соосности стержня у торца муфты и конца стержня. Отклонение от соосности у конца стержня пересчитывают в отклонение соосности на расстоянии 1 м от середины муфты с учетом длины стержня (расстояния от центра муфты до конца стержня).

7.2.10 Соосность резьбы и уплотнительных элементов труб и муфт обеспечивают технологией нарезания резьбы и выполнения уплотнительных элементов.

7.2.11 Сопряжение упорных поверхностей трубы и муфты при механическом свинчивании проверяют пластинчатым щупом толщиной 0,1 мм. Щуп не должен проходить между упорными поверхностями по всему периметру стыка.

7.2.12 Допускается применение других средств измерений и методов, обеспечивающих необходимую точность измерений.

7.2.13 Остальные геометрические параметры проверяют универсальными или специальными средствами измерений и методами, обеспечивающими необходимую точность измерений.

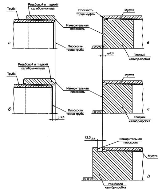
7.3 Контроль натяга калибрами

7.3.1 Общие положения

Контроль натяга резьбы трубы и муфты контролируют с использованием резьбовых калибров с полным или неполным профилем или гладких калибров.

Контроль натяга резьбы труб и муфт для резьбовых соединений ОТТМ и ОТТГ проводят гладкими и резьбовыми калибрами-кольцами и калибрами-пробками по ГОСТ 25575.

Контроль натяга резьбы труб и муфт для резьбовых соединений НКТ и НКТВ проводят резьбовыми калибрами-кольцами и калибрами-пробками по ГОСТ 10654.

Контроль натяга резьбы труб и муфт для резьбового соединения НКМ проводят гладкими и резьбовыми калибрами-кольцами и калибрами-пробками по ГОСТ 25576.

Контроль натяга уплотнительных конических поверхностей труб и муфт для резьбовых соединений ОТТГ и НКМ проводят гладкими калибрами-кольцами и калибрами-пробками по ГОСТ 25575 и ГОСТ 25576, соответственно.

При проведении контроля соблюдают следующие условия:

- перед контролем поверхность проверяемых изделий тщательно очищают;

- контроль натяга резьбы и уплотнительной конической расточки муфты проводят перед нанесением или после удаления покрытия химическим способом;

- контроль проводят до механического свинчивания резьбового соединения, после развинчивания резьбового соединения проводить контроль не допускается;

- перед контролем калибры и изделия выдерживают при температуре, при которой проводят контроль, в течение времени, достаточного для выравнивания температуры.

7.3.2 Контроль резьбового соединения ОТТМ

Контроль резьбового соединения ОТТМ калибрами осуществляют в соответствии со схемой, показанной на рисунке 22.

Натяг резьбы трубы, определяемый как расстояние между плоскостью торца трубы и измерительной плоскостью резьбового и гладкого калибров-колец, должен быть равен (0+2,5) мм (рисунок 22 а и б).

Натяг резьбы муфты, определяемый как расстояние между плоскостью торца муфты и измерительной плоскостью гладкого калибра-пробки, должен быть равен (0+2,5) мм (рисунок 22 в и г).

Натяг резьбы муфты, определяемый как расстояние между плоскостью торца муфты и измерительной плоскостью резьбового калибра-пробки, должен быть равен (12,0-2,5) мм (рисунок 22 д).

Рисунок 22 - Схема контроля калибрами резьбового соединения ОТТМ

7.3.3 Контроль резьбового соединения ОТТГ

Контроль резьбового соединения ОТТГ калибрами осуществляют в соответствии со схемой, показанной на рисунке 23.

l5 - расстояние от торца муфты до конца сбега резьбы

Рисунок 23 - Схема контроля калибрами резьбового соединения ОТТГ

Натяг резьбы трубы, определяемый как расстояние между плоскостью торца трубы и измерительной плоскостью резьбового или гладкого калибров-колец, должен быть равен (24,0-2,5) мм (рисунок 23 а).

Натяг уплотнительной конической проточки трубы, определяемый как расстояние между плоскостью торца трубы и измерительной плоскостью гладкого калибра-кольца, должен быть равен (0+1,6) мм (рисунок 23 б и в).

Натяг резьбы муфты, определяемый как расстояние между плоскостью торца муфты и измерительной плоскостью резьбового калибра-пробки, должен быть равен (8,0-2,5) мм (рисунок 23 г).

Натяг резьбы муфты, определяемый как расстояние между плоскостью торца муфты и измерительной плоскостью гладкого калибра-пробки, должен быть равен (6,5-2,5) мм (рисунок 23 д).

Натяг уплотнительной конической расточки муфты, определяемый как расстояние между плоскостью торца муфты и измерительной плоскостью резьбового калибра-пробки, должен быть равен длине резьбового конуса муфты () мм, где l5 - расстояние от торца муфты до конца сбега резьбы (таблица 6 и рисунок 23 е).

7.3.4 Контроль резьбовых соединений НКТ и НКТВ

Контроль калибрами резьбовых соединений НКТ и НКТВ осуществляют в соответствии со схемой, показанной на рисунке 24.

Ah - натяг трубы с муфтой при свинчивании вручную; Р - шаг резьбы

Рисунок 24 - Схема контроля калибрами резьбовых соединений НКТ и НКТВ

Натяг резьбы трубы, определяемый как расстояние между плоскостью торца трубы и измерительной плоскостью резьбового калибра-кольца, должен быть равен (2,5 ±Р) мм, где Р - значение шага резьбы, округленное до первого десятичного знака (рисунок 24 а и б).

Натяг резьбы муфты, определяемый как расстояние между плоскостью торца муфты и измерительной плоскостью резьбового калибра-пробки, должен быть равен (Аh ±Р) мм, где Аh - натяг трубы с муфтой при свинчивании вручную (таблицы 12 и 14), Р - значение шага резьбы, округленное до первого десятичного знака (рисунок 24 в и г).

7.3.5 Контроль резьбового соединения НКМ

Контроль калибрами резьбового соединения ЫКМ осуществляют в соответствии со схемой, показанной на рисунке 25.

А1 - натяг резьбы трубы по резьбовому или гладкому калибрам-кольцам; А2 - натяг уплотнительной конической проточки трубы по гладкому калибру-кольцу; А3 - натяг резьбы муфты по резьбовому калибру-пробке; А4 - натяг резьбы муфты по гладкому калибру-пробке; А5 - натяг уплотнительной конической расточки муфты по гладкому калибру-пробке

Рисунок 25 - Схема контроля калибрами резьбового соединения НКМ

Натяг резьбы трубы А1, определяемый как расстояние между плоскостью торца трубы и измерительной плоскостью калибра (рисунок 25 а), должен быть равен:

а) (20-1,2) мм - при контроле резьбовым калибром-кольцом труб условным диаметром от 60 до 102 мм включительно;

б) (20-2,4) мм - при контроле гладким калибром-кольцом труб условным диаметром от 60 до 102 мм включительно;

в) (20-2,5) мм - при контроле гладким и резьбовым калибрами-кольцами труб условным диаметром 114 мм.

Натяг уплотнительной конической проточки трубы А2, определяемый как расстояние между плоскостью торца трубы и измерительной плоскостью гладкого калибра-кольца (рисунок 25 б и в), должен быть равен:

а) (0+1,2) - при контроле труб условным диаметром от 60 до 102 мм включительно;

б) (0-1,6) - при контроле труб условным диаметром 114 мм.

Натяг резьбы муфты A3, определяемый как расстояние между плоскостью торца муфты и измерительной плоскостью резьбового калибра-пробки (рисунок 25 г), должен быть равен:

а) (5,0-1,2) мм - при контроле муфт к трубам условным диаметром от 60 до 102 мм включительно;

б) (6,0-2,5) мм - при контроле муфт к трубам условным диаметром 114 мм.

Натяг резьбы муфты А4, определяемый как расстояние между плоскостью торца муфты и измерительной плоскостью гладкого калибра-пробки (рисунок 25 д), должен быть равен:

в) (0-1,2) мм - при контроле муфт к трубам условным диаметром от 60 до 102 мм включительно;

г) (8,5-2,5) мм - при контроле муфт к трубам условным диаметром 114 мм.

Натяг уплотнительной конической расточки муфты А5, определяемый как расстояние между плоскостью торца муфты и измерительной плоскостью гладкого калибра-пробки (рисунок 25 е), должен быть равен:

а) (45-1,2) мм - при контроле муфт к трубам условным диаметром 60 и 73 мм;

б) (55-1,2) мм - при контроле муфт к трубам условным диаметром 89 и 102 мм;

в) () мм - при контроле муфт к трубам условным диаметром 114 мм.

Ключевые слова: насосно-компрессорные трубы, обсадные трубы, муфты, соединения, треугольная резьба, трапецеидальная резьба, высокогерметичное соединение, узел уплотнения, требования, приемка, контроль

 

 




ГОСТЫ, СТРОИТЕЛЬНЫЕ и ТЕХНИЧЕСКИЕ НОРМАТИВЫ.
Некоммерческая онлайн система, содержащая все Российские Госты, национальные Стандарты и нормативы.
В Системе содержится более 150000 файлов нормативно-технической документации, действующей на территории РФ.
Система предназначена для широкого круга инженерно-технических специалистов.

Рейтинг@Mail.ru Яндекс цитирования

Copyright © www.gostrf.com, 2008 - 2026