Крупнейшая бесплатная информационно-справочная система онлайн доступа к полному собранию технических нормативно-правовых актов РФ. Огромная база технических нормативов (более 150 тысяч документов) и полное собрание национальных стандартов, аутентичное официальной базе Госстандарта. GOSTRF.com - это более 1 Терабайта бесплатной технической информации для всех пользователей интернета. Все электронные копии представленных здесь документов могут распространяться без каких-либо ограничений. Поощряется распространение информации с этого сайта на любых других ресурсах. Каждый человек имеет право на неограниченный доступ к этим документам! Каждый человек имеет право на знание требований, изложенных в данных нормативно-правовых актах!

  


 

ОСТ 26-2005-83

ОТРАСЛЕВОЙ СТАНДАРТ

ЛЮКИ С ФЛАНЦАМИ, ПРИВАРНЫМИ ВСТЫК,
С УПЛОТНИТЕЛЬНОЙ ПОВЕРХНОСТЬЮ «ВЫСТУП-ВПАДИНА»
СТАЛЬНЫХ СВАРНЫХ СОСУДОВ И АППАРАТОВ

Конструкция

Предисловие

1. РАЗРАБОТАН Центральным конструкторским бюро нефтеаппаратуры (ЦКБН)

2. УТВЕРЖДЕН И ВВЕДЕН В ДЕЙСТВИЕ письмом министерства химического и нефтяного машиностроения от 23 мая 1983 г. 11-10-4/740

3. ЗАРЕГИСТРИРОВАН ВНИИКИ ГР 8297546 от 16 сентября 1983 г.

4. ВЗАМЕН ОСТ 26-2005-77

5. ПЕРЕИЗДАНИЕ 1994 г., июнь С ИЗМЕНЕНИЯМИ № 1; 2; 3; 4, 5 (1 - ИУС № 3-1987 г., 2 - ИУС № 6-1989 г., 3 - ИУС № 12-1990 г., 4 - ИУС № 7; 8-1992 г.)

6. СРОК ПЕРВОЙ ПРОВЕРКИ - 1997 г.

периодичность проверки - 5 лет.

Содержание

отраслевой стандарт

ЛЮКИ С ФЛАНЦАМИ, ПРИВАРНЫМИ ВСТЫК,
С УПЛОТНИТЕЛЬНОЙ ПОВЕРХНОСТЬЮ «ВЫСТУП-ВПАДИНА»
СТАЛЬНЫХ СВАРНЫХ СОСУДОВ И АППАРАТОВ

Конструкция

Дата введения 1994-01-01

1. Область применения

Настоящий стандарт распространяется на люки с фланцами приварными встык, с уплотнительной поверхностью «выступ-впадина» стальных сварных сосудов и аппаратов на условное давление от 1,6 до 4,0 МПа (от 16 до 40 кгс/см2) и температуру от минус 70 до 540°С.

2. Нормативные ссылки

В настоящем стандарте использованы ссылки на следующие стандарты:

ГОСТ 28759.3-90 Фланцы сосудов и аппаратов стальные приварные встык. Конструкция и размеры.

ГОСТ 28759.6-90 Прокладки из неметаллических материалов. Конструкция и размеры. Технические требования.

ГОСТ 28759.7-90 Прокладки асбометаллические. Конструкция и размеры. Технические требования.

ОСТ 26-2002-83 Люки с плоскими крышками стальных сварных сосудов и аппаратов. Конструкция.

ОСТ 26-2008-83 Крышки плоские люков стальных сварных сосудов и аппаратов. Конструкция.

ОСТ 26-2010-83 Обечайки люков стальных сварных сосудов и аппаратов. Конструкция.

ОСТ 26-2011-83 Люки стальных сварных сосудов и аппаратов. Общие технические требования.

ОСТ 26-2040-96 Шпильки для фланцевых соединений. Конструкция и размеры.

ОСТ 26-2041-96 Гайки для фланцевых соединений. Конструкция и размеры.

(Измененная редакция. Изм. № 5)

3. Конструкция и основные размеры

3.1. Стандарт устанавливает конструкции люков следующих исполнений:

1 - люки с обечайками по рисунку 1;

2 - люки с обечайками по рисунку 2.

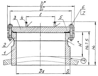
3.2. Конструкция и размеры люков исполнения 1 должны соответствовать указанным на рисунке 1 и в таблице 1.

1. Обечайка исполн. 1 по ОСТ 26-2010; 2. Фланец исполн. 1 по ГОСТ 28759.3; 3. Крышка исполн. 3 по ОСТ 26- 2008; 4. Ручка по ОСТ 26- 2002; 5. Прокладка по ГОСТ 28759.6, ГОСТ 28759.7; 6. Шпилька по ОСТ 26- 2040; 7. Гайка по ОСТ 25-2041

Рисунок 1

3.3. Конструкция и размеры люков исполнения 2 должны соответствовать указанным на рисунке 2 и в таблице 1.

1. Обечайка исполн. 2 по ОСТ 26-2010; 2. Фланец исполн. 1 по ГОСТ 28759.3; 3. Крышка исполн. 3 по ОСТ 26-2008; 4. Ручка по ОСТ 26-2002; 5. Прокладка по ГОСТ 28759.6, ГОСТ 28759.7; 6. Шпилька по ОСТ 26-2040; 7. Гайка по ОСТ 26-2041

Рисунок 2

Таблица 1

Размеры в миллиметрах

Давление условное

Диаметр внутренний люка Dв

D*

H*

H1

H2

l

S

МПа

кгс/см2

исп. 1

исп. 2

1,6

16

400

535

495

 

375

270

250

10

-

2,5

25

200

385

275

10

-

16

-

220

405

295

24

-

250

435

325

32

-

280

465

355

-

40

4,0

40

590

530

220

465

345

12

-

20

-

30

-

330

445

425

-

45

-

50

1,6

16

450

590

550

220

405

300

10

-

2,5

25

420

305

10

-

16

-

240

440

335

26

-

280

480

365

-

36

310

510

395

-

45

4,0

40

640

580

250

470

345

12

-

20

-

270

490

365

28

-

310

530

405

-

36

340

560

435

-

45

370

590

465

-

55

1,6

16

500

640

600

220

430

320

300

10

-

2,5

25

440

10

-

16

-

240

470

340

26

-

300

520

400

-

36

330

550

430

-

45

4,0

40

695

635

240

575

445

12

-

20

-

340

575

445

-

30

350

585

455

-

40

370

605

475

-

50

380

615

485

-

55

1,6

16

600

740

700

220

465

350

10

-

2,5

25

480

355

12

-

16

-

320

580

455

-

30

340

600

475

-

40

360

620

495

-

50

4,0

40

795

735

260

540

405

14

-

20

-

310

590

455

32

-

370

650

515

-

45

420

700

565

-

60

430

710

575

-

65

* Для справок

Пример условного обозначения люка исполнения 1 диаметром Dв = 450 мм, на условное давление 4 МПа с размером S = 12 мм, основной шифр материального исполнения 2, дополнительный шифр материального исполнения люка 2, шифр материального исполнения крепежных деталей 1:

Люк 1-450-4-12-2-2-1 ОСТ 26-2005-83.

4. Технические требования и маркировка по ОСТ 26-2011.

5. Масса люков указана в справочном приложении А.

Приложение А
(справочное)

Таблица А.1

Масса люков

Давление условное

Диаметр внутренний люка, мм

Толщина стенки обечайки, мм

Масса, кг

МПа

кгс/см2

1,6

16

400

10

101

2,5

25

10

114

16

126

24

147

32

175

40

199

4,0

40

12

198

20

218

30

243

45

310

50

324

1,6

16

450

10

122

2,5

25

10

148

16

163

26

195

36

225

45

275

4,0

40

12

242

20

265

28

293

36

326

45

368

55

420

1,6

16

500

10

152

2,5

25

10

182

16

200

26

231

36

247

45

279

4,0

40

12

308

20

343

30

376

40

420

50

471

55

498

1,6

16

600

10

209

2,5

25

12

265

16

281

30

373

40

437

50

507

4,0

40

14

429

20

456

32

533

45

628

60

758

65

798

Примечание - Масса люков подсчитана при плотности стали 7,85 г/см3.

 

 




ГОСТЫ, СТРОИТЕЛЬНЫЕ и ТЕХНИЧЕСКИЕ НОРМАТИВЫ.
Некоммерческая онлайн система, содержащая все Российские Госты, национальные Стандарты и нормативы.
В Системе содержится более 150000 файлов нормативно-технической документации, действующей на территории РФ.
Система предназначена для широкого круга инженерно-технических специалистов.

Рейтинг@Mail.ru Яндекс цитирования

Copyright © www.gostrf.com, 2008 - 2026