Крупнейшая бесплатная информационно-справочная система онлайн доступа к полному собранию технических нормативно-правовых актов РФ. Огромная база технических нормативов (более 150 тысяч документов) и полное собрание национальных стандартов, аутентичное официальной базе Госстандарта. GOSTRF.com - это более 1 Терабайта бесплатной технической информации для всех пользователей интернета. Все электронные копии представленных здесь документов могут распространяться без каких-либо ограничений. Поощряется распространение информации с этого сайта на любых других ресурсах. Каждый человек имеет право на неограниченный доступ к этим документам! Каждый человек имеет право на знание требований, изложенных в данных нормативно-правовых актах!

  


 

УТВЕРЖДАЮ

СОГЛАСОВАНО

Зам. Директора

ЦНИИСК им. В.А. Кучеренко

Филиал ФГУП НИЦ «Строительство»

_____________________ О.И. Пономарев

«___» _______________ 2009 г.

Генеральный директор

ООО «СТОД»

 

________________________ Я.М. Барский

«___» _______________ 2009 г.

РЕКОМЕНДАЦИИ

ПО РАСЧЕТНЫМ СОПРОТИВЛЕНИЯМ И МОДУЛЯМ УПРУГОСТИ
МНОГОСЛОЙНОГО КЛЕЕНОГО ИЗ ШПОНА МАТЕРИАЛА
ULTRALAM

РАЗРАБОТАНЫ

ЦНИИСК им. В.А. Кучеренко

Зав. лабораторией

несущих деревянных конструкций

_______________ к.т.н. Погорельцев А.А.

Филиал ООО «СТОД» в г. Торжок -

завод «Талион Терра»

Главный технолог

__________________ Токарева Т.В.

Москва 2009 г.

Рекомендовано к изданию решением секции деревянные конструкции научно-технического совета ЦНИИСК им. В.А. Кучеренко.

Рекомендации по расчетным характеристикам плит и брусьев Ultralam.

Содержат основные характеристики многослойных плит и брусьев Ultralam из шпона на фенольном связующем, необходимые при расчете и конструировании несущих и ограждающих конструкций с применением указанного материала.

Для работников проектно-конструкторских организаций, научно-исследовательских организаций, а также для работников лесной и деревообрабатывающей промышленности.

ПРЕДИСЛОВИЕ

Для использования многослойного клееного из шпона материала Ultralam в качестве конструкционного материала в строительстве необходимы комплексные сведения об их прочностных и деформативных характеристиках при основных видах напряженного состояния.

ЦНИИСК совместно с ООО «СТОД» и заводом «Талион Терра» (г. Торжок) проведены экспериментальные исследования прочности и деформаций многослойного клееного из шпона материала Ultralam, проведена статистическая обработка результатов массовых заводских испытаний и установлены расчетные сопротивления и модуль упругости рассматриваемого материала.

Настоящие Рекомендации разработаны лабораторией деревянных конструкций ЦНИИСК (д-р техн. наук, профессор, засл. деят. науки Л.М. Ковальчук, канд. техн. наук А.А. Погорельцев, науч. сотр. Д.С. Солоницын, А.Н. Пьянов) совместно с заводом «Талион Терра» (г. Торжок) (глав. технолог Т.В. Токарева).

Замечания и предложения по Рекомендациям просьба направлять по адресу: 109428, Москва, 2-я Институтская, 6, ЦНИИСК им. В.А. Кучеренко, лаборатория деревянных конструкций. Тел./факс: (499) 174-79-13, e-mail: lmk3@rambler.ru.

1. ОБЩИЕ ПОЛОЖЕНИЯ

1.1. Настоящие Рекомендации распространяются на все типы плит и брусьев Ultralam (Rs, R, X, I), производимых на заводе «Талион Терра» (г. Торжок) (ТУ 5366-052-6915009120-2008, ТУ 5512-053-6915009120-2008).

1.2. В Рекомендации включены расчетные R, нормативные RH и временные Rвp сопротивления материала Ultralam при изгибе, растяжении, сжатии и скалывании, модуль упругости Е.

1.3. Настоящие Рекомендации могут быть использованы при проектировании несущих и ограждающих конструкций для жилых, общественных и производственных зданий и сооружений.

1.4. Многослойный клееный из шпона материал Ultralam рекомендуется применять в несущих (балки, фермы, рамы, каркасы панелей стен и перегородок и т.д.) и ограждающих (обшивки в конструкциях стен, плит покрытия и перекрытия) конструкциях, а также при производстве дверей и мебели при положительном заключении о допустимых нормах выделения токсичных веществ в помещениях.

1.5. Многослойный клееный из шпона материал Ultralam рекомендуется применять в несущих и ограждающих конструкциях зданий и сооружений с относительной влажностью воздуха внутри помещений не более 60% без обеспечения конструктивных и химических методов защиты.

1.6. Расчет несущих и ограждающих конструкций с использованием многослойного клееного из шпона материала Ultralam должен проводиться в соответствии с СТО 36554501-002-2006 и СТО 36554501-020-2009.

2. РЕКОМЕНДАЦИИ ПО РАСЧЕТНЫМ СОПРОТИВЛЕНИЯМ

2.1 Расчетные сопротивления многослойного клееного из шпона материала Ultralam должны приниматься в соответствии с табл. 1 настоящих Рекомендаций.

Таблица 1

Расчетное сопротивление, МПа

Тип Ultralam

Rs

R

X

I

сжатию

вдоль волокон

25,7

23,6

19,8

22,1

поперек волокон (ребро)

4,3

3,5

6,8

3,8

поперек волокон (пласть)

1,9

1,7

1,9

1,7

растяжению

вдоль волокон

26,9

22,5

17,5

16,9

поперек волокон

-

0,7

-

-

изгибу

вдоль волокон (ребро)

27,3

26,8

19,6

23,7

вдоль волокон (пласть)

35,5

27,8

24,1

22,9

скалыванию

вдоль волокон

-

2,6

2,6

-

поперек волокон

-

1,1

1,1

-

2.2 При эксплуатации строительных конструкций, подверженных влиянию различных факторов (температурно-влажностные условия, повышенная температура, воздействие постоянной и временной длительной нагрузки), величины расчетных сопротивлений умножаются на коэффициенты, принимаемые в соответствии с СТО 36554501-002-2006 и СТО 36554501-020-2009.

3. РЕКОМЕНДАЦИИ ПО МОДУЛЯМ УПРУГОСТИ

3.1. Величины модулей упругости вдоль волокон многослойного клееного из шпона материала Ultralam различных типов, принимаемые для конструкций 1 класса эксплуатации (Приложение 1), защищенных от нагрева, увлажнения, находящихся под действием постоянной и временной нагрузок, приведены в табл. 2.

Таблица 2

Модуль

упругости Е,

МПа

Тип Ultralam

Rs

R

X

I

15600

14000

10600

12700

4. РЕКОМЕНДАЦИИ ПО ВРЕМЕННЫМ И НОРМАТИВНЫМ СОПРОТИВЛЕНИЯМ

4.1. Временные и нормативные сопротивления многослойного клееного из шпона материала Ultralam и соответствующие им коэффициенты изменчивости приведены в табл. 3.

Таблица 3

Временные и нормативные сопротивления, МПа, и коэффициенты изменчивости

Типы Ultralam

Rs

R

X

I

Rвp

Rh

Cv

Rвp

Rh

Cv

Rвp

Rh

Cv

Rвp

Rh

Cv

сжатие

вдоль волокон

56,6

38,9

0,09

50,5

35,8

0,12

41,5

30,1

0,09

48,4

33,4

0,12

поперек волокон (ребро)

9,2

6,5

0,08

9,0

5,3

0,2

18,5

10,3

0,21

8,8

5,8

0,14

поперек волокон (пласть)

4,1

2,8

0,08

4,0

2,6

0,15

4,3

2,9

0,13

4,2

2,6

0,17

растяжение

вдоль волокон

49,3

40,8

0,08

44,4

34,1

0,13

39,9

26,5

0,19

40,4

25,5

0,21

поперек волокон

-

-

-

1,38

1,0

0,14

-

-

-

-

-

-

изгиб

вдоль волокон (ребро)

64,3

41,4

0,12

54,4

40,7

0,09

45,7

29,6

0,15

49,8

36,0

0,09

вдоль волокон (пласть)

81,2

53,9

0,11

65,7

42,1

0,16

55,0

36,5

0,14

59,4

34,7

0,19

скалывание

вдоль волокон

-

-

-

6,2

3,9

0,22

6,2

3,9

0,22

-

-

-

поперек волокон

-

-

-

2,5

1,7

0,19

2,5

1,7

0,19

-

-

-

Приложение 1

Характеристика условий эксплуатации конструкций

Класс эксплуатации

Условия эксплуатации

Рекомендации по применению

Относительная влажность воздуха, %

Температура воздуха, °С

1

40-60

20±5

без обеспечения конструктивных и химических методов защиты

2

60-80

20±5

только при обеспечении конструктивных и химических методов защиты

3

выше 80

выше +25 и
не ниже -30

Приложение 2

Обоснование к назначению расчетных сопротивлений и модуля упругости многослойного клееного из шпона материала Ultralam

Пределы прочности многослойного клееного из шпона материала Ultralam определялись для всех основных видов напряженного состояния - растяжения, сжатия, изгиба и скалывания. Модули упругости устанавливали по результатам испытаний на изгиб.

В соответствии с программой исследований образцы из многослойного клееного из шпона материала Ultralam были изготовлены на заводе «Талион Терра» (г. Торжок). Размеры образцов для кратковременных испытаний и их число приведены в табл. 1 и на рис. 1 настоящего приложения.

Таблица 1

Вид испытания

Размеры образцов, мм

Число образцов, шт.

Тип Ultralam

Rs

R

X

I

сжатие

вдоль волокон

45×45×135

75×75×135

32

277

66

60

поперек волокон (ребро)

63×63×135

90×90×135

32

330

66

66

поперек волокон (пласть)

45×85×135

75×85×135

32

240

66

66

растяжение

вдоль волокон

36×50×1100

63×50×1100

32

633

138

174

поперек волокон

45×50×1100

75×50×1100

-

100

-

-

изгиб

вдоль волокон (ребро)

45×100×1900

75×100×1900

32

726

138

204

вдоль волокон (пласть)

30×65×930

45×65×1395

32

761

138

228

скалывание

вдоль волокон

50×50×90

45×45×75

-

100

100

-

поперек волокон

50×50×90

-

50

50

-

Испытания по определению прочностных и деформативных характеристик материала при кратковременном действии нагрузки были проведены на машинах системы «Zwick Roell» со скоростью нагружения 0,6±0,3 мм/мин. Центрирование образцов при действии растягивающей нагрузки обеспечивалось конструкцией захватов разрывной машины, при действии сжимающей - приспособлением с опорой. Испытания на изгиб при определении предела прочности и модуля упругости - в третях пролета.

Рис. 1. Типоразмеры образцов, принятых при испытании материала.

а - на растяжение; б, в - на сжатие; г-на скалывание; д, е - на изгиб

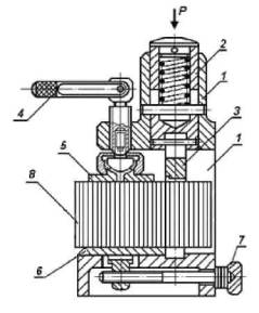
Испытания по определению предела прочности на скалывание проводили с использованием специального приспособления по ГОСТ 25884-82 (рис. 2).

Рис. 2. Приспособление для испытания на скалывание

1 - корпус; 2 - пуансон; 3 - нож пуансона; 4 - рукоятка; 5 - прижимная опора; 6 - передвижная опорная площадка; 7 - винт; 8 - образец

За пределы прочности и кратковременные модули упругости для каждой группы образцов принимали среднее арифметическое результатов испытаний. Результаты кратковременных испытаний обрабатывались методом математической статистики, включающим получение основных статистических показателей: среднего арифметического М, среднего квадратичного отклонения от среднего арифметического о, вариационного коэффициента V, средней ошибки среднего арифметического т, показателя точности Р.

Результаты статистической обработки пределов прочности многослойного клееного из шпона материала Ultralam приведены в табл. 2.

Пределы прочности и модули упругости образцов из многослойного материала Ultralam, испытанных при различной влажности, были приведены к 12%-ной. Пределы прочности пересчитывались по формуле:

где a - коэффициент, равный 0,04 при сжатии и изгибе, 0,01 - при растяжении, 0,03 - при скалывании.

Модули упругости пересчитывали по формуле:

где a - коэффициент, равный 0,01 при изгибе.

Нормативные сопротивления исследуемого материала RH определяли по величинам временных сопротивлений Rвp из выражения:

где СV - коэффициент изменчивости, принятый по результатам испытаний (табл. 2).

 


Таблица 2

Вид испытания

Типы Ultralam

Rs

R

X

I

М

s

V

m

Р

М

s

V

М

Р

М

s

V

m

Р

М

s

V

m

Р

сжатие

вдоль волокон

56,6

4,92

8,70

0,87

1,54

50,54

5,85

11,58

0,35

0,70

41,49

3,85

9,29

0,47

1,14

48,44

5,79

11,95

0,75

1,54

поперек волокон (ребро)

9,2

0,71

7,73

0,13

1,37

8,98

1,75

19,48

0,10

1,09

18,53

3,94

21,28

0,49

2,62

8,84

1,25

14,13

0,15

1,74

поперек волокон (пласть)

4,1

0,33

8,04

0,06

1,42

3,97

0,60

15,08

0,04

0,97

4,32

0,55

12,79

0,07

1,57

4,22

0,71

16,87

0,09

2,08

растяжение

вдоль волокон

49,3

3,84

7,77

0,68

1,37

44,41

5,61

12,64

0,22

0,50

39,92

7,51

18,82

0,64

1,60

40,42

8,45

20,91

0,64

1,59

поперек волокон

-

-

-

-

-

1,38

0,19

13,52

0,02

1,31

-

-

-

-

-

-

-

-

-

-

изгиб

вдоль волокон (ребро)

64,3

7,18

11,17

1,27

1,98

54,36

4,81

8,85

0,18

0,33

45,67

6,69

14,64

0,57

1,25

49,79

4,84

9,72

0,34

0,68

вдоль волокон (пласть)

81,2

8,18

10,07

1,45

1,78

65,70

10,71

16,31

0,39

0,59

54,99

7,51

13,66

0,64

1,16

59,35

11,50

19,37

0,76

1,28

скалывание

вдоль волокон

-

-

-

-

-

6,21

1,39

22,37

0,14

2,28

6,21

1,39

22,37

0,14

2,28

-

-

-

-

-

поперек волокон

-

-

-

-

-

2,53

0,48

19,14

0,07

2,71

2,53

0,48

19,14

0,07

2,71

-

-

-

-

-


Расчетные сопротивления R исследуемого материала определены по величине нормативного сопротивления RH, умноженного на коэффициент длительной прочности K:

R = RH · K

Известные трудности при назначении расчетного сопротивления вновь исследуемого материала связаны с определением коэффициента длительной прочности K. На данной стадии исследовательской работы принимаем коэффициент длительного сопротивления равный 0,66.

СОДЕРЖАНИЕ

 

 




ГОСТЫ, СТРОИТЕЛЬНЫЕ и ТЕХНИЧЕСКИЕ НОРМАТИВЫ.
Некоммерческая онлайн система, содержащая все Российские Госты, национальные Стандарты и нормативы.
В Системе содержится более 150000 файлов нормативно-технической документации, действующей на территории РФ.
Система предназначена для широкого круга инженерно-технических специалистов.

Рейтинг@Mail.ru Яндекс цитирования

Copyright © www.gostrf.com, 2008 - 2026