Крупнейшая бесплатная информационно-справочная система онлайн доступа к полному собранию технических нормативно-правовых актов РФ. Огромная база технических нормативов (более 150 тысяч документов) и полное собрание национальных стандартов, аутентичное официальной базе Госстандарта. GOSTRF.com - это более 1 Терабайта бесплатной технической информации для всех пользователей интернета. Все электронные копии представленных здесь документов могут распространяться без каких-либо ограничений. Поощряется распространение информации с этого сайта на любых других ресурсах. Каждый человек имеет право на неограниченный доступ к этим документам! Каждый человек имеет право на знание требований, изложенных в данных нормативно-правовых актах!

  


 

ФЕДЕРАЛЬНОЕ АГЕНТСТВО
ПО ТЕХНИЧЕСКОМУ РЕГУЛИРОВАНИЮ И МЕТРОЛОГИИ

НАЦИОНАЛЬНЫЙ
СТАНДАРТ
РОССИЙСКОЙ
ФЕДЕРАЦИИ

ГОСТ Р
53424-
2009
(
ISO/PAS 17712:
2006)

УСТРОЙСТВА ПЛОМБИРОВОЧНЫЕ МЕХАНИЧЕСКИЕ ДЛЯ ГРУЗОВЫХ КОНТЕЙНЕРОВ

Общие технические требования

ISO/PAS 17712: 2006
Freight containers - Mechanical seals
(MOD)

Москва

Стандартинформ

2010

Предисловие

Цели и принципы стандартизации в Российской Федерации установлены Федеральным законом от 27 декабря 2002 г. № 184-ФЗ «О техническом регулировании», а правила применения национальных стандартов Российской Федерации - ГОСТ Р 1.0-2004 «Стандартизация в Российской Федерации. Основные положения»

Сведения о стандарте

1 ПОДГОТОВЛЕН Рабочей группой, состоящей из представителей предприятий: Закрытого акционерного общества «ПРОМТРАНСНИИПРОЕКТ» (ЗАО «ПРОМТРАНСНИИПРОЕКТ»), Закрытого акционерного общества Инженерный промышленный концерн «СТРАЖ» (ЗАО ИПК «СТРАЖ»), Закрытого акционерного общества «Краснооктябрьский завод металлоизделий» (ЗАО «КЗМИ»), Общества с ограниченной ответственностью «Транс-Пломбир» (ООО «Транс-Пломбир») и Общества с ограниченной ответственностью «СотекКомЦентр» (ООО «СотекКомЦентр») на основе собственного аутентичного перевода стандарта, указанного в пункте 4

2 ВНЕСЕН Техническим комитетом по стандартизации ТК 246 «Контейнеры»

3 УТВЕРЖДЕН И ВВЕДЕН В ДЕЙСТВИЕ Приказом Федерального агентства по техническому регулированию и метрологии от 10 ноября 2009 г. № 500-ст

4 Настоящий стандарт является модифицированным по отношению к международному стандарту ISO/PAS 17712:2006 «Контейнеры грузовые. Пломбы механические» с дополнением (ISO/PAS 17712:2006 «Freight containers - Mechanical seals») путем изменения его структуры.

Сравнение структуры настоящего стандарта со структурой указанного международного стандарта приведено в дополнительном приложении С.

В настоящий стандарт также внесены изменения, дополнения (слова, показатели и их значения), включенные в текст стандарта для учета потребностей национальной экономики Российской Федерации, выделенные курсивом

5 ВВЕДЕН ВПЕРВЫЕ

Информация об изменениях к настоящему стандарту публикуется в ежегодно издаваемом информационном указателе «Национальные стандарты», а текст изменений и поправок - в ежемесячно издаваемых информационных указателях «Национальные стандарты». В случае пересмотра (замены) или отмены настоящего стандарта соответствующее уведомление будет опубликовано в ежемесячно издаваемом информационном указателе «Национальные стандарты». Соответствующая информация, уведомление и тексты размещаются также в информационной системе общего пользования - на официальном сайте Федерального агентства по техническому регулированию и метрологии в сети Интернет

Содержание

Предисловие

1 Область применения

2 Нормативные ссылки

3 Термины и определения

4 Классификация и область применения

5 Технические требования

6 Испытания

Приложение А (справочное) Методики, применяемые производителями механических ПУ для обеспечения защиты

Приложение В (справочное) Признаки несанкционированного вмешательства

Приложение С (справочное) Сопоставление структуры настоящего стандарта со структурой примененного в нем международного стандарта ISO/PAS 17712:2006

Библиография

НАЦИОНАЛЬНЫЙ СТАНДАРТ РОССИЙСКОЙ ФЕДЕРАЦИИ

УСТРОЙСТВА ПЛОМБИРОВОЧНЫЕ МЕХАНИЧЕСКИЕ ДЛЯ ГРУЗОВЫХ КОНТЕЙНЕРОВ

Общие технические требования

Mechanical seals for freight containers.
General technical requirements

Дата введения - 2010-07-01

1 Область применения

Настоящий стандарт устанавливает классификацию, общие технические требования и методы испытаний механических пломбировочных устройств, используемых для пломбирования грузовых контейнеров (ГОСТ Р 52202).

Настоящий стандарт применяется предприятиями и организациями, разрабатывающими, изготовляющими и поставляющими механические пломбы, потребителями и пользователями пломб, органами по сертификации независимо от административной подчиненности и форм собственности.

2 Нормативные ссылки

В настоящем стандарте использованы нормативные ссылки на следующие стандарты:

ГОСТ Р 8.568-97 Государственная система обеспечения единства измерений. Аттестация испытательного оборудования. Основные положения

ГОСТ Р ИСО 9001:2008 Система менеджмента качества. Требования (ИСО 9001:2000, IDТ)

ГОСТ Р 51000.4-2008 Государственная система стандартизации Российской Федерации. Система аккредитации в Российской Федерации. Общие требования к аккредитации испытательных лабораторий (ИСО/МЭК 17025:2005, MOD)

ГОСТ Р 51368-99 Методы испытаний на стойкость к климатическим внешним воздействующим факторам машин, приборов и других технических изделий. Испытания на устойчивость к воздействию температуры

ГОСТ Р 51369-99 Методы испытаний на стойкость к климатическим внешним воздействующим факторам машин, приборов и других технических изделий. Испытания на воздействие влажности

ГОСТ Р 51371-99 Методы испытаний на стойкость к механическим внешним воздействующим факторам машин, приборов и других технических изделий. Испытания на воздействие ударов

ГОСТ Р 51804-2001 Методы испытаний на стойкость к внешним воздействующим факторам машин, приборов и других технических изделий. Комбинированные испытания

ГОСТ Р 52202-2004 (ИСО 830-99) Контейнеры грузовые. Термины и определения

ГОСТ Р 52326-2005 Устройства пломбировочные. Учет, контроль и утилизация

ГОСТ Р 52365-2005 Устройства пломбировочные. Требования к методикам испытаний стойкости защитных свойств и устойчивости к несанкционированному вскрытию

ГОСТ Р 52525-2006 Устройства пломбировочные. Состав и требования к системам пломбирования

ГОСТ Р 53418-2009 Устройства пломбировочные. Порядок контроля состояния пломбировочных устройств в процессе эксплуатации

ГОСТ 15.309-98 Система разработки и постановки продукции на производство. Испытания и приемка выпускаемой продукции. Основные положения

ГОСТ 15150-69 Машины, приборы и другие технические изделия. Исполнения для различных климатических районов. Категории, условия эксплуатации, хранения и транспортирования в части воздействия климатических факторов внешней среды

ГОСТ 16504-81 Система государственных испытаний продукции. Испытания и контроль качества продукции. Основные термины и определения

ГОСТ 18321-73 Статистический контроль качества. Методы случайного отбора выборок штучной продукции

ГОСТ 30630.0.0-99 Методы испытаний на стойкость к внешним воздействующим факторам машин, приборов и других технических изделий. Общие требования

ГОСТ 30630.1.2-99 Методы испытаний на стойкость к механическим внешним воздействующим факторам машин, приборов и других технических изделий. Испытания на воздействие вибрации

ГОСТ 30631-99 Общие требования к машинам, приборам и другим техническим изделиям в части стойкости к механическим внешним воздействующим факторам при эксплуатации

ГОСТ 30743-2001 Автоматическая идентификация. Кодирование штриховое, Спецификация символики Code 128 (Код 128) (ИСО/МЭК 15417:2000, MOD)

ГОСТ 31281-2004 Устройства запорно-пломбировочные для транспорта и контейнеров общего и специального назначения. Общие технические требования

ГОСТ 31282-2004 Устройства пломбировочные. Классификация

ГОСТ 31283-2004 Пломбы индикаторные. Общие технические требования

ГОСТ 31315-2006 Устройства пломбировочные электронные. Общие технические требования

Примечание - При пользовании настоящим стандартом целесообразно проверить действие ссылочных стандартов в информационной системе общего пользования - на официальном сайте Федерального агентства по техническому регулированию и метрологии в сети Интернет или по ежегодно издаваемому информационному указателю «Национальные стандарты», который опубликован по состоянию на 1 января текущего года, и по соответствующим ежемесячно издаваемым информационным указателям, опубликованным в текущем году. Если ссылочный стандарт заменен (изменен), то при пользовании настоящим стандартом следует руководствоваться заменяющим (измененным) стандартом. Если ссылочный стандарт отменен без замены, то положение, в котором дана ссылка на него, применяется в части, не затрагивающей эту ссылку.

3 Термины и определения

В настоящем стандарте применены термины по ГОСТ Р 52365, ГОСТ 16504, ГОСТ 31282, ГОСТ 31283, ГОСТ 31315, а также следующие термины с соответствующими определениями:

3.1 пломба механическая: Пломбировочное устройство (ПУ) по ГОСТ 31282, все функции которого выполняет механизм, определенный конструкцией пломбы, без использования электронных и (или) оптических блоков в соответствии с ГОСТ 31315.

3.2 Подклассы пломб по функциональному назначению

3.2.1 пломба защитная: Силовое ПУ по ГОСТ 31281, выполняющее функции одноразового, индивидуально идентифицируемого замка, стойкого к разрушению, защищающего от несанкционированного проникновения внутрь контейнера и фиксирующего следы попытки проникновения.

3.2.2 пломба для контрольно-силового блокирования: Ограниченно стойкое к разрушению, силовое ПУ по ГОСТ 31281, предназначенное для контроля несанкционированного доступа в контейнер, фиксации таможенных или иных процедур, проводимых контрольно-надзорными органами с контейнером.

Примечание - Защитные пломбы и пломбы для контрольно-силового блокирования используют для пломбирования контейнеров с применением дополнительных мер защиты (например ограничение доступа к контейнеру, увеличение частоты контрольных проверок, организация охраны).

3.2.3 пломба контрольная; ПК: Индикаторное ПУ по ГОСТ 31283, обеспечивающее индикацию фактов несанкционированного доступа в контейнер, обладающее умеренной прочностью к разрушению, предназначенное для универсальной идентификации объекта или процессов, выполненных на объекте.

Примечание - Контрольные пломбы выполняют функции чувствительного элемента, фиксирующего следы несанкционированного доступа в контейнер, и универсального обезличенного идентификатора объектов и грузов.

3.3 Типы пломб по конструктивному исполнению

3.3.1 пломба проволочная: Индикаторная пломба по ГОСТ 31283, содержащая конструктивный элемент, выполненный в виде отрезка проволоки, охватывающий запорный узел контейнера, одновременно являющийся слабым звеном пломбы, разрушающимся при вскрытии.

Пример - Обжимные проволочные пломбы, пломбы из скрученной проволоки и чашечные проволочные пломбы.

3.3.2 пломба ленточная: Пломба по ГОСТ 31282, содержащая конструктивный элемент, выполненный в виде ленты из металла, пластика или композитного материала, охватывающий запорный узел контейнера, фиксирующийся механизмом, расположенным в корпусе пломбы.

3.3.3 пломба самоклеящаяся: Индикаторная пломба по ГОСТ 31283, состоящая из бумажной или пластмассовой подложки с клеевым слоем и нанесенными на подложку идентификационными знаками.

Примечание - Сочетание клеевого слоя и подложки обеспечивает разрыв при попытке ее удаления.

3.3.4 этикетка со штрих-кодом: Этикетка, позволяющая с помощью технологии автоматической идентификации кодировать информацию, представляя ее в виде последовательности штрихов и промежутков разной ширины.

3.4 производитель (изготовитель): Юридическое лицо, осуществляющее производство и поставку ПУ покупателям.

4 Классификация и область применения

4.1 Общая классификация механических пломб по совокупности выполняемых функций, характерных свойств, признаков и показателей установлена ГОСТ 31282 и [1].

4.2 В дополнение к ГОСТ 31282 настоящий стандарт устанавливает подклассы пломбировочных устройств и их условные обозначения в соответствии с критериями, приведенными в таблице 1.

Таблица 1

Класс ПУ по ГОСТ 31282

Подкласс ПУ/условное обозначение подкласса ПУ

Критерии оценки

Нормируемое растягивающее усилие FH, kH

Код устойчивости к несанкционированному вскрытию по ГОСТ 31282

Код стойкости защитных свойств по ГОСТ 31282

Силовые ПУ

Усиленные пломбы/Н

Св. 12

1

2

Защитные пломбы/S

Св. 3,5 до 12 включ.

1

2

Пломбы для контрольно-силового блокирования/N

Св. 1,0 до 3,5 включ.

2

3

Индикаторные ПУ

Контрольные пломбы/С

Св. 0,2 до 1,0 включ.

3

4

Индикаторные пломбы/I

Св. 0,05 до 0,2 включ.

4

5

Примечание - Условное обозначение подкласса ПУ приведено в настоящей таблице в виде букв латинского алфавита: Н; S; N; С; 1.

4.3 Подкласс ПУ определяют по минимальному значению одного из критериев, приведенных в таблице 1.

Пример - ПУ, выдерживающее усилие разрушения, превышающее 10 кН, имеющее код устойчивости к несанкционированному вскрытию 2 и код стойкости защитных свойств 3 по ГОСТ 31282, может быть отнесено к пломбам для контрольно-силового блокирования.

4.4 Область применения механических пломб

4.4.1 Механические пломбы следует применять для пломбирования контейнеров с учетом условий эксплуатации и внешних факторов, воздействующих на пломбу при транспортировании конкретными видами транспорта, а также требований, предъявляемых перевозчиком соответствующего вида транспорта.

Типы, модели и требования к ПУ, применяемым для пломбирования контейнеров, определяются перевозчиком в соответствии с уставами, кодексами и правилами, действующими на соответствующем виде транспорта.

4.4.2 Усиленные пломбы Н применяют для пломбирования контейнеров, транспортируемых железнодорожным транспортом в прямых и смешанных сообщениях на открытых платформах и в полувагонах.

4.4.3 Защитные пломбы S применяют для пломбирования контейнеров, транспортируемых автомобильным транспортом.

4.4.4 Пломбы для контрольно-силового блокирования N применяют для пломбирования контейнеров, транспортируемых водным и воздушным транспортом в незакрывающихся и неопломбированных трюмах судов, а также для пломбирования контейнеров, прошедших процедуру таможенного оформления.

4.4.5 Контрольные пломбы С и индикаторные пломбы I применяют для пломбирования контейнеров, транспортируемых всеми видами транспорта в закрытых и опломбированных железнодорожных вагонах, отсеках и трюмах воздушных и морских судов.

5 Технические требования

5.1 Общие положения

5.1.1 Конструкция механических пломб должна обеспечивать одноразовое применение по назначению и должна разрушаться при вскрытии.

5.1.2 Механические пломбы должны быть стойкими к воздействию факторов агрессивной среды, связанных с транспортируемым грузом.

5.2 Защитные требования

5.2.1 Устойчивость механических пломб к несанкционированному вскрытию и стойкость к подделке должны соответствовать ГОСТ 31281 и ГОСТ 31283 для установленного подкласса пломбы.

5.2.2 Защита механических пломб от подделки должна обеспечиваться специальными элементами конструкции и примененными при изготовлении защитными технологиями с образованием комплекса идентификационных признаков, контролируемых визуально и приборами.

5.2.3 Конструкция пломб должна исключать возможность их вскрытия путем выкручивания, стягивания и сбивания без оставления фиксируемых следов вскрытия.

5.2.4 Конструкция пломб должна исключать возможность их вскрытия через конструктивные зазоры без оставления фиксируемых следов вскрытия.

5.2.5 Конструкция пломб должна исключать возможность вскрытия и подделки путем частичной разборки на составные части, замены деталей, в том числе имеющих индивидуальный идентификационный номер, изменения идентификационной маркировки без разрушения конструкции или оставления фиксируемых следов разборки.

5.3 Маркировка

5.3.1 Идентификационная маркировка пломб должна содержать:

- индивидуальный идентификационный номер;

- уникальный логотип изготовителя;

- наименование пломбы;

- условное обозначение подкласса;

- год выпуска (последние две цифры года).

Примечание - Индивидуальный идентификационный номер может представлять собой последовательность букв, цифр и знаков.

5.3.2 Маркировка пломб должна быть устойчивой к внешним факторам среды, воздействующим на пломбы в течение всего периода их эксплуатации.

5.3.3 Изготовление пломб с одинаковой и повторяющейся идентификационной маркировкой не допускается.

5.3.4 Маркировка, нанесенная на пломбы, должна читаться и однозначно распознаваться при освещенности не менее 50 лк с расстояния:

- 0,9-1,1 м - для силовых ПУ;

- 0,5-0,9 м - для индикаторных ПУ.

5.3.5 Любое изменение маркировки должно сопровождаться явными необратимыми физическими, химическими, тепловыми или иными повреждениями или разрушением пломбы.

5.3.6 На пломбы можно наносить другую информацию по согласованию с перевозчиком соответствующего вида транспорта, в том числе штрих-код, пригодный для машинного считывания, соответствующий ГОСТ 30743. Штрих-код должен содержать индивидуальный идентификационный номер пломбы.

5.3.7 ПУ, предназначенные для использования на грузовых контейнерах, транспортируемых в соответствии с таможенным законодательством, должны быть сертифицированы и снабжены индивидуальной маркировкой, устанавливаемой соответствующим таможенным или компетентным органом.

6 Испытания

6.1 Общие положения

6.1.1 Виды испытаний:

- механические испытания;

- испытания на устойчивость к внешним воздействующим факторам (ВВФ) при эксплуатации;

- испытания на устойчивость к несанкционированному вскрытию и подделке.

6.1.2 Механические испытания ПУ проводят в целях определения их работоспособности под нагрузкой. Результаты механических испытаний используют для определения технического уровня вновь разрабатываемых ПУ, оценки качества партий выпускаемых ПУ, а также для установления класса и подкласса пломб. Механические испытания включают испытания на устойчивость и прочность к механическим воздействиям - растяжению и изгибу. Механические испытания проводят как отдельный вид испытаний в нормальных климатических условиях по ГОСТ 15150.

6.1.3 Испытания на устойчивость к внешним воздействующим факторам проводят в целях определения надежности и работоспособности ПУ при эксплуатации. Испытания проводят в соответствии с ГОСТ Р 51804.

6.1.4 Испытания на устойчивость к несанкционированному вскрытию и подделке проводят в целях определения фактических значений параметров защитных характеристик ПУ и проверки их соответствия требованиям, установленным ГОСТ 31281, ГОСТ 31283.

6.1.5 Организация, порядок проведения испытаний, выбор и применение средств (оборудования) для проведения испытаний и измерений должны соответствовать ГОСТ 15.309, ГОСТ 30630.0.0 и технической документации на испытуемый тип ПУ.

6.1.6 Испытания должны проводиться лабораториями, отвечающими требованиям ГОСТ Р ИСО 9001.

6.1.7 Для проведения испытаний следует применять испытательное оборудование, аттестованное в соответствии с ГОСТ Р 8.568 и средства измерений, прошедшие поверку и калибровку в соответствии с [2].

6.1.8 Приспособления, применяемые для установки и закрепления ПУ на испытательном оборудовании, не должны:

- деформироваться и разрушаться при проведении испытаний;

- вносить искажения в схему испытаний и измерения параметров;

- создавать и передавать на ПУ дополнительные нагрузки, не предусмотренные условиями эксплуатации.

6.1.9 Отбор образцов для проведения испытаний должен соответствовать требованиям ГОСТ 18321. Количество образцов, подлежащих испытаниям, следует устанавливать в технической документации на конкретный тип ПУ.

6.2 Механические испытания

6.2.1 Виды и последовательность механических испытаний - в соответствии с таблицей 2.

Таблица 2

Последовательность испытаний, номер

Вид испытаний

1

Испытание на устойчивость и прочность к растяжению

2

Испытание на устойчивость и прочность к изгибу

6.2.2 Испытания ПУ на устойчивость и прочность к растяжению

6.2.2.1 Испытаниям на растяжение подвергают все типы ПУ.

6.2.2.2 Испытание на устойчивость ПУ к воздействию нормируемого растягивающего усилия FH для конкретного класса и подкласса ПУ и на прочность при растяжении с усилием F > FH проводят на разрывной испытательной машине. Растягивающие усилия прикладывают равномерно со скоростью 50 мм/мин в направлении, обратном запиранию ПУ до разрушения образца.

Изделие считают выдержавшим испытание, если при нагрузке F = FH ПУ находится в замкнутом состоянии, отсутствуют видимые признаки разрушения (трещины на корпусе, обрывы) и удлинение не превышает 15 мм (L £ 15 мм), а разрушение произошло при усилии F > FH.

Схемы проведения испытаний на растяжение приведены на рисунках 1 и 2.

1 - ПУ; 2 - стержень Æ 20 мм для передачи нагрузки; 3 - канат, проволока, лента; 4 - приспособление для крепления
Рисунок 1 - Схема испытаний ПУ канатного, проволочного и ленточного типов

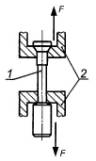
1 - ПУ; 2 - приспособление для крепления и передачи нагрузки
Рисунок 2 - Схема испытаний ПУ стержневого типа

6.2.3 Испытания ПУ на устойчивость и прочность к изгибу

6.2.3.1 Метод проведения испытания зависит от подкласса и типа ПУ. Пломбы для контрольно-силового блокирования, контрольные и индикаторные пломбы проволочного, ленточного и канатного типов с диаметром каната до 2,5 мм (включительно) испытывают на способность выдерживать повторяющиеся циклы изгиба без разрушения. Усиленные и защитные пломбы канатного типа испытаниям на изгиб не подвергают. Усиленные и защитные пломбы стержневого типа испытывают на сопротивление деформации изгиба.

6.2.3.2 Корпус пломб канатного, проволочного или ленточного типов закрепляют в приспособлении. Гибкий элемент пломбы (проволоку, ленту) многократно изгибают на 180° до разрушения. Каждый цикл изгиба на угол 180° должен выполняться в течение 3 с. Пломбу (канатную, проволочную, ленточную) считают выдержавшей испытание на устойчивость и прочность к воздействию многократных циклов изгиба, если число циклов изгиба, выдержанное пломбой до разрушения, Nр равно или превышает нормируемое значение циклов изгиба до разрушения Nр ³ NН, где NН - нормируемое число циклов изгиба до разрушения, установленное в таблице 3.

Таблица 3 - Нормируемые значения циклов изгиба и изгибающего момента

Нормируемое число циклов изгиба NН до разрушения (проволочные и ленточные пломбы)

Нормируемый момент силы Мн, Н×м (стержневые пломбы)

Классификация ПУ

-

50

Усиленные пломбы

-

22

Защитные пломбы

Св. 251

-

Пломбы для контрольно-силового блокирования

Не более 251

-

Контрольные и индикаторные пломбы

6.2.3.3 Испытание на устойчивость и прочность усиленных и защитных пломб стержневого типа к воздействию изгибающего момента силы Мр проводят в соответствии со схемой, изображенной на рисунке 3.

1 - пломба; 2 - рычаг; 3 - приспособление для крепления
Рисунок 3 - Схема испытаний усиленных и защитных пломб стержневого типа на изгиб

Корпус пломбы закрепляют в приспособлении. На стержне пломбы устанавливают рычаг и прикладывают усилие перпендикулярно к оси стержня до изгиба оси пломбы на 90° или до разрушения образца. Максимальное значение усилия изгиба фиксируют по показаниям динамометра.

Изгибающий момент Мр определяют по следующей формуле

Мр = Fи×L,                                                                                                                             (1)

где М - расчетное значение изгибающего момента, Н×м;

Fи - усилие изгиба, Н;

L - длина рычага, м.

Усиленную или защитную пломбу считают выдержавшей испытание, если при изгибе на 90е пломба находится в замкнутом состоянии, отсутствуют видимые признаки разрушения (трещины на корпусе, разрыв стержня) и изгибающий момент силы составляет Мр ³ МН, где МН - нормируемый момент силы, установленный в таблице 3 для усиленных и защитных пломб.

6.3 Испытания на устойчивость к внешним воздействующим факторам (ВВФ)

6.3.1 Виды и последовательность испытаний на устойчивость к ВВФ - в соответствии с таблицей 4.

Таблица 4

Последовательность испытаний, номер

Вид испытаний

Примечание

1

Испытание на устойчивость к вибрации и многократным ударам при верхнем рабочем значении температуры при эксплуатации

-

2

Испытание на устойчивость к вибрации и многократным ударам при нижнем рабочем значении температуры при эксплуатации

-

3

Испытание на устойчивость к вибрации и многократным ударам при неоднократном изменении температуры среды от нижнего рабочего значения к верхнему рабочему значению температуры при эксплуатации и обратно

Не менее двух циклов

4

Испытания на устойчивость и прочность к одиночным ударам при верхнем рабочем значении температуры при эксплуатации

Для усиленных пломб - 3 удара копром с энергией 100 Дж или 1 удар с энергией 200 Дж.

Одиночные инерционные удары с амплитудой: 20 g - для защитных пломб; 10 g - для пломб контрольно-силового блокирования

5

Испытания на устойчивость и прочность к одиночным ударам в условиях гололеда и понижения температуры до нижнего рабочего значения при эксплуатации

6

Испытания на устойчивость при воздействии влажности

 

6.3.2 Методы испытаний на устойчивость к ВВФ должны соответствовать ГОСТ Р 51368, ГОСТ Р 51369, ГОСТ Р 51371, ГОСТ 30630.1.2 и ГОСТ 30631.

6.3.3 При проведении испытаний на устойчивость и прочность к ВВФ, возникающим при эксплуатации, механические испытания ПУ проводят при и/или после окончания действия ВВФ в качестве критерия, подтверждающего работоспособность пломб.

6.4 Испытания пломб на устойчивость к несанкционированному вскрытию и стойкость к подделке

6.4.1 Испытания механических пломб проводят в специализированных лабораториях, аккредитованных компетентным органом в области испытаний и сертификации защитной техники, запирающих и пломбировочных устройств.

6.4.2 Испытания механических пломб на устойчивость к несанкционированному вскрытию и стойкость к подделке следует проводить по методикам, соответствующим ГОСТ Р 52365.

6.4.3 Испытания силовых ПУ канатного типа на устойчивость к несанкционированному вскрытию проводят по методикам, соответствующим ГОСТ Р 53021.

6.5 Протокол испытаний

Протокол испытаний должен содержать:

- идентификационный номер (контрольный знак)/описание испытуемого образца;

- ссылку на настоящий стандарт;

- результаты испытаний;

- подготовку, предварительную обработку и т.д.;

- температуру и относительную влажность в помещении при проведении испытаний;

- сведения о поставленной партии ПУ и оборудовании контроля, а также критерии реагирования;

- информацию о несоответствии настоящему стандарту и другим стандартам, на которые приводятся ссылки.

Приложение А
(справочное)

Методики, применяемые производителями механических ПУ для обеспечения защиты

А.1 Учет, контроль и утилизацию механических ПУ следует проводить в соответствии с ГОСТ Р 52326.

А.2 Требования к системам пломбирования - в соответствии с ГОСТ Р 52525.

А.3 Входной контроль механических ПУ проводит продавец (полномочный представитель изготовителя) или потребитель в соответствии с ГОСТ Р 52326 и ГОСТ Р 53418.

Приложение В
(справочное)

Признаки несанкционированного вмешательства

Признаками несанкционированного вмешательства являются следующие факты:

- пломба легко открывается вручную;

- отсутствует свободный ход/вращение и взаимное перемещение составных частей пломбы, определяемых конструкцией;

- имеются обрыв двух и более нитей каната на гибком конструктивном элементе; надрывы, вмятины в виде плоскостей, полусфер и продольных борозд; неравномерность свивки прядей каната;

- имеются трещины и царапины, клеящие вещества в отверстиях корпуса или в местах сочленения составных частей;

- имеется налет/помутнение на пластмассовом слое/изменение его цвета;

- отсутствует или имеется слабо воспринимаемое изображение отдельных элементов маркировки; нарушения в размещении маркировки; отличающиеся от образца графические символы и конфигурация шрифта; имеются двойные и неровные линии элементов маркировки;

- имеют место деформация корпуса и нарушение его покрытия;

- имеет место подвижность составных частей пломбы, не предусмотренная конструкцией;

- имеются видимые следы переделки или замены составных частей.

Приложение С
(справочное)

Сопоставление структуры настоящего стандарта со структурой примененного в нем международного стандарта ISO/PAS 17712:2006

Таблица С.1

Структура международного стандарта ISO/PAS 17712:2006

Структура настоящего стандарта

Разделы

Подразделы

Разделы

Подразделы

-

-

2

-

2

-

3

3.2

3

-

4

-

4

-

5

5.2; 5.3

5

-

6

6.1; 6.2; 6.3

6

-

-

-

-

-

Приложение В

-

-

-

Приложение С

-

Примечания

1 Сопоставление структур стандартов приведено, начиная с раздела 2.

2 В разделе 3 дополнительно введен подраздел 3.2.

3 Дополнительно введен раздел 4.

4 В разделе 5 дополнительно введен подраздел 5.2 и расширен подраздел 5.3.

5 В разделе 6 дополнительно введены подразделы 6.2, 6.3 и 6.4.

Библиография

[1] АСТМ 1157:2004* Общепринятая практика классификации относительных характеристик и физических свойств защитных пломб

[2] ПР 50.2.006-94 Государственная система обеспечения единства измерений. Порядок проведения поверки средств измерений

Ключевые слова: контейнеры, механические пломбы, усиленная пломба, пломба защитная, пломбировочное устройство, контрольная пломба, индикаторная пломба, проволочная пломба, ленточная пломба, стержневая пломба, методы испытаний, растяжение, изгиб, удар

 

 




ГОСТЫ, СТРОИТЕЛЬНЫЕ и ТЕХНИЧЕСКИЕ НОРМАТИВЫ.
Некоммерческая онлайн система, содержащая все Российские Госты, национальные Стандарты и нормативы.
В Системе содержится более 150000 файлов нормативно-технической документации, действующей на территории РФ.
Система предназначена для широкого круга инженерно-технических специалистов.

Рейтинг@Mail.ru Яндекс цитирования

Copyright © www.gostrf.com, 2008 - 2026