Крупнейшая бесплатная информационно-справочная система онлайн доступа к полному собранию технических нормативно-правовых актов РФ. Огромная база технических нормативов (более 150 тысяч документов) и полное собрание национальных стандартов, аутентичное официальной базе Госстандарта. GOSTRF.com - это более 1 Терабайта бесплатной технической информации для всех пользователей интернета. Все электронные копии представленных здесь документов могут распространяться без каких-либо ограничений. Поощряется распространение информации с этого сайта на любых других ресурсах. Каждый человек имеет право на неограниченный доступ к этим документам! Каждый человек имеет право на знание требований, изложенных в данных нормативно-правовых актах!

  


 

ФЕДЕРАЛЬНАЯ СЕТЕВАЯ КОМПАНИЯ ЕДИНОЙ ЭНЕРГЕТИЧЕСКОЙ СИСТЕМЫ
(ОАО "ФСК ЕЭС")

ОТКРЫТОЕ АКЦИОНЕРНОЕ ОБЩЕСТВО ПО ПРОЕКТИРОВАНИЮ СЕТЕВЫХ И ЭНЕРГЕТИЧЕСКИХ ОБЪЕКТОВ
(ОАО "РОСЭП")

МЕТОДИЧЕСКИЕ УКАЗАНИЯ

ПО ЗАЩИТЕ РАСПРЕДЕЛИТЕЛЬНЫХ ЭЛЕКТРИЧЕСКИХ СЕТЕЙ
НАПРЯЖЕНИЕМ 0,4-10 кВ ОТ ГРОЗОВЫХ ПЕРЕНАПРЯЖЕНИЙ

СТО 56947007-29.240.02.001-2008

РАЗРАБОТЧИК Открытое акционерное общество по проектированию сетевых и энергетических объектов (ОАО "РОСЭП")

УТВЕРЖДЕНЫ Протоколом № 2 заседания Постоянно действующей комиссии по нормативно-техническому обеспечению деятельности ОАО "ФСК ЕЭС" от 30.11.2004

ВВЕДЕНЫ в действие с 01.12.2004

Указания подготовлены авторским коллективом ОАО "РОСЭП" - В.И. Шевляков (руководитель коллектива), Г.С. Боков, Н.П. Васина, И.И. Данилова, Ю.М. Кадыков, С.С. Кустов.

Разделы 3 приложений Г и Д подготовлены с участием И.В. Житенева, Г.В. Подпоркина и А.Д. Сиваева (ОАО "НПО Стример").

При подготовке Указаний большая помощь была оказана канд. технических наук Н.Н. Беляковым - в виде консультаций и разработки отдельных материалов.

СОДЕРЖАНИЕ

ПРЕДИСЛОВИЕ

ВВЕДЕНИЕ

Раздел 1 ОБЩАЯ ЧАСТЬ

Глава 1.1 ОБЩИЕ ПОЛОЖЕНИЯ

Глава 1.2 НОРМАТИВНЫЕ ССЫЛКИ

Глава 1.3 ОПРЕДЕЛЕНИЯ

Глава 1.4 ОСОБЕННОСТИ ЗАЩИТЫ СЕТЕЙ НАПРЯЖЕНИЕМ 0,4 и 6-10 кВ ОТ ГРОЗОВЫХ ПЕРЕНАПРЯЖЕНИЙ

Раздел 2 ЗАЩИТА ВЛ НАПРЯЖЕНИЕМ 6-10 кВ ОТ ГРОЗОВЫХ ПЕРЕНАПРЯЖЕНИЙ

Глава 2.1 ОБЩИЕ ПОЛОЖЕНИЯ

Глава 2.2 ЗАЩИТА ЭЛЕКТРООБОРУДОВАНИЯ ВЛ

Глава 2.3 ЗАЩИТА ВЛ ПРИ ПЕРЕСЕЧЕНИЯХ МЕЖДУ СОБОЙ

Глава 2.4 ЗАЩИТА ВЛЗ НАПРЯЖЕНИЕМ 6-10 кВ

Глава 2.5 ЗАЗЕМЛЕНИЕ

Раздел 3 ЗАЩИТА ОТ ГРОЗОВЫХ ПЕРЕНАПРЯЖЕНИЙ РУ 6-10 кВ И ТП 6-10/0,4 кВ

Глава 3.1 ЗАЩИТА ПОДХОДОВ ВЛ НАПРЯЖЕНИЕМ 6-10 кВ

Глава 3.2 ЗАЩИТА РУ 6-10 кВ

Глава 3.3 ЗАЩИТА ТП 6-10/0,4 кВ

Раздел 4 ВЫБОР ПАРАМЕТРОВ ОПН ДЛЯ ЗАЩИТЫ ОТ ГРОЗОВЫХ ПЕРЕНАПРЯЖЕНИЙ В СЕТЯХ НАПРЯЖЕНИЕМ 6-10 кВ

Раздел 5 ЗАЩИТА ВЛ НАПРЯЖЕНИЕМ 0,38 кВ ОТ ГРОЗОВЫХ ПЕРЕНАПРЯЖЕНИЙ

Глава 5.1 ЗАЩИТА ВЛ НАПРЯЖЕНИЕМ 0,38 кВ

Глава 5.2 ЗАЩИТА ВЛИ НАПРЯЖЕНИЕМ 0,38 кВ

СПИСОК ЛИТЕРАТУРЫ

ПРИЛОЖЕНИЕ А РАСЧЕТ ЧИСЛА УДАРОВ МОЛНИИ В СЕТЕВЫЕ ОБЪЕКТЫ

ПРИЛОЖЕНИЕ Б ЗОНЫ ЗАЩИТЫ МОЛНИЕОТВОДОВ

ПРИЛОЖЕНИЕ В ЭЛЕКТРИЧЕСКИЕ ПАРАМЕТРЫ РАЗРЯДА МОЛНИИ

ПРИЛОЖЕНИЕ Г ИМПУЛЬСНАЯ ПРОЧНОСТЬ ИЗОЛЯЦИИ СЕТЕВЫХ ОБЪЕКТОВ

ПРИЛОЖЕНИЕ Д АППАРАТЫ ЗАЩИТЫ ОТ ПЕРЕНАПРЯЖЕНИЙ

ПРИЛОЖЕНИЕ Е РАСЧЕТ ЧИСЛА ГРОЗОВЫХ ОТКЛЮЧЕНИЙ ВЛ 6-10 кВ

ПРИЛОЖЕНИЕ Ж СПОСОБЫ ПОВЫШЕНИЯ ГРОЗОУПОРНОСТИ ВЛ 6-10 кВ

ПРЕДИСЛОВИЕ

"Методические указания по защите распределительных электрических сетей напряжением 0,4-10 кВ от грозовых перенапряжений" (в дальнейшем Указания) разработаны по заданию ОАО "ФСК ЕЭС" и предназначены для организаций, занимающихся проектированием, строительством и эксплуатацией распределительных электрических сетей напряжением 0,4-10 кВ.

Указания подготовлены в развитие и дополнение:

- Глав 1.7; 2.4; 2.5 и 4.2 Правил устройства электроустановок (ПУЭ. Седьмое издание. 2002-2003).

- Руководства по защите электрических сетей 6-1150 кВ от грозовых и внутренних перенапряжений (РД 153-34.3-35.125-99).

- Методических указаний по применению ограничителей перенапряжений нелинейных в электрических сетях 6-35 кВ (М.:, 2001).

С введением в действие настоящих "Методических указаний по защите распределительных электрических сетей напряжением 0,4-10 кВ от грозовых перенапряжений" утрачивают силу "Руководящие указания по защите от перенапряжений сельских электроустановок напряжением до 35 кВ включительно" издания 1963 года.

ВВЕДЕНИЕ

Распределительные электрические сети (PC) напряжением 0,4-10 кВ в последние годы оснащаются электрооборудованием, аппаратами, устройствами, изоляторами и проводами, изготовленными на новой современной технической базе.

Эксплуатация таких сетевых объектов требует надежной системы защиты от грозовых перенапряжений с использованием современных технических средств. Разработка технических средств и методов защиты от перенапряжений PC связана с количественной оценкой параметров молнии и вероятного числа грозовых повреждений.

Для расчетов плотности прямых ударов молнии на землю используется информация об интенсивности грозовой деятельности. При этом необходимо учитывать экранирование сетевых объектов зданиями, сооружениями, деревьями и т.п. Экранирование в отдельных случаях может снизить количество прямых ударов в сетевые объекты на ~ 70%.

Надежная защита достигается, если оборудование и конструкции будут иметь достаточно высокую прочность изоляции или в PC установлены эффективные аппараты защиты от грозовых перенапряжений.

Для защиты PC напряжением 0,4-10 кВ от грозовых перенапряжений применяются:

- ограничители перенапряжений нелинейные (ОПН);

- разрядники длинно-искровые (РДИ);

- разрядники вентильные (РВ) и трубчатые (РТ);

- защитные искровые промежутки (ИП).

Тип, количество и место установки аппаратов защиты выбирается при проектировании конкретных сетевых объектов. При установке аппаратов защиты требования к значению сопротивления заземления выбирают согласно ПУЭ и главы 2.5 настоящих Указаний, учитывающих конкретные особенности применяемых систем и принципов действия аппаратов (устройств) защиты от грозовых перенапряжений.

Для магистральных линий напряжением 6-10 кВ, выполненных в габаритах ВЛ напряжением 35 кВ, рекомендуется применять тросовые молниеотводы на подходах к подстанциям и распределительным пунктам.

Настоящие Указания рассматривают мероприятия по защите PC напряжением 0,4-10 кВ от грозовых перенапряжений. Защита от внутренних перенапряжений (резонансных и коммутационных) обеспечивается изоляцией сетей и не рассматривается.

Задачей защиты PC напряжением 0,4 кВ является предотвращение поражения людей, животных и возникновения пожаров вследствие проникновения грозовых перенапряжений во внутренние проводки жилых домов и других строений, а также повреждения электрооборудования подстанций 6-10/0,4 кВ.

Раздел 1 ОБЩАЯ ЧАСТЬ

Глава 1.1 ОБЩИЕ ПОЛОЖЕНИЯ

Проблема защиты от грозовых перенапряжений ВЛ и подстанций весьма актуальна для PC напряжением 0,4-10 кВ, так как они имеют низкую импульсную прочность изоляции по сравнению с электроустановками других классов напряжения и имеют большую протяженность.

В Указаниях изложены методы выбора аппаратов защиты от грозовых перенапряжений ВЛ и подстанций в распределительных электрических сетях напряжением 0,4-10 кВ, а также методы расчета грозоупорности сетевых объектов. Приведены характеристики средств защиты от грозовых перенапряжений и электрической прочности изоляции электроустановок.

Причинами грозовых перенапряжений на ВЛ являются прямые удары молнии (ПУМ) в линию, а также близкие удары в землю, вызывающие индуктированные (наведенные) перенапряжения на проводах линии.

На изоляцию оборудования подстанций воздействуют волны грозовых перенапряжений, приходящие с ВЛ при их поражениях молниями, и перенапряжения при прямых ударах молний в оборудование и конструкции подстанций.

Для РУ 6-10 кВ опасными являются также перенапряжения, индуктированные на токоведущих частях при ударах молнии в землю или другие объекты вблизи подстанции.

Грозоупорность ВЛ напряжением 0,38-10 кВ существенно повышается при использовании изоляции дерева на сооружаемых ВЛ с деревянными опорами, а на ВЛ с железобетонными и металлическими опорами (далее по тексту Указаний с железобетонными опорами) - при применении изоляционных траверс.

Глава 1.2 НОРМАТИВНЫЕ ССЫЛКИ

В настоящих Указаниях использованы следующие стандарты и нормативные документы:

- Правила устройства электроустановок. Изд. 7, (Главы 1.7; 2.4; 2.5 и 4.2). М., "Издательство НЦ ЭНАС", 2003.

- ГОСТ 24291-90 Электрическая часть электростанций и электрической сети. Термины и определения.

- ГОСТ 1516.3-96 Электрооборудование переменного тока на напряжение от 1 до 750 кВ. Требования к электрической прочности изоляции.

- ГОСТ Р 50571.19-2000 (МЭК 60364-4-443-95) Электроустановки зданий. Часть 4. Требования по обеспечению безопасности. Глава 44. Защита от перенапряжений. Раздел 443. Защита электроустановок от грозовых и коммутационных перенапряжений.

- РД 153-34.3-35.125-99. Руководство по защите электрических сетей 6-1150 кВ от грозовых и внутренних перенапряжений. 2-е изд. СПб: ПЭИПК, 1999.

- Методические указания по применению ограничителей перенапряжений нелинейных в электрических сетях 6-35 кВ. РАО "ЕЭС России", Москва. 2001.

Глава 1.3 ОПРЕДЕЛЕНИЯ

В настоящих Указаниях приняты следующие термины с соответствующими определениями.

1.3.1 Класс напряжения электрооборудования - номинальное междуфазное напряжение электрической сети, для работы в которой предназначено электрооборудование.

1.3.2 Наибольшее рабочее напряжение электрооборудования - наибольшее напряжение частоты 50 Гц, неограниченно длительное приложение которого к зажимам разных фаз (полюсов) электрооборудования допустимо по условиям работы его изоляции.

1.3.3 Уровень изоляции электрической установки - совокупность нормированных испытательных напряжений, установленных в стандарте для испытаний внутренней и внешней изоляции данного электрооборудования (обмотки, нейтрали и т.п.).

1.3.4 Перенапряжение - всякое повышение напряжения сверх амплитуды длительно допустимого рабочего фазного напряжения.

1.3.5 Коммутационные (внутренние) перенапряжения - перенапряжения, которые возникают при нормальных (оперативных) включениях и отключениях, изменениях нагрузки или авариях (замыканиях на землю, КЗ, обрывах проводов и др.). Характеризуются кратностью по отношению к фазному напряжению.

1.3.6 Грозовые перенапряжения - перенапряжения, возникающие в результате воздействия на электрическую установку разрядов молнии.

1.3.7 Система защиты от перенапряжений - совокупность мероприятий и технических средств (устройства заземления, молниеприемники и аппараты защиты), снижающих негативное воздействие перенапряжений на электроустановки.

1.3.8 Импульс тока молнии - изменение тока молнии во времени (разряда молнии). Имеет форму апериодического разряда. Характеризуется амплитудой импульса, его крутизной и продолжительностью, а также скоростью распространения главного разряда.

1.3.9 Экранирование линии - защита ВЛ от прямых ударов молнии более высокими объектами (сооружениями, зданиями, деревьями, другими ВЛ и т.д.).

1.3.10 Индуктированные (наведенные) перенапряжения - перенапряжения, наведенные током молнии при ударе молнии в землю или другие объекты вблизи линии или подстанции.

1.3.11 Грозоупорность ВЛ - устойчивость линии к воздействию грозовых перенапряжений. Показателем грозоупорности ВЛ является число ее грозовых отключений.

В зависимости от поставленной задачи могут рассматриваться: удельное число грозовых отключений на 100 км и 100 грозовых часов в год; удельное число грозовых отключений на 100 км и один год эксплуатации; абсолютное число грозовых отключений, рассчитанное на фактическую длину ВЛ и фактическую интенсивность грозовой деятельности.

1.3.12 Заземление - преднамеренное электрическое соединение какой-либо части (точки) сети, электроустановки или оборудования с заземляющим устройством.

1.3.13 Заземляющее устройство - совокупность заземлителя и заземляющих проводников.

1.3.14 Заземлитель - проводящая часть или совокупность соединенных между собой проводящих частей, находящихся в электрическом контакте с землей непосредственно или через промежуточную проводящую среду.

1.3.15 Заземляющий проводник - проводник, соединяющий заземляемую часть (точку) с заземлителем.

1.3.16 Сопротивление заземляющего устройства - отношение напряжения на заземляющем устройстве к току, стекающему с заземлителя в землю.

1.3.17 Короткое замыкание (КЗ) - замыкание, при котором токи в ветвях электроустановки, примыкающих к месту его возникновения, резко возрастают, превышая наибольший допустимый ток продолжительного режима.

1.3.18 Замыкание на землю - случайный электрический контакт между токоведущими частями, находящимися под напряжением, и землей.

1.3.19 Импульсная прочность изоляции (уровень изоляции) - определяется нормированными испытательными напряжениями при полном и срезанном грозовом импульсе.

1.3.20 Электрическая распределительная сеть - совокупность электроустановок для распределения электроэнергии, состоящая из подстанций, распределительных устройств, токопроводов, воздушных и кабельных линий электропередачи, работающих на определенной территории (напряжение PC находится в пределах 0,4-150 кВ).

1.3.21 Электрическая сеть с изолированной нейтралью - сеть, нейтраль которой не имеет соединения с землей, за исключением приборов сигнализации, измерения и защиты, имеющих весьма высокое сопротивление. К сетям с изолированной нейтралью следует относить сети с компенсированной нейтралью, нейтраль которых соединена с землей через дугогасящий реактор (ДГР). Индуктивность ДГР такова, что при однофазном замыкании на землю (ОЗЗ) ток реактора компенсирует емкостную составляющую тока ОЗЗ.

1.3.22 Электрическая сеть с заземленной нейтралью - сеть, нейтраль которой соединена с землей наглухо или через резистор или реактор, сопротивление которых достаточно мало, чтобы существенно ограничить колебания переходного процесса и обеспечить значение тока, необходимое для селективной защиты от замыкания на землю.

Глава 1.4 ОСОБЕННОСТИ ЗАЩИТЫ СЕТЕЙ НАПРЯЖЕНИЕМ 0,4 и 6-10 кВ ОТ ГРОЗОВЫХ ПЕРЕНАПРЯЖЕНИЙ

1.4.1 На действующих ВЛ напряжением 6-10 кВ и 0,38 кВ защитные тросы не применяются из-за малой их эффективности при низкой импульсной прочности изоляции.

1.4.2 Для вновь строящихся ВЛ напряжением 6-10 кВ (магистрали которых выполнены в габаритах 35 кВ) рекомендуется подходы ВЛ к распределительным устройствам (РУ) защищать тросовыми молниеотводами от прямых ударов молнии в соответствие с требованиями п. 4.2.142 ПУЭ.

1.4.3 Отключения ВЛ напряжением 6-10 кВ от воздействия грозовых перенапряжений возможны только вследствие двух или трехфазных перекрытий изоляции.

1.4.4 В PC напряжением 6-10 кВ с изолированной или компенсированной нейтралью однофазные импульсные перекрытия и возникающая при этом дуга ОЗЗ не сопровождается КЗ и отключением ВЛ напряжением 6-10 кВ.

1.4.5 Число грозовых отключений ВЛ напряжением 6-10 кВ на железобетонных опорах снижается при усилении изоляции фазных проводов относительно земли и увеличении длины разрядного расстояния.

1.4.6 Снижение сопротивления заземления опор ВЛ напряжением 6-10 кВ ниже значений, приведенных в главе 2.5 настоящих Указаний, практически не отражается на количестве отключений от воздействия грозовых перенапряжений.

1.4.7 Снижение числа отключений ВЛ напряжением 6-10 кВ на деревянных опорах при воздействии грозовых перенапряжений достигается принятием специальных мер по защите участков ВЛ с ослабленной изоляцией (например, отдельных железобетонных опор).

1.4.8 При применении на ВЛ напряжением 6-10 кВ защищенных проводов с изоляцией из сшитого полиэтилена (ВЛЗ 6-10 кВ) необходимо устанавливать аппараты защиты от пережогов проводов при воздействиях грозовых перенапряжений.

Раздел 2 ЗАЩИТА ВЛ НАПРЯЖЕНИЕМ 6-10 кВ ОТ ГРОЗОВЫХ ПЕРЕНАПРЯЖЕНИЙ

Глава 2.1 ОБЩИЕ ПОЛОЖЕНИЯ

2.1.1 От воздействия грозовых перенапряжений необходимо защищать:

- линейное электрооборудование, установленное на опорах ВЛ (силовые и измерительные трансформаторы, разъединители и другие аппараты);

- участки ВЛ напряжением 6-10 кВ с ослабленной изоляцией (места пересечения ВЛ, опоры с кабельными муфтами, отдельные железобетонные опоры на ВЛ с деревянными опорами и другие);

- воздушные линии с защищенными проводами;

- воздушные линии с неизолированными проводами (в местах, например, с аномальной грозовой деятельностью).

2.1.2 Для ВЛ напряжением 6-10 кВ на железобетонных опорах основным резервным мероприятием для повышения эксплуатационной надежности, предотвращающим перерывы в электроснабжении, является АПВ. Отказ от АПВ в каждом отдельном случае должен быть обоснован. Имеющиеся в эксплуатации устройства АПВ должны быть постоянно включены в работу.

На ВЛ напряжением 6-10 кВ должны применяться устройства АПВ одно и двукратного действия. Для первого цикла АПВ следует использовать бестоковую паузу продолжительностью 1-3 с, а для второго цикла - не менее 15-20 с.

Вероятность успешной работы АПВ на ВЛ напряжением 6-10 кВ при грозах составляет ~ 0,5.

2.1.3 Если на ВЛ напряжением 6-10 кВ с деревянными опорами устанавливаются отдельные железобетонные опоры, то на последних при отсутствии аппаратов защиты должны применяться изоляторы более высокого класса напряжения и/или изоляционные траверсы.

При этом градиент рабочего напряжения по пути перекрытия между фазами не должен превышать значений, рекомендуемых в п. 2.1.4.

2.1.4 Для повышения грозоупорности ВЛ напряжением 6-10 кВ рекомендуется использовать деревянные опоры и/или изолирующие траверсы из различных материалов (полимеров, сухой древесины, пропитанной новыми антисептиками).

Длина изолирующих траверс в изоляционной части должна быть такой, чтобы градиент рабочего напряжения по пути перекрытия между фазами не превышал 8-10 кВ/м.

Применение металлических траверс на деревянных опорах не рекомендуется.

2.1.5 На ответвлениях от магистрали ВЛ напряжением 6-10 кВ на деревянных опорах за линейным разъединителем со стороны питания должен устанавливаться аппарат защиты от грозовых перенапряжений.

2.1.6 Кабельные вставки в ВЛ напряжением 6-10 кВ должны быть защищены по обоим концам кабеля за исключением:

- вставок с пластмассовой изоляцией и оболочкой длиной 2,5 км и более;

- вставок других конструкций кабеля длиной 1,5 км и более (см. п. 3.1.6).

Глава 2.2 ЗАЩИТА ЭЛЕКТРООБОРУДОВАНИЯ ВЛ

2.2.1 Защите от грозовых перенапряжений подлежат силовые и измерительные трансформаторы, выключатели, разъединители, предохранители и другие аппараты.

2.2.2 Для защиты секционирующих пунктов и пунктов АВР 6-10 кВ должны быть установлены аппараты защиты - по одному комплекту с каждой стороны ВЛ.

2.2.3 Для защиты разъединителей и выключателей, имеющих изоляцию того же класса, что и ВЛ 6-10 кВ с железобетонными опорами, аппараты защиты от грозовых перенапряжений не устанавливаются.

Глава 2.3 ЗАЩИТА ВЛ ПРИ ПЕРЕСЕЧЕНИЯХ МЕЖДУ СОБОЙ

2.3.1 ВЛ напряжением 6-10 кВ при пересечениях требуют установки аппаратов защиты от воздействия грозовых перенапряжений.

2.3.2 Применение специальных мер защиты ВЛ напряжением 6-10 кВ на пересечениях не требуется для линий, выполненных на:

- железобетонных опорах;

- деревянных опорах при расстояниях между проводами пересекающихся ВЛ не менее:

- 9 м при пересечении с ВЛ 750 кВ;

- 7 м - с ВЛ 330-500 кВ;

- 6 м - с ВЛ 150-220 кВ;

- 5 м - с ВЛ 35-110 кВ;

- 4 м - с ВЛ 6-10 кВ и более низкого напряжения.

2.3.3 Рекомендуется выбирать место пересечения возможно ближе к опоре верхней из пересекающихся линий, что обычно позволяет обеспечить требуемые по условиям защиты от воздействия грозовых перенапряжений расстояния в месте пересечения.

Провода ВЛ более высокого напряжения, как правило, должны быть расположены выше проводов пересекаемых ВЛ более низкого напряжения.

2.3.4 Наименьшие расстояния между ближайшими проводами пересекающихся ВЛ должны быть не менее приведенных в таблице 2.1 при температуре воздуха плюс 15 °С без ветра.

Для промежуточных значений пролетов соответствующие расстояния определяются линейной интерполяцией. Расстояние между ближайшими проводами пересекающей и пересекаемой ВЛ напряжением 6-10 кВ при условии, что хотя бы одна из них выполнена с защищенными проводами, должно быть не менее 1,5 м (при температуре воздуха плюс 15 °С без ветра).

2.3.5 На ВЛ с деревянными опорами на опорах, ограничивающих пролеты пересечения ВЛ, должны устанавливаться аппараты защиты на обеих пересекающихся линиях. Расстояния между проводами пересекающихся ВЛ должны быть не менее приведенных в таблице 2.1.

Таблица 2.1

Наименьшие расстояния между проводами пересекающихся ВЛ на железобетонных опорах, а также на деревянных опорах при наличии аппаратов защиты

Пересекающая воздушная линия

Длина пролета пересекающей ВЛ, м

При расстоянии от места пересечения до ближайшей опоры ВЛ, м

30

50

70

100

120

150

ВЛ 750 кВ

до 200

6,5

6,5

6,5

7

-

-

300

6,5

6,5

7

7,5

8

8,5

450

6,5

6,5

7,5

8

8,5

9

500

7

7

8

8,5

9

9,5

ВЛ 330-500 кВ

до 200

5

5

5

5,5

-

-

300

5

5

5,5

6

6,5

7

450

5

5,5

6

7

7,5

8

ВЛ 150-220 кВ

до 200

4

4

4

4

-

-

300

4

4

4

4,5

5

5,5

450

4

4

5

6

6,5

7

ВЛ 20-110 кВ

до 200

3

3

3

4

-

-

300

3

3

4

4,5

5

-

ВЛ 6-10 кВ и более низкого напряжения

до 100

2

2

-

-

-

-

150

2

2,5

2,5

-

-

-

2.3.6 На деревянных опорах ВЛ напряжением 6-10 кВ при пересечении с ВЛ напряжением 750 кВ и ниже устанавливаются аппараты защиты.

При пересечении ВЛ с деревянными опорами с ВЛ напряжением 750 кВ металлические детали для крепления проводов (крюки, штыри) на опорах, ограничивающих пролеты пересечения, должны быть заземлены.

Для пересекающихся ВЛ при расстоянии от места пересечения до ближайших опор более 40 м аппараты защиты не устанавливаются.

Глава 2.4 ЗАЩИТА ВЛЗ НАПРЯЖЕНИЕМ 6-10 кВ

2.4.1 На ВЛ напряжением 6-10 кВ с защищенными проводами (ВЛЗ 6-10 кВ) должны применяться изоляторы в соответствии с требованиями, предъявляемыми к ВЛ с неизолированными проводами.

2.4.2 На ВЛЗ 6-10 кВ расстояния по воздуху от защищенных проводов и арматуры, находящихся под напряжением, до опор должны быть не менее, чем для ВЛ с неизолированными проводами (см. таблицу 2.5.17 ПУЭ).

2.4.3 На ВЛЗ 6-10 кВ, проходящей по населенной местности и зоне с грозовой деятельностью в среднем 20 грозовых часов и более, необходимо предусмотреть установку для защиты от грозовых перенапряжений РДИ (см. приложение Д и рисунок Ж.6).

При отсутствии данных о среднегодовой продолжительности гроз рекомендуется пользоваться картой районирования территории России по числу грозовых часов в году в соответствии с рисунком 2.5.3 ПУЭ.

2.4.4 Защита ВЛЗ 6-10 кВ на подходах к подстанциям от грозовых перенапряжений должна выполняться в соответствии с требованиями главы 3.1 настоящих Указаний.

2.4.5 На ВЛЗ 6-10 кВ требования к заземлению опор, значение сопротивления заземляющих устройств опор должны соответствовать требованиям для ВЛ с неизолированными проводами (см. главу 2.5 настоящих Указаний).

Глава 2.5 ЗАЗЕМЛЕНИЕ

2.5.1 На ВЛ напряжением 6-10 кВ в соответствии с требованиями главы 2.5 ПУЭ должны быть заземлены:

a) Опоры, имеющие аппараты защиты от грозовых перенапряжений.

b) Железобетонные опоры.

c) Опоры, на которых установлены силовые или измерительные трансформаторы, разъединители, предохранители или другие аппараты.

Деревянные опоры и деревянные опоры с металлическими траверсами, не имеющие аппаратов защиты от грозовых перенапряжений, не заземляются.

2.5.2 Сопротивления заземляющих устройств опор, указанных в п. 2.5.1 (поз. а), а также ВЛ напряжением 6-10 кВ (поз. b), проходящих в населенной местности, должны быть не более приведенных в таблице 2.2.

Таблица 2.2

Наибольшие значения сопротивления заземляющих устройств опор ВЛ

Удельное сопротивление грунта r, Ом×м

100 и менее

> 100 до 500

³ 500 до 1000

³ 1000 до 5000

Более 5000

Сопротивление заземляющего устройства, Ом

10

15

20

30

6×10-3 r

Допускается превышение сопротивлений заземления части опор по сравнению с нормируемыми значениями, если имеются опоры с пониженными значениями сопротивлений заземления, а ожидаемое число грозовых отключений не превышает значений, получаемых при выполнении требований таблицы 2.2 для всех опор ВЛ.

2.5.3 На двухцепных опорах ВЛ, рекомендуется снижать сопротивление заземляющих устройств в 2 раза по сравнению с приведенными в таблице 2.2.

2.5.4 Для опор ВЛ, расположенных в горной местности на высотах более 700 м над уровнем моря, указанные значения сопротивления могут быть увеличены в 2 раза.

2.5.5 Для железобетонных опор ВЛ 6-10 кВ в ненаселенной местности сопротивление заземляющих устройств должно быть:

- £ 30 Ом - в грунтах с удельным сопротивлением r до 100 Ом×м;

- £ 0,3r Ом - в грунтах с удельным сопротивлением r выше 100 Ом×м.

2.5.6 Сопротивление заземляющих устройств опор ВЛ напряжением 6-10 кВ, указанных в п. 2.5.1 (поз. с), не должно превышать 30 Ом.

Значение сопротивления заземляющих устройств опор ВЛ напряжением 6-10 кВ должно обеспечиваться применением заземлителей. Естественная проводимость фундаментов, подземных частей опор и пасынков (приставок) при расчетах не должна учитываться.

2.5.7 Нормированное значение сопротивления заземляющих устройств опор ВЛ должно обеспечиваться и измеряться с помощью специальных приборов контроля заземляющих устройств в период их наибольших значений (сухое летнее время).

Допускается производить измерение в другие периоды с корректировкой результатов путем введения сезонного коэффициента, однако, не следует производить измерение при промерзшем грунте.

2.5.8 Сопротивления заземляющих устройств электроустановок в сетях напряжением 6-10 кВ рассчитываются в соответствие с требованиями п.п. 1.7.96-1.7.97 ПУЭ.

2.5.9 Влияние значения сопротивления заземления опор на характеристики грозоупорности ВЛ следует оценивать с учетом основных определяющих факторов:

- соотношения количества двух видов опасных для изоляции ВЛ грозовых перенапряжений - индуктированных и прямого удара;

- конструктивных параметров опор;

- вида аппаратов защиты и способов их установки на ВЛ.

Раздел 3 ЗАЩИТА ОТ ГРОЗОВЫХ ПЕРЕНАПРЯЖЕНИЙ РУ 6-10 кВ И ТП 6-10/0,4 кВ

Глава 3.1 ЗАЩИТА ПОДХОДОВ ВЛ НАПРЯЖЕНИЕМ 6-10 кВ

3.1.1 Защита подходов ВЛ на деревянных опорах напряжением 6-10 кВ к подстанциям 35-110/6-10 кВ от грозовых перенапряжений должна выполняться в соответствии с рисунком 3.1 (см. главу 3.2 настоящих Указаний).

3.1.2 Для защиты подходов рекомендуется устанавливать ОПН (или РВ), РДИ вместо разрядников PT1 и РТ2 (рисунок 3.2).

3.1.3 На подходах ВЛ 6-10 кВ с деревянными опорами к ПС (РУ, РП или РТП 6-10 кВ) на расстоянии 200-300 м от ПС должен быть установлен комплект аппаратов защиты.

На ВЛ напряжением 6-10 кВ, на которых в грозовой сезон могут иметь место длительные отключения с одной стороны, следует устанавливать аппараты защиты (РТ2) на конструкции ПС или на концевой опоре того конца ВЛ, который может быть длительно отключен (рисунок 3.1). Расстояние от РТ2 до отключенного выключателя по ошиновке должно быть не более 10 м.

При невозможности выдержать указанные расстояния, а также при наличии на отключенном конце ВЛ трансформаторов напряжения вместо РТ2 должны быть установлены РВ или ОПН. Расстояние от РВ до защищаемого оборудования должно быть при этом не более 10 м, для ОПН - увеличенное пропорционально разности испытательного напряжения ТН и остающегося напряжения ОПН.

При установке РВ или ОПН на всех вводах ВЛ в ПС и их удалении от подстанционного оборудования в пределах допустимых значений по условиям грозозащиты аппараты защиты на шинах ПС могут не устанавливаться.

Сопротивление заземления разрядников PT1 и РТ2 не должны превышать 10 Ом при удельном сопротивлении земли до 1000 Ом×м и 15 Ом при более высоком удельном сопротивлении.

3.1.4 Защита подходов ВЛ напряжением 6-10 кВ к ПС молниеотводами по условиям грозозащиты не требуется.

3.1.5. На подходах ВЛ напряжением 6-10 кВ с железобетонными опорами к подстанциям установка аппаратов защиты не требуется. Однако, при применении на ВЛ напряжением 6-10 кВ изоляции, усиленной более чем на 30% (например, из-за загрязнения атмосферы), на расстоянии 200-300 м от ПС и на ее вводе должны быть установлены аппараты защиты.

Железобетонные опоры на протяжении 200-300 м подхода к ПС должны быть заземлены с сопротивлением не более указанных в п. 2.5.2.

3.1.6 В случае присоединения ВЛ напряжением 6-10 кВ к ПС посредством кабельной вставки, в месте присоединения кабеля к ВЛ должен быть установлен комплект РВ или ОПН. В этом случае заземляющий зажим разрядника, металлические оболочки кабеля, а также корпус кабельной муфты должны быть соединены между собой по кратчайшему пути. Заземляющий зажим разрядника должен быть соединен с заземлителем отдельным спуском.

Если ВЛ выполнена на деревянных опорах, на расстоянии 200-300 м от конца кабеля следует устанавливать комплект аппаратов защиты. При длине кабельной вставки более 50 м установка РВ или ОПН на ПС не требуется. Сопротивление заземления аппарата должно быть не более значений указанных в п. 2.5.2.

3.1.7 Аппараты защиты от грозовых перенапряжений (ОПН, РДИ, РВ или РТ) должны быть установлены в точках ВЛ с ослабленной изоляцией:

- на единичных железобетонных опорах ВЛ напряжением 6-10 кВ с деревянными опорами;

- на опорах, ограничивающих пролеты пересечений ВЛ;

- на опорах с кабельными муфтами.

3.1.8 Сопротивления заземляющих устройств деревянных опор, на которых установлены трубчатые разрядники, ОПН и защитные промежутки должны приниматься в соответствии с таблицей 2.2 настоящих Указаний.

3.1.9 Подходы ВЛ напряжением 6-10 кВ, магистрали которых выполнены в габаритах ВЛ напряжением 35 кВ, рекомендуется защищать от прямых ударов молнии тросовыми молниеотводами (см. п. 1.4.2).

Глава 3.2 ЗАЩИТА РУ 6-10 кВ

3.2.1 Распредустройства 6-10 кВ, к которым присоединены ВЛ, должны быть защищены ОПН (или РВ), установленными на шинах или у трансформаторов (рисунки 3.1 и 3.2).

В обоснованных случаях применяются дополнительно защитные емкости.

Ограничитель перенапряжения (или вентильный разрядник) в одной ячейке с трансформатором напряжения должен быть присоединен до его предохранителя.

3.2.2 При применении воздушной связи трансформаторов с шинами РУ 6-10 кВ расстояния от ОПН (или РВ) до защищаемого оборудования не должны превышать 60 м при ВЛ на деревянных опорах и 90 м при ВЛ на железобетонных опорах.

Рисунок 3.1 - Защита РУ 10 кВ от набегающих грозовых волн с ВЛ напряжением 10 кВ на деревянных опорах (на ВЛ установлены ОПН с разрядным номинальным током 10 кА и током пропускной способности 500 А на прямоугольном импульсе длительностью 2000 мкс)

3.2.3 При присоединении трансформаторов к шинам кабелями расстояния от установленных на шинах ОПН (или РВ) до трансформаторов не ограничиваются.

3.2.4 При установке на всех вводах линий в РУ аппаратов защиты (ОПН или РВ) с расстояниями до оборудования согласно п. 3.2.2 настоящих Указаний, по условиям защиты от грозовых перенапряжений на шинах ПС аппараты защиты могут не устанавливаться.

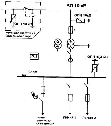
Рисунок 3.2 - Схема защиты от грозовых перенапряжений РУ 10 кВ с отходящими ВЛ на деревянных опорах (на ВЛ установлены ОПН с разрядным номинальным током 10 кА и током пропускной способности 500 А на прямоугольном импульсе длительностью 2000 мкс и РДИ согласно п. 3.2 приложения Д)

Глава 3.3 ЗАЩИТА ТП 6-10/0,4 кВ

3.3.1 Защита ТП 6-10/0,4 кВ (ЗТП, КТП, столбовых (СТП) и мачтовых (МТП) подстанций) осуществляется комплектом ОПН (или РВ).

На МТП и СТП аппараты защиты устанавливаются на опорах (опоре) после или до разъединителя.

На КТП шкафного или киоскового исполнения с воздушным вводом аппараты защиты устанавливаются на шкафу устройства ввода высокого напряжения.

На ЗТП с воздушным вводом аппараты защиты устанавливаются на шинную сборку 6-10 кВ (рисунок 3.3).

Рисунок 3.3 - Схема защиты ТП 6-10/0,4 кВ от воздействия грозовых перенапряжений

3.3.2 Защита электрооборудования ТП 6-10/0,4 кВ, непосредственно связанного с ВЛ напряжением 0,38 кВ, осуществляется путем установки на шинах 0,4 кВ ОПН (или РВ), а на подходах ВЛ - двух защитных заземлений на расстоянии ~ 50 м от трансформатора и на таком же расстоянии друг от друга с присоединением их к нулевому проводу и к крюкам ил и штырям изоляторов фазных проводов.

Сопротивление заземления должно быть не более 30 Ом.

3.3.3 Защита подстанций 10/0,4 кВ, связанных с ВЛ напряжением 0,38 кВ через кабельную вставку, от перенапряжений со стороны ВЛ осуществляется посредством установки ОПН (или РВ) на опоре с концевой кабельной муфтой и защитой подхода согласно п. 3.3.2.

На деревянных опорах ВЛ при переходе в кабельную линию заземляющий проводник должен быть присоединен к PEN-проводнику ВЛ и металлической оболочке кабеля (PEN-проводник - совмещенный нулевой защитный и нулевой рабочий проводник).

Раздел 4 ВЫБОР ПАРАМЕТРОВ ОПН ДЛЯ ЗАЩИТЫ ОТ ГРОЗОВЫХ ПЕРЕНАПРЯЖЕНИЙ В СЕТЯХ НАПРЯЖЕНИЕМ 6-10 кВ

4.1 ОПН в сетях напряжением 6-10 кВ устанавливаются:

- на шинах РУ 6-10 кВ (включая РП и РТП) для защиты силовых трансформаторов и электрооборудования;

- для защиты электрооборудования пунктов секционирования и АВР;

- на подходах ВЛ к РУ;

- на ВЛ для защиты ослабленных мест (железобетонные опоры на ВЛ с деревянными опорами, кабельные муфты, места пересечений);

- на вводах напряжением 6-10 кВ силовых трансформаторов ТП 6-10/0,4 кВ.

4.2 Наибольшее рабочее напряжение ОПН Uн.р.ОПН выбирается равным наибольшему рабочему напряжению электрооборудования Uн.р.ОПН = 7,2 и 12,0 кВ соответственно для PC напряжением 6 и 10 кВ.

4.3 Остающееся напряжение при грозовом импульсе тока 8/20 мкс с амплитудой 5 кА должно быть не выше Uост.5кА = 27 и 45 кВ соответственно для PC напряжением 6 и 10 кВ.

4.4 Номинальный разрядный ток ОПН во всех случаях, кроме указанных ниже, принимается равным 5 кА.

4.5 Номинальный разрядный ток ОПН принимается равным 10 кА при установке аппаратов защиты:

- в районах с интенсивностью грозовой деятельности более 50 грозовых часов в год;

- в сетях с ВЛ на деревянных опорах;

- в сетях с повышенными требованиями по надежности.

4.6 ОПН должен быть отстроен от работы при перенапряжениях, вызванных однофазными дуговыми замыканиями на землю.

Это требование выполняется, если остающееся напряжение при импульсе тока 30/60 мкс с амплитудой 0,5 кА будет Uост.5кА ³ 18 и 29 кВ соответственно для PC напряжением 6 и 10 кВ. При этом пропускная способность ОПН (амплитуда прямоугольного импульса тока длительностью 2000 мкс) должна быть не менее 250 А.

4.7 На шинах ПС, подходах ВЛ с деревянными опорами (в т.ч. на оборудовании ВЛ) длина пути утечки внешней изоляции ограничителей должна быть не менее 13 и 22 см соответственно для PC напряжением 6 и 10 кВ.

Раздел 5 ЗАЩИТА ВЛ НАПРЯЖЕНИЕМ 0,38 кВ ОТ ГРОЗОВЫХ ПЕРЕНАПРЯЖЕНИЙ

Глава 5.1 ЗАЩИТА ВЛ НАПРЯЖЕНИЕМ 0,38 кВ

5.1.1 От грозовых перенапряжений должны быть защищены:

- электрооборудование и аппараты, установленные на опорах ВЛ;

- ответвления от магистрали к вводам в здания;

- защита изоляции проводов ВЛИ.

5.1.2 Защита ответвлений от магистрали к вводам в здания и снижение величины грозовых перенапряжений, проникающих во внутренние проводки, достигается путем отвода тока молнии в заземлитель через заземляющий спуск, смонтированный на опоре с ответвлением к вводу потребителя.

5.1.3 ВЛ напряжением 0,38 кВ, проходящие по населенной местности с одно и двухэтажной застройкой, должны иметь заземляющие устройства, предназначенные для защиты от грозовых перенапряжений.

К заземляющим устройствам должны быть присоединены нулевой провод, крюки или штыри фазных проводов и проводов всех других линий (проводного вещания, связи и др.), подвешенных на деревянных и железобетонных опорах, а также арматура железобетонных опор.

Сопротивление заземляющих устройств опор должно быть не более 30 Ом. Расстояния между опорами с заземляющими устройствами не должно превышать:

- 200 м для районов со среднегодовой продолжительностью гроз £ 40 ч;

- 100 м - для районов со среднегодовой продолжительностью гроз более 40 ч.

5.1.4 Дополнительно, заземляющие устройства должны быть выполнены:

на опорах с ответвлениями к вводам в здания, в которых может быть сосредоточено большое количество людей (школы, ясли, больницы), или которые представляют большую материальную ценность (животноводческие, птицеводческие помещения, склады);

- на концевых опорах линий, имеющих ответвления к вводам, при этом наибольшее расстояние от соседнего заземления, этих же линий должно быть не более 100 м для районов со среднегодовым числом часов гроз до 40 и 50 м - для районов со среднегодовым числом часов гроз более 40.

5.1.5 На вводах в здания и на концевых опорах линий, рекомендуется дополнительно устанавливать ОПН низкого напряжения.

5.1.6 Для защиты электронного оборудования (компьютеры, телевизоры и т.д.) от грозовых перенапряжений проникающих в проводку здания, следует применять специальные разрядники и ОПН, расположенные в непосредственной близости от защищаемого оборудования. Для защиты особо чувствительного оборудования следует предусматривать специальные трансформаторы, фильтры и источники питания.

5.1.7 Крюки, штыри деревянных опор заземлению не подлежат, за исключением крюков и штырей на опорах, где выполнены повторные заземления для защиты от грозовых перенапряжений.

Крюки, штыри и арматура опор, ограничивающих пролет пересечения, а также опор, на которых производится совместная подвеска, должны быть заземлены.

Глава 5.2 ЗАЩИТА ВЛИ НАПРЯЖЕНИЕМ 0,38 кВ

5.2.1 На ВЛ напряжением 0,38 кВ с изолированными самонесущими проводами (ВЛИ 0,38 кВ) должны быть выполнены заземляющие устройства, предназначенные для повторного заземления нулевого провода, защиты от грозовых перенапряжений, заземления электрооборудования, установленного на опорах ВЛИ 0,38 кВ.

5.2.2 Заземляющие устройства для повторного заземления нулевого провода и для целей защиты от грозовых перенапряжений должны выполняться в соответствие с требованиями 5.1.4 настоящих Указаний. В случае изолированного нулевого провода присоединение его к заземлению осуществляется с помощью прокалывающего зажима.

5.2.3 Для защиты электрооборудования, аппаратов и ВЛИ 0,38 кВ должны применяться ОПН (или РВ), установленные в непосредственной близости от защищаемых объектов.

ОПН (или РВ) на ВЛИ должны быть присоединены к фазному проводу посредством прокалывающих: зажимов.

5.2.4 Ограничители перенапряжения и разрядники, устанавливаемые на опорах ВЛИ 0,38 кВ для защиты кабельных вставок от грозовых перенапряжений, должны быть присоединены к заземлителю отдельным спуском.

СПИСОК ЛИТЕРАТУРЫ

1. Ларионов В.П. Молниезащита. Часть III. Электричество, 1996, № 9, с. 61-68.

2. Электрофизические основы техники высоких напряжений / Под ред. Верещагина И.П., Ларионова В.П. - М.: Энергоатомиздат, 1993, 543 с.

3. Перенапряжения в электрических системах и защита от них. Базуткин В.В., Кадомская К.П. и др. - СПб.: Энергоатомиздат, 1995, 320 с.

4. Перенапряжения и защита от них в воздушных и кабельных электропередачах высокого напряжения. Костенко М.В., Левинштейн М.Л. и др. - Л.: Наука, 1988, 302 с.

5. Руководство по защите электрических сетей 6-1150 кВ от грозовых и внутренних перенапряжений / Под научной ред. Н.Н. Тиходеева - Санкт-Петербург: ПЭИПК Минтопэнерго РФ, 1999, 353 с.

6. Защита сетей 6-35 кВ от перенапряжений / Халилов Ф.Х., Евдокунин Г.А., Поляков B.C., Подпоркин Г.В., Таджибаев А.И. - СПб.: Энергоатомиздат. Санкт-Петербургское отделение, 2002.- 272 с.

7. Подпоркин Г.В., Пильщиков В.Е., Сиваев А.Д. Грозозащита воздушных линий 10 кВ длинно-искровыми разрядниками модульного типа / Электричество, 2002, № 4, с. 8-15.

8. Руководящие материалы по проектированию электроснабжения сельского хозяйства, ОАО "РОСЭП", 2000, № 11, с. 10-36.

9. Правила устройств электроустановок (ПУЭ), 7 изд. (Главы 1.7, 2.4, 2.5 и 4.2), М., "Издательство НЦ ЭНАС", 2003.

10. ГОСТ 1232-82. Изоляторы.

11. ГОСТ 24291-90 Электрическая часть электростанций и электрической сети. Термины и определения.

12. ГОСТ 1516.3-96 Электрооборудование переменного тока на напряжение от 1 до 750 кВ. Требования к электрической прочности изоляции.

13. ГОСТ Р 50571.19-2000 (МЭК 60364 4 443 95) Электроустановки зданий. Часть 4. Требования по обеспечению безопасности. Глава 44. Защита от перенапряжений. Раздел 443. Защита электроустановок от грозовых и коммутационных перенапряжений.

14. Справочник по электрическим установкам высокого напряжения. М.: Энергоатомиздат, 1989.

15. Методические указания по применению ограничителей перенапряжений нелинейных в электрических сетях 6-35 кВ., М.: РАО "ЕЭС России", 2001.

ПРИЛОЖЕНИЕ А

РАСЧЕТ ЧИСЛА УДАРОВ МОЛНИИ В СЕТЕВЫЕ ОБЪЕКТЫ

1 При интенсивности грозовой деятельности 100 грозовых часов в год среднегодовая плотность ударов молнии в поверхность земли принимается равной 6,7 удара на 1 км2 и уменьшается пропорционально числу грозовых часов (гр. ч) в конкретной местности. Годовое число ПУМ в сооружение высотой Н и площадью (А×В) (размеры в метрах) определяется по формуле:

ппум = 6,7(А + 6Н)(В + )×10-6, ударов.

2 Для ВЛ удельное число прямых ударов молнии (на 100 км за 100 гр. ч) составляет:

Nвл = 4hcp, ударов/(100 км×100 гр. ч),

где hcp - средняя высота подвеса верхнего провода, м; для линии без защитного троса определяется по формуле hcp = hоп, - (2/3)f,

hоп - высота подвеса верхнего провода на опоре, м;

f - стрела провеса провода, м.

При отсутствии данных о стреле провеса, f вычисляется приближенно через нормированный габарит между нижним проводом и землей hг по формуле:

где  - высота подвеса нижнего провода на опоре (для ВЛ 6-10 кВ равна 7-9 м).

3 Общее число ПУМ в линию за год оценивается по формуле:

N = 4hcp(I/100)×(Tч/100),

где I - длина линии, км;

Тч - число грозовых часов в году.

4 Строения и деревья, окружающие линию 6-10 кВ, снижают своим экранированием число ударов молнии в линию до величины:

Nэ = N(1- Kэ),

где N - число ПУМ в ВЛ на открытой местности;

Kэ - коэффициент экранирования. Экранирование различают по высоте экранирующего объекта (рисунки А.1 и А.2):

- экранирование объектом, меньшим или равным высоте линии;

- экранирование объектом, большим по высоте линии.

Рисунок А.1 - Коэффициенты экранирования для одностороннего экранирующего объекта высотой, равной hвл/2 (1) и hвл (2), при различных расстояниях S от ВЛ. Высота ВЛ hвл = 9-15 м

Рисунок А.2 - Коэффициенты экранирования для объектов высотой (1,5-2)hвл одностороннего (1) и двухстороннего (2), при различных расстояниях S от ВЛ. Высота ВЛ hвл = 9-15 м

Если экранирующие объекты выше линии, то коэффициенты экранирования на сторонах линии нельзя суммировать из-за эффекта дополнительного экранирования и следует пользоваться кривой 2 на рисунке А.2.

Если экранирующие объекты находятся на обеих сторонах ВЛ и их высота меньше или равна высоте линии, то коэффициент экранирования рассчитывается по формуле:

Kэ = Kэ.п + Kэ.л,

где Kэ.п - экранирующий коэффициент правой стороны ВЛ;

Kэ.л - экранирующий коэффициент левой стороны ВЛ.

Небольшое число редко растущих деревьев практически не экранируют ВЛ. Во всех случаях экранирующий эффект сводится к нулю при расстояниях объекта от ВЛ свыше 100-120 м.

При экспресс оценке экранирования близлежащих объектов можно применять следующие значения коэффициентов экранирования:

- Kэ = 0,3-0,5 - в городских условиях, вблизи строений и частых деревьев;

- Kэ = 0,6-0,8 - при прохождении ВЛ по просеке в лесу.

ПРИЛОЖЕНИЕ Б

ЗОНЫ ЗАЩИТЫ МОЛНИЕОТВОДОВ

1 Зона защиты молниеотвода - это часть пространства, внутри которого здание или сооружение защищено от ПУМ с определенной степенью надежности. По мере продвижения по поверхности внутрь зоны надежность защиты увеличивается.

В сетях 6-10 кВ молниеотводами от ПУМ должны быть защищены ОРУ 6-10 кВ, подстанции 35 кВ и выше, а также шинные мосты и гибкие связи 6-10 кВ от понижающих трансформаторов до ОРУ 6-10 кВ.

2 Зона защиты одиночного стержневого молниеотвода высотой h < 150 м представляет собой круговой конус (рисунок Б.1) с вершиной на высоте h0 < h. Горизонтальное сечение зоны защиты на высоте hx представляет собой круг радиусом rх. На уровне земли зона защиты образует круг радиусом r0. Граница зоны защиты (при вероятности прорыва 0,05) описывается формулами:

h0 = 0,92h; r0 = 1,5h;

rx = 1,5(h - hx/0,92)

Рисунок Б.1. Зона защиты одиночного стержневого молниеотвода высотой до 150 м:

1 - граница зоны защиты на уровне земли; 2 - то же на высоте hx.

Высота одиночного стержневого молниеотвода при известных для защищаемого объекта величинах hx и rх определяется по формуле:

h = (rх + 1,63hx)/1,5.

3 Зона защиты двух стержневых молниеотводов одинаковой высотой h < 150 м показана на рисунке Б.2. Торцевые области зоны защиты (габариты h0, r0, rх1, rх2) определяются как зоны одиночных стержневых молниеотводов. Зоны защиты двойного стержневого молниеотвода (при вероятности прорыва 0,05) имеют следующие габариты:

При L < 1,5h: hc = h0; rcx = rx; rc = r0.

При 5h > L > 1,5h:

При известных hc и L (при rсх = 0) высота молниеотвода определяется по формуле:

h = (h + 0,14L)/1,13.

Стержневые молниеотводы, находящиеся на расстоянии L >5h, следует рассматривать как одиночные.

Рисунок Б.2. Зона защиты двойного стержневого молниеотвода высотой до 150 м:

1 - граница зоны защиты на уровне земли; 2 - то же на высоте hx.

ПРИЛОЖЕНИЕ В

ЭЛЕКТРИЧЕСКИЕ ПАРАМЕТРЫ РАЗРЯДА МОЛНИИ

Параметры разряда молнии, используемые в расчетах защиты ВЛ и ПС от грозовых перенапряжений, и информация об их количественных характеристиках дана в таблице В.1 и подробно изложена в разделе 6 "Руководства по защите электрических сетей 6-1150 кВ от грозовых и внутренних перенапряжений".

До 90% разрядов молнии в землю имеют отрицательную полярность. Ток главного разряда молнии имеет форму апериодического импульса и характеризуется максимальной крутизной ам, длительностью фронта, длительностью импульса tи (до полуспада) и амплитудой импульса Iм. Вместо крутизны фронта в расчетах можно использовать длительность фронта tф, определяемую из соотношения ан = Iм/tф.

Грозоупорность ВЛ, как правило, рассчитывается только для первого импульса разряда молнии, так как вероятность перекрытия изоляции при воздействии последующих импульсов на порядок и более меньше, чем при воздействии первого импульса. Учет последующих импульсов в оценке грозоупорности оправдан только в некоторых специальных случаях при большой индуктивности опор (многоцепные ВЛ на одностоечных опорах, большие переходы ВЛ через водные преграды и т.д.).

При многократном разряде молнии перенапряжения на изоляции ВЛ возникают как при первом, так и последующих импульсах тока, однако при обычном времени действия защит и АПВ (не менее 1 с) все возможные при многократном разряде молнии перекрытия линейной изоляции укладываются в интервал одного отключения ВЛ.

Расчеты по защите ПС от воздействия грозовых перенапряжений должны выполняться с обязательным учетом первых и последующих импульсов многократного разряда молнии.

Таблица В.1

Параметры разряда молнии, используемые в расчетах защиты ВЛ и ПС от грозовых перенапряжений

Параметр

Количественные характеристики*

Полярность разряда

С вероятностью 0,9 отрицательная

Многокомпонентность

Статистическое распределение числа импульсов в разрядах по рисунку 6.2

Для первой и последующих составляющих

Форма импульсов

Обобщенная форма импульсов дана на рисунке 6.4, расчетная (п. 6.2.3)

Длительность импульса и длительность фронта

Статистические распределения (п. 6.2.2)

Амплитуда и крутизна тока

Корреляция между амплитудой и крутизной тока

В расчетах амплитуда и крутизна тока приняты взаимно независимыми (п. 6.2.4)

Скорость распространения главного разряда

0,3 скорости света (п. 6.2.5)

Эквивалентное сопротивление канала молнии

Учитывается зависимость от амплитуды тока молнии (п. 6.2.6)

* Количественные характеристики приведены по разделу 6 "Руководства по защите электрических сетей 6-1150 кВ от грозовых и внутренних перенапряжений".

ПРИЛОЖЕНИЕ Г

ИМПУЛЬСНАЯ ПРОЧНОСТЬ ИЗОЛЯЦИИ СЕТЕВЫХ ОБЪЕКТОВ

1 Импульсная прочность изоляции ВЛ 6-10 и 0,38 кВ

1.1 На ВЛ 6-10 кВ применяются штыревые и подвесные изоляторы, а также полимерные изоляторы и траверсы, проводящие (железобетонные) и деревянные опоры.

Тип изолятора ВЛ 6-10 кВ выбирается не по условиям защиты от грозовых перенапряжений, а по величине рабочего напряжения и проверяется по внутренним перенапряжениям. Поэтому импульсная прочность изоляции ВЛ 6-10 кВ крайне низка.

Импульсный уровень изоляции ВЛ на железобетонных опорах определяется прочностью используемых изоляторов. На ВЛ с деревянными опорами следует учитывать дополнительную импульсную прочность, вносимую древесиной.

Для ВЛ 6 и 10 кВ рекомендуемые мокроразрядные напряжения штыревых изоляторов должны составлять соответственно не менее 28 и 34 кВ.

Согласно ПУЭ на ВЛ 6-10 кВ достаточно применять один подвесной изолятор с длиной пути утечки не менее 25 см.

На одностоечных деревянных опорах допускается расстояние между фазами по дереву для ВЛ 6-10 кВ - 0,75 м при условии соблюдения требований по сближению проводов в пролете.

1.2 Основные параметры штыревых изоляторов (фарфоровых и стеклянных) для ВЛ 6-10 кВ в соответствии с ГОСТ 1232:

1. Класс напряжения - 10 кВ.

2. Выдерживаемое напряжение при импульсах 1,2/50 мкс, не менее - 80 кВ.

3. Изоляционное расстояние по воздуху от провода до штыря, не менее - 150 мм.

Параметры выпускаемых заводами изоляторов обычно выше, чем требуемые ГОСТ.

1.3 Характеристика линейных изоляторов для ВЛ 6-10 кВ и 0,38 кВ приведены на рисунке Г.1 и таблицах Г.1-Г.2.

Рисунок Г.1 - Изоляторы линейные фарфоровые

Приводимые в ГОСТ и каталогах заводов значения выдерживаемых импульсных напряжений изоляторов, как следует из нормированной методики испытаний, имеют вероятность выдерживания 0,9 (по существу являются 10%-ми разрядными напряжениями)/

Наиболее распространенный в сетях 10 кВ линейный штыревой изолятор И1Ф10-Г имеет следующие импульсные разрядные характеристики:

- при стандартном импульсе 1,2/50 мкс 50 процентные разрядные напряжения не зависят от полярности воздействующего напряжения и равны U50%+ = U50%- = 130 кВ;

- стандартные отклонения разрядных напряжений также не зависит от полярности напряжения и составляет s+ = s- = 3,1%.

1.4 Изоляционные расстояния по воздуху на опорах ВЛ выбираются такими, чтобы их разрядные напряжения были не ниже, чем у линейных изоляторов. Для ВЛ 6-10 кВ наименьшее допустимое изоляционное расстояние по воздуху от проводов до заземленных частей опор по ПУЭ составляет:

- 20 см по грозовым перенапряжениям (для штыревых и подвесных изоляторов);

- 10 см по внутренним перенапряжениям;

- 4 см по рабочему напряжению.

Изоляционные расстояния по воздуху до деревянной опоры, не имеющей заземляющих спусков, допускается уменьшить на 10%.

Указанные изоляционные расстояния по внутренним перенапряжениям приведены для расчетной кратности, равной 4,5.

Таблица Г.1

Характеристика линейных штыревых изоляторов на напряжение 0,4-10 кВ

Параметр

ШФ20-Г

ШФУ-10 ШФ-15

ШФ10-Г

ТФ20

Номинальное напряжение, кВ

20

10

10

1

Пробивное напряжение в изоляционной среде, кВ

180

165

160

 

Выдерживаемое импульсное напряжение, кВ

135

110

100

 

Выдерживаемое напряжение в сухом состоянии, кВ

85

70

65

 

Выдерживаемое напряжение под дождем, кВ

65

50

42

 

Длина пути утечки, не менее, мм

400

300

265

 

Разрушающая сила при изгибе, не менее, кН

13

13

12,5

 

Масса, кг

3,5

2,4

1,7

0,49

Прочность на изгиб, Н

 

 

 

8000

Сопротивление изоляции, не менее, МОм

 

 

 

50000

1.5 Изменение импульсной прочности комбинированной изоляции "дерево - изоляторы" показано на рисунке Г.2. Экспериментальные данные по импульсной прочности дерева имеют большой разброс, связанный с состоянием образцов дерева, используемых при опытах.

Импульсная прочность комбинированной изоляции оценивается по следующим формулам:

Uимп = Uи.ш + 100Iдер - для штыревых изоляторов;

Uимп = Uи.г + 100Iдер - для гирлянд подвесных изоляторов;

где: Uи.ш, Uи.г - импульсное 50 процентное разрядное напряжение соответственно штыревых изоляторов и гирлянды подвесных изоляторов (фарфоровых либо стеклянных), кВ;

Iдер - длина дерева (формулы справедливы для Iдер£ 4 м), м.

При длинах дерева I1 для штыревых и I2 для подвесных изоляторов импульсная прочность комбинированной изоляции равна Uимп = 300Iдер, то есть прочность изоляторов не учитывается. Для больших отрезков дерева (стойки опор) 8-12 м импульсная прочность древесины оценивается величиной 180 кВ/м.

Рисунок Г.2 - Импульсная прочность изоляции:

1 - дерево и штыревых изоляторов; 2 - дерево и подвесных изоляторов; 3 - только дерева.

1.6 Изоляционное покрытие защищенных проводов не может служить основной изоляцией ВЛ по отношению к земле. Изоляция ВЛЗ 10 кВ, соответствующая номинальному напряжению, обеспечивается изоляторами, установленными на опорах.

Выбор изоляторов и изоляционных расстояний от токоведущих до заземленных частей опор производится так же, как для ВЛ с неизолированными проводами.

1.7 Для низковольтных линейных изоляторов (типа ТФ-20, D = 7,0 см и Н = 10,0 см) импульсное разрядное напряжение составляет U50% 50 кВ.

Таблица Г.2

Характеристики подвесных тарельчатых изоляторов

Тип изолятора

Стеклянный изолятор

Фарфоровый изолятор

нормального исполнения

с увеличенным вылетом ребра

двукрылый

нормального исполнения

ПС 40-А

ПС 70-Е

ПСВ 40-В

ПСВ 70-А

ПСД

70-Е

ПФ 40-А

ПФ 70-А

ПФ 70-Д

ПФ6-А (П-4,5)

ПФ6-Б (П-4,5)

Минимальная механическая разрушающая нагрузка, кН

40

70

40

70

70

40

70

70

60

60

Диаметр D, мм

175

255

255

280

270

255

255

250

270

270

Строительная высота Н, мм

110

127

110

146

146

214

180

127

170

140

Длина пути утечки, мм

190

303

320

442

411

303

303

303

285

280

Пробивное напряжение в изоляционной среде, кВ

100

130

100

130

130

130

130

130

110

100

Выдерживаемое напряжение 50 Гц (в сухом состоянии), кВ

55

70

70

82

75

 

 

 

60

60

Выдерживаемое напряжение 50 Гц (под дождем), кВ

33

40

40

50

45

40

40

40

32

32

Выдерживаемое импульсное напряжение 1,2/50 +/-, кВ

70/70

100/

100

100/

100

125/

125

110/

110

100/

100

100/

100

100/

100

130/

130

130/

130

Масса, кг

1,7

3,4

3,0

5,6

4,6

4,7

4,7

4,5

6,5

6,0

2 Импульсная прочность изоляции электрооборудования 6-10 кВ и 0,4 кВ подстанций 35-110/10 кВ и 6-10/0,4 кВ

2.1 В таблице Г.3 приведены нормированные испытательные напряжения внутренней и внешней изоляции электрооборудования 6-10 кВ (по ГОСТ 1516.3-96).

Таблица Г.3

Испытательные напряжения внутренней и внешней изоляции электрооборудования

Напряжение, кВ

Испытательное напряжение для оборудования с нормальной изоляцией, кВ

Испытательное напряжение для оборудования с облегченной изоляцией, кВ

грозового импульса

одноминутное переменное

полного грозового импульса

одноминутное переменное

полного

срезанного

в сухом состоянии

под дождем

в сухом состоянии

под дождем

аппараты

силовые трансформаторы

6

60

70*

32

25

20

40

20

20

10

75

90*

42

35

28

60

28

28

* только для оборудования, имеющего обмотки (трансформаторы силовые и напряжения, шунтирующие реакторы)

2.2 В эксплуатации для внутренней изоляции трансформаторов характерны воздействия униполярного колебательного импульса. Значение уровня допустимых (выдерживаемых) напряжений внутренней изоляции электрооборудования 6-10 кВ принимается равные" значению испытательных напряжений (таблица Г.4).

Таблица Г.4

Уровень допустимых перенапряжений для внутренней изоляции электрооборудования 6-10 кВ

Параметр

Изоляция

Нормальная

Облегченная

Номинальное напряжение, Uн, кВ

6

10

6

10

Наибольшее рабочее напряжение, Uн.р, кВ

7,2

12

7,2

12

Амплитуда наибольшего рабочего фазного напряжения, Uф. = Uн.р, кВ

5,88

9,80

5,88

9,80

Испытательное напряжение срезанного импульса (для трансформаторов силовых и напряжения) Uсги.

70

90

-

-

Испытательное напряжение полного импульса Uпги, кВ

60

75

40

60

Уровень допустимых грозовых перенапряжений Uдоп.г., кВ

60

75

40

60

Кратность допустимых перенапряжений по отношению к амплитуде наибольшего рабочего фазного напряжения Uдоп.г./Uф

10,2

7,7

6,8

6,1

2.3 Допустимые грозовые перенапряжения для внешней изоляции электрооборудования подстанции (вводов, выключателей, разъединителей, трансформаторов тока, предохранителей) определяются по вольт-секундным характеристикам изоляции и рассчитываются по формуле:

где: t - время, мкс;

Т и А - постоянные, значения которых находятся подстановкой в формулу для Uд(t)) испытательных напряжений электрооборудования при полном и срезанном импульсах и времени 10 и 2 мкс соответственно.

Допустимые перенапряжения для внешней изоляции электрооборудования 6-10 кВ с нормальной изоляцией приведены на рисунке Г.3.

Так как значения испытательных напряжений меньше разрядных, то полученные допустимые воздействия имеют определенный запас. Допустимые грозовые перенапряжения для внешней изоляции электрооборудования 6-10 кВ с нормальной изоляцией приведены на рисунке Г.3.

Рисунок Г.3 - Вольт-секундная характеристика для допустимых значений грозовых импульсов на внешней изоляции оборудования с нормальной изоляцией подстанций 6-10 кВ
(на рисунке:
Uд1 - для ТП 10 кВ; Uд2 - для ТП 6 кВ)

2.4 Для изоляции оборудования класса 0,4 кВ испытания грозовыми импульсами не предусмотрены. Для исправной изоляции выдерживаемый импульсный уровень принимается равным амплитуде одноминутного испытательного напряжения 50 Гц (таблица Г.5).

Таблица Г.5

Допустимые перенапряжения для электрооборудования класса 0,4 кВ

Изоляция

Одноминутное испытательное напряжение 50 Гц

(по ГОСТ 1516.3-96), кВ

Допустимый уровень грозовых перенапряжений, кВ

Изоляция обмоток 0,4 кВ трансформаторов с изоляцией обмоток ВН:

 

 

нормальной

5

7

облегченной

3

4

Изоляция остального электрооборудования 0,4 кВ

2,0

2,8

3 Переход импульсного перекрытия в силовую дугу

После грозового перекрытия изолятора или искрового промежутка луга тока промышленной частоты устанавливается с некоторой вероятностью:

h = (1,6Еср - 6)0,01,

где Еср = U/Iразр - средний градиент электрического поля, кВ/м;

U - действующее значение напряжения вдоль пути перекрытия, кВ;

Iразр - длина пути разряда, м.

Формула не учитывает влияние величины сопровождающего тока и приближенно отражает вероятность установления дуги при токах порядка 100 А.

Важной характеристикой процесса является критический градиент рабочего напряжения вдоль пути перекрытия, при котором не происходит перехода импульсного перекрытия в дугу промышленной частоты:

Екр = U/Iразр.

Указанная зависимость приведена на рисунке Г.4. Критический градиент зависит от сопровождающего тока. С его ростом в диапазоне 20-300 А критический градиент снижается от 20 до 7 кВ/м, а при дальнейшем увеличении тока - изменяется относительно медленно.

При изменении тока от 1000 до 10000 А критический градиент уменьшается с 5 до 4 кВ/м. В случае перекрытия изоляторов на одной фазе линии сопровождающий ток является током ОЗЗ в сети с изолированной нейтралью.

Это емкостный ток, как правило, не превышает 20 А. При снижении емкостного тока с 12 до 5 А критический градиент возрастает примерно с 40 до 80 кВ/м.

Зависимость на рисунке Г.4 описывается формулами:

Екр = 70I-0,41 , при 20 £ I £ 600 А;

Екр = 8I-0,08 , при 600 < I £ 10000 А

где: I - действующее значение сопровождающего тока, А;

Екр - действующее значение критического градиента напряжения промышленной частоты, кВ/м.

Рисунок Г.4 - Зависимость критического градиента перехода импульсного перекрытия в дугу от сопровождающего тока

В случае если Еср £ Екр вероятность установления силовой дуги равна нулю h = 0.

При Еср > Екр вероятность установления силовой дуги определяется формулой:

.

ПРИЛОЖЕНИЕ Д

АППАРАТЫ ЗАЩИТЫ ОТ ПЕРЕНАПРЯЖЕНИЙ

1 Ограничители перенапряжений

Ограничитель перенапряжений нелинейный (ОПН) является аппаратом, обеспечивающим защиту изоляции электрооборудования в PC от грозовых перенапряжений. ОПН не применяется для защиты электрооборудования от ПУМ, т.к. в этом случае он разрушается. Поэтому применение ОПН для защиты линий связано с риском разрушения аппаратов. В сетях 10 кВ изоляция линии является достаточной для защиты от коммутационных перенапряжений.

Конструктивно ОПН представляет нелинейное сопротивление, набранное из оксидно-цинковых варисторов, соединенных последовательно и заключенных в фарфоровую или полимерную покрышку. Как правило, аппарат снабжен противовзрывным клапаном.

Важным отличием ОПН от вентильного разрядника является его постоянное подключение к фазе электрической сети. В нормальном режиме ОПН находится под фазным напряжением и через него проходит ток (~ 0,1 мА). При повышении напряжения на ОПН ток через него резко возрастает. Выделяемая вследствие этого в ОПН энергия должна быть меньше нормируемого значения, иначе произойдет нарушение термостабильности аппарата защиты и его пробой.

Выбор ОПН определяется как энергетическими воздействиями на него в различных режимах, так и его защитным уровнем при перенапряжениях, который должен координироваться с испытательными напряжениями электрооборудования.

Значение энергоемкости ОПН определяется в основном током пропускной способности и нормированным наибольшим длительно допустимым рабочим напряжением.

Выбор ОПН для защиты от грозовых перенапряжений

ОПН 6-10 кВ устанавливают там же, где и вентильные разрядники. К основным параметрам ОПН относятся - наибольшее длительное допустимое рабочее напряжение, номинальный разрядный ток, энергоемкость, остающееся напряжение при грозовое импульсе тока, значение тока срабатывания противовзрывного устройства, длина пути утечки внешней изоляции.

Наибольшее длительно допустимое рабочее напряжение ограничителя - наибольшее действующее значение напряжения промышленной частоты, которое неограниченно долго может быть приложено между выводами ОПН. Обозначается Uнро, измеряется в действующих единицах кВ. В каталогах иностранных фирм обозначается как Uс.

Временно допустимое повышение напряжения на ограничителе - наибольшее действующее значение напряжения промышленной частоты, превышающее Uнро, которое может быть приложено к ОПН в течение заданного времени, не вызывая его повреждения. Обозначается Uвр, измеряется в действующих единицах кВ. Нормируемые зависимости Uвр от допустимой длительности приводятся в виде зависимостей "допустимое напряжение - время".

Номинальное напряжение ограничителя - действующее значение напряжения промышленной частоты, которое ОПН должен выдерживать в течение не менее 10 с в процессе рабочих испытаний. Номинальное напряжение должно быть не менее 1,25 наибольшего длительно допустимого рабочего напряжения.

Защитный уровень ОПН при коммутационных перенапряжениях - амплитуда остающегося напряжения (кВмакс) на ОПН при нормируемом токе коммутационных перенапряжений (на импульсе тока 30/60 мкс).

Защитный уровень ОПН при грозовых перенапряжениях - амплитуда (кВмакс) напряжения на ОПН при номинальном разрядном токе.

Номинальный разрядный ток - амплитуда (кАмакс) нормируемого грозового импульса 8/20 мкс, используемого для классификации ОПН, который ОПН должен выдерживать при испытаниях 20 раз.

Удельная энергоемкость - рассеиваемая ОПН энергия, после воздействия нормированного импульса тока, отнесенная к 1 кВ длительно допустимого рабочего напряжения. Полная энергоемкость - произведение удельной энергоемкости на наибольшее длительно допустимое рабочее напряжение. Обозначается Эопн, измеряется в кДж.

Ток пропускной способности ОПН (ток большой длительности) - амплитуда прямоугольного импульса тока длительностью ³ 2000 мкс, который выдерживается ОПН при испытаниях 20 раз.

Квазистационарные перенапряжения - перенапряжения промышленной или близкой к ней частоты, возникающие как следствие коммутаций в сети (например, при замыкании на землю, отключении нагрузки, обрывах проводов). Продолжительность этих перенапряжений от 0,1 с до нескольких часов.

Исходя из методики выбора ОПН (раздел 4 Методических указаний), в таблице Д.1 приведены параметры ограничителей 6-10 кВ. Характеристики ОПН приведены в "Методических указаниях по применению ограничителей перенапряжений нелинейных в электрических сетях 6-35 кВ", РАО "ЕЭС России", М., 2001.

Таблица Д.1

Параметры ограничителей 6-10 кВ

Параметр

Значение параметра

Класс напряжения, кВ

6

10

Наибольшее рабочее напряжение электрооборудования, кВ

7,2

12,0

Номинальный разрядный ток, кА, не менее

10 или 5

10 или 5

Напряжение на ОПН при грозовом импульсе (8/20 мкс) с амплитудой 5000 А, не более кВ

27

45

Напряжение на ОПН при коммутационном токе 30/60 мкс с амплитудой 500 А, не менее кВ

18

29

Пропускная способность на прямоугольном импульсе тока длиной 2000 мкс, А, не менее

250

250

Длина пути утечки, см, не менее

13,0

22,0

2 Вентильные разрядники

Вентильные разрядники являются аппаратами защиты от грозовых (в пределах их пропускной способности) перенапряжений изоляции электроустановок. Электрические характеристики вентильных разрядников приведены в таблице Д.2.

Номинальное напряжение разрядников, пробивные и остающиеся напряжения должны быть согласованы (скоординированы) соответственно с наибольшим рабочим напряжением и электрической прочностью электрооборудования. Для защиты РУ и ТП 6-10 кВ от грозовых перенапряжений применяются вентильные разрядники IV группы по ГОСТ 16357-83 (типа РВО-6 и РВО-10) на классы напряжения 6-10 кВ.

Таблица Д.2

Электрические характеристики вилитовых вентильных разрядников
(группа
IV, легкого режима по ГОСТ 16357-83)

Тип разрядника

РВП-6

РВО-6

РВП-10

РВО-10

Класс напряжения разрядника, кВ

6

6

10

10

Номинальное напряжение разрядника (наибольшее допустимое), кВ

7,5

7,5

12,7

12,7

Пробивное напряжение (эффективное) разрядника при частоте 50 Гц в сухом состоянии и под дождем, кВ,

 

 

 

 

не менее

16

16

26

26

не более

19

19

30,5

30,5

Импульсное пробивное напряжение разрядника (при предразрядном времени от 2 до 20 мкс и при полном импульсе 1,2/50 мкс), кВ, не более

35

32

50

48

Остающееся напряжение на разряднике при импульсе тока с длительностью фронта 8 мкс, с максимальными значениями:

 

 

 

 

3000 А, кВ, не более,

28

25

47

43

5000 А, кВ, не более

30

27

50

45

Токовая пропускная способность:

 

 

 

 

20 импульсов 16/40 мкс, кА;

-

5

-

5

20 импульсов прямоугольной формы длительностью 2000 мкс, А

-

75

-

75

Примечания.

1 Искровые промежутки этих разрядников не имеют шунтирующих резисторов.

2 В результате длительной эксплуатации остающееся напряжение может увеличиться на 5-10%.

3 Длинно-искровой разрядник петлевого типа РДИП

3.1 Конструкция

На рисунке Д.1 показан разрядник, установленный на опоре ВЛ 10 кВ. Металлический стержень, покрытый слоем изоляции, согнут в виде петли 1 и укреплен при помощи зажима 2 к штырю 3 изолятора 7. В средней части петли 1 поверх изоляции установлена металлическая трубка 4. На провод устанавливается универсальный зажим 8. Разрядник устанавливается таким образом, чтобы между трубкой и зажимом 8 обеспечивался воздушный промежуток S. Петля 1 имеет такой же потенциал, что и штырь 3 (опора).

Вследствие относительно большой емкости между металлической трубкой 4 и металлической жилой петли 1 все перенапряжение, приложенное между проводом 5 и опорой, оказывается приложенным между проводом 5 и трубкой 4. При достаточно большом значении перенапряжения искровой промежуток 5 пробивается, и перенапряжение прикладывается между трубкой 4 и металлической жилой петли 1 к ее изоляции.

Рисунок Д.1 - Конструктивный эскиз петлевого РДИ, установленного на опоре:

1 - металлическая петля, покрытая изоляцией; 2 - узел крепления; 3 - штырь изолятора; 4 - металлическая трубка; 5 - провод линии; 6 - канал разряда; 7 - изолятор; 8 - зажим.

Под действием приложенного перенапряжения с трубки 4 вдоль поверхности изоляции петли 1 развивается скользящий разряд 6 по одному или по обоим плечам петли 1 до момента, пока он не замкнется на узле крепления 2, гальванически связанным со штырем 3, т.е. с опорой. Благодаря большой длине перекрытия по поверхности петли импульсное перекрытие не переходит в силовую дугу промышленной частоты. Вследствие эффекта скользящего разряда вольт-секундная характеристика разрядника расположена ниже, чем изолятора, т.е. при воздействии грозового перенапряжения разрядник перекрывается, а изолятор нет.

3.2 Способ установки

Длинно-искровые разрядники петлевого типа служат для защиты ВЛ 6-10 кВ с неизолированными и с защищенными проводами. В последнем случае на защищенный провод устанавливается прокалывающий зажим, а воздушный промежуток образуется между металлической трубкой 4 (рисунок Д.1) и прокалывающим зажимом.

Разрядники предназначены для защиты ВЛ 6-10 кВ от индуктированных грозовых перенапряжений, которые составляют от 70% (при прохождении ВЛ по открытому полю) до 100% (при прохождении ВЛ в лесу) от общего числа грозовых перенапряжений.

При ОЗЗ ток не превышает 10-20 А, и петлевой разрядник с общей длиной перекрытия 80 см исключает возникновение силовой дуги.

Для ограничения тока 2-фазного замыкания на землю целесообразно устанавливать по одному разряднику на опору с чередованием фаз, например, на первой опоре разрядник устанавливается на фазу А, на второй - на фазу В, на третьей - на фазу С и т.д. (рисунок Д.2).

Индуктированное на линии грозовое перенапряжение приводит к перекрытию разрядников на разных фазах соседних опор и образованию контура междуфазного замыкания сопровождающего тока на напряжение промышленной частоты. В этот контур включены сопротивления заземления опор Rз (рисунок Д.2), которые ограничивают токи замыкания, способствуя их гашению и предотвращению отключения ВЛ. Таким образом, увеличение сопротивлений заземления опор при рассматриваемой системе защиты от грозовых перенапряжений является благоприятным фактором.

Рисунок Д.2 - Схема установки разрядников на линии

3.3 Основные параметры и характеристика

Основные технические характеристики РДИП-10-4-УХЛ1 (ТУ 341430-023-45533350-02) ОАО "НПО Стример" приведены в таблице Д.3. Конструкция узла крепления РДИП-10-4-УХЛ1 позволяет устанавливать его на штырь или крюк изолятора ВЛ и на другие элементы арматуры с защищенными и неизолированными проводами. Длинно-искровые разрядники:

- предотвращают пережог проводов (как и "дугозащитные рога");

- исключают дуговые замыкания и отключения линии, возникающие вследствие индуктированных грозовых перенапряжений.

Разрядный элемент РДИ, вдоль которого развивается скользящий разряд, имеет длину, в несколько раз превышающую длину импульсного перекрытия защищаемого изолятора линии. Конструктивные особенности разрядника обеспечивают более низкое разрядное напряжение при грозовом импульсе по сравнению с разрядным напряжением защищаемой изоляции. Главной особенностью РДИ является то, что вследствие большой длины грозового перекрытия вероятность установления дуги короткого замыкания практически сводится к нулю.

Таблица Д.3

Технические характеристики РДИП-10-4-УХЛ1

Класс напряжения, кВ

10

Длина перекрытия по поверхности, см

78

Размер внешнего искрового промежутка, см

2-4

50% импульсное пробивное напряжение, кВ, не более

110

Напряжение координации с изолятором ШФ10-Г, кВ*

400

Выдерживаемое напряжение коммутационного импульса, кВ

90

Выдерживаемое напряжение промышленной частоты, кВ:

 

в сухом состоянии

60

под дождем

50

Ток гашения дуги при номинальном напряжении, А

200

Выдерживаемый импульсный ток 8-20 мкс, кА

40

* Наибольшее напряжение при стандартной форме импульса 1,2/50 мкс, при котором обеспечивается защита разрядником изолятора, называется "напряжением координации".

4 Трубчатые разрядники

Трубчатые разрядники (РТ) предназначены для защиты от грозовых перенапряжений изоляции линий высокого напряжения, а в совокупности с другими аппаратами защиты - для защиты изоляции электрооборудования подстанций и распределительных устройств.

Гашение дуги в РТ производится за счет газов, выделяемых при нагреве стенок трубки. Трубчатые разрядники имеют верхний и нижний пределы отключаемых токов КЗ. При токах КЗ менее 200 А трубчатые разрядники не могут погасить дугу. Трубчатые разрядники для сетей 6-10 кВ с изолированной или заземленной через дугогасящий реактор нейтралью должны быть выбраны по токам КЗ в соответствии с требованиями:

- верхний предел тока, отключаемого РТ, должен быть не менее наибольшего возможного эффективного значения тока 3-фазного КЗ в данной точке сети (с учетом апериодической составляющей);

- нижний предел тока, отключаемого РТ, должен быть не более наименьшего возможного значения установившегося тока двухфазного КЗ в данной точке сети (без учета апериодической составляющей).

При выборе трубчатых разрядников следует иметь в виду, что для сети с изолированной или компенсированной нейтралью малые токи ОЗЗ гасятся разрядниками. Разрядники на напряжение 6-10 кВ отключают емкостные токи до 80-90 А.

Основные характеристики РТ

Характеристики винипластовых трубчатых разрядников представлены в таблице Д.4, а на рисунке Д.3 даны вольт - секундные характеристики РТ. Вольт-секундные характеристики трубчатых разрядников иногда снижают подключением параллельно внутреннему искровому промежутку емкости в виде штыревого изолятора. Минимальное импульсное разрядное напряжение РТ 6-10 кВ снижается при этом на 15-20%.

Рисунок Д.3 - Защитные характеристики трубчатых разрядников РТВ 6/0,5-4 и РТВ 6/2-12 при импульсе 1,5/40 мкс (отрицательная полярность). Внешний искровой промежуток 10 мм

Недостатки трубчатых разрядников (крутая и не всегда стабильная вольт - секундная характеристика, наличие "срезов" напряжения, выхлоп раскаленных газов) исключают использование их в качестве основного средства защиты электрооборудования подстанций. РТ из-за возможных "срезов" напряжения не рекомендуется устанавливать вблизи электрооборудования, имеющего обмотки (трансформаторы силовые и напряжения, дугогасящие реакторы). Они находят применение на подходах линий к подстанциям, для защиты ослабленных по изоляции точек на ВЛ (отдельные металлические опоры; опоры, ограничивающие пролеты пересечения с другими линиями, опоры с разъединителями, кабельные переходы и т.п.).

Таблица Д.4

Технические характеристики винипластовых РТВ ЗАО "ЗЭТО"

Параметр

РТВ 10/0,5-2,5

РТВ 10/2-10

Номинальное/наибольшее допустимое напряжение, кВ

10/12

10/12

Пределы тока отключения, кА:

 

 

- нижний

0,5

2

- верхний

2,5

10

Пробивное напряжение при импульсе 1,2/50 мкс, кВ, не более

 

 

- при 2 мкс,

80

80

- наименьшее

70

70

Пробивное напряжение при частоте 50 Гц, кВ, не менее

 

 

- в сухом состоянии,

40

40

- под дождем

38

38

Выдерживаемое напряжение импульса 260/2500 мкс внешней изоляции без внешнего искрового промежутка, кВ, не менее:

 

 

- в сухом состоянии,

63

63

- под дождем

48

48

Выдерживаемый импульсный ток 8/20 мкс, кА, не менее

20

20

Длина, мм, не более

600

555

Масса, кг, не более

2,1

1,8

Внешние промежутки трубчатых разрядников 6-10 кВ должны выбираться такими, чтобы разрядники не срабатывали от коммутационных перенапряжений с кратностью 3,2-3,5 фазного напряжения. Внешние искровые промежутки должны быть не менее значений, указанных в таблице Д.5.

Таблица Д.5

Минимальные внешние промежутки трубчатых разрядников

Номинальное напряжение сети, кВ

6

10

Минимальный внешний промежуток, мм

10

15

5 Защитные искровые промежутки

Защитные искровые промежутки (ИП) являются наиболее простым аппаратом защиты. Они устанавливаются взамен РТ в схемах защиты линий и подстанций в случаях, когда отсутствуют РТ с необходимым напряжением и пределами отключаемых токов.

В сетях напряжением 6-10 кВ с изолированной или компенсированной нейтралью ИП целесообразно выполнять из круглой стали в виде "рогов", которые способствуют самогашению дуги при малых токах КЗ и при ОЗЗ (рисунок Д.4). На деревянных опорах ВЛ устанавливаются также бандажные искровые промежутки.

Рисунок Д.4 - Роговой искровой промежуток для защиты подстанций и ВЛ напряжением 6-10 кВ

Для исключения ОЗЗ при случайных замыканиях искрового промежутка рекомендуется устанавливать дополнительный промежуток, включенный последовательно с роговым промежутком, параллельно одному из поддерживающих его изоляторов. На опорах дополнительный промежуток выполняется в заземляющих спусках основных промежутков на расстоянии 1,5-3 м от последних. Наличие дополнительного промежутка практически не влияет на разрядную характеристику основного ИП из-за наличия каскадов пробоя.

Гашение дуги в сетях напряжением 6-10 кВ имеет место при значениях тока до 300 А. Защитные искровые промежутки с разрядным расстоянием 30 и 60 мм и дополнительным промежутком 15 мм при токах £ 300 А гасят открытую дугу за время £ 1,2 с. Рекомендуемые размеры ИП и их разрядные напряжения приведены в таблице Д.6. Разрядные напряжения ИП из-за влияния атмосферных условий имеют разброс ±20%.

Таблица Д.6

Размеры и разрядные напряжения защитных искровых промежутков

Номинальное напряжение в сети, кВ

Размер основных искровых промежутков, мм

Размер дополнительных промежутков, мм

Разрядное напряжение, кВэф

Импульсное разрядное напряжение, кВ

6

40

10

34

+ 51 - минус 53

10

60

15

45

+ 66 - минус 68

При установке "роговых" ИП в качестве единственного аппарата защиты на ТП 6-10/0,4 кВ размер основных промежутков должен быть снижен соответственно до 20 и 30 мм.

ПРИЛОЖЕНИЕ Е

РАСЧЕТ ЧИСЛА ГРОЗОВЫХ ОТКЛЮЧЕНИЙ ВЛ 6-10 кВ

1 В настоящих Указаниях принята упрощенная методика оценки числа отключений ВЛ 6-10 кВ из-за грозовых перенапряжений. Вероятность токов, вызывающих перекрытие изоляции ВЛ, рассчитывается по распределению первых импульсов тока разрядов молнии. При этом для определения вероятности превышения амплитуды тока молнии (для первых импульсов) используется формула:

PIm = ехр(-0,04Iм);

Расчеты позволяют делать сравнение и определять способы повышения грозоупорности ВЛ различных конструкций.

2 В качестве исходной информации для проведения расчетов используются протяженность линии и ее геометрические параметры (волновое сопротивление и коэффициенты связи проводов).

Геометрическое волновое сопротивление (без короны) одиночного провода рассчитывается по формуле:

Z11г = 60ln(2hcp/r),

hcp = h – 2/3f,

где r - радиус провода, м;

hср - средняя высота подвеса провода над землей, м;

h - высота подвеса провода на опоре, м;

f - стрела провеса провода, м.

При отсутствии информации о стреле провеса она определяется через нормированный наименьший габарит между нижним проводом и землей hг:

где  - высота подвеса нижнего провода на опоре (для ВЛ 6-10 кВ она равна 7-9 м).

Взаимное волновое сопротивление (без учета влияния импульсной короны) между проводом 1 и зеркальным отображением провода 2 рассчитывается по формуле:

Z12 = 60ln(D12/d12),

где D12 - расстояние между проводом 1 и зеркальным отображением провода 2 относительно земной поверхности, м;

d12 - расстояние между проводами 1 и 2, м.

Все геометрические размеры определяются по средней высоте проводов над землей.

Геометрический коэффициент связи проводов 1 и 2 рассчитывается по формуле:

K12г = Z12/Z11г = [ln(D12/d12)]/ln(2hcp/r),

Поправка на корону для волновых сопротивлений на ВЛ 6-10 кВ принимается равной 0,9. Тогда волновое сопротивление одиночного провода и коэффициент связи между проводами 1 и 2 ВЛ с учетом импульсной короны рассчитываются по формулам:

Z11 = 0,9Z11г

K12к = Z12/Z11 = K12г/0,9.

3 Расчет числа грозовых отключений на ВЛ 6-10 кВ на железобетонных опорах осуществляется в следующей последовательности:

3.1 ВЛ 6-10 кВ работают в режиме с изолированной или компенсированной нейтралью, поэтому ОЗЗ опасности не представляют, т.к. возникающая при ОЗЗ дуга тока КЗ гаснет. Грозовые отключения ВЛ 6-10 кВ имеют место при 2-фазных или 3-фазных перекрытиях изоляции.

Причиной отключений ВЛ 6-10 кВ являются ПУМ в линию, а также близкие удары молнии в землю, вызывающие индуктированные перенапряжения на проводах ВЛ. Общее число грозовых отключений ВЛ составит:

nг = nПУМ + nинд,

где: nг - удельное число грозовых отключений ВЛ длиной 100 км за год при 100 грозовых часах в году.

3.2 Число грозовых отключений ВЛ напряжением 6-10 кВ на железобетонных опорах от ПУМ складывается из отключений от ударов в опоры и провода в пролете:

nПУМ = nоп + nпр.

Число ударов в опору определяется по формуле:

Nоп = Nвл4hоп/Iпр,

где hоп - высота опоры;

Iпр - длина пролета;

Nвл - общее число ударов в линию длиной 100 км при 100 ч грозовой деятельности.

Величина Nвл рассчитывается по формуле

Nвл = 4hcp.

3.3 При расчете числа отключений от ударов в опоры принимается, что из-за низкого разрядного напряжения при любом ударе молнии перекрывается изоляция одной из фаз. Для этого достаточно тока молнии выше уровня грозоупорности:

Iм1 = 2U50%/Zпр,

где U50% - импульсное 50%-ное разрядное напряжение фазной изоляции на опоре;

Zпр - волновое сопротивление провода линии с учетом короны.

После перекрытия фаза работает как заземленный трос. Отключения ВЛ напряжением 6-10 кВ возможны при токе молнии Iм2, достаточном для обратного перекрытия на неповрежденные фазы. В расчетах допускается пренебречь падением напряжения на индуктивности опоры и рабочим напряжением. При этом ток молнии должен быть больше, чем:

Iм2 = U50%(Rз + 0,5Zпр)/(1 - K12)(Rз0,5Znp),

где Rз - сопротивление заземления опоры;

K12 - коэффициент связи с учетом короны между пораженной фазой и наиболее удаленной от нее фазой.

Дальнейшее возрастание тока молнии до величины Iм3 приводит к обратному перекрытию на третью фазу линии при токе

Iм3 = U50%[Rз + 0,25Zпр(1 + K12)]/(1 - K12-3)(Rз0,25Zпр)(1 + K12),

где K12-3 = (Z13 + Z23)/(Zпр + Z12) - коэффициент связи двух ранее перекрытых фаз, соединенных параллельно, с третьей фазой.

Удельное число грозовых отключений на 100 км и 100 грозовых часов от ударов в опору рассчитывается по формуле:

nоп = Nоп[(P1,2 - P1,2,3)h1,2 + P1,2,3h1,2(2 h1,2),

где Nоп - число ударов молнии в опоры линии;

P1,2 и P1,2,3 - вероятность соответственно двухфазных и трехфазных перекрытий, определяемых вероятностями соответствующих токов:

P1,2 = ехр(-0,04Iм2); P1,2,3 = ехр(-0,04Iм3);

h1,2 - вероятность перехода импульсного перекрытия в дугу тока промышленной частоты на двух фазах;

Вероятность установления хотя бы одной дуги при 3-фазном перекрытии составляет:

h1,2,3 = h1,2(2 - h1,2).

Возникновение силовой дуги промышленной частоты (КЗ) после импульсного перекрытия зависит от длины пути разряда и рабочего напряжения.

Для комбинированной изоляции (изоляторы + деревянная или полимерная траверса) вероятность возникновения КЗ после импульсного перекрытия изоляции двух фаз определяется по формуле:

h1,2 = (1,6Uнр/(Iразр - 6))0,01,

где Uнр - наибольшее длительно допустимое линейное напряжение, кВэфф,

Iразр - суммарная длина пути разряда между проводами двух фаз, м.

На ВЛ со штыревыми изоляторами КЗ возникает, если в момент импульсного перекрытия значение градиента напряжения на разрядном промежутке составляет 14 кВ/м и более. Критическая фаза для синусоиды рабочего напряжение определяется так:

jкр = arcsin (10/[Uнр/Iразр]).

Для штыревых изоляторов вероятность перехода импульсного перекрытия в дугу промышленной частоты рассчитывается по формуле:

h1,2 = (90° - jкр)/90°.

3.4 При ударе молнии в середину пролета в опоре протекает менее 1/2 тока молнии. Напряжение на изоляции опоры определяется по формуле:

U50% = Iм4Rз(1 - K12)Zпр/2(Rз + Zпр).

Перекрытие с вероятностью Р4 = ехр(-0,04Iм4) произойдет при токе молнии:

Iм4 ³ 2U50%(Rз + Zпр)/RзZпр(1 - K12).

Вероятность перекрытия изоляции на одной из ближайших двух опор равна Р4

.

Число грозовых отключений от ударов в пролет составит:

nп = Nвл(1 - 4hоп/Lпрол)Р4n12(2 - n12).

Полное удельное число отключений ВЛ от ПУМ в опоры и пролет:

nпум = Nвл{4hоп[(P1,2P1,2,3)h1,2 + Р1,2,3h1,2(2 - h1,2)]/Lпрол + (1 – 4hоп/Lпрол)Р4h1,2(2 - h1,2)},

где Nвл - число ударов молнии в ВЛ;

P1,2 и P1,2,3 - вероятности амплитуд токов молнии, приводящих, соответственно, к двухфазным и трехфазным перекрытиям,

h1,2 - вероятность перехода импульсного перекрытия в дугу тока промышленной частоты на двух фазах.

Приведенные расчетные значения грозовых отключений ВЛ не учитывают случаев удержания линии в рабочем состоянии вследствие действия устройств АПВ. При учете действия АПВ число отказов от грозовых перенапряжений корректируется коэффициентом (1 - bАПВ) (bАПВ - вероятность успешного АПВ, равная для ВЛ 6-10 кВ - 0,5).

3.5 Индуктированные напряжения возникают одновременно на всех фазах. Их значения пропорциональны средним высотам подвеса проводов фаз над землей. При одинаковых высотах равновероятно перекрытие на любой из фаз. Перекрытие междуфазной изоляции затруднено до перекрытия одной из фаз на землю.

В расчете на 100 км линий и 100 ч грозовой деятельности удельное число перенапряжений в зависимости от амплитуды Uинд определяется формул ой:

Uинд = [1005hcpехр(-Uинд/250)]/Uинд.

Значения перенапряжений, при которых возможны 2-фазные и 3-фазные перекрытия, должны иметь значения:

; ,

где ;

Zпр - волновое сопротивление одного провода с учетом влияния импульсной короны.

Удельное число грозовых отключений линии от индуктированных перенапряжений рассчитывается по формуле:

nинд = (Nинд2 - Nинд3)h1,2 + Nинд3(2 - h1,2)]h1,2,

здесь h1,2 - коэффициент перехода импульсного перекрытия от индуктированных перенапряжений в дугу тока промышленной частоты на двух фазах.

4 Оценка числа грозовых отключений ВЛ 6-10 кВ на деревянных опорах

ВЛ на деревянных опорах не отключаются от индуктированных перенапряжений, вызванных близкими ударами молнии в землю. Индуктированные перенапряжения возникают одновременно на всех проводах ВЛ и равной величиной. Различие возможно из-за высоты подвеса проводов. Поэтому междуфазная изоляция не подвергается воздействию индуктированных перенапряжений. Вследствие этого для ВЛ на деревянных опорах, у которых изоляция на землю значительно выше междуфазной изоляции, индуктированные перенапряжения не представляют опасности.

Грозовые отключения вызываются прямыми ударами молнии в ВЛ. На ВЛ с деревянными опорами из-за небольшой длины пролетов и стрел провеса проводов можно пренебречь вероятностью поражения молнией опоры по сравнению с вероятностью поражения провода, т.е. принять Nпр = Nвл, где Nвл - общее число ударов в линию, определяемое по формуле с использованием средней высоты подвеса верхнего провода: Nвл = 4hcp.

Перекрытие изоляции на ВЛ с деревянными опорами происходит, как правило, между проводами соседних фаз на опоре по деревянной траверсе и двум изоляторам, а при дальнейшем нарастании тока молнии перекрывается опора на землю.

Критическое значение тока молнии (уровень грозоупорности) при ударе в провод определяется как

,

где zпр и K12 - волновое сопротивление провода и коэффициент связи двух проводов с учетом импульсной короны при напряжении на пораженном проводе, которое соответствует возникновению перекрытия междуфазной комбинированной изоляции.

Значение тока Iкр определяет вероятность .

Вероятность h перехода перекрытия в силовую дугу, т.е. вероятность отключения линии, оценивается по средней рабочей напряженности Еср, кВ/м вдоль пути разряда Iразр:

Еср = Uн/Iразр,

где Iразр - суммарная длина пути разряда между проводами двух фаз по двум изоляторам и участку по дереву.

Значение вероятности h вычисляется по формуле

h = (1,6Еср - 6)0,01.

Если h по формуле получается меньше 0,1 или больше 0,9, то в расчетах принимаются эти предельные значения.

Удельное число отключений ВЛ на деревянных опорах определяется как:

nпум = NвлIкрh.

ПРИЛОЖЕНИЕ Ж

СПОСОБЫ ПОВЫШЕНИЯ ГРОЗОУПОРНОСТИ ВЛ 6-10 кВ

На особо поражаемых молнией участках трассы ВЛ 6-10 кВ рекомендуется отдельные деревянные стойки защищать от расщепления при ПУМ шунтированием верхней части стоек металлическим спуском и установкой бандажей из стальной проволоки на нижние части стоек по рисунок Ж.1. Указанная защита позволяет сохранить достаточную изоляцию на землю, чтобы предотвратить грозовые перекрытия при индуктированных перенапряжениях.

Грозоупорность ВЛ 6-10 кВ на железобетонных или деревянных опорах повышается применением "схемы с защитным проводом" (рисунок Ж.2). Изолятор верхнего провода шунтируется искровым промежутком (для ВЛ 10 кВ он равен 12 см) и провод работает как "грозозащитный трос". Нижние провода крепятся на изоляционных траверсах. Защитный угол должен быть £ 30°.

На деревянных опорах заземляющий спуск от штыря изолятора верхнего провода на уровне траверсы отводится от столба для усиления изоляции между спуском и проводами на траверсе.

Заземляющий спуск должен иметь разрыв 15 см на высоте 4 м от земли. Деревянные опоры, защищенные таким образом, размещаются не реже, чем через каждые 2-3 опоры и их сопротивление заземления должно быть не выше 20 Ом.

Повышение надежности защиты от грозовых перенапряжений ВЛ 6-10 кВ с железобетонными опорами достигается усилением прочности изоляции. Например, применение изоляционных траверс значительно снижает количество грозовых отключений.

Применение опор из облегченных железобетонных конструкций с полимерными траверсами - изоляторами (рисунок Ж.3) длиной изоляционных участков 0,33; 0,4 и 0,5 м обеспечивает 50%-ное импульсное разрядное напряжение соответственно 215; 260 и 325 кВ.

Расчетная грозоупорность ВЛ с такими опорами выше, чем у традиционных ВЛ 6-10 кВ, что достигается усилением изоляции и уменьшением вероятности возникновения КЗ после грозового перекрытия. Индуктированные перенапряжения на ВЛ 6-10 кВ, практически, не превосходят величины 300 кВ. Поэтому для ВЛ с импульсным уровнем фазной изоляции 300 кВ и выше индуктированные перенапряжения не опасны.

Линия с траверсами-изоляторами длиной 0,4-0,5 м имеет изоляцию, для которой практически безопасны индуктированные перенапряжения и поэтому не требует защиты от индуктированных грозовых перенапряжений.

Рисунок Ж.1 - Защита деревянных опор от расщепления при ПУМ:

1 - металлический спуск Æ 6-8 мм; 2 - металлические бандажи (3-4 витка) из стальной проволоки

Рисунок Ж.2 - Деревянные или железобетонные опоры ВЛ 10 кВ с изоляционной траверсой и защитным проводом

Рисунок Ж.3 - Опора из железобетонных конструкций с полимерными траверсами-изоляторами:

1 - полимерный изолятор; 2 - металлическая траверса; 3 - опора

Для защиты ВЛ с неизолированными проводами от грозовых перенапряжений массовая установка аппаратов защиты параллельно изоляторам не рекомендуется, так как при этом создаются условия для дополнительных отключений вследствие повреждений и отказов аппаратов защиты в результате воздействия грозовых перенапряжений с большими токами.

На ВЛЗ 6-10 кВ грозовое перекрытие приводит к повреждению изоляции и жил проводов, так как образующаяся вслед за грозовым перекрытием электрическая дуга не может перемещаться вдоль изоляции проводов. При отсутствии РДИ защита проводов от повреждений дугой возможна посредством установки на каждой опоре ВЛЗ междуфазных искровых промежутков, образуемых "защитными рогами" (рисунок Ж.4). Искровые промежутки устанавливаются на всех фазах и опорах.

Для отвода дуги от проводов ВЛЗ с металлическими траверсами при расстоянии между проводами более 600 мм рекомендуется применять устройство, показанное на рисунке Ж.5.

Применение "защитных рогов" в случае их срабатывания приводит к отключению ВЛ, термическому и электродинамическому воздействию на оборудование из-за протекания больших токов междуфазного КЗ, а также обгоранию "защитных рогов", что требует их периодической замены.

а) вид сбоку

б) вид сверху (показаны два провода)

Рисунок Ж.4 - Защита ВЛЗ 6-10 кВ с двухсторонним питанием от дуговых повреждений с использованием "защитных рогов":

1 - провод; 2 - изоляция провода; 3 - изолятор; 4 - траверса; 5 - прокалывающий зажим; 6 - спираль (алюминиевый провод); 7 - "защитный рог"; 8 - грозовое перекрытие

Рисунок Ж.5 - Искровые промежутки на опоре с металлической траверсой для защиты ВЛЗ 6-10 кВ от дуговых повреждений при расстоянии между проводами на опоре более 0,6 м

Защиту проводов ВЛЗ 6-10 кВ от пережогов возможно одновременно выполнить с защитой линий от грозовых перенапряжений на принципе действия РДИ (см. приложение Д) при применении усиленных трехслойных защищенных проводов (рисунок Ж.6).

На расстоянии L = 300 мм от конца металлической обвязки 6 крепления провода 1 к изолятору 3 устанавливается прокалывающий зажим 5, подключаемый к проводу 1. При перенапряжении перекрывается изолятор 3 и происходит скользящий разряд 8 по поверхности изолированного провода 1. Опорная точка дуги находится на прокалывающем зажиме 5, а не на проводе. Из-за увеличенного разрядного расстояния снижается также вероятность возникновения КЗ.

Рисунок Ж.6 - Защита ВЛЗ от пережогов проводов при грозовых перекрытиях

 

 




ГОСТЫ, СТРОИТЕЛЬНЫЕ и ТЕХНИЧЕСКИЕ НОРМАТИВЫ.
Некоммерческая онлайн система, содержащая все Российские Госты, национальные Стандарты и нормативы.
В Системе содержится более 150000 файлов нормативно-технической документации, действующей на территории РФ.
Система предназначена для широкого круга инженерно-технических специалистов.

Рейтинг@Mail.ru Яндекс цитирования

Copyright © www.gostrf.com, 2008 - 2026