Крупнейшая бесплатная информационно-справочная система онлайн доступа к полному собранию технических нормативно-правовых актов РФ. Огромная база технических нормативов (более 150 тысяч документов) и полное собрание национальных стандартов, аутентичное официальной базе Госстандарта. GOSTRF.com - это более 1 Терабайта бесплатной технической информации для всех пользователей интернета. Все электронные копии представленных здесь документов могут распространяться без каких-либо ограничений. Поощряется распространение информации с этого сайта на любых других ресурсах. Каждый человек имеет право на неограниченный доступ к этим документам! Каждый человек имеет право на знание требований, изложенных в данных нормативно-правовых актах!

  


 

МИНИСТЕРСТВО ЭНЕРГЕТИКИ И ЭЛЕКТРИФИКАЦИИ СССР
ССО
«СЕЛЬЭЛЕКТРОСЕТЬСТРОЙ»

Всесоюзный государственный проектно-изыскательский
и
научно-исследовательский институт
«
СЕЛЬЭНЕРГОПРОЕКТ»

УТВЕРЖДАЮ
Главный инженер НПО

«Энергостройпром»
Ю.Г. Живов

«___» __________1989 г.

СТОЙКИ ЖЕЛЕЗОБЕТОННЫЕ
марок
CB95-1, СВ95-1-а, СВ95-2, СВ95-2-а

Технические условия

ТУ 34 12.11410-89

Вводятся впервые

Срок действия с 10.06.89 г. до 01.06.94 г.

СОГЛАСОВАНО

Главный инженер института

«Сельэнергопроект»

_________________Г.Ф. Сумин

31.03.1989 г.

Зам. Начальника ССО

«Сельэлектросетьстрой»

__________А.А. Кривошеев

03.04.1989 г.

Заместитель директора

НИИЖБ Госстроя СССР

_____________Т.И. Мамедов

_____________1989 г.

Зарегистрировано МЦНС Госстандарта 005/019043 от 07.06.1989 г.

Настоящие технические условия распространяются на железобетонные предварительно напряженные стойки марок СВ95-1, СВ95-1-а, СВ95-2, СВ95-2-а для опор воздушных линий электропередачи напряжением 0,38 кB.

Стойки изготовляются методом вибрирования из тяжелого бетона.

Стойки предназначены для применения:

- при расчетной температуре наружного воздуха (средней температуре воздуха наиболее холодной пятидневки района строительства согласно СНиП 2.01.01-82) до минус 55°С включительно;

- в I-V районах по скоростному напору ветра и в I-IV и особом районах по толщине стенки гололеда согласно «Правилам устройства электроустановок» (ПУЭ), утвержденным Минэнерго СССР;

- в газообразной, твердой и жидкой неагрессивных и агрессивных средах;

- на площадках с обычными условиями строительства и сейсмичностью до 7 баллов включительно.

Стойки, предназначенные для эксплуатации в условиях воздействия агрессивных сред, должны удовлетворять дополнительным требованиям, установленным проектной документацией согласно СНиП 2.03.11-85 и указанным в заказе на изготовление стоек.

Стойки следует обозначать марками в соответствии с требованиями ГОСТ 23009-78.

Марка стойки состоит из нескольких буквенно-цифровых групп, разделенных дефисами.

Первая группа содержит буквенное обозначение марки стойки и ее длину в дециметрах; вторая группа - условное обозначение несущей способности стойки.

Буквенно-цифровое обозначение в конце марки указывает: буква М - возможность применения в районах с расчетной температурой наружного воздуха ниже минус 40°С, цифры - тип защиты стоек от коррозии.

Тип и способы защиты стоек в зависимости от степени агрессивного воздействия среды указываются в заказе на изготовление данной партии стоек.

Могут применяться и другие буквенные обозначения, характеризующие наличие в стойках отверстий, закладных деталей и других конструктивных отличий, которые приводятся в утвержденных в установленном порядке рабочих чертежах.

Пример условного обозначения (марки) стойки длиной 9500 мм с расчетным изгибающим моментом равным 19,6 кН·м (2,0 тс·м), применяемой в районах с расчетной температурой наружного воздуха ниже минус 40°С, с 1-м типом защиты от агрессивного воздействия среды и при наличии в конструкции двух штырей и двух отверстий у малого торца стойки: СВ95-2-М 1а

Содержание

1. ТЕХНИЧЕСКИЕ ТРЕБОВАНИЯ

Стойки должны изготовляться в соответствии с требованиями настоящих технических условий и ГОСТ 13015.0-83, по рабочим чертежам типовых конструкций действующих серий 3.407.1-136 или другой технической документации, утвержденной в установленном порядке, а также по технологической документации, содержащей требования к изготовлению стоек на всех стадиях технологического процесса.

1.1. Основные параметры и размеры

1.1.1. Форма и размеры стоек, а также показатели их материалоемкости должны соответствовать указанным на черт. 1 и приведенным в табл. 1. Допускается изготовление стоек с L < 9500 мм по документации, утвержденной в установленном порядке.

Черт. 1

«Размеры в1, в2, h1, h2 принимаются по технической документации, утвержденной в установленном порядке.»

(Измененная редакция. Изм. № 1)

1.1.2. Прочность стоек в расчетном сечении, характеризуемая величиной расчетного изгибающего момента (Мx), приведена в табл. 1. Расчетное поперечное сечение стоек принято на расстоянии 1,8 метра от большего торца стойки.

Таблица 1

Марка стойки

Расчетный изгибающий момент, кН·м (тс·м)

Расход материалов на одну стоику

Класс бетона

Масса стойки

Бетон, м3

Сталь, кг

СВ95-1
СВ
95-1-а

14,7

0,3

28,7
31,3

В30

0,75

СВ95-2
СВ95-2-а

19,6

28,7
31,3

1.1.3. Отклонение размеров стоек от проектных не должно превышать значений, указанных в табл. 2.

Таблица 2

Вид отклонения геометрического параметра

Геометрический параметр

Предельное отклонение, мм

Отклонение от линейных размеров

Длина стойки

±30

Ширина и высота поперечного сечения стойки

-5, +10

Отклонение от прямолинейности

Прямолинейность профиля поверхности стойки по всей длине

20

1.1.4. Нормируемая толщина защитного слоя бетона до продольной арматуры - 20 мм, до поперечной - 10 мм.

Отклонение от проектной толщины защитного слоя бетона не должно превышать:

- до продольной арматуры у торцов стойки +7 мм; -5 мм и в середине стойки +20 мм; -5 мм до параллельных граней и +10 мм; -5 мм до наклонных граней сечения;

- до поперечной арматуры в середине между продольными стержнями +25 мм.

1.1.5. При изготовлении и установке штырей должны соблюдаться следующие требования:

- обрезная кромка вершины не должна выступать за край штыря более чем на 1,0 мм;

- отклонение от перпендикулярности торцевой поверхности вершины штыря к его оси не должно быть более 2 мм;

- смещение вершины штыря с учетом наклона не должно быть более 15 мм.

1.1.6. Отклонение размера между отверстиями ±15 мм при допустимом смещении отверстия (с учетом его наклона):

- на свободнообразуемой грани - вдоль оси стойки ±20 мм,

- от ее оси +15 мм;

- на противоположной свободнообразуемой грани - соответственно ±5 мм.

1.1.7. Концы напрягаемой арматуры не должны выступать за торцевые поверхности стоек более чем на 25 мм и должны быть покрыты краской БТ-177 по ОСТ 6-10-426-79 за два раза или другими покрытиями согласно СНиП 2.03.11-85.

1.1.8. Категория бетонных поверхностей стоек - А7.

Требования к качеству поверхностей и внешнему виду стоек по ГОСТ 13015.0-83.

На поверхности стоек не допускаются:

- околы ребер боковых и торцевых граней глубиной более 12 мм;

- местные впадины более 10 мм и местные наплывы бетона более 15 мм.

1.2. Материалы

1.2.1. Стойки следует изготовлять из тяжелого (средней плотности 2200 до 2500 кг/м3 включительно) бетона, удовлетворяющего требованиям ГОСТ 26633-85. Класс бетона по прочности указан в табл. 1.

1.2.2. Значение нормируемой передаточной прочности бетона должно быть не менее 75 % класса бетона по прочности на сжатие.

1.2.3. Нормируемую отпускную прочность бетона принимают равной нормируемой передаточной прочности бетона. При поставке стоек в холодный период года (по ГОСТ 13015.0-83) значение нормируемой отпускной прочности бетона должно составлять 90 % класса по прочности на сжатие.

1.2.4. Качество материалов, применяемых для приготовления бетона, должно соответствовать требованиям:

- портландцемент - ГОСТ 10178-85;

- сульфатостойкий портландцемент - ГОСТ 22266-76;

- заполнители - ГОСТ 10268-80;

- вода - ГОСТ 23732-79;

- добавки для бетона марки 200 - ГОСТ 26633-85.

1.2.5. Марки бетона стоек по морозостойкости и водонепроницаемости в условиях попеременного замораживания и оттаивания должны быть не менее указанных в табл. 3.

Таблица 3.

Условия работы

Проектная марка бетона

Расчетная температура наружного воздуха наиболее холодной пятидневки согласно СНиП 2.01.01-82

Характеристика режима

По морозостойкости

По водонепроницаемости для неагрессивных сред

Ниже минус 40°С

в условиях эпизодического водонасыщения

F 200

W4

Минус 40°С и выше

в водонасыщенном состоянии, в условии эпизодического водонасыщения

F 150

W2

1.2.6. В качестве напрягаемой арматуры следует применять термически упрочненную сталь классов Ат-VI, Ат-IV по ГОСТ 10884-81.

Для стоек эксплуатируемых при воздействии агрессивных сред следует применять продольную арматуру из стали классов Ат-IVК и А-IV.

1.3. Маркировка

1.3.1. Маркировку стоек следует производить по ГОСТ 13015.2-81.

При изготовлении на поверхности каждой стойки на расстоянии 3 м от большего торца наносят контрольную метку в виде вдавливаемого на 6 мм треугольника со сторонами размером 50 мм. Выше контрольной метки наносят маркировочные надписи.

На поверхности стоек могут также устанавливаться долговечные пластины с нанесенными на них маркировочными надписями и знаками.

Штамп ОТК разрешается наносить на торец стойки.

1.3.2. Требование к документу о качестве стоек, поставляемых потребителю - по ГОСТ 13015.3-81.

В техническом паспорте для партии стоек, предназначенных к эксплуатации в условиях воздействия агрессивных сред, должен быть указан способ защиты.

2. ПРАВИЛА ПРИЕМКИ

2.1. Приемку следует производить партиями в соответствии с требованиями ГОСТ 13015.1-81 и настоящих технических условий.

Число стоек партии должно быть не более 500.

2.2. Приемку стоек по показателям их прочности, жесткости и трещиностойкости, по морозостойкости и водонепроницаемости бетона следует проводить по результатам периодических испытаний. Первые три из вышеуказанных видов испытаний должны проводиться один раз в три месяца.

2.3. Приемку стоек по показателям прочности бетона (класс по прочности на сжатие, передаточной и отпускной прочности), соответствия арматурных и закладных деталей проектной документации, прочности сварных соединений, точности геометрических параметров, толщины защитного слоя бетона до арматуры, ширины раскрытия трещин, категории бетонной поверхности следует проводить по результатам приемо-сдаточных испытаний и контроля.

2.4. В случае, если при проверке будет установлено, что фактическая отпускная прочность бетона ниже требуемой отпускной прочности, то поставку стоек потребителю следует проводить после достижения бетоном прочности, соответствующей классу бетона по прочности на сжатие.

2.5. Приемку стоек по показателям точности геометрических параметров, толщины защитного слоя бетона до арматуры, качества бетонных поверхностей, контролируемых путем измерений, следует осуществлять по результатам одноступенчатого выборочного контроля.

3. МЕТОДЫ КОНТРОЛЯ

3.1. Методы отбора стоек для испытаний нагружением, оценку их прочности, жесткости и трещиностойкости следует выполнять согласно ГОСТ 8829-85.

Испытание стоек нагружением для определения их прочности, жесткости и трещиностойкости в зависимости от прочности бетона следует производить с использованием контрольных нагрузок, приведенных в табл. 4. Эти испытания рекомендуется проводить при прочности бетона согласно ГОСТ 8829-85. Контрольные нагрузки для стоек с прочностью бетона 75 % от проектной уменьшать на 6 % по сравнению с приведенными в табл. 4. Для промежуточных значений прочности бетона величина контрольной нагрузки определяется интерполяцией.

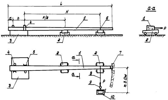
Схема опирания и загружения при испытании ее нагружением приведена на черт. 2.

Схема испытания стоек

1 - испытываемая стойка; 2 - подвижная опора; 3 - бетонная площадка; 4 - упор; 5 - фиксатор; 6 - место приложения нагрузки; 7 - рейка, с делениями; 8 - трос; 9 - динамометр; 10 - лебедка.

Черт. 2

Таблица 4

Марка стойки

Класс бетона

Размеры, м

Контрольная нагрузка, P кН (кГс) при проверке

Контрольный прогиб стойки мм

Н

h

а

прочности

трещиностойкости

жесткости

при
С = 1,4

при
С = 1,6

CB95-1
СВ95-1-а

В30

7,5

0,8

1,0

2,75
(280)

3,27
(320)

1,57
(160)

1,96
(200)

350

СВ95-2
СВ95-2-а

3,63
(370)

4,10
(420)

1,96
(200)

2,45
(250)

400

1) С - величина коэффициента должна приниматься в зависимости от характера разрушения в соответствии с указаниями ГОСТ 8829-85.

2) Контрольные нагрузки должны быть увеличены на силу трения подвижных опор, которая определяется умножением массы стойки на коэффициент трения, равный 0,02.

3) Контрольная ширина раскрытия трещин не должна быть более 0,15 мм для арматуры класса Ат-VI и 0,25 мм для арматуры класса А-IV, Ат-IV, Ат-IVС (К).

3.2. Прочность бетона стоек следует определять по ГОСТ 10180-78 на серии образцов, изготовленных из бетонной смеси рабочего состава.

При испытании стоек допускается определять фактическую прочность бетона на сжатие неразрушающими методами по ГОСТ 17624-87, ГОСТ 22690.0-77, ГОСТ 22690.1 ÷ ГОСТ 22690.3-77.

3.3. Водонепроницаемость бетона следует определять на серии образцов, изготовленных из бетонной смеси рабочего состава, согласно ГОСТ 12730.0-78 и ГОСТ 12730.5-84; морозостойкость бетона следует определять по ГОСТ 10060-87.

3.4. Методы контроля и испытаний исходных сырьевых материалов, применяемых для изготовления стоек, должны соответствовать установленным стандартам или техническим условиям на эти материалы.

3.5. Размеры и отклонение от прямолинейности стоек, расположение напрягаемой арматуры, качества бетонных поверхностей стоек, толщину защитного слоя бетона до арматуры проверяют методами, установленными ГОСТ 13015-75 и ГОСТ 22904-78.

4. ТРАНСПОРТИРОВАНИЕ И ХРАНЕНИЕ

4.1. Погрузку, крепление и транспортирование стоек на железнодорожном транспорте следует производить в соответствии с требованиями «Правил перевозок грузов» и «Технических условий погрузки и крепления грузов», утвержденных Министерством путей сообщения. При укладке стоек на железнодорожном транспорте допускается смещение прокладок от монтажных петель до 800 мм, без смещения по вертикали.

4.2. Перевозка стоек автомобильным транспортом должна производиться на специальных автоприцепах и опоровозах с надежным их закреплением в соответствии с «Правилами дорожного движения».

4.3. Погрузку, разгрузку и складирование стоек следует выполнять с соблюдением мер предосторожности, исключающих возможность их повреждения.

Запрещается разгрузка стоек со свободными их падениями и перемещение по земле волоком.

4.4. Стойки должны храниться в горизонтальном положении в штабелях рассортированными по маркам, при этом по высоте они должны быть не более чем из девяти рядов.

Укладка стоек должна производиться на прокладки, располагаемые у монтажных петель. Допускается использование прокладок толщиной менее высоты петли (но не менее 30 мм) с расположением монтажных петель в промежутках между стойками вышележащего ряда.

5. ГАРАНТИЯ ИЗГОТОВИТЕЛЯ

5.1. Стойки должны быть приняты техническим контролем предприятия-изготовителя.

5.2. Изготовитель гарантирует соответствие стоек требованиям настоящих технических условий при соблюдении вышеуказанных требований к их погрузке, разгрузке и транспортированию.

Приложение

КОДЫ ПРОДУКЦИИ

Наименование

Марка

Код

Стойка железобетонная

СВ95-1

58 6311 0084

Стойка железобетонная

СВ95-1-а

58 6311 0085

Стойка железобетонная

СВ95-2

58 6311 0086

Стойка железобетонная

СВ95-2-а

58 6311 0087

Приложение

Ссылочные нормативно-технические документы

Обозначение НТД

Наименование 2

Номер пункта ТУ

ГОСТ 23009-78

Конструкции и изделия бетонные и железобетонные сборные, условные обозначения марок

Вводная часть

ГОСТ 13015-75

Изделия железобетонные и бетонные. Общие технические требования

3.5

ГОСТ 13015.0-83

Изделия железобетонные и бетонные. Общие технические требования

1

ГОСТ 13015.1-81

То же. Правила приемки

2.1

ГОСТ 13015.2-81

То же. Правила маркировки

1.3.1

ГОСТ 13015.3-81

Конструкции и изделия бетонные и железобетонные сборные. Документ о качестве

1.3.2

ГОСТ 10178-85

Портландцемент, шлакопортландцемент и их разновидности

1.2.4

ГОСТ 10268-80

Заполнители для тяжелого бетона. Технические требования

1.2.4

ГОСТ 23732-79

Вода для бетона. Технические условия

1.2.4

ГОСТ 22266-76

Цементы сульфатостойкие. Технические условия

1.2.4

ГОСТ 10060-87

Бетоны. Методы определения морозостойкости

3.3

ГОСТ 17624-87

Бетоны. Ультразвуковой метод определения прочности

3.2

ГОСТ 12730.0-78

Бетоны. Методы определения плотности, влажности, пористости

3.3

ГОСТ 12730.5-84

Бетоны. Метод определения водонепроницаемости

3.3

ГОСТ 10180-78

Бетон тяжелый. Методы определения прочности

3.2

ГОСТ 22690.0-77

Бетон тяжелый. Общие требования к методам определения прочности без разрушения

3.2

ГОСТ 22690.1-77

ГОСТ 22690.3-77

ГОСТ 8829-85

Конструкции и изделия железобетонные сборные. Методы испытаний и оценки прочности, жесткости и трещиностойкости

3.1

ГОСТ 26633-85

Бетон тяжелый. Технические условия

1.2.1

ГОСТ 22904-78

Конструкции железобетонные, магнитный метод определения толщины защитного слоя бетона и расположения арматуры

3.5

ГОСТ 10884-81

Сталь арматурная термомеханическая и термически упрочненная периодического профиля. Технические условия

1.2.6

СНиП 2.03.11-85

Защита строительных конструкций от коррозии

Вводная часть

СНиП 2.01.01-82

Строительная климатология и геофизика

То же

 

 




ГОСТЫ, СТРОИТЕЛЬНЫЕ и ТЕХНИЧЕСКИЕ НОРМАТИВЫ.
Некоммерческая онлайн система, содержащая все Российские Госты, национальные Стандарты и нормативы.
В Системе содержится более 150000 файлов нормативно-технической документации, действующей на территории РФ.
Система предназначена для широкого круга инженерно-технических специалистов.

Рейтинг@Mail.ru Яндекс цитирования

Copyright © www.gostrf.com, 2008 - 2026