Крупнейшая бесплатная информационно-справочная система онлайн доступа к полному собранию технических нормативно-правовых актов РФ. Огромная база технических нормативов (более 150 тысяч документов) и полное собрание национальных стандартов, аутентичное официальной базе Госстандарта. GOSTRF.com - это более 1 Терабайта бесплатной технической информации для всех пользователей интернета. Все электронные копии представленных здесь документов могут распространяться без каких-либо ограничений. Поощряется распространение информации с этого сайта на любых других ресурсах. Каждый человек имеет право на неограниченный доступ к этим документам! Каждый человек имеет право на знание требований, изложенных в данных нормативно-правовых актах!

  


 

УСТАНОВКА КОПИРНЫХ СТРУН
ПРИ УСТРОЙСТВЕ ОСНОВАНИЙ
И ПОКРЫТИЙ АЭРОДРОМОВ

I. ОБЛАСТЬ ПРИМЕНЕНИЯ

Технологическая карта предназначена для использования при разработке проектов производства работ и организации труда на строительных объектах.

Технологическая карта разработана на установку копирных струн для работы комплекта машин «Автогрейд» на автоматическом режиме при планировке земляного полотна, устройстве основания, устройстве и окончательной отделке покрытия аэродромов.

До начала работ по установке копирных струн должно быть проведено восстановление оси ряда с разбивкой пикетажа, выноской и закреплением пикетных кольев.

В настоящей технологической карте приняты:

расстояние между стойками - 15 м;

состав звена - 5 чел.*;

выработка звена в смену - 700 м струны.

При изменении условий, принятых в технологической карте, требуется ее корректировка и привязка к новым условиям работы.

* Дополнительно в состав звена включают инженера-геодезиста - 1 чел., шофера грузовой машины - 1 чел.

II. УКАЗАНИЯ ПО ТЕХНОЛОГИИ ПРОИЗВОДСТВЕННОГО ПРОЦЕССА

Копирные струны являются указателями уровня и направления движения в плане при работе комплекта машин «Автогрейд» на автоматическом режиме. Они также являются исходными базисами для установки и регулировки рабочих органов машин перед началом работы.

Поэтому точность и тщательность выполнения всех операций при установке копирных струн является важнейшим условием хорошего качества работы машин.

До начала работ по установке копирных струн должны быть закончены все работы по отсыпке земляного полотна.

Должно быть заготовлено необходимое количество колышков, металлических стоек с кронштейнами и струбцинами из расчета потребности на сменную захватку.

При установке копирных струн необходимо руководствоваться следующими положениями:

1. Струны устанавливают либо с двух сторон (рис. 1), либо с одной стороны ряда.

Рис. 1. Схематичный план участка установки копирных струн:

1 - натяжной барабан; 2 - копирная струна; 3 - нивелирная рейка; 4 - кронштейн; 5 - стойка-стержень; 6 - струбцина; 7 - устраиваемое покрытие (основание); 8 - прорезь для струны

Струны устанавливают с одной стороны в случаях, когда:

машина имеет систему поперечной стабилизации уровня (например, планировщик-распределитель ТS-425);

бетонируют смежные ряды, роль второй копирной струны выполняет уложенный ряд покрытия;

комплект бетоноукладочных машин проходит по твердому остроганному под отметки основанию, исключающему какие-либо просадки. В этом случае натянутая струна будет необходима главным образом для выдерживания курса;

в состав комплекта включен распределитель РSТ-300 с поперечным транспортером, и выгрузку бетона производят через этот транспортер (например, когда на основании установлены арматурные каркасы).

Струны устанавливают с двух сторон при устройстве маячного ряда и когда нет уверенности:

а) в том, что основание, по которому проходит ходовая часть машины бетоноукладочного комплекта, не имеет отклонений от проектных отметок и поперечного профиля;

б) а также в том, что основание твердое, незыблемое.

2. Оптимальное расстояние между струнами 14 м. Если струна должна быть установлена на расстоянии менее 5 м от продольной оси машины, то колею машины необходимо уменьшить.

3. Линия каждой струны должна быть строго параллельна оси ряда.

4. Высота струны над верхом земляного полотна должна быть не менее 30 и не более 125 см. Оптимальная высота струны 45 - 100 см. Если струпу необходимо приблизить к машине, то желательно, чтобы высота струны была примерно 70 см.

5. Длину установки струн не следует делать более 700 м. Это максимальная длина, для которой натяжные лебедки могут обеспечить хорошее натяжение струны для точной работы машины.

При установке струн выполняют следующие операции:

1. Установку нивелирных реек.

2. Установку стоек с кронштейнами.

3. Натяжение и снятие копирных струн.

4. Контроль качества установки копирных струн.

Установка нивелирных реек*

* Нивелирная рейка - металлический штырь с плоской головкой.

Установленные нивелирные рейки являются одновременно и высотными реперами, от которых измеряется высота установки струн, и точками, обозначающими линию струны в плане, так как струны размещают точно над нивелирными рейками.

Рис. 2. Расположение струн при односкатном профиле:

1 - металлическая стойка; 2 - кронштейн; 3 - нивелирная рейка; 4 - верх устраиваемого покрытия (основания); 5 - линия, проходящая через край кромки покрытия (основания); h - превышение струны над нивелирной рейкой

Общее правило установки нивелирных реек: рейки должны быть установлены так, чтобы на каждом поперечнике линия, проходящая через вершины нивелирных реек, совпадала с линией, проходящей через кромки ряда или была параллельна этой линии (рис. 2). Сначала задаются расстоянием между стойками в продольном и поперечном направлениях. В продольном направлении расстояние между стойками принимают равным 15 м. Для удобства подсчета выполненной работы (сделанного основания, покрытия) стойки ставят на каждом пикете, а в промежутке стойки ставят по схеме: 15´6 + 10 = 100 м. Расстояние между нивелирными рейками по линии установки струны определяется принятым расстоянием между стойками. В поперечном направлении оптимальное расстояние нивелирных реек (линии натяжения струны) от оси ряда принимают равным 7,5 м.

Для установки нивелирных реек в начале и в конце участка разбивают поперечники, на которых на принятом расстоянии от края покрытия (или продольной оси покрытия) устанавливают начальные и конечные нивелирные рейки. Затем на линии установки струн (левой и правой), пользуясь теодолитом и мерной лентой, устанавливают в створе все промежуточные нивелирные рейки. В случае, если на участке затруднена видимость, следует разбить поперечник в середине участка и установку нивелирных реек сначала провести на одной части участка, а затем на другой.

Для определения отметок покрытия как в поперечном направлении, так и в продольном ведут высотную разбивку в таком порядке:

пользуясь продольным профилем, вычисляют отметки грунтового основания на всех точках (плюсах) установки нивелирных реек, а затем, пользуясь поперечным профилем, определяют сначала отметки кромок покрытия, а потом определяют отметки нивелирных реек в зависимости от поперечного уклона и удаления реек от кромки покрытия (табл. 1).

Таблица 1

Значение превышений (разница отметок) кромок покрытия и нивелирных реек в мм в зависимости от поперечного уклона и расстояния реек от края покрытия

Расстояние нивелирных реек от кромки покрытия, м

Поперечный уклон покрытия, %о

15

20

25

30

35

40

Превышения, мм

1,0

15

20

25

30

35

40

1,5

23

30

38

45

53

60

2,0

30

40

50

60

70

80

2,5

38

50

63

75

88

100

3,0

45

60

75

90

105

120

3,25

49

65

81

98

114

130

3,45

52

69

86

104

121

138

3,75

56

75

94

113

131

150

4,0

60

80

100

120

140

160

Примечание. При односкатном профиле покрытия для определения отметки верхней нивелирной рейки к отметке верхней кромки прибавляют превышение. Для получения отметки нижней рейки от отметки нижней кромки отнимают превышения.

При окончательной установке нивелирных реек необходимо, чтобы вершины их находились в одной плоскости с поверхностью покрытия (основания) (рис. 3).

Рис. 3. Пример установки нивелирных реек при односкатном поперечном профиле:

1 - покрытие (основание); 2 - нивелирные рейки; 3 - общая плоскость X - X, проходящая через поверхность покрытия и головки нивелирных реек; а - расстояние нивелирной рейки от кромки покрытия (основания)

В зависимости от производственных условий уровень установки нивелирных реек можно повысить или понизить, но при соблюдении следующих условий: линия, соединяющая вершины двух противоположных нивелирных реек на поперечнике, должна быть параллельна линии, соединяющей кромки покрытия (основания); изменение уровня должно быть одинаковым для всего участка установки струн.

Пример. Ширина односкатного покрытия 7,5 м, поперечный уклон 15 ‰, отметки кромок покрытия: нижней - 100520, верхней - 100632, расстояние нивелирных реек от кромки покрытия а = 3,45 м.

По табл. 1 превышение для расстояния 3,45 м и поперечного уклона 15 ‰ равно 52 мм. Отметки нивелирных реек будут равны:

нижней 100520 - 52 = 100468;

верхней 100632 + 52 = 100684.

Вычисленные отметки нивелирных реек сводят в таблицу. По этим отметкам под нивелир устанавливают все нивелирные рейки.

Установка стоек с кронштейнами

Стойки представляют собой металлические, стержни, на которые надевают струбцины с кронштейнами. Струбцины имеют два отверстия (одно для стойки, другое для кронштейна) и два зажимных винта. На конце кронштейна имеется прорезь для струны.

Перед установкой стоек производят их сборку. На стойки надевают струбцины с кронштейнами прорезями вверх. Струбцины опускают от верха стоек на 15 см, а кронштейны выдвигают из струбцин на 30 см. В таком положении струбцину закрепляют на оба винта. На кронштейнах необходимо проверить прорези, если есть заусеницы и острые края, то их необходимо отшлифовать. Затем стойки аккуратно погружают на автомобиль, вывозят на трассу и раскладывают около нивелирных реек по всей длине участка.

На аэродромах стойки удобно устанавливать по оси рядов. Работы ведут в таком порядке (см. рис. 1).

Стойку отодвигают от нивелирной рейки во внешнюю сторону на 30 см, ставят вертикально (кронштейн должен быть обращен к нивелирной рейке) и забивают в землю так, чтобы она стояла вертикально и прочно. Устанавливают теодолит в начале участка так, чтобы его визирная ось была совмещена со створом нивелирных реек.

Винты струбцины ослабляют и передвижением струбцины по стойке, а кронштейна в струбцине устанавливают кронштейн строго перпендикулярно к линии натяжения струны, чтобы прорезь находилась точно над нивелирной рейкой и на 8 мм выше принятой высоты установки струн над рейками. Необходимо следить за тем, чтобы не было перекосов кронштейна (чтобы острые края прорезей не резали струну).

Высоту прорези над рейкой измеряют линейкой (шаблоном), а совмещение прорезей со створом нивелирных реек проверяют по теодолиту.

В таком положении струбцины временно закрепляют на оба винта.

При установке стоек на затвердевшем цементобетонном покрытии (пескоцементном основании) возникает необходимость сверления отверстий. Для облегчения работы эти отверстия устраивают заранее в свежеуложенном бетоне (пескоцементе). Для этого используют раму трубного финишера или специального передвижного мостика, перемещающегося в потоке машин вслед за трубным финишером.

По оси ряда штырем делают отверстия глубиной 20 см, в которое вставляют рубероидные или картонные трубки длиной 20 см.

Натяжение и снятие копирных струн

После установки стоек на всей линии производят натяжение струны в следующем порядке.

Перед первой стойкой на расстоянии 10 - 12 м (в 30 см в сторону от линии установки стоек) устанавливают барабан, который закрепляют на якоре.

Наматывают с катушки на барабан 10 - 12 м струны (запас на возможный обрыв) и раскладывают струну по всей линии натяжения. В конце участка на расстоянии 10 - 12 м за последней стойкой устанавливают натяжную лебедку.

Лебедку располагают в 30 см в сторону от линии установки стоек.

Натягивают струну вручную, насколько это возможно, и прикрепляют ее к натяжной лебедке, на лебедке оставляют запас струны длиной 10 - 12 м. Затем натягивают струну натяжной лебедкой достаточно туго и в натянутом состоянии струну вставляют в прорези кронштейнов. Струна должна лежать в них свободно, но не выскакивать из них без приложения усилия.

После того, как струну вставили в прорези и убедились, что она натянута хорошо, стопорят лебедку.

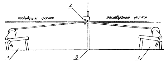
Для натяжения струн на соседнем участке выполняют следующие операции (рис. 4).

На следующем участке устанавливают нивелирные рейки и металлические стойки. Конечная стойка предыдущей захватки является начальной стойкой последующей захватки. За этой стойкой на расстоянии 10 - 12 м от нее (30 см в сторону от линии установки основных стоек) устанавливают барабан для последующей захватки, а в конце следующего участка устанавливают натяжную лебедку и натягивают струну вышеописанным способом.

Для того, чтобы копирный стержень датчика не сбивался с курса и плавно переходил с одной захватки на другую, между барабаном последующей захватки и конечной стойкой «предыдущей захватки устанавливают промежуточную стойку, кронштейн которой находится на 2 - 3 см выше уровня основной струны. Такую же промежуточную стойку устанавливают между лебедкой предыдущей захватки и начальной стойкой последующей захватки.

Таким образом получается, что через кронштейн стойки, соединяющей предыдущую захватку и последующую, проходит две струны, которые во избежание срыва с кронштейна закрепляют веревочкой.

Рис. 4. Натяжение струн:

1 - натяжной барабан; 2 - кронштейн; 3 - металлическая стойка

После того, как струну натянули, окончательно выправляют ее в плане и по высоте.

Для того, чтобы струна проходила на одинаковой высоте от нивелирных реек, установленных под отметку, производят выправку копирной струны в продольном профиле с помощью деревянного шаблона (линейки). Шаблон устанавливают вертикально на нивелирную рейку и, ослабляя зажимной винт, перемещают струбцину вдоль стойки на высоту шаблона и устанавливают ее таким образом, чтобы кронштейн упирался в шаблон. После чего струбцину закрепляют в этом положении.

После выправки струны в продольном профиле производят выправку струны в плане по теодолиту.

После окончательной выверки положения струны струбцину закрепляют на оба винта.

Не рекомендуется натягивать вставленную в прорези струну. Это может привести к перекосу кронштейнов и обрыву струны.

При обрывах струну снимают, отпускают запас струны, оборванные концы связывают и струну снова натягивают и вставляют в прорези. Узел струны не окажет влияния на ровность покрытия. Важно, чтобы он прочно соединял струны.

После окончания работ по устройству основания или покрытия струны снимают. Для этого ослабляют натяжение струны, вынимают струну из прорезей и наматывают на специальную намоточную катушку. Вытаскивают стойки, очищают их, все оборудование погружают на автомобиль и перевозят на новый участок работы.

Контроль качества установки копирных струн

Контроль качества установки струн должен осуществляться по всем элементам процесса:

установка нивелирных реек;

установка стоек;

натяжение струн.

При контроле правильности установки нивелирных реек следует прежде всего оценить, на достаточном ли расстоянии от покрытия они установлены, чтобы не мешать работе машин.

Затем проверяют положение нивелирных реек в плане: рейки одной линии должны находиться строго в створе этой линии, быть на одинаковом расстоянии от оси ряда.

Отметки нивелирных реек проверяют контрольной нивелировкой сразу же после их установки.

Стойки должны стоять вертикально и прочно так, чтобы они не качались. Прорези для струн на кронштейнах должны находиться точно над нивелирными рейками, кронштейны не должны иметь перекосов. Прорези для струны в кронштейнах не должны иметь острых краев и зазубрин.

Струна должна быть натянута так, чтобы ее провисание было почти незаметным. Высота струны над нивелирными рейками должна быть одинаковой.

Особые способы установки копирных струн

В предыдущих разделах были описаны наиболее распространенные и наиболее рациональные способы и приемы установки струн. Эти способы обеспечивают ритмичную работу машин всего комплекта при переходе с одного участка установки струн на другой без какой-либо остановки машин для переналадки и настройки датчиков.

Иногда по условиям местности применение этих способов либо невозможно, либо сопряжено с большими трудностями.

В этих случаях применяют другие - особые способы установки струн. Применение этих способов обязательно повлечет за собой переналадку датчиков на новые условия, а это вызовет необходимость остановки машин, т.е. нарушение ритмичности потока. Кроме того, после переналадки датчиков потребуется некоторая дорегулировка рабочих органов машин.

Поэтому применение этих способов должно быть оправдано, а также согласовано с руководителем работ по устройству покрытия.

Способы эти следующие:

I. Изменение уровня установки струн

Если при переходе на следующий участок установки струн необходимо изменить уровень (высоту) установки струн, то лучше, если изменение уровня будет произведено для обеих струн (правой и левой) на одну и ту же величину.

В этом случае при переходе машин на этот участок должен быть соответственно изменен уровень установки укосин с датчиками на правых и левых гусеницах и датчики настроены на новый уровень.

II. Установка струн на разных уровнях

Технические возможности машин «Автогрейд» допускают установку струн (правой и левой) в разных уровнях, при которых плоскость, проведенная через струны, не параллельна плоскости, проходящей через кромки покрытия (рис. 5).

Рис. 5. Установка копирных струн в разных уровнях:

1 - металлическая стойка; 2 - кронштейн; 3 - датчик уровня с копиром; 4 - нивелирная рейка; 5 - рама профилировщика; h1 - постоянная высота левой струны; h2 - постоянная высота правой струны

В этом случае при переходе машин на этот участок для каждой струны должно быть изменено положение укосин с датчиками и датчики настроены на новые уровни - правые датчики настроены на уровень правой струны, левые - на уровень левой струны.

При таком способе установки струн важно, чтобы высота каждой струны над нивелирными рейками была на всем протяжении строго одинаковой.

III. Установка струн на кривых с малым радиусом

На кривых малых радиусов (на примыканиях рулежных дорожек к ВПП, к перронам и т.п.) расстояние между стойками сокращают до 1,5 м.

При этом получают ломаную линию струны.

Однако грани покрытия, уложенного бетоноукладчиком, будут очерчены по плавной кривой достаточно точно.

IV. Указания по организации труда

Для обеспечения успешной работы по установке струн геодезисту-руководителю звена рабочих должны заранее выдаваться ведомости нивелировочных отметок пикетных и плюсовых точек, вычисленных двойным машинным счетом.

Работы по установке копирных струн выполняет звено следующего состава:

Инженер геодезист                    1

Дорожные рабочие:

4 разр.                                     1

3 разр.                                     1

2 разр.                                     2

Подсобный рабочий 1 разр.      1

Инженер-геодезист является руководителем бригады и выполняет работу с геодезическим инструментом (теодолит, нивелир, эккер).

Перед началом работы он проводит осмотр участка, после чего принимает решение о способе установки струн. В конце рабочей смены делает окончательную выправку струны.

В процессе работы основные обязанности рабочих распределяются в таком порядке:

рабочие 4 и 3 разр. выполняют наиболее ответственную работу - провешивают линию установки струны, разметку мест установки нивелирных реек. Устанавливают нивелирные рейки под нивелир, устанавливают стойки и кронштейны под теодолит и по шаблону, делают контроль и выправку струны в плане и профиле;

рабочие 2 разр. забивают стойки, работают с лентой и нивелировочными рейками, переносят геодезические инструменты по участку работ, разматывают и раскладывают струны, сматывают струну на катушку;

рабочий 1 разр. выполняет, главным образом, все работы по переноске инвентаря (стоек, нивелирных реек, вешек и др.), снимает и очищает стойки и выполняет другие вспомогательные подсобные работы.

При необходимости все рабочие звена участвуют в погрузке и выгрузке инвентарных принадлежностей.

При перевозке имущества звену придают грузовой автомобиль.

IV. ГРАФИК ПРОИЗВОДСТВЕННОГО ПРОЦЕССА ПО УСТАНОВКЕ КОПИРНЫХ СТРУН
(сменная выработка звена 700 м струны)

Примечания. 1. В трудоемкость включено время для отдыха рабочих в размере 10 %.

2. В графике цифры над чертой - количество рабочих, под чертой - продолжительность работы в минутах.

3. В состав звена не включены инженер-геодезист (ИТР) и шофер грузовой автомашины, обслуживающий звено по установке струн.

V. ТЕХНИКО-ЭКОНОМИЧЕСКИЕ ПОКАЗАТЕЛИ

Наименование показателей

Единица измерения

 

Трудоемкость на 1000 м установки струны

чел-дн

7,1

Средний разряд рабочих

-

2,4

Выработка на 1 рабочего

м

140

VI. МАТЕРИАЛЬНО-ТЕХНИЧЕСКИЕ РЕСУРСЫ
(на захватку 700 м струны в одну линию)

Бортовой автомобиль 1,5 т

1

Натяжные барабаны и лебедки, шт.

4*

Нивелирные рейки, шт.

50*

Стойки в сборе с кронштейнами и струбцинами, шт.

52*

Струна полиэтиленовая, м

725*

Катушки для струн, шт.

2*

Теодолит с треногой, шт.

1

Нивелир с треногой, шт.

1

Рейки нивелирные, шт.

2

Эккер, шт.

1

Вешки, шт.

10

Деревянные шаблоны (линейки), шт.

2

Лента мерная с комплектом шпилек, шт.

1

Рулетка тесемочная 20 м, шт.

1

Шнур трассировочный 20 м, шт.

1

Кувалды 3 - 4 кг, шт.

2

Лом, шт.

1

Лопаты, шт.

2

Топоры, шт.

2

Сигнальные знаки для ограждения участка работ, компл.

1

Канистра для питьевой воды

1

Аптечка

1

* В зависимости от темпов и условий работ строительная организация должна иметь в наличии комплект струн с принадлежностями примерно на 6 - 8 км струны, считая в одну линию.

СОДЕРЖАНИЕ

 

 




ГОСТЫ, СТРОИТЕЛЬНЫЕ и ТЕХНИЧЕСКИЕ НОРМАТИВЫ.
Некоммерческая онлайн система, содержащая все Российские Госты, национальные Стандарты и нормативы.
В Системе содержится более 150000 файлов нормативно-технической документации, действующей на территории РФ.
Система предназначена для широкого круга инженерно-технических специалистов.

Рейтинг@Mail.ru Яндекс цитирования

Copyright © www.gostrf.com, 2008 - 2026