|
|
ВОЗДУХ ЗАМКНУТЫХ ПОМЕЩЕНИЙ Часть 9 Определение выделения летучих органических соединений ISO 16000-9:2006
ПредисловиеЦели и принципы стандартизации в Российской Федерации установлены Федеральным законом от 27 декабря 2002 г. № 184-ФЗ «О техническом регулировании», а правила применения национальных стандартов Российской Федерации - ГОСТ Р 1.0-2004 «Стандартизация в Российской Федерации. Основные положения» Сведения о стандарте 1 ПОДГОТОВЛЕН Автономной некоммерческой организацией «Научно-исследовательский центр контроля и диагностики технических систем» (АНО «НИЦ КД») на основе собственного аутентичного перевода на русский язык стандарта, указанного в пункте 4 2 ВНЕСЕН Техническим комитетом по стандартизации ТК457 «Качество воздуха» 3 УТВЕРЖДЕН И ВВЕДЕН В ДЕЙСТВИЕ Приказом Федерального агентства по техническому регулированию и метрологии от 7 декабря 2009 г. № 569-ст 4 Настоящий стандарт идентичен международному стандарту ИСО 16000-9:2006 «Воздух замкнутых помещений. Часть 9. Определение выделения летучих органических соединений строительными и отделочными материалами. Метод с использованием испытательной камеры» (ISO 16000-9:2007 «Indoor air - Part 9: Determination of the emission of volatile organic compounds from building products and furnishing - Emission test chamber method», IDT). При применении настоящего стандарта рекомендуется использовать вместо ссылочных международных стандартов соответствующие им национальные стандарты Российской Федерации, сведения о которых приведены в дополнительном приложении ДА 5 ВВЕДЕН ВПЕРВЫЕ Информация об изменениях к настоящему стандарту публикуется в ежегодно издаваемом информационном указателе «Национальные стандарты», а текст изменений и поправок - в ежемесячно издаваемых информационных указателях «Национальные стандарты». В случае пересмотра (замены) или отмены настоящего стандарта соответствующее уведомление будет опубликовано в ежемесячно издаваемом информационном указателе «Национальные стандарты». Соответствующая информация, уведомление и тексты размещаются также в информационной системе общего пользования - на официальном сайте Федерального агентства по техническому регулированию и метрологии в сети Интернет ВведениеОпределение летучих органических соединений (ЛОС), выделяемых строительными материалами, с помощью испытательных камер при применении стандартизованной методики отбора, хранения и подготовки образцов для испытаний имеет определенные цели, такие как: - предоставление производителям строительных материалов, строителям и обитателям помещений данных по выделению ЛОС, необходимых для оценки влияния строительных материалов на качество воздуха замкнутых помещений; - содействие расширению производства продукции высокого качества. Метод, установленный в настоящем стандарте, может быть применен для большинства строительных материалов, применяемых в замкнутых помещениях. ГОСТ Р ИСО 16000-9-2009 НАЦИОНАЛЬНЫЙ СТАНДАРТ РОССИЙСКОЙ ФЕДЕРАЦИИ ВОЗДУХ ЗАМКНУТЫХ ПОМЕЩЕНИЙ Часть 9 Определение выделения
летучих органических Indoor air. Part 9. Determination of the
emission of volatile organic compounds from building products and furnishing. Дата введения - 2010-12-01 1 Область примененияНастоящий стандарт устанавливает лабораторный метод определения удельной скорости выделения летучих органических соединений (ЛОС) новыми строительными или отделочными материалами в определенных климатических условиях. Данный метод может быть также применен и для материалов, бывших в употреблении. Полученные данные по выделению ЛОС могут быть использованы для вычисления массовых концентраций ЛОС в типовом помещении. Настоящий стандарт применяют для определения выделения ЛОС строительными или отделочными материалами с помощью различных испытательных камер. Отбор, транспортирование и хранение образцов испытываемых материалов, а также методика подготовки образцов для испытаний установлены в ИСО 16000-11. Отбор проб воздуха и аналитические методы, используемые для определения ЛОС, установлены в ИСО 16000-6 и [1]. Общее описание испытательной камеры для исследования выделения веществ материалами приведено в приложении С. Методика определения выделения формальдегида древесными плитами приведена в [2]. Однако настоящий стандарт также можно применять для определения скорости выделения формальдегида древесными плитами и другими строительными материалами. Методика определения формальдегида , см. [2]. 2 Нормативные ссылкиВ настоящем стандарте использованы нормативные ссылки на следующие международные стандарты: ИСО 554:1976 Атмосферы стандартные для кондиционирования и (или) испытаний. Общие требования (ISO 554:1976, Standard atmospheres for conditioning and/or testing - Specifications) ИСО 16000-6:2004 Воздух замкнутых помещений. Часть 6. Определение летучих органических соединений в воздухе замкнутых помещений и испытательной камеры путем активного отбора проб на сорбент Теnах ТА с последующей термической десорбцией и газохроматографическим анализом с использованием МСД/ПИД (ISO 16000-4:2004, Indoor air - Part 6: Determination of volatile organic compounds in indoor and test chamber air by active sampling on Теnах ТА sorbent, thermal desorption and gas chromatography using MS/FID) ИСО 16000-11:2006 Воздух замкнутых помещений. Часть 11. Определение выделений летучих органических соединений строительными и отделочными материалами. Отбор и хранение образцов, подготовка образцов для испытаний (ISO 16000-11:2006, Indoor air - Part 11: Determination of the emission of volatile organic compounds from building products and furnishing - Sampling, storage of samples and preparation of test specimens) 3 Термины и определенияВ настоящем стандарте применены следующие термины с соответствующими определениями: 3.1 кратность воздухообмена (air change rate): Отношение объема чистого воздуха, поступающего в испытательную камеру в час, к свободному объему испытательной камеры, выраженному в одних и тех же единицах. 3.2 расход воздуха (air flow rate): Объем воздуха, поступающий в испытательную камеру в единицу времени. 3.3 скорость потока воздуха (air velocity): Скорость потока воздуха над поверхностью испытываемого образца. 3.4 удельный расход воздуха на единицу площади (area specific air flow rate): Отношение расхода подаваемого воздуха к площади поверхности образца для испытаний. 3.5 строительный материал (building product): Продукция, предназначенная для применения в строительных работах. 3.6 испытательная камера (emission test chamber): Камера с контролируемыми рабочими параметрами, предназначенная для определения ЛОС, выделяемых строительными материалами. 3.7 концентрация ЛОС в испытательной камере (emission test chamber concentration): Массовая концентрация индивидуального ЛОС (или группы ЛОС), измеренная на выходе испытательной камеры. 3.8 коэффициент загрузки материалом (product loading factor): Отношение площади подвергаемой воздействию поверхности испытываемого образца к свободному объему испытательной камеры. 3.9 степень извлечения (recovery): Отношение массы определяемого ЛОС в воздухе на выходе из испытательной камеры за заданный период времени к массе определяемого ЛОС, добавленного в испытательную камеру за этот же период времени, в процентах. Примечание - Степень извлечения характеризует качество метода в целом. 3.10 образец (sample): Порция или кусок строительного материала, являющийся представительным для всей продукции. 3.11 удельная интенсивность выделения qm (specific emission rate): Скорость выделения ЛОС материалом, характеризующая массу ЛОС, выделяемого материалом в единицу времени, в заданный момент времени от начала испытания. Примечания 1 В настоящем стандарте используется удельная скорость выделения на единицу площади qA. В зависимости от требований к измерениям также могут быть использованы некоторые другие удельные скорости выделения, например, удельная скорость выделения на единицу длины ql, удельная скорость выделения на единицу объема qv и удельная скорость выделения на изделие qu. 2 Термин «удельная скорость выделения на единицу площади» иногда используют параллельно с термином «коэффициент выделения». 3.12 определяемое летучее органическое соединение (target volatile organic compound): Индивидуальное летучее органическое соединение, выделяемое испытываемым материалом. 3.13 испытываемый образец (test specimen): Часть образца материала, подготовленная специальным образом для проведения испытаний в испытательной камере с целью воспроизведения характера выделения ЛОС испытываемым материалом или изделием. 3.14 общие летучие органические соединения; ОЛОС (total volatile organic compound; TVOC): Суммарное содержание идентифицированных или неидентифицированных ЛОС, элюирующихся между н-гексаном и н-гексадеканом включительно. Примечания 1 Для количественного определения идентифицируемых соединений используют их индивидуальные отклики. Площади неидентифицированных пиков пересчитывают в единицы концентрации на основе относительной молекулярной массы с использованием коэффициента отклика по толуолу [2]. 2 По практическим причинам, которые необходимо учитывать при работе с испытательными камерами, определение ОЛОС несколько отличается от определения, приведенного в ИСО 16000-6. В ИСО 16000-6 ОЛОС рассматриваются применительно к отбору проб на сорбент Тепах ТА®1), на котором они адсорбируются. 1) Тепах ТА® - торговое наименование сорбента фирмы Supelco, Inc. Данная информация приведена для удобства пользователей стандарта и не служит рекламой данной продукции. Допускается использовать другую продукцию, если с ее помощью можно получить аналогичные результаты. 3.15 летучее органическое соединение; ЛОС (volatile organic compound; VOC): Органическое соединение, выделяемое образцом для испытаний, и все соединения, обнаруживаемые в воздухе на выходе испытательной камеры. Примечания 1 По практическим причинам, которые необходимо учитывать при работе с испытательными камерами, определение ЛОС несколько отличается от определения, приведенного в ИСО 16000-6. В ИСО 16000-6 определение основано на диапазоне температур точек кипения ЛОС от (50 - 100) °С до (240 - 260) °С. 2 Метод определения выделения ЛОС с использованием испытательной камеры, установленный настоящим стандартом, является оптимальным для соединений, попадающих под определение ОЛОС. 4 ОбозначенияНиже приведены обозначения, принятые в настоящем стандарте. Таблица 1
5 Основные положенияПринцип испытания состоит в определении удельной интенсивности выделения ЛОС на единицу площади строительными материалами. Испытание проводят в испытательной камере при постоянных температуре, относительной влажности воздуха и удельном расходе воздуха на единицу площади. Воздух в испытательной камере должен хорошо перемешиваться (см. 9.7), а измерения содержания ЛОС в воздухе на выходе испытательной камеры должны быть представительными для содержания ЛОС в воздухе испытательной камеры. Удельную интенсивность выделения на единицу площади в заданное время t вычисляют по содержанию ЛОС в воздухе испытательной камеры и удельному расходу воздуха на единицу площади q (см. раздел 13). Зная концентрацию ЛОС в воздухе, расход воздуха через испытательную камеру и площадь поверхности образца для испытаний, можно вычислить удельные интенсивности выделения ЛОС на единицу площади для испытываемого материала. 6 Установка с испытательной камерой6.1 Общие положения Установка, предназначенная для определения удельной интенсивности выделения ЛОС строительными материалами, должна включать в себя: испытательную камеру, системы генерирования и увлажнения чистого воздуха, перемешивания воздуха, мониторинга и контроля, обеспечивающие проведение испытания в соответствии с установленными требованиями [3], [4]. Общие характеристики и требования, применимые к испытательным камерам тех типов, описание которых включено в настоящий стандарт, приведены в 6.2-6.6. Мероприятия по обеспечению/контролю качества должны проводиться в соответствии с приложением А. Схема установки с испытательной камерой приведена в приложении С. 6.2 Испытательная камера Испытательная камера и компоненты системы отбора проб, вступающие в контакт с выделяемыми ЛОС, обычно изготавливают из нержавеющей стали или стекла со специально обработанной (отполированной) поверхностью. Смесители воздуха (например, вентиляторы) и уплотнения могут быть изготовлены из других материалов. Эти материалы должны характеризоваться низким выделением исследуемых ЛОС, обладать низкой адсорбционной способностью и должны быть испытаны в камере для подтверждения того, что они не влияют на фоновую концентрацию ЛОС в испытательной камере. 6.3 Устройства подачи и смешивания воздуха Испытательная камера должна быть снабжена устройством (например, электронным регулятором массового расхода), обеспечивающим автоматическое регулирование кратности воздухообмена и настройку ее на фиксированное значение с погрешностью не более ± 5 %. Конструкция испытательной камеры должна обеспечивать надлежащее перемешивание воздуха внутри нее. Соответствующие требования приведены в 9.6. Примечание - Для обеспечения соответствующего перемешивания используют вентиляторы, многопортовые входные и выходные диффузоры, перфорированные покрытия стенок и перегородки. Испытательная камера должна быть герметичной для предотвращения неконтролируемого воздухообмена с окружающей средой. Испытательная камера должна работать при давлении, немного превышающем атмосферное, чтобы было предотвращено влияние воздушной среды лаборатории. Испытательную камеру считают герметичной, если выполняется, по крайней мере, одно из следующих требований: - утечка воздуха составляет менее 0,5 % объема камеры в минуту при избыточном давлении 1000 Па; - натекание воздуха составляет менее 5 % расхода подаваемого воздуха. 6.5 Устройства отбора проб воздуха Отходящий воздух (на выходе испытательной камеры) используют для отбора проб, хотя могут быть сделаны и отдельные выходы при условии, что отбираемый из них воздух будет эквивалентен отходящему. Коллектор устройства для отбора проб должен быть подсоединен напрямую к выпускному штуцеру камеры. Если используется соединение с помощью трубки, то она должна быть короткой, насколько это возможно, и ее температура должна быть равна температуре в испытательной камере. Сумма расходов воздуха при отборе проб должна составлять не более 80 % расхода воздуха на входе испытательной камеры во избежание понижения давления. Использование многопортового коллектора способствует упрощению процедуры параллельного отбора проб. Между испытательной камерой и коллектором или между линией подачи воздуха и испытательной камерой может быть установлена смесительная камера для введения газов, являющихся внутренними стандартами, в поток воздуха испытательной камеры и их перемешивания. Отходящий воздух из испытательной камеры должен быть направлен по трубке в вытяжной шкаф с тем чтобы никакие химические вещества, выделяемые испытываемым материалом, не попали в воздушную среду лаборатории. 6.6 Степень извлечения и эффекты оседания Степень извлечения искомого ЛОС может быть определена с использованием источника ЛОС, для которого известна удельная интенсивность выделения в испытательной камере. Получаемые значения концентрации ЛОС должны соответствовать ожидаемым при испытании строительных материалов. Проверку степени извлечения проводят с использованием толуола и н-додекана в испытательной камере. Концентрацию контрольных веществ в камере следует определять по истечении 72 ч от начала испытания [первое обязательное измерение (см. 12.3)]. Средняя степень извлечения должна составлять для толуола и н-додекана не менее 80 %. Результаты проверки степени извлечения должны быть включены в протокол (ожидаемая концентрация в сравнении с измеренной). Примечания 1 Во влажном воздухе степень извлечения гигроскопичных ЛОС может быть низкой. 2 Эффекты оседания, негерметичность или несоответствующая градуировочная характеристика могут быть причиной трудностей при достижении соответствия требованиям. Характеристики оседания и адсорбции могут сильно зависеть от типа выделяемого соединения. Для улучшения понимания механизма влияния этих процессов могут быть проведены дополнительные проверки степени извлечения с использованием определяемых ЛОС с различными относительными молекулярными массами и полярностью. 7 ОборудованиеОборудование, необходимое для проведения испытаний. 7.1 Устройство подачи чистого воздуха, например, газовые баллоны с очищенным или синтетическим воздухом под давлением. 7.2 Испытательная камера. 7.3 Система увлажнения воздуха. 7.4 Системы автоматической регулировки влажности, температуры и скорости потока воздуха. 7.5 Расходомеры. 7.6 Средство для очистки стенок испытательной камеры или оборудование для проведения термодесорбции. 7.7 Устройство для определения равномерности перемешивания воздуха. 7.8 Средства для определения степени извлечения. 8 Условия испытаний8.1 Температура и относительная влажность воздуха Продукцию, предназначенную для использования на территории Европы, испытывают в испытательной камере при температуре 23 °С и относительной влажности 50 % (ИСО 554). Предельно допустимые абсолютные отклонения для указанных параметров составляют ± 2 °С и ± 5 % соответственно. Для продукции, предназначенной для использования в других климатических условиях, могут быть выбраны другие условия по температуре и влажности, предпочтительно по ИСО 554. После открытия дверки испытательной камеры и загрузки образца для испытаний изначально могут наблюдаться колебания параметров, характеризующих условия в испытательной камере. Эти колебания должны быть описаны в протоколе. 8.2 Качество подаваемого воздуха и фоновая концентрация ЛОС Уровень содержания ЛОС в подаваемом воздухе не должен быть выше установленного фонового содержания ЛОС в испытательной камере. Фоновые содержания должны быть достаточно низкими, чтобы исключить мешающее влияние на определение содержания ЛОС. Фоновая массовая концентрация ОЛОС должна быть не более 20 мкг/м3, любого индивидуального ЛОС - не более 2 мкг/м3. Примечание - Для больших испытательных камер (вместимостью не менее 20 м3) на практике эти значения могут составлять приблизительно 50 и 5 мкг/м соответственно. Вода, используемая для увлажнения, не должна содержать ЛОС, оказывающих мешающее влияние. 8.3 Скорость потока воздуха Скорость потока воздуха над поверхностью испытываемого образца должна быть от 0,1 до 0,3 м/с. Примечания 1 Для измерений скорости потока воздуха подходит время усреднения 1 мин. 2 В зависимости от подложки скорость потока воздуха может оказывать значительное влияние на процесс контролируемого испарения, например, некоторых жидких продуктов. 8.4 Удельный расход воздуха на единицу площади и кратность воздухообмена Содержание ЛОС, выделившихся в воздух испытательной камеры, зависит от удельного расхода воздуха на единицу площади, который выбирают в качестве параметра при планировании условий испытаний. Примеры значений удельного расхода воздуха на единицу площади приведены в приложении В. 9 Проверка условий испытаний на соответствие установленным требованиям9.1 Общие положения Все контрольные количественные показатели должны быть прослеживаемы к аттестованным стандартным образцам в соответствии с системой обеспечения и контроля качества (см. приложение А). 9.2 Системы контроля температуры и относительной влажности воздуха Контроль температуры осуществляют, помещая испытательную камеру в среду, температура которой поддерживается на заданном уровне, или путем поддержания постоянной температуры в самой испытательной камере. В последнем случае стенки испытательной камеры должны быть тщательно изолированы для предотвращения конденсации влаги на внутренних стенках камеры. Контроль относительной влажности воздуха может проводиться различными методами: осуществляют внешний контроль очищенного подаваемого воздуха либо внутренний контроль влажности воздуха в испытательной камере. В последнем случае принимают меры по предотвращению конденсации влаги или образования водяного тумана в испытательной камере. Температуру и относительную влажность воздуха измеряют независимо от систем контроля температуры и влажности. 9.3 Условия в испытательной камере Температуру, относительную влажность и расход воздуха контролируют и непрерывно регистрируют приборами, погрешность которых не превышает для: - температуры - ± 1,0 °С; - относительной влажности воздуха - ± 3 % (абсолютная погрешность); - расхода воздуха - ± 3 %. Погрешность измерения скорости потока на входе и выходе испытательной камеры должна находиться в пределах - ± 1 м/с). 9.4 Кратность воздухообмена в испытательной камере Кратность воздухообмена должна проверяться регулярно не реже одного раза в 12 мес либо с помощью отградуированного газового счетчика, либо путем выполнения проверки герметичности с использованием индикаторного газа в соответствии с [5] - [8]. Отклонение кратности воздухообмена от установленного значения должно быть не более ± 3 %. Если эта проверка выполняется с использованием газового счетчика/расходомера, устанавливаемого временно на выходе камеры, необходимо помнить, что противодавление, возникающее при подключении прибора, может привести к снижению расхода через испытательную камеру. 9.5 Герметичность испытательной камеры Герметичность испытательной камеры проверяют, регулярно измеряя падение давления либо сравнивая результаты одновременного измерения расхода воздуха на входе и выходе испытательной камеры, либо определяя степень разбавления индикаторного газа, см. 6.4. 9.6 Скорость потока воздуха в испытательной камере Скорость потока воздуха в испытательной камере должна быть измерена, по крайней мере, в одной точке; над центром образца для испытаний, на расстоянии 10 мм от его подвергаемой воздействию поверхности. Если образец для испытаний имеет размер и конфигурацию такие, что создаются препятствия движению потока воздуха, для измерения скорости потока должны быть выбраны дополнительные точки. Примечание - Подходящими для измерения скорости потока воздуха устройствами являются анемометры на термоэлементах или пленочные анемометры с диапазоном измерений от 0,1 до 0,5 м/с. 9.7 Эффективность перемешивания воздуха внутри испытательной камеры Испытания по определению эффективности перемешивания воздуха должны проводиться с использованием образцов для испытаний или инертной подложки испытываемых образцов, помещенных в испытательную камеру. Чтобы определить, удовлетворительно ли перемешивается воздух в испытательной камере, индикаторный газ смешивают с поступающим воздухом при постоянной концентрации и скорости потока и измеряют концентрацию смеси в камере по прошествии длительного времени. График зависимости концентрации от времени затем сравнивают с теоретической кривой для камеры идеального смешения. Методика заключается в подборе методом наименьших квадратов аналитической зависимости, соответствующей полученным результатам измерений с использованием вместимости камеры в качестве переменной. Действительная вместимость камеры может быть сравнена с «кажущейся» вместимостью, вычисленной на основе полученной зависимости [5]. Воздух внутри камеры должен хорошо перемешиваться и подчиняться теоретической модели идеального смешения, с отклонением не более 10%. 10 Испытываемый образецДля исследования выделения ЛОС строительными материалами в испытательных камерах требуется соответствующая подготовка материала перед испытанием. При подготовке образцов для испытаний следуют процедурам, приведенным в ИСО 16000-11, приложении А (для твердых материалов) и приложении В (для материалов в виде жидкостей). 11 Подготовка испытательной камерыИспытательная камера должна быть очищена таким образом, чтобы были соблюдены требования 8.2. Очистка может быть осуществлена путем промывания внутренних поверхностей камеры раствором щелочного моющего средства с последующим двукратным ополаскиванием свежеприготовленной дистиллированной водой. Затем испытательную камеру сушат и продувают в условиях испытания. Также очистка испытательной камеры может быть осуществлена путем термической десорбции [6]. 12 Проведение испытаний12.1 Фоновые концентрации Перед началом нового испытания отбирают пробу воздуха из испытательной камеры для количественного определения фонового содержания ЛОС в пустой испытательной камере. Фоновые концентрации должны соответствовать требованиям, приведенным в 8.2. 12.2 Местоположение испытываемого образца в камере Испытываемый образец должен быть помещен в центр испытательной камеры, чтобы обеспечивалось равномерное распределение потока воздуха над поверхностью образца, выделяющей ЛОС. 12.3 Время отбора проб для измерений концентрации ЛОС в воздухе испытательной камеры Отбор проб для количественного анализа должен проводиться в заранее установленные моменты времени. В зависимости от цели испытаний может потребоваться дополнительный отбор проб воздуха в другие моменты времени. Продолжительность отбора проб для измерений концентрации зависит от применяемых методов анализа, которые должны быть документированы в протоколе. Параллельные пробы воздуха отбирают через (72±2) ч и (28±2) дней от начала испытания. После окончания испытаний испытательная камера должна быть очищена в соответствии с разделом 11. Продолжительность испытания определяется его целью. Для периодов времени, когда испытываемый образец не находится в камере, он должен храниться при средней температуре 23 °С и относительной влажности 50 %. Во время хранения процесс старения испытываемого образца должен быть аналогичен процессу старения, протекающему в испытательной камере. При хранении предотвращают загрязнения другими испытываемыми образцами. Образец должен быть снова помещен в испытательную камеру, по крайней мере, за 72 ч до начала отбора проб воздуха. Каждое изъятие образца из испытательной камеры должно быть документировано в протоколе. Примечание - Если необходимо исследовать ослабление выделения ЛОС, то пробы воздуха могут быть отобраны через 1, 3, 7, 14, 28 и 56 или более дней от начала испытания. Фоновые концентрации ЛОС должны соответствующим образом контролироваться во избежание загрязнения испытываемых образцов. Примечание - Для сведения к минимуму загрязнения образцов для испытаний их можно хранить на хорошо проветриваемых полках или в шкафчиках. 13 Вычисление удельной интенсивности выделения на единицу площади и представление результатов измеренийВ заданных условиях испытания rх зависит от удельной интенсивности выделения на единицу площади испытываемого образца и расхода воздуха через испытательную камеру. В случае индивидуальных ЛОС, выделяемых испытываемым материалом и обнаруживаемых также и в пустой испытательной камере, rх вычисляют, вычитая из значения концентрации, полученного на выходе, значение фоновой концентрации соответствующего ЛОС. В случае ОЛОС из значения концентрации, полученного на выходе, вычитают суммарную фоновую концентрацию ЛОС. Соотношение между rх, удельной интенсивностью выделения на единицу площади qA и удельным расходом на единицу площади q в испытательной камере определяется формулой rх = qA(L/п) = qA/q в момент времени t. (1) Из формулы (1) следует, что удельный расход на единицу площади q равен отношению n/L. Для конкретного материала, испытываемого при заданных условиях в испытательной камере, концентрация ЛОС зависит от удельного расхода воздуха на единицу площади. Результат измерения массовой концентрации ЛОС в воздухе на выходе испытательной камеры rх должен быть пересчитан на удельную интенсивность выделения на единицу площади по формуле qA = rх× q в момент времени t, (2) где qArх (средняя концентрация ЛОС), вычисленная по параллельным пробам воздуха, отбираемым в соответствии с 12.3. Результат измерения должен быть отнесен ко времени измерения выделения после размещения образца в испытательной камере, а в протоколе может быть выражен количественно через удельную интенсивность выделения на единицу площади для индивидуального ЛОС и/или ОЛОС в соответствии с целью испытания. Суммарное содержание всех выделенных материалом соединений ОЛОС должно рассматриваться только как показатель, характерный для исследуемого материала, который может быть использован только для сравнения материалов с аналогичными профилями выделения искомых ЛОС. Примечание - Для конкретных целей удельные интенсивности выделения на единицу площади могут быть вычислены на основе зависимости концентрации ЛОС от времени или с помощью различных математических моделей, например, модели затухания первого порядка с использованием данных по концентрации за определенный промежуток времени. Описание этих и других моделей приведены в [7] и [9]. 14 Метрологические характеристикиМетрологические характеристики метода, установленного настоящим стандартом, при совместном применении с ИСО 16000-6, рассмотрены в ИСО 16000-6 и ИСО 16017-1. 15 Протокол испытанийПротокол испытаний должен включать следующую информацию: a) о лаборатории, проводящей испытания: 1) название и адрес лаборатории; 2) ФИО ответственного лица; 3) описание используемого оборудования и методов (испытательной камеры, системы очистки воздуха, устройств контроля условий окружающей среды, устройств и способов отбора проб, аналитических приборов, способов создания стандартных образцов и методов градуировки); b) об образце: 1) тип продукции (торговая марка, если это уместно); 2) способ отбора образца (например, случайный); 3) предыстория материала (дата изготовления, дата поступления в лабораторию, проводящую испытания); c) о процессе подготовки испытываемого образца: 1) дата и время распаковывания и подготовки испытываемых образцов (час, день, месяц и год); 2) методика подготовки с указанием толщины и типа используемой подложки, а для жидких продуктов типа используемой подложки, количества на единицу площади подложки и/или толщины слоя; d) об условиях и методиках проведения эксперимента: 1) описание условий в испытательной камере (температуры, относительной влажности воздуха, кратности воздухообмена, скорости потока воздуха); 2) значения площади образца для испытаний и коэффициента загрузки; 3) описание отбора выделившихся ЛОС (типа используемого адсорбента, объема отобранного воздуха, продолжительности отбора пробы и промежутков времени после помещения образца в камеру); e) по методам анализа данных. Описание метода, используемого для вычисления удельных интенсивностей выделения ЛОС на единицу площади на основе их концентраций в камере (с подробным описанием используемых математических моделей и формул); f) по результатам. Для каждого образца для испытаний должны быть приведены удельные интенсивности выделения для индивидуальных ЛОС и/или ОЛОС в моменты отбора пробы воздуха; g) по обеспечению/контролю качества: 1) значение фоновой концентрации искомых соединений в воздухе испытательной камеры; 2) значение степени извлечения толуола и н-додекана (для оценки эффектов оседания); 3) результаты повторного отбора проб/анализа; 4) точность представления параметров окружающей среды (температуры, относительной влажности воздуха, кратности воздухообмена, скорости потока воздуха). Приложение
А
|
||||||||||||||||||||||||||||||||||||||||||||||||||||||||||||||||||||||||||||||||||||||||||||||||||||||||||||||||
|
Типовое помещение а) |
Удельный расход воздуха на единицу площади, м3/(м2×ч) или n/L |
|
17,4 м3, п = 0,5 ч-1 |
|
|
Площадь пола 7 м2 |
1,2 |
|
Площадь стен 24 м2 |
0,4 |
|
Площадь герметизирующего материала 0,2 м2 |
44 |
|
а) См. [10]. Примечание - Вычисленное значение концентрации может отличаться от действительного значения. Необходимо учитывать, что числовое значение интенсивности выделения является усредненным за час, но уже на следующий день это значение может измениться в несколько раз. |
|

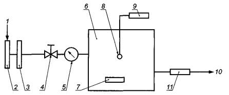
1 - подача воздуха; 2 - фильтр очистки воздуха; 3 - блок системы
кондиционирования воздуха; 4 - регулятор расхода; 5 - расходомер; 6 -
испытательная камера; 7 - устройство для обеспечения циркуляции воздуха и
контроля скорости потока воздуха; 8 - датчики температуры, влажности и скорости
потока воздуха; 9 - система контроля температуры и влажности воздуха; 10 -
выпуск воздуха; 11 - коллектор для отбора проб воздуха
Рисунок С.1 - Схема установки с испытательной камерой
Таблица ДА.1
|
Обозначение ссылочного международного стандарта |
Степень соответствия |
Обозначение и наименование соответствующего национального стандарта |
|
ИСО 554:1976 |
- |
* |
|
ИСО 16000-6:2004 |
IDT |
ГОСТ Р ИСО 16000-6-2007 Воздух замкнутых помещений. Часть 6. Определение летучих органических соединений в воздухе замкнутых помещений и испытательной камеры путем активного отбора проб на сорбент Теnах ТА с последующей термической десорбцией и газохроматографическим анализом с использованием МСД/ПИД |
|
ИСО 16000-11:2006 |
IDT |
ГОСТ Р ИСО 16000-11-2009 Воздух замкнутых помещений. Часть 11. Определение выделения летучих органических соединений строительными и отделочными материалами. Выбор, хранение и подготовка испытываемых образцов для испытаний |
|
* Соответствующий национальный стандарт отсутствует. До его утверждения рекомендуется использовать перевод на русский язык данного международного стандарта. Перевод данного международного стандарта находится в Федеральном информационном фонде технических регламентов и стандартов. Примечание - В настоящей таблице использовано следующее условное обозначение степени соответствия стандартов: - IDT - идентичные стандарты. |
||
|
ISO 16000-3:2001 |
Indoor air - Part 3: Determination of formaldehyde and other carbonyl compounds - Active sampling method. (ИСО 16000-3:2001 Воздух замкнутых помещений. Часть 3. Определение содержания формальдегида и других карбонильных соединений. Метод активного отбора проб)1) |
|
|
1) ISO 16000-3:2001 соответствует ГОСТ Р ИСО 16000-3-2007 «Воздух замкнутых помещений. Часть 3. Определение содержания формальдегида и других карбонильных соединений. Метод активного отбора проб». |
||
|
ЕСА (European Collaborative Action «Indoor Air Quality and its Impact on Man»). Total Volatile Organic Compounds (TVOC) in Indoor Air Quality Investigations. Report No. 19, EUR 17675 EN. Luxembourg: Official Publications of the European Communities, 1997 |
||
|
ECA (European Collaborative Action «Indoor Air Quality and its Impact on Man»). Guideline for the characterization of volatile organic compounds emitted from indoor materials and products using small emission test chambers. Report No. 8, EUR 13593 EN. Luxembourg: Official Publications of the European Communities, 1991 |
||
|
ECA (European Collaborative Action «Indoor Air Quality and its Impact on Man»). Evaluation of VOC Emissions from Building Products - Solid Flooring Materials. Report No. 18, EUR 17334 EN. Luxembourg: Official Publications of the European Communities, 1997 |
||
|
Tichenor, B.A. Indoor air sources; using small environmental emission test chambers to characterize organic emissions from indoor materials and products, EPA-600 8-89-074, Air and Energy Engineering Research Laboratory, U.S. Environmental Protection Agency, 1989. Section 2A |
||
|
Tichenor, B.A. Indoor air sources; using small environmental emission test chambers to characterize organic emissions from indoor materials and products, EPA-600 8-89-074, Air and Energy Engineering Research Laboratory, U.S. Environmental Protection Agency, 1989. Section 5C |
||
|
Tichenor, B.A. Indoor air sources; using small environmental emission test chambers to characterize organic emissions from indoor materials and products, EPA-600 8-89-074, Air and Energy Engineering Research Laboratory, U.S. Environmental Protection Agency, 1989. Section 6C |
||
|
ECA (European Collaborative Action «Indoor Air Quality and its Impact on Man»). Formaldehyde emissions from wood based panels: guideline for the establishment of steady state concentrations in emission test chambers. Report No. 2, EUR 12196 EN. Luxembourg: Official Publications of the European Communities, 1989 |
||
|
Tichenor, B.A. Indoor air sources; using small environmental emission test chambers to characterize organic emissions from indoor materials and products, EPA-600 8-89-074, Air and Energy Engineering Research Laboratory, U.S. Environmental Protection Agency, 1989. Section 7 |
||
|
Danish Standard/ INF 90 |
«Directions for the determination and evaluation of the emission from building products» (Anvisning for bestemmelse og vurdering af afgasning fra byggevarer), Dansk Standard, Kobenhavn, 1994 |
|
|
[11] |
ISO 16017-1:2000 |
Indoor, ambient and workplace air - Sampling and analysis of volatile organic compounds by sorbent tube/thermal desorption/capillary gas chromatography - Part 1: Pumped sampling. (ИСО 16017-1:2000 Воздух атмосферный, рабочей зоны и замкнутых помещений. Отбор проб летучих органических соединений при помощи сорбционной трубки с последующей термодесорбцией и газохроматографическим анализом на капиллярных колонках. Часть 1. Отбор проб методом прокачки)2) |
|
2) ISO 16017-1:2000 соответствует ГОСТ Р ИСО 16017-1-2007 «Воздух атмосферный, рабочей зоны и замкнутых помещений. Отбор проб летучих органических соединений при помощи сорбционной трубки с последующей термодесорбцией и газохроматографическим анализом на капиллярных колонках. Часть 1. Отбор проб методом прокачки». |
||
|
[12] |
EN 717-1:2004 |
Wood-based panels - Determination of formaldehyde release - Part 1: Formaldehyde emission by the chamber method. (EH 717-1:2004 Плиты древесные. Определение выхода формальдегида. Часть 1. Метод определения выхода формальдегида с использованием испытательной камеры) |
Ключевые слова: воздух замкнутых помещений, летучие органические соединения, материалы строительные, отделочные, метод определения выделений, испытательная камера
|
ГОСТЫ, СТРОИТЕЛЬНЫЕ и ТЕХНИЧЕСКИЕ НОРМАТИВЫ. Некоммерческая онлайн система, содержащая все Российские Госты, национальные Стандарты и нормативы. В Системе содержится более 150000 файлов нормативно-технической документации, действующей на территории РФ. Система предназначена для широкого круга инженерно-технических специалистов. Copyright © www.gostrf.com, 2008 - 2026 |