Крупнейшая бесплатная информационно-справочная система онлайн доступа к полному собранию технических нормативно-правовых актов РФ. Огромная база технических нормативов (более 150 тысяч документов) и полное собрание национальных стандартов, аутентичное официальной базе Госстандарта. GOSTRF.com - это более 1 Терабайта бесплатной технической информации для всех пользователей интернета. Все электронные копии представленных здесь документов могут распространяться без каких-либо ограничений. Поощряется распространение информации с этого сайта на любых других ресурсах. Каждый человек имеет право на неограниченный доступ к этим документам! Каждый человек имеет право на знание требований, изложенных в данных нормативно-правовых актах!

  


 

ФЕДЕРАЛЬНОЕ АГЕНТСТВО
ПО ТЕХНИЧЕСКОМУ РЕГУЛИРОВАНИЮ И МЕТРОЛОГИИ

НАЦИОНАЛЬНЫЙ
СТАНДАРТ
РОССИЙСКОЙ
ФЕДЕРАЦИИ

ГОСТ Р
53771-
2010
(ИСО 4190-2:2001)

ЛИФТЫ ГРУЗОВЫЕ

Основные параметры и размеры

ISO 4190-2:2001
Lift (Elevator) installation - Part 2:
Class IV lifts
(MOD)

Москва

Стандартинформ

2010

Предисловие

Цели и принципы стандартизации в Российской Федерации установлены Федеральным законом от 27 декабря 2002 г. № 184-ФЗ «О техническом регулировании», а правила применения национальных стандартов Российской Федерации - ГОСТ Р 1.0-2004 «Стандартизация в Российской Федерации. Основные положения»

Сведения о стандарте

1 ПОДГОТОВЛЕН ОАО «Щербинский лифтостроительный завод» (ОАО «ЩЛЗ») на основе аутентичного перевода международного стандарта, указанного в пункте 4

2 ВНЕСЕН Техническим комитетом по стандартизации ТК 209 «Лифты, эскалаторы, пассажирские конвейеры и подъемные платформы для инвалидов»

3 УТВЕРЖДЕН И ВВЕДЕН В ДЕЙСТВИЕ Приказом Федерального агентства по техническому регулированию и метрологии от 11 февраля 2010 г. № 16-ст

4 Настоящий стандарт является модифицированным по отношению к международному стандарту ИСО 4190-2:2001 «Лифтовая установка. Часть 2. Лифты класса IV» (ISO 4190-2:2001 Lift (Elevator) installation - Part 2: Class IV lifts).

При этом дополнительные положения и требования, включенные в текст стандарта для учета потребностей национальной экономики Российской Федерации, выделены в тексте стандарта курсивом.

Наименование настоящего стандарта изменено относительно наименования указанного международного стандарта для приведения в соответствие с ГОСТ Р 1.5-2004 (пункт 3.5)

5 ВВЕДЕН ВПЕРВЫЕ

Информация об изменениях к настоящему стандарту публикуется в ежегодно издаваемом информационном указателе «Национальные стандарты», а текст изменений и поправок в ежемесячно издаваемых информационных указателях «Национальные стандарты». В случае пересмотра (замены) или отмены настоящего стандарта соответствующее уведомление будет опубликовано в ежемесячно издаваемом информационном указателе «Национальные стандарты». Соответствующая информация, уведомления и тексты размещаются также в информационной системе общего пользования - на официальном сайте Федерального агентства по техническому регулированию и метрологии в сети Интернет

Содержание

Введение

В настоящий стандарт включены дополнительные по отношению к международному стандарту ИСО 4190-2:2001 требования, отражающие потребности национальной экономики Российской Федерации и особенности изложения национальных стандартов (в соответствии с ГОСТ Р 1.5), а именно:

- ряд номинальных грузоподъемностей дополнен грузоподъемностью 3200 кг;

- стандарт дополнен параметрами для лифтов с горизонтально-раздвижными дверями кабины и распашными дверями шахты категорий лифтов А и В;

- требования раздела 4 изложены в соответствии с требованиями и потребностями национальной экономики Российской Федерации.

Настоящий стандарт дополнен структурным элементом «Библиография» и выделен курсивом.

ГОСТ Р 53771-2010

(ИСО 4190-2:2001)

НАЦИОНАЛЬНЫЙ СТАНДАРТ РОССИЙСКОЙ ФЕДЕРАЦИИ

ЛИФТЫ ГРУЗОВЫЕ

Основные параметры и размеры

Goods lifts. Basic parameters and dimensions

Дата введения - 2010-06-01

1 Область применения

1.1 Настоящий стандарт распространяется на грузовые лифты для зданий (сооружений) различного назначения.

1.2 Грузовые лифты, включенные в настоящий стандарт, предназначены для установки в новые здания (сооружения).

Настоящий стандарт может быть использован в качестве нормативной базы при установке новых лифтов в существующие здания (сооружения).

1.3 Настоящий стандарт устанавливает основные параметры и размеры грузовых лифтов следующих видов:

- электрические;

- гидравлические.

1.4 Настоящий стандарт устанавливает требования к грузовым лифтам двух категорий по соотношению полезной площади кабины и номинальной грузоподъемности:

- лифты грузовые категории А: лифты, полезная площадь кабины которых не превышает указанную в таблице 1 для соответствующей номинальной грузоподъемности;

- лифты грузовые категории В: лифты, полезная площадь кабины которых превышает указанную в таблице 1 для соответствующей номинальной грузоподъемности.

1.5 Основные параметры и размеры лифтов могут отличаться от включенных в настоящий стандарт при условии соблюдения требований безопасности, установленных [1].

2 Нормативные ссылки

В настоящем стандарте использована ссылка на следующий стандарт:

ГОСТ 8032-84 Предпочтительные числа и ряды предпочтительных чисел

Примечание - При пользовании настоящим стандартом целесообразно проверить действие ссылочных стандартов в информационной системе общего пользования - на официальном сайте национального органа Российской Федерации по стандартизации в сети Интернет или по ежегодно издаваемому информационному указателю «Национальные стандарты», который опубликован по состоянию на 1 января текущего года, и по соответствующим ежемесячно издаваемым информационным указателям, опубликованным в текущем году. Если ссылочный стандарт заменен (изменен), то при пользовании настоящим стандартом следует руководствоваться заменяющим (измененным) стандартом. Если ссылочный стандарт отменен без замены, то положение, в котором дана ссылка на него, применяется в части, не затрагивающей эту ссылку.

3 Термины и определения

В настоящем стандарте применены следующие термины с соответствующими определениями:

3.1 грузоподъемность грузового лифта номинальная: Наибольшая масса груза, для транспортирования которого предназначен лифт. При использовании для загрузки лифта и транспортирования в нем контейнеров, поддонов, средств напольного транспорта их масса должна быть учтена.

3.2 дверь кабины (шахты) горизонтально-раздвижная: Дверь, створка (и) которой перемещается (ются) по направляющей в горизонтальном направлении.

3.3 дверь кабины (шахты) вертикально-раздвижная: Дверь, створка (и) которой перемещается (ются) по направляющей в вертикальном направлении.

3.4 дверь кабины (шахты) телескопическая: Дверь, створки которой перемещаются в параллельных плоскостях, при открывании заходя одна за другую.

3.5 дверь кабины (шахты) центрального открывания: Дверь, створки которой при движении перемещаются в противоположные направления от центра (к центру).

3.6 дверь кабины (шахты) горизонтально-раздвижная одностороннего открывания: Дверь, створки (а) которой перемещаются (ется) в одну сторону.

3.7 дверь кабины (шахты) распашная: Дверь, створка(и) которой перемещается(ются) вокруг шарнирного крепления к порталу двери.

3.8 дверь кабины (шахты) складчатая: Дверь, створка(и) которой состоит(ят) из двух или более полотен, соединенных между собой перемещаются вокруг шарнирного крепления к порталу двери.

3.9 кабина грузового лифта: Грузонесущее устройство, предназначенное для размещения и транспортирования груза или груза и людей, оборудованное ограждением в виде стен, пола, потолка и двери.

3.10 лифт: Грузоподъемная машина периодического действия, предназначенная для транспортирования людей и/или грузов в зданиях и сооружениях, оборудованная кабиной, перемещающейся по жестким направляющим, угол наклона к вертикали у которых не более 15°.

3.11 лифт грузовой: Лифт, предназначенный в основном для подъема и спуска грузов с сопровождающим или без сопровождающего персонала.

3.12 лифт грузовой грузопассажирский: Грузовой лифт, в кабине которого допускается транспортирование пассажиров с сопровождающим персоналом.

3.13 лифт грузовой грузопассажирский самостоятельного пользования: Грузовой лифт, в кабине которого допускается транспортирование пассажиров без сопровождающего персонала.

3.14 машинное помещение: Отдельное помещение для размещения оборудования лифта (гидроагрегат или лебедка, а также связанные с ними механические и электрические устройства).

3.15 персонал: Физические лица, имеющие профессиональную подготовку по техническому обслуживанию, ремонту, монтажу, диспетчерскому контролю, осмотрам, управлению лифтом и по освобождению и эвакуации пассажиров из остановившейся кабины.

3.16 приямок шахты: Часть шахты лифта, расположенная ниже уровня крайней нижней этажной площадки.

3.17 полезная площадь кабины: Площадь кабины лифта, измеренная при закрытых дверях на высоте 1 м от уровня пола кабины, которая используется для размещения транспортируемых пассажиров и/или грузов.

3.18 скорость лифта номинальная: Скорость движения кабины, на которую рассчитан лифт.

3.19 шахта лифта: Пространство, в котором перемещается кабина и (при наличии) противовес и/или уравновешивающее устройство кабины.

3.20 Внутренние размеры кабины, шахты машинного помещения (см. рисунки 1 - 3):

3.20.1 ширина кабины b1: Горизонтальное расстояние между внутренними поверхностями стен кабины лифта, измеренное параллельно передней стенке входа в кабину. При наличии декоративных или защитных панелей, поручней они должны находиться внутри этого размера.

3.20.2 глубина кабины d1: Горизонтальное расстояние между внутренними поверхностями передней и задней стен кабины лифта, измеренное перпендикулярно к ширине кабины. При наличии декоративных и защитных панелей, поручней они должны находиться внутри этого размера.

3.20.3 высота кабины h4: Вертикальное расстояние между полом и конструктивным потолком кабины. Устройства освещения кабины и декоративные потолки должны находиться внутри этого размера.

3.20.4 ширина дверного проема b2: Ширина входа в свету', измеренная при полностью открытых дверях кабины и шахты.

3.20.5 высота дверного проема h3: Высота входа в свету', измеренная при полностью открытых дверях кабины и шахты.

3.20.6 ширина шахты b3: Расстояние по горизонтали между внутренними поверхностями боковых стен шахты, измеренное параллельно ширине кабины.

3.20.7 глубина шахты d2: Расстояние по горизонтали между внутренними поверхностями передней и задней стен шахты, измеренное перпендикулярно к ширине шахты.

3.20.8 глубина приямка d3: Расстояние по вертикали от уровня пола крайней нижней этажной площадки до пола шахты, измеренное параллельно направляющим.

3.20.9 высота шахты от верхней этажной площадки h1: Расстояние от уровня пола верхней этажной площадки до нижней части перекрытия шахты, измеренное параллельно направляющим.

3.20.10 ширина машинного помещения b4: Расстояние по горизонтали между внутренними поверхностями стен машинного помещения, измеренное параллельно ширине кабины.

3.20.11 глубина машинного помещения d4: Расстояние по горизонтали между внутренними поверхностями стен машинного помещения, измеренное перпендикулярно к ширине машинного помещения.

3.20.12 высота машинного помещения h2: Расстояние по вертикали между уровнем пола машинного помещения, на котором размещена лебедка (гидроагрегат) лифта, и потолком машинного помещения.

3.21. система управления лифта: Совокупность устройств управления, обеспечивающих работу лифта в соответствии с заданной программой.

3.22. система управления лифта внутренняя: Вид управления, при котором команда управления на пуск лифта подается только из кабины лифта.

3.23. система управления лифта наружная: Вид управления, при котором команда управления на пуск лифта подается только с погрузочных площадок.

3.24. система управления лифта смешанная: Вид управления, при котором команда управления на пуск лифта подается как из кабины, так и с погрузочных площадок.

3.25. буфер: Устройство безопасности лифта, предназначенное для замедления и остановки движущейся кабины (противовеса) при переходе крайнего рабочего положения.

3.26. ловитель: Устройство безопасности лифта, предназначенное для остановки и удержания кабины (противовеса) на направляющих при превышении скорости движения кабины (противовеса) на установленное значение или при обрыве тяговых элементов.

4 Параметры лифтов

4.1 Ряд номинальных грузоподъемностей

Числовые значения грузоподъемностей грузовых лифтов выбирают из ряда чисел, близкого к ряду предпочтительных чисел по ГОСТ 8032:

- для номинальной грузоподъемности лифтов категории А:

лифты с горизонтально-раздвижными дверями: 630; 1000; 1600; 2000; 2500; 3200; 3500; 5000,

лифты с горизонтально-раздвижными дверями кабины и распашными дверями шахты: 3200,

лифты с вертикально-раздвижными дверями: 1600; 2000; 2500; 3500; 5000;

- для номинальной грузоподъемности лифтов категории В:

лифты с вертикально или горизонтально раздвижными дверями: 2000; 2500; 3200; 3500; 5000,

лифты с горизонтально-раздвижными дверями кабины и распашными дверями шахты: 500; 1000; 2000; 3200; 5000.

4.2 Ряд номинальных скоростей

Числовые значения номинальных скоростей движения кабины грузовых лифтов выбирают из ряда чисел, близких к ряду предпочтительных чисел R5 по ГОСТ 8032:

- для грузовых лифтов категории А номинальная скорость м/с: 0,25; 0,40; 0,50; 0,63; 1,0;

- для грузовых лифтов категории В номинальная скорость м/с: 0,25; 0,40; 0,50; 0,63; 1,0; 1,60; 1,75; 2,5.

4.3 Полезная площадь кабины грузовых лифтов

Полезная площадь кабины грузовых лифтов категории А для номинальных грузоподъемностей, предусмотренных настоящим стандартом, должна соответствовать таблице 1. Ограничение полезной площади имеет целью предотвратить перегрузку пассажирами кабины лифта.

Таблица 1 - Соотношение номинальной грузоподъемности и площади кабины

Номинальная грузоподъемность грузового лифта, кг

Максимальная полезная площадь кабины, м2

500

1,4

630

1,66

1000

2,40

1600

3,56

2000

4,20

2500

5,00

3200

6,12

3500

6,60

5000

9,00

У грузовых лифтов самостоятельного пользования категории В должны быть предусмотрены:

a) исключение возможности пуска лифта из кабины или с погрузочной площадки при нахождении в кабине груза, масса которого превышает номинальную грузоподъемность лифта на 10%, но менее чем на 75 кг;

b) оборудование кабины сигнальным устройством о перегрузке (световое и звуковое);

c) применение средств, препятствующих опусканию кабины за нижнюю границу зоны отпирания дверей при нахождении в ней груза, масса которого равна полуторной грузоподъемности лифта, определенной по фактической полезной площади кабины;

d) обеспечение прочности элементов лифта при размещении в неподвижной кабине равномерно распределенного по площади ее пола груза, масса которого равна полуторной грузоподъемности, определенной по фактической полезной площади кабины;

e) обеспечение прочности элементов лифта при посадке на буферы и ловители кабины с грузом, масса которого равна грузоподъемности, определенной по фактической полезной площади кабины.

У грузовых лифтов (несамостоятельного пользования) категории В должны быть предусмотрены:

a) исключение возможности пуска лифта из кабины или с погрузочной площадки при нахождении в кабине груза, масса которого превышает номинальную грузоподъемность лифта на 10%, но менее чем на 75 кг;

b) оборудование кабины сигнальным устройством о перегрузке (световое и звуковое);

c) загрузка лифтов должна проводиться под контролем обученного и аттестованного персонала.

5 Размеры

5.1 Внутренние размеры кабины

Ширина, глубина и высота грузового лифта определяются с учетом размеров грузов, для транспортирования которых он предназначен, включая размеры контейнеров, поддонов, а также средств напольного транспорта, используемых при загрузке и транспортировании грузов.

Расстояние от пола кабины до декоративного потолка (при его наличии) должно быть не менее 2000 мм на грузовых лифтах, в которые возможен вход людей и их транспортирование.

Размеры кабины грузовых лифтов приведены в таблицах 2, 3, 5 и 6 и на рисунках 4, 6 и 7.

5.2 Размеры дверного проема

Размеры дверного проема грузового лифта должны обеспечивать безопасную загрузку и выгрузку транспортируемых грузов, а также безопасный вход в кабину и выход из нее людей (пассажиров и персонала).

Ширина в свету' дверного проема двери шахты должна быть не более ширины в свету дверного проема дверей кабины.

Высота в свету проема дверей шахты и дверей кабины, в которую возможен вход людей, должна быть не менее 2000 мм.

Размеры дверного проема грузовых лифтов приведены в таблицах 3, 5 и 6 и на рисунке 1.

5.3 Внутренние размеры шахты лифта

Внутренние размеры шахты лифта должны обеспечивать безопасность и работоспособность размещаемого в ней лифтового оборудования.

Рабочие зоны для обслуживания оборудования в шахте должны иметь размеры, достаточные для безопасного выполнения работ персонала.

5.3.1 Ширина и глубина шахты лифта

Глубина шахты лифта должна обеспечивать безопасное горизонтальное расстояние между порогами погрузочной площадки и кабины для входа людей в кабину и выхода из нее, для въезда в кабину средств напольного транспорта.

Расстояние между элементами конструкции кабины и шахты лифта должно исключать возможность проникновения человека в шахту при открытых дверях шахты и/или кабины при нахождении кабины в зоне погрузочной площадки.

При оборудовании противовеса ловителями ширина или глубина шахты должны быть увеличены.

5.3.2 Высота шахты лифта

Высота шахты лифта, оборудованного лебедкой с канатоведущим шкивом или барабаном трения должна быть такой, чтобы при противовесе (кабине), находящемся(ейся) на полностью сжатых буферах, одновременно обеспечивались:

a) возможность перемещения кабины (противовеса) по направляющим без взаимодействия элементов лифта с нижней частью перекрытия шахты на расстояние не менее 0,1 + 0,035 V2, предусмотренных [1], пункт 3.11.1 а;

b) зазор между уровнем предназначенной для размещения обслуживающего персонала площадки на крыше кабины и расположенной в проекции кабины нижней частью перекрытия шахты, включая балки и размещенные под перекрытием элементы конструкции не менее 1,0 + 0,0035 V2, м, предусмотренных [1], пункт 3.11.1 б;

c) свободное пространство над кабиной, достаточное для размещения параллелепипеда размерами не менее 0,5×0,6×0,8 м, лежащего на одной из своих граней, предусмотренных [1], пункт 3.11.1 г.

При оборудовании крыши кабины лифта перилами высота шахты должна определяться с учетом высоты перил.

5.3.3 Глубина приямка шахты лифта

При нахождении кабины лифта на полностью сжатых буферах должно обеспечиваться:

a) свободное пространство в приямке, достаточное для размещения прямоугольного параллелепипеда размерами не менее 0,5×0,6×1,0 м, лежащего на одной из своих граней;

b) зазор от пола приямка до нижних частей кабины не менее 0,5 м.

5.4 Размеры машинного помещения

Высота в свету' зон обслуживания оборудования в машинном помещении должна быть не менее 2,0 м, предусмотренных [1], пункт 4.3.9.1.

Высота в свету' прохода к зонам обслуживания оборудования должна быть не менее 1,8 м, а ширина проходов - не менее 0,5 м.

Перед расположенными в машинном помещении устройствами управления должна быть предусмотрена зона обслуживания (свободная площадка) размерами:

a) глубина, измеренная от наружной поверхности шкафов или панелей, не менее 0,75 м;

b) ширина, равная полной ширине шкафа или панели, но не менее 0,5 м.

Для обслуживания подвижных частей механического оборудования, расположенного в машинном помещении, должна быть предусмотрена зона обслуживания (свободная площадка) размерами не менее 0,5×0,6 м.

В настоящем стандарте предусмотрено размещение машинного помещения электрических лифтов над шахтой лифта (см. рисунок 3).

Машинные помещения гидравлических лифтов должны быть расположены сбоку или сзади шахты в нижней части здания, в котором установлены лифты (см. рисунок 3).

Размеры машинного помещения грузовых лифтов приведены в таблице 4 и на рисунках 2 и 3.

Таблица 2 - Вертикальные размеры кабины и шахты грузовых лифтов категории А с горизонтально раздвижными дверями типов 1, 2, 3 и Р

Размеры в миллиметрах

Параметр

Номинальная скорость V, м/с

Номинальная грузоподъемность, кг

500

630

1000

1600

2000

2500

3200*

3500

5000

Высота кабины h4

-

2000*

2100

2500

2200*

2500

Высота дверного проема кабины и шахты h3

-

2000*

2100

2500

2200*

2500

Глубина приямка d3

0,25

-

1400

1600

-

1600

0,40

0,50

1300*

1300

0,63

-

-

1,00

Расстояние от уровня верхней остановки кабины до перекрытия шахты h1

0,25

-

3700

4200

4600

-

4600

0,40

0,50

3300*

3600

0,63

-

-

1,00

* Размеры для дверей типа Р.

Таблица 3 - Вертикальные размеры кабины и шахты лифтов категории А с вертикально-раздвижными дверями

Размеры в миллиметрах

Параметр

Номинальная скорость V, м/с

Номинальная грузоподъемность, кг

1600

2000

2500

3500

5000

Высота кабины h4

-

2100

2500

Высота дверного проема кабины и шахты h3

-

2100

2500

Глубина приямка d3

0,25

1600

0,40

0,50

0,63

1,00

Расстояние от уровня верхней остановки кабины до перекрытия шахты h1

0,25

4200

4600

0,40

0,50

0.63

1,00

Примечание - Минимальное допустимое расстояние между остановками определяется изготовителем с учетом применяемого типа вертикально-раздвижных дверей.

Таблица 4 - Размеры машинных помещений лифтов категории А с вертикально- и горизонтально-раздвижными дверями

Размеры в миллиметрах

Параметр

Номинальная грузоподъемность, кг

500

630

1000

1600

2000

2500

3200

3500

5000

Машинное помещение для электрических лифтов b4·d4, не менее

3150×3700

2500×3700

3200×4900

3000×5000

3550×4700*

3700×3200*

Машинное помещение для гидравлических лифтов b4·d4**, не менее

Ширина или глубина шахты ×2000

* Размеры для лифтов грузоподъемностью 3200 кг и дверей типа Р.

** Размер машинного помещения гидравлических лифтов с вертикально-раздвижными дверями грузоподъемностью 2500; 3200; 3500 и 5000 кг определяется изготовителем.

Таблица 5 - Вертикальные размеры кабины и шахты лифтов категории В с горизонтально-раздвижными дверями типов 1, 2, 3 и Р

Размеры в миллиметрах

Параметр

Номина­льная скоро­сть V, м/с

Номинальная грузоподъемность, кг

500

1000

2000

2500

3200

3500

5000

Высота кабины h4

-

2000

2000/2200

2200

2500/3000

2500/3000

2200

2500/3000

2400

2500/3000

Высота дверного проема кабины и шахты h3

-

2000

2000/2200

2200

2100**/2700***

2100*/2700***

2200

2100/2700

2400

2100/2700

Глубина приямка d3

0,25

1300

1300

1400

1400

1300/1700

1400

1300

1400

0,4

0,5

0,63

1,0

-

-

-

-

1800

-

1800

-

1800

1,6*

1,75*

2,50*

-

-

-

-

2400

2400

2400

Расстояние от уровня верхней остановки до перекрытия шахты h1

0,25

3300

3600

3600

4500**/5000***

4500*/5000***

3600

4500*/5000***

4000

4500*/5000***

0,4

0,5

0,63

1,0

-

5000**/5500***

-

5000*/5500***

-

5000*/5500***

1,6*

5100*/5600***

5100*/5600***

5100*/5600***

1,75*

5200**/5700***

5200*/5700***

5200*/5700***

2,50*

5650**/6150***

5650*/6150***

5650*/6150***

* Скорость только для электрических лифтов.

** Высота кабины 2500 мм.

*** Высота кабины 3000 мм.

Примечание - Размеры, выделенные курсивом, распространяются на лифты с дверями типов 3 и Р.

Таблица 6 - Вертикальные размеры кабины и шахты лифтов категории В с вертикально-раздвижными дверями

Размеры в миллиметрах

Параметр

Номинал скорость V, м/c

Номинальная грузоподъемность, кг

2000

2500

3500

5000

Высота кабины h4

-

2500/3000

Высота дверного проема кабины и шахты h3

-

2500**/3000***

Глубина приямка d3

0,25

1400**/1850***

0,40

0,50

0,63

1,00;

1800

1,60*;

1,75*

2,50*

2400

Расстояние от уровня верхней остановки кабины до перекрытия шахты h1

0,25

4500**/5250***

0,40

0,50

0,63

1,00;

5100**/5600***

1,60*

1,75*

5200**/5700***

2,50*

5650**/6150***

* Скорость только для электрических лифтов.

** Высота кабины 2500 мм.

*** Высота кабины 3000 мм.

Примечание - Минимальное допустимое расстояние между остановками определяется изготовителем с учетом применяемого типа вертикально-раздвижных дверей.

 

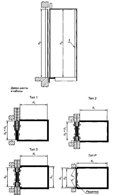
Примечание - типы дверей:

тип 1 - горизонтально-раздвижная телескопическая дверь одностороннего открывания;

тип 2 - горизонтально-раздвижная телескопическая дверь центрального открывания;

тип 3 - горизонтально-раздвижная телескопическая дверь центрального открывания.

Ширина дверного проема меньше ширины кабины;

тип Р - распашные двери шахты и горизонтально-раздвижные решетчатые двери кабины центрального открывания

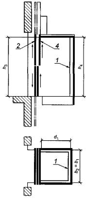
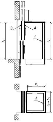
1 - элементы защиты купе кабины; b1 - ширина кабины; b2 - ширина дверного проема; d1 - глубина кабины; h1 - высота дверного проема; h4 - высота кабины

Рисунок 1 - Грузовые лифты. Обозначения размеров кабины и дверного проема, лист 1

Тип 4

Двери шахты: вертикально-раздвижные центрального открывания.

Двери кабины: вертикально-раздвижные телескопические, открывание вверх

Тип 5

Двери шахты: вертикально- раздвижные центрального открывания.

Двери кабины: вертикально-раздвижные телескопические, открывание вверх

Тип 6

Двери шахты: вертикально- раздвижные телескопические открывание вверх.

Двери кабины: вертикально-раздвижные телескопические, открывание вверх

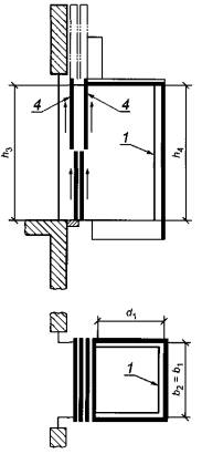
b1 - ширина кабины; b2 - ширина дверного проема; d1 - глубина кабины; h3 - высота дверного проема; h4 - высота кабины; 1 - элементы защиты купе кабины; 2 - вертикально-раздвижные двери центрального открывания; 3 - вертикально-раздвижные двери центрального открывания; 4 - вертикально-раздвижные телескопические двери; открывание вверх

Рисунок 1, лист 2

b3 - ширина шахты; b6 - ширина машинного помещения; d2 - глубина шахты; d3 - глубина приямка; d4 - глубина машинного помещения; h1 - расстояние от уровня верхней остановки; h2 - высота машинного помещения; а - двери шахты в соответствии с рисунком 1; b - дверь в машинное помещение (не показана); 1 - машинное помещение; 2 - люк; 3 - верхняя остановка; 4 - нижняя остановка

Рисунок 2 - Электрические грузовые лифты. Обозначения размеров шахты и машинного помещения

b3 - ширина шахты; b4 - ширина машинного помещения; d2 - глубина шахты; d3 - глубина приямка; d4 - глубина машинного помещения; h1 - расстояние от уровня верхней остановки; h2 - высота машинного помещения; а - двери шахты в соответствии с рисунком 1; дверь в машинное помещение (не показана); 1 - машинное помещение; 2 - верхняя остановка; 3 - нижняя остановка

Рисунок 3 - Гидравлические грузовые лифты. Обозначения размеров шахты и машинного помещения

Рисунок 4 - Грузовые лифты категории А с дверями типов 1; 2 и Р (проходные и непроходные кабины), лист 1

Примечания

1 В скобках указаны размеры шахты для проходных кабин.

2 Могут быть применены двери других конструкций. В этом случае размеры шахт могут отличаться от указанных на рисунке.

Рисунок 4, лист 2

* Размеры только для вертикально-раздвижных телескопических дверей типа 6.

Примечания

В скобках указаны размеры шахты для проходных кабин.

Могут быть применены двери других конструкций; в этом случае размеры шахт могут быть другими.

Рисунок 5 - Грузовые лифты категории А с вертикально-раздвижными дверями типов 4, 5, 6 (проходные и непроходные кабины)

* Размеры для лифтов с канатоведущим приводом и гидравлических лифтов непрямого действия.

** Размеры для гидравлических лифтов прямого действия.

*** Размеры для проходной кабины.

Примечания

1 Могут быть применены двери других конструкций; в этом случае размеры шахт могут отличаться от указанных на рисунке.

2 Лифты с дверями типа Р - электрические.

Рисунок 6 - Грузовые лифты категории В с дверями типов 3 и Р, лист 1

* Размеры для лифтов с канатоведущим приводом и гидравлических лифтов непрямого действия.

** Размеры для гидравлических лифтов прямого действия.

*** Размеры для проходной кабины.

Примечания

1 Могут быть применены двери других конструкций; в этом случае размеры шахт могут отличаться от указанных на рисунке.

2 Лифты с дверями типа Р - электрические.

Рисунок 6, лист 2

* Размеры для лифтов с канатоведущим приводом и гидравлических лифтов непрямого действия.

** Размеры для гидравлических лифтов прямого действия.

*** Размеры только для вертикально-раздвижных телескопических дверей типа 6.

Примечание - Могут быть применены двери других конструкций; в этом случае размеры шахт могут быть другими.

Рисунок 7 - Грузовые лифты категории В с вертикально-раздвижными дверями типов 4, 5, 6

Библиография

[1] ПБ 10-558-2003 Правила устройства и безопасной эксплуатации лифтов

Ключевые слова: грузовые лифты, здания и сооружения различного назначения, основные параметры и размеры

 

 




ГОСТЫ, СТРОИТЕЛЬНЫЕ и ТЕХНИЧЕСКИЕ НОРМАТИВЫ.
Некоммерческая онлайн система, содержащая все Российские Госты, национальные Стандарты и нормативы.
В Системе содержится более 150000 файлов нормативно-технической документации, действующей на территории РФ.
Система предназначена для широкого круга инженерно-технических специалистов.

Рейтинг@Mail.ru Яндекс цитирования

Copyright © www.gostrf.com, 2008 - 2026