Крупнейшая бесплатная информационно-справочная система онлайн доступа к полному собранию технических нормативно-правовых актов РФ. Огромная база технических нормативов (более 150 тысяч документов) и полное собрание национальных стандартов, аутентичное официальной базе Госстандарта. GOSTRF.com - это более 1 Терабайта бесплатной технической информации для всех пользователей интернета. Все электронные копии представленных здесь документов могут распространяться без каких-либо ограничений. Поощряется распространение информации с этого сайта на любых других ресурсах. Каждый человек имеет право на неограниченный доступ к этим документам! Каждый человек имеет право на знание требований, изложенных в данных нормативно-правовых актах!

  


 

ФЕДЕРАЛЬНОЕ АГЕНТСТВО
ПО ТЕХНИЧЕСКОМУ РЕГУЛИРОВАНИЮ И МЕТРОЛОГИИ

НАЦИОНАЛЬНЫЙ
СТАНДАРТ
РОССИЙСКОЙ
ФЕДЕРАЦИИ

ГОСТ Р
53577-
2009
(ИСО 1332:2000)

Вибрация

ИЗМЕРЕНИЯ ВИБРАЦИИ, ПЕРЕДАВАЕМОЙ МАШИНОЙ ЧЕРЕЗ УПРУГИЕ ИЗОЛЯТОРЫ

Двигатели внутреннего сгорания поршневые высокоскоростные и среднескоростные

ISO 13332:2000
Reciprocating internal combustion engines - Test code for the measurement
of structure-born noise emitted from high-speed and medium-speed reciprocating
internal combustion engines measured at the engine feet
(MOD)

Москва
Стандартинформ
2010

Предисловие

Цели и принципы стандартизации в Российской Федерации установлены Федеральным законом от 27 декабря 2002 г. 184-ФЗ «О техническом регулировании», а правила применения национальных стандартов Российской Федерации - ГОСТ Р 1.0-2004 «Стандартизация в Российской Федерации. Основные положения»

Сведения о стандарте

1 ПОДГОТОВЛЕН Автономной некоммерческой организацией «Научно-исследовательский центр контроля и диагностики технических систем» (АНО «НИЦ КД») на основе собственного аутентичного перевода на русский язык стандарта, указанного в пункте 4

2 ВНЕСЕН Техническим комитетом по стандартизации ТК 183 «Вибрация и удар»

3 УТВЕРЖДЕН И ВВЕДЕН В ДЕЙСТВИЕ Приказом Федерального агентства по техническому регулированию и метрологии от 15 декабря 2009 г. 874-ст

4 Настоящий стандарт является модифицированным по отношению к международному стандарту ИСО 13332:2000 «Двигатели внутреннего сгорания поршневые. Испытательный код для измерений вибрации высокоскоростных и среднескоростных двигателей внутреннего сгорания на их опорах» (ISO 13332:2000 «Reciprocating internal combustion engines - Test code for the measurement of structure-born noise emitted from high-speed and medium-speed reciprocating internal combustion engines measured at the engine feet») путем внесения технических отклонений, объяснение которых приведено во введении к настоящему стандарту.

Наименование настоящего стандарта изменено относительно наименования указанного международного стандарта для приведения в соответствие с ГОСТ Р 1.5-2004 (подраздел 3.5)

5 ВВЕДЕН ВПЕРВЫЕ

Информация об изменениях к настоящему стандарту публикуется в ежегодно издаваемом указателе «Национальные стандарты», а текст изменений и поправок - в ежемесячно издаваемых информационных указателях «Национальные стандарты». В случае пересмотра (замены) или отмены настоящего стандарта соответствующее уведомление будет опубликовано в ежемесячно издаваемом информационном указателе «Национальные стандарты». Соответствующая информация, уведомление и тексты размещаются также в информационной системе общего пользования - на официальном сайте Федерального агентства по техническому регулированию и метрологии в сети Интернет

СОДЕРЖАНИЕ

Введение

Работа двигателей внутреннего сгорания, в том числе поршневых, связана с вибрацией, передающейся по конструкции здания, сооружения, транспортного средства, которая является причиной звукового излучения. Зачастую двигатель является доминирующим источником акустического шума, но даже если это не так, все равно шум двигателя создает неблагоприятный фон и его следует, по возможности, уменьшить. С этой целью двигатель устанавливают на изоляторы.

Распространяющаяся по конструкции вибрация, источником которой является двигатель, зависит от передаточных свойств изоляторов, а также опор самого двигателя и от подвижности приемной системы (конструкции, включающей в себя изоляторы, по которой вибрация распространяется до точки, где ее рассматривают).

Исследование распространения вибрации по конструкции, особенно на низких частотах, является сложной задачей. Облегчить ее помогает знание вибрационной активности машины. При выполнении ряда условий по результатам измерений вибрации на опорах машины можно оценить, какой будет вибрация в той или иной точке приемной системы.

По сравнению с примененным международным стандартом ИСО 13332:2000 в настоящий стандарт внесены следующие технические отклонения, выделенные курсивом:

- приведено указание на то, что общие требования к испытаниям машин с целью определения их вибрационной активности установлены в ГОСТ Р 53573, который следует применять совместно с настоящим стандартом;

- по тексту стандарта представление результатов измерений в относительных величинах (дБ) заменено представлением в абсолютных величинах, что является более употребительным в национальных стандартах в области вибрации;

- ссылочные международные стандарты заменены соответствующими национальными стандартами Российской Федерации;

- в разделе 3 вместо терминов и соответствующих определений, заимствованных из ИСО 9611, дана ссылка на ГОСТ Р 53573, являющегося введением указанного международного стандарта;

- в разделе 5 ссылка на ИСО 1503 заменена прямым указанием расположения осей координат (направлений измерений вибрации) с выделением одиночной полужирной вертикальной линией;

- в разделе 7 указан способ определения нижней границы диапазона частот измерений, если существует иная цель испытаний, кроме оценки акустического шума, излучаемого приемной системой;

- в разделе 8 ссылка на ИСО 2954 заменена более точной ссылкой на ГОСТ ИСО 5348, в котором отражен рассматриваемый аспект стандартизации.

НАЦИОНАЛЬНЫЙ СТАНДАРТ РОССИЙСКОЙ ФЕДЕРАЦИИ

Вибрация

ИЗМЕРЕНИЯ ВИБРАЦИИ, ПЕРЕДАВАЕМОЙ МАШИНОЙ ЧЕРЕЗ УПРУГИЕ ИЗОЛЯТОРЫ

Двигатели внутреннего сгорания поршневые высокоскоростные и среднескоростные

Vibration. Measurement of vibration transferred into resilient isolators.
High-speed and medium-speed reciprocating internal combustion engines

Дата введения - 2011-01-01

1 Область применения

Настоящий стандарт является испытательным кодом по вибрации и устанавливает метод определения вибрационной активности высоко- и среднескоростных двигателей внутреннего сгорания наземных установок, рельсового и морского транспорта (далее - двигателей) по измерениям вибрации на его опорах. Общие требования к методу измерений и ограничения данного метода установлены в ГОСТ Р 53573.

Настоящий стандарт не распространяется на низкоскоростные двигатели, а также на двигатели сельскохозяйственных тракторов, автомобилей и самолетов.

Настоящий стандарт может быть использован для измерений вибрации двигателей дорожно-строительных машин, средств напольного транспорта и других рабочих машин, пока для них не будет разработан соответствующий испытательный код по вибрации.

2 Нормативные ссылки

В настоящем стандарте использованы нормативные ссылки на следующие стандарты:

ГОСТ Р 52517-2005 Двигатели внутреннего сгорания поршневые. Характеристики. Часть 1. Стандартные исходные условия, объявление мощности, расхода топлива и смазочного масла. Методы испытаний (ИСО 3046-1:2002, MOD)

ГОСТ Р 53573-2009 Вибрация. Измерения вибрации, передаваемой машиной через упругие изоляторы. Общие требования {ИСО 9611:1996 «Акустика. Описание источников вибрации с точки зрения последующего звукового излучения через присоединенные конструкции. Измерения скорости в точках установки машины на упругие изоляторы», MOD)

ГОСТ ИСО 5348-2002 Вибрация и удар. Механическое крепление акселерометров (ИСО 5348:1998, IDT)

ГОСТ 10448-80 Двигатели судовые, тепловозные и промышленные. Приемка. Методы испытаний (ИСО 3046-3:1989 «Двигатели внутреннего сгорания поршневые. Характеристики. Часть 3. Методы измерения», NEQ)

Примечание - При пользовании настоящим стандартом целесообразно проверить действие ссылочных стандартов в информационной системе общего пользования - на официальном сайте Федерального агентства по техническому регулированию и метрологии в сети Интернет или по ежегодно издаваемому информационному указателю «Национальные стандарты», который опубликован по состоянию на 1 января текущего года, и по соответствующим ежемесячно издаваемым информационным указателям, опубликованным в текущем году. Если ссылочный стандарт заменен (изменен), то при пользовании настоящим стандартом следует руководствоваться заменяющим (измененным) стандартом. Если ссылочный стандарт отменен без замены, то положение, в котором дана ссылка на него, применяется в части, не затрагивающей эту ссылку.

3 Термины и определения

В настоящем стандарте применены термины по ГОСТ Р 53573.

4 Обозначения

В настоящем стандарте использованы обозначения, как указано в таблице 1.

Таблица 1 - Перечень обозначений

Обозначение величины

Определение величины

Единица измерений

d

Толщина опорной лапы двигателя

мм

dy1

Расстояние от места установки акселерометра до точки 1 в поперечном направлении

мм

Dx

Размер изолятора в продольном направлении

мм

Dy

Размер изолятора в поперечном направлении

мм

f0

Наивысшая собственная частота колебаний двигателя как жесткого тела, установленного на изоляторы

Гц

f1

Нижняя граница диапазона частот применения метода

Гц

f2

Верхняя граница диапазона частот применения метода

Гц

vxi

Скорость в продольном направлении в точке/

м/с

vyi

Скорость в поперечном направлении в точке /

м/с

vzi

Скорость в вертикальном направлении в точке /

м/с

Средняя скорость в продольном направлении

м/с

Средняя скорость в поперечном направлении

м/с

Средняя скорость в вертикальном направлении

м/с

n

Число опор двигателя

-

v1z,i

Скорость в точке 1 zi-й опоры

м/с

v2z,i

Скорость в точке 2 zi-й опоры

м/с

x

Продольная ось координат

-

y

Поперечная ось координат

-

z

Вертикальная ось координат

-

5 Основы метода испытаний

Результаты исследований передаваемой в опорную конструкцию вибрации показывают, что в ней превалируют составляющие поступательной вибрации в трех взаимно-перпендикулярных направлениях. Поэтому в настоящем стандарте угловые составляющие вибрации опор двигателя не рассматриваются 1), и измерению подлежат только составляющие поступательной вибрации на опорных лапах двигателей.

Измерения проводят в трех взаимно-перпендикулярных направлениях: вертикальном, продольном (вдоль оси коленчатого вала) и поперечном.

1) Заинтересованными сторонами в конкретной ситуации может быть принято решение о необходимости оценивать также угловые составляющих вибрации. Такие измерения являются более сложными по сравнению с измерениями поступательной вибрации. Измерение угловой вибрации может быть выполнено по ГОСТ Р 53573.

Предполагается, что изоляторы, на которые опираются лапы двигателя, не накладывают существенных ограничений на вибрацию лап.

Примечание - Если измерения проводят в целях расчета и сравнения вибрации, передаваемой от двигателя в приемную систему, то для расчета необходимы также знания частотных характеристик источника вибрации (опорных лап двигателя) и приемной системы.

Вибрация двигателя является функцией частоты. Применяемые изоляторы налагают ограничения на диапазон частот измерения вибрации.

6 Условия испытаний

6.1 Подготовка двигателя

Перед измерениями двигатель устанавливают на соответствующие изоляторы, обеспечивают подачу воздуха, топлива, электрического напряжения, работу систем смазки, охлаждения и выхлопа, а также соединение с устройством отбора мощности, производимой двигателем во время измерений. Необходимые для этого механические соединения должны иметь упругие вставки, чтобы присоединенные конструкции не влияли на производимую двигателем вибрацию. Двигатель должен быть снабжен стандартным маховиком. Тип и характеристики упругой муфты соединения двигателя с устройством отбора мощности должны быть указаны в протоколе испытаний.

6.2 Условия установки

Способы установки двигателей могут изменяться в зависимости от их массы, мощности и назначения. Хотя опорные лапы высокоскоростных и среднескоростных двигателей обычно устанавливают на упругие изоляторы, данные изоляторы могут обладать характеристиками, которые не позволят применить метод измерения вибрации, передаваемой двигателем в приемную систему.

Примечание - Чтобы нижняя граница f1 диапазона частот применения метода позволяла охватить весь диапазон частот вибрации двигателя, рекомендуется, чтобы:

a) изоляторы были установлены на массивном жестком основании;

b) частота f0 была как можно более низкой.

6.3 Режим работы двигателя

Режим работы двигателя при проведении испытаний на вибрационную активность, номинальная частота вращения и полная нагрузка в соответствии с ГОСТ Р 52517 должны быть определены изготовителем. Другие условия работы двигателя могут быть согласованы заинтересованными сторонами.

В процессе измерений значения частоты вращения и выходной мощности двигателя не должны отличаться от установленных более чем на 10%. Испытания проводят в установившемся режиме работы двигателя.

Измерения частоты вращения и мощности двигателя - по ГОСТ Р 52517 и ГОСТ 10448. Результаты измерений заносят в протокол испытаний.

7 Диапазон частот измерений

Обычно двигатель изолируют от приемной системы с целью уменьшить излучение шума вибрирующей конструкцией. Низшая граница диапазона частот, воспринимаемых человеческим ухом, находится вблизи 20 Гц, поэтому с точки зрения акустики виброизоляция двигателя в диапазоне ниже 20 Гц не является необходимой. Отсюда следует требование к наивысшей собственной частоте f0 колебаний двигателя (как твердого тела) на изоляторах при реализации метода измерений по ГОСТ Р 53573 - она должна быть ниже 7 Гц.

Если предметом анализа является не излучение шума, а, например, воздействие передаваемой вибрации на человека, то желательно, чтобы диапазон частот применения метода охватывал весь диапазон частот вибрации двигателя. При этом следует учесть, что у двухтактного двигателя диапазон частот производимой вибрации ограничен снизу частотой вращения коленчатого вала, а у четырехтактного двигателя - половиной частоты вращения коленчатого вала. Если низшая частота вибрации достаточно велика, то требования к f0 могут быть менее жесткими.

На рисунке 1 показаны графики предельных значений f0 в зависимости от низшей рабочей частоты вращения коленчатого вала Rmin двухтактного и четырехтактного двигателей для целей акустических исследований (что определяет ограничение f0 в области низких частот вращения коленчатого вала частотой 7 Гц). Если целью исследования является анализ передаваемой двигателем вибрации во всем диапазоне частот, то прямые линии на рисунке 1 должны быть продолжены в низкочастотную область до их пересечения с началом координат.

1 - двухтактный двигатель; 2 - четырехтактный двигатель

Примечание - Значение f0 должно лежать в заштрихованной области.

Рисунок 1 - Зависимость предельного значения f0 от Rmin

Низшая граница диапазона частот измерений f1 должна быть примерно в три раза выше f0 В этом случае диапазон частот измерений не включает составляющие, усиливаемые на резонансе системы «двигатель - изоляторы».

Верхняя граница диапазона частот измерений f2 определяется собственной частотой низшей моды колебаний поверхности опорной лапы двигателя. Чтобы в максимальной степени расширить диапазон частот измерений в область верхних частот, опорные лапы двигателя должны быть как можно более жесткими.

Следует иметь в виду, что диапазон частот измерений по ГОСТ Р 53573 может включать области, где виброизоляция будет недостаточной (менее 10 дБ),

Результаты измерений будут максимально близки к вибрации на месте установки двигателя, если масса и жесткость опор и изоляторов, использованных при испытаниях (включая установочные фланцы), будут такими же, что и на месте установки.

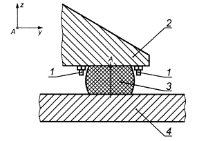
8 Принцип измерений

Метод измерений может быть проиллюстрирован рисунком 2. На рисунке 2а) показана установка испытуемого двигателя на достаточно податливые изоляторы, чтобы не искажать вибрацию опорных лап двигателя. Это условие обеспечивается превышением не менее чем в три раза нижней границы диапазона частот измерений f1 максимальной собственной частоты f0 колебаний двигателя как твердого тела (см. раздел 7).

Основной способ измерений предполагает установку одного акселерометра на верхней поверхности лапы непосредственно над точкой А, являющейся геометрическим центром области контакта опоры с изолятором, или как можно ближе к ней [см. рисунок 2а)].

На рисунке 2b) показан альтернативный способ установки акселерометров на лапе двигателя. Пару акселерометров устанавливают как можно ближе к точке А на одинаковых расстояниях от нее. За ускорение опоры принимают среднее арифметическое значение сигналов с двух акселерометров. Крепление акселерометров - по ГОСТ ИСО 5348.

1 - акселерометр; 2 - опорная лапа; 3 - изолятор; 4 - основание

а) Установка двигателя

1 - акселерометр; 2 - опорная лапа; 3 - изолятор; 4 - основание

b) Вид опоры двигателя

Рисунок 2 - Принцип измерений вибрации опоры двигателя

Для оценки верхней границы f2 диапазона частот измерений, выше которой начинают проявляться формы изгибных колебаний поверхности опоры в области ее контакта с изолятором, проводят дополнительные исследования для определения частоты низшей моды колебаний. Для этого, например, возбуждают вибрацию опоры ударом молотка и измеряют отклик посредством той же пары акселерометров, что установлена для испытаний на определение вибрационной активности двигателя. Возможно проведение более детального исследования с проведением модального анализа вибрации опоры.

Хотя в настоящем разделе принцип измерений рассмотрен на примере вибрации в вертикальном направлении, он может быть применен в отношении других направлений движения и при соответствующей им установке акселерометров.

9 Выбор опор для измерений

При выборе опор руководствуются следующими правилами:

- если число опор двигателя не превышает четырех, то измерения проводят на всех опорах;

- если двигатель имеет от пяти до восьми опор, то измерения проводят на четырех опорах, максимально отстоящих друг от друга;

- если двигатель имеет более девяти опор, то измерения проводят на четырех опорах, максимально отстоящих друг от друга, а также на двух опорах, расположенных наиболее близко к центру тяжести двигателя;

- если двигатель установлен на плиту, поддерживаемую изоляторами, то для выбора числа и месторасположения точек измерений (областей контакта с изоляторами) используют тот же принцип, что и для опорных лап двигателя.

Заинтересованные стороны могут рассмотреть возможность проведения измерений на большем числе опор, особенно в случае, если двигатель постоянно соединен с другим устройством.

10 Точки измерений

Акселерометр устанавливают на опоре двигателя над точкой А, являющейся геометрическим центром области контакта опоры с изолятором, как показано на рисунках 3 и 4.

1 - акселерометр; 2 - изолятор; 3 - установочный фланец изолятора

Рисунок 3 - Установка акселерометра для измерений vz

1 - акселерометр; 2 - изолятор; 3 - установочный фланец изолятора; а - точка 1; b - точка 2; с - точка 3

Рисунок 4 - Установка акселерометра для измерений vz (точка 1) и vy (точки 2 и 3)

Размещению акселерометра точно над точкой А могут помешать крепежные элементы (болты) или ограничители движения опоры. В этом случае положение акселерометра можно сдвинуть:

- по оси х в пределах размера Dx;

- по оси у в пределах размера dy1, где .

Чтобы обеспечить требуемую точность результатов измерений во всем диапазоне частот, акселерометры должны находиться в жестком контакте с вибрирующей поверхностью. Данное условие может быть удовлетворено при использовании следующих способов крепления акселерометров:

- резьбовым соединением;

- на эпоксидный клей;

- резьбовым соединением с металлической пластиной (адаптером), которую приклеивают или закрепляют болтами к вибрирующей поверхности.

Примечание - Допускается использование трехкомпонентного акселерометра, позволяющего измерять поступательную вибрацию в трех взаимно-перпендикулярных направлениях одновременно.

Если установить акселерометр в пределах размера dy1 невозможно, то используют два акселерометра, размещая их, как показано на рисунках 5 и 6. В этом случае скорость vz получают как среднее арифметическое значение скоростей v1z,i и v2z,i, согласно ГОСТ Р 53573. Цепи измерений для обоих акселерометров должны иметь одинаковые амплитудно-частотные и фазочастотные характеристики. Для измерений вибрации в поперечном направлении возможно устанавливать акселерометры в точках 1, 2 или 3, как показано на рисунке 4.

Оси чувствительности акселерометров всегда должны быть перпендикулярны к поверхности в области контакта опоры двигателя с изолятором. Это требование следует соблюдать и в том случае, если поверхность установочного фланца двигателя не горизонтальна.

1 - акселерометр

Рисунок 5 - Установка двух акселерометров для измерений vz

1 - опора; 2 - акселерометр; 3 - изолятор; 4 основание

Рисунок 6 - Альтернативный способ установки акселерометров для измерений vz

11 Испытания

В процессе испытаний выполняют следующие действия.

a) Выполняют калибровку измерительной цепи.

b) Измеряют наведенную вибрацию на опорах двигателя.

c) Измеряют вибрацию в диапазоне частот от f1 до f2 в трех взаимно-перпендикулярных направлениях на выбранных в соответствии с разделом 9 опорах двигателя. Для этого

- определяют f0 расчетным методом или посредством измерений;

- определяют значения f1 и f2 для каждой опоры в каждом направлении измерений;

- измеряют вибрацию на каждой опоре в каждом направлении при работе двигателя в заданном режиме (см. 6.3) в третьоктавных полосах частот в пределах диапазона частот измерений;

- представляют результаты измерений в виде третьоктавных спектров скорости для каждого направления движения (можно на одном графике) с указанием частот f1 и f2;

- строят графики третьоктавных спектров скорости для каждого направления движения, усредненных по всем опорам, а также огибающие (по максимальным и минимальным значениям) этих спектров.

Полученную информацию отражают в протоколе испытаний (см. приложение А).

Приложение А
(рекомендуемое)
Форма протокола испытаний

1 Общая информация

Измерения проведены:

(организация, исполнитель)

(дата)

(место)

Цель измерений:

(вид испытания)

Контролирующая организация:

(по требованию заказчика)

Поставщик двигателя:

 

2 Установка

 

2.1 Двигатель

 

Изготовитель:

 

Рабочий цикл:

(двухтактный или четырехтактный)

Модель:

 

Заводской номер:

 

Номинальная частота вращения, мин-1:

 

Номинальная мощность, кВт:

 

Топливо:

(цетановое число, вязкость, др.)

Масса двигателя, кг:

(измеренная)

Приложение

(есть/нет)

(для специальных режимов, по согласованию)

 

2.2 Приводное оборудование

 

Гибкое соединение

 

Тип:

 

Изготовитель:

 

Модель:

 

Промежуточный вал

 

Тип:

 

Изготовитель:

 

Модель:

 

Устройство отбора мощности

 

Тип:

(динамометр, генератор, компрессор, редуктор, др.)

Изготовитель:

 

Модель:

 

2.3 Изоляторы

 

Тип опоры

(опорная плита, опорные лапы)

Изоляторы

 

Изготовитель:

 

Тип:

 

Число:

 

Расположение:

(с приложением схемы или фотографии)

Тип основания:

 

Масса нагрузки:

(с рабочими средами двигателя, элементами крепления, др.)

(Указать полученные расчетным способом или в результате измерений три собственные частоты поступательных колебаний двигателя как жесткого тела на изоляторах. При необходимости указать дополнительно три собственные частоты угловых колебаний двигателя на изоляторах)

3 Измерения

3.1 Измеряемые параметры

Среднеквадратичные значения скорости (ускорения):

3.2 Средства измерений

 

Датчики вибрации:

(изготовитель, модель)

Устройства согласования:

(изготовитель, модель)

Записывающее устройство:

(изготовитель, модель,

режим записи, диапазон частот)

Средства анализа:

(изготовитель, модель)

Калибровка:

 

Время усреднения:

 

3.3 Диапазон частот измерений

 

(Указывают третьоктавные полосы в диапазоне частот анализа)

 

3.4 Точки измерений

 

Общее число опор:

 

Число опор, на которых проводят измерения:

 

Расположение точек измерений на двигателе:

(с приложением схемы)

Точное указание размещения датчиков на опорах:

 

Направления измерений:

(с приложением схемы)

4 Результаты испытаний

 

4.1 Режим работы двигателя

 

(Указывают все режимы работы двигателя, использованных во время испытаний)

 

Мощность, кВт:

 

Частота вращения: мин-1:

 

4.2 Результаты измерений

 

(Результаты измерений приводят для каждого режима работы двигателя)

 

Среднеквадратичные значения скорости во всех точках

 

и направлениях измерений (vxj, vyi, vzi), м/с:

 

Третьоктавные спектры скорости для всех точек

 

и направлений измерений (, , ), м/с:

(с приложением графиков)

Усредненные по опорам третьоктавные спектры

 

скорости для всех направлений измерений:

(с приложением графиков)

Ключевые слова: двигатель внутреннего сгорания, испытательный код, вибрация, вибрационная активность, изолятор, скорость, измерения

 

 




ГОСТЫ, СТРОИТЕЛЬНЫЕ и ТЕХНИЧЕСКИЕ НОРМАТИВЫ.
Некоммерческая онлайн система, содержащая все Российские Госты, национальные Стандарты и нормативы.
В Системе содержится более 150000 файлов нормативно-технической документации, действующей на территории РФ.
Система предназначена для широкого круга инженерно-технических специалистов.

Рейтинг@Mail.ru Яндекс цитирования

Copyright © www.gostrf.com, 2008 - 2026