Крупнейшая бесплатная информационно-справочная система онлайн доступа к полному собранию технических нормативно-правовых актов РФ. Огромная база технических нормативов (более 150 тысяч документов) и полное собрание национальных стандартов, аутентичное официальной базе Госстандарта. GOSTRF.com - это более 1 Терабайта бесплатной технической информации для всех пользователей интернета. Все электронные копии представленных здесь документов могут распространяться без каких-либо ограничений. Поощряется распространение информации с этого сайта на любых других ресурсах. Каждый человек имеет право на неограниченный доступ к этим документам! Каждый человек имеет право на знание требований, изложенных в данных нормативно-правовых актах!

  


 

ОТКРЫТОЕ АКЦИОНЕРНОЕ ОБЩЕСТВО «ГАЗПРОМ»

СТАНДАРТ ОРГАНИЗАЦИИ

ИНСТРУКЦИЯ
ПО ТЕХНИЧЕСКОМУ ДИАГНОСТИРОВАНИЮ
СКВАЖИН ПХГ

СТО Газпром 2-2.3-145-2007

ОТКРЫТОЕ АКЦИОНЕРНОЕ ОБЩЕСТВО «ГАЗПРОМ»

Открытое акционерное общество
«Северо-Кавказский научно-исследовательский
проектный институт природных газов - СЕВКАВНИПИГАЗ»

Общество с ограниченной ответственностью
«Информационно-рекламный центр газовой промышленности»

Москва 2007

Предисловие

1 РАЗРАБОТАН Открытым акционерным обществом «Северо-Кавказский научно-исследовательский проектный институт природных газов» (ОАО «СевКавНИПИгаз») с участием специалистов организаций и дочерних обществ ОАО «Газпром»

2 ВНЕСЕН Управлением по подземному хранению газа Департамента по транспортировке, подземному хранению и использованию газа ОАО «Газпром»

3 УТВЕРЖДЕН И ВВЕДЕН В ДЕЙСТВИЕ Распоряжением ОАО «Газпром» от 30.07.2007 № 212

4 ВЗАМЕН «Инструкции по экспертному техническому диагностированию скважин подземных хранилищ газа ОАО «Газпром» утвержденной ОАО «Газпром» 22.06.2005

Содержание

1 Область применения

2 Нормативные ссылки

3 Термины, определения и сокращения

4 Общие положения

5 Сроки проведения технического диагностирования

6 Этапы проведения работ по техническому диагностированию скважин ПХГ

6.1 Последовательность проведения работ

6.2 Анализ технической документации

6.3 Анализ условий и режимов эксплуатации скважины

6.4 Разработка Программы работ

6.5 Техническое диагностирование обсадных колонн скважин

6.6 Техническое диагностирование состояния заколонного пространства скважин

6.7 Оформление результатов технического диагностирования эксплуатационных колонн и заколонного пространства скважин

6.8 Определение параметров остаточной прочности обсадных колонн

6.9 Определение остаточного ресурса скважины

Приложение А (рекомендуемое) Рекомендуемый комплекс геофизических исследований скважин ПХГ для оценки их технического состояния

Приложение Б (рекомендуемое) Методические рекомендации по расчету параметров остаточной прочности обсадных колонн с общим коррозионным повреждением внутренней поверхности

Б.1 Исходные данные

Б.2 Расчет обсадной колонны на избыточное внутреннее давление

Б.3 Расчет обсадной колонны на избыточное наружное давление

Приложение В (рекомендуемое) Методика расчета остаточного ресурса эксплуатационных колонн скважин ПХГ

В.1 Общие положения

В.2 Основная часть

Введение

Разработка и совершенствование нормативной и методической документации по повышению эксплуатационной надежности и безопасности, продлению ресурса объектов газовой промышленности входит в число приоритетных научно-технических проблем ОАО «Газпром» (АМ-2121 от 15.04.2002 г.).

Разработка настоящего стандарта обусловлена необходимостью детализации и конкретизации общих требований к порядку проведения экспертизы промышленной безопасности на основе имеющихся в ОАО «Газпром» нормативных документов, опыта аналитических и диагностических исследований применительно к скважинам ПХГ.

Настоящий стандарт детализирует три важных составляющих процесса экспертизы промышленной безопасности скважин ПХГ:

- промыслово-геофизические исследования с целью технического диагностирования состояния обсадных колонн и заколонного пространства;

- методы прочностных расчетов обсадных колонн;

- сроки проведения технического диагностирования скважин ПХГ.

В документе конкретизируются методы прочностных расчетов обсадных колонн, имеющих наиболее распространенный вид повреждения труб - общий коррозионный износ.

Настоящий стандарт разработан на основе технического задания к договору с ОАО «Газпром» от 10.11. 2005 № 4438-04-16.

С вводом в действие настоящего стандарта действие «Инструкции по экспертному техническому диагностированию скважин подземных хранилищ газа ОАО «Газпром», утвержденной ОАО «Газпром» 22.06.2005, прекращается.

Настоящий стандарт разработан авторским коллективом в составе:

от ОАО «Газпром»: А.Е. Арутюнов, А.М. Добоньян, канд. техн. наук В.И. Шамшин;

от ОАО «СевКавНИПИгаз»: д-р техн. наук, профессор, академик РАЕН и АГН РФ Р.А. Гасумов, канд. техн. наук В.Е. Дубенко, канд. геол.-минерал. наук С.Б. Свинцицкий, канд. техн. наук Н.Г. Федорова;

от ООО «ВНИИгаз»: С.И. Трегуб;

от ООО «Газпромэнергодиагностика»: С.А. Егурцов, канд. физ.-мат. наук Г.И. Алявдин, В.В. Говдун.

СТАНДАРТ ОТКРЫТОГО АКЦИОНЕРНОГО ОБЩЕСТВА «ГАЗПРОМ»

ИНСТРУКЦИЯ
ПО ТЕХНИЧЕСКОМУ ДИАГНОСТИРОВАНИЮ СКВАЖИН ПХГ

Дата введения 2007-12-01

1 Область применения

1.1 Настоящий стандарт устанавливает порядок проведения технического диагностирования (ТД) обсадных колонн и заколонного пространства скважин различного назначения ПХГ ОАО «Газпром» (далее скважин) в связи с истечением срока их эксплуатации, установленного в нормативной, проектной, эксплуатационной документации, при переводе скважин из одной категории в другую, после проведения капитального ремонта или при возникновении других обстоятельств, способных повлиять на их безопасную эксплуатацию.

1.2 Настоящий стандарт соответствует требованиям документов [1-4] и конкретизирует их применение для организаций ОАО «Газпром», эксплуатирующих и обслуживающих скважины ПХГ, а также для экспертных и специализированных организаций, проводящих ТД скважин ПХГ.

2 Нормативные ссылки

В настоящем стандарте использованы нормативные ссылки на следующие стандарты:

ГОСТ 27.002-89 Надежность в технике. Основные понятия. Термины и определения

ГОСТ 632-80 Трубы обсадные и муфты к ним. Технические условия

ГОСТ 5542-87 Газы горючие природные для промышленного и коммунально-бытового назначения. Технические условия

ГОСТ 20911-89 Техническая диагностика. Термины и определения

ГОСТ 22609-77 Геофизические исследования в скважинах. Термины, определения и буквенные обозначения

ГОСТ 25866-83 Эксплуатация техники. Термины и определения

ГОСТ 27518-87 Диагностирование изделий. Общие требования

ГОСТ Р 51365-99 (ИСО 10423-94) Оборудование нефтепромысловое добычное устьевое. Общие технические условия

СТ ЕАГО-045-01 Евро-Азиатское геофизическое общество. Контроль технического состояния скважин

Примечание - При пользовании настоящим стандартом целесообразно проверить действие ссылочных стандартов и классификаторов по соответствующим указателям, составленным на 1 января текущего года, и информационным указателям, опубликованным в текущем году. Если ссылочный документ заменен (изменен), то при пользовании настоящим стандартом следует руководствоваться замененным (измененным) документом. Если ссылочный документ отменен без замены, то положение, в котором дана ссылка на него, применяется в части, не затрагивающей эту ссылку.

3 Термины, определения и сокращения

3.1 В настоящем стандарте использованы термины и определения по ГОСТ 27.002, ГОСТ 20911, ГОСТ 22609, ГОСТ 25866, а также следующие термины с соответствующими определениями и сокращениями:

3.1.1 геофизические исследования скважин, ГИС: Исследования, основанные на измерениях естественных и искусственных физических полей во внутрискважинном, околоскважинном и межскважинном пространствах.

3.1.2 дефект: Отсутствие или отклонение от нормы характеристики качества, повлекшее за собой невыполнение объектом заданных эксплуатационных требований.

3.1.3 заглушенная скважина: Скважина, ствол которой заполнен технологической жидкостью, гидростатическое давление которой уравновешивает пластовое давление.

3.1.4 заколонные перетоки: Перетоки пластового флюида по заколонному пространству из объекта хранения газа и других газо-водоносных пластов через дефекты крепи.

3.1.5 капитальный ремонт скважин, КРС: Ремонт, выполняемый для восстановления исправности и полного или близкого к полному ресурса объекта с заменой или восстановлением его составных элементов.

3.1.6 каротаж: Метод геофизических исследований, основанный на изучении естественных и искусственно создаваемых физических полей (электрических, акустических и др.), физических свойств горных пород, пластовых флюидов, содержания и состава газов в буровом растворе.

3.1.7 категория скважин: Группа по классификации скважин в зависимости от назначения.

3.1.8 коррозионно-активные компоненты: Двуокись углерода (СО2), сероводород (H2S), хлориды, вызывающие коррозионную агрессивность скважинной среды.

3.1.9 межколонное давление МКД: Давление, измеряемое на устье скважины между обсадными колонами.

3.1.10 несущий элемент: Составной элемент конструкции, техническое состояние которого определяет ее несущую способность.

3.1.11 оборудование устья скважины: Оборудование для обвязки обсадных колонн, состоящее из отдельных сборочных единиц - колонных головок.

3.1.12 определяющий параметр: Параметр конструкции, используемый при контроле для определения вида технического состояния этой конструкции.

3.1.13 остаточный ресурс: Суммарная наработка объекта от момента контроля его технического состояния до перехода в предельное состояние.

3.1.14 предельное состояние: Состояние объекта, при котором его дальнейшая эксплуатация недопустима или нецелесообразна, либо восстановление его работоспособного состояния невозможно или нецелесообразно.

3.1.15 прогнозирование технического состояния: Определение технического состояния объекта с заданной вероятностью на предстоящий срок эксплуатации.

3.1.16 продление срока безопасной эксплуатации: Решение, принимаемое по комплексу работ, выполняемых в рамках экспертизы промышленной безопасности, целью которых является определение возможности эксплуатации технических объектов за пределами установленных в нормативной, конструкторской и эксплуатационной документации сроков эксплуатации.

3.1.17 продленный срок эксплуатации: Срок эксплуатации объекта, принятый по итогам экспертизы промышленной безопасности на основании комплекса организационных и инженерно-технических мероприятий, расчетов остаточной прочности и остаточного ресурса.

3.1.18 техническое диагностирование, ТД: Определение фактического технического состояния объекта диагностирования с распознаванием причин его возможного изменения с определенной точностью и прогнозированием дальнейшего технического состояния.

3.1.19 техническое состояние: Состояние объекта, которое характеризуется в определённый момент времени, при определенных условиях внешней среды совокупностью параметров, подверженных изменению в процессе эксплуатации и установленных технической документацией на этот объект.

3.1.20 установленный срок службы: Срок службы, принятый на стадии проектирования объекта.

3.1.21 фонд скважин эксплуатационный: Общее количество действующих, бездействующих и ожидающих освоения скважин, числящихся на балансе организации.

3.1.22 экспертиза промышленной безопасности, ЭПБ : Оценка соответствия объекта экспертизы предъявляемым к нему требованиям промышленной безопасности, результатом которой является заключение.

3.23 экспертно-диагностическая организация, ЭДО: Специализированная организация, аккредитованная в системе промышленной безопасности и имеющая лицензию Ростехнадзора на проведение экспертизы промышленной безопасности и технического диагностирования технических устройств, оборудования, сооружений.

3.24 сокращения и обозначения:

акустический телевизор; АВF.

аппаратура акустического видеокаротажа; АВК.

аппаратура газодинамического каротажа; АГДК.

аппаратура индикации перетоков; АИП.

акустический каротаж; АК.

аппаратурный термошумоакустический комплекс; АКТАШ.

акустический цементомер; АКЦ.

аппаратура акустического контроля качества цементирования обсаженных скважин малогабаритная, комплексная; АКЦ-НВ.

аппаратурно-методический комплекс; АМК.

аппаратура акустического реверберационного контроля качества цементирования; АРКЦТ.

аппаратура шумоиндикаторная; АШИМ.

высокочувствительная термометрия; ВЧТ.

гамма-гамма дефектометрия; ГГД.

газодинамические исследования; ГДИ.

гидравлическое испытание колонн; ГИК.

геофизические исследования скважин; ГИС.

геофизические исследования по контролю технического состояния скважин (ствола, цементного кольца, колонны); ГИС-техконтроль.

гамма-каротаж; ГК.

прибор газодинамического каротажа; ДИНА.

аппаратура акустического каротажа и контроля качества цементирования; ЗАС.

инклиномер гироскопический; ИГ.

импульсный нейтрон-нейтронный каротаж; ИННК.

малогабаритный управляемый каверномер; КМУ.

капитальный ремонт скважин; КРС.

комплексный скважинный прибор-профилограф; КСП-Т.

комплексная аппаратура технического контроля скважин и скважинного оборудования; КСА-Т.

локация муфт; ЛМ.

меченое вещество (хлоро- и боросолевые продукты); МВ.

магнитоимпульсный дефектоскоп; МИД.

микрокаверномер; МКВ.

межколонное давление; МКД.

метод наведенной активности; МНА.

сканирующий электромагнитный дефектоскоп; МСЭД.

нейтронный гамма-каротаж; НГК.

методы стационарного нейтронного каротажа; НК.

насосно-компрессорные трубы; НКТ.

аппаратура для определения мест негерметичности обсадных колонн; ОМН.

призабойная зона пласта; ПЗП.

прихватоопределитель; ПО.

профилемер трубный скважинный; ПТС.

подземное хранилище газа; ПХГ.

радиоизотопные индикаторы (короткоживущие изотопы); РАИ.

радиоактивный каротаж; РК.

скважинная автономная аппаратура с твердотельной памятью; СААТП.

скважинный акустический телевизор; САТ.

скважинный гамма-дефектомер-толщиномер; СГДТ.

гамма-спектрометр; СГК.

аппаратура механо-акустического каротажа; СМАШ.

спектрометрический радиоактивный каротаж; СРК.

техническое диагностирование; ТД.

прибор термобарорадиоактивного каротажа; ТМГК.

фазокорреляционные диаграммы; ФКД.

шумомер (шумоиндикатор); ШМ.

шумометрия-спектрометрия; ШС.

электромагнитная дефектоскопия; ЭМД.

электромагнитный дефектоскоп скважинный; ЭМДС.

экспертиза промышленной безопасности; ЭПБ.

электромагнитный скважинный прибор-профилограф; ЭСП.

4 Общие положения

4.1 Настоящий стандарт устанавливает виды, объем и порядок проведения работ по ТД скважин ПХГ, в соответствии с общими требованиями нормативных документов [1-4].

4.2 Устанавливаются три вида ТД, в соответствии с положением [1]: базовое, периодическое, экспертное.

4.3 ТД скважин ПХГ должно проводиться:

а) по достижении срока, установленного нормативной, проектной, эксплуатационной документацией, независимо от технического состояния скважины;

б) по достижении срока, назначенного предыдущей экспертизой промышленной безопасности;

в) при переводе скважины из одной категории в другую;

г) после реконструкции скважины, сложного капитального ремонта или ремонта по устранению дефектов, выявленных в процессе предыдущего диагностического обследования;

д) при возникновении других обстоятельств, способных повлиять на безопасную эксплуатацию скважин;

е) по требованию Ростехнадзора или его территориального органа, предъявляемому недропользователю в установленном порядке.

4.4 ТД скважин ПХГ выполняют экспертно-диагностические организации по индивидуальной, разрабатываемой ими для каждой скважины (или для группы однотипных скважин) программе работ, в соответствии с положением [1].

4.5 ЭДО может привлекать для выполнения отдельных работ по ТД специально оснащенные лаборатории организации - владельца скважин, имеющие лицензию Ростехнадзора на право проведения данных видов работ, при обязательном участии лиц, ответственных за безопасную эксплуатацию и техническое состояние скважин, в соответствии с руководящим документом [3].

4.6 ТД скважин ПХГ проводится после подачи недропользователем заявки на проведение ТД в экспертно-диагностическую организацию и заключения договора на указанные работы, в соответствии с положением [1].

4.7 ТД скважин должно проводиться с применением методов неразрушающего контроля в соответствии с действующими нормативными документами. Применение новых технологий контроля, методов технического диагностирования скважин ПХГ подлежит согласованию с территориальным органом Ростехнадзора и недропользователем.

4.8 Подготовку скважин к ТД обеспечивает недропользователь:

а) обеспечивает допуск работников ЭДО на свои объекты;

б) проводит необходимые подготовительные работы в соответствии с техническим заданием;

в) предоставляет запрашиваемую ЭДО необходимую для выполнения работ техническую, технологическую документацию и другие материалы;

г) по мере необходимости выделяет для исполнителей места хранения материалов и оборудования;

д) обеспечивает оформление всех необходимых разрешений и допусков работников ЭДО для выполнения работ и передвижения по территории своих объектов;

е) принимает результаты работ в соответствии с условиями заключенного договора и нормативной документацией.

5 Сроки проведения технического диагностирования

5.1 Базовое (первичное) ТД проводится один раз и повторяется лишь в случае капитального ремонта или реконструкции объекта ПХГ.

5.2 Периодическое ТД проводится через каждые пять лет эксплуатации, но в обязательном порядке в течение последнего года, предшествующего достижению назначенного срока безопасной эксплуатации объекта ПХГ.

5.3 ТД может проводиться досрочно при возникновении обстоятельств, способных повлиять на безопасную эксплуатацию скважин, с определением целесообразности выполнения ремонтно-восстановительных работ и ЭПБ.

5.4 Экспертное ТД проводится в рамках работ по ЭПБ.

5.5 По достижении скважинами ПХГ срока эксплуатации, установленного в нормативной, проектной документации, их дальнейшая эксплуатация без проведения работ по продлению срока безопасной эксплуатации, проводимых в форме ЭПБ скважин ПХГ, не допускается, в соответствии с РД 03-484-02 [3].

5.6 При отсутствии установленного срока эксплуатации скважин ПХГ сроки определяются в соответствии с данным стандартом, на основании результатов оценки технического состояния, с учетом результатов анализа проектно-конструкторской документации, группы ПХГ, категории скважин и условий их эксплуатации.

5.7 В зависимости от наличия коррозионно-активных и абразивных компонентов в продукции и устойчивости пластов-коллекторов ПХГ разделяются на три группы:

I группа - ПХГ, созданные на базе истощенных газовых, газоконденсатных и нефтяных месторождений и в водоносных пластах, продукция которых не содержит коррозионно-активные и абразивные компоненты;

II группа - ПХГ, созданные на базе истощенных газовых, газоконденсатных и нефтяных месторождений и в водоносных пластах, продукция которых не содержит коррозионно-активные компоненты, пласт-коллектор представлен породами, склонными к разрушению при эксплуатации;

III группа - ПХГ, созданные на базе истощенных газовых, газоконденсатных и нефтяных месторождений и в водоносных пластах, продукция которых содержит коррозионно-активные компоненты не более допустимых по ГОСТ 5542-87, при парциальном давлении до 345 Па, позволяющем применять оборудование в стандартном исполнении.

5.8 В зависимости от назначения скважины ПХГ разделяются на две категории:

- эксплуатационные;

- специальные (наблюдательные, пьезометрические, контрольные, геофизические и другие).

5.9 Экспертное ТД проводится одновременно с ЭПБ в сроки, указанные в таблицах 1 и 2.

Таблица 1 - Сроки проведения первых ЭПБ и экспертного ТД скважин ПХГ

Группа ПХГ

Категория скважин

Эксплуатационные

Наблюдательные, пьезометрические, контрольные, геофизические и другие специальные

1

после 30 лет эксплуатации

после 35 лет эксплуатации

2

после 25 лет эксплуатации

после 30 лет эксплуатации

3

после 15 лет эксплуатации

после 20 лет эксплуатации

Таблица 2 - Сроки проведения вторых ЭПБ и экспертного ТД скважин ПХГ

Группа ПХГ

Категория скважин

Эксплуатационные

Наблюдательные, пьезометрические, контрольные, геофизические и другие специальные

1

через 12 лет эксплуатации

через 15 лет эксплуатации

2

через 8 лет эксплуатации

через 10 лет эксплуатации

3

через 5 лет эксплуатации

через 7 лет эксплуатации

5.10 Сроки проведения вторых ЭПБ и экспертного ТД для специальных скважин второй и третьей группы, используемых на горизонты, продукция которых не содержит коррозионно-активные и абразивные компоненты, устанавливаются как для первой группы скважин ПХГ.

5.11 Последующие работы по ЭПБ и экспертному ТД скважин всех категорий проводятся через каждые 5 лет эксплуатации.

5.12 Продлеваемые сроки безопасной эксплуатации скважин определяются на основании результатов ТД и расчета остаточного ресурса по каждой конкретной скважине.

Продлеваемые сроки безопасной эксплуатации скважин не должны превышать сроков, указанных в таблицах 1 и 2.

6 Этапы проведения работ по техническому диагностированию скважин ПХГ

6.1 Последовательность проведения работ

6.1.1 Базовое и периодическое ТД скважин ПХГ должно включать:

а) анализ имеющейся технической документации на скважину;

б) анализ условий и режимов эксплуатации скважины;

в) техническое диагностирование обсадных колонн и заколонного пространства скважин;

г) определение остаточной прочности обсадных колонн;

д) составление заключения о техническом состоянии объектов диагностирования.

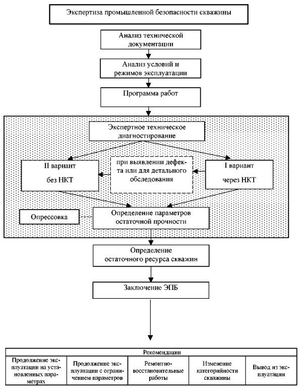
6.1.2 Экспертное ТД является составной частью ЭПБ скважины, которая проводится поэтапно в следующей последовательности (рисунок 1):

Рисунок 1 - Схема проведения работ и место экспертного ТД в ЭПБ

1 Предварительный этап, включающий:

а) анализ имеющейся технической документации на скважину;

б) анализ условий и режимов эксплуатации скважины;

в) разработку Программы работ.

2 Экспертное ТД, включающее:

а) техническое диагностирование обсадных колонн и заколонного пространства скважин, которое может осуществляться в двух вариантах:

I вариант - через НКТ (например, при наличии избыточного давления на устье),

II вариант - без НКТ (например, в заглушенной скважине), при выявлении дефекта при работах по I варианту, или для детального обследования (при капитальном ремонте);

б) определение остаточной прочности обсадных колонн;

в) опрессовку в случае получения неоднозначных результатов расчетов остаточной прочности.

3 Заключительный этап ЭПБ, включающий:

а) определение остаточного ресурса скважины;

б) выдачу Заключения ЭПБ.

6.2 Анализ технической документации

6.2.1 Анализируется следующая геолого-техническая информация, предоставляемая Недропользователем:

а) фактический срок эксплуатации скважины;

б) технологический проект ПХГ;

в) максимальное и минимальное проектные значения давления в пласте и на устье скважины;

г) проекты бурения скважин;

д) дела скважин;

е) сведения о составе флюидов;

ж) результаты предшествующих обследований методами ГИС, в том числе: перетоки флюидов; интервалы движения газа по заколонному пространству; места вторичного газонакопления; интервалы скопления газа в пустотах цементного камня; износ эксплуатационной колонны; остаточная толщина; дефекты; нарушения целостности и др.;

и) сведения о наличии МКД и динамике их изменения;

к) сведения о заколонных перетоках, в том числе: связь пластов по заколонному пространству, наличие газа в приустьевой зоне и др.;

л) результаты газодинамических исследований заколонного пространства, в том числе: давление опрессовки заколонного пространства; межколонное давление; дебит газа; пропуски газа через каналы в цементном камне, соединения в колонной головке, резьбовые соединения эксплуатационной колонны и др.;

м) результаты геохимических газовых съемок с выявлением возможной негерметичности покрышки в околоскважинном пространстве;

н) результаты проведенных ремонтно-восстановительных работ на скважине (КРС);

п) информация о причинах и характере ранее наблюдавшихся отказов скважинного оборудования;

р) результаты базового (первичного) и последующих (периодических) технических диагностирований основных несущих элементов.

6.2.2 На основании обобщения и анализа геолого-технической информации по скважинам ПХГ предварительно оценивается их техническое состояние, выявляются наиболее слабые и потенциально опасные несущие элементы, имеющие механические повреждения, коррозионный и эрозионный износ.

6.3 Анализ условий и режимов эксплуатации скважины

6.3.1 Для эксплуатационной скважины анализируются условия и технологические режимы работы за весь период эксплуатации, характеризующиеся следующими параметрами:

а) пластовым, забойным и устьевым давлениями;

б) дебитом газа (суточной производительностью);

в) обводненностью продукции;

г) содержанием и количеством механических примесей в продукции;

д) химическим составом выносимых из скважины флюидов;

е) температурой на устье скважины;

ж) наличием МКД;

и) дебитом межколонного флюида;

к) типоразмерами установленного эксплуатационного оборудования, режимами и продолжительностью его эксплуатации и др.

6.3.2 Для специальных (наблюдательных, пьезометрических, контрольных, геофизических и других) скважин анализируются следующие данные за весь период эксплуатации:

а) статическое давление на устье скважины;

б) уровень жидкости в стволе;

в) физико-химические свойства жидкости в стволе;

г) наличием МКД;

д) дебит межколонного флюида.

6.3.3 Анализу могут быть подвергнуты и другие, значимые с точки зрения экспертно - диагностической организации, параметры условий и режимов эксплуатации скважины.

6.4 Разработка Программы работ

Программа работ по ТД и ЭПБ скважины разрабатывается экспертно - диагностической организацией в соответствии с требованиями РД 03-484-02 [3] и согласовывается с Недропользователем.

6.5 Техническое диагностирование обсадных колонн скважин

6.5.1 Техническое диагностирование обсадных колонн скважин должно проводиться методами ГИС с учетом требований ГОСТ 27518.

6.5.2 Техническое диагностирование обсадных колонн скважин должно включать:

а) уточнение их компоновки;

б) замер внутреннего диаметра эксплуатационной колонны поинтервально;

в) определение толщины стенки колонны;

г) выявление деформации поперечного сечения;

д) выявление повреждений внутренней поверхности эксплуатационной колонны - коррозионных и механических (износа, трещин, порывов, порезов и т.д.);

е) уточнение интервалов перфорации и (или) местоположения фильтра (при необходимости);

ж) контроль плотности муфтовых соединений;

и) определение мест негерметичности.

6.5.3 Геофизические исследования технического состояния обсадных колонн могут проводиться в двух вариантах (см. 6.1.1):

- через НКТ;

- без НКТ.

6.5.4 Детальное инструментальное обследование скважин в заглушенном состоянии должно проводиться в случаях:

а) выявления дефектов обсадной колонны;

б) обнаружения негерметичности крепи;

в) неоднозначности интерпретации материалов ГИС;

г) снижения коэффициента запаса прочности.

6.5.5 Рекомендуемый комплекс геофизических исследований скважин ПХГ для оценки технического состояния их обсадных колонн по СТ ЕАГО-045 приведен в приложении А.

6.5.6 Состав комплекса ГИС для конкретных скважин ПХГ выбирается экспертно-диагностической организацией по согласованию с недропользователем. Экспертно-диагностическая организация по согласованию с недропользователем может корректировать набор применяемых методов ГИС и типов аппаратуры в процессе проведения работ.

6.6 Техническое диагностирование состояния заколонного пространства скважин

6.6.1 Техническое диагностирование состояния заколонного пространства скважин должно проводиться методами ГИС и ГДИ.

6.6.2 Техническое диагностирование состояния заколонного пространства скважин должно включать:

а) оценку качества сцепления цементного камня с колонной и породой;

б) уточнение распределения цементного камня в заколонном пространстве;

в) обнаружение заколонных перетоков флюидов;

г) контроль за образованием техногенных скоплений газа в вышележащих проницаемых пластах;

д) определение интервалов обводнения;

е) определение межколонного давления, дебита флюидов из заколонного пространства, герметичности заколонного пространства, предполагаемых источников МКД.

6.6.3 Рекомендуемый комплекс геофизических исследований заколонного пространства скважин ПХГ приведен в приложении А.

6.6.4 Состав комплекса методов обследования состояния заколонного пространства конкретных скважин ПХГ выбирается экспертно-диагностической организацией по согласованию с недропользователем. Экспертно-диагностическая организация по согласованию с недропользователем может корректировать набор применяемых методов ГИС и типов аппаратуры в процессе проведения работ.

6.7 Оформление результатов технического диагностирования эксплуатационных колонн и заколонного пространства скважин

6.7.1 Результаты ГИС и ГДИ должны оформляться в виде заключений установленного образца (с указанием конструкции скважины, компоновки колонн, фактической толщины стенки колонн, высоты и характера расположения цементного камня).

6.7.2 Эксплуатационные колонны и заколонное пространство после реконструкции скважин, ремонтно-восстановительных работ, связанных с устранением повреждений и восстановлением герметичности колонн, опрессовываются. Результаты опрессовки должны оформляться актом установленного образца.

6.8 Определение параметров остаточной прочности обсадных колонн

6.8.1 Определение параметров остаточной прочности обсадных колонн должно проводиться с использованием ГОСТ Р 51365, ВРД 39-1.9-048-2001 [7], Инструкции [8], результатов анализа технической документации, условий, режимов эксплуатации, геофизических исследований скважин. В приложении Б даны методические рекомендации по расчету параметров остаточной прочности обсадных колонн, имеющих наиболее распространенный вид повреждения - коррозионный износ.

6.8.2 Исходной информацией для расчета параметров остаточной прочности объектов являются результаты геофизических исследований их технического состояния.

Заключения о техническом состоянии эксплуатационных колонн должны содержать данные о компоновке колонн (с указанием номинальной толщины стенки труб и группы прочности стали, из которой они изготовлены), о цементировании и характере расположения за колоннами цементного камня, о конструкции скважин и дате ввода их в эксплуатацию.

6.8.3 В случае отсутствия повреждений обсадной колонны (с учетом заводского допуска) и сохранении режимов эксплуатации скважины на продлеваемый период необходимость расчета на прочность определяется экспертно-диагностической организацией с учетом результатов работ по 6.2 и 6.3 настоящего стандарта.

6.8.4 По результатам расчетов параметров остаточной прочности обсадных колонн составляется заключение, в котором должны быть указаны:

а) интервалы, лимитирующие несущую способность обсадной колонны при работе на избыточное наружное и внутреннее давления, и коэффициенты запаса к эксплуатационным нагрузкам;

б) допускаемые величины эксплуатационных нагрузок.

Заключение может содержать дополнительные сведения о степени опасности выявленных повреждений для обсадной колонны при ее эксплуатации в заданных режимах; причинах и доминирующих механизмах образования дефектов, а также прогнозную оценку динамики их развития.

6.9 Определение остаточного ресурса скважины

6.9.1 Определение остаточного ресурса скважин должно проводиться в соответствии с правилами [2], руководящими документами [3, 4].

6.9.2 Определение срока службы и прогнозирование долговечности скважины ПХГ или ее отдельных несущих элементов должно быть основано только на результатах расчетов на прочность и долговечность с учетом всех значимых факторов:

а) условий эксплуатации скважины;

б) результатов технического диагностирования;

в) анализа повреждений, механизма их роста до критического размера;

г) определения критических размеров повреждений;

д) расчетов параметров остаточной прочности.

6.9.3 Определение остаточного ресурса эксплуатационной колонны скважины проводится с учетом требований руководящего документа [5] по методике, приведенной в приложении В.

6.9.4 Доверительная вероятность расчетного остаточного ресурса должна быть не ниже 0,9.

Приложение А
(рекомендуемое)
Рекомендуемый комплекс геофизических исследований скважин ПХГ для оценки их технического состояния

Решаемые задачи

Методы ГИС

Тип аппаратуры

Основные

Дополнительные

Диагностика технического состояния эксплуатационной колонны

а) в газовой среде (через НКТ)

Установление местоположения элементов конструкции скважины (башмака колонны, пакера, фильтра и т.д.)

Измерение и контроль изменения внутреннего диаметра колонн по профилю труб, выявление дефектов стенок, оценка степени износа

Определение мест деформации и негерметичности

Магнитоимпульсная дефектоскопия - толщинометрия

Высокочувствительная термометрия

Радиометрия (ГК+НГК)

Газодинамический каротаж

Механо-акустический каротаж

МИД

АГДК-8

ДИНА

 

б) в заглушенной скважине (без НКТ)

Установление местоположения элементов конструкции скважины (башмак колонны, пакеры, пусковые муфты и т.п.).

Измерение и контроль изменения внутреннего диаметра колонн в сечении и по профилю труб, выявление локальных дефектов и изменений толщины стенок

Электромеханическая трубная профилеметрия

Микрокавернометрия

Электромагнитная дефектоскопия

Гамма-гамма-толщинометрия - дефектометрия

Акустическая дефектометрия

Акустический телевизор

ПТС-4

КМУ-42

КСП-Т-7

ЭСП-1/22

МСЭД-36

МИД

СГДТ-НВ

СМАШ-42

АРКЦТ

АВК-48М

АВF

Определение мест прихвата НКТ, другого оборудования

Магнитная локация

Акустическая дефектометрия

ЛМ

ПО

Траектория ствола скважины

Инклинометрия

 

ИГ

Оценка состояния внутритрубного пространства
(вне продуктивных интервалов)

Сальники (гидратные пробки, солевые отложения)

Шаблонирование

Микрокавернометрия

ЭМД, ГГД

ПТС-4

КМУ-42

ЭМДС

СГДТ-НВ

 


Решаемые задачи

Методы ГИС

Тип аппаратуры

Основные

Дополнительные

Диагностика состояния заколонных (кольцевых) пространств

Определение наличия и качества сцепления цементного камня

Акустическая цементометрия с регистрацией ФКД

Гамма-гамма цементометрия

Акустический каротаж широкополосной

АКЦ-НВ

АКШ

АК-1-841

ЗАС-ТШ-36

СГДТ-НВ

АМК-2000

Выявление интервалов заколонного скопления газа, межпластовых перетоков флюидов, обводнения

Высокочувствительная термометрия

Шумометрия

Радиометрия (ГК+НГК; МНА, НК)

Импульсный нейтронный каротаж

Гамма-спектрометрия

Шумометрия-спектрометрия

Радиоизотопный контроль

Локация движения вод

АГДК-8

АКТАШ-36

АИП-36

АШИМ-36

АИНК-43

ИННК-43

СРК-1М

СГК

СААТП

ШМ-42

Оценка герметичности крепи

Определение мест негерметичности обсадной колонны

Опрессовка

 

ОМН

Термометрия + барометрия + ГК

Радиометрия с закачкой РАИ;

Резистивиметрия с закачкой МВ;

Термометрия с закачкой контрастной по температуре жидкости

КСА-Т-7М

ДИНА

Определение герметичности заколонного пространства

Опрессовка

 

 

Выявление негерметичности уплотнительных соединений

Термометрия + барометрия + ГК

 

ТМГК-42

ДИНА

Определение МКД, дебита флюидов из заколонного пространства

 

 

 

Приложение Б
(рекомендуемое)
Методические рекомендации по расчету параметров остаточной прочности обсадных колонн с общим коррозионным повреждением внутренней поверхности

Б.1 Исходные данные

Расчет параметров остаточной прочности обсадной колонны с коррозионным повреждением внутренней поверхности труб проводится по результатам промыслово-геофизических исследований, с учетом следующих исходных данных:

а) дата исследования эксплуатационной колонны дефектоскопией;

б) интервал исследования эксплуатационной колонны;

в) диаметр эксплуатационной колонны (по ГОСТ 632-80);

г) глубина спуска эксплуатационной колонны;

д) интервал перфорации (открытый ствол);

е) интервал установки пакера;

ж) дата цементирования эксплуатационной колонны;

и) высота подъема цемента;

к) толщина стенки труб номинальная (по ГОСТ 632-80);

л) предел текучести стали, с учетом группы прочности и исполнения (по ГОСТ 632-80);

м) давление гидравлического испытания (опрессовки);

н) эксплуатируемый горизонт (кровля продуктивной толщи);

п) рабочее давление максимальное;

р) рабочее давление минимальное;

с) наличие МКД;

т) наличие заколонных движений газа;

у) наличие зон вторичного газонакопления;

ф) наличие зон загазованности заколонного пространства;

х) скважинная среда;

ц) тип прибора;

ш) погрешность определения толщины стенки обсадной колонны.

Б.2 Расчет обсадной колонны на избыточное внутреннее давление

Максимальной нагрузке при избыточном внутреннем давлении подвергается верхняя часть обсадной колонны.

Для интервалов, лимитирующих прочность колонны, определяется внутреннее давление Pт, при котором максимальные напряжения в изношенной трубе равны пределу текучести материала согласно инструкции [7]

Pт = К2·× Pт,                                                                                                       (Б.1)

где К2 - коэффициент снижения несущей способности изношенной трубы к внутреннему давлению;

Pт - избыточное внутреннее давление, при котором максимальные напряжения в теле новой трубы равны пределу текучести материала.

Величина К2 для обсадной колонны с общим коррозионным повреждением внутренней поверхности определяется по формулам, приведенным в таблице Б.1.

Таблица Б.1 - Выражения для расчета коэффициентов снижения несущей способности труб к внутреннему давлению

Наружный диаметр труб, мм

Наличие /

отсутствие

цементного кольца

К2

114,3

наличие

отсутствие

К2 = (0,0023×dн + 1,034) exp(0,0558 dн - 0,766)×d

К2 = (0,0384×dн + 0,8192) exp(0,0403 dн - 0,63)×d

127

наличие

отсутствие

К2 = (0,0131×dн + 0,9193) exp(0,0398 dн - 0,6185)×d

К2 = (0,0813×dн + 0,5676) exp(0,0381 dн - 0,6593)×d

146,1

наличие

отсутствие

К2 = (0,0494×dн + 0,6006) exp(0,0329 dн - 0,5584)×d

К2 = (0,0779×dн + 0,4247) exp(0,0214 dн - 0,4858)×d

168,3

наличие

отсутствие

К2 = (0,0235×dн + 0,8038) exp(0,0304 dн - 0,5455)×d

К2 = (0,07×dн + 0,4662) exp(0,0187 dн - 0,4615)×d

177,8

наличие

отсутствие

К2 = (0,0555×dн + 0,5908) exp(0,0172 dн - 0,4458)×d

К2 = (0,0523×dн + 0,5973) exp(0,0145 dн - 0,3077)×d

193,7

наличие

отсутствие

К2 = (0,0415×dн + 0,7064) exp(0,0193 dн - 0,4844)×d

К2 = (0,0143×dн + 0,9001) exp(0,0259 dн - 0,5099)×d

219,1

наличие

отсутствие

К2 = (0,0366×dн + 0,6726) exp(0,0235 dн - 0,5056)×d

К2 = (0,0033×dн + 0,9618) exp(0,0327 dн - 0,624)×d

244,5

наличие

отсутствие

К2 = (0,0243×dн + 0,8699) exp(0,0231 dн - 0,5209)×d

К2 = (0,0322×dн + 0,7409) exp(0,0188 dн - 0,4527)×d

Например, величина К2 для 168 мм эксплуатационной колонны, при отсутствии цементного кольца в исследуемом интервале, определяется по формуле

К2 = (0,07×dн + 0,4662) exp(0,0187 dн - 0,4615)×d ,                                       (Б.2)

где ∆d - максимальный для рассматриваемого интервала коррозионный износ, мм;

d = dн - dф;

dн - номинальная толщина труб, мм;

dф - толщина труб остаточная, мм.

Величина Pт для отечественных труб определяется по формуле, согласно инструкции [8]

                                                                                            (Б.3)

где sт - предел текучести материала, МПа;

D - наружный диаметр труб, мм.

Величина Pт для импортных труб определяется по формулам стандарта АНИ [9].

Коэффициент запаса прочности на внутреннее давление (n2) определяется по соотношению

n2 = Pт / Pви ,                                                                                                      (Б.4)

где Pви - избыточное внутреннее давление, МПа.

Pви = Р - Р ,                                                                                                   (Б.5)

где Р - внутреннее давление, МПа;

Р - наружное давление, МПа.

Внутреннее давление (Р) определяется как максимальное рабочее давление на устье. За наружное давление (Р) принимается давление столба бурового раствора в незацементированной зоне или столба воды плотностью 1100 кг/м3 в зацементированной зоне до глубины определения.

Нормативный коэффициент запаса прочности на внутреннее давление (n2n) для эксплуатационных колонн скважин определяется по таблице Б.2.

Таблица Б.2 - Коэффициенты запаса прочности на внутреннее давление согласно инструкции [8]

Диаметр труб, мм

n2 n

Исполнение А

Исполнение Б

от 114 до 219

1,15

1,15

свыше 219

1,15

1,45

Допускаемое давление закачки (Рз max) определяется по формуле

Рз max = (Pт + Р × n2 n) / n2 n .                                                                             (Б.6)

Пример результатов расчета 168 мм эксплуатационной колонны на избыточное внутреннее давление приведен в таблице Б.3.

Таблица Б.3 - Результаты расчета 168 мм эксплуатационной колонны скважины ____ ___________ ПХГ на избыточное внутреннее давление

Дата исследования

Тип прибора

Выявленные дефекты

l, м

± zem

dн, мм

dф, мм

К2

Pт, МПа

Pт, МПа

Pви, МПа

n2

Рз max, МПа

22.02.2005

ПТС, СГДТ, МИД

общий коррозионный износ до (0,8 ±0,5) мм

4,0-9,5

- zem

8,0

7,3
(6,8)

0,825
(0,705)

40,8

33,66
(28,76)

14,96

2,25
(1,92)

29,3
(25,0)

Примечания

1 l - интервал, лимитирующий прочность колонны; ± zem - наличие (+) или отсутствие (-) цементного кольца в интервале l.

2 В скобках приводятся значения dф, К2, Pт, n2 при максимально возможной погрешности определения толщины стенки эксплуатационной колонны по данным ГИС (- 0,5 мм).

Б.3 Расчет обсадной колонны на избыточное наружное давление

Максимальной нагрузке при избыточном наружном давлении подвергается нижняя часть эксплуатационной колонны.

Для интервалов, лимитирующих прочность колонны, определяется критическое (избыточное наружное) давление Pкр, при котором максимальные напряжения в изношенной трубе равны пределу текучести материала согласно инструкции ВРД 39-1.9-048-2001 [7].

Критическое давление для отечественных труб определяется по формуле Г.М. Саркисова [8], с учетом остаточной толщины труб

Pкр = 1,1×Кmin×

, (Б.7)

где ;

;

dmin = 0,875×dф;

d0 = 0,905×dф;

dф - остаточная толщина стенки, мм;

D - наружный диаметр труб, мм;

st - предел текучести материала, МПа;

Е - модуль упругости материала, равный 2,1×105 МПа;

 (трубы исполнения Б);

е - овальность, равная 0,01 (трубы исполнения Б).

Критическое давление для импортных труб определяется по формулам стандарта АНИ [9].

Коэффициент запаса прочности на наружное давление (n1) определяется по соотношению

n1 = Pкр / Pни ,                                                                                                    (Б.8)

где Pни - избыточное наружное давление, МПа.

Pни = Р - Р ,                                                                                                   (Б.9)

где Р - наружное давление, МПа;

Р - внутреннее давление, МПа.

За наружное давление (Р) принимается давление составного столба бурового раствора в незацементированной зоне и воды плотностью 1100 кг/м3 по высоте цементного кольца.

Внутреннее давление (Р) определяется как давление газожидкостной смеси на расчетной глубине при изменении его от минимального пластового (в зоне перфорации, фильтра или открытого ствола) до минимального рабочего на устье.

Нормативный коэффициент запаса прочности на наружное давление для эксплуатационных колонн скважин, согласно [8], равен 1,0.

Пример результатов расчета 168 мм эксплуатационной колонны на избыточное наружное давление приведен в таблице Б.4.

Таблица Б.4 - Результаты расчета 168 мм эксплуатационной колонны скважины ____ ___________ ПХГ на избыточное наружное давление

Дата исследования

Тип прибора

Выявленные дефекты

l, м

dн, мм

dф, мм

Pкр, МПа

Pкр, МПа

Pни, МПа

n1

22.02.2005

ПТС, СГДТ, МИД

общий коррозионный износ до (0,8 ±0,5) мм

1569,9-1579,8

8,0

7,7
(7,0)

23,2

21,38
(18,13)

11,1

1,925
(1,63)

 

В скобках приведены значения dф, Pкр, n1 при максимально возможной погрешности определения толщины стенки эксплуатационной колонны по данным ГИС (- 0,5 мм).

Приложение В
(рекомендуемое)
Методика расчета остаточного ресурса эксплуатационных колонн скважин ПХГ

В.1 Общие положения

В.1.1 Расчет остаточного ресурса эксплуатационных колонн выполняется в соответствии с методическим указаниями [5, 6] и предусматривает:

а) анализ повреждений, установление механизма их роста до критического размера;

б) определение критических размеров повреждений и параметров, определяющих возможность дальнейшей безопасной эксплуатации колонны.

В.1.2 Допускается упрощенный расчет остаточного ресурса в случае, если колонна работает в условиях статического нагружения и воздействия, приводящей к общей коррозии.

В.1.3 В общем случае расчеты остаточного ресурса базируются на статистических моделях колонн, созданных на базе данных об их отказах в процессе эксплуатации и причинах происшедшего.

В.2 Основная часть

В.2.1 Методика предназначена для расчета остаточного ресурса эксплуатационных колонн с общим коррозионным повреждением внутренней поверхности, работающих на избыточное внутреннее давление.

В.2.2 Под остаточным ресурсом понимается время, в течение которого допускается эксплуатация в основном режиме колонны с общим коррозионным повреждением внутренней поверхности, т.е. время, за которое толщина стенки уменьшится до предельно допускаемых размеров.

В.2.3 Предельно допускаемым является изменение толщины стенки труб до величины, при которой максимальные рабочие напряжения будут равны пределу текучести материала.

В.2.4 Расчет напряжений в трубах выполняется с учетом концентрации напряжений, вызываемой повреждением.

В.2.5 Учет концентрации напряжений предполагает сохранение скорости коррозии на прежнем, как и до проведения обследования колонны, уровне.

В.2.6 Принято, что снижение механических характеристик стали при общем коррозионном повреждении незначительно и не учитывается при расчетах.

В.2.7 Расчет остаточного ресурса не относится к перфорированной части колонны.

В.2.8 Последовательность выполнения расчета остаточного ресурса эксплуатационных колонн:

а) проанализировать условия эксплуатации колонны;

б) выделить интервалы, находящиеся в разных условиях эксплуатации, например:

- верхний интервал, работающий при максимальном избыточном внутреннем давлении;

- средняя часть колонны, работающая в условиях переменного уровня пластовой воды, если продукция скважины обводнена;

- нижний участок колонны (исключая зону перфорации), подверженный в силу каких-либо обстоятельств наиболее интенсивной коррозии.

в) провести геофизическое обследование технического состояния эксплуатационной колонны;

г) для каждого интервала обследования установить вид повреждения и остаточную толщину стенки;

д) выполнить расчет остаточного ресурса для каждого характерного интервала колонны, если характерным видом повреждения является «многосторонний коррозионный износ».

В.2.9 Остаточный ресурс колонны tэ, измеряемый в годах, рассчитывается по формуле

                                                                                                    (В.1)

где dф - фактическая остаточная толщина стенки колонны, мм;

dкр - критическая толщина стенки колонны для заданного рабочего давления, мм;

Vk - скорость коррозионного изнашивания колонны, мм / год.

Критическая толщина стенки колонны для заданного рабочего давления рассчитывается по формуле

                                                                                   (В.2)

где n - нормативный коэффициент запаса прочности труб на внутреннее избыточное давление;

Ко - коэффициент превышения давления при опрессовке колонны;

Ру - максимальное рабочее давление на устье скважины, МПа;

Dk - внешний диаметр колонны, мм;

0,875 - коэффициент, учитывающий отклонение толщины стенки (по ГОСТ 632);

sт - предел текучести материала трубы, МПа;

2 - поправка на ослабление тела трубы резьбой, мм.

Скорость коррозионного изнашивания колонны вычисляется как отношение

Vk = ∆δ / ∆t ,                                                                                                      (В.3)

где δ - изменение толщины стенки труб за время t (год), прошедшее между двумя геофизическими обследованиями колонны, или изменение толщины стенки труб от номинального значения за время от сдачи скважины в эксплуатацию до момента выполнения ее обследования, мм.

∆δ = δн - δф ,                                                                                                      (В.4)

где δн - номинальная толщина стенки трубы, или установленная при предыдущем обследовании, мм.

В случае нелинейного характера изнашивания стенки трубы скорость электрохимической коррозии определяется по формуле

, мм/год,                                                                            (В.5)

где tk - время коррозии металла трубы, год;

А - постоянная, обратная глубине проникновения коррозии в металл, 1/мм;

В - величина, обратная линейной скорости коррозии, год/мм;

С - параметр, имеющий размерность, обратную ускорению коррозионного процесса, год2/мм.

После упрощающих преобразований формула (В.5) приобретает вид

                                                                                                        (В.6)

где δk - глубина каверны, мм;

Скорость коррозионного изнашивания стенки эксплуатационной колонны может быть определена также согласно методическим указаниям [10] по формуле

Vk = Кq × Кc × Кt × Kw × Ту ,                                                                                  (В.7)

где Кq - коэффициент производительности скважины,

                                                                                                        (В.8)

где Qг - дебит скважины, м3/сут;

Кc - коэффициент агрессивности флюида,

                                                                                      (В.9)

где  - объемная концентрация углекислого газа, %;

Кt - температурный коэффициент,

                                                                                  (В.10)

где Ту - температура газа на устье скважины при отборе, °С;

Kw - коэффициент влагосодержания,

                                                                                        (В.11)

где Wпл и Wу - влагосодержание газа соответственно в пластовых условиях и на устье скважины, г/м3.

При недостаточном объеме информации для расчета скорости коррозии можно воспользоваться справочным материалом. Некоторые данные приведены в таблице В.1.

Таблица В.1 - Классификация агрессивных сред

Агрессивность среды

Углеродистая сталь

Скорость коррозии,

мм / год

Стойкость,

баллы

Снижение прочности, %

Неагрессивная

до 0,01

1-3

0

Слабая

от 0,01 до 0,05 включ.

4-5

до 5

Средняя

от 0,05 до 0,5 включ.

6

до 10

Сильная

более 0,5

7

более 20

В.2.10 Остаточным ресурсом эксплуатационной колонны является минимальное из его расчетных значений, полученных для характерных интервалов колонны.

Библиография

[1]

Положение о системе обеспечения промышленной безопасности и качества диагностирования технических устройств, оборудования и сооружений газопромысловых объектов подземных хранилищ газа ОАО «Газпром». - М. : Газпром; ВНИИгаз, 2003 (утв. зам. Председателя Правления ОАО «Газпром» А.Г. Ананенковым 28.11.2003)

[2]

Правила безопасности Ростехнадзора

ПБ 03-246-98

Правила проведения экспертизы промышленной безопасности

[3]

Руководящий документ Ростехнадзора

РД 03-484-02

Положение о порядке продления срока безопасной эксплуатации технических устройств, оборудования и сооружений на опасных производственных объектах

[4]

Руководящий документ Ростехнадзора

РД 06-565-03

Методические указания о порядке продления срока службы технических устройств, зданий и сооружений с истекшим нормативным сроком эксплуатации, в горнорудной промышленности

[5]

Руководящий документ Ростехнадзора

РД 09-102-95

Методические указания по определению остаточного ресурса потенциально опасных объектов, поднадзорных Госгортехнадзору России

[6]

Руководящий документ Ростехнадзора

РД 03-421-01

Методические указания по проведению диагностирования технического состояния и определения остаточного срока службы сосудов и аппаратов

[7]

Ведомственный руководящий документ ОАО «Газпром»

ВРД 39-1.9-048-2001

Инструкция по расчету обсадных колонн на особые условия эксплуатации

[8]

Инструкция по расчету обсадных колонн для нефтяных и газовых скважин. - М. : Федеральный горный и промышленный надзор России ; ВНИИТнефть, 1997

[9]

Трубы нефтяного сортамента : Справочник / Под общей ред. А.Е. Сарояна. - М. : Недра, 1987

[10]

Методические указания по защите от коррозии оборудования газовых и газоконденсатных месторождений с углекислой средой. - Ставрополь : СевКавНИИгаз, 1979. (утв. зам. Министра газовой промышленности СССР Г.Д. Маргуловым 17.07.1979)

 

Ключевые слова: ПХГ, скважина, обследование, ГИС, техническое диагностирование, экспертиза, промышленная безопасность, ресурс

 

 




ГОСТЫ, СТРОИТЕЛЬНЫЕ и ТЕХНИЧЕСКИЕ НОРМАТИВЫ.
Некоммерческая онлайн система, содержащая все Российские Госты, национальные Стандарты и нормативы.
В Системе содержится более 150000 файлов нормативно-технической документации, действующей на территории РФ.
Система предназначена для широкого круга инженерно-технических специалистов.

Рейтинг@Mail.ru Яндекс цитирования

Copyright © www.gostrf.com, 2008 - 2026