Крупнейшая бесплатная информационно-справочная система онлайн доступа к полному собранию технических нормативно-правовых актов РФ. Огромная база технических нормативов (более 150 тысяч документов) и полное собрание национальных стандартов, аутентичное официальной базе Госстандарта. GOSTRF.com - это более 1 Терабайта бесплатной технической информации для всех пользователей интернета. Все электронные копии представленных здесь документов могут распространяться без каких-либо ограничений. Поощряется распространение информации с этого сайта на любых других ресурсах. Каждый человек имеет право на неограниченный доступ к этим документам! Каждый человек имеет право на знание требований, изложенных в данных нормативно-правовых актах!

  


 

ФЕДЕРАЛЬНОЕ АГЕНТСТВО
ПО
ТЕХНИЧЕСКОМУ РЕГУЛИРОВАНИЮ И МЕТРОЛОГИИ

НАЦИОНАЛЬНЫЙ
СТАНДАРТ
российской
ФЕДЕРАЦИИ

ГОСТ Р
53583-
2009

ПРИБОРЫ ОТОПИТЕЛЬНЫЕ

Методы испытаний

Москва

Стандартинформ

2010

Предисловие

Цели и принципы стандартизации в Российской Федерации установлены Федеральным законом от 27 декабря 2002 г. 184-ФЗ «О техническом регулировании», а правила применения национальных стандартов Российской Федерации - ГОСТ Р 1.0-2004 «Стандартизация в Российской Федерации. Основные положения»

Сведения о стандарте

1 РАЗРАБОТАН ОАО «Научно-исследовательский институт санитарной техники» и Центром методологии нормирования и стандартизации в строительстве (ОАО «ЦНС»)

2 ВНЕСЕН Техническим комитетом по стандартизации ТК 465 «Строительство»

3 УТВЕРЖДЕН И ВВЕДЕН В ДЕЙСТВИЕ Приказом Федерального агентства по техническому регулированию и метрологии от 15 декабря 2009 г. 893-ст

4 ВВЕДЕН ВПЕРВЫЕ

Информация об изменениях к настоящему стандарту публикуется в ежегодно издаваемом информационном указателе «Национальные стандарты», а текст изменений и поправок - в ежемесячно издаваемых информационных указателях «Национальные стандарты». В случае пересмотра (замены) или отмены настоящего стандарта соответствующее уведомление будет опубликовано в ежемесячно издаваемом информационном указателе «Национальные стандарты». Соответствующая информация, уведомление и тексты размещаются также в информационной системе общего пользования - на официальном сайте Федерального агентства по техническому регулированию и метрологии в сети Интернет

Содержание

НАЦИОНАЛЬНЫЙ СТАНДАРТ РОССИЙСКОЙ ФЕДЕРАЦИИ

ПРИБОРЫ ОТОПИТЕЛЬНЫЕ

Методы испытаний

Heating devices. Test methods

Дата введения - 2010-06-01

1 Область применения

Настоящий стандарт распространяется на отопительные приборы, предназначенные для эксплуатации в системе водяного отопления зданий различного назначения, и устанавливает методы испытаний по определению основной эксплуатационной характеристики - номинального теплового потока, а также зависимости теплового потока от расхода теплоносителя и схем движения теплоносителя в приборе.

Стандарт распространяется на все виды испытаний отопительных приборов при их постановке на производство и серийном выпуске, а также на испытания макетов, прототипов, опытных образцов на различных стадиях научно-исследовательских и опытно-конструкторских работ, когда целью испытаний является получение достоверной и сопоставимой информации о тепловом потоке отопительного прибора.

2 Нормативные ссылки

В настоящем стандарте использована нормативная ссылка на следующий стандарт:

ГОСТ 31311-2005 Приборы отопительные. Общие технические условия

Примечание - При пользовании настоящим стандартом целесообразно проверить действие ссылочного стандарта в информационной системе общего пользования - на официальном сайте Федерального агентства по техническому регулированию и метрологии в сети Интернет или по ежегодно издаваемому информационному указателю «Национальные стандарты», который опубликован по состоянию на 1 января текущего года, и по соответствующим ежемесячно издаваемым информационным указателям, опубликованным в текущем году. Если ссылочный стандарт заменен (изменен), то при пользовании настоящим стандартом следует руководствоваться заменяющим (измененным) стандартом. Если ссылочный стандарт отменен без замены, то положение, в котором дана ссылка на него, применяется в части, не затрагивающей эту ссылку.

3 Термины и определения

В настоящем стандарте применены следующие термины с соответствующими определениями и обозначениями:

3.1

отопительный прибор: Устройство для обогрева помещения путем передачи теплоты от теплоносителя (вода, пар), поступающего от источника теплоты, в окружающую среду.

[ГОСТ 31311, статья 3.1]

3.2

радиатор: Отопительный прибор, отдающий теплоту путем конвекции и радиации.

[ГОСТ 31311, статья 3.2]

3.3

конвектор: Отопительный прибор, отдающий теплоту преимущественно за счет свободной конвекции.

Конвектор, как правило, состоит из нагревательного элемента и кожуха, образующего необогреваемый канал для естественной конвекции.

[ГОСТ 31311, статья 3.3]

3.4 внутренняя поверхность нагрева отопительного прибора: Часть теплоотдающей поверхности, которая постоянно соприкасается только с теплоносителем.

3.5 наружная поверхность нагрева отопительного прибора: Часть теплоотдающей поверхности, которая соприкасается только с воздухом (например, ребра конвектора).

3.6 модель отопительного прибора: Отопительный прибор определенной высоты, длины и глубины в пределах семейства моделей.

3.7 семейство моделей отопительных приборов: Группа отопительных приборов, конструктивно подобных друг другу и выполненных из одних материалов, с одинаковым расположением входов и выходов теплоносителя и одинаковым исполнением других деталей, которые влияют на поток теплоносителя в отопительном приборе.

3.8 тип отопительных приборов: Группа, состоящая из нескольких отопительных приборов, конструктивно подобных друг другу, поперечное сечение которых остается постоянным, а высота или длина изменяются, или систематически изменяется только один из основных размеров наружной поверхности нагрева без изменения внутренней поверхности нагрева (например, высота конвективной ленты в панельном радиаторе).

3.9 диапазон высот отопительных приборов: Разность максимальной и минимальной высоты моделей одного типа отопительных приборов.

3.10 образец отопительного прибора для испытаний: Отопительный прибор, тепловой поток которого определен или должен определяться. Фактические размеры образца должны соответствовать требованиям конструкторской документации с учетом отклонений.

3.11 номинальный тепловой поток Q0: Тепловой поток, определяемый при нормальных условиях:

- разности между средней температурой воды в приборе и расчетной температурой воздуха в помещении Θ0 = 70°С;

- расходе воды через отопительный прибор М0 = 0,1 кг/с (360 кг/ч);

- нормальном атмосферном давлении В = 1013,3 гПа (760 мм рт.ст.);

- движении воды в отопительном приборе по схеме «сверху-вниз».

3.12 температура на входе t1: Среднее значение температуры воды на входе в отопительный прибор.

3.13 температура на выходе t2: Среднее значение температуры воды на выходе из отопительного прибора.

3.14 средняя температура воды tm: Среднее арифметическое значение между температурами воды на входе и выходе отопительного прибора.

3.15 расчетная температура воздуха tвз: Температура окружающего воздуха в точке, расположенной на центральной оси симметрии, перпендикулярной к основанию испытательной камеры, на расстоянии 0,75 м от пола (t0,75), или полусумма температур воздуха, измеренных на той же вертикали на расстоянии 0,05 (t0,05) и 1,5 м (t1,5) от пола.

3.16 расход воды Мпр: Количество воды, протекающее за единицу времени через отопительный прибор.

3.17 определительные испытания: Испытания, проводимые для определения значений номинальных показателей отопительного прибора, подлежащие включению в конструкторскую документацию, в том числе эксплуатационные документы, а также каталоги, проспекты и другие информационные издания изготовителя.

4 Средства испытаний и измерений

4.1 Испытательный стенд должен состоять из:

- закрытой (невентилируемой) испытательной камеры с водоохлаждаемыми внутренними поверхностями для обеспечения заданных температурных условий, не зависящих от температуры в помещении, в котором установлена камера;

- устройства для охлаждения и обеспечения циркуляции охлаждающей воды;

- измерительного отопительного контура;

- средств контроля, измерения и управления.

4.2 Испытательная камера

4.2.1 Внутренние размеры камеры должны быть следующими:

- длина - (3,4 ± 0,6) м;

- ширина - (3,4 ± 0,6) м;

- высота - (2,8 ± 0,3) м.

4.2.2 Стены камеры должны иметь одинаковую конструкцию и состоять из трех основных слоев:

- водоохлаждаемой панели;

- теплоизоляции;

- наружной обшивки из прочного и плотного листового материала, например стального листа.

Испытательная камера должна располагаться в отапливаемом помещении и не иметь наружных ограждений.

4.2.3 Внутренние поверхности камеры должны иметь матовое защитно-декоративное покрытие с коэффициентом излучения не менее 0,9.

4.2.4 Конструкция камеры должна обеспечивать достаточную плотность и отсутствие неконтролируемой инфильтрации воздуха. Отверстия для водяных и электрических коммуникаций должны быть снабжены уплотнительными устройствами.

4.2.5 Панели должны быть собраны таким образом, чтобы конструкция камеры была самонесущей, без «мостиков холода» между внутренней и наружной стенками.

4.3 Охлаждение внутренних поверхностей

4.3.1 Система охлаждения должна обеспечивать возможность поддерживания стационарной температуры в камере при теплопоступлении до 2 кВт.

4.3.2 Гидравлическая схема должна обеспечивать возможность раздельного регулирования расхода охлаждающей воды по стенам камеры.

4.3.3 Стена, у которой расположен испытуемый отопительный прибор, должна быть отключена от системы охлаждения, а панели охлаждения - опорожнены. Допускается охлаждать эту стену в случае, если участок стены за радиатором утеплен по всей длине стены на высоту (1 ± 0,05) м так, что термическое сопротивление утепляющего слоя составляет не менее 2 (м2·°С)/Вт.

4.3.4 Система охлаждения должна быть оборудована устройствами для удаления воздуха.

4.4 Измерительный отопительный контур

4.4.1 Номинальный тепловой поток определяют одним из следующих способов:

а) измерением расхода воды, проходящей через отопительный прибор, и определением разности энтальпий воды на входе и выходе - водяной метод;

б) измерением электрической мощности, подводимой к отопительному контуру, - электрический метод.

4.4.2 Водяной метод (метод взвешивания)

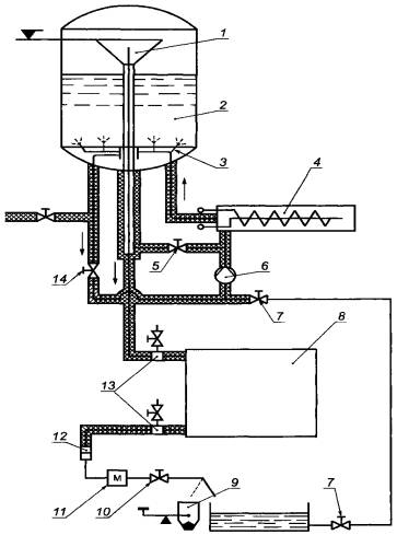
Схема установки приведена на рисунке 1. Большая часть воды циркулирует с помощью насоса 6 через электрический котел 4 и смешивающее устройство 3, расположенное в расходном баке постоянного уровня 2. Вода, используемая в испытании в качестве теплоносителя, поступает через перелив 1 в испытуемый отопительный прибор 8, а затем - в измерительный сосуд 9 или в нижний резервуар.

1 - перелив; 2 - бак постоянного уровня; 3 - смешивающее устройство; 4 - электрический котел; 5 - клапан; 6 - циркуляционный насос; 7 - клапан; 8 - испытуемый отопительный прибор; 9 - измерительный сосуд; 10 - клапан; 11 - теплообменник; 12 - фильтр; 13 - устройство для измерения температуры воды; 14 - клапан

Рисунок 1 - Схема установки при использовании водяного метода

Допускается проводить измерение расхода воды иным методом, достоверность которого подтверждена методом взвешивания, обеспечивающим погрешность измерения, не превышающую погрешность при взвешивании.

4.4.3 Электрический метод

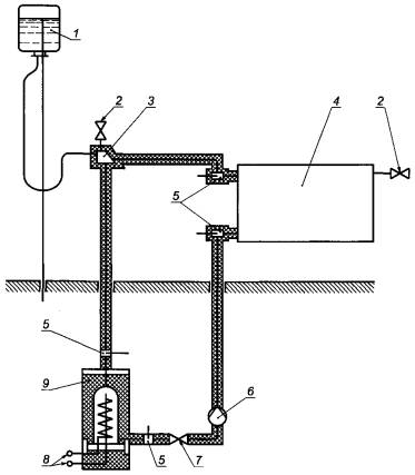
Схема установки приведена на рисунке 2. Вода с помощью насоса 6 циркулирует через электрический котел 9 и испытуемый отопительный прибор 4. Тепловой поток отопительного прибора определяют как разность подводимой электрической мощности (мощность котла плюс мощность насоса) и тепловых потерь. Тепловые потери в рабочем диапазоне температурного напора определяют с помощью короткой, хорошо изолированной перемычки, тепловые потери которой известны, устанавливаемой вместо испытуемого отопительного прибора.

1 - расширительный бак; 2 - клапан воздухоотводчика; 3 - воздухоотделитель; 4 - испытуемый отопительный прибор; 5 - точки измерения температуры воды; 6 - насос; 7 - клапан; 8 - клеммы для присоединения к источнику напряжения; 9 - электрический котел

Рисунок 2 - Схема установки при использовании электрического метода

Допускается устанавливать электрический котел в испытательную камеру, если его объем не более 3 % объема камеры; при этом суммарные тепловые потери котла и подводок к испытуемому прибору не должны быть более 250 Вт при температурном напоре 70°С.

4.4.4 Схема испытательного отопительного контура и конструкция его элементов должна обеспечивать полное удаление воздуха из него.

4.4.5 Все элементы испытательного отопительного контура, за исключением испытуемого отопительного прибора, должны иметь достаточную теплоизоляцию, обеспечивающую минимальные тепловые потери.

4.4.6 Диаметр подводок должен быть равен или быть больше диаметра присоединительных отверстий (штуцеров) испытуемого отопительного прибора.

4.4.7 Гильзы для измерения температуры воды на входе в испытуемый отопительный прибор и на выходе из него должны быть установлены на подводках на расстоянии от прибора не более 0,3 м.

4.4.8 Электрический котел и насос должны быть подключены к источнику стабилизированного напряжения с допускаемым отклонением не более 0,1 %.

4.5 Измерения

4.5.1 Температуру воздуха измеряют в двух точках на центральной вертикальной оси камеры на расстоянии 0,05 (t0,05) и 1,5 м (t1,5) от пола. Допускается проводить измерение температуры воздуха в одной точке на той же вертикальной оси на расстоянии 0,75 м (t0,75) от пола. Температурные датчики должны быть закрыты экранами. Суммарная погрешность измерения температуры, включающая в себя погрешность средств измерений и погрешность, вносимую радиационным теплообменом, должна быть менее 0,1°С.

4.5.2 Температуру воды измеряют в точках согласно 4.4.7. Температурные датчики должны быть размещены в устройствах, обеспечивающих измерение средней температуры потока воды. Максимальная погрешность измерения температуры воды не должна быть более 0,05°С.

4.5.3 Для измерения количества воды, собранной в измерительном сосуде (при использовании метода взвешивания), применяют устройства, обеспечивающие погрешность взвешивания не более 2 г на 10 кг измеряемой массы.

Время наполнения измерительного сосуда определяют с помощью таймера, электрически соединенного с устройством переключения потока воды между измерительным сосудом и нижним резервуаром. Время наполнения измерительного сосуда должно быть не менее 30 с. Погрешность измерения не должна быть более 0,02 с.

4.5.4 Электрическую мощность следует измерять с погрешностью не более 0,2 %.

4.5.5 Атмосферное давление В измеряют барометром с погрешностью не более 0,2 кПа.

4.5.6 Для контроля постоянства расхода воды рекомендуется устанавливать в измерительном отопительном контуре расходомер.

5 Подготовка к испытаниям

5.1 Выбор моделей для испытаний

5.1.1 Для определения паспортных значений номинального теплового потока семейство отопительных приборов следует разделить на отдельные типы (в семействе панельных радиаторов, например, могут быть типы одно- и многопанельные по глубине, с конвективной лентой и без нее, однако использующие одни и те же основные компоненты), а типы - на отдельные модели, отличающиеся характерными размерами.

Номинальный тепловой поток образцов для испытаний должен быть в диапазоне 800 - 1200 Вт, что обеспечивается выбором модели соответствующего размера. Если модель, соответствующая это­му условию, отсутствует, выбирают ближайшую по размеру.

Испытаниям подвергают 1 - 3 образца каждой модели. Конкретное число образцов для испытаний устанавливает испытательная лаборатория с учетом особенностей конструкции отопительных приборов данного семейства и технологии их изготовления на данном предприятии.

5.1.2 Выбор моделей для испытаний при определении номинального теплового потока типа отопительных приборов

5.1.2.1 Выбор моделей для испытаний, когда переменным характерным размером является высота, а поперечное сечение изменяемой части - одинаковое.

5.1.2.1.1 Если тип отопительных приборов включает в себя модели высотой не менее 300 мм, то модели для испытаний выбирают согласно 5.1.2.1.2.

Если тип отопительных приборов включает в себя также модели высотой менее 300 мм, то дополнительно подвергают испытаниям модель минимальной высоты.

Для типа, все модели которого имеют высоту менее 300 мм, испытаниям подвергают только две модели - минимальной и максимальной высоты.

5.1.2.1.2 Минимальное число моделей определяется диапазоном высот отопительных приборов конкретного типа и составляет:

3, если диапазон высот не более 1 м;

4, если диапазон высот свыше 1 м.

В указанное число моделей отопительных приборов обязательно должны входить модели минимальной и максимальной высоты; модели промежуточной высоты выбирают таким образом, чтобы интервалы между высотами были, по возможности, одинаковыми.

5.1.2.1.3 Для секционных радиаторов число секций должно быть не менее 5, а длина радиатора должна быть не менее 0,5 м.

5.1.2.2 Выбор моделей для испытаний, когда переменным характерным размером является иной размер отопительного прибора (кроме высоты)

Испытаниям подвергают не менее трех моделей одинаковой высоты, имеющих минимальный, средний и максимальный характерный размер.

5.2 Отбор и идентификация образцов для испытаний

5.2.1 После подачи заявки на проведение определительных испытаний отопительных приборов в испытательную лабораторию должны быть предоставлены образцы для испытаний и учтенный экземпляр конструкторских документов на продукцию, подлежащую испытаниям. Конструкторскую документацию предоставляет предприятие-изготовитель.

5.2.2 В конструкторской документации должны быть:

- указаны все размеры, требования и характеристики, влияющие на тепловой поток отопительного прибора, включая способы сварки или иные методы сборки;

- установлен тип материала, номинальная толщина стенки с предельно допустимыми отклонениями и допуски на нее для всех внутренних и наружных поверхностей;

- вид и параметры защитно-декоративного покрытия.

5.2.3 Образцы для приемо-сдаточных и периодических испытаний серийной продукции сотрудники испытательной лаборатории или ее уполномоченные представители отбирают на складе готовой продукции заявителя и маркируют. Обязательным условием отбора образцов серийной продукции является достоверная информация о том, что данные образцы изготовлены на данном предприятии по серийной технологии.

Образцы прототипов, макетов и др. направляет в испытательную лабораторию непосредственно предприятие-изготовитель.

Составляют акт отбора образцов, который должен быть подписан представителями предприятия-заявителя и испытательной лаборатории.

5.2.4 До начала тепловых испытаний испытательная лаборатория должна проверить подлинность полученных образцов и идентифицировать образцы по конструкторской и нормативной документации.

Лаборатория должна также определить массу и водяной объем (вместимость) образцов.

5.3 Установка образца отопительного прибора в испытательной камере

5.3.1 До установки образцов внутреннюю поверхность необходимо тщательно промыть водой.

5.3.2 При установке образца в испытательную камеру должно быть обеспечено следующее:

а) отопительный прибор должен быть расположен параллельно стене камеры, у которой он устанавливается;

б) расстояние между этой стеной камеры и ближайшей к ней теплоотдающей поверхностью прибора должно быть (30 ± 5) мм, если иное не указано в документации изготовителя;

в) расстояние от пола до низа прибора должно быть (100 ± 5) мм, если иное не указано в документации изготовителя;

г) прибор должен быть установлен так, чтобы исключалась возможность образования воздушных пробок в измерительном контуре;

д) на расстоянии менее 2 м перед отопительным прибором не должно быть никаких предметов, кроме малогабаритных измерительных приборов;

е) источники освещения должны быть расположены не ближе 2 м от отопительного прибора.

Если в соответствии с документацией изготовителя или из-за иной конструкции крепежных и соединительных устройств требуются условия установки, отличающиеся от указанных, то отопительный прибор следует установить так, как это описано в документации изготовителя с использованием, если необходимо, деталей из стандартного комплекта поставки.

5.3.3 После установки и заполнения водой проверяют герметичность измерительного отопительного контура. Наличие протечек не допускается.

6 Проведение испытаний

6.1 Для определения номинального теплового потока отопительного прибора проводят не менее трех последовательных испытаний при постоянном расходе воды при температурном напоре от 35°С до 75°С. Диапазон температурного напора разбивают на равные или как можно более близкие к равным интервалы. Расход воды во всех испытаниях должен быть (0,1 ± 0,01) кг/с.

Испытания по определению теплового потока проводят без охлаждения пола и стены камеры, противоположной отопительному прибору.

6.2 Измерения проводят в стационарном режиме как для измерительного отопительного контура, так и испытательной камеры. Параметры следует фиксировать через равные промежутки времени с помощью автоматической системы. Режим считают стационарным, когда в течение 30 мин результаты не менее чем 12 последовательных измерений имеют отклонения от среднего значения, не превышающие ±0,1°С для температуры воды и воздуха, ± 1 % - для расхода воды.

6.3 Температура воздуха в камере должна поддерживаться в пределах (20 ± 1,5)°С.

6.4 Разница между температурой воздуха в камере и средней температурой внутренней поверхности каждого из ее охлаждаемых ограждений не должна быть более 4°С.

6.5 В процессе испытаний допускается кратковременное (суммарно не более трех минут в течение часа) присутствие в камере специалиста, проводящего испытания.

6.6 Перечень измеряемых величин, необходимых для последующего вычисления номинального теплового потока, зависит от применяемого метода и включает в себя:

а) t1, t2, t0,05, t1,5, (или t0,75 вместо t0,05 и t1,5) и атмосферное давление В - при применении любого метода;

б) время наполнения измерительного сосуда τ, в секундах, и массу воды m, в килограммах, собранной в нем за время его наполнения, - при применении водяного метода;

в) электрическую мощность, потребляемую электрическим котлом Qк, в киловаттах, - при электрическом методе.

6.7 После установления стационарного режима по 6.2 измеряемые величины регистрируют в течение не менее 30 мин через равные промежутки времени, причем t1, t2, t0,05, t1,5, t0,75 фиксируют не менее 12 раз, Qк - не менее трех раз. Определяют средние арифметические значения результатов измерений, которые используют в качестве исходных при обработке результатов испытаний и записывают их в протокол испытаний.

6.8 При необходимости установления зависимости теплового потока от расхода воды испытания по 6.1-6.7 проводят при 3-5 значениях расхода воды в диапазоне от 0,01 кг/с до 0,15 кг/с, обязательно включающих минимальное и максимальное значения. Промежуточные значения определяют разбивкой разности логарифмов максимального и минимального расхода на соответствующее число равных интервалов.

6.9 Испытания по определению тепловых потерь Qпот, в киловаттах, при использовании электрического метода проводят по 6.1 - 6.7, причем число испытаний должно быть не менее шести. Эти испытания проводят при любом изменении теплоизоляции элементов измерительного отопительного контура, но не реже 1 раза в 3 мес.

7 Обработка и представление результатов испытаний

7.1 Водяной метод

Тепловой поток испытуемого отопительного прибора Qизм для всех проведенных испытаний определяют по формуле

Qизм = М(i1 - i2),

(1)

где

i1 - энтальпия воды при температуре t1, кДж/кг;

i2 - энтальпия воды при температуре t2. кДж/кг.

Энтальпию воды определяют по таблицам термодинамических свойств воды при давлении 120 кПа.

Расход воды через прибор М, кг/с, определяют исходя из общего расхода воды m, кг, за время наблюдения t, с, по формуле

(2)

7.2 Электрический метод

7.2.1 По результатам испытаний в соответствии с 6.9 методом наименьших квадратов устанавливают аппроксимирующую зависимость тепловых потерь Qпот от температурного напора.

7.2.2 Тепловой поток испытуемого отопительного прибора Qизм, Вт, для всех проведенных опытов определяют по формуле

Qизм = Qк - Qпот,

(3)

где

Qпот находят по зависимости, установленной по 7.2.1 для соответствующих значений температурного напора.

7.2.3 Расход воды определяют по формуле

(4)

7.3 Фактические значения теплового потока Q, Вт, во всех испытаниях определяют с учетом поправки на атмосферное давление по формуле

Q = Qизм[S + (1 - S)fВ],

(5)

где

S - доля теплоотдачи излучением, определяемая по таблице 1;

fВ - поправка на атмосферное давление, определяемая по графику (рисунок 3).

Таблица 1 - Доля теплоотдачи излучением S

Тип отопительных приборов

S

Вертикальные секционные радиаторы с двумя и более рядами колонок по глубине:

глубиной до 110 мм

глубиной св. 110 мм

0,30

0,25

Горизонтальные секционные радиаторы:

глубиной до 110 мм

глубиной св. 110 мм

0,27

0,25

Панельные радиаторы из панелей глубокого профиля

0,25

Радиаторы с вертикальными жалюзийными ребрами

0,20

Панельные радиаторы из одной панели без конвективной ленты (тип Р или 10)

0,45

Панельные радиаторы из одной панели с конвективной лентой с одной стороны (тип PC или 11)

0,3

Панельные радиаторы из одной панели с конвективной лентой с обеих сторон (тип СРС или 12)

0,25

Панельные радиаторы из двух панелей без конвективной ленты (тип РР или 20)

0,35

Панельные радиаторы из двух панелей с одной или двумя конвективными лентами (тип РСС, РССР или 21, 22)

0,20

Панельные радиаторы из двух панелей с тремя или двумя конвективными лентами или с одной конвективной лентой позади каждой панели (тип РССРС, РСРС)

0,15

Панельные радиаторы из трех и более панелей без конвективной ленты

0,25

Панельные радиаторы из трех и более панелей с двумя и более конвективными лентами

0,2

Конвекторы без кожуха

0,25

Конвекторы с кожухом

0,05

Рисунок 3 - Поправка на атмосферное давление fВ

7.4 Результаты испытаний представляют в виде степенных зависимостей от температурного напора, расхода воды и характерных размеров отопительного прибора.

7.4.1 По результатам испытаний отопительных приборов при номинальном расходе воды определяют зависимость теплового потока от температурного напора по формуле

Q = Q0 (Θ/Θ0)n.

(6)

7.4.2 По результатам испытаний (5.1.2.1) зависимость теплового потока от характерного размера и температурного напора определяют по формуле

Q = Q0Ha(Θ/Θ0)b + cH,

(7)

где

Н - характерный размер прибора, например высота.

Примечание - Для моделей отопительных приборов по 5.1.2.1 тепловой поток прямо пропорционален их длине или в случае вертикальных секционных радиаторов - числу секций.

7.4.3 По результатам испытаний отопительных приборов в диапазоне расходов воды (6.8) обобщенную зависимость теплового потока определяют по формуле

Q = Q0Ha(Θ/Θ0)b + cH (M/М0)m.

(8)

7.4.4 Значения коэффициентов и показателей степени в формулах (6) - (8) определяют методом наименьших квадратов, предварительно преобразовав степенные функции в линейные функции логарифмов аргументов. Зависимости считают действительными, если отклонение значений теплового потока, полученных в результате испытаний, от определенной зависимости ни в одной точке не превышает ±2 %. В противном случае проводят дополнительные испытания и проверяют эти точки на наличие ошибок. Если ошибки отсутствуют, то диапазон аргумента разбивают на несколько поддиапазонов, для каждого из которых устанавливают по тем же правилам действительную зависимость.

7.5 Испытательная лаборатория оформляет результаты испытаний в виде протокола по результатам измерений и расчетов, указанных в настоящем стандарте. Протокол испытаний должен содержать:

- полное наименование и адрес испытательной лаборатории;

- номер протокола и дату его составления;

- вид испытаний;

- указание о числе страниц и о возможности воспроизведения протокола только в полном объеме;

- наименование и адрес заявителя и предприятия-изготовителя, их торговую марку;

- указание о проведении испытаний в соответствии с требованиями настоящего стандарта и сведения о несоблюдении требований настоящего стандарта, если они имели место;

- краткое описание испытательной установки, метода и условий проведенных испытаний;

- наименование и краткое описание семейства моделей (типа);

- наименование, основные размеры и характеристики испытанных образцов;

- результаты проверки отклонений размеров образцов;

- средние арифметические значения массы и водного объема (вместимости) модели;

- таблицу со среднеарифметическими значениями измерений;

- зависимость теплового потока от соответствующих режима и геометрических параметров, а также сведения о максимальных отклонениях измеренного теплового потока от этой зависимости;

- значения номинального теплового потока для неиспытанных моделей (при определительных испытаниях типа или семейства моделей), полученные путем вычисления по установленным зависимостям;

- номинальный тепловой поток одной секции (для вертикальных секционных радиаторов).

Значения номинального теплового потока отопительного прибора округляют до 1 Вт, значения показателей степени, вычисленные по формулам (6)-(8), - до двух десятичных знаков после запятой.

Протокол испытаний подписывает руководитель испытательной лаборатории и лица, ответственные за проведение испытаний.

 

Ключевые слова: отопительный прибор, радиатор, конвектор, испытания, модель, тип, номинальный тепловой поток, температурный напор, испытательная камера, измерительный контур, водяной метод, электрический метод, допускаемые отклонения, результаты испытаний

 

 




ГОСТЫ, СТРОИТЕЛЬНЫЕ и ТЕХНИЧЕСКИЕ НОРМАТИВЫ.
Некоммерческая онлайн система, содержащая все Российские Госты, национальные Стандарты и нормативы.
В Системе содержится более 150000 файлов нормативно-технической документации, действующей на территории РФ.
Система предназначена для широкого круга инженерно-технических специалистов.

Рейтинг@Mail.ru Яндекс цитирования

Copyright © www.gostrf.com, 2008 - 2026