Крупнейшая бесплатная информационно-справочная система онлайн доступа к полному собранию технических нормативно-правовых актов РФ. Огромная база технических нормативов (более 150 тысяч документов) и полное собрание национальных стандартов, аутентичное официальной базе Госстандарта. GOSTRF.com - это более 1 Терабайта бесплатной технической информации для всех пользователей интернета. Все электронные копии представленных здесь документов могут распространяться без каких-либо ограничений. Поощряется распространение информации с этого сайта на любых других ресурсах. Каждый человек имеет право на неограниченный доступ к этим документам! Каждый человек имеет право на знание требований, изложенных в данных нормативно-правовых актах!

  


 

ТЕХНОЛОГИИ
РЕКОНСТРУКЦИИ ФУНДАМЕНТОВ

В процессе длительной эксплуатации зданий и сооружений происходят деформации конструкций. При строительстве зданий на слабых грунтах основными причинами деформаций являются неравномерные осадки, вызывающие разрушения самих фундаментов, стен, колонн, перекрытий.

Выбор технологии усиления оснований и фундаментов зависит от категории состояния здания, а также категории риска предполагаемых работ по консервации, реставрации либо реконструкции. Реконструкция может быть связана с увеличением нагрузок на существующие фундаменты за счет надстроек, замены деревянных перекрытий железобетонными, изменения технологии и пр. Основополагающими при выборе технологии усиления являются факторы, связанные с конструктивными особенностями здания, состоянием грунта в основании и оснащенностью организаций, осуществляющих работы. Разработанным на сегодня оборудованием можно выполнять работы по усилению оснований и фундаментов технологично, быстро, надежно, с минимальным использованием ручных операций.

Современные методы расчета впервые дают возможность смоделировать на основе геотехнической информации конкурентоспособные варианты технологии усиления оснований и фундаментов. Без должного расчетного обоснования нельзя отказываться от традиционных технологий. В комплексе с новыми, современными, они часто дают положительный эффект.

При сложных случаях реконструкции, как правило, используют несколько технологических приемов. Так, например, частичная традиционная перекладка фундаментов может выполняться в комплексе с инъекционными технологиями.

Во всех случаях предложенная технология должна обеспечить надежную длительную эксплуатацию здания, соответствующую данному при проектировании геотехническому прогнозу. Должны быть учтены вопросы экономики, экологии, безопасности ведения, работ. Экологический аспект в большей степени касается многочисленных химических способов искусственного улучшения свойств грунтов. Последствия вторжения в природную гидрогеологическую среду непредсказуемы. Так, например, усиление фундаментов Малого театра в Москве, выполненное ведущей европейской фирмой «Bauer» с использованием высоконапорных инъекций, решило проблему локальной стабилизации фундаментов здания. Однако объемные массивы укрепленного грунта стали играть роль плотин, нарушающих сложившийся гидрогеологический режим. Последствия таких воздействий трудно прогнозировать. Это может способствовать развитию карста, выносу тонкодисперсных частиц из-под фундаментов соседних зданий и т.д.

Рассмотрим и проанализируем традиционные и новые технологии усиления оснований и фундаментов, предварительно оценив причины, обусловливающие необходимость такого усиления. Согласно обобщенной классификации Б.И. Далматова это, прежде всего:

увеличение нагрузки на фундаменты;

разрушение кладки фундамента или снижение его гидроизолирующих свойств;

ухудшение условий устойчивости фундаментов либо грунтов в их основании;

увеличение деформативности грунтов;

непрерывное развитие недопустимых перемещений конструкций.

Анализируя данные сплошного обследования свыше 10 тысяч жилых зданий, результаты обследований, проведенных другими институтами, лабораториями, можно конкретизировать причины деформаций зданий Петербурга, расположив их по степени значимости:

неравномерное уплотнение слабых, заторфованных либо насыпных грунтов вследствие изменения гидрологического режима территории либо неравномерной загрузки этих грунтов;

нарушение структуры грунтов при откачке вод из подвалов, утечке их в коллекторы с выносом тонкодисперсных частиц (механическая суффозия), а также при динамических воздействиях транспорта, промышленной сейсмики;

повсеместное понижение горизонта подземных вод в центральной части города в связи со строительством инженерных сетей глубокого заложения, метро, что ведет к гниению деревянных лежней и свай;

локальное обводнение основания техногенными водами, изменяющими химический состав и температуру грунтовых вод и приводящими к гниению деревянных лежней, свай и оглеению грунта;

строительство рядом со старыми зданиями новых, соразмерных с существующими;

устройство заглубленных сооружений (гаражей, переходов);

аварии на инженерных сетях, в подвалах здания с выносом грунта в канализационную сеть (глубокие коллекторы);

промерзание и оттаивание грунтов в основании и пр.

Надо отметить, что в последние годы активизировался процесс гниения лежней и свай в Стокгольме, Хельсинки и Петербурге в связи с активным освоением подземного пространства. Строительство новых станций метро в самом центре города без предварительного укрепления фундаментов старых зданий привело к целой серии аварийных ситуаций.

В сложных инженерно-геологических условиях этих городов при большом количестве уникальных памятников необходим соответствующий арсенал технологических способов по усилению оснований и фундаментов.

В литературе рассматриваются, как правило, традиционные способы усиления. Однако последние 20 лет развиваются новые технологии, особенно интенсивно в ФРГ, Англии, Франции, Италии, Швеции, Финляндии. Причем ведущие фирмы специализируются не только на работах по усилению оснований и фундаментов, но и создают новые технологии, продают разработанное оборудование.

Традиционные способы усиления фундаментов

Ошибки при возведении фундаментов старых зданий, погрешности в оценке свойств грунтов приводили к необходимости усиления как самих фундаментов, так и грунтов

в их основании. Первые рекомендации по усилению фундаментов и восстановлению гидроизоляции, включая горизонтальную противокапиллярную, содержатся в Урочных положениях Рошефора (1889). Причем технологии усиления были традиционны и просты по решению, как и сами фундаменты. До середины XX в. изменялись лишь отдельные приемы, использовались новые строительные материалы (металл, бетон, железобетон).

Все традиционные технологии усиления основания и фундаментов сводились, в основном, к увеличению площади опирания существующих фундаментов и, соответственно, уменьшению интенсивности давления на грунты основания. Параллельно разрабатывались технологические приемы, связанные с искусственным улучшением свойств грунтов в основании путем введения различных химических реагентов.

Характерные приемы усиления, предложенные в 50-х гг. текущего столетия (рис. 6.1), вошли в последние нормали ЛенжилНИИпроекта.

Рис. 6.1. Традиционные технологии усиления фундаментов: а - прикладкой вперевязку; б, г - бетонными обоймами; в - железобетонными обоймами; 1 - стена; 2 - новая кладка вперевязку со старой; 3 - старая кладка; 4 - металлические штыри; 5 - бетонная обойма; 6 - железобетонная обойма; 7 - щебеночная подготовка; 8 - бетонные банкеты; 9 - рабочая балка; 10 - распределительная балка; 11 - зачеканка литым бетоном

Увеличение площади подошвы фундаментов достигалось преимущественно за счет создания железобетонных обойм либо банкетов (одно- и двухсторонних). В старое время для уширения фундаментов применяли прикладки, которые выполняли вперевязку с существующей кладкой (см. рис. 6.1, а). Опирание прикладок осуществлялось на различном уровне. Так, откопка старых фундаментов в Выборге, Новгороде, Пскове показала, что прикладки оставались в насыпном грунте и фактически не оказывали влияния на условия дальнейшей эксплуатации зданий. Они включались в работу лишь при больших деформациях после соответствующего уплотнения грунтов в основании уширенной части.

Рассмотрим традиционные варианты усиления фундаментов, связанные с увеличением площади подошвы, с позиций геотехники и технологичности применительно к слабым водонасыщенным грунтам.

Уширения подошвы фундамента без предварительной опрессовки малоэффективны. Как указывалось выше, они вступают в работу лишь при увеличении нагрузки, когда появляются дополнительные осадки. Это наглядно видно на рис. 6.2. К сожалению, дополнительные осадки могут оказаться предельными для старого здания, требующего усиления.

Рис. 6.2. Схема уширения подошвы фундамента (с эпюрами давления в плоскости подошвы) по Б.И. Долматову: 1 - существующий фундамент; 2 - конструкция уширения; 3 - арматура; 4 - эпюра давления до уширения; 5 - эпюра давления после уширения и догрузки фундамента

Усиление оснований и фундаментов, как правило, производится в том случае, когда грунты перегружены, т.е. под краями фундаментов имеются развитые зоны пластических деформаций. При вскрытии таких фундаментов (даже локальных) до уровня подошвы может произойти выпор грунта в траншею или шурф (рис. 6.3).

Основные приемы усилений оснований и фундаментов сводятся к следующему. Усиливаемый фундамент разбивают на отдельные захватки (участки) длиной 1,5 -2,0 м. На этих участках отрывают вручную траншеи шириной 1,2 - 2,0 м до подошвы. После этого в фундамент забивают металлические штыри (либо погружают в заранее пробитые отверстия через 50 см в шахматном порядке). Устанавливают опалубку и бетонируют уширение. После разработки траншеи бетонируют примыкающие к граням фундамента банкеты без омоноличивания их с кладкой существующих фундаментов. Затем в пробитые проемы устанавливают стальные балки, которые являются упорами для гидравлических домкратов. Эти домкраты обжимают грунты в основании устраиваемых уширений. После опрессовки домкраты извлекают и бетонируют банкет (см. рис. 6.1, г).

Инженером Н.И. Стробахиным предложен оригинальный метод опрессовки грунта основания под уширением. Он заключается в установке с двух сторон старого фундамента дополнительных железобетонных сборных блоков уширения. Нижнюю часть этих блоков стягивают анкерами из арматурной стали (рис. 6.4); верхнюю - раздвигают клиньями либо домкратами. Это дает возможность обжать неуплотненный грунт и включить его в работу под уширением. Оценивая достоинства самой идеи, отметим, что реализация предлагаемого приема связана с определенными сложностями, особенно в слабых грунтах.

Вскрытие такого грунта до подошвы фундамента опасно по причинам, указанным выше (см. рис. 6.3). Зона уплотнения может оказаться незначительной по сравнению с зонами расструктуривания грунта.

Рис. 6.3. Возможный выпор грунта при откопке траншеи до подошвы существующего фундамента (при усилении с использованием традиционных технологий)

Как показали наблюдения, значительная часть нагрузки будет передаваться через подошву старого фундамента. Это можно считать допустимым, так как уширения улучшают в целом условия передачи нагрузки, исключая выпор из-под подошвы. Однако выпор может произойти в процессе производства работ. Само появление возможного выпора должно прогнозироваться расчетом.

Рис. 6.4. Усиление фундаментов дополнительными блоками, обжимающими грунты оснований при их повороте (по Н.И. Страбахину): 1 - существующий фундамент; 2 - щель, раскрываемая при повороте блоков; 3 - железобетонный блок; 4 - анкерное крепление; 5 - отверстия для анкеров

Таким образом, даже при простейшем традиционном методе усиления проблемы технологии и геотехники тесно переплетаются.

Все рассмотренные технологические приемы усиления сложны и дорогостоящи, а главное, выполняются преимущественно вручную. Кроме того, в местах, где горизонт подземных вод достаточно высок, стоимость работ резко возрастает в связи с необходимостью откачки воды из траншей. Откачка должна вестись с таким условием, чтобы исключить нарушение естественного сложения грунтов в основании фундаментов реконструируемого здания. В противном случае работы по усилению только усугубят состояние здания в целом.

Весьма опасна для ветхих фундаментов заделка металлических штырей в тело фундамента. Автор этой главы был свидетелем, когда при усилении фундаментов больничного корпуса на Земледельческой ул. в Петербурге в процессе заделки штырей (1984) был разрушен вскрытый на большом участке фундамент, что привело к разборке 2-этажного капитального здания (вместо планируемой надстройки).

По целому ряду причин полностью неприемлем в условиях слабых грунтов рекомендуемый в литературе способ подведения новых фундаментов с увеличением глубины заложения подошвы. Такие способы нетехнологичны и могут быть реализованы лишь в достаточно прочных грунтах при низком горизонте подземных вод, где, как правило, не требуется усиление фундаментов.

В мировой практике существует богатый арсенал различных химических реагентов, способных закрепить грунт основания на достаточно длительный период. К достоинствам химических способов относятся: высокая степень механизации всех операций; возможность упрочнения грунтов до заданных проектом параметров в их естественном залегании; сравнительно малая трудоемкость, резкое сокращение ручного неквалифицированного труда по откопке траншей, а также сравнительно невысокая стоимость исходных материалов (возможность использования отходов производства). Нами в начале 60-х гг. для улучшения свойств грунтов основания широко использовался кубовый остаток - отход производства кремнийорганических соединений (этилсиликат натрия). Были укреплены грунты в основании фундаментов здания тяговой подстанции трамвая в г. Усолье-Сибирское Иркутской области. Деформации этого относительно легкого здания произошли из-за неравномерных поднятий силами морозного пучения и соответствующих просадок при оттаивании расструктуренного грунта. Фундаменты имели заглубление 1,2 м от планировочной отметки при промерзании грунтов в этом регионе до 2,7 - 3,0 м. С использованием этилсиликата натрия были стабилизированы аварийные осадки двух складских неотапливаемых построек и одного жилого здания на морозоопасных и просадочных грунтах.

Химическое закрепление грунтов позволяет успешно решать многие задачи реконструкции при достаточно сложных инженерно-геологических условиях. Приведем характерный пример из практики в Петербурге. В 1959 - 60 гг. для предотвращения аварийных осадок стен сценической части здания Мариинского театра было выполнено химическое закрепление грунтов в основании ленточных фундаментов. Закреплению подлежал песок пылеватый с коэффициентом фильтрации 0,5 - 1,5 м/сут. и пористостью n = 0,44. Толща песков составляла 3 - 4,5 м ниже подошвы фундамента. Закрепление производили по традиционной схеме с использованием карбамидной смолы плотностью 1,076 - 1,08 г/см3 и 3%-го раствора соляной кислоты.

Вначале нагнетали раствор соляной кислоты (400 л), затем - 50 л воды и после этого - раствор смолы (400 л). Нагнетание осуществлялось плунжерными насосами ПСБ-4 и НР-3 при давлении 0,3 МПа. Объем одной заходки, приходящейся на 1 инъектор, составил 0,6 - 0,7 м3.

В последние годы появились работы о возможности создания нетоксичных либо слаботоксичных составов для закрепления грунта с использованием карбамидных смол. Указывается, что При соблюдении предлагаемых технологически сложных приемов можно снизить канцерогенность этих смол. В связи с усиленным вниманием к охране окружающей среды необходимо более строго подходить ко всем рекомендуемым «универсальным» химическим реагентам. Так, несомненно вредное воздействие на окружающий незакрепленный грунт и подземные грунтовые воды широко рекомендуемых кислот и щелочей высокой концентрации. Специальными исследованиями В.Е. Соколовича во ВНИИОСПе была выявлена токсичность и экологическая несостоятельность целого ряда реагентов, рекламируемых для закрепления грунтов в условиях реконструкции, в частности, акриловых, фенольно-формальдегидных, фурановых, хромлигниновых и карбамидных смол с несвязным формальдегидом.

В рекомендациях по укреплению водонасыщенных слабых грунтов защелачиванием (Уфа, НИИпромстрой) предлагается нагнетать под давлением в слабые пылевато-глинистые грунты концентрированные растворы каустика. Предполагается, что под воздействием высококонцентрированного каустика произойдет частичное поверхностное растворение глинистых минералов с образованием щелочных алюмосиликатных гелей, способных надежно закреплять слабые грунты. Расчет указывает на чрезмерное количество опасного реагента на 1 м3 закрепляемого глинистого грунта (от 100 до 160 кг). Под небольшое общежитие в Нижнем Новгороде необходимо закачать 300 т каустической соды. Учитывая высокий уровень грунтовых вод, помимо всего прочего, можно ожидать подщелачивания вод. Сам автор Ф.Е. Волков отмечает, что «защелачивание глинистых грунтов сопровождается их активным химическим пучением, приводящим к сильным деформациям сооружений, возведенных на таких грунтах».

Представляется обоснованным отказ многих специалистов от использования большей части химических реагентов, за исключением традиционно применяемых силикатов (одно- и двухрастворная силикатизация).

Однорастворная силикатизация, предложенная НИИОСП в довоенные годы, заключается в том, что в грунт нагнетается предварительно подготовленная композиция из гелеобразующей основы (жидкого стекла) и отвердителя. При невысокой вязкости смеси она может нагнетаться даже в слабофильтрующие песчаные грунты (с коэффициентом фильтрации 1 - 5 м/сут.).

Сравнительно новая технология, разработанная В.Е. Соколовичем в начале 70-х гг. в развитие изложенной выше, была названа газовой силикатизацией. Сущность способа состоит в том, что в закрепляемый грунт первоначально (под давлением до 0,2 МПа) вводят углекислый газ с целью активации поверхности минеральных частиц, а затем раствор жидкого стекла с плотностью 1,19-1,30 г/см3 (в зависимости от водопроницаемости грунта). Газовая силикатизация, к сожалению, мало расширяет пределы применимости способа, ее применение ограничивается песчаными разностями с коэффициентом фильтрации до 0,5 м/сут.

Б.А. Ржанициным была предложена электросиликатизация (рис. 6.5), при которой одновременно с нагнетанием в слабофильтрующие грунты однорастворной гелеобразующей смеси на основе силиката натрия на инъекторы подается напряжение от источника постоянного тока. Расход электроэнергии составляет обычно до 30 кВт на 1 м3 закрепляемого грунта. Расход растверов такой же, как при обычной силикатизации. По данным Г.Н. Жинкина и В.Ф. Калганова, количество гелеобразующей смеси, введенной в супесь (kф = 0,01 м/сут) в течение 28 ч по способу электросиликатизации, в 2,5 раза больше, чем при обычной однородной силикатизации.

Вполне безопасным с точки зрения воздействия на окружающую среду, согласно В.Е. Соколовичу, является закрепление грунтов с использованием портландцемента. Как известно, затвердевший портландцемент состоит в основном из гидросиликата кальция, практически нерастворимого в воде. В силу этого представляются перспективными инъекционные и буросмесительные способы. Технология их применения основана на смешивании слабых грунтов с водоцементной суспензией. Автор исследовал это направление в комплексе со струйной технологией.

В материалах XII Международного конгресса по механике грунтов и фундаментостроению (Рио-де-Жанейро, 1989) как перспективные предложены смеси типа «Актизол», в состав которых входят: цемент, бентонит, силикатная и минеральная добавки. Считается наиболее эффективным применение таких смесей для укрепления аллювиальных (наносных) грунтов и устройства надежных противофильтрационных завес. Основными преимуществами смеси являются отсутствие загрязнения окружающей среды, возможность использования многих типов цемента, высокая подвижность при коротком времени схватывания.

Рис. 6.5. Электрохимическое закрепление слабых грунтов в основании фундаментов: 1-6 - номера захваток

Современные технологии усиления оснований и фундаментов

В мировой и отечественной практике в последние 40 лет широко применяются новые технологии, основанные в том числе на традиционных способах усиления оснований и фундаментов. Разрабатываются и принципиально новые технологии, в основу которых положена высокая степень механизации работ. При этом до минимума сводятся ручные операции.

В каждом конкретном случае могут быть подобраны технологические приемы в зависимости от определяющих факторов, в том числе от цели реконструкционных работ (спасение аварийно-деформированного здания, увеличение нагрузки на фундамент, возведение нового здания рядом со старым, прокладка глубоких инженерных сетей и строительство метро в условиях городской застройки). Здесь важными факторами являются: конструктивные особенности здания, состояние грунтов в основании, гидрогеологические характеристики площадки.

Проанализированные выше традиционные технологии, связанные с уширением подошвы фундаментов, на современном этапе могут быть трансформированы следующим образом. На уровне подвала устанавливают железобетонную плиту 2 (рис. 6.6), закрепленную в теле фундамента. Чтобы плита надежно включалась в работу, под нее можно инъецировать цементный раствор для опрессовки верхних слоев грунта. Такой способ усиления был успешно реализован авторами на жилом доме по Большеохтинскому пр., 31, слабые грунты в основании которого не обеспечивали восприятия нагрузок от существующих фундаментов. Подведение плиты позволило предотвратить развитие неравномерных осадок и сохранить здание.

Если несущей способности такой плиты недостаточно, в ней можно оставить отверстия и в них вдавить стыкованные многосекционные сваи 8 (см. рис. 6.6, б). Описанная идея была реализована нами в 1980 г. при усилении фундаментов печатного цеха в связи с установкой офсетной машины «Планета» на Петербургской фабрике «Детская книга». Плита возводилась внутри здания дореволюционной постройки с минимальной глубиной заложения. Это исключало большой объем земляных работ в стесненных условиях действующего производства. Наблюдения показали, что, несмотря на увеличение нагрузки и изменение вибрационного режима при работе новой машины, дополнительные осадки не проявлялись.

Рис. 6.6. Увеличение опорной площади с помощью монолитной железобетонной плиты: а - с опрессовкой грунта; б с подведением многосекционных свай вдавливания; 1 - существующий фундамент; 2 - железобетонная плита; 3 - труба для инъекции расширяющегося цементного раствора; 4 - цементный раствор между плитой и грунтом; 5 - сгнившие деревянные сваи; 6 - домкрат; 7 - опорное коромысло; 8 - вдавливаемые сваи

В ряде случаев опорную площадь фундаментов можно увеличить за счет сборных плит, устраиваемых в подвалах здания (рис. 6.7, а). При этом нагрузки на плиты передаются через нажимные рамные конструкции, упирающиеся в монолитное перекрытие. Недостатком технологии является многодельность работ в стесненных условиях подвалов. К тому же, как правило, кладка над обрезом фундамента бывает расструктуренной из-за постоянного увлажнения, связанного с поднятием культурного слоя. Такие мероприятия должны проводиться в комплексе с усилением опорной части кладки стены. Достоинством технологии является отсутствие необходимости вскрытия грунтов в основании фундаментов.

Предлагаемые рядом авторов выносные консоли и железобетонные плиты (рис. 6.7, б и в) интересны по постановке задачи, но также имеют недостатки:

ребристые плиты с анкерами в уровне отмостки подвержены воздействию нормальных сил морозного пучения, которые в условиях сурового климата могут достигать значительных величин;

при поднятии консолей разрушается кладка, а легкие здания могут получить неравномерные поднятия зимой и просадки летом;

в результате миграции влаги в процессе промерзания грунт значительно увеличивается в объеме («распучивается»), а после его оттаивания нарушается структура и резко снижаются основные прочностные и деформационные характеристики.

Рис. 6.7. Усовершенствованные методы усиления фундаментов на основе традиционных: а - устройство сборных либо монолитных рам в подвале; б, в - выносные консоли и плиты

Для подтверждения сказанного приведем примеры усиления производственных и жилых зданий в г. Железногорск-Илимский Иркутской области. Глубина сезонного промерзания достигает здесь 2,9 - 3,0 м. Грунты сильнопучинистые за счет высокого уровня подземных вод и наличия тонкодисперсных частиц (супеси и суглинки). Исследования, проведенные СПбГАСУ (ЛИСИ) в начале 60-х гг. при участии автора главы в период закладки города и горнорудного комбината, показали морозоопасность таких грунтов.

Выполненные в конце 80-х гг. усиления с использованием консольных ребристых плит оказались малоэффективными, без надежной защиты от промерзания грунтов они разрушились в первую же суровую зиму.

Нами разработана и реализована конструкция усиления буровыми сваями-шпорами с устройством железобетонной плиты (рис. 6.8).

Рис. 6.8. Устройство короткой сваи-шпоры и железобетонной плиты: 1 - стена; 2 - железобетонная плита; 3 - инъецированный цементный раствор; 4 - свая в кондукторе; 5 - уширенная часть сваи; 6 - деревянный лежень; 7 - бутовый фундамент

В данном случае железобетонную плиту можно включить в совместную работу с фундаментом и грунтами основания. Промерзание не влияет на конструкции, усиливаемые внутри здания. Подобная комплексная технология была использована при усилении фундаментов театрального здания на Петроградской стороне в Петербурге.

Чтобы исключить нежелательные для старых зданий и слабых грунтов динамические воздействия, практикуют погружение свай вдавливанием. Учитывая стесненность существующих помещений, часто используют многосекционные сваи. Уфимским НИИпромстроем разработаны нормативные документы, регламентирующие технологические особенности использования таких свай. В 80-х гг. на объектах реконструкции в нашей стране начали широко внедрять набивные и буронабивные сваи усиления. ЛенжилНИИпроектом с участием автора этой главы были разработаны альбомы и типовые нормали по технологии устройства указанных свай в условиях слабых грунтов.

Технологические особенности вдавливания многосекционных свай в виде выносных опор приведены на рис. 6.9, а.

Рис. 6.9. Усиление фундаментов с использованием свай: а - многосекционные сваи вдавливания с двухсторонней балкой-упором; б - вдавливание свай под стену или подошву фундамента; в - буроинъекционные сваи с контактным слоем

При использовании свай вдавливания необходимы надежные упоры. Несущую способность сваи можно регулировать в процессе вдавливания многосекционных элементов. Последние могут быть изготовлены из железобетона в виде секций со специальными стыками, позволяющими быстро выполнять соединение. Можно использовать металлические трубы, однако, при этом следует учитывать возможность их коррозии. В Петербурге эта проблема решалась двумя путями: с помощью установки арматурного каркаса и армирования всего объема трубы и посредством использования готовых трубобетонных элементов.

Вообще, сведения о коррозии самые противоречивые. По данным японских исследователей, широко использующих металл для усиления при реконструкции, коррозия металла не зависит от состава стали, грунтовых условий, наличия сварки. При самой современной антикоррозийной защите она составляет до 0,01 мм в год. Не вдаваясь в детали этой специальной проблемы, отметим лишь, что в условиях городской застройки при блуждающих токах, обилии солей в грунтовых водах создаются самые благоприятные предпосылки для коррозии металла.

В Финляндии, Швеции, Венгрии получили распространение многосекционные сваи типа «Мега». Они были широко использованы для усиления оснований и фундаментов в Хельсинки, Стокгольме, Будапеште, Турку. В ряде случаев сваи подводили непосредственно под фундамент. Такие сваи могут быть круглого и квадратного сечения, масса элемента - до 100 кг. Сваи изготавливали из железобетонных трубчатых элементов длиной до 100 см, что позволяло легко перемещать их перекатыванием по площадке. Последовательность работ по вдавливанию свай такова (см. рис. 6.9, б). Нижний первый элемент с заостренным наконечником (в слабых грунтах без заострения) погружается домкратом. В качестве упора служит распределительная железобетонная балка. Наращивание сборных стыкованных элементов производят до тех пор, пока острие не достигнет плотных грунтов, что обеспечит необходимую несущую способность системы в целом. Последним устанавливают головной элемент, площадь поперечного сечения которого много больше площади поперечного сечения сваи. После погружения сваи до проектной отметки под нагрузкой, превышающей расчетную в 1,5 - 1,8 раза, ее заклинивают специальными стойками. Стойки устанавливают между распределительной балкой и оголовком сваи, а полученное отверстие заполняют бетоном.

Фирмы «Похьявахвистус» и «Весто» в Финляндии и Швеции применяли вдавливаемые сваи из кольцевых железобетонных элементов. Стыковку осуществляли с помощью специального раструба; внутреннюю полость сваи после погружения бетонировали.

Недостатком технологических приемов усиления оснований и фундаментов вдавливаемыми сваями является большой объем земляных работ. При этом вскрытие шурфом (траншеей) перегруженного фундамента до его подошвы опасно, а в условиях слабых грунтов при высоком уровне подземных вод - малореально. Кроме этого, вдавливание свай может привести к расструктуриванию (перемятию) слабого глинистого грунта.

В последние 20 лет в практике усиления все шире используют буроинъекционные сваи, как вертикальные, так и наклонные. После специальных работ по опрессовке такие сваи имеют неровную поверхность, поэтому за рубежом они получили название «корневидных».

Основные преимущества корневидных свай:

Полностью исключаются ручные земляные работы. Бурение скважин ведется непосредственно через фундамент, не затрагивая коммуникаций, проходящих около зданий и в подвалах.

Используя малогабаритное оборудование, можно вести работы из подвала высотой 2,0 2,5 м. В случае необходимости работы можно вести с первого этажа здания.

Совершенно не изменяется внешний вид конструкции, что немаловажно при работе на памятниках архитектуры.

Можно вести работы на действующих предприятиях без остановки производственного процесса.

Затраты ручного труда на всех технологических операциях минимальные; способ экономичен, с низким расходом материалов.

Очевидна экологическая чистота способа по сравнению с химическими методами закрепления, что важно в условиях жесткого экологического контроля.

Отметим отдельные недостатки указанных свай:

Недостаточная изученность работы тонких свай в слабых грунтах.

Низкая несущая способность из-за небольшого диаметра и, соответственно, малой боковой поверхности и площади острия.

Сложность надежного закрепления головы сваи в случае ветхого фундамента, который в последующем работает как ростверк. Отсутствие соответствующего расчета.

Неопределенность в формировании необходимого диаметра при устройстве буроинъекционных свай в слабых грунтах.

Неизученность работы тонкой длинной сваи как элемента, армирующего толщу слабого грунта.

Невозможность устройства ствола сваи из тяжелого бетона (скважину малого диаметра можно заполнить только цементными растворами).

Несмотря на все отмеченные недостатки, в Италии, ФРГ, Франции, Швеции и России с помощью таких свай успешно усилены здания, включая аварийно-деформированные памятники, и даже возведены новые фундаменты в сложных условиях примыкания новых зданий к старым на слабых грунтах.

В Риме усилен собор св. Андрея, в Венеции - наклонная башня «Бурано» на острове с этим же названием. Успешно работают в этом направлении специализированные фирмы «Fondedile», «Bauer», «Keller», «Miver», «Fundex» и др.

В Москве усилены здания уникальных памятников -Третьяковской галереи, театра МХАТ, музея Андрея Рублева и др.

Рис. 6.10. Схема устройства стенки из свай с использованием струйной технологии (jet grouting): 1 - буровая скважина до плотных грунтов; 2 - инъектор; 3 - формируемая свая; 4 - компрессор; 5 - насос для подачи воды; 6 - емкости цемента и песка; 7 - растворонасос

В Петербурге выполнено оригинальное усиление оснований и фундаментов костела Св. Екатерины (Невский пр., 32) при общем количестве свай более 1200 шт. (крупнейший объект России по объемам усиления - см. рис. 6.16); Приоратского дворца в Гатчине. Эти работы выполнялись по проекту и при научном руководстве автора главы силами фирм «Геореконструкция» и «Геощит».

Во многих случаях, как отмечалось на международных геотехнических конгрессах в Неаполе (1996) и Гамбурге (1997), не существует реальной альтернативы применению буроинъекционных свай для спасения исторических зданий.

Анализируя материалы последних международных конференций, симпозиумов, а также отечественных публикаций и разработок, можно отметить в качестве перспективного направления метод «jet grouting» - высоконапорных инъекций твердеющего раствора в грунт. Этот метод, известный также под назанием «струйная технология», разработан в середине 70-х гг. в Японии и широко используется в ФРГ, Италии, Франции.

Технологическая последовательность работ по такому методу заключается в следующем (рис. 6.10): производят бурение скважины 1; в скважину погружают инъектор 2 со специальным калиброванным отверстием - соплом; подают под большим давлением (до 100 МПа) инъекционный раствор; осуществляют подъем инъектора с одновременным его вращением; формируют сваю нужного диаметра или стенку из свай.

Важным фактором укрепления массива грунта или усиления фундаментов с использованием струйной технологии является возможность поддержания больших давлений (до 80 - 100 МПа). Это предъявляет определенные требования к используемому оборудованию, подводящим трубопроводам и пр.

В качестве примера можно привести успешно реализованные проекты усиления оснований и фундаментов берегового устоя моста через Дунай (рис. 6.11) и памятника военной архитектуры в Вене (казармы Россауэр). Последний был построен в 1870 г. на деревянных сваях (см. рис. 6.11, б). Необходимость усиления определили 2 фактора: резкое увеличение нагрузок в связи с заменой перекрытий и гниение голов свай из-за понижения горизонта подземных вод. Разрабатывались конкурсные варианты усиления оснований и фундаментов. Была выбрана струйная технология. Фактически принятая технология удовлетворяла всем расчетным геотехническим и конструктивным требованиям:

исключение из работы деревянных свай со сгнившими головами;

передача давления от массивного 5-этажного здания с размерами в плане 136×275 м на прочные гравийно-щебенистые грунты;

исключение нарушений в работе коммуникаций, идущих вдоль здания с наружной стороны;

полная стабилизация всех осадок при увеличенной нагрузке.

Рис. 6.11. Усиление оснований зданий и сооружений с использованием струйной технологии: а - подпорная стена берегового устоя моста через Дунай; б - памятник военной архитектуры в Вене (казармы Россауэр); 1 - буровой станок SC-1 (Keller); 2 - существующий фундамент; 3 - деревянные сваи; 4 - укрепленные массивы грунта; 5 - ступени спуска; 6 - подпорная стена канала

Учитывая необычность такого рода усиления и дискуссионность отдельных технологических моментов, остановимся подробно на деталях, имеющих отношение к дальнейшему анализу.

Для инъекции растворов использовали буровую установку на гусеничном ходу SC-1 фирмы Keller (ФРГ). Габариты установки позволяли ей перемещаться через проем шириной 0,8 м и работать в подвальном помещении при высоте 2,8 м.

Основные преимущества струйной технологии в условиях слабых грунтов: возможность ведения работ в любых неблагоприятных грунтовых и в стесненных условиях; экологическая чистота всех технологических операций.

Однако струйная технология имеет и ряд недостатков, основными из которых являются: опасность локальных деформаций в процессе временного размыва грунтового массива под фундаментом до набора прочности; высокая стоимость и материалоемкость из-за больших объемов закрепления грунта; повышенная опасность при работе с высоким давлением.

В любом случае струйные технологии перспективны и успешно использовались нами в опытном порядке при усилении фундаментов цеха прессования сухого остатка очистных сооружений в пос. Ольгино Ленинградской области и стоматологической поликлиники в Невском районе Петербурга.

Весьма эффективным является использование технологии высоконапорных инъекций в комплексе с другими современными технологиями, примером чего является усиление дома № 6 на Конногвардейском бульваре, возле которого осуществлялось строительство подземного перехода (см. гл. 9).

Анализ показывает, что при обоснованном выборе и реализации современных технологий усиления оснований и фундаментов можно решать реконструкционные проблемы любой сложности.

Рис. 6.12. Пример сложной реконструкции звании на слабых грунтах: 1 - существующее здание на слабом грунте; 2 - стальная решетка; 3 - трубобетонные сваи; 4 - набивные сваи; 5 - подпорные стенки; б - грунтовые инъекционные анкера

В качестве примера относительно сложной реконструкции можно привести строительство нового 40-этажного административного здания в г. Бостон (США). Фактически оно встраивалось в существующую 10-11-этажную застройку исторических зданий конца прошлого века. При этом в уровне последних этажей старые здания соединялись с вновь возводимыми специальными галереями. Из-за наличия большого слоя слабых грунтов под существующими зданиями и необходимости устройства нескольких подпорных стенок возникло много геотехнических проблем. Чтобы разрешить эти проблемы и свести до минимума возможную разность осадок зданий, были выполнены следующие работы (рис. 6.12):

грунт между зданиями армировался решеткой из набивных свай, объединенных ростверком;

для укрепления склона использованы 2 ряда железобетонных подпорных стен и свайные фундаменты из 14-метровых трубчатых свай, заходящих своим острием в плотные ледниковые глины;

фундамент самого здания был выполнен в виде мощной железобетонной плиты толщиной 1,5 м, по контурам которой устроено 400 железобетонных свай.

Здесь успешно использовано несколько технологических приемов, включая усиление оснований и анкеровку подпорных стен инъекционными анкерами.

Таким образом, в каждом конкретном случае возникают многоплановые инженерные геотехнические задачи, решение которых требует исчерпывающей информации о грунтах, изменениях их свойств в процессе длительной эксплуатации, в процессе ведения работ по устройству вблизи них новых фундаментов либо подземных сооружений. Вопросы усиления оснований и фундаментов должны решаться в комплексе с вопросами усиления надземных конструкций. Примером может служить усиление памятника архитектуры в Риме (рис. 6.13). Здесь, наряду с усилением фундаментов корневидными сваями, выполнено усиление основных надземных конструкций, включая кирпичную кладку стен. Необходимо учитывать, что анкеровка кирпичных стен металлическими стержнями со временем может оказаться неэффективной и опасной из-за коррозии металла, в результате которой происходит увеличение объема корродирующего металла и, следовательно, нарушение целостности укрепляемых конструкций.

Однако основным источником наиболее существенных деформаций остаются неправильный учет свойств грунтов или недоучет возможных последствий, связанных с их расструктуриванием в процессе ведения реконструкционных работ.

Рис. 6.13. Комплексное усиление несущих конструкций, включая фундаменты (памятники архитектуры в Риме)

Буроинъекционные сваи усиления

Материалы симпозиума по спасению исторических памятников мировой цивилизации (Неаполь, 1996) свидетельствуют об эффективном использовании инъекционных технологий, в том числе в условиях слабых грунтов. К настоящему времени буроинъекционными сваями усилены более тысячи значимых памятников архитектуры. В ряде случаев проводились инъецирование и армирование кирпичной кладки спасаемых зданий (см. рис. 6.13). В результате было решено несколько важных реконструкционных задач:

восстановлена прочность старой кирпичной кладки и улучшены условия статической работы здания за счет повышения жесткости;

улучшены условия передачи нагрузки на грунты основания;

восстановлена противокапиллярная изоляция над фундаментом в комплексе с усилением опорной части стены.

Однако при значительной толще слабого грунта (в Петербурге ее мощность достигает 25 - 30 м) эффективность и экономичность тонких длинных буроинъекционных свай может оказаться дискуссионной. Численное моделирование является единственным инструментом, позволяющим дать объективную оценку целесообразности предлагаемых реконструкционных мер с использованием свай усиления.

Как показали численные исследования, подробно изложенные в гл. 7, и опыт реконструкции фундаментов, при использовании буроинъекционных свай необходимо учитывать следующие обстоятельства:

1. Угол наклона свай незначительно влияет на величину осадки усиленной конструкции, поэтому нет необходимости его увеличивать, что упрощает ведение работ по их устройству.

2. Сваи должны быть надежно закреплены в фундаменте, для чего состоящий из отдельных бутовых камней на растворе старый фундамент должен быть усилен инъекциями цементного раствора. Фундамент фактически превращается в ростверк и должен по прочности соответствовать своему назначению. Если прочность фундамента недостаточна либо заделка сваи в тело фундамента осуществлена менее чем на 5 ее диаметров, необходимо создать дополнительную конструкцию на контакте «фундамент-грунт», так называемый «контактный слой». Для этого имеются достаточно простые технологические приемы.

3. Расчетом установлено, что увеличение наклона значительно повышает внутренние усилия в сваях. Это обстоятельство в зависимости от основных прочностных и деформационных свойств грунта может быть учтено расчетом и, соответственно, специальной системой объемного армирования. В расчете буроинъекционная свая рассматривается как железобетонная конструкция, поэтому при ее изготовлении, помимо вяжущего цемента, необходим инертный материал. Учитывая технологические особенности, в качестве инертного материала можно использовать песок. Представляется, что цементные сваи могут применяться при небольших углах наклона для временных усилений и анкерных временных креплений (здание в зоне строительства подземных выработок и пр.).

4. При использовании арматурных каркасов должны быть запроектированы и выполнены равнопрочные стыки. Возможно включение в конструкцию свай прочных труб, металлических профилей, специального стекла. Последний вариант используется в Италии и требует апробации в условиях работы сваи в слабых грунтах. В любом случае для буро-инъекционных свай, устраиваемых в слабых грунтах, армирование должно производиться в зависимости от фактически действующих моментов в различных сечениях. Так, типовые конструктивные решения и технологические приемы армирования и бетонирования буро-инъекционных свай, разработанные для относительно прочных грунтов Москвы и Киева, в условиях слабых грунтов Петербурга оказались неэффективными, а в отдельных случаях - опасными.

5. Технология изготовления буроинъекционных свай, обеспечивающая в условиях слабых грунтов необходимые расчетные прочностные параметры, достаточна сложна и требует применения комплекса специального оборудования. Чтобы разработать такой комплекс, необходимо проанализировать основные достоинства и недостатки буроинъекционной технологии. В сопоставлении с другими технологиями усиления фундаментов они рассматривалось ранее. Остановимся лишь на основных реконструкционных случаях, когда буроинъекционные сваи и инъекционные технологии успешно использовались в отечественной и зарубежной практике:

усиление оснований и фундаментов при необходимости стабилизации незатухающих осадок;

усиление различных конструктивных элементов, включая фундаменты, кирпичную кладку несущих стен, сводов, перекрытий;

изменение конструктивной схемы здания с перераспределением нагрузок на грунты либо догружение фундаментов;

устройство отдельностоящих и ленточных свайных фундаментов в зоне примыкания к существующему зданию в случаях, когда, например, опасна динамика от погружения готовых свай;

устройство разделительных непрерывных стен между зданиями;

устройство стен неглубоких подземных сооружений, углубление подвалов;

анкеровка подпорных стен, в том числе выполненных методом «стена в грунте»;

армирование грунта для улучшения его свойств и повышения несущей способности массива;

превентивное усиление существующих зданий.

Столь широкая применимость метода для усиления зданий и успешная его реализация в условиях слабых грунтов Петербурга, Архангельска, Вологды и других городов потребовала совершенствования технологии, направленного на повышение несущей способности свай усиления в условиях слабых грунтов.

Технологический цикл устройства буроинъекционных свай включает:

бурение кладки фундамента, установку трубы-кондуктора и ее тампонирование;

бурение скважины до проектной отметки под защитой обсадной трубы или под глинистым раствором;

заполнение скважины твердеющим раствором;

установку арматурного каркаса;

опрессовку заполненной раствором скважины давлением 0,2 - 0,4 МПа.

Если прочность фундамента недостаточна, проводят инъекцию цементного раствора в его кладку. Буроинъекционный комплекс с малогабаритным буровым станком разработан при участии автора настоящей главы (рис. 6.14). Бурение в пределах фундамента ведется через кондуктор, являющийся направляющей трубой. Кондуктор обеспечивает надежность опрессовки, предотвращая выпор из скважины цементного раствора. Арматурный каркас или одиночные стержни опускают в скважины секциями, равнопрочный стык которых выполняют с помощью сварки, что существенно осложняет работу.

Важным этапом формирования тела буроинъекционной сваи, устраиваемой в слабых грунтах под защитой глинистого раствора, является опрессовка. От давления и времени опрессовки зависят в последующем сопротивление трению по боковой поверхности сваи и, соответственно, ее несущая способность. Происходит частичная цементация грунта на контакте свая - грунт. В слабых грунтах при опрессовке под давлением 0,2 - 0,4 МПа грунт вокруг сваи уплотняется, сечение сваи увеличивается, имеющиеся полости заполняются раствором.

Рис. 6.14. Буроинъекционныи комплекс в процессе изготовления сваи: 1 - емкость для цементного раствора; 2 - глиномешалка; 3 - мерный бак; 4 - растворный насос; 5 - промывочный насос; б - нагнетательный трубопровод; 7 - емкость для глиняного раствора; 8 - шламоотделитель; 9 - буровой станок; 10 - кондуктор; 11 - буровой инструмент; 12 - бурильная труба

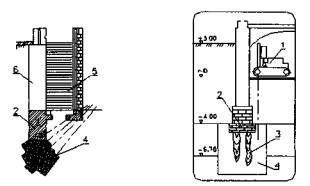
На рис. 6.15 приводятся данные натурных испытаний буроинъекционных свай диаметром 132 мм, длиной 16 м, прорезающих толщу слабых грунтов.

Инженерно-геологические условия опытной площадки приведены в табл. 7.1. Как видно из этих данных, сваи такой длины опираются на плотные глинистые грунты твердой консистенции. Без опрессовки несущая способность сваи незначительна (кривая 1 на рис. 6.15). Опрессовка избыточным давлением повышает несущую способность свай в слабых грунтах (кривые 2 - 4 на рис. 6.15).

В Архангельске при ведении работ по усилению старинного здания в заторфованных грунтах были вскрыты буроинъекционные сваи. Их фактический диаметр составил 290 - 300 мм при исходном диаметре бурения 151 мм. Таким образом, с помощью режима опрессовки и подбора цементного или песчано-цементного раствора можно формировать несущую способность свай в слабых заторфованных грунтах. При выполнении работ по усилению оснований и фундаментов буроинъекционными сваями использовались отдельные технологические приемы, способствующие улучшению совместной работы системы «фундамент - свая усиления - грунт основания». Так, при усилении отдельностоящих опор под колонны костела Св. Екатерины в Петербурге (Невский пр., 32) после инъекции кладки фундамента производили повторную инъекцию контактного слоя, которая позволила выполнить консервацию гниющих деревянных лежней и способствовала более эффективной работе наклонных свай усиления. Контрольное бурение скважин небольшим диаметром через тело фундамента позволило оконтурить созданный контактный слой бетона между подошвой фундамента и грунтом. Толщина этого слоя достигла 500 мм. Все вышеуказанные технологические операции выполнялись с помощью отечественного бурового оборудования.

По первоначальному проекту усиление оснований и фундаментов костела Св. Екатерины предполагалось осуществить с помощью свай длиной 26 м, прорезающих толщу слабых грунтов и опирающихся на прочные моренные грунты. Стоимость работ в данном случае составила бы 4,86 млн. американских долларов.

Рис. 6.15. График испытаний буроинъекционных свай на опытной площадке: 1 - без опрессовки; 2,3 - с опрессовкой, соответственно, 0,2 и 0,4 МПа; 4 - с опрессовкой высоковольтными разрядами; 5 - двух наклонных свай

Численное моделирование различных вариантов усиления позволило остановиться на коротких сваях, установленных в виде веера. Благодаря им были улучшены условия передачи нагрузки на относительно прочную толщу песчаных грунтов за счет ее армирования железобетонными стержнями (тонкими буроинъекционными сваями).

Своеобразной проверкой эффективности рекомендуемого комплексного подхода стал необычный объект - кирпичная арка Штакеншнейдера (Петербург, наб. р. Мойки, 11), деформированная в процессе строительства 2-этажного подземного гаража. Скорость осадки фундаментов на момент заключения контракта с зарубежной фирмой, ведущей подрядные работы, составила 4,5 мм в сутки. Выполнение всего объема усиления, включающего цикл подготовительных, проектных работ и собственно выполнение усиления, при круглосуточной работе 3 буровых станков заняло 6 суток. Обследование и моделирование вариантов усиления проводили по изложенной выше методике. Таким образом, эта методика приемлема и для аварийных случаев, когда осадки развиваются лавинообразно.

В последние годы отдельные фирмы Москвы и Петербурга применяют буроинъекционные вертикальные сваи диаметром 250-300 мм для устройства фундаментов новых зданий, встраиваемых между существующими при уплотнении городской застройки. Такие сваи при длине свыше 15 м представляют определенную опасность для нормальной эксплуатации встроек, связанную с возможностью нарушения вертикальности буровых скважин и сплошности ствола сваи. Сваи необходимо армировать на всю глубину, что осложняет процесс их изготовления по буроинъекционной технологии. В любом случае применимость сравнительно гибких длинных свай подлежит проверке специальными расчетами, которые предлагаются ниже. Эти сваи должны быть также подвергнуты обязательной проверке на сплошность ствола.

В любом случае геотехническое моделирование таких ответственных конструкций, как длинные буроинъекционные сваи, в толще слабых грунтов является необходимым этапом проектирования реконструкции этих свай. Для этих целей может быть успешно реализована предлагаемая методика численных исследований.

Лукьянчиков Дмитрий, эксперт СССТ

Журнал «Ценообразование и нормирование в строительстве», 2010 г., № 5

 




ГОСТЫ, СТРОИТЕЛЬНЫЕ и ТЕХНИЧЕСКИЕ НОРМАТИВЫ.
Некоммерческая онлайн система, содержащая все Российские Госты, национальные Стандарты и нормативы.
В Системе содержится более 150000 файлов нормативно-технической документации, действующей на территории РФ.
Система предназначена для широкого круга инженерно-технических специалистов.

Рейтинг@Mail.ru Яндекс цитирования

Copyright © www.gostrf.com, 2008 - 2026