Крупнейшая бесплатная информационно-справочная система онлайн доступа к полному собранию технических нормативно-правовых актов РФ. Огромная база технических нормативов (более 150 тысяч документов) и полное собрание национальных стандартов, аутентичное официальной базе Госстандарта. GOSTRF.com - это более 1 Терабайта бесплатной технической информации для всех пользователей интернета. Все электронные копии представленных здесь документов могут распространяться без каких-либо ограничений. Поощряется распространение информации с этого сайта на любых других ресурсах. Каждый человек имеет право на неограниченный доступ к этим документам! Каждый человек имеет право на знание требований, изложенных в данных нормативно-правовых актах!

  


 

УСТРОЙСТВО АЭРОДРОМНОГО ЩЕБЕНОЧНОГО
ОСНОВАНИЯ С ПРИМЕНЕНИЕМ
ПРОФИЛИРОВЩИКА ДС-97

СОДЕРЖАНИЕ

I. ОБЛАСТЬ ПРИМЕНЕНИЯ

II. УКАЗАНИЯ ПО ТЕХНОЛОГИИ ПРОИЗВОДСТВЕННОГО ПРОЦЕССА

III. УКАЗАНИЯ ПО ОРГАНИЗАЦИИ ТРУДА

IV. ГРАФИК ВЫПОЛНЕНИЯ ПРОИЗВОДСТВЕННОГО ПРОЦЕССА ПО УСТРОЙСТВУ 1000 м (8500 м2) ЩЕБЕНОЧНОГО ОСНОВАНИЯ

V. КАЛЬКУЛЯЦИЯ ЗАТРАТ ТРУДА НА УСТРОЙСТВО ЩЕБЕНОЧНОГО ОСНОВАНИЯ АЭРОДРОМОВ С ПРИМЕНЕНИЕМ ПРОФИЛИРОВЩИКА ДС-97 (на 1000 м ряда шириной 8,5 м)

VI. ОСНОВНЫЕ ТЕХНИКО-ЭКОНОМИЧЕСКИЕ ПОКАЗАТЕЛИ

VII. МАТЕРИАЛЬНО-ТЕХНИЧЕСКИЕ РЕСУРСЫ

VIII. КАРТА ТЕХНОЛОГИИ ОПЕРАЦИОННОГО КОНТРОЛЯ КАЧЕСТВА РАБОТ ПРИ УСТРОЙСТВЕ ЩЕБЕНОЧНОГО ОСНОВАНИЯ АЭРОДРОМОВ С ПРИМЕНЕНИЕМ ПРОФИЛИРОВЩИКА ДС-97

I. ОБЛАСТЬ ПРИМЕНЕНИЯ

Технологическая карта предназначена для использования при разработке проекта производства работ и организации работ и труда на объектах строительства.

Перед устройством щебеночного основания грунтовое основание (или подстилающий слой, если он предусмотрен проектом) должно быть спланировано до необходимых отметок профилировщиком, укатано катками, освидетельствовано и принято представителем технической инспекции.

На всех участках работ должен быть обеспечен надежный водоотвод. В первую очередь следует обеспечить водоотводом участки, подтапливаемые грунтовыми водами. Такие участки следует обязательно осушить, например, путем устройства сети временных водоотводных канав, так как на сырых участках возможны просадки гусениц профилировщика и снижение точности его работы.

На одном из смежных рядов должна быть натянута копирная струна в соответствии с указаниями технологической карты «Установка копирных струн для работы машин комплекта ДС-100 на строительстве аэродромных оснований (покрытий)», М., Оргтрансстрой, 1978.

В технологической карте приняты следующие условия:

- щебеночное основание толщиной 15 см и шириной 8,5 м;

- способ устройства основания - маячными рядами с последующим заполнением щебнем промежуточных (смежных) рядов;

- поверхность щебеночного основания обрабатывается битумной эмульсией (или горячим битумом);

- состав комплексной бригады рабочих - 15 чел.;

- выработка бригады в смену - 1000 м ряда (8500 м2).

При изменении условий производства работ, принятых в настоящей технологической карте, должна быть проведена корректировка и привязка карты к новым условиям работы.

II. УКАЗАНИЯ ПО ТЕХНОЛОГИИ ПРОИЗВОДСТВЕННОГО ПРОЦЕССА

Техническая характеристика профилировщика ДС-97 (рис. 1)

Тип машины

самоходная на четырех гусеничных тележках с автоматической следящей системой для контроля курса и уровня

Мощность двигателя, л.с.

425

Число оборотов в минуту

2000

Рабочая скорость, м/мин

0 - 36

Транспортная скорость, м/мин

0 - 72

Масса, кг

40600

Ширина обрабатываемой полосы, м

8,5

Продольная база, м

9,15

Радиус поворота, м

45,5

Габаритные размеры, мм:

 

длина

12170

ширина

8880

Рабочие органы:

 

число фрез

2

число оборотов фрезы в минуту до

75

число шнеков

2

число оборотов шнека в минуту до

75

число отвалов

4

высота подъема и опускания фрез, шнеков, отвалов, мм

250

максимальное рабочее давление, кгс/см2

320

источник питания

аккумуляторные батареи 6 ТСТ 182 ЭМС

напряжение тока питания электросистемы, В

24

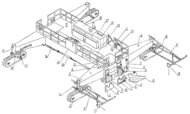
Рис. 1. Общий вид профилировщика ДС-97:

1 - датчик уровня с копиром; 2 - укосина; 3 - натяжное колесо гусеницы; 4 - гидроцилиндр подъема ноги; 5 - нога рамы; 6 - погрузочный гидроцилиндр; 7 - узел привода фрезы; 8 - фреза; 9 - дверца фрезы; 10 - отвал фрезы; 11 - узел привода шнека; 12 - шнек; 13 - заслонка; 14 - отвал шнека; 15 - гидроцилиндр заслонки; 16 - удлинитель отвала; 17 - гидроцилиндр отвала; 18 - проушина для подъема ноги; 19 - кожух привода гусеницы; 20 - датчик направления с копиром; 21 - регулировочная рукоятка датчика уровня; 22 - регулировочный винт фрезы; 23 - стопорный винт отвала шнека; 24 - механический индикатор уровня; 25 - решетка платформы; 26 - топливный бак; 27 - бак рабочей жидкости; 28 - силовая установка; 29 - пульт управления; 30 - гидроцилиндр механизма поворота; 31 - стойка ноги; 32 - вилка стойки; 33 - гидромотор привода гусеницы; 34 - тяга механизма поворота

Профилировщик является универсальной автоматизированной машиной, предназначенной для профилировки земляного полотна, распределения и планировки грунтов, укрепленных вяжущими при устройстве оснований, а также для чистовой (прецизионной) профилировки этих оснований.

В результате некоторого переоборудования и замены рабочих органов профилировщик может быть превращен в бетоноукладчик со скользящими формами.

Двигатель мощностью 425 л.с. приводит в движение пять гидронасосов для привода гидромоторов гусениц и вращающихся рабочих органов, а также гидроцилиндров поворота гусениц, подъема главной рамы, подъема рабочих органов, погрузочных гидроцилиндров и др.

Профилировщик оборудован автоматической системой выдерживания курса и стабилизации уровня. При работе на автоматическом режиме машина точно выдерживает направление и уровень, заданные копирной струной.

Профилировщик имеет системы поперечной стабилизации уровня, благодаря чему он может работать при наличии только одной струны.

К главной раме подвешены следующие четыре рабочих органа, состоящие из двух частей каждый:

- фреза со стальными зубьями для рыхления грунта и геликоидными лопастями шнека для перемещения и распределения материалов;

- отвал фрезы с грейдерными ножами для срезки и предварительной планировки материалов;

- шнек, предназначенный для равномерного распределения материалов и перемещения излишков их в различных направлениях;

- отвал шнека с грейдерными ножами для окончательной планировки основания.

В середине отвала шнека имеется окно для переброски материалов на питатель конвейера - перегружателя или на грунтовое основание.

Длина каждой половины рабочего органа составляет 4,2 м. К отвалу шнека при необходимости навешивают удлинители.

Фреза и шнек приводятся в движение автономными гидромоторами (по два гидромотора на каждый рабочий орган) с регулируемым числом оборотов и реверсивом.

Все рабочие органы поднимаются и опускаются гидроцилиндрами (по три гидроцилиндра на каждый рабочий орган).

Фреза и отвалы для точной установки по высоте имеют установочные (регулировочные) винты.

При устройстве щебеночного основания выполняют следующие работы (рис. 2):

- завоз щебня, разравнивание его и планировку автогрейдером;

- подкатку щебня катками;

- планировку щебня профилировщиком;

- уплотнение щебня катками;

- обработку поверхности щебеночного слоя битумной эмульсией.

Рис. 2. Технологическая схема потока по устройству щебеночного основания:

1 - автомобиль - самосвал; 2 - бульдозер ДЗ-18; 3 - автогрейдер ДЗ-31; 4 - каток ДУ-50; 5 - профилировщик ДС-97; 6 - навесной конвейер - перегружатель ДС-98; 7 - катки ДУ-1 или ДУ-18; 8 - автомобиль - самосвал; 9 - каток ДУ-31; 10 - автогудронатор; 11 - копирная струна

Завоз, разравнивание и планировка щебня

Щебень завозят автомобилями - самосвалами и по расчету выгружают на грунтовое основание или на песчаный подстилающий слой. При этом предусматривают запас на уплотнение в размере 30 - 35 %.

Разравнивают щебень бульдозером на ширину 9,5 м и планируют автогрейдером.

Подкатка щебня катками

Целью подкатки щебня является создание прочного основания для последующей работы профилировщика и других машин.

Подкатку щебня выполняют легкими катками массой 5 - 6 т за 5 - 6 проходов катка по одному следу. При этом скорость движения катков должна быть минимальной - 1,5 - 2 км/ч.

Подкатку заканчивают после достижения достаточного обжатия слоя щебня, признаком которого является прекращение образования волны перед вальцами катка и прекращение шевеления щебенок. При движении катка щебенки не перемещаются, а остаются на месте.

При применении щебня слабых пород производят поливку щебня водой. Норма расхода воды - 8 - 10 л/м2.

Планировка щебня профилировщиком

Профилировщик устанавливают в начале участка и выполняют следующее:

- проверяют и регулируют механические индикаторы. Рабочие органы (фрезу, шнек и отвалы) поднимают в верхнее положение так, чтобы нижние их грани оказались в одном уровне с низом боковых стенок главной рамы. В таком положении рабочих органов все механические индикаторы должны показывать «0». Если какой-либо индикатор не показывает такого отсчета, то его стрелку устанавливают на «0»;

- проверяют ровность отвала шнека. Подъемными гидроцилиндрами опускают отвал и натянутой струной проверяют ровность грейдерных ножей;

- ориентируют профилировщик относительно продольной оси ряда. По оси ряда впереди и сзади профилировщика забивают колышки и натягивают между ними струну. Машину устанавливают так, чтобы линия середины рабочих органов совпала с линией струны;

- устраняют перекос главной рамы и главную раму ориентируют относительно поперечного уклона. Впереди машины натягивают шнур (отрезок струны) между копирными струнами и замеряют расстояния от углов главной рамы до шнура (справа и слева). Если это расстояние не одинаково, то с помощью гидроцилиндров ног это расстояние выравнивают. Такую же операцию выполняют сзади машины. Установка главной рамы относительно поперечного уклона производится также по системе поперечной стабилизации уровня;

- устанавливают датчики стабилизации уровня и выдерживания курса на выдвижные консоли и соединяют разъемы кабелей;

- устанавливают включатель панели ручного управления подъема в положение «включение». Ставят рулевой переключатель в положение «вперед», переключатели копирных стержней в положение «включение»;

- регулируют положение подъемных винтов датчиков так, чтобы на шкале появился отсчет 10 - 15 см;

- приводят в соприкосновение со струной копирные стержни датчиков уровня. Главная рама при этом установится таким образом, что переключатели датчиков займут нулевое положение. В это время сигнальные лампы подъема главной рамы погаснут;

- приводят в соприкосновение со струной копирные стержни датчиков выдерживания курса. При этом сигнальные лампы рулевого управления погаснут.

Профилировщик устанавливают на струну, а его рабочие органы в положение, необходимое для выполнения работы по профилировке щебня (рис. 3):

отвал шнека - на проектную отметку щебеночного слоя плюс запас на уплотнение щебня катками;

шнек - на 1 - 2 см выше режущей кромки отвала шнека;

фрезу - на 0,5 - 1 см выше режущей кромки отвала шнека.

В таком положении рабочих органов ставят нижние ограничители.

При планировке щебня на маячных рядах сбрасывание излишков щебня в сторону производится через дверцы фрезы и боковые заслонки шнека. На отвал шнека ставят удлинители отвала.

При сбрасывании излишков щебня на перегрузочный транспортер снимают заслонки центрального окна отвала шнека. Дверцы фрезы и заслонки шнека закрывают. Удлинители отвала не ставят.

Вначале планируют участок длиной 20 - 30 м и проверяют ровность поверхности, поперечный уклон и толщину слоя щебня. Если необходимо, делают регулировку рабочих органов.

Планировку щебеночного слоя выполняют, как правило, за один проход профилировщика на рабочей скорости 5 - 7 м/мин.

За оптимальную скорость движения профилировщика принимают такую наибольшую скорость, при которой шнек успевает без перегрузки перебрасывать щебень, а давление в гидросистеме не превышает 295 кгс/см2. Если наблюдается перегрузка шнека или давление в гидросистеме превышает 295 кгс/см2, скорость профилировщика снижают.

Рис. 3. Положение рабочих органов профилировщика при планировке щебня:

1 - главная рама; 2 - фреза; 3 - отвал фрезы; 4 - шнек; 5 - отвал шнека; h - толщина щебеночного слоя в плотном состоянии; h1 - толщина щебеночного слоя в рыхлом состоянии

В процессе планировки поддерживают оптимально необходимое количество щебня перед отвалом для выравнивания поверхности щебеночного слоя.

Уплотнение щебня катками

После планировки профилировщиком верхняя часть щебеночного слоя остается разрыхленной. Поэтому уплотняют щебень сначала тяжелыми вальцовыми катками типа ДУ-18 (Д-553) за 5 - 6 проходов по одному следу и на полосе шириной 8,5 м.

Скорость движения катков при первых двух - трех проходах должна быть 3 км/ч, при последующих - 4 - 5 км/ч.

После этого щебень укатывают катком на пневматических шинах ДУ-31 (Д-627) за 10 - 12 проходов по одному следу.

Первые два - три прохода по одному следу выполняют при скорости движения катка 5 - 6 км/ч. При последующих проходах скорость повышают до 10 - 12 км/ч.

Укатку начинают от краев ряда с приближением последующих проходов к середине и перекрытием следов на 30 - 50 см.

- В сухую и жаркую погоду щебень поливают водой из расчета 15 - 25 л/м2. Признаком достаточного увлажнения щебня является наличие влаги на нижней стороне верхних щебенок. Укатку заканчивают после выполнения заданного количества проходов катка по одному следу.

Признаками достаточного уплотнения щебня являются: отсутствие заметного следа после прохода тяжелого катка и раздавливание щебенки, подложенной под валец тяжелого катка.

На основе опыта укатки щебня на первом участке уточняют необходимое число проходов катка по одному следу, а также величину добавки на уплотнение (коэффициента уплотнения щебня).

При устройстве щебеночного основания на песчаном подстилающем слое происходит вдавливание щебня в песчаный слой, что приводит к увеличению толщины щебеночного слоя и перерасходу щебня. Для предотвращения этого, по согласованию с проектной организацией, повышают отметки грунтового основания на величину вдавливания щебня в песок, которую определяют при пробной укатке.

Обработка щебеночного основания битумной эмульсией

Обработку щебеночного слоя битумной эмульсией (если предусмотрено проектом) выполняют по способу промасливания при норме распределения эмульсии прямого типа в пересчете на битум - 1 л/м2.

Обработку щебня битумной эмульсией делают с помощью автогудронатора сразу же после укатки, когда щебень еще не загрязнен вследствие движения автотранспорта.

Если по щебеночному слою было открыто движение автотранспорта и щебень загрязнился, то делают очистку щебеночного слоя автощеткой за 2 - 3 прохода по одному следу.

Битумную эмульсию распределяют за два приема - вначале распределяют половину общей нормы розлива, а затем после 2 - 3 ч просыхания распределяют вторую половину нормы.

Для более равномерного распределения эмульсии ширину полосы распределения назначают не более 5 - 6 м.

Сперва обрабатывают одну полосу, а затем смежную.

Автогудронатор устанавливают на расстоянии 10 - 15 м от начала участка и готовят его к распределению эмульсии: устанавливают распределительные трубы, а также сопла, соответствующие норме розлива. Сопла устанавливают так, чтобы их прорези располагались под углом 20 - 25° к продольной оси автогудронатора и находились от поверхности щебеночного слоя на высоте 20 - 25 см.

Для настройки автогудронатора на розлив эмульсии определяют номер передачи коробки отбора мощности, номер передачи коробки скоростей автомобиля и число оборотов битумного насоса.

Пример. Ширина полосы распределения прямой 50 % ной эмульсии - 4,25 м. Автогудронатор ДС-39А (Д-640А). Норма розлива эмульсии в пересчете на битум - 1 л/м2. Эмульсию необходимо распределять за 2 приема при норме 1 л/м2. Ближайшей к заданной норме розлива (1 л/м2) является норма 0,98 л/м2 (см. таблицу на стр. 10). Этой норме соответствуют следующие данные:

Ширина розлива, м.......................................................................... 5

Передача коробки отбора мощности............................................. 1

Передача коробки скоростей автомобиля..................................... 4

Число оборотов насоса в минуту.................................................. 450

Комплект сопел диаметром, мм..................................................... 6

По этим параметрам подготавливают автогудронатор к работе. Для получения ширины полосы розлива 4,25 м крайние сопла распределительной трубы глушат.

Участок розлива подготавливают в таком порядке:

- намечают ось движения автогудронатора;

- перед началом участка и по окончании его поперек ряда укрывают толем полосу шириной 2 - 3 м;

- сбоку полосы розлива на расстоянии 15 - 20 м до конца участка устанавливают предупредительный знак.

Автогудронатор приводят в движение таким образом, чтобы при подходе к началу участка он набрал заданную скорость движения.

Оператор на распределительном агрегате в начале укрытой полосы открывает кран так, чтобы в начале участка розлива краны были полностью открыты и эмульсия выходила из сопел при полном напоре.

В процессе розлива машинист автогудронатора ведет машину строго по намеченной оси движения и на установленной скорости, плавно, без остановок и рывков.

Помощник машиниста, он же оператор на распределительном агрегате, следит за тем, чтобы из всех сопел эмульсия выливалась равномерно и равномерно покрывала всю полосу розлива.

Перед концом участка (у предупредительного знака) оператор готовится, а в конце участка перекрывает краны и ставит их в положение «отсос». Распределительные трубы поднимают соплами вверх. Машинист останавливает автогудронатор.

Оператор перекрывает краны розлива также, когда стрелка указателя уровня эмульсии в цистерне остановится на «0».

Расчетные нормы розлива битума автогудронатором ДС-39А (Д-640А), л/м2

Ширина полосы розлива, м

Передачи коробки отбора мощности

1

2

Передачи коробки скоростей автомобиля

Число оборотов насоса в минуту

Комплекты сопел диаметром, мм

Передачи коробки скоростей автомобиля

Число оборотов насоса в минуту

Комплекты сопел диаметром, мм

1

2

3

4

1

2

3

4

2,5

9,99

5,48

3,05

1,96

 

 

4,5

2,46

1,32

0,88

280

6

3

8,33

4,57

2,54

1,63

 

 

3,75

2,05

1,14

0,73

 

 

3,5

7,14

3,92

2,18

1,4

 

 

3,21

1,76

0,98

0,63

 

 

4

6,25

3,43

1,91

1,22

450

6

2,81

1,54

0,86

0,55

 

 

4,5

5,55

3,05

1,69

1,09

 

 

2,5

1,37

0,76

0,49

400

4

5

4,96

2,74

1,52

0,98

 

 

2,23

1,23

0,68

0,44

 

 

5,5

4,54

2,67

1,38

0,89

 

 

2,04

1,2

0,62

0,4

 

 

6

4,16

2,29

1,27

0,82

 

 

1,87

1,03

0,57

0,36

 

 

6,5

3,84

2,09

1,18

0,76

 

 

1,72

0,94

0,53

0,33

280

4

7

3,57

1,96

1,09

0,7

 

4

1,6

0,88

0,49

0,31

 

 

Примечание. Данные таблицы рассчитаны для распределения битума. При распределении эмульсии эти данные следует уточнить на первых участках.

По истечении 2 - 3 ч в таком же порядке производят повторный розлив эмульсии.

После каждого распределения проводят контроль нормы розлива посредством деления распределенного количества эмульсии на обработанную площадь и, если необходимо, корректируют параметры настройки агрегатов автогудронатора (передачу коробки отбора мощности, передачу коробки скоростей автомобиля, число оборотов битумного насоса, размер сопел).

Отдельные места, плохо обработанные эмульсией, дорабатывают при помощи ручного распределителя автогудронатора или при помощи леек вручную.

В конце работы машинист автогудронатора и его помощник (оператор) снимают распределительные трубы и промывают их и сопла керосином.

После распределения эмульсии обработанный участок ограждают шлагбаумами на 1 - 2 суток. По истечении этого срока разрешается приступать к устройству следующего конструктивного слоя - пескоцементного основания, бетонного покрытия.

Если поверхность щебеночного слоя обрабатывают не эмульсией, а горячим битумом, то битум распределяют за один раз.

Требования по качеству работ

Качество щебеночного основания должно соответствовать требованиям «Указаний по производству и приемке аэродромных строительных работ» СН 121-73, М., Стройиздат, 1974.

При выполнении работ по устройству щебеночного основания следует руководствоваться картой технологии операционного контроля качества работ (раздел VIII).

Указания по технике безопасности

При выполнении работ по устройству щебеночного основания следует руководствоваться «Правилами техники безопасности при строительстве, ремонте и содержании автомобильных дорог», М., «Транспорт», 1978, а также основными требованиями по обеспечению техники безопасности, изложенными в разделе IX «Инструкции по устройству покрытий и оснований из щебеночных, гравийных и песчаных материалов, обработанных органическими вяжущими»  М., «Транспорт», 1978 г.

III. УКАЗАНИЯ ПО ОРГАНИЗАЦИИ ТРУДА

Для выполнения работ по устройству щебеночного основания намечают три захватки: 1 - завоз, разравнивание, планировка и подкатка щебня; 2 - планировка щебня профилировщиком и уплотнение его катками; 3 - обработка щебеночного слоя битумной эмульсией.

Как правило, работы организуют в две смены. Для работы в каждую смену организуют комплексную бригаду следующего состава:

Звено по планировке и подкатке щебня

Машинист бульдозера                                          6 разр. - 1

Машинист автогрейдера                                      6 »        - 1

Машинисты моторных катков                             5 »        - 3

Дорожный рабочий                                              3 »        - 1

Звено по планировке щебня профилировщиком

Машинист профилировщика                               6 разр. - 1

Помощник машиниста                                         5 »        - 1

Дорожные рабочие:                                              2 »        - 1

                                              1 »        - 1

Звено по уплотнению щебня катками

Машинист катка на пневматических шинах      6 разр. - 1

Машинисты тяжелых вальцовых катков             5 »      - 2

Звено по обработке щебеночного слоя битумной эмульсией

Машинист автогудронатора                                 5 разр. - 1

Помощник машиниста                                         4 »        - 1

В звене по планировке и подкатке щебня машинист бульдозера разравнивает щебень и делает грубую планировку, а машинист автогрейдера окончательно планирует щебень.

Машинисты легких катков выполняют подкатку щебня. Дорожный рабочий ведет приемку и учет поступающего щебня, дает указание водителям автомобилей - самосвалов о порядке выгрузки щебня.

В звене по планировке щебня профилировщиком машинист профилировщика управляет машиной и прицепным перегрузочным транспортером, а помощник машиниста, следуя за профилировщиком, контролирует толщину слоя щебня, поперечный уклон и ровность поверхности. Он также проверяет качество натяжения копирной струны. В необходимых случаях он заменяет машиниста.

Дорожные рабочие в отдельных местах вручную досыпают щебень и выполняют другие вспомогательные работы.

В начале смены машинист профилировщика и помощник готовят машину к работе, а в конце работы снимают датчики и сдают их в кладовую. Машину чистят, моют, смазывают ее узлы и заправляют горючим.

Машинисты тяжелых катков окончательно уплотняют щебеночный слой.

Машинист автогудронатора с помощником готовят машину к работе. В процессе розлива машинист управляет автогудронатором, а его помощник - распределительным агрегатом.

В конце работы они очищают и промывают керосином распределительную систему.

Для эффективного использования полной заправки битумной эмульсии на сменной захватке намечают участки протяженностью 400 + 400 + 200 м. После первой обработки двух первых участков обрабатывают третий двухсотметровый участок и оставшейся эмульсией (половина заправки) производят повторную обработку первого участка в начале сменной захватки на длине 200 м.

Дорожные рабочие в начале смены устанавливают, а в конце работы убирают ограждение участка работ.

Для повышения эффективности использования машин к началу каждого дня создают заделы (фронт работы) для каждого звена.

Рекомендуется битумную эмульсию вывозить на участок работ в битумовозах ДС-10 (Д-351) емкостью 15000 л. Это повышает эффективность работы автогудронатора.

Отдых рабочим в течение смены предоставляют в размере 10 % времени работы.

Участок работ обеспечивают исправными машинами, материалами, инструментом, комплектом ограждения участка работ, а также передвижными вагонами: для мастера (с кладовой), столовой, душевой. Кроме того, участок работ обеспечивают передвижным туалетом, аптечкой, питьевой водой и водой для технических целей.


IV. ГРАФИК ВЫПОЛНЕНИЯ ПРОИЗВОДСТВЕННОГО ПРОЦЕССА ПО УСТРОЙСТВУ 1000 м (8500 м2) ЩЕБЕНОЧНОГО ОСНОВАНИЯ

Примечания: Цифрами над линиями указано количество рабочих, занятых в операции, цифрами под линиями - продолжительность операции в минутах.

В трудоемкость на весь объем работ для машинистов катков, бульдозера, автогрейдера включено время на подготовительно-заключительные работы и отдых рабочих в течение смены.

В графике не учтены затраты труда на доставку щебня, воды и поливку щебня. Эти затраты труда определяют дополнительно исходя из фактической потребности и условий доставки материалов


V. КАЛЬКУЛЯЦИЯ ЗАТРАТ ТРУДА НА УСТРОЙСТВО ЩЕБЕНОЧНОГО ОСНОВАНИЯ АЭРОДРОМОВ С ПРИМЕНЕНИЕМ ПРОФИЛИРОВЩИКА ДС-97 (на 1000 м ряда шириной 8,5 м)

Шифр норм и расценок

Описание работ

Состав звена

Единица измерения

Объем работ

Норма времени, чел-ч

Расценка, руб.-коп.

Нормативное время на полный объем работ, чел-ч

Стоимость затрат труда на полный объем работ, руб.-коп.

ВНиР-57, § В57-4, № 5

Разравнивание щебня бульдозером толщиной слоя 19,5 см и шириной 8,5 м

Машинист бульдозера 6 разр. - 1

1000 м2

8,5

1,1

0-86,9

9,4

7-39

ВНиР-57, § В57-4, № 6

Планировка щебня автогрейдером

Машинист автогрейдера 6 разр. - 1

»

8,5

1,1

0-86,9

9,4

7-39

ЕНиР-17, § 17-12, № 1, применительно

Подкатка щебня катками массой 5 - 6 т за 6 проходов по одному следу

Машинист катка 5 разр. - 1

»

8,5

3,3

2-32

28,1

19-7,2

ВНиР-57, § В57-4, № 7

Планировка щебеночного основания профилировщиком ДС-97

Машинист профилировщика 6 разр. - 1

Помощник машиниста 5 разр. - 1

Дорожные рабочие: 2 разр. - 2

1 » - 1

»

8,5

5,5

3-39

46,8

28-82

ВНиР-57, § В57-4, № 8

Укатка щебеночного основания катками вальцовыми и катками на пневмошинах

Машинист катка на пневмошинах 6 разр. - 1

Машинисты катков вальцовых 5 разр. - 2

1000 м2

8,5

3,3

2-41

28,1

20-49

ЕНиР-17, § 17-4, № 2

Распределение битумной эмульсии по щебеночному основанию автогудронатором за два приема при норме распределения 1 л/м2 за каждый прием

Машинист 5 разр. - 1

Помощник машиниста 4 разр. - 1

м

17

0,48

0-31,8

8,2

5-41

ЕНиР-17, Техническая часть, табл. 4, № 3

Пробег автогудронатора для заправки цистерны битумной эмульсией на расстояние 10 км в один конец при пяти заправках в смену

Машинист 5 разр. - 1

Помощник машиниста 4 разр. - 1

км

100

0,096

0-06,4

9,6

6-40

 

Итого: на 8500 м2 щебеночного основания

 

 

 

 

 

139,6

95-62

 

на 1000 м2 щебеночного основания

 

 

 

 

 

16,4

11-25

VI. ОСНОВНЫЕ ТЕХНИКО-ЭКОНОМИЧЕСКИЕ ПОКАЗАТЕЛИ

Наименование показателей

Единица измерения

По калькуляции А

По графику Б

На сколько процентов показатель по графику больше (+) или меньше (-), чем по калькуляции

Трудоемкость работ на 1000 м2 щебеночного основания

чел-ч

16,4

14,1

-14

Средний разряд рабочих

разр.

4,8

4,6

-4,2

VII. МАТЕРИАЛЬНО-ТЕХНИЧЕСКИЕ РЕСУРСЫ

А. Основные материалы

Наименование материалов

Марка, ГОСТ

Единица измерения

Количество

на 1000 м2

на сменную захватку 1000 м (8500 м2)

Щебень для основания

8267-75

м3

199

1692

Битумная эмульсия 50 %-ная

18659-73

л

2010

17085

Б. Машины, оборудование, инструменты, инвентарь

Наименование

Марка, ГОСТ

Количество, шт.

Профилировщик

ДС-97

1

Конвейер-перегружатель

ДС-98

1

Автогрейдер

ДЗ-31 (Д-557)

1

Бульдозер

ДЗ-18 (Д-493А)

1

Катки моторные вальцовые

ДУ-50

3

Катки моторные вальцовые

ДУ-18 (Д-553), ДУ-1 (Д-211В)

2

Каток на пневматических шинах

ДУ-31 (Д-627)

1

Автогудронатор

ДС-39А (Д-640А)

1

Поливомоечная машина

Д-298

1

Автомобили - самосвалы для вывозки щебня

-

по расчету

Вагон - контора мастера с кладовой

ВО-8

1

Вагон-столовая

ВО-8

1

Вагон-душевая

ВО-8

1

Цистерна для воды (емкостью 3000 - 5000 л) на прицепе

 

1

Нивелир

10528-76

1

Рейки нивелирные

11158-76

2

Рейка металлическая 3-метровая

 

1

Мерник зазоров клиновидный

-

1

Рулетка измерительная металлическая

7502-69

1

Линейка чертежная мерительная (80 см)

17435-72

1

Лопаты стальные строительные

3620-76

2

кувалда кузнечная тупоносая

11401-75

1

Шлагбаумы переносные

-

2

Сигнальные знаки ограждения участка работ

10807-71

компл.

Шнур льнопеньковый крученый (трассировочный) длиной 20 м

5107-70

1

Примечание. В потребности инвентаря не учтены копирные струны и принадлежности для их натяжения.

VIII. КАРТА ТЕХНОЛОГИИ ОПЕРАЦИОННОГО КОНТРОЛЯ КАЧЕСТВА РАБОТ ПРИ УСТРОЙСТВЕ ЩЕБЕНОЧНОГО ОСНОВАНИЯ АЭРОДРОМОВ С ПРИМЕНЕНИЕМ ПРОФИЛИРОВЩИКА ДС-97

ОК-II-045

№ пп

Контролируемые параметры

Предельные отклонения

1

Ширина щебеночного основания, см

Δ1 = ± 10

2

Толщина слоя, %

Δ2 = ± 5

3

Поперечный и продольный уклоны

Δ3 = ± 0,002

4

Ровность поверхности (просвет под трехметровой рейкой) мм

Δ4 = 5

5

Отметки по оси основания, мм

Δ5 = ± 10

 

 

Схема конструкции основания с указанием предельных отклонений

 

Примечания. 1. Качество уплотнения щебеночного основания проверяют на каждые 500 м2 тяжелым вальцовым катком, от прохода которого не должно оставаться следа, и подложенная под каток щебенка должна раздавливаться.

2. Качество обработки поверхности основания битумной эмульсией (горячим битумом) проверяют визуально. Эмульсия должна покрывать поверхность щебеночного основания равномерно, без пропусков.

СН 121-73; ВСН 123-77

I

Основные операции, подлежащие контролю

Планировка щебня профилировщиком

Уплотнение и обработка щебеночного основания

II

Состав контроля

1. Ширина основания.

2. Толщина слоя.

3. Поперечный и продольный уклоны.

4. Ровность поверхности.

5. Отметки по оси основания

1. Плотность щебеночного основания.

2. Равномерность обработки поверхности битумной эмульсией (горячим битумом)

III

Метод и средства контроля

Измерительный.

1. Рулетка металлическая.

2. Мерник толщины слоя.

3, 5. Нивелир.

4. Рейка 3-метровая металлическая

Визуальный.

1. След от катка, раздавливание отдельных щебенок.

2. Визуально

IV

Режим и объем контроля

1, 3, 5. Через каждые 40 - 50 м.

2, 4. На каждые 200 м2 площади

1. Один раз на 500 м2 площади.

2. Постоянно

V

Лицо, контролирующее операцию

Мастер, геодезист

Мастер

VI

Лицо, ответственное за организацию и осуществление контроля

Прораб

VII

Привлекаемые для контроля подразделения

Геодезическая служба

-

VIII

Где регистрируются результаты контроля

Журнал производства работ

 

 

 




ГОСТЫ, СТРОИТЕЛЬНЫЕ и ТЕХНИЧЕСКИЕ НОРМАТИВЫ.
Некоммерческая онлайн система, содержащая все Российские Госты, национальные Стандарты и нормативы.
В Системе содержится более 150000 файлов нормативно-технической документации, действующей на территории РФ.
Система предназначена для широкого круга инженерно-технических специалистов.

Рейтинг@Mail.ru Яндекс цитирования

Copyright © www.gostrf.com, 2008 - 2026