Крупнейшая бесплатная информационно-справочная система онлайн доступа к полному собранию технических нормативно-правовых актов РФ. Огромная база технических нормативов (более 150 тысяч документов) и полное собрание национальных стандартов, аутентичное официальной базе Госстандарта. GOSTRF.com - это более 1 Терабайта бесплатной технической информации для всех пользователей интернета. Все электронные копии представленных здесь документов могут распространяться без каких-либо ограничений. Поощряется распространение информации с этого сайта на любых других ресурсах. Каждый человек имеет право на неограниченный доступ к этим документам! Каждый человек имеет право на знание требований, изложенных в данных нормативно-правовых актах!

  


 

ФЕДЕРАЛЬНОЕ АГЕНТСТВО
ПО ТЕХНИЧЕСКОМУ РЕГУЛИРОВАНИЮ И МЕТРОЛОГИИ

НАЦИОНАЛЬНЫЙ
СТАНДАРТ
РОССИЙСКОЙ
ФЕДЕРАЦИИ

ГОСТ Р
53714-
2009

ТОПЛИВА МОТОРНЫЕ, АВИАЦИОННЫЕ И ДИСТИЛЛЯТЫ НИЗКОКИПЯЩИЕ

Метод определения фактических смол выпариванием струей

Москва

Стандартинформ

2010

Предисловие

Цели и принципы стандартизации в Российской Федерации установлены Федеральным законом от 27 декабря 2002 г. 184-ФЗ «О техническом регулировании», а правила применения национальных стандартов Российской Федерации - ГОСТ Р 1.0-2004 «Стандартизация в Российской Федерации. Основные положения»

Сведения о стандарте

1 ПОДГОТОВЛЕН Открытым акционерным обществом «Всероссийский научно-исследовательский институт по переработке нефти» (ОАО «ВНИИ НП») на основе собственного аутентичного перевода на русский язык стандарта, указанного в пункте 4

2 ВНЕСЕН Техническим комитетом по стандартизации ТК 31 «Нефтяные топлива и смазочные материалы»

3 УТВЕРЖДЕН И ВВЕДЕН В ДЕЙСТВИЕ Приказом Федерального агентства по техническому регулированию и метрологии от 15 декабря 2009 г. 1167-ст

4 Настоящий стандарт идентичен стандарту АСТМ Д 381-2004 «Стандартный метод определения содержания фактических смол в топливах выпариванием струей» (ASTM D 381-2004 «Standard test method for gum content in fuels by jet evaporation»).

Наименование настоящего стандарта изменено относительно наименований указанного стандарта для приведения в соответствие с ГОСТ Р 1.5-2004 (подраздел 3.5).

При применении настоящего стандарта рекомендуется использовать вместо ссылочных стандартов соответствующие им национальные стандарты Российской Федерации и межгосударственные стандарты, сведения о которых приведены в дополнительном приложении ДА

5 ВВЕДЕН ВПЕРВЫЕ

Информация об изменениях к настоящему стандарту публикуется в ежегодно издаваемом информационном указателе «Национальные стандарты», а текст изменений и поправок - в ежемесячно издаваемых информационных указателях «Национальные стандарты». В случае пересмотра (замены) или отмены настоящего стандарта соответствующее уведомление будет опубликовано в ежемесячно издаваемом информационном указателе «Национальные стандарты». Соответствующая информация, уведомление и тексты размещаются также в информационной системе общего пользования - на официальном сайте Федерального агентства по техническому регулированию и метрологии в сети Интернет

Содержание

1 Область применения

2 Нормативные ссылки

3 Термины и определения

4 Сущность метода

5 Значение и применение

6 Аппаратура

7 Материалы

8 Комплект аппарата для определения содержания смол выпариванием воздушной струей

9 Комплект аппарата для определения содержания смол выпариванием струей водяного пара

10 Калибровка и стандартизация

11 Проведение испытания

12 Обработка результатов

13 Запись результатов

14 Прецизионность и отклонение

Приложение ДА (справочное) Сведения о соответствии ссылочных стандартов ссылочным национальным стандартам Российской Федерации (и действующим в этом качестве межгосударственным стандартам)

 

НАЦИОНАЛЬНЫЙ СТАНДАРТ РОССИЙСКОЙ ФЕДЕРАЦИИ

ТОПЛИВА МОТОРНЫЕ, АВИАЦИОННЫЕ И ДИСТИЛЛЯТЫ НИЗКОКИПЯЩИЕ

Метод определения фактических смол выпариванием струей

Motor fuels, aviation fuels and low-boiling distillates. Method for determination of existent gums by jet evaporation

Дата введения - 2011-01-01

1 Область применения

1.1 Настоящий стандарт устанавливает метод определения фактических смол в авиационных топливах, смол в автомобильных бензинах и низкокипящих дистиллятах (включая те, что содержат спирт и оксигенаты типа эфира, а также присадки, предупреждающие образование отложений).

1.2 Метод предусматривает определение нерастворимой в гептане части осадка неавиационных топлив.

1.3 Значения, установленные в единицах СИ, следует считать стандартными. В системе СИ за единицу давления принят паскаль (Па); за единицу температуры - градус Цельсия (°С).

1.4 Настоящий стандарт не ставит своей целью рассмотреть все проблемы техники безопасности, связанные с его использованием. Пользователь настоящего стандарта несет ответственность за установление соответствующих мероприятий по технике безопасности и охране здоровья персонала и определение применимости регламентированных ограничений перед его использованием. Особые требования к мерам предосторожности - см. 6.4; 7.4 и 9.1.

2 Нормативные ссылки

В настоящем стандарте использованы нормативные ссылки на следующие стандарты:

2.1 Стандарты АСТМ:

АСТМ Д 4057 Руководство по ручному отбору проб нефти и нефтепродуктов (ASTM D 4057, Practice for manual sampling of petroleum and petroleum products)

АСТМ Е 1 Спецификация на термометры АСТМ (ASTM E 1, Specification for ASTM liquid-in-glass thermometers)

АСТМ Е 29 Руководство по использованию значащих цифр в данных испытаниях для определения соответствия спецификации (ASTM E 29, Practice for using significant digits in test data to determine conformance with specifications)

2.2 Стандарт Энергетического института:

IP Стандартные методы анализа и испытания нефтепродуктов (IP, Standard methods for analysis and testing of petroleum products)

3 Термины и определения

В настоящем стандарте применены следующие термины с соответствующими определениями:

3.1 фактические смолы (existent gum): Остаток от выпаривания авиационных топлив без какой-либо дальнейшей обработки.

3.2 содержание промытых смол (solvent washed gum content): Остаток после промывки гептаном остатка от выпаривания неавиационных топлив (см. 3.3) и удаления промывной жидкости.

Пояснение - Для автомобильного или другого неавиационного бензина промытые растворителем смолы ранее относили к фактическим смолам.

3.3 содержание непромытых смол (unwashed gum content): Остаток от выпаривания неавиационных топлив или дистиллята без какой-либо дальнейшей обработки.

4 Сущность метода

4.1 Определенное количество топлива выпаривают, регулируя температуру и подачу воздуха или водяного пара. Для авиационного бензина и авиационного турбинного топлива полученный остаток взвешивают и записывают в миллиграммах на 100 см3 топлива. Для автомобильного бензина остаток взвешивают до и после экстрагирования гептаном, результаты записывают в миллиграммах на 100 см3 топлива.

5 Значение и применение

5.1 Значение настоящего метода определения смол в автомобильном бензине точно не установлено. Доказано, что высокая склонность бензина к образованию смол может привести к образованию отложений в системе всасывания и заеданию впускных клапанов, в большинстве случаев можно предположить, что низкая склонность к смолообразованию будет гарантировать отсутствие осложнений в системе всасывания. Однако пользователь должен учитывать, что настоящий метод испытания не устанавливает корреляции с реальными отложениями в системе всасывания. Основной целью этого испытания для автомобильного бензина является измерение массы продуктов окисления, образовавшихся в образце до или во время сравнительно мягких условий испытания. Поскольку многие автомобильные бензины специально смешивают с нелетучими маслами или присадками, то для удаления их из остатка от выпаривания проводят экстракцию гептаном и таким образом определяют вредные вещества - смолы. Что касается авиационных турбинных топлив, то наличие большого количества смол указывает на загрязнение топлива высококипящими маслами или механическими примесями и на некачественно выполненные погрузочно-разгрузочные и транспортные операции в системе распределения за пределами предприятия.

6 Аппаратура

6.1 Весы с точностью взвешивания до 0,0001 г.

6.2 Химические стаканы вместимостью 100 см3 - см. рисунок 1. Располагают стаканы рядами, число их в каждом ряду зависит от числа гнезд в бане для выпаривания. Маркируют цифрой или буквой каждый стакан в ряду, включая и стакан-тару, используемый для установления поправки на вес стаканов для проведения испытания.

6.3 Охлаждающая камера (сосуд). Герметично закрывающаяся камера типа эксикатора без осушителя для охлаждения стаканов перед взвешиванием.

Примечание 1 - Использование осушителя может привести к ошибочным результатам.

6.4 Баня для выпаривания (Предупреждение случае использования жидкостной бани температура вспышки используемой жидкости должна быть не менее чем на 30 °С выше самой высокой ожидаемой температуры бани). В качестве бани могут быть использованы цельнометаллический блок или жидкостная баня, снабженные электрообогревом и сконструированные в соответствии с общей схемой, представленной на рисунке 1. (Несмотря на то, что все размеры современных бань для выпаривания даны в единицах системы СИ, пригодными являются и бани старого образца.) Баня должна иметь гнезда и форсунки для двух или более стаканов. Скорости потоков для каждого выпускного отверстия форсунки  с конусным соединительным приспособлением, снабженным фильтрующим экраном из меди или нержавеющей стали 500÷600 мкм, не должны отличаться от установленного значения скорости, равного 1000 см3/с, более, чем на 15 %. Жидкостная баня, если ее используют, должна быть заполнена соответствующей жидкостью на 25 мм ниже верхнего края бани. Температура бани должна поддерживаться с использованием термостатирования или за счет нагрева используемой жидкости.

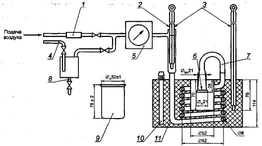
1 - фильтр из хлопчатобумажной или стеклянной ваты; 2 - термометр и гнездо для термометра (произвольные); 3 - термометры или термические сенсоры; 4 - подача пара; 5 - расходомер; 6 - медный или из нержавеющей стали фильтрующий экран 500÷600 мкм; 7 - съемное конусное соединительное устройство; 8 - ловушка для пара; 9 - стакан; 10 - терморегулятор; 11 - баня - цельнометаллический блок

Рисунок 1 - Аппаратура для определения содержания смол выпариванием струей

6.5 Расходомер, приведенный на рисунке 1, позволяющий измерять скорость потока воздуха или пара, равную 1000 см3/с для каждого выпускного отверстия форсунки.

Примечание 2 - Альтернативой расходомеру может быть датчик давления, используемый для измерения давления, эквивалентного потоку воздуха или пара, при скорости в пределах (1000±150) см /с для каждого выпускного отверстия.

6.6 Воронка вместимостью 150 см3 со стеклянным фильтром крупной пористости.

6.7 Способы подачи водяного пара должны обеспечивать требуемое количество водяного пара на входе бани температурой от 232 °С до 246 °С.

6.8 Температурный датчик - жидкостный стеклянный термометр ASTM 3C/IP73C, по АСТМ Е1, или другое устройство или система, эквивалентные по точности, обеспечивающие измерение температуры в пределах от минус 5 °С до плюс 400 °С.

6.9 Цилиндры мерные с носиком, обеспечивающие измерение объема, равного (50,0±0,5) см3.

6.10 Оборудование для манипулирования - пинцеты (из нержавеющей стали, заканчивающиеся лопаточками) или щипцы (нержавеющая сталь) для работы со стаканами и конусными соединениями форсунок, в соответствии с данным методом испытания.

7 Материалы

7.1 Воздух. Фильтрованный воздух, подаваемый под давлением не более 35 кПа.

7.2 Растворитель смол - смесь равных объемов толуола и ацетона.

7.3 Гептан с массовой долей основного вещества не менее 99,7%.

7.4 Водяной пар, не содержащий маслянистого остатка, подаваемый под давлением не менее 35 кПа (Предупреждение - При использовании перегретого пара открытые поверхности пароподогревателя могут быть горячими. Не следует к ним прикасаться. Необходимо использовать защитные устройства).

8 Комплект аппарата для определения содержания смол выпариванием воздушной струей

8.1 Собирают аппарат для определения содержания смол выпариванием воздушной струей, как показано на рисунке 1. При температуре аппарата, равной комнатной, регулируют поток воздуха таким образом, чтобы его скорость на выпускном отверстии при проведении испытания была равна (600 ±90) см3/с. Следят за тем, чтобы скорость потока воздуха во всех выпускных отверстиях была одинаковой.

Примечание 3 - Показание расходомера, равное (600 ± 90) см3/с для каждого выпускного отверстия при комнатной температуре и атмосферном давлении, при температуре (155±5) °С обеспечивает подачу воздуха со скоростью (1000±150) см3/с. Необходимо следовать инструкциям изготовителя, чтобы проверить общую подачу воздуха (600 см3/с потока воздуха умножают на количество выпускных клапанов, получают общую подачу воздуха) и равенство скоростей потоков из каждого выпускного отверстия.

8.2 Нагревают баню для выпаривания (6.4) до тех пор, пока температура не достигнет 160 °С - 165 °С. В аппарат подают воздух со скоростью потока, определенной по расходомеру (6.5) и указанной в 8.1. Измеряют температуру в каждом гнезде температурным датчиком (6.8), шарик или кончик которого расположен на дне стакана, находящегося в гнезде. Не используют гнездо аппарата, температура которого выходит за пределы 150 °С - 160 °С.

9 Комплект аппарата для определения содержания смол выпариванием струей водяного пара

9.1 Собирают аппарат для определения содержания смол выпариванием струей водяного пара, как показано на рисунке 1 (Предупреждение - Пары образца и растворителя, выделяющиеся во время проведения процедуры испытания, могут быть сильно воспламеняемыми или горючими и опасными для здоровья при вдыхании. Баня для выпаривания должна быть снабжена эффективным вытяжным колпаком для удаления таких паров и уменьшения риска взрыва).

9.2 Включают нагрев бани и приводят аппарат в действие. Когда температура достигает 232 °С, медленно вводят в систему сухой пар до достижения скорости его подачи (1000 ±150) см3/с на каждом выпускном отверстии (10.2). Для обеспечения температуры гнезда (232 ±3) °С поддерживают температуру бани в диапазоне от 232 °С до 246 °С. Измеряют температуру температурным датчиком, помещая его на дно стакана в каждом из гнезд бани с установленными конусными держателями. Не используют гнездо аппарата, температура которого отклоняется от 232 °С более чем на 3 °С.

10 Калибровка и стандартизация

10.1 Поток воздуха

10.1.1 Поверяют или калибруют поток воздуха так, чтобы его скорость, измеренная при комнатной температуре и атмосферном давлении, во всех выпускных отверстиях была равна (600 ±90) см3/с. Конкретные указания по выполнению процедуры калибровки воздушного потока приведены в инструкциях изготовителя. Фиксируют для воздуха настройку расходомера и используют ее при последующих испытаниях.

10.1.1.1 Одним способом калибровки воздушного потока является применение градуированного расходомера, например реометра, отдельно от устройства, указанного в 6.5, для проверки при комнатной температуре и атмосферном давлении скорости потока воздуха непосредственно в каждом выпускном отверстии. Чтобы получить точные результаты, противодавление реометра должно быть менее 1 кПа.

10.1.1.2 Другим способом калибровки воздушного потока является измерение и соответственно регулировка скорости общего воздушного потока (см3/с), подаваемого к выпускным отверстиям. Скорость общего воздушного потока равна скорости воздушного потока на каждом выпускном отверстии, умноженной на количество или число местоположений выпускных отверстий (например, прибор имеет 5 местоположений выпускных отверстий, исходя из предполагаемой скорости воздушного потока, равной 600 см3/с на каждом выпускном отверстии, скорость общего воздушного потока составляет 3000 см3/с). Один раз удостоверившись, что общий поток воздуха, подаваемый к выпускным отверстиям, имеет соответствующую скорость, проверяют одинаковость скоростей воздушных потоков на местоположении каждого выпускного отверстия, сравнивая их с требованиями, изложенными в 10.1.1.

10.2 Поток пара

10.2.1 Поверяют или калибруют поток пара так, чтобы скорость потока пара на всех выпускных отверстиях была в пределах (1000 ±150) см3/с. Конкретные указания по выполнению процедуры калибровки потока пара приведены в инструкциях изготовителя. Фиксируют для пара настройку расходомера и используют ее в последующих испытаниях.

10.2.1.1 Одним из способов калибровки потока пара является следующий: присоединяют медную трубку к выпускному отверстию пара, другой конец трубки выводят в градуированный цилиндр вместимостью 2 дм3, наполненный толченым льдом и водой и предварительно взвешенный. Выпускают пар в цилиндр в течение 60 с. Во избежание слишком сильного противодавления цилиндр должен быть расположен так, чтобы конец медной трубки был погружен в воду на глубину не более 50 мм. После того, как истечет указанное время, вынимают медную трубку и взвешивают цилиндр. Увеличение массы соответствует количеству сконденсированного водяного пара. Скорость потока пара R рассчитывают по следующей формуле

R = (V-m)1000/kt,

(1)

где R - скорость пара, см3/с;

М - масса градуированного цилиндра с конденсированным паром, г;

m - масса градуированного цилиндра со льдом, г;

k - масса 1000 см3 водяного пара при 232 °С при атмосферном давлении, равная 0,434 г;

t - время конденсации, с.

11 Проведение испытания

11.1 Моют стаканы, включая стакан для установления поправки (тара), растворителем смол (7.2) до полной очистки от смол. Тщательно ополаскивают водой и погружают в моющий умеренно щелочной или рН-нейтральный раствор.

11.1.1.1 Тип раствора моющего средства и условия его использования должны устанавливаться в каждой лаборатории. Критерием удовлетворительной очистки использованных химических стаканов может служить качество очистки, достигаемое путем промывания растворами хромовой кислоты (свежая хромовая кислота, 6-часовое вымачивание, промывание дистиллированной водой и сушка). Для проведения такого сравнения могут быть использованы визуальный осмотр и контроль потери веса от нагревания. Очистка моющими средствами дает возможность избежать потенциальной опасности и неудобств, связанных с использованием коррозионно-агрессивных растворов хромовой кислоты. Однако очистка хромовой кислотой остается эталоном качества очистки и может быть альтернативой предпочитаемому методу очистки моющими средствами.

11.1.1.2 Стаканы вынимают из очищающего раствора пинцетом из нержавеющей стали или щипцами (6.10) и в дальнейшем используют только пинцет или щипцы. Стаканы тщательно промывают сначала водопроводной водой, затем - дистиллированной и сушат не менее 1 ч в термостате при температуре 150 °С. Охлаждают стаканы не менее 2 ч в эксикаторе, расположенном около весов.

11.2 Из таблицы 1 выбирают условия испытания, соответствующие испытуемым авиационному или автомобильному бензину или топливу для турбореактивных двигателей. Нагревают баню до заданной температуры. Подают в аппарат воздух или пар и регулируют скорости их потоков до установленных в 8.1 или 9.2. При использовании наружного обогрева регулируют температуру нагревающей среды так, чтобы обеспечить заданную температуру гнезда и испытания.

Таблица 1 - Условия испытания

Тип образца

Выпаривающая среда

Рабочая температура, °С

Баня

Гнездо

Авиационный и автомобильный бензины

Воздух

От 160 до 165

От 150 до 160

Авиационное турбинное топливо

Водяной пар

От 232 до 246

От 229 до 235

11.3 Взвешивают стакан-тару и стаканы для испытания с точностью до 0,0001 г. Массы записывают.

11.4 Если в испытуемом образце присутствуют взвешенные или осевшие частицы твердого вещества, тщательно перемешивают содержимое контейнера, используя соответствующий метод.

Требуемое количество образца при атмосферном давлении немедленно фильтруют через воронку со стеклянным фильтром крупной пористости (13.3). Фильтрат используют, как указано в 11.5 - 11.7.

11.5 Используя мерный цилиндр (6.9), переносят во взвешенный стакан (50,0±0,5) см3 испытуемого образца (см. 6.2) (отбор проб проводят по АСТМ Д 4057). Используют один стакан для каждого испытуемого образца, стакан-тару не заполняют. Помещают наполненные стаканы и стакан-тару в баню для выпаривания. Время, истекшее между установкой первого и последнего стакана, должно быть как можно короче. При применении воздуха в бане для выпаривания, не имеющей приспособлений для подъема и спуска конусных соединительных приспособлений для форсунок, для замены их и размещения отдельного стакана в гнезде бани используют пинцет или щипцы (6.10). При применении для выпаривания пара стаканы предварительно нагревают в течение 3 - 4 мин. Для замены конусных соединительных приспособлений используют пинцет или щипцы (или применяют механический способ подъема и спуска). Конусные держатели должны быть предварительно нагреты в струе пара из форсунки при размещении их между гнездами для стаканов или поверх бани для выпаривания и затем прикреплены к выходным отверстиям форсунок. Используя пинцеты или щипцы (если необходимо), центрируют каждое конусное соединительное приспособление над поверхностью жидкости, включают поток воздуха или пара и регулируют его до заданной скорости. Испаряют образец в течение (30,0±0,5) мин, поддерживая заданные температуру и скорость потока.

Примечание 4 - При подаче воздуха или пара следует избегать разбрызгивания образца, так как это может привести к ошибочным заниженным результатам.

11.6 По окончании нагрева, используя пинцеты или щипцы (6.10) или другие способы, удаляют конусные соединительные приспособления и переносят стаканы из бани для выпаривания в охлаждающую камеру. Ставят охлаждающую камеру около весов и охлаждают стаканы не менее 2 ч. Взвешивают стаканы, как указано в 11.3. Записывают их массы.

11.7 Отделяют стаканы, содержащие остатки автомобильных бензинов, для проведения операций, указанных в 11.8 - 11.12, остальные стаканы очищают и повторно используют.

11.7.1 Если имеются сохраненные образцы исходного товарного бензина для сравнительного испытания, в этот момент взвешиванием остатка может быть получена качественная оценка загрязнения автомобильного бензина. Это сравнительное испытание имеет большое значение, так как автомобильный бензин может содержать специально введенные вещества, которые являются не испаряемыми. Если получено доказательство загрязнения, требуется дополнительное исследование.

11.8 Для топлив, не относящихся к авиационным, для которых результаты по непромытым смолам составляют менее 0,5 мг/100 см3 (11.6, раздел 12 и 13.2), нет необходимости проводить промывание так же тщательно, как указано в настоящем подразделе и в последующих пунктах (11.9 - 11.12), поскольку величина промытых смол будет менее или равна величине непромытых смол.

Если результаты по непромытым смолам составляют более 0,5 мг/100 см3, то в каждый из стаканов, содержащих остатки от топлив, не относящихся к авиационным, добавляют приблизительно 25 см3 гептана и осторожно перемешивают круговыми движениями в течение 30 с. Выдерживают смесь (10±1) мин. Стакан-тару обрабатывают таким же образом.

11.9 Декантируют и утилизируют раствор гептана, следя за тем, чтобы не допустить потерь твердого остатка.

11.10 Повторяют, как указано в 11.8 и 11.9, экстрагирование второй порцией гептана, равной приблизительно 25 см3. Если после второго экстрагирования экстракт остается окрашенным, повторяют экстрагирование в третий раз. Более трех раз экстрагирование не выполняют (примечание 5).

Примечание 5 - Не рекомендуется выполнять дополнительные экстрагирования (после третьего), так как вследствие механического действия могут быть частично удалены нерастворимые смолы, что может привести к занижению действительного содержания промытых растворителем смол.

11.11 Помещают стаканы, включая стакан-тару, в баню для выпаривания, температуру которой поддерживают в пределах 160 °С - 165 °С, и, не устанавливая конусные соединения, сушат стаканы в течение (5,0 ±0,5) мин.

11.12 По окончании высушивания, пользуясь пинцетами или щипцами (6.10), вынимают стаканы из бани, помещают их не менее чем на 2 ч в охлаждающую камеру вблизи весов. Взвешивают стаканы так, как указано в 11.3. Записывают их массы.

12 Обработка результатов

12.1 Содержание фактических смол в авиационных топливах рассчитывают по формуле

А = 2000 (B-D+X-Y).

(2)

12.2 Содержание промытых смол автомобильного бензина рассчитывают по формуле

S = 2000(C-D+X-Z).

(3)

12.3 Содержание непромытых смол автомобильного бензина рассчитывают по формуле

U = 2000(B-D+X-Y),

(4)

где А - содержание фактических смол, мг/100 см3;

В - масса, записанная в 11.6 для стакана с образцом и остатком, г;

D - масса, записанная в 11.3 для пустого стакана для испытания образца, г;

X - масса, записанная в 11.3 для стакана-тары, г;

Y - масса, записанная в 11.6 для стакана-тары, г;

S - содержание промытых смол, мг/100 см3;

С - масса, записанная в 11.12 для стакана с образцом и остатком, г;

Z - масса, записанная в 11.12 для стакана-тары, г;

U - содержание непромытых смол, мг/100 см3.

13 Запись результатов

13.1 Для авиационных топлив с содержанием фактических смол более или равным 1 мг/100 см3 результаты округляют до 1 мг/100 см3 и записывают как содержание фактических смол по данному методу. Округляют числа в соответствии с АСТМ Е 29 или принятыми правилами округления. Результаты менее 1 мг/100 см3 записывают: «<1 мг/100 см3».

13.2. Для топлив, не относящихся к авиационным, с содержанием промытых или непромытых смол более или равным 0,5 мг/100 см3 результаты округляют до 0,5 мг/100 см3 и записывают как содержание промытых или непромытых смол или того и другого вместе по данному методу. Округляют числа в соответствии с АСТМЕ 29 или принятыми правилами округления. Если содержание непромытых смол составляет менее 0,5 мг/100 см3, записывают: «<0,5 мг/100 см3». Если содержание непромытых смол менее 0,5 мг/100 см3, то содержание промытых смол может быть также записано как «<0,5 мг/100 см3» (11.8).

13.3 Если перед выпариванием была выполнена стадия фильтрации (11.4), то для этих топлив за величиной результата пишут слово «фильтрованный».

14 Прецизионность и отклонение

14.1 Точность этого метода не основе статистического анализа результатов межлабораторных испытаний приведена в 14.1.1 и 14.1.2 и указана на рисунке 2.

14.1.1 Повторяемость

Расхождение между последовательными результатами испытания, полученными одним и тем же оператором на одной и той же аппаратуре при постоянных действующих условиях испытания при нормальном и правильном выполнении метода испытания в течение длительного времени, может превышать нижеуказанные значения только в одном случае из двадцати:

r = 1,11 + 0,095х - для фактических смол (авиационный бензин);

(5)

r = 0,5882 + 0,2490х - для фактических смол (авиационное турбинное топливо);

(6)

r = 0,997х0,4 - для содержания непромытых смол;

(7)

r = 1,298х0,3 - для содержания промытых смол,

(8)

где х - среднее значение сравниваемых результатов.

14.1.2 Воспроизводимость.

Расхождение между двумя единичными и независимыми результатами, полученными разными операторами, работающими в разных лабораториях, на идентичном исследуемом материале при нормальном и правильном выполнении испытания в течение длительного времени, может превысить нижеуказанные значения только в одном случае из двадцати:

R = 2,09 + 0,126x - для фактических смол (авиационный бензин);

(9)

R = 2,941 + 0,2794х - для фактических смол (авиационное турбинное топливо);

(10)

R = 1,928x0,4 - для содержания непромытых смол;

(11)

R = 2,494x0,3 - для содержания промытых смол,

(12)

где х - среднее значение сравниваемых результатов.

Примечание 6 - Вышеприведенные значения прецизионности для содержания промытых и непромытых смол были получены в межлабораторных исследованиях в 1997 г. на товарных автомобильных бензинах, включая те, что содержат спирт и оксигенаты на основе эфира, а также присадки, препятствующие образованию отложений. Значения прецизионности для содержания промытых и непромытых смол основываются на образцах, содержащих смолы от 0 мг/100 см до 15 мг/100 см3 и от 0 мг/100 см3 до 50 мг/100 см3 соответственно.

14.2 Отклонение

Отклонение для данного метода не определено, так как нет принятого эталонного материала по измерению фактических смол (промытых и непромытых растворителем).

Авиационные бензины

Авиационные турбинные топлива

1 - воспроизводимость; 2-повторяемость

Рисунок 2 - Прецизионность определения фактических смол

Приложение ДА
(справочное)
Сведения о соответствии ссылочных стандартов ссылочным национальным стандартам Российской Федерации (и действующим в этом качестве межгосударственным стандартам)

Таблица ДА.1

Обозначение ссылочного стандарта

Степень соответствия

Обозначение и наименование соответствующего национального стандарта

АСТМ Д 4057

MOD

ГОСТ Р 52659-2006 «Нефть и нефтепродукты. Методы ручного отбора проб»

MOD

ГОСТ 2517-85 «Нефть и нефтепродукты. Методы отбора проб»

АСТМ Е 1

NEQ

ГОСТ 400-80 «Термометры стеклянные для испытаний нефтепродуктов. Технические условия»

АСТМ Д 29

IDT

ГОСТ Р 8.580-2001 «Государственная система обеспечения единства измерений. Определение и применение показателей прецизионности методов испытаний нефтепродуктов»

Стандарт IP

 

*

* Соответствующий национальный стандарт отсутствует. До его утверждения рекомендуется использовать перевод на русский язык данного стандарта. Перевод данного стандарта находится в Федеральном информационном фонде технических регламентов и стандартов.

Примечание - В настоящей таблице использованы следующие условные обозначения степени соответствия стандартов:

- IDT - идентичные стандарты;

- MOD - модифицированные стандарты;

- NEQ - неэквивалентные стандарты.

Ключевые слова: моторное топливо, авиационные топлива, автомобильный бензин, низкокипящие дистилляты, фактические смолы, промытые смолы, непромытые смолы, выпаривание струей

 

 




ГОСТЫ, СТРОИТЕЛЬНЫЕ и ТЕХНИЧЕСКИЕ НОРМАТИВЫ.
Некоммерческая онлайн система, содержащая все Российские Госты, национальные Стандарты и нормативы.
В Системе содержится более 150000 файлов нормативно-технической документации, действующей на территории РФ.
Система предназначена для широкого круга инженерно-технических специалистов.

Рейтинг@Mail.ru Яндекс цитирования

Copyright © www.gostrf.com, 2008 - 2026