Крупнейшая бесплатная информационно-справочная система онлайн доступа к полному собранию технических нормативно-правовых актов РФ. Огромная база технических нормативов (более 150 тысяч документов) и полное собрание национальных стандартов, аутентичное официальной базе Госстандарта. GOSTRF.com - это более 1 Терабайта бесплатной технической информации для всех пользователей интернета. Все электронные копии представленных здесь документов могут распространяться без каких-либо ограничений. Поощряется распространение информации с этого сайта на любых других ресурсах. Каждый человек имеет право на неограниченный доступ к этим документам! Каждый человек имеет право на знание требований, изложенных в данных нормативно-правовых актах!

  


 

ФЕДЕРАЛЬНОЕ АГЕНТСТВО
ПО ТЕХНИЧЕСКОМУ РЕГУЛИРОВАНИЮ И МЕТРОЛОГИИ

НАЦИОНАЛЬНЫЙ
СТАНДАРТ
РОССИЙСКОЙ
ФЕДЕРАЦИИ

ГОСТ Р
53655.1-
2009
(ИСО 7765-1:1988)

Пленки и листы полимерные

ОПРЕДЕЛЕНИЕ УДАРНОЙ ПРОЧНОСТИ
МЕТОДОМ СВОБОДНОПАДАЮЩЕГО ГРУЗА

Часть 1

СТУПЕНЧАТЫЕ МЕТОДЫ

ISO 7765-1:1988
Plastics film and sheeting - Determination of impact resistance by the free-falling
dart method - Part 1: Staircase methods
(MOD)

Москва
Стандартинформ
2010

Предисловие

Цели и принципы стандартизации в Российской Федерации установлены Федеральным законом от 27 декабря 2002 г. № 184-ФЗ «О техническом регулировании», а правила применения национальных стандартов Российской Федерации - ГОСТ Р 1.0-2004 «Стандартизация в Российской Федерации. Основные положения»

Сведения о стандарте

1 РАЗРАБОТАН Открытым акционерным обществом «Институт пластических масс имени Г.С. Петрова» (ОАО «Институт пластмасс») и Открытым акционерным обществом «Межотраслевой институт переработки пластмасс - НПО «Пластик» (ОАО «МИПП-НПО «Пластик») на основе аутентичного перевода на русский язык указанного в пункте 4 стандарта, который выполнен ФГУП «СТАНДАРТИНФОРМ»

2 ВНЕСЕН Техническим комитетом по стандартизации ТК 230 «Пластмассы, полимерные материалы, методы их испытаний»

3 УТВЕРЖДЕН И ВВЕДЕН В ДЕЙСТВИЕ Приказом Федерального агентства по техническому регулированию и метрологии от 15 декабря 2009 г. № 1019-ст

4 Настоящий стандарт является модифицированным по отношению к международному стандарту ИСО 7765-1:1988 «Пленки и листы пластмассовые. Определение ударной прочности методом свободнопадающего заостренного груза. Часть 1. Ступенчатые методы» (ISO 7765-1:1988 «Plastics film and sheeting - Determination of impact resistance by the free-falling dart method - Part 1: Staircase methods»). При этом дополнительные слова, фразы, показатели, их значения, ссылки, включенные в текст стандарта для учета потребностей национальной экономики Российской Федерации, выделены полужирным курсивом

5 ВВЕДЕН ВПЕРВЫЕ

Информация об изменениях к настоящему стандарту публикуется в ежегодно издаваемом информационном указателе «Национальные стандарты», а текст изменений и поправок - в ежемесячно издаваемых информационных указателях «Национальные стандарты». В случае пересмотра (замены) или отмены настоящего стандарта соответствующее уведомление будет опубликовано в ежемесячно издаваемом информационном указателе «Национальные стандарты». Соответствующая информация, уведомление и тексты размещаются также в информационной системе общего пользования - на официальном сайте Федерального агентства по техническому регулированию и метрологии в сети Интернет

СОДЕРЖАНИЕ

НАЦИОНАЛЬНЫЙ СТАНДАРТ РОССИЙСКОЙ ФЕДЕРАЦИИ

Пленки и листы полимерные

ОПРЕДЕЛЕНИЕ УДАРНОЙ ПРОЧНОСТИ
МЕТОДОМ СВОБОДНОПАДАЮЩЕГО ГРУЗА

Часть 1

СТУПЕНЧАТЫЕ МЕТОДЫ

Plastics film and sheeting. Determination of impact resistance by the free-falling weight method.
Part 1. Staircase methods

Дата введения - 2011-01-01

1 Область применения

1.1 Настоящий стандарт устанавливает ступенчатые методы определения массы свободнопадающего с заданной высоты груза, под действием которого разрушаются 50% испытуемых образцов пленки, листа или фрагмента тонкостенного изделия толщиной не более 1 мм.

1.2 Установлены два метода определения и Б).

1.2.1 В методе А используют боек с полусферической головкой диаметром (38 ±1) мм; высота падения - (0,66 ±0,01) м. Этот метод применяют для материалов, разрушающихся под действием падающих грузов массой от 0,05 до 2,00 кг.

1.2.2 В методе Б используют боек с полусферической головкой диаметром (50 ±1) мм; высота падения - (1,50 ±0,01) м. Этот метод применяют для материалов, разрушающихся под действием падающих грузов массой от 0,3 до 2,0 кг.

1.3 Определение осуществляют ступенчатыми методами. В процессе испытания проводят равномерное изменение массы падающего груза, которую уменьшают или увеличивают на одинаковую величину после испытаний каждого образца в зависимости от результата (разрушился образец или не разрушился), наблюдаемого для данного образца.

2 Нормативные ссылки

В настоящем стандарте использованы нормативные ссылки на следующие стандарты:

ГОСТ 6507-90 Микрометры. Технические условия

ГОСТ 12423-66 Пластмассы. Условия кондиционирования и испытаний образцов (проб)

ГОСТ 17035-86 Пластмассы. Методы определения толщины пленок и листов (ИСО 4591:1979 «Пластмассы. Пленка и листы. Определение средней толщины образца и средней толщины и выхода рулона гравиметрическим методом (гравиметрическая толщина)»; ИСО 4593:1979 «Пластмассы. Пленка и листы. Определение толщины механическим сканированием», MOD)

Примечание - При пользовании настоящим стандартом целесообразно проверить действие ссылочных стандартов в информационной системе общего пользования - на официальном сайте Федерального агентства по техническому регулированию и метрологии в сети Интернет или по ежегодно издаваемому информационному указателю «Национальные стандарты», который опубликован по состоянию на 1 января текущего года, и по соответствующим ежемесячно издаваемым информационным указателям, опубликованным в текущем году. Если ссылочный стандарт заменен (изменен), то при пользовании настоящим стандартом следует руководствоваться заменяющим (измененным) стандартом. Если ссылочный стандарт отменен без замены, то положение, в котором дана ссылка на него, применяется в части, не затрагивающей эту ссылку.

3 Назначение

3.1 Методы А и Б используют для определения массы груза, при падении которого разрушаются 50% образцов. Данные, полученные одним методом, нельзя непосредственно сравнивать ни с данными, полученными другим методом, ни с данными, полученными в ходе испытаний, при которых применяют другие условия испытаний (скорость бойка, диаметр поверхности удара бойка, диаметр образца, толщину образца). На результаты, полученные при конкретных условиях испытания, в значительной степени влияют методы изготовления пленки, листа или тонкостенного изделия.

3.2 Результаты, полученные методами А или Б, в большой степени зависят от качества испытуемого материала, поэтому доверительные интервалы данных, полученных указанными методами, могут значительно изменяться в зависимости от качества образцов, единообразия измерений, следов формующего инструмента, посторонних включений и т.д.

3.3 Методы А и Б целесообразно использовать при разработке нормативных или технических документов на пленки, листы, тонкостенные изделия, т.к. обычно можно установить корреляцию между результатами испытания и эксплуатационными характеристиками.

3.4 Ударная прочность пленки, листа или фрагмента тонкостенного изделия частично зависит от толщины образца, однако не связана с толщиной образца простым соотношением, поэтому даже при использовании значений силы удара, отнесенных к толщине образца, получают ошибочные значения фактической ударной прочности материала. Данные, полученные указанными методами, сопоставимы только для групп образцов, в которых толщина испытуемых образцов меняется не более чем на ±10% от номинальной или средней толщины.

4 Термины и определения

В настоящем стандарте применены следующие термины с соответствующими определениями:

4.1 разрушающая масса при ударе: Масса груза, полученная статистическим методом, при которой 50% испытуемых образцов разрушаются в заданном испытании.

4.2 масса падающего груза: Масса бойка или сумма масс бойка, грузов-приращений и зажимной муфты.

5 Аппаратура

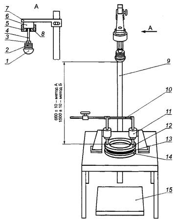
На рисунке 1 приведена рекомендуемая схема установки для испытания на удар свободнопадающим грузом с использованием компонентов по 5.1 - 5.3 и 5.5 - 5.7.

5.1 Зажим для образца, состоящий из двух частей в форме колец внутренним диаметром (125 ±2) мм. Нижняя часть зажима (неподвижное кольцо) должна жестко фиксироваться таким образом, чтобы плоскость образца была горизонтальной. Верхняя часть зажима (подвижное кольцо) должна быть сконструирована таким образом, чтобы плотно в одной плоскости соприкасаться с нижней частью в положении, в котором зажим устанавливают при испытании. В зажимах должны быть предусмотрены приспособления, обеспечивающие достаточно плотное смыкание, чтобы прочно удерживать испытуемый образец в процессе испытания.

Примечание - Рекомендуется применять пневмозажимы.

5.1.1 К поверхностям контакта образца с зажимом можно присоединить прокладки из эластичного материала (на оба кольца), чтобы свести к минимуму изменение толщины образца. Для указанных целей рекомендуются прокладки из эластичного материала толщиной (3 ±1) мм, твердостью от 50 до 60 единиц по Шору А, внутренним диаметром (125 ±2) мм и наружным диаметром (150 ±3) мм.

5.1.2 Соскальзывание материала более чем на 0,10 мм можно свести к минимуму или устранить, прикрепив, например, тонкую наждачную бумагу к зажимам или к прокладкам из эластичного материала (при их использовании) двусторонней клейкой лентой так, чтобы абразивная поверхность находилась в непосредственном контакте с испытуемым материалом. Необходимо приложить достаточное зажимное усилие, чтобы устранить заметное соскальзывание. Можно использовать другие средства уменьшения скольжения, такие как дополнительные зажимные приспособления, при условии, что испытуемый образец не провисает со стороны внутренней стенки зажимов и диаметр испытуемого образца не меняется и равен (125 ±2) мм.

1 - полусферическая головка диаметром: (38 ±1) мм - для метода А; (50 ±1) мм - для метода Б; 2 - зажимная муфта; 3 - грузы-приращения; 4 - стержень бойка диаметром 6,5 мм, длиной не менее 115 мм, длина наконечника - 12,5 мм; 5 - центрирующий адаптер для бойка из латуни, центральное отверстие - 9,5 мм; 6 - электромагнит; 7 - регулируемый держатель; 8 - стальной наконечник стержня диаметром 6,5 мм, длиной 13,5 мм; 9- поддерживающая штанга; 10 - линия подачи сжатого воздуха; 11 - зажимные цилиндры; 12 - подвижное зажимное кольцо и прокладка; 13 - образец между прокладками; 14 - неподвижное зажимное кольцо и прокладка; 15 - прокладка из пенорезины для остановки падающего груза

Рисунок 1 - Рекомендуемая схема установки для испытания на удар свободнопадающим грузом

5.2 Электромагнит, способный удерживать или отпускать груз массой до 2 кг. Электромагнит должен быть оснащен центрирующим адаптером для обеспечения воспроизводимого падения и подходящим источником электроэнергии, способным приводить электромагнит в действие и отключать его. Допускается также применение расцепляющего механизма с пневматическим или механическим приводом при условии получения равномерного и воспроизводимого расцепления.

5.3 Устройство для удерживания груза на высоте (0,66 ±0,01) м (метод А) и (1,50 ±0,01) м (метод Б) от поверхности столкновения головки груза и испытуемого образца. Груз должен располагаться по вертикали над центром испытуемого образца.

5.4 Микрометр по ГОСТ 6507 с пределом допускаемой погрешности не более ±2 мкм для измерения толщины образца.

5.5 Защитные устройства для защиты персонала и предотвращения повреждения головки бойка.

5.6 Зажимная муфта, состоящая из кольца внутренним диаметром около 7 мм и стопорного винта для закрепления кольца на оси груза.

5.7 Бойки для методов А и Б с полусферическими головками, оснащенные стержнем диаметром (6,5 ±0,1) мм, длиной не менее 115 мм для размещения съемных дополнительных грузов-приращений. Масса каждого бойка должна быть известна с точностью до ±0,5%. Поверхность головки бойков не должна иметь зазубрин, царапин или других неровностей. Стержень должен присоединяться к центру плоской поверхности головки бойка так, чтобы его продольная ось была перпендикулярна к этой поверхности. Стержень должен быть изготовлен из немагнитного материала и иметь стальной наконечник длиной (12,5 ±0,2) мм, удерживаемый электромагнитом.

5.7.1 Для метода А головка бойка должна быть диаметром (38 ±1) мм и должна быть изготовлена из гладкого полированного алюминия, фенопласта или других материалов низкой плотности и аналогичной твердости.

5.7.2 Для метода Б головка бойка должна быть диаметром (50 ±1) мм и должна быть изготовлена из гладкой полированной нержавеющей стали или другого материала аналогичной прочности.

5.8 Грузы-приращения должны быть изготовлены из нержавеющей стали или латуни и иметь цилиндрическую форму. В центре груза должно быть отверстие, которое позволяет свободно крепить груз на стержне диаметром (6,5 ±0,1) мм.

Толщина каждого груза-приращения должна быть подобрана таким образом, чтобы соответствующая масса отличалась от номинальной не более чем на ±0,5%. Предлагаются следующие стандартные наборы грузов.

5.8.1 Для метода А - грузы-приращения диаметром 30 мм.

Число

Масса, г

2 или более

5

8

15

8

30

8

60

5.8.2 Для метода Б - грузы-приращения диаметром 45 мм.

Число

Масса, г

2 или более

15

8

45

8

90

5.8.3 Если необходимо увеличить массу падающего груза, полученную с использованием всех грузов-приращений, имеющихся в стандартном наборе, дополнительно рекомендуется изготовить грузы массой 120 г для метода А и 180 г для метода Б. Допускаемые отклонения массы груза не должны превышать 0,5% от номинальной.

6 Образцы для испытания

6.1 Испытуемые образцы должны быть достаточно большими, чтобы выступать за пределы колец зажима для образцов по всей окружности. Образцы следует отбирать согласно нормативному или техническому документу на соответствующий материал, если способ отбора образцов не является предметом изучения. Количество материала должно быть достаточным, чтобы подготовить не менее 30 образцов для испытания.

6.2 Испытуемые образцы не должны иметь точечных проколов, морщин, складок или других видимых дефектов, если такие дефекты не являются предметом изучения.

6.3 Толщина образцов не должна отличаться от номинальной более чем на ±10%.

7 Условия кондиционирования и испытания

7.1 Испытуемые образцы из материалов, которые требуют кондиционирования, кондиционируют перед испытанием по ГОСТ 12423 при температуре (23 ±2)°С и относительной влажности (50 ±5)% в течение не менее 40 ч. В случае разногласий допускаемые отклонения должны быть ±1°С и ±2% соответственно.

7.2 Испытание проводят в тех же условиях, что и кондиционирование. Для материалов, не требующих кондиционирования, испытания проводят при температуре (23 ±2)°С, относительная влажность не регламентируется.

8 Порядок проведения испытания

8.1 Определение толщины

Толщину испытуемого материала определяют по ГОСТ 17035.

Примечание - Метод А, предусмотренный в ГОСТ 17035, не применяют для измерения толщины тисненых материалов.

8.2 Подготовка аппаратуры

8.2.1 Устанавливают аппаратуру для испытания методом А или Б.

8.2.2 Включают электромагнит и помещают соответствующий боек (5.7) вертикально, вставив стальной наконечник стержня в адаптер магнита. Регулируют высоту падения (вертикальное расстояние от плоскости зажатого образца до нижней части поверхности головки бойка): (0,66 ±0,01) м - для метода А или (1,50 ±0,01) м - для метода Б.

Предупреждение - Для обеспечения безопасности при регулировках падающий груз удаляют.

8.2.3 Пробный образец зажимают между зажимными кольцами, добавляют к бойку дополнительные грузы-приращения, отключают электромагнит и отпускают боек. Наблюдают точку, в которой боек ударится в образец, подхватывая боек после того, как он отскочит от поверхности образца. При необходимости регулируют положение электромагнита таким образом, чтобы при повторных испытаниях боек воспроизводимо ударял в центр зажатой части испытуемого образца.

8.2.4 Периодически проверяют оборудование, чтобы убедиться, что в процессе испытания не происходит соскальзывание образца. Если происходит соскальзывание образца, результаты не учитывают. Вероятность соскальзывания образца увеличивается с увеличением массы падающего груза и высоты падения и зависит от материала.

Наличие соскальзывания образца можно легко установить во время испытаний при массе падающего груза, при которой разрушение образца как происходит, так и не происходит. Применяют любой из следующих методов.

8.2.4.1 До падения груза на образец, помещенный в зажимы, шариковой ручкой рисуют на образце окружность по краю отверстия подвижного (верхнего) кольца таким образом, чтобы на образце не оставалось вмятин.

Предупреждение - Для обеспечения безопасности при рисовании окружности на образце падающий груз удаляют.

После падения груза перед извлечением образца таким же образом шариковой ручкой другого цвета рисуют вторую окружность. Четкая двойная линия в любой точке окружности свидетельствует о том, что произошло соскальзывание образца.

8.2.4.2 Если для обеспечения более прочного захвата используют тонкую наждачную бумагу, наличие соскальзывания определяют простой проверкой зажатого участка образца после удара на наличие царапин, возникающих при соскальзывании.

8.3 Ступенчатое испытание (1.3)

8.3.1 Выбирают метод А или Б в соответствии с нормативным или техническим документом на испытуемый материал или по согласованию между заинтересованными сторонами.

8.3.2 Измеряют и записывают среднюю толщину испытуемых образцов в области удара в соответствии с 8.1.

8.3.3 Выбирают массу падающего груза, близкую к ожидаемой разрушающей массе при ударе. Добавляют необходимое количество грузов-приращений и устанавливают зажимную муфту так, чтобы грузы прочно удерживались.

8.3.4 Выбирают приращение массы падающего груза m, соответствующее ударной прочности образца. Выбранное значение ∆m должно быть таким, чтобы при определении было использовано от трех до шести (но не менее трех) грузов-приращений. Обычно используют значение m, равное 5% - 15% разрушающей массы при ударе.

8.3.5 Первый испытуемый образец помещают на нижнюю часть зажима так, чтобы он был плоским, без складок и покрывал прокладку во всех точках. Зажимают образец, используя верхнюю часть зажима.

8.3.6 Включают электромагнит и закрепляют падающий груз. Отключают электромагнит и отпускают падающий груз. Если падающий груз отскакивает от поверхности образца, подхватывают его после отскока, чтобы предотвратить множественные удары о поверхность образца и не повредить полусферическую поверхность контакта от удара.

8.3.7 Испытуемые образцы проверяют на наличие соскальзывания. Если происходит соскальзывание, результаты для данного образца не учитывают.

8.3.8 Проверяют целостность образцов, прошедших испытания. Разрушением считают любой разрыв образца, который можно легко определить на ощупь или визуально при подсветке образца. Оформляют результаты испытаний, как указано на рисунке 2: отмечают знаком «о» неразрушенные образцы и знаком «х» - разрушенные.

8.3.9 Если первый образец разрушен, массу падающего груза уменьшают на ∆m. Если первый образец не разрушен, массу падающего груза увеличивают на ∆m. Продолжают испытания серии образцов, уменьшая или увеличивая массу падающего груза на ∆m между падениями, в зависимости от того, разрушен или не разрушен предыдущий образец.

8.3.10 После испытания 20 образцов подсчитывают общее число разрушенных образцов N. Если N = 10 при данных условиях, испытания завершают. Если нет - продолжают следующим образом:

8.3.10.1 Если N < 10, проводят испытания дополнительных образцов, пока N не будет равно 10, затем испытания прекращают.

8.3.10.2 Если N > 10, продолжают испытания дополнительных образцов, пока общее число неразрушенных образцов («о» - 8.3.8) не достигнет 10, затем испытания прекращают.

Примечание - Результаты испытаний оформляют в соответствии с 8.3.8 («х» - образец разрушен; «о» - образец не разрушен)

Таблица 1 - Расчет разрушающей массы при ударе

та + (i - 1)∆m

ni

zi

nizi

120

1

0

0

135

4

1

4

150

4

2

8

165

1

3

3

N = 10; А = 15;

т0 = 120 г; ∆m = 15 г;

Рисунок 2 - Пример оформления результатов испытания

9 Обработка результатов

9.1 Разрушающую массу при ударе mf, г, вычисляют по формуле

(1)

где т0 - наименьшая масса падающего груза, при которой произошло разрушение для k ступеней приращения массы, г;

m - выбранное приращение массы, г;

(2)

где ni - число испытанных образцов, разрушившихся при массе падающего груза тi;

zi - число приращений массы от т0 до mi (z для т0 равно 0);

 - сумма разрушившихся образцов

(3)

Пример расчета разрушающей массы при ударе приведен на рисунке 2.

10 Протокол испытания

10.1 Протокол испытания должен содержать:

- ссылку на настоящий стандарт;

- полную идентификацию и описание испытуемого материала, включая тип, наименование поставщика, наименование изготовителя, основные размеры и, при необходимости, предысторию (дату изготовления, условия хранения и т.п.);

- толщину испытуемого материала и диапазон толщин испытанных образцов;

- условия испытания и кондиционирования (при применении кондиционирования);

- использованный метод (А или Б);

- значение разрушающей массы при ударе с точностью до 1 г.

Ключевые слова: пластмассы, пленки, полимерные листы, испытания, испытания на удар, испытательное оборудование

 

 




ГОСТЫ, СТРОИТЕЛЬНЫЕ и ТЕХНИЧЕСКИЕ НОРМАТИВЫ.
Некоммерческая онлайн система, содержащая все Российские Госты, национальные Стандарты и нормативы.
В Системе содержится более 150000 файлов нормативно-технической документации, действующей на территории РФ.
Система предназначена для широкого круга инженерно-технических специалистов.

Рейтинг@Mail.ru Яндекс цитирования

Copyright © www.gostrf.com, 2008 - 2026