|
|
Безопасность аттракционов ОБОРУДОВАНИЕ НАДУВНОЕ ИГРОВОЕ Требования безопасности. Методы испытаний
ПредисловиеЦели и принципы стандартизации в Российской Федерации установлены Федеральным законом от 27 декабря 2002 г. № 184-ФЗ «О техническом регулировании», а правила применения национальных стандартов Российской Федерации - ГОСТ Р 1.0-2004 «Стандартизация в Российской Федерации. Основные положения» Сведения о стандарте 1 РАЗРАБОТАН Обществом с ограниченной ответственностью «Мир-Дизайн», Закрытым акционерным обществом «Проектно-производственное предприятие «Циркон» 2 ВНЕСЕН Техническим комитетом по стандартизации ТК 427 «Аттракционы и другие устройства для развлечений» 3 УТВЕРЖДЕН И ВВЕДЕН В ДЕЙСТВИЕ Приказом Федерального агентства по техническому регулированию и метрологии от 10 декабря 2009 г. № 663-ст 4 ВВЕДЕН ВПЕРВЫЕ Информация об изменениях к настоящему стандарту публикуется в ежегодно издаваемом информационном указателе «Национальные стандарты», а текст изменений и поправок - в ежемесячно издаваемых информационных указателях «Национальные стандарты». В случае пересмотра (замены) или отмены настоящего стандарта соответствующее уведомление будет опубликовано в ежемесячно издаваемом информационном указателе «Национальные стандарты». Соответствующая информация, уведомление и тексты размещаются также в информационной системе общего пользования - на официальном сайте Федерального агентства по техническому регулированию и метрологии в сети Интернет СОДЕРЖАНИЕ
НАЦИОНАЛЬНЫЙ СТАНДАРТ РОССИЙСКОЙ ФЕДЕРАЦИИ
Дата введения - 2010-07-01 1 Область применения1.1 Настоящий стандарт распространяется на надувное игровое оборудование, предназначенное для детей (далее - посетители) до 14 лет при их индивидуальном и коллективном пользовании. 1.2 Стандарт устанавливает общие требования к безопасности конструкции и методам испытаний надувного игрового оборудования, в котором основными действиями посетителей являются прыжки и скатывание. 1.3 Стандарт определяет мероприятия, относящиеся к рискам, связанным с использованием надувного игрового оборудования, и требования по их минимизации для посетителей. 1.4 Стандарт не распространяется на надувные игровые и развлекательные водные конструкции, надувные игровые конструкции, в которых основными действиями посетителей не являются прыжки и скатывание, надувные домашние игрушки, надувные защитные конструкции для индивидуального пользования, надувные конструкции для проведения спасательных работ, надувные ангары, другие надувные конструкции и пневмостенды. 2 Нормативные ссылкиВ настоящем стандарте использованы нормативные ссылки на следующие стандарты: ГОСТ Р ИСО/МЭК 17025-2006 Общие требования к компетентности испытательных и калибровочных лабораторий ГОСТ Р 50571.27-2003 (МЭК 60364-7-740-2000) Электроустановки зданий. Часть 7-740. Требования к специальным установкам или местам их расположения. Временные электрические установки для сооружений, устройств для развлечений и павильонов на ярмарках, в парках развлечений и цирках ГОСТ Р 51885-2002 (ИСО 7001:90) Знаки информационные для общественных мест ГОСТ Р 52168-2003 Оборудование детских игровых площадок. Безопасность конструкции и методы испытаний горок. Общие требования ГОСТ Р 52169-2003 Оборудование детских игровых площадок. Безопасность конструкции и методы испытаний. Общие требования ГОСТ 2.201-80 Единая система конструкторской документации. Обозначение изделий и конструкторских документов ГОСТ 14254-96 (МЭК 529-89) Степени защиты, обеспечиваемые оболочками (код IP) ГОСТ 17074-71 Кожа искусственная. Метод определения сопротивления раздиранию ГОСТ 17316-71 Кожа искусственная. Метод определения разрывной нагрузки и удлинения при разрыве ГОСТ 24297-87 Входной контроль продукции. Основные положения ГОСТ 30402-96 Материалы строительные. Метод испытания на воспламеняемость Примечание - При пользовании настоящим стандартом целесообразно проверить действие ссылочных стандартов в информационной системе общего пользования - на официальном сайте Федерального агентства по техническому регулированию и метрологии в сети Интернет или по ежегодно издаваемому информационному указателю «Национальные стандарты», который опубликован по состоянию на 1 января текущего года, и по соответствующим ежемесячно издаваемым информационным указателям, опубликованным в текущем году. Если ссылочный стандарт заменен (изменен), то при пользовании настоящим стандартом следует руководствоваться заменяющим (измененным) стандартом. Если ссылочный стандарт отменен без замены, то положение, в котором дана ссылка на него, применяется в части, не затрагивающей эту ссылку. 3 Термины и определенияВ настоящем стандарте применены термины по ГОСТ Р 52168, ГОСТ Р 52169, а также следующие термины с соответствующими определениями: 3.1 надувное игровое оборудование: Конструкция, состоящая из одной или нескольких оболочек, соединенных между собой и поддерживаемых избыточным давлением воздуха, нагнетаемого одним или несколькими вентиляторами. 3.2 вентилятор: Устройство постоянного наддува и поддержания заданного избыточного давления внутри конструкции. 3.3 игровая площадка: Платформа, на которой посетители осуществляют прыжки или скатывание. 3.4 опасности: Источники возможных травм посетителей или вреда их здоровью. 3.5 открытая сторона: Любая внешняя сторона надувной конструкции, не имеющая стены. 3.6 пандус: Простейшее средство доступа, состоящее из плоской поверхности с углом наклона к горизонтали 0° - 30°. 3.7 петля: Узел крепления, выполненный из текстильных материалов. 3.8 платформа: Любая поверхность, на которой посетитель может стоять. 3.9 посетитель: Человек, находящийся в зоне надувного игрового оборудования или вспомогательных устройств. 3.10 риски: Каждая ситуация, в которой посетитель или посетители подвержены одной или нескольким опасностям. 3.11 рост посетителя: Максимальный рост посетителей, которым разрешено пользование надувной конструкцией. 3.12 система жесткого (анкерного) крепления: Метод закрепления надувной конструкции на земле с помощью стержней. 3.13 система балласта: Метод закрепления надувной конструкции на земле с помощью грузов. 3.14 соединительная труба: Часть надувной конструкции, с которой соединен вентилятор. 3.15 стена: Защитный элемент надувной конструкции, предназначенный для предотвращения недопустимых перемещений посетителей из игровой площадки. 3.16 ступень: Простейшее средство доступа, состоящее из ровной плоской поверхности. 3.17 узел крепления: Силовое устройство надувной конструкции, обеспечивающее ее соединение со швартовочным элементом. 3.18 швартовочный элемент: Силовое устройство, обеспечивающее передачу нагрузки от узла крепления надувной конструкции к одной из систем крепления для обеспечения устойчивого положения при максимальной скорости ветра и максимальной эксплуатационной нагрузке, и ограничивающее ее недопустимые перемещения. 3.19 эффективность петли: Отношение разрывной нагрузки соединения к разрывной нагрузке материала петли. 4 Требования безопасности4.1 Требования к материалам4.1.1 Ткани 4.1.1.1 Ткани должны иметь разрывную нагрузку и сопротивление раздиранию достаточные, чтобы воспринимать нагрузки от массы посетителей, сохранять наполненное положение надувного оборудования при давлениях, указанных в инструкции по эксплуатации, обеспечивать восстановление формы после деформации под действием прикладываемой нагрузки, не оказывать вредного воздействия на здоровье посетителей и окружающую среду в процессе эксплуатации. 4.1.1.2 Применение материалов с опасными по токсичности продуктами горения не допускается. 4.1.1.3 В надувной конструкции в местах, на которые действует нагрузка от посетителя, должны быть использованы ткани, имеющие следующие характеристики: - разрывная нагрузка - не менее 1850/5 Н (по ГОСТ 17316); - сопротивление раздиранию - не менее 175 Н (по ГОСТ 17074). 4.1.1.4 Применяемые материалы должны соответствовать группе В3 по ГОСТ 30402. 4.1.1.5 Ткани должны соответствовать требованиям нормативных документов по разрывной нагрузке, удлинению при разрыве, сопротивлению раздиранию и другим свойствам, используемым в расчетах. 4.1.1.6 Пригодность и срок службы материалов должны быть подтверждены опытным путем или по результатам испытаний. 4.1.1.7 Должны быть разработаны и внедрены мероприятия по поддержанию стабильного качества материалов и комплектующих элементов, используемых для изготовления надувного оборудования. 4.1.2 Нитки 4.1.2.1 Нитки, используемые для сборки надувного оборудования, должны иметь контрастный цвет по отношению к цвету материала. 4.1.2.2 Разрывная нагрузка ниток, используемых для соединения материалов в местах, на которые действует нагрузка от посетителя, и для сборки узлов крепления, должна быть не менее 88 Н. 4.1.2.3 Сборка изделий нитками, указанными в 4.1.2.2, должна быть произведена с частотой 20+3 стежков на 100 мм строчки. 4.1.3 Сетки 4.1.3.1 Сетки следует применять для ограничения игровой зоны, а также в качестве крыши или тента. 4.1.3.2 Ограничительная сетка не должна затруднять визуальный обзор за посетителями, находящимися в игровой зоне. 4.1.3.3 Ограничительная сетка должна выдерживать нагрузку от самого большого посетителя, для которого спроектирована надувная конструкция. 4.1.3.4 При высоте ограничительной сетки более 1 м ее ячейка должна быть не более 30 мм, чтобы в нее не могла влезть нога посетителя. 4.1.3.5 Сетки, используемые в качестве крыши и доступные для посетителей, должны иметь размер ячейки меньше Ø 7,5 мм, чтобы в нее не смог поместиться стержень-палец А (малый) (см. приложение Г ГОСТ Р 52169). 4.1.3.6 Сетки, располагаемые на склонах для подъема посетителей, должны быть изготовлены из каната диаметром не менее 12 мм и надежно зафиксированы. Концы должны быть надежно завязаны и обработаны для предотвращения износа. 4.1.4 Канаты 4.1.4.1 Канаты, закрепленные с обоих концов (лазательные канаты), должны соответствовать следующим требованиям: - стрела провеса каната - не более 20% расстояния между точками подвеса; - диаметр каната 18 - 45 мм. 4.1.4.2 Применение сплошных однородных (литых) канатов из полимерных материалов не допускается. 4.1.5 Застежки 4.1.5.1 Застежки и другие средства фиксации должны выдерживать давление, указанное в инструкции по эксплуатации, и растягивающие нагрузки, создаваемые в конструкции. 4.1.5.2 Застежки, используемые на входах и выходах, должны открываться с обеих сторон и быть доступными взрослым изнутри и снаружи. 4.1.5.3 Застежки, используемые для выпускания воздуха, должны быть закрыты клапаном или расположены в кармане. 4.2 Требования к оборудованию4.2.1 Надувные конструкции должны быть спроектированы таким образом, чтобы обслуживающий персонал мог свободно войти и перемещаться внутри для технического обслуживания, наблюдения за посетителями и оказания им помощи. 4.2.2 Высота свободного падения с любой открытой стороны надувной конструкции в ненагруженном состоянии должна быть не более 0,6 м от земли. 4.2.3 Ширина зоны приземления с любой открытой стороны должна быть не менее 1,2 м. 4.2.4 Давление внутри составных частей конструкции должно обеспечивать безопасность эксплуатации для посетителей (определяет и подтверждает разработчик). 4.2.5 Давление в игровой зоне мягкой горы не должно превышать 0,25 кПа (25 мм вод. ст.), но должно быть достаточным для предотвращения касания горы о землю. Давление на площадке вокруг мягкой горы должно быть не менее 1 кПа (100 мм вод. ст.). 4.2.6 При возникновении рисков, вызванных потерей давления в надувном оборудовании, время выпускания воздуха из него должно быть достаточным для безопасной эвакуации посетителей. 4.2.7 Игровые площадки 4.2.7.1 Игровые площадки должны быть выполнены в виде платформ. 4.2.7.2 Поверхность любой платформы должна быть ровной, без резких изменений кривизны в местах соединения несущих элементов (нервюр). 4.2.7.3 Глубина канавок на поверхности платформы игровой площадки, предназначенной для прыганья, стартового и конечного участка, участка скольжения не должна превышать 10% ширины соответствующей панели, измеренной в надутом положении без приложения нагрузки (рисунок 1), и не должна изменяться в процессе эксплуатации.
а - глубина канавок, б - ширина прилегающей панели Рисунок 1 - Глубина канавок на игровой площадке 4.2.7.4 На игровой площадке не должно быть препятствий, которые могут стать причиной застревания тела, частей тела или одежды посетителя. 4.2.7.5 Игровая площадка мягкой горы должна быть окружена надувной площадкой безопасности (рисунок 2). 4.2.7.6 Игровые площадки и окружающие площадки безопасности должны выдерживать массу максимального количества посетителей, для которых спроектирована данная надувная конструкция.
1 - надувная площадка безопасности; 2 - ширина площадки безопасности; 3 - игровая площадка Рисунок 2 - Секция мягкой горы 4.2.8 Ограждающие стены 4.2.8.1 Надувная конструкция должна иметь ограждающие стены. 4.2.8.2 Ограждающие стены должны быть надежно закреплены на основании. 4.2.8.3 Ограждающие стены должны быть вертикальными (90 ±5)°. 4.2.8.4 Башни, поддерживающие ограждающие стены, должны быть расположены в той же плоскости. 4.2.8.5 Надувные конструкции с высотой свободного падения от 0,6 до 3,0 м должны иметь ограждающую стену высотой не менее роста посетителя. 4.2.8.6 Ограждающая стена высотой 1,8 м подходит для посетителей любого роста при высоте свободного падения от 0,6 до 3,0 м. 4.2.8.7 Надувные конструкции с высотой свободного падения от 3,0 до 6,0 м должны иметь ограждающую стену высотой не менее 1,25 роста посетителя, или платформенная конструкция должна служить крышей над посетителем. 4.2.8.8 Надувные конструкции с высотой свободного падения более 6,0 м должны иметь ограждающие стены и несъемную крышу (рисунок 3).
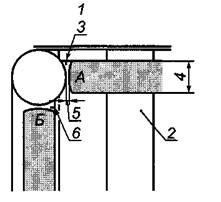
1 - не требуются ограждающие стены; 2 - необходимы ограждающие стены с рост посетителя; 3 - необходимы ограждающие стены в 1,25 раза выше роста посетителя; 4 - необходима постоянная крыша; 5 - необходимы ограждающие стены и крыша Рисунок 3 - Высота ограждающей стены на платформе 4.2.8.9 Минимальная высота ограждающих стен и несъемной крыши должна быть не менее 750 мм от поверхности платформы до нижней поверхности крыши. 4.2.8.10 Высоту стены необходимо измерять от поверхности платформы до ее верха под углом 90° к платформе. 4.2.8.11 В конструкции ограждающих стен не должно быть элементов, допускающих лазанье по ним посетителей или их подъем. 4.2.8.12 Ограждающие стены должны выдерживать нагрузки от самого большого/тяжелого посетителя, для которого спроектирована данная надувная конструкция. 4.2.9 Высота стен на горках 4.2.9.1 Высота ограждающих стен на склоне горки или пандусе для подъема с углом наклона более 30° на первом метре участка скольжения от вершины должна быть не менее роста посетителя, а на остальной части - в половину роста посетителя (рисунок 4). 4.2.9.2 На склоне горки или пандусе с высотой свободного падения более 6,0 м должны быть ограждающие стены и постоянно прилегающая крыша. 4.2.9.3 Минимальная высота ограждающих стен и постоянной крыши должна быть не менее 750 мм от поверхности платформы до нижней поверхности крыши. 4.2.9.4 Склоны с углом наклона менее 30° считаются платформами.
1 - первый метр участка скольжения; 2 - высота ограждающей стены стартового участка; 3 - высота ограждающей стены, равная росту посетителя; 4 - высота ограждающей стены, равная 50% роста посетителя; 5 - высота свободного падения; 6 - угол склона более 30°; 7 - ограждающая стена стартового участка; 8 - поверхность стартового участка; 9 - участок скольжения; 10 - конечный участок Рисунок 4 - Высота ограждающих стен на склонах 4.2.10 Конечный участок горки 4.2.10.1 Все горки должны иметь конечный участок со средним углом наклона не более 10°. 4.2.10.2 Длину конечного участка следует определять с учетом высоты стартового участка горки и измерять от конца радиуса или угла участка скольжения до края надувной конструкции. Минимальная длина конечного участка горки приведена в таблице 1. Таблица 1 - Минимальная длина конечного участка горки В сантиметрах
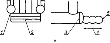
4.2.10.3 При высоте стартового участка горки более 3 м конечный участок горки должен быть снабжен стеной останова, а его длина должна быть увеличена на 50 см. 4.2.10.4 Высота стены останова должна быть не менее половины роста посетителя. 4.2.11 Проходы для входа и выхода посетителей 4.2.11.1 В конструкции должны быть предусмотрены проходы для входа и выхода посетителей. 4.2.11.2 Для подъема на игровую площадку следует применять ступеньки или пандусы. 4.2.11.3 Ступеньки и пандусы должны быть спроектированы и изготовлены так, чтобы свести к минимуму риск падения посетителей при входе и выходе, а также риски выпадения посетителей при эксплуатации. 4.2.11.4 Проходы для входа и выхода посетителей могут быть совмещены. 4.2.11.5 Ширина ступенек или пандуса должна перекрывать проем при входе/выходе (рисунок 5). 4.2.11.6 Глубина ступеньки или пандуса должна быть не менее чем в 1,5 раза больше высоты прилегающей игровой платформы, к которой они присоединены. 4.2.11.7 Высота ступеньки или начала пандуса должна составлять половину высоты прилегающей игровой платформы, к которой они присоединены.
1 - перекрытие входа/выхода; 2 - открытая сторона; 3 - высота прилегающей игровой платформы; 4 - длина ступеньки или пандуса; 5 - ступенька; 6 - пандус Рисунок 5 - Ступень (а) и пандус (б) 4.2.11.8 Надувное оборудование, предназначенное для развлечения более 15 посетителей, должно иметь более одного выхода. Посетители в таких конструкциях не должны находиться на расстоянии, удаленном от выхода более чем на 5 м. 4.2.11.9 В полностью закрытых надувных конструкциях указатели «Выход» должны быть видны при любых обстоятельствах и обозначены по ГОСТ Р 51885 (ИСО 7001). 4.2.12 Крепление 4.2.12.1 Надувные конструкции должны иметь узлы крепления. 4.2.12.2 Надувную конструкцию допускается крепить к земле с помощью системы жесткого (анкерного) или балластного крепления. 4.2.12.3 Каждая надувная конструкция должна иметь не менее шести узлов крепления. 4.2.12.4 Места расположения узлов крепления должны быть рассредоточены по периметру и с внешней стороны стен надувной конструкции. 4.2.12.5 Узлы крепления в области приземления должны быть расположены по периметру нижнего края и как можно ближе к надувной конструкции. 4.2.12.6 Узлы крепления могут быть выполнены в виде петель, петель с металлическими кольцами, полукольцами, пряжками. 4.2.12.7 Эффективность петли должна быть более 80%, но не менее 1600 Н. 4.2.12.8 Швартовочные элементы должны быть соединены с узлами крепления способами, исключающими их самопроизвольное отсоединение. 4.2.13 Застревания 4.2.13.1 Надувное оборудование не должно допускать застревания головы, частей тела и одежды посетителя. 4.2.13.2 Не допускаются застревания головы и шеи посетителей: - в отверстиях; - частично ограниченных и V-образных зазорах и щелях; - подвижных отверстиях, зазорах и щелях. 4.2.13.3 Нежесткие элементы (например, канаты, тросы) не должны пересекаться и допускать застревания головы и шеи посетителей. 4.2.13.4 Не допускаются застревания тела посетителей: - между смежными поверхностями; - в тоннелях. 4.2.13.5 Смежные поверхности должны быть на расстоянии более 120 мм друг от друга, если щель имеет глубину более 200 мм (рисунок 6). 4.2.13.6 В надувном оборудовании следует применять тоннели, открытые с двух сторон. 4.2.13.7 Требования безопасности к конструкции тоннелей должны соответствовать приведенным в таблице 2 ГОСТ Р 52169. 4.2.13.8 Не допускаются застревания пальцев посетителя в зазорах и щелях, в то время как тело может перемещаться (скользить, падать). 4.2.13.9 Не допускаются застревания одежды посетителя: - в V-образных зазорах и щелях; - выступах элементов конструкции. 4.2.13.10 Конструкции горок не должны допускать застревания пуговиц. 4.2.13.11 Испытания на застревания - в соответствии с приложением Г ГОСТ Р 52169.
4.2.14 Зона безопасности горки 4.2.14.1 Зону безопасности горки определяют последовательным построением нескольких цилиндров, перпендикулярных к игровой поверхности и расположенных по направлению перемещения посетителя, вызванного использованием оборудования. 4.2.14.2 Определение зоны безопасности и размеры - в соответствии с рисунком 9 и таблицей 3 ГОСТ Р 52169. 4.2.15 Электрооборудование и вентиляторы 4.2.15.1 Электрооборудование должно соответствовать требованиям ГОСТ Р 50571.27-2003. 4.2.15.2 Электрические кабели должны быть защищены от возможного контакта с посетителями. 4.2.15.3 Степень защиты вентилятора должна соответствовать ГОСТ 14254. 4.2.15.4 Конструкция вентилятора должна иметь защитные элементы, исключающие риски, связанные с угрозой попадания частей тела, одежды или посторонних предметов на движущиеся элементы вентилятора, с угрозой повреждения или поломки вентилятора. 4.2.15.5 Размер ячейки защитного элемента должен исключать прохождение в него стержня-пальца А (малого) (см. приложение Г ГОСТ 52169). 4.2.15.6 Вентилятор должен быть расположен на расстоянии не менее 1,2 м от стороны со стенкой и 2,5 м от открытой стороны конструкции. Соединительная труба должна иметь необходимую для этого длину. 4.2.15.7 Если вентилятор размещен внутри надувного оборудования, то он должен быть расположен на расстоянии не менее 2,5 м от игровой площадки, зоны безопасности, посадочной площадки. 4.2.16 Прочность конструкции надувного оборудования 4.2.16.1 Прочность конструкции надувного оборудования оценивают: - расчетами; - физическими (натурными) испытаниями в соответствии с приложением Б настоящего стандарта; - комбинацией расчетов и испытаний. 4.2.16.2 При выполнении расчетов прочности конструкции надувного оборудования должен быть использован коэффициент безопасности 1,5 и коэффициент запаса прочности 5. 4.2.16.3 Расчетами и испытаниями должно быть показано, что при коэффициентах по 4.2.16.2 сведены к минимуму риски, вызванные расползанием или мгновенным разрушением материала надувного оборудования при отсутствии элементов локализации разрыва. 4.2.16.4 При расчетах максимальную массу одного посетителя принимают равной 85 кг. 4.2.16.5 Расчеты на устойчивость и возможность опрокидывания выполняют, если только отсутствие такой опасности неочевидно. 4.2.16.6 При натурных испытаниях прочности в соответствии с приложением Б в конструкциях не должны возникать разрушения, повреждения и расползания ткани и сборочных соединений. 4.2.16.7 При натурных испытаниях прочности конструкции надувного оборудования в соответствии с приложением Б подтверждают способность каждой конструкции воспринимать как постоянные, так и временные нагрузки, действующие на оборудование и его составные части. 5 Методы испытаний5.1 Требования безопасности в соответствии с разделом 4 проверяют визуально, органолептически или инструментальными методами. 5.2 Значения прикладываемых нагрузок - в соответствии с приложением А. 5.3 Натурные испытания - в соответствии с приложением Б. 5.4 Испытания на застревания - в соответствии с приложением Г ГОСТ 52169. 5.5 По результатам испытаний оформляют отчет в соответствии с ГОСТ Р ИСО/МЭК 17025. 6 Обозначение и маркировка6.1 ОбозначениеОбозначение - по ГОСТ 2.201. 6.2 Маркировка6.2.1 Каждое надувное оборудование должно содержать следующую информацию: название предприятия, его почтовый и юридический адрес, тип и название надувного оборудования и его заводской номер, тип и мощность вентилятора. 6.2.2 На каждом надувном оборудовании должна быть размещена информационная табличка изготовителя, содержащая следующие сведения: наименование и заводской номер оборудования, максимальный рост (или масса) посетителя (м, кг), максимальное число посетителей (чел.), максимальную эксплуатационную нагрузку, ограничения при эксплуатации. 6.2.3 Информационная табличка должна быть нанесена изготовителем непосредственно на надувное оборудование со стороны входа. 6.2.4 Информация для посетителей должна быть доступна для чтения посетителями в течение всего срока эксплуатации. 6.2.5 Соединительная труба или трубы должны иметь маркировку, чтобы их нельзя было перепутать с другими трубами (труба для спускания воздуха, смотровая труба). 6.2.6 Вентилятор должен иметь маркировку с указанием напряжения питания, частоты, числа оборотов, потребляемой мощности, модели вентилятора, заводского номера, года выпуска и предприятия-изготовителя. 6.2.7 Краски и материалы, используемые для маркировки и декоративного оформления, не должны оказывать вредного воздействия на посетителей и окружающую среду. Приложение
А
|
||||||||||||||||||||||||||||||||||||||||||||||||||||||||||||||||||||||||||||||||||||||||||||||||||||||||||||||||||||||||||||
|
Gn = nm, |
(A.1) |
где п - расчетное число посетителей на оборудовании - по А.3;
т - максимальная масса одного посетителя, кг - по таблице А.1.
Таблица А.1 - Максимальная масса посетителя, для которого предназначена конструкция
|
Рост посетителя, см |
Максимальная масса посетителя т, кг |
|
100 |
25,0 |
|
120 |
35,0 |
|
150 |
65,0 |
|
180 |
85,0 |
А.2.2.2 Коэффициент динамичности
При расчетах нагрузок должен быть использован коэффициент динамичности cd, учитывающий дополнительную нагрузку, вызванную перемещением посетителей (прыганье, скольжение). Значения коэффициента динамичности приведены в таблице А.2.
Таблица А.2 - Коэффициент динамичности
|
Рост посетителя, см |
Коэффициент динамичности cd |
|
100 |
1,1 |
|
120 |
1,3 |
|
150 |
1,4 |
|
180 |
1,5 |
А.2.2.3 Общая вертикальная нагрузка от посетителей
Вертикальную нагрузку от посетителей Fn.v, H, определяют по формуле
|
Fn.v = gGncd, |
(A.2) |
где g - ускорение свободного падения (10 мсг2);
Gn - по формуле (А.1);
cd - по таблице А.2.
А.2.2.4 Общая горизонтальная нагрузка от посетителей
Горизонтальную нагрузку от посетителей, действующую на ограждающие стены игровой площадки и стартового участка, Fn,h, Н, принимают равной 50% вертикальной нагрузки Fn,h по формуле (А.3):
|
Fn,h = 0,5Fn.v, |
(A.3) |
А.2.2.5 Виды нагрузок от посетителей, равномерно распределенных по элементу конструкции
А.2.2.5.1 Сосредоточенную вертикальную нагрузку Fv вычисляют по формуле
|
Fv = Fn.v. |
(A.4) |
А.2.2.5.2 Сосредоточенную горизонтальную нагрузку Fh вычисляют по формуле
|
Fh = 0,5Fn.v = 0,5Fv |
(A.5) |
А.2.2.5.3 Сосредоточенные нагрузки действуют внутри круга диаметром d = 36 см.
А.2.2.5.4 Вертикальную нагрузку на платформе Pv, Н/м2, вычисляют по формуле
|
|
(A.6) |
где А - площадь платформы.
А.2.2.5.5 Горизонтальную нагрузку на платформе Ph, Н/м2, вычисляют по формуле
|
|
(A.7) |
А.2.2.6 Максимальная нагрузка от ветра
Максимальную нагрузку от ветра определяют для каждой стороны конструкции по формуле
|
|
(A.8) |
где F - нагрузка от ветра, действующая на одну сторону;
cw - коэффициент лобового сопротивления, 1,5;
ρ - плотность воздуха, 1,24 кг/м2;
V - максимальная скорость ветра, м/с;
А - площадь поверхности конструкции, подверженная действию ветра, м2.
Максимальная скорость ветра, при которой допускается эксплуатация надувной конструкции на открытом воздухе, не должна превышать 38 км/ч (сила ветра 6 по шкале Бофорта) (см. приложение В).
А.3 Число посетителей, размещающихся на оборудовании
А.3.1 Число посетителей, размещающихся на оборудовании, рассчитывают для каждого элемента конструкции. Полученный результат округляют в большую сторону до целого.
А.3.2 Число посетителей, размещающихся на ограниченной платформе (в точке)
А.3.2.1 Любой элемент конструкции, предназначенный для подъема и ходьбы (пандус, ступень), шириной более 10 см должен выдерживать нагрузку от одного самого большого/тяжелого посетителя, для которого спроектирована данная надувная конструкция.
А.3.2.2 Число посетителей п, размещающихся на ограниченной платформе, равно единице.
А.3.3 Число посетителей, размещающихся на платформе
Число посетителей n, размещающихся на платформе, вычисляют по формуле
|
|
(A.9) |
где А - площадь платформы, м2;
cd - коэффициент динамичности.
А.3.4 Число посетителей, размещающихся на лестнице
Допустимое число посетителей п на одну лестницу, обеспечивающую доступ к стартовой зоне, вычисляют по формуле
|
|
(A.10) |
где L - длина лестницы, м.
Б.1 Испытания по проверке прочности сборочных соединений
Б.1.1 В испытуемом объекте должно быть создано давление, превышающее минимальное давление, указанное в эксплуатационной документации, на 20% - 25%. Контроль давления необходимо проводить с использованием манометра.
Б. 1.2 Испытуемый объект должен выдерживать указанное давление в течение 10 мин при отсутствии внешней нагрузки.
Б.1.3 После испытаний в испытуемом объекте не должно быть разрушений, повреждений и расползания сборочных соединений, остаточных деформаций.
Б.2 Испытания ступени или пандуса
Б.2.1 Любой элемент надувного оборудования, предназначенный для подъема посетителей, шириной более 10 см, с углом наклона менее 30° должен выдерживать нагрузку от одного посетителя.
Б.2.2 В испытуемом объекте должно быть создано давление, указанное в эксплуатационной документации.
Б.2.3 На пандусе или ступеньке проводят воображаемую прямоугольную сетку, отступив от края 50 см.
Б.2.4 При длине пандуса или ступени d > 100 см значение d1 = 50 см. При длине d < 1 м значение d = 1/2d. Значение d2 = 100 см (рисунок Б.1).
Б.2.5 Должны быть приготовлены имитаторы, представляющие собой грузы, вес которых соответствует максимальной массе посетителя, для которого предназначена надувная конструкция (см. таблицу А.1).
Б.2.6 Имитаторы могут состоять из нескольких грузов, соединенных между собой.
Б.2.7 Имитаторы (грузы весом, соответствующим максимальной массе посетителя) помещают по очереди в каждую точку, где пересекаются линии сетки.
Б.2.8 Если имитатор состоит из нескольких грузов, то они должны быть равномерно распределены по кругу диаметром 36 см.

Рисунок Б.1
Б.2.9 Испытуемый объект должен выдерживать приложенную нагрузку в течение 5 мин без касания грузов земли.
Б.3 Испытания по проверке статической прочности
Б.3.1 В испытуемом объекте должно быть создано давление, указанное в эксплуатационной документации.
Б.3.2 Количество имитаторов должно соответствовать максимальному числу посетителей для испытуемого объекта, а масса каждого из них - максимальной массе посетителя.
Б.3.3 Испытания проводят для трех случаев.
Б.3.3.1 Имитаторы размещают на игровой площадке равномерно на расстоянии 1 м друг от друга, отступив от ограждающих стен не менее 50 см.
Б.3.3.2 Все имитаторы размещают на игровой площадке вдоль одной из ограждающих стен, отступив от нее не менее чем на 50 см.
Б.3.3.3 Все имитаторы размещают в игровой зоне вдоль открытой стороны, отступив от начала открытой стороны не менее чем на 50 см.
Б.3.4 Испытуемый объект должен выдерживать приложенную нагрузку в течение 10 мин без касания грузами земли.
Б.4 Испытания по проверке прочности узлов крепления
Б.4.1 В испытуемом объекте должно быть создано давление, указанное в эксплуатационной документации.
Б.4.2 Все имитаторы должны быть размещены в игровой зоне равномерно вдоль ограждающей стены, где расположен испытуемый узел крепления, отступив от нее не менее чем на 50 см.
Б.4.3 Остальные узлы крепления должны быть закреплены.
Б.4.4 К испытываемому узлу прикладывают нагрузку не менее 1600 Н под углом 60° к линии основания надувного оборудования.
Б.4.5 Испытуемый узел должен выдерживать приложенную нагрузку в течение 10 мин.
Б.4.6 После испытаний в испытуемом узле не должно быть разрушений, повреждений и расползания сборочных соединений.
Б.5 Определение времени эвакуации посетителей при потере давления в конструкции
Б.5.1 В испытуемом объекте должно быть создано давление, указанное в эксплуатационной документации.
Б.5.2 Имитаторы должны быть размещены равномерно в игровой зоне.
Б.5.3 Узлы крепления должны быть закреплены.
Б.5.4 Производят отключение вентилятора.
Б.5.5 Производят замер времени от момента отключения вентилятора до момента касания земли одним из грузов и до момента касания противоположно расположенных ограждающих стен.
Таблица В.1
|
Сила |
Описание |
Явления |
Скорость ветра, км/ч |
|
0 |
Безветренно |
Дым поднимается вертикально |
< 0,62 |
|
1 |
Легкий ветер |
Направление ветра видно по дыму из трубы, флюгер не меняет направление |
От 1,08 до 5,4 |
|
2 |
Легкий бриз |
Ветер чувствуется лицом, листья шелестят, ветер направляет флюгер |
От 5,76 до 11,88 |
|
3 |
Слабый бриз |
Листья и веточки качаются. Ветер расправляет небольшие флаги |
От 12,24 до 19,44 |
|
4 |
Умеренный бриз |
Поднимается пыль и мусор. Маленькие ветки качаются |
От 19,8 до 28,44 |
|
5 |
Свежий ветер |
Небольшие деревья с листьями качаются |
От 28,8 до 38,52 |
|
6 |
Сильный ветер |
Большие ветки качаются. Свист телеграфных проводов. Трудно пользоваться зонтами |
От 38,88 до 49,68 |
|
7 |
Ветер, близкий к шторму |
Деревья падают. Двигаться против ветра трудно |
От 50,04 до 61,56 |
|
8 |
Буря |
Ветки срывает с деревьев |
От 61,92 до 74,52 |
|
9 |
Шторм |
Слабые разрушения конструкций. Дымовые трубы и шифер срываются |
От 74,88 до 87,84 |
|
10 |
Жесткий шторм |
Деревья вырываются с корнем. Серьезные разрушения зданий |
От 88,2 до 102,24 |
|
11 |
Сильный шторм |
Невосстановимые убытки |
От 102,6 до 117,36 |
|
12 |
Ураган |
- |
> 117,72 |
Ключевые слова: аттракционы, надувное игровое оборудование, безопасность, методы испытаний
|
ГОСТЫ, СТРОИТЕЛЬНЫЕ и ТЕХНИЧЕСКИЕ НОРМАТИВЫ. Некоммерческая онлайн система, содержащая все Российские Госты, национальные Стандарты и нормативы. В Системе содержится более 150000 файлов нормативно-технической документации, действующей на территории РФ. Система предназначена для широкого круга инженерно-технических специалистов. Copyright © www.gostrf.com, 2008 - 2026 |