|
|
|
МИНИСТЕРСТВО ТРАНСПОРТНОГО СТРОИТЕЛЬСТВА ГОСУДАРСТВЕННЫЙ ВСЕСОЮЗНЫЙ ДОРОЖНЫЙ СОЮЗДОРНИИ
ПОСОБИЕ В РАЗВИТИЕ СНиП 2.05.02-85 «АВТОМОБИЛЬНЫЕ ДОРОГИ» Одобрено Главным техническим управлением (решение № 37-07-17/11 от 27.10.86) Москва 1889 ПОСОБИЕ ПО ПРОЕКТИРОВАНИЮ ЭЛЕМЕНТОВ ПЛАНА, ПРОДОЛЬНОГО И ПОПЕРЕЧНОГО ПРОФИЛЕЙ/ИНЖЕНЕРНЫХ ОБУСТРОЙСТВ, ПЕРЕСЕЧЕНИЙ И ПРИМЫКАНИЙ АВТОМОБИЛЬНЫХ ДОРОГ. Союздорнии. М., 1989. Составлено в развитие СНиП 2.05.02-85 "Автомобильные дороги" и содержит рекомендации, детализирующие нормы проектирования по классификации автомобильных дорог, расчетным показателям элементов плана, продольного и поперечного профилей, пересечений и примыканий автомобильных дорог и по их инженерным обустройствам. Предназначено для инженерно-технических работников проектных организаций. ВВЕДЕНИЕ"Пособие по проектированию элементов плана, продольного и поперечного профилей, инженерных обустройств, пересечений и примыканий автомобильных дорог" содержит вспомогательный материал, развивающий требования СНиП 2.05.02-85, позволяющий принимать и обосновывать проектные решения с учетом различных факторов. В тексте без скобок указаны номера пунктов и таблиц по Пособию, в скобках - соответствующие им номера по СНиП 2.05.02-85. Текст, включенный в Пособие из СНиП 2.05.02-85 без изменения, выделен. Пособие разработано Союздорнии Минтрансстроя СССР при участии Союзпорпроекта и Тбилгипроавтодортранса Минтрансстроя СССР, Промтрансниипроекта Госстроя СССР, МАДИ, Минвуза СССР, ВНИИ МВД СССР Главного управления ГАИ МВД СССР, Гипродорнии Минавтодора РСФСР, Грузгосоргдорнии, Минавтодора ГССР. Пособие подготовили: от Союздорнии Минтрансстроя - инж. О. Н. Яковлев (руководитель темы), канд. техн. наук Н. А. Рябиков, инженеры В. И. Баранов, Н. С. Беззубик, Е. Н. Гребеневич, А. В. Ионов, кандидаты технических наук Ю. С. Крылов, М. Т. Работяга, инженеры З. Н. Федотова, Л. Т. Чертков; от Союздорпроекта Минтрансстроя - инж. В. М. Телегин; от Тбилгипроавтодортранса Минтрансстроя - инж. В. И. Ксенодохов; от Промтрансниипроекта - кандидаты технических наук А. Г. Колчанов, В. С. Порожняков, А. С. Гузунов; от МАДИ Минвуза СССР - доктора технических наук В. Ф. Бабков, А. П. Васильев, Е. М. Лобанов, В. В. Сильянов, канд. техн. наук О. А. Дивочкин, инж. С. М. Булак; от ВНИИ МВД СССР - кандидаты технических наук В. Я. Буйленко, В. В. Новизенцев; от ГУ ГАИ МВД СССР - инженеры С. А. Галаев, Ю. С. Остроумов; от Гипродорнии Минавтодора РСФСР - кандидаты технических наук Г. Н. Артемов, В. Д. Белов, В. П. Расников, инж. В. Д. Казанский; от Грузгосоргдорнии Минавтодора ГССР - канд. техн. наук Т. А. Шилакадзе. 1. ОБЩИЕ ПОЛОЖЕНИЯ1.1. Настоящее Пособие содержит вспомогательные справочные материалы и методические указания по разработке проектов на строительство и реконструкцию автомобильных дорог СССР общего пользования и подъездных дорог промышленных предприятий. Пособие не распространяется на проектирование временных (сооружаемых на срок службы менее 5 лет) автомобильных дорог различного назначения, автозимников, дорог лесозаготовительных предприятий, внутренних дорог промышленных предприятий (испытательных, внутриплощадочных, карьерных и т.п.), проектируемых в соответствии со СНиП 2.05.07-85, и внутрихозяйственных автомобильных дорог в колхозах, совхозах и Других сельскохозяйственных предприятиях и организациях, проектируемых в соответствии со СНиП 2.05.11-83. 1.2. Госстрой и дорожные министерства союзных республик по согласованию с Госстроем СССР могут разрабатывать местные (региональные) нормативные документы, указания и рекомендации; отражающие специфику проектирования автомобильных дорог в условиях данного региона. 1.3. При проектировании автомобильных дорог, кроме главы СНиП 2.05.02-85, других общесоюзных нормативных документов и настоящего Пособия, следует учитывать ведомственные нормативы, а также основные действующие методические и научно-технические рекомендации. 1.4(1.1). При разработке проектов автомобильных дорог категорию последних следует определять исходя из интенсивности движения потока транспортных средств определенной в результате технико-экономических изысканий, с учетом народнохозяйственного и административного значения дороги (табл. 1(1)).
Классификация автомобильных дорог общего пользования по народнохозяйственному и административному значению приведена в прил. 1. 1.5. Автомобильные дороги I категории подразделяются следующим образом: 1-а - магистральные автомобильные дороги (автомагистрали) - дороги, обслуживающие дальние автомобильные перевозки, связывающие крупные административные и индустриальные центры, проходящие в обход городов и населенных пунктов, а также скоростные подъезды к крупным транспортным узлам, туристским центрам и курортам союзного значения, предназначенные для движения автомобилей с высокими скоростями, имеющие пересечения с автомобильными дорогами и железными дорогами любого значения, трамвайными линиями, пешеходными и велосипедными дорожками только в разных уровнях; транспортные развязки должны обеспечивать въезд на них и выезд с них без пересечений потоков движения в одном уровне; 1-б - автомобильные дороги, не отнесенные к 1-а категории, обслуживающие в основном автомобильные перевозки между населенными пунктами и промышленными районами, выходы из крупных городов и кольцевые дороги вокруг крупных городов и промышленных центров; имеющие пересечения с автомобильными дорогами III категории и выше, с железными дорогами, трамвайными линиями только в разных уровнях; транспортные развязки должны обеспечивать въезд на них и выезд с них без пересечения потоков движения в одном уровне. 1.6. Дороги V категории следует проектировать, как правило, на коротких подъездах к отдельным объектам или на подъездах к удаленным территориям, используемым несколькими хозяйствами (горные пастбища, пионерские лагеря, дома отдыха и т.п.). 1.7(1.2). К подъездным автомобильным дорогам промышленных предприятий относятся дороги, обеспечивающие связь предприятий с автомобильными дорогами общего пользования, городскими дорогами, с предприятиями других отраслей, железнодорожными станциями, портами и т.п., рассчитываемые на пропуск транспортных средств, допускаемых для обращения на дорогах общего пользования, если по этим дорогам не предусматриваются технологические перевозки с применением специализированных транспортных средств, автомобилей особо большой грузоподъемности и малогабаритных моторных тележек. При наличии в составе движения указанных транспортных средств подъездные дороги следует проектировать по СНиП 2.05.07-85. 1.8(1.3). Расчетные значения интенсивности движения соответствуют определенному для каждой категории дороги уровню загрузки. Транспортные средства, составляющие поток, в силу различия эксплуатационных показателей (эффективность тормозной системы, полная масса и т.д.) оказывают различное влияние на загрузку дороги. Для получения сопоставимых уровней загрузки дороги транспортными средствами различных типов и грузоподъемности поток, состоящий из различных транспортных средств, приводится к потоку легковых автомобилей. При этом ставится задача определения интенсивности движения потока легковых автомобилей, равноценного по уровню загрузки смешанному потоку транспортных средств. По расчетной интенсивности движения (см. табл. 1(1)), выраженной в транспортных единицах, назначают категорию дороги в тех случаях, когда грузовые автомобили составляют более 70% транспортного потока, а в единицах, приведенных к легковому автомобилю, - когда легковые автомобили составляют 30% и более. Переход интенсивности, выраженной в единицах транспортных средств, к интенсивности, приведенной к легковому автомобилю, осуществляется умножением интенсивности потока транспортных средств определенного типа на соответствующий коэффициент приведения. Коэффициенты приведения следует принимать по табл. 2(2). Указанные в табл. 2(2) коэффициенты приведения отражают отношение динамических габаритов транспортных средств (минимальных безопасных расстояний между одноименными точками двух движущихся друг за другом транспортных средств) к динамическим габаритам легковых автомобилей, определенным при одной и той же скорости, а также динамические характеристики транспортных средств (реализуемую скорость, динамичность и маневренность).
В прил. 2 приведены основные типы автотранспортных средств, используемых на дорогах общего пользования, и их грузоподъемность. При промежуточных значениях грузоподъемностей автотранспортных средств коэффициенты приведения следует определять интерполяцией. 1.9. Для автобусов и специальных автомобилей коэффициенты приведения следует принимать равными коэффициентам приведения тех автотранспортных средств, на базе которых они изготовлены или которым соответствует их полная масса. Для автобусов типа ЛиАЗ и ЛАЗ коэффициенты приведения рекомендуется принимать равными 2,5, а типа ПАЗ - 2. 1.10. В пересеченной и горной местности в силу меньшей маневренности грузовые автомобили и автопоезда влияют на уровень загрузки в большей степени, чем в равнинной. Поэтому для условий пересеченной и горной местности коэффициенты приведения, указанные в табл. 2(2) для грузовых автомобилей и автопоездов, следует увеличивать в 1,2 раза. 1.11(1.4). На участках автомобильных дорог в районах крупных городов обычно отмечается значительное увеличение интенсивности движения легковых автомобилей в предвыходные и воскресные дни, связанное с массовым выездом населения в зоны отдыха. Такая интенсивность наблюдается в течение нескольких часов и достигает максимума в вечернее время в воскресные дни, когда население почти одновременно (в течение 3-5 ч) возвращается из зон отдыха. При этом интенсивность движения может быть в 2-3 раза и более выше определяемой из условия среднегодовой суточной, что может привести (и приводит) к перегрузке дороги и образованию заторов. Назначать категорию таких участков автомобильных дорог целесообразно в соответствии с наибольшей перспективной часовой интенсивностью движения, прив. ед/ч: св. 2400 - 1 категория; " 1600 до 2000 - II категория; " 800 " 1600 - III категория. 1.12(1.5). Расчетную интенсивность движения для назначения категории автомобильных дорог и их проектирования принимают на основе данных, полученных в результате экономических изысканий. При этом категория автомобильной дороги назначается по суммарной в обоих направлениях среднегодовой суточной интенсивности движения на последний год перспективного периода. При наличии данных о часовой интенсивности движения в качестве расчетной целесообразно принимать наибольшую часовую интенсивность, достигаемую (или превышаемую) в течение 50 ч в последний год перспективного периода. 1.13. На автомобильных дорогах, обслуживающих в основном сельскохозяйственные перевозки, интенсивность движения в летне-осенние месяцы (время уборки урожая) значительно превосходит среднегодовую суточную. Назначение категории в таких случаях по среднегодовой суточной интенсивности может привести к их перегрузке , образованию заторов и, следовательно, к снижению эффективности автомобильных перевозок, повышению их себестоимости, увеличению потребности в автотранспортных средствах, необходимых для выполнения заданного объема перевозок в возможно короткие сроки. В случаях, когда среднемесячная суточная интенсивность наиболее напряженного месяца в году более чем в 2 раза превышает установленную на основе экономических изысканий или расчетов среднегодовую суточную, последнюю для назначения категории дороги следует увеличивать в 1,5 раза. 1.14(1.6). В проектах следует принимать более высокую категорию дороги в случаях, когда по расчетной интенсивности движения (пп. 1.4(1.1) и 1.11 (1.4)) требуются неодинаковые категории. Основой для назначения категории автомобильной дороги является перспективная интенсивность движения среднегодовая суточная или часовая. Для проектирования необходимо принимать категорию более высокую, чем требуется по этим двум показателям. Административное и народнохозяйственное значение дороги при этом является второстепенным фактором, и назначение (повышение) ее категории по этому признаку может быть выполнено при согласовании с планирующими органами (Госпланами союзных республик, Госпланом СССР). 1.15(1.7). Автомобильные дороги являются дорогостоящими инженерными сооружениями, рассчитанными на длительный срок службы. Во избежание преждевременной реконструкции дороги с изменением элементов плана, продольного и поперечного профилей по мере роста интенсивности движения категорию автомобильной дороги назначают по интенсивности, ожидаемой в перспективе на 20-й год. Такая перспектива соответствует как пределу прогнозирования интенсивности движения с достаточной точностью, так и получению максимального экономического эффекта от капитальных затрат на строительство автомобильных дорог. 1.16. Для подъездных автомобильных дорог к промышленному предприятию за расчетный год перспективного периода принимается год достижения предприятием или его очередью полной проектной мощности с учетом объема перевозок в период его строительства. Для тех случаев, когда подъездная дорога или ее отдельные участки являются общими для ряда предприятий, за расчетный принимается год ввода в эксплуатацию последнего предприятия. 1.17(1.7). Перспективный период при проектировании дорожных одежд следует принимать с учетом межремонтных сроков их службы, которые устанавливаются в соответствии с действующими нормами. 1.18. При разработке проекта за начальный год расчетного перспективного периода следует принимать год завершения разработки проекта дороги (или самостоятельного участка дороги). При вводе дороги в эксплуатацию через 2-3 года после завершения разработки проекта перспективная интенсивность движения на расчетный период, отсчитываемый от года как завершения разработки проекта, так и ввода дороги в эксплуатацию, будет находиться в пределах точности прогнозирования. Если строительство дороги (или отдельного участка дороги) начинается через 5 лет и более после завершения разработки проекта, необходимо уточнять перспективную интенсивность движения и категорию дороги, а при их несоответствии - пересматривать принятые ранее проектные решения с целью предотвратить преждевременную перегрузку дороги и, следовательно, ее реконструкцию. 1.19(1.8). Автомобильные дороги общего пользования предназначены для пропуска автотранспортных средств с габаритами: по длине одиночных автомобилей до 12м и автопоездов до 20 м; по ширине до 2,5м; по высоте до 4 м для дорог. I-IV категорий и до 3,8 м для дорог V категории. Пропуск транспортных средств с габаритными размерами, превышающими указанные, может быть предусмотрен по дорогам общего пользования при наличии специального разрешения и при условии разработки мероприятий по обеспечению безопасности движения во время их пропуска. 1.20(1.9). Детальность проработки принимаемых проектных решений, учет местных условий, в том числе природно-климатических, и наличие местных строительных материалов в значительной степени определяют количественные и качественные показатели строительства и эксплуатации автомобильных дорог и работы автотранспорта. Принимаемые в проектах автомобильных дорог технические решения по их проложению на местности, элементам плана, продольного и поперечного профилей и их основным сочетаниям, типам пересечений и примыканий дорог, конструкциям дорожных одежд и земляного полотна, инженерным обустройствам дорог должны создавать предпосылки для роста производительности труда, экономии основных строительных материалов и топливно-энергетических ресурсов. Выбор наиболее рационального решения обосновывается разработкой вариантов и сравнением их технико-экономических показателей: стоимости строительства, затрат на ремонт и содержание дорог, потерь, связанных с воздействием на окружающую природную среду при строительстве и эксплуатации; себестоимости перевозок; обеспечения безопасности движения, изменения производственных условий обслуживаемых дорогами хозяйств и прилегающих к дорогам территорий и др. 1.21. В состав затрат, учитываемых при определении сравнительной экономической эффективности вариантов проектных решений, рекомендуется включать: капитальные вложения, осуществляемые в период строительства; капитальные вложения, необходимые для осуществления в процессе эксплуатации дороги работ по ее реконструкции, расширению, усилению или техническому перевооружению; капитальные вложения в автомобильный транспорт, соответствующие объему перевозок грузов и пассажиров на начало эксплуатации дороги; дополнительные ежегодные капитальные вложения в автомобильный транспорт, соответствующие приросту объемов перевозок грузов и пассажиров; стоимость оборотных фондов народного хозяйства, соответствующую массе грузов круглогодичного производства и потребления, постоянно находящихся в транспортном процессе; затраты на капитальный ремонт дороги; ежегодные затраты на текущий ремонт и содержание дороги; затраты на средний ремонт; затраты на перевозки грузов и пассажиров. При технико-экономическом обосновании проектных решений следует также учитывать: сокращение потерь и затрат в народном хозяйстве благодаря улучшению дорожных условий; сокращение текущих затрат в социальной сфере; потери от дорожно-транспортных происшествий; потери, связанные с временем пребывания пассажиров в пути; потери, связанные с ущербом, причиняемым автомобильными дорогами окружающей природной среде, или затраты по его предотвращению и др. 1.22. При технико-экономическом сравнении вариантов проектных решений следует руководствоваться Указаниями по определению экономической эффективности капитальных вложений в строительство и реконструкцию автомобильных дорог" ВСН 21-83 Минавтодора РСФСР (М.: Транспорт, 1985), "Инструкцией по учету потерь народного хозяйства от дорожно-транспортных происшествий при проектировании автомобильных дорог" ВСН 3-81 Минавтодора РСФСР (М.: Транспорт, 1982), а также другими специальными нормативно-техническими документами по определению влияния принимаемых проектных решений на эффективность капитальных вложений. 1.23. При проектировании элементов плана и продольного профиля необходимо учитывать, что назначение больших радиусов и меньших продольных уклонов приводит к повышению скорости, безопасности движения и снижению себестоимости перевозок. В равнинной местности и на малозастроенной территории это способствует также снижению стоимости строительства за счет спрямления и уменьшения длины трассы. 1.24. Воздействие, оказываемое на окружающую природную среду в процессе строительства и эксплуатации автомобильных дорог, и связанные с этим потери предопределены принимаемыми проектными решениями. Поэтому в проекте дороги необходимо уделять большое внимание вопросам охраны окружающей природной среды, а именно: изменению режима грунтовых вод, приводящего к заболачиванию или осушению придорожных территорий, и, как следствие, к гибели леса; изменению режима поверхностных вод, вызывающего заболачивание обширных территорий, образование промоин и оврагов на косогорах и в местах расположения искусственных водопропускных сооружений; нарушению устойчивости горных напластований; изменению уровней загазованности и транспортного шума на придорожных территориях с учетом их лечебно-оздоровительной ценности; воздействиям на растительный и животный мир придорожных территорий и т.д. При разработке проектных решений, обеспечивающих охрану окружающей природной среды, необходимо учитывать стоимость их реализации. 1.25. Проложение дорог на местности может привести к значительным изменениям производственных условий обслуживаемых ими хозяйств и прилегающих к ним территорий. Они могут как сближать хозяйства, так и удалять их, например за счет перепробега при проложении между ними дороги I категории. Особенно ощутимые изменения дороги вносят в сельскохозяйственное производство. С одной стороны, они способствуют увеличению его эффективности за счет возможности проведения агротехнических работ в сжатые и наиболее благоприятные сроки, повышению уровня механизации работ, снижению потерь при вывозе сельскохозяйственной продукции, а также закреплению сельского населения в результате решения многих социальных проблем. С другой стороны, строительство дорог ведет к изъятию земель из сельскохозяйственного производства, к изменению системы деления земель и севооборота, режима грунтовых и поверхностных вод, к загрязнению придорожных территория (что сопровождается снижением их продуктивности), а иногда и к осваиванию менее ценных технических культур. Все перечисленные факторы следует учитывать при сравнении вариантов проложения дорог. 1.26(1.11). Проложение автомобильных дорог через населенные пункты связано со снижением скорости транспортного потока и безопасности движения, созданием для жителей дискомфортных условии из-за загрязнения воздуха, транспортного шума и разделения дорогой территории населенного пункта. В связи с этим в целях исключения негативного взаимного влияния населенных пунктов и автомобильных дорог I-III категорий последние, как правило, следует прокладывать в обход населенных пунктов с устройством подъездов к ним. При этом необходимо учитывать отрицательное воздействие автотранспорта на окружающую среду и возможность в будущем реконструкции дороги. С этой целью расстояние от бровки земляного полотна до линии застройки населенных пунктов в соответствии с их генеральными планами следует принимать с учетом обеспечения буферной зоны между ними для создания благоприятных условий проживания в населенном пункте, но не менее 200 м. 1.27(1.12). В целях снижения единовременных затрат за счет исключения объектов, не являющихся обязательными при интенсивности движения на ближайшую (5-10-летнюю) перспективу, но необходимыми на расчетный перспективный период, в проектах следует предусматривать очередность их строительства. К таким объектам относятся: полосы движения на дорогах с многополосной проезжей частью, которые в дальнейшем могут сооружаться за счет разделительной полосы либо путем строительства второй проезжей части; сооружения, обеспечивающие охрану окружающей среды; съезды на транспортных развязках; элементы обустройства дорог и защитные дорожные сооружения. 2. ОРГАНИЗАЦИЯ И БЕЗОПАСНОСТЬ ДВИЖЕНИЯ2.1. При проектировании автомобильных дорог всех категорий, мостов и других сооружений в составе раздела "Организация и безопасность движения" следует прорабатывать следующие вопросы: оценка запроектированного участка дороги по условиям обеспечения безопасности движения с построением графиков скорости движения потока, коэффициентов аварийности (при реконструкции дорог), коэффициентов относительной безопасности движения; оценка пропускной способности с построением графиков; наличие и размещение элементов обустройства дороги; необходимость освещения автомобильной дороги; необходимость светофорных объектов и их размещение; организация движения, в том числе на участках дороги в пределах населенных пунктов, с учетом пешеходного и велосипедного движения; организация движения на пересечениях с железными дорогами. 2.2. Для пересечений дорог с автомобильными и железными дорогами в одном и разных уровнях в проекте должны быть приведены схемы организации движения с размещением знаков, разметки, ограждений и других средств ориентирования. При разработке схем организации движения на железнодорожных переездах следует руководствоваться требованиями ГОСТ 23457-86 и "Инструкцией по устройству и обслуживанию переездов" (М., 1985). 2.3. Автобусные остановки на дорогах I - III категорий должны иметь переходно-скоростные полосы, отделенные от проезжей части основной дороги разделительными полосами или сплошной разметкой. На автобусных остановках должны быть установлены автопавильоны и соответствующие знаки, устроены пешеходные переходы. 2.4. Устройство площадок отдыха следует предусматривать в живописных местах, защищенных от ветра, у исторических мест, памятников природы и архитектуры. В проекте необходимо приводить также схемы организации движения в зоне площадок отдыха с разметкой проезжей части и расстановкой дорожных знаков. 2.5. В проект следует включать план размещения сооружений дорожной и автотранспортной служб относительно дорог и схемы организации движения в их зоне. 2.6. При озеленении дорог деревья лиственных пород (клен ясенелистый, тополь), у которых время опадания листьев совпадает с периодом наибольшей скользкости покрытия, не допускается располагать на расстоянии менее 50 м от кромки проезжей части. Декоративные посадки деревьев с диаметром ствола более 0,1 м во избежание наездов автомобилей должны быть удалены от кромки проезжей части не менее чем на 10 м. 2.7. Особое внимание следует уделять обстановке дороги техническими средствами организации движения. При разработке схем организации движения необходимо руководствоваться положениями ГОСТ 23457-86. На схемах должны быть показаны: дорожные знаки и светофорные объекты; дорожная разметка; расстановка ограждающих и направляющих устройств; границы тротуаров, пешеходные и велосипедные дорожки. В рабочей документации должна быть выполнена привязка элементов обустройства дороги и разработаны эскизы знаков индивидуального проектирования, которые следует согласовать с органами дорожного надзора ГАИ. 2.8. Стационарное электрическое освещение необходимо выполнять на опасных участках дорог с учетом имеющихся возможностей и необходимых затрат. При использовании существующих электрических распределительных сетей целесообразно предусматривать освещение, на дорогах I категории с интенсивностью движения свыше 20 тыс. авт/сут, а также на больших мостах, автобусных остановках, пересечениях дорог I и II категорий между собой и с железными дорогами, на кольцевых пересечениях, площадках для стоянок автомобилей, кривых с ограниченной видимостью, железнодорожных переездах. 2.9. Освещение следует предусматривать также на опасном участке и на подходе к нему на расстоянии не менее 250 м, чтобы обеспечить адаптацию зрения водителей и исключить возможность дорожно-транспортных происшествий в прилегающих зонах. 2.10. Кольцевые пересечения, особенно на дорогах значительной протяженности, допускается проектировать при их гарантированном освещении. 2.11. Опоры светильников следует располагать, как правило, за бровкой земляного полотна для повышения транспортно-эксплуатационных показателей дорог и безопасности движения. Такая расстановка опор позволяет обеспечить: механизированную очистку снега с обочин на всю ширину; использование полной ширины обочин при вынужденных остановках автомобилей в зоне опор и снижение влияния этих автомобилей на режим движения основного потока; уменьшение вероятности наезда автомобилей на опоры и их загрязнения, что повышает эстетические качества дороги и улучшает ориентирование водителей. 2.12(2.10). Проекты автомобильных дорог I - IV категорий в части безопасности движения должны согласовываться с органами Госавтоинспекции МВД СССР. При этом согласованию подлежат принимаемые проектные решения по элементам плана, продольного и поперечного профилей, конструкциям дорожной одежды, схемам пересечений и примыканий, схемам размещения ограждений, дорожных знаков и нанесения вертикальной и горизонтальной разметки, искусственным сооружениям (мостам, путепроводам и эстакадам), а также разделы пояснительной запуски проекта "Безопасность и организация движения", "Обустройство дорог", "Дорожная и автотранспортная служба". 3. ОХРАНА ОКРУЖАЮЩЕЙ ПРИРОДНОЙ СРЕДЫ3.1(3.1). Воздействие автомобильных дорог на окружающую природную среду обусловлено четырьмя основными факторами: самой автомобильной дорогой как инженерным сооружением, в том числе ее обустройством, зданиями и сооружениями служб; выполнением работ по строительству автомобильных дорог и сооружений при них, в том числе размещением заводов, баз и т.п.; выполнением работ по ремонту и содержанию автомобильных дорог; движением транспортных средств. Воздействие указанных факторов на окружающую среду (иногда в течение длительного периода) проявляется в изменении гидросферы, биосферы, атмосферы, литосферы и педосферы (рис. 1). В целях охраны окружающей природной среды возможные нежелательные изменения в природе в результате строительства автомобильных дорог должны быть учтены на стадии проектирования: принимаемые решения должны быть направлены на исключение этих изменений или сведение их до минимума. Рис. 1. Схема влияния автомобильных дорог на окружающую среду 3.2. При сравнении вариантов трассы, прокладываемых но сельскохозяйственным угодьям, необходимо учитывать: стоимость земель, отчуждаемых как в постоянное, так и во временное пользование; нарушение системы севооборота; возмещение ущерба из-за ухудшения качественного состояния земель; прибыль сельскохозяйственных предприятии от проложения через их земли автомобильной дороги; социальную значимость автомобильной дороги. 3.3. Расположение трассы и размеры намечаемой к изъятию площади земель с указанием его сроков (временное, постоянное) необходимо согласовывать с землепользователями и органами, осуществляющими государственный контроль за использованием земель. 3.4. Ущерб, наносимый сельскохозяйственному предприятию в связи с нарушением системы севооборота, следует определять суммарной приведенной величиной потерь, в том числе от загрязнения атмосферы отработавшими газами автотранспорта. Прибыль этих организаций от строительства автомобильной дороги на их землях допускается определять по методике, изложенной в прил. 3. 3.5(3.2). Для уменьшения воздействия дороги на окружающую природную сроду необходимо проводить экологическое обоснование расположения дороги по отношению к ландшафту: избегать трассирования по границам ландшафта и урочищ, в местах миграции животных, обитания редких и охраняемых видов; избегать пересечений дорогами, особенно высоких категорий, сельскохозяйственных угодий и пастбищ, удалять их от личных огородов на расстояние не менее 200 м; предусматривать соответствующее оформление придорожных территорий, создание вдали от дороги биотипов, благоприятных для жизнедеятельности животных, обеспечение боковой видимости прилегающей к дороге полосы в соответствии с п.4.20 СНиП 2.05.02-85, установку сеток препятствующих неожиданному появлению животных на проезжей части дороги, установку различных рефлекторов, отпугивающих животных от дороги, и т.п. Все эти мероприятия сугубо специфичны, и в каждом конкретном случае необходимо выбирать наиболее действенные и возможные. Предложения по этим мероприятиям должны вырабатываться в результате экологической экспертизы местности, включающей изучение состояния почвенного покрова, ландшафта, растительности и животного мира, устойчивости экологических систем и имеющей цель прогнозировать изменения экологической обстановки в результате строительства и эксплуатации автомобильной дороги. Для проведения этой работы желательно формировать экологические отряды с участием в них экологов, геоботаников, геохимиков, почвоведов, зоологов и других специалистов. 3.6. Особое внимание необходимо уделять вопросам воздействия автомобильных дорог на охраняемые природные территории и памятники культуры. Нетронутая природа наиболее уязвима и поэтому в наиболее сильной степени подвержена любому влиянию человека. В целях охраны этих территорий автомобильные дороги следует прокладывать на расстоянии не менее 2 км от них. 3.7. Заводы, карьеры, склады горюче-смазочных материалов и другие производственные базы, обеспечивающие нужды строительства автомобильных дорог, также оказывают отрицательное воздействие на окружающую природную среду, загрязняя воздух, территорию, грунт, грунтовые воды и влияя на уровень последних. Для снижения вредного воздействия заводов и баз на окружающую природную среду их необходимо размещать за пределами населенных пунктов с учетом особенностей местности, используя непригодные для других нужд народного хозяйства территории. Следует избегать их расположения около государственных заповедников и заказников, охраняемых урочищ и зон, отнесенных к памятникам природы и культуры, в зоне домов отдыха, санаториев, курортов, пионерских лагерей и т.п. При проектировании карьеров местных строительных материалов необходимо учитывать естественный уровень грунтовых вод, предусматривая возможное осушение прилегающих территорий и последующую рекультивацию карьера. Кроме, того, следует стремиться к разработке карьеров не вглубь, а с охватом больших площадей. После рекультивации территории карьеров могут стать более удобными и ценными для сельскохозяйственного производства. 3.8. Для предотвращения разрушения берегов рек, озер и других водоемов устанавливаются специальные защитные зоны, на территории которых запрещено любое строительство, в том числе и автомобильных дорог. 3.9. В районах размещения курортов, домов отдыха, пансионатов, пионерских лагерей и т.п. трассы следует прокладывать за пределами установленных вокруг них санитарных зон либо в проектах должны быть предусмотрены защитные мероприятия. Шум и загазованность воздуха на придорожных территориях в значительной степени снижают их лечебно-оздоровительную ценность. Поэтому трассы дорог необходимо располагать от указанных мест с подветренной стороны на расстоянии не менее 2 км. При невозможности обхода указанных мест на прилегающих к ним участках автомобильных дорог в целях снижения шума и загазованности воздуха следует принимать радиусы кривых в плане не менее 600 м и продольные уклоны не более 30%о, обеспечивая тем самым равномерность движения транспортных средств, а также проводить расчет уровня транспортного шума и в случае необходимости разрабатывать мероприятия по его снижению до допустимого. 3.10(3.6). На дорогах в пределах водоохранных зон следует предусматривать организованный сбор воды с поверхности проезжей части с последующей ее очисткой или отводом в места, исключающие загрязнение источников водоснабжения. Для этих целей рекомендуется проектировать устройство специальных водосборных лотков, водоочистных колодцев, водоотводных канав и т.п. 3.11(3.8). При проектировании дорог необходимо предусматривать увязку их строительства с мелиоративными работами. Автомобильные дороги не должны создавать помех для проведения работ как по осушению, так и по обводнению земель в целях повышения их продуктивности и снижать эффективность существующих систем мелиорации земель. 3.12(3.17). При пересечении автомобильной дорогой путей миграции животных необходимо разрабатывать специальные мероприятия по обеспечению безопасного и беспрепятственного их передвижения. К таким мероприятиям относятся устройство специальных переходов в сочетании с направляющими заборчиками, пересечение миграционных путей эстакадами и т.п. При выборе принимаемых решений необходимо учитывать, что узкими типовыми скотопрогонами не всегда пользуются не только дикие животные, но и домашние, а пренебрежение учетом миграции земноводных (лягушек) может привести к возникновению опасных участков с высокой концентрацией дорожно-транспортных происшествий в результате повышения скользкости покрытия. 4. ОСНОВНЫЕ ТЕХНИЧЕСКИЕ НОРМЫ И ТРАНСПОРТНО-ЭКСПЛУАТАЦИОННЫЕ ПОКАЗАТЕЛИРасчетные скорости и нагрузки4.1(4.1). Основным транспортно-эксплуатационным показателем, определяющим предельно допустимые параметры элементов автомобильных дорог, является расчетная скорость движения - наибольшая возможная (по условиям устойчивости и безопасности) скорость Движения автомобилей в свободных условиях в летнее время года при температуре воздуха 20°С, относительной влажности 50%, метеорологической дальности видимости более 500 м, отсутствии ветра, атмосферном давлении 1013 МПа (760 мм рт.ст.), при коэффициенте продольного сцепления на чистой сухой поверхности проезжей части при скорости движения по ней 60 км/ч не менее 0,6, а на увлажненной - не менее значений, приведенных в табл. 46 СНиП 2.05.02-85. Расчетные скорости движения для проектирования элементов плана, продольного и поперечного профилей подразделяются на основные и допустимые для трудных участков пересеченной и горной местности в зависимости от категории дороги (табл. 3(3)). Расчетные скорости, установленные п. 4.1 СНиП 2.05.02-85 для трудных участков пересеченной местности, допускается принимать на подходах к городам и при пересечении земель, занятых особо ценными сельскохозяйственными культурами и садами, а также при реконструкции дорог. При этом необходимо проводить сравнение вариантов проложения дороги с технико-экономическим обоснованием каждого конкретного участка проектируемой дороги. Расчетные скорости на смежных участках автомобильных дорог не должны отличаться более чем на 20%. Таблица 3(3)
4.2(4.1). При разработке проектов реконструкции автомобильных дорог по нормам 1-б категории с четырьмя полосами движения допускается при соответствующем технико-экономическом обосновании сохранять элементы плана, продольного и поперечного профилей н а отдельных участках существующих дорог, используя их для движения в одном направлении, если они соответствуют расчетной скорости, установленной для дорог III категории. При этом для встречного движения необходимо устраивать проезжую часть на самостоятельном земляном полотне исходя из расчетной скорости, установленной для дорог 1-б категории. Если в результате реконструкции предусматривается устройство шести полос движения или более, то проектное решение необходимо принимать исходя из рас -четной скорости, установленной для дорог 1-б категории. В проектах реконструкции автомобильных дорог по нормам II и III категорий допускается сохранять элементы плана, продольного и поперечного профилей существующих дорог, если они соответствуют расчет но и скорости, установленной для дорог соответственно III и IV категорий. При разработке проектов реконструкции автомобильных дорог по нормам IV категории допускается сохранять только элементы плана и продольного профиля существующих автомобильных дорог, если они соответствуют расчетной скорости, установленной для дорог V категории, а поперечный профиль должен быть приведен в соответствие с нормами для дорог IV категории. 4.3(4.2). Автотранспортные средства в зависимости от осевых масс подразделяются на две группы: с осевой массой свыше 6 до 10 т - предназначенные для эксплуатации на автомобильных дорогах I – III (IV) категорий, имеющих дорожные одежды капитального или облегченного типа; с осевой массой до 6 т - предназначенные для эксплуатации на автомобильных дорогах всех категорий. 4.4. Осевая масса наиболее нагруженной оси автотранспортного средства не должна превышать значений, приведенных в табл. 4. Таблица 4
В обоснованных случаях допускается увеличение осевой массы при расстоянии между осями: свыше 2 м у автобусов первой группы - до 11,5 т, второй группы - до 7 т и у самосвалов - до 6,5 т; свыше 1,3 до 1,65 м у двухосной тележки автотранспортных средств первой группы - до 9 т, если осевая масса, приходящаяся на смежную ось, не превышает 6 т. Осевую массу трехосных тележек, имеющих расстояние между смежными осями не менее 0,4 расстояния между крайними осями, следует принимать по табл. 5.
Допустимая полная масса автотранспортных средств не должна превышать значений, приведенных в табл. 6.
4.5. Среднее давление колес автотранспортных средств на поверхность дороги по контурной площади контакта протектора шины с дорогой должно быть не более: 600 кПа (6 кгс/см2) - для средств первой группы, 500 кПа (5 кгс/см2) - второй группы. Среднее давление по площади контакта выступов рисунка протектора с дорогой должно быть не более: 850 кПа (8,5 кгс/см2) - для автотранспортных средств первой группы, 800 кПа (8 кгс/см2) - второй группы. Основные параметры поперечного профиля дороги4.6(4.4). Основные параметры поперечного профиля проезжей части и земляного полотна автомобильных дорог в зависимости от их категории следует принимать по табл. 7(4).
Рис. 2. Поперечные профили автомобильных дорог 1-а категории с укрепленной (1) и остановочной (2) полосами: а - в обычных условиях; б - с учетом увеличения числа полос движения; в - с уменьшенной шириной разделительной полосы; г - то же, разделительной полосы и обочин; а - ширина ограждения (размеры даны в метрах)
Рис. 3. Поперечные профили автомобильных дорог 1-б категории с укрепленной (1) и остановочной (2) полосами: а - в обычных условиях; б - с учетом увеличения числа полос движения; в - с уменьшенной шириной разделительной полосы; г - то же, разделительной полосы и обочин (размеры даны в метрах) Поперечные профили автомобильных дорог разных категорий приведены на рис. 2-6. 4.7(4.5). Ширина обочин автомобильных дороге многополосной проезжей частью включает в себя ширину укрепленной полосы не менее 0,75 м или ширину остановочной полосы (для правых обочин) 2,5 м. Остановочные полосы следует проектировать на участках автомобильных дорог I-а, I-б и II категорий (где интенсивность движения за первые пять лет достигает 50% расчетной перспективной и более), в местах, определяемых и обосновываемых проектом, а также на пересечениях, примыканиях и съездах с них (когда не предусматривается устройство переходно-скоростных полос) на расстоянии не менее 100 м в обе стороны. На дорогах, используемых для международных перевозок, остановочные полосы целесообразно проектировать на всем протяжении.
Рис. 4. Поперечные профили автомобильных дорог II категории: а - в обычных условиях с укрепленной (1) и остановочной (2) полосами; б - с дополнительной полосой на подъем; в - с уменьшенной шириной обочин ( размеры даны в метрах;
Рис. 5. Поперечные профили автомобильных дорог III категории: а - в обычных условиях; б - с дополнительной полосой на подъем; в - с уменьшенной шириной обочин (размеры даны в метрах)
Рис 6. Поперечные профили автомобильных дорог IV и V категорий: а - в обычных условиях; б - с уменьшенной шириной обочин (размеры даны в метрах) 4.8(4.6). Число полос движения на дорогах с многополосной проезжей частью для одного направления принимается не менее двух. При сильно выраженной неравномерности распределения интенсивности движения по направлениям во времени целесообразно предусматривать специальные полосы для реверсивного движения. 4.9. Необходимое число полос движения определяется технико-экономическим расчетом из условия минимума суммарных приведенных затрат. При этом следует учитывать рациональную загрузку дороги, характеризуемую коэффициентом загрузки Z. Z= N/P, (1) где N - интенсивность движения, прив.ед./ч; Р - практическая пропускная способность, прив.ед,/ч, определяемая в соответствии с «Руководством по оценке пропускной способности автомобильных дорог» (М.: Транспорт, 1982). Рекомендуемый коэффициент загрузки Z для условий движения в сухое летнее время года ни автомобильных дорогах различных групп приведен в табл. 8. 4.10. При проектировании поперечного профиля головных участков выходов автомобильных дорог из городов необходимо предусматривать возможность стадийного увеличения числа полос движения. 4.11. Для автомагистралей, используемых для международных перевозок, число полос движения проезжей части следует определять расчетом на основе сопоставления нормальной допустимой интенсивности движения, а в сложных условиях застройки (подходы к городам) максимальной допустимой интенсивности (табл. 9) с расчетной интенсивностью движения за последний год перспективного периода или какой-либо другой год этого периода с максимальной интенсивностью движения.
4.12(4.7). На участках дорог II категории, а также III категории с интенсивностью движения более 4000 прив.ед./сут (достигаемой в первые 5 лет эксплуатации) при смешанном составе транспортного потока следует предусматривать дополнительные, полосы проезжей части для грузового движения в сторону подъема: при продольном уклоне 30%о - при длине участка свыше 1 км, а при продольном уклоне 40%о - при длине участка свыше 0,5 км. Ширину дополнительной полосы движения следует принимать равной 3,5 м на всем протяжении подъема, а ее общую длину за подъемом - по табл. 10(6). Переход к уширенной проезжей части следует осуществлять на участке длиной 60 м. Если расстояние между двумя соседними дополнительными полосами меньше 500 м, эти полосы рекомендуется объединять в одну непрерывную.
4.13. В тех случаях, когда интенсивность движения автопоездов превышает 25% общей интенсивности, а объемы грузов, транспортируемых по дороге автопоездами, составляют более 50% общего объема грузоперевозок, при проектировании параметров поперечного и продольного профилей следует выполнять технико-экономическое сопоставление принимаемых проектных решений с учетом средней скорости и безопасности движения транспортного потока. 4.14. В отдельных случаях при технико-экономическом обосновании устройства дополнительной полосы на затяжных подъемах рекомендуется пользоваться номограммой (рис. 7), построенной на основе оценки потерь времени быстро движущимися автомобилями при различной интенсивности и составе движения, а также сравнения стоимости этих потерь со стоимостью строительства полосы. Строительство полосы экономически целесообразно, если точка пересечения перпендикуляров, построенных из точек, соответствующих количеству быстро и медленно движущихся автомобилей, находится выше кривой, соответствующей длине подъема. Рис. 7. Номограмма для определения целесообразности устройства дополнительной полосы на подъем (цифры у кривых - длина подъема, м) 4.15(4.11). Ширину разделительной полосы на участках дороги, где в перспективе может потребоваться увеличение числа полос движения, необходимо увеличивать на 7,5 м при устройстве двух дополнительных полос и на 15 м - четырех дополнительных полос. При этом следует учитывать, что при ширине разделительной полосы более 12 м создаются наилучшие условия движения. 4.16(4.12). Ширину разделительной полосы на участках дорог, проложенных по ценным землям, на особо трудных участках дорог в горной местности, на больших мостах, при проложении дорог в застроенных районах и т.п., при соответствующих технико-экономических обоснованиях допускается уменьшать до ширины, равной ширине полосы для установки ограждений плюс 2 м. Переход от уменьшенной ширины разделительной полосы к ширине полосы, принятой на дороге, осуществляется с обеих сторон с отгоном 100:1. При проектировании участков автомобильных дорог с многополосной проезжей частью необходимо рассматривать варианты их стадийного строительства с сокращением единовременных капитальных затрат и возможностью реконструкции в перспективе. Целесообразны следующие варианты развития поперечного профиля: устройство вначале одной проезжей части с организацией на ней двухстороннего движения, а затем достройка второй проезжей части и разделительной полосы с организацией одностороннего движения в каждом направлении; увеличение числа полос движения за счет уширенной разделительной полосы. При стадийном сооружении дороги ширина полосы отвода и параметры искусственных сооружений и земляного полотна рассчитывают на перспективное число полос движения. При определении сроков стадийного увеличения числа полос движения следует исходить из достигаемого на определенный период уровня удобства движения, который характеризуется обеспечиваемой скоростью движения, коэффициентами загрузки и насыщенности. В табл. 11 приведены значения коэффициентов загрузки, соответствующие предельным условиям функционирования дороги различного назначения. 4.17(4.17). Для повышения устойчивости автомобиля при движении по кривым в плане необходимо предусматривать устройство виража - проезжей части с односкатным поперечным профилем и уклоном внутрь кривой.
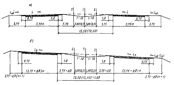
Поперечные уклоны проезжей части на виражах следует назначать в зависимости от радиусов кривых в плане по табл. 12(8). Если две смежные кривые в плане обращены в одну сторону и прямая вставка между ними составляет 100 м и менее пли отсутствует, то односкатный поперечный профиль следует принимать непрерывным на протяжении двух кривых и прямой вставки. 4.18(4.18). Переход от двускатного поперечного профиля к односкатному на дорогах I категории можно выполнять различными способами в зависимости от ширины разделительной полосы: 13,5(12,5) м - вращением проезжих частей вокруг перспективных кромок проезжей части с учетом увеличения числа полос движения за счет разделительной полосы (рис. 8); 6(5) м - вращением проезжих частей вокруг кромок проезжей части, примыкающих к разделительной полосе (рис. 9, а, б); 2 м - вращением проезжих частей вокруг оси дороги (рис. 9, в, г).
Переход от двускатного поперечного профиля к односкатному на дорогах II-V категории производят постепенным вращением внешней полосы вокруг оси проезжей части до получения односкатного поперечного профиля с уклоном, равным уклону проезжей части при двускатном профиле, а затем - вращением вокруг оси всей проезжей части до необходимой величины поперечного уклона на вираже. 4.19. Если две смежные кривые в плане обращены в разные стороны и прямая вставка между ними составляет 60 м и менее или отсутствует, то отгон виража следует выполнять от середины прямой вставки или на стыке двух клотоид, где поперечный уклон проезжей части и обочины принимают равным нулю. Рис. 8. Поперечные профили автомобильных дорог I категории с разделительной полосой шириной 13,5 (12,5) м: а - в начале отгона виража; б - в конце; 1 - ось дороги; 2 - ось вращения (кромка перспективной полосы движения); Δb - уширение полосы движения; n - число полос движения в одном направлении на первую очередь; ib - уклон виража; i - уклон проезжей части (размеры даны в метрах) 4.20. При отгоне виража наружная кромка проезжей части постепенно повышается, и в сечении, где уклон проезжей части равен уклону виража, превышение кромки h (м) составляет: h = Bib /1000, (2) где В - ширина проезжей части, м; ib - уклон виража, %о. Рис. 9. Поперечные профили автомобильных дорог I категории с разделительной полосой шириной 6 (5) м (a, б) и с уменьшенной разделительной полосой (в, г): а, в - в начале отгона виража; б, г - в конце (размеры даны в метрах) Повышение наружной кромки осуществляется постепенно, чтобы дополнительный продольный уклон наружной кромки проезжей части на участке отгона виража для дорог I и II категорий не превышал 5%о, для остальных категорий дорог в равнинной местности - 10%о и в горной - 20%о. Дополнительный продольный уклон наружной кромки проезжей части iн.к.доп (%о) определяется по формуле
или
где h1 - превышение кромки проезжей части при достижении нулевого поперечного уклона, м; h2 - то же, на вираже относительно оси вращения, м; i - уклон проезжей части при двускатном поперечном профиле, %о; LО.В - минимальная длина отгона виража из условия дополнительного продольного уклона, %о;
При малой длине отгона виража резко изменяется кривизна поверхности проезжей части, вызывающая неравномерное распределение веса автомобиля на колеса и уменьшающая его устойчивость. 4.21. Для обеспечения водоотвода с поверхности проезжей части на участках отгона виража продольный уклон должен быть не менее 5%о. 4.22(4.19). Уширение проезжей части принимают прямо пропорциональным длине переходной кривой, с тем чтобы к началу круговой кривой достичь его полной величины. На дорогах I категории уширение проезжей части можно предусматривать за счет внешней и внутренней обочин, на дорогах II-V категорий - только за счет внутренней обочины. Ширина обочин должна быть не менее 1,5 м для дорог I-II категорий и не менее 1 м для дорог III-V категорий. При недостаточной ширине обочин уширение проезжей части на кривой необходимо выполнять путем уширения земляного полотна. На дорогах I категории с шириной разделительной полосы 13,5(12,5) м необходимо предусматривать уширение проезжей части, а при необходимости и земляного полотна, с учетом увеличения числа полос движения в перспективе. Разделительную полосу в этом случае следует увеличивать за счет уширения устраиваемых в перспективе полос движения, а ширину обочин уменьшать на суммарную величину уширения разделительной полосы и проезжей части (см. рис. 8). 4.23. Проектирование отгона виража и уширения можно выполнять при наличии ЭВМ серии ЕС по разработанному в ГПИ "Союздорпроект" комплексу программ, входящих в систему автоматизированного проектирования автомобильных дорог (САПР-АД), с автоматическим выбором схемы отгона виража. Системой предусматривается проведение расчета: в составе технологической линии проектирования земляного полотна (ТЛП-2); в автономном режиме проектирования виражей с применением программ, входящих в состав пакета прикладных программ (ППП-1). Программа "Проектирование виражей" (Н180) рассчитывает с постоянным шагом по длине клотоиды отметки всех характерных точек поперечного профиля и уширения с учетом всех возможных сочетаний элементов плана трассы. Автоматически выбирается одна из схем отгона виража. Программа "Вычерчивание виражей" (Н18050) предназначена для вычерчивания отгона виражей и уширений на графопостроителе. Данная программа использует результаты работы предшествующих программ, поэтому дополнительная исходная информация не вводится. Проектирование отгона виража и уширения так же можно выполнять с применением таблиц, составленных для наиболее распространенных радиусов и длин переходных кривых (для дорог II-V категорий)*. * См.: Типовые проектные решения сооружений на автомобильных дорогах. Сер.503-0-45: Элемент автомобильных дорог на закруглениях - виражи, уширения проезжей части, переходные кривые. М.; Союздорпроект, 1982. В этом случае результаты проектирования отгона виража и уширения могут быть представлены как в табличной форме с аппликацией, так и в графической. План и продольный профиль4.24(4.20). Проектирование плана и продольного профиля дорог надлежит производить из условия наименьшего ограничения и изменения скорости, обеспечения безопасности и удобства движения, возможной реконструкции дороги за пределами перспективного периода. Скорость является основным фактором, определяющим эффективность автомобильных перевозок, поэтому во всех случаях назначение элементов плана и продольного профиля исходя из расчетной скорости, допускаемой на трудных участках местности, должно быть обосновано технико-экономическими расчетами с учетом условий движения в неблагоприятные периоды года. При этом необходимо учитывать, что участки изменения скорости движения характеризуются повышенными аварийностью, уровнями транспортного шума и загазованности воздуха отработавшими автомобильными газами. 4.25. При проектировании автомобильных дорог необходимо учитывать рост интенсивности движения за пределами перспективного периода. В тех случаях, когда за пределами перспективного периода предполагается дальнейший рост интенсивности и возможное вследствие этого превышение расчетной для данной категории дороги интенсивности, установленной на перспективный период, для предотвращения в будущем отказа от использования уже построенных участков дорог или их использование с ограничениями скорости движения проектирование плана и продольного профиля дорог III-V категорий надлежит производить исходя из расчетной скорости для той категорий дороги, которая предполагается за пределами перспективного периода. 4.26(4.20). При назначении, элементов плана и продольного профиля в качестве основных параметров следует принимать: продольные уклоны - не более 30%о; расстояние видимости для остановки автомобиля - не менее 450 м; радиусы кривых в плане - не менее 3000 м; радиусы кривых в продольном профиле: выпуклых - не менее 70000 м; вогнутых - не менее 8000 м; длины кривых в продольном профиле: выпуклых - не менее 300 м; вогнутых - не менее 100 м. Участки автомобильных дорог, спроектированные с указанными параметрами, необязательно оценивать по скорости и безопасности движения. 4.27(4.21). Если по условиям местности не представляется возможным выполнить требования п.4.26 (4.20) или выполнение их связано со значительными объемами работ и стоимостью строительства дороги, при проектировании допускается снижать нормы на основе технико-экономического сопоставления вариантов с учетом указаний пп. 1.20(1.9) и (2.2).При этом предельно допустимые нормы надлежит принимать по табл. 13(10) исходя из расчетных скоростей движения по категориям дорог, приведенных в табл. 3(3). При проектировании необходимо учитывать, что применение на одном участке одновременно двух и более параметров с минимально допустимыми нормами может привести к чрезмерному снижению скорости и безопасности движения. Поэтому при технико-экономическом сопоставлении вариантов и обосновании принятого варианта необходимо выполнять оценку скорости и безопасности движения в соответствии с прил. 4, 5, а также учитывать увеличение затрат на содержание дороги в зимний и осенне-весенний периоды года (прил. 6). 4.28. План автомобильной дороги является одним из ее важнейших элементов, определяющих транспортно-эксплуатационные качества дороги и уровень обеспечения безопасности движения по ней. В плане дорогу следует проектировать, вписывая в главные формы рельефа, избегая резких изменений направления трассы. При этом следует избегать коротких прямых вставок между смежными кривыми и малых углов поворота трассы между большими углами. Геометрические элементы плана дороги должны обеспечивать равномерность движения автомобиля. Объективным критерием для оценки равномерности движения автомобиля по дороге является плавность эпюры скоростей движения, построение которой рекомендуется производить в соответствии с прил. 4.
Примечание. Наименьшее расстояние видимости для остановки должно обеспечить видимость любых предметов, имеющих высоту 0,2 м и более и находящихся на середине полосы движения, с высоты глаз водителя автомобиля 1,2 м от поверхности проезжей части. 4.29. Особо опасными участками дорог являются кривые в плане радиусом менее 150 м. На внешних кривых (описывающих формы рельефа) сознаются худшие условия движения. При одних и тех же параметрах элементов плана (углов поворота и радиусов кривых) на внешних кривых в плане но сравнению с внутренними (вписываемыми в формы рельефа) наблюдается снижение скорости движения автомобиля в 1,1-1,15 раза и увеличение количества дорожно-транспортных происшествии в 1,5-2 раза. Радиус на внешних кривых рекомендуется принимать в 1,1 раза больше, а при углах поворота более 60º - в 1,3 раза больше, чем на внутренних кривых. Для контроля этого положения и проверки видимости на внешних кривых рекомендуется выделять условным обозначением - в виде утолщенной линии - участки внешних кривых о графе плана на продольном профиле, на эпюрах скоростей движения и др. 4.30. Опасными и сложными с точки зрения удобства движения и управления автомобилем являются участки, где имеются смежные кривые, направленные в разные стороны, так называемые обратные кривые. На обратных кривых в горной местности, помимо величин радиусов, следует регламентировать соотношения радиусов смежных кривых. Они должны отличаться друг от друга не более чем в 1,5 раза. 4.31. На участках кривых в плане в сочетании с продольными уклонами при интенсивном движении автопоездов радиус кривой в плане рекомендуется принимать в зависимости от продольного уклона по табл. 14. 4.32(4.22). На кривых в плане радиусами 2000 м и менее, а на подъездных дорогах к промышленным предприятиям - 400 м и менее следует предусматривать переходные кривые.
Примечание. Для промежуточных значений продольных уклонов радиусы кривых в плане следует определять интерполяцией. При назначении длины переходных кривых следует проверять возможность принятия минимальной (по СНиП 2.05.02-85) длины переходной кривой Lmin в зависимости от радиуса круговой кривой R и минимального угла поворота трассы αmin (табл. 15).
При минимальных углах поворота и соответствующих им значениях радиусов и длин переходных кривых (см. табл. 15) закругления будут иметь вид биклтоид, т.е. непосредственно сопряженных переходных кривых, без круговой вставки между ними. При угле поворота трассы α > αmin и соответствующих значениях радиуса и длины переходной кривой, приведенных в табл. 15, длину круговой кривой Lкр (м) определяют по формуле
4.33. Для обеспечения комфортабельных условий движения по кривым в плане, не вызывающих неприятных ощущений у водителей и пассажиров, особенно при близком расположении обратных кривых, длину переходных кривых рекомендуется назначать по табл. 16.
4.34. При проектировании современных автомобильных дорог одним из важнейших условий обеспечен и я безопасности и комфортабельности движения по ним является создание трассы, позволяющей автомобилю двигаться с постоянной или плавно меняющейся скоростью. Этому условию отвечает клотоидная трасса. Элементы клотоидной трассы назначают, как и при круговых кривых, в зависимости от категории дороги. Минимальные значения радиусов и длин клотоид (переходных кривых) принимают в соответствии с табл. 15. Длины переходных кривых рекомендуется назначать по табл. 16 из условия обеспечения нарастания центробежного ускорения более 0,3-0,4 м/с3. 4.35. Для горной местности характерно близкое расположение кривых в плане, при котором условия движения на отдельных участках зависят от параметров элементов смежных участков. Показателем, комплексно учитывающим такие условия, является извилистость трассы. В простейшем виде извилистость трассы характеризуется количеством кривых в плане на 1 км дороги, которое зависит от скорости транспортного потока (табл. 17).
Существуют определенные границы изменения показателен извилистости трассы, при которых обеспечиваются оптимальная эмоциональная напряженность и высокая надежность работы водителя (табл. 18).
Для более детальной оценки и сравнения вариантов плана трассы в горной местности на отдельных ее участках и на всем протяжении может служить показатель извилистости трассы I (град.км-3/2) учитывающий не только количество кривых на 1 км дороги, но и элементы плана - углы поворота, радиусы и тип кривых:
где Lуч, - протяженность участка трассы, км; γ - коэффициент, учитывающий тип кривой; для круговой кривой γ =1, для клотоиды γ = 0,8; αi - i-й угол поворота трассы, град; Ri - радиус i-й кривой, м; n - количество углов поворота трассы. По мере увеличения извилистости трассы наблюдается снижение скорости движения автомобиля. На долинных участках дороги в горной местности эта зависимость характеризуется данными, представленными в табл. 19.
4.36(4.2). Ширину полос расчистки леса и кустарника, величину срезки откосов выемки и расстояние переноса строен ни на участках кривых в плане с внутренней стороны в целях обеспечения видимости следует определять расчетом; при этом уровень срезки откосов выемки надлежит принимать одинаковым с уровнем бровки земляного полотна. Для этого в процессе проектирования дороги применяется графический способ - построение в крупном масштабе каждой кривой в плане и кривой видимости (рис. 10). Рис. 10. Схема определения границ срезки на косогоре:
Для проверки обеспеченности видимости дороги в плане и упрощения построения границ видимости можно ограничиться определением. аналитическим путем максимальной по биссектрисе угла срезки косогора на видимость (стрелы видимости) fi в середине кривой (рис. 11), которая зависит от расстояния видимости S, длины круговой кривой Lкр , длины всего закругления Lз. а) при S < Lкр (см. рис. 11, а) б) при Lкp < S < Lз (см. рис. 11, б) где α - угол поворота трассы, рад;
Рис. 11. Схема для расчета величины срезки в середине кривой: а - S < Lкр, б - Lкp < S < Lз; в - S > Lкр; НПК, КПК - начало и конец переходной кривой в) при S > Lз - (см. рис. 11, в) f3 = a1R + a2L - a2’ d, (14) где a2 определяется по формуле (11) или при d =0 по формуле
Стрела видимости fi определяется от траектории движения с радиусом кривой R = Ro + Δ ; (17) где Ro - радиус кривой по оси дороги, м;
1,5 - расстояние от водителя до внутренней кромки проезжей части, м. В частном случае, когда переходные кривые отсутствуют (L=0), выражения (9) и (14) принимают вид:
т.е. получаем формулу, которая приводится в учебной и справочной литературе. Расчет стрелы видимости по формулам (8), (9), (14) с применением микрокалькулятора не представляет особой сложности, но в целях значительного упрощения и ускорения определения fi предлагаются номограммы (рис. 12, 13). 4.37. Обеспечение необходимой видимости на дорогах в горной местности при большой крутизне склонов нередко сопряжено с необходимостью разделки весьма больших скальных выемок. В таких случаях следует рассматривать вариант уменьшения срезки за счет принятия расстояния видимости не встречного автомобиля, а для остановки. При этом необходимо обеспечить раздельное но направлениям движение автомобилей на участках внешних кривых путем устройства по оси проезжей части разделительных островков или выступающих бордюров. Кроме того, обочины на таких участках должны иметь ширину не менее 3 м и должны быть укреплены на всю ширину. В начале и конце участка раздельного движения следует предусматривать соответствующие знаки. Вариант с разделительными островками (или бордюрами) принимается на основе технико-экономического обоснования. Одним из способов увеличения расстояния видимости является установка на кривых выпуклых зеркал. Эксперименты показали, что скорости движения и безопасность на участках внешних кривых при этом несколько увеличиваются, в особенности при углах поворота более 80°. Рис. 12. Номограмма для определения стрелы видимости f1 на автомобильных дорогах при S < Lкp Рис. 13. Номограмма для определения стрелы видимости f2 на дороге при S < Lз 4.38. При проектировании автомобильных дорог следует учитывать, что психологическая безопасность может быть обеспечена при расстояниях видимости, значительно превышающих необходимые из условия торможения. Расстояние видимости для обеспечения психологической комфортабельности и безопасности движения рекомендуется выбирать с учетом скорости движения по табл. 20.
* Над чертой приведено расстояние видимости при обеспечении психологической комфортабельности и безопасности движения, под чертой - при ее допустимом ограничении. Участки с меньшей видимостью должны преодолеваться с расчетной скоростью движения не менее чем за 10 с, что обеспечивает безопасную остановку автомобиля при расчетном времени реакции водителя 2,5 с. Такие участки могут рассматриваться как допустимое решение при проектировании дорог I категории. Принятым в СНиП 2.05.02-85 расстояниям видимости соответствует время реакции водителя t = 1,0 с. Такая величина может иметь обеспеченность, близкую к 85%, лишь при исключении возможности неожиданного появления сигнала и предполагает напряженную работу водителя. 4.39. Для обеспечения приведенных в табл. 20 расстояний видимости наименьшие радиусы выпуклых кривых в продольном профиле рекомендуется принимать из условия удобства работы водителей (психологически безопасная дорога) по табл. 21.
4.40. При проектировании элементов продольного профиля автомобильных дорог с затяжными уклонами рекомендуется исходить из условия движения по ним смешанного транспортного потока, в котором за расчетные следует принимать автомобили с наибольшими габаритами, перевозящие не менее 50% общего объема грузов и составляющие не менее 25% общего потока. Назначение элементов продольного профиля следует обосновывать технико-экономическим сравнением вариантов с учетом перспективной интенсивности движения, состава транспортного потока и его средней скорости движения, обеспеченности расчетной скорости и безопасности движения (см. прил. 5). 4.41. При интенсивном движении автопоездов длину участков продольных уклонов следует назначать на основе скоростей движения автопоездов на подъем и спуск. Длину участка с продольным уклоном при движении на подъем определяют исходя из средней скорости движения автопоездов в свободном режиме при полном использовании динамических возможностей, а на спуск из условия ограничения скоростей движения в соответствии с требованиями безопасности движения, но не более длин, указанных в табл. 22.
4.42(4.26). Максимально допустимые значения затяжных уклонов на дорогах в горной местности в зависимости от количества грузовых автомобилей в составе потока и высоты местности над уровнем моря рекомендуется принимать по табл. 23.
При назначении продольного уклона рекомендуется учитывать интенсивность движения, используя поправочные коэффициенты, приведенные в табл. 24.
4.43. На длинных затяжных спусках с предельными уклонами, когда в конце спуска предусматриваются кривые в плане малого радиуса, рекомендуется проектировать противоаварийные съезды в виде улавливающих тупиков со встречным крутым уклоном. В тех случаях, когда устройство улавливающих тупиков не представляется возможным, рекомендуется предусматривать в конце затяжного спуска кривые в плане радиусом более 200 м с устройством ограждений. 4.44. При проектировании продольного профиля автомобильной дороги в горной местности одновременно необходимо проектировать и поперечные профили, что позволяет получить наиболее оптимальное по объемам работ и условию устойчивости земляного полотна проектное положение продольного профиля. Для участков с высокими насыпями, особенно на залесенных косогорах, рекомендуется предусматривать вариант с укладкой земляного полотна в полке или на подпорных стенах и эстакадах. 4.45. Чертеж продольного профиля дороги в горной местности рекомендуется выполнять в масштабе не 1:2000 в плане и 1:200 в профиле (что предусмотрено эталоном проекта), а соответственно 1:5000 и 1:500. Это связано с тем, что многократные и частые сноски профиля, обусловленные большой разностью отметок земли на незначительных расстояниях, совершенно искажают профиль дороги и не дают возможности его обзора на более протяженном участке. Вследствие этого затрудняется выявление нежелательных сочетаний смежных элементов продольного профиля, создающих волнистость и неоправданные провалы. 4.46(4.27). В горной местности для развития линии во многих случаях приходится прокладывать трассу зигзагами, применяя кривые, описанные с внешней стороны угла поворота, так называемые серпантины. Серпантины состоят из основной кривой малого радиуса с центральным углом α0 и обратных вспомогательных кривых (рис. 14). Устройство серпантины сопряжено с большими объемами земляных скальных работ, с возведением значительного количества подпорных стен или эстакад, поскольку серпантина занимает на горном склоне большую площадь с шириной от 45 до 80м и более. Поэтому для разбивки серпантины по возможности следует выбирать пологие участки местности. Серпантины подразделяют на два основных вида: а) I рода, у которых вспомогательные кривые расположены выпуклостями в разные стороны. Они могут быть: симметричными, когда центр основной кривом находится на биссектрисе (см. рис. 14, а); несимметричными, когда центр основной кривой располагается вне биссектрисы или основная кривая состоит из сопряженных круговых кривых разного радиуса (см. рис. 14, б); б) II рода, у которых вспомогательные кривые расположены вогнутостями в одну сторону (см. рис. 14, в). В основном на практике применяют серпантины 1 рода. Рационально запроектировать серпантину можно по плану в горизонталях участка ее предполагаемой разбивки в результате вариантных проработок. Проектирование серпантин с переходными кривыми (см. п.4.27 СНиП 2.05.02-85) существенно отличается от проектирования серпантин в виде круговых кривых с прямой вставкой между основной и вспомогательной кривыми, когда, задавшись величиной вставки и радиусами основной и вспомогательной кривых, можно по известной формуле определить угол поворота вспомогательной кривой (см. рис. 14,а), затем рассчитать элементы серпантины и разбить ее в натуре. Применение этой формулы (что имеет место в некоторых пособиях) при проектировании серпантин с переходными кривыми недопустимо.
Рис. 14. Схемы серпантины: а - 1 рода симметричной; б - то же, несимметричной; в - II рода 4.47. На практике иногда применяют так называемые "полусерпантины", у которых с одной стороны центрального угла отсутствует вспомогательная кривая (рис. 15, а), а также так называемые "петли", представляющие собой кривые малого радиуса (15-30 м), сопрягающие подходные, почти параллельные участки трассы (см. рис. 15, б).
Рис. 15. Схема "полусерпантины" (а) и "петли" (б): НК, КК - начало и конец кривой "Полусерпантины" и "петли" не следует применять при трассировании перевальных участков автомобильных дорог, ибо на участках перехода от прямой к кривой малого радиуса при больших продольных уклонах возникает при движении транспорта аварийная ситуация. Ландшафтное проектирование4.48(4.30). Архитектурно-ландшафтное проектирование автомобильных дорог представляет собой комплекс требований и рекомендаций, направленных на достижение следующих целей: сохранение и улучшение существующего ландшафта; сохранение исторических и культурных памятников; повышение безопасности движения; снижение утомляемости водителей и пассажиров; сохранение ценных сельскохозяйственных угодий; сведение до минимума вредного воздействия дороги на окружающую среду. Указанные цели достигаются комплексным решением следующих задач: вписыванием, дороги и всех ее элементов в ландшафт ; дополнением и улучшением природного ландшафта озеленением, планировочными и осушительными работами, оборудованием и оформлением дороги, созданием мест отдыха водителей и пассажиров; пространственным трассированием дороги, т.е. соблюдением требований к сочетаниям элементов трассы в пространстве в отношении ее плавности и зрительной ясности в целях удобства и безопасности движения; зрительным ориентированием, т.е. созданием системы таких зрительных ориентиров, которые позволяют целителям получать информацию об изменении направления дороги и дорожных условий, в том числе и за пределами видимости, и выбирать безопасный режим движения. Первые две задачи направлены на согласование дороги с окружающим пространством (внешняя гармоничность); решение последних двух задач обеспечивает зрительную ясность и плавность дороги (внутренняя гармоничность). 4.49. Основной принцип архитектурно-ландшафтного проектирования заключается в создании из всех элементов дороги (проезжей части, земляного полотна, линейных зданий, зеленых насаждений, оформления и оборудования дороги и ландшафта (рельефа и т.п.) единого архитектурного ансамбля. Перед проложением трассы рекомендуется рельеф в полосе варьирования представлять в обобщенном виде, позволяющем выявлять главные формы рельефа: понижения высоты, перепады высот, конфигурацию склонов. Трасса должна в общих чертах повторять основные формы рельефа. Такое трассирование дороги всегда приводят к уменьшению объемов земляных работ и повышению эстетических качеств дороги. 4.50. Критерии плавности дороги отражают закономерности зрительного восприятия человеком пространственных соотношений и характеристик объектов. В качестве основной характеристики зрительной плавности дороги рассматривают изменения кривизны линии, образующих изображение дороги, и скорость изменения этой кривизны. Зрительная плавность дороги оценивается по математическим характеристикам линий, образующих изображение дороги в картинной плоскости. В качестве ведущей линии принимается внутренняя кромка проезжей части. 4.51. Характеристиками ведущей линии являются видимый радиус кривизны в экстремальной точке (точке с наибольшей кривизной) Rα (угл. мин) и длина этой кривой Lα (угл. мин) между точкой с кривизной 0,8м-1 и экстремальной точкой, характеризующая скорость изменения кривизны ведущей линии:
где Rк.пл - радиус кривизны ведущей линии в картинной плоскости, м; Lк.пл - длина дуги ведущей линии в картинной плоскости, м; Sк.пл - расстояние от наблюдателя до картинной плоскости, м;
Точка на ведущей линии переменной кривизны с кривизной 0,8 м-1 является граничной, поскольку человек воспринимает ее как границу между кривой и прямой в изображении. 4.52. Субъективная оценка плавности одной и той же линии зависит от того, предъявляется ли она одна или в составе изображения дороги и фона, которым служит ландшафт окружающей местности: если в первом случае ведущая линия может восприниматься как излом, то в составе изображения дороги - как плавная кривая. Вероятность возникновения ощущения зрительной плавности зависит не только от геометрических характеристик ведущей линии, но и от дополнительных признаков. В этой связи следует оценивать плавность не одной какой-либо линии (например, трассы), а всей поверхности проезжей части дороги. Критерии зрительной плавности дороги связаны с математическими характеристиками видимого изображения дороги. При проектировании оценить зрительную плавность дороги можно только расчетом, так как по перспективным изображениям надежно выполнить эту оценку нельзя. Поэтому для оценки зрительной плавности дороги вычерчивать перспективные изображения дороги нет необходимости. Перспективные изображения дороги необходимы для оценки ее зрительной ясности и внешней гармоничности, а также для принятия решений по оформлению дороги, размещению средств зрительного ориентирования водителей. 4.53. Условием обеспечения зрительной плавности участка дороги, имеющего кривую в плане, является соотношение где Вα - видимая ширина проезжей части дороги в экстремальной точке, град. Зрительную плавность кривой можно оценить при условии, что видимый радиус кривизны ведущей линии. больше разрешающей способности глаза, т.е. более 1 угл. мин. При меньших величинах видимого радиуса оценить плавность кривой нельзя, поэтому условие (22) справедливо лишь при Rα < 1. Видимая ширина проезжей части в экстремальной точке определяется по формуле
где В - ширина проезжей части дороги, м; Sэ - расстояние от наблюдателя до экстремальной точки, м. Видимый радиус кривизны R вычисляют по следующим формулам: а) при наличии в закруглении переходных кривых
где А - параметр переходной кривой, м; H - высота глаз наблюдателя над поверхностью кривой, м; S0 - расстояние от наблюдателя до начала кривой, м; б) при отсутствии в закруглении переходных кривых
Расстояние от наблюдателя до экстремальной точки (точки касания луча зрения и ведущей линии на закруглении) рекомендуется определять по формулам: а) при наличии переходных кривых Sэ = 0,12А+75 при Sв.л=1,5 м; (26) Sэ = 0,19А+90 при Sв.л =5,5 м; (27) б) при отсутствии переходных кривых
где Sв.л - расстояние от наблюдателя до ведущей линии; при повороте направо Sв.л = l,5 м, налево - Sв.л = 5,5 м. 4.54. Если закругление дороги не удовлетворяет условию плавности, рекомендуется увеличить параметр переходной кривой или радиус кривой в плане. На вогнутых участках продольного профиля зрительную плавность следует обеспечивать только за счет изменения параметров плана трассы. Уменьшать радиусы кривых в продольном профиле нельзя, так как это приводит к снижению безопасности движения. 4.55. При трассировании дороги углы поворота необходимо назначать там, где будут расположены выпуклые переломы в продольном профиле, в первую очередь на резких выпуклых переломах поверхности земли. 4.56. Волнистость дороги создается сочетанием вогнутых и выпуклых кривых в продольном профиле. Зрительную плавность таких участков рекомендуется оценивать согласно п. 4.51. При сопряжении вогнутой и выпуклых кривых в продольном профиле рекомендуется выдерживать соотношение Rвып / Rвогн > 2, (где Rвып, Rвогн - радиусы соответственно выпуклой и вогнутой кривых). При этом в качестве ведущего выбирают радиус выпуклой кривой. 4.57. Количество переломов в плане и продольном профиле по возможности должно быть одинаковым. Частые переломы в продольном профиле на длинных прямых в плане создают волнистость дороги. Если углов поворота в плане больше, чем переломов в про -дольном профиле, появляются извилистые участки с постоянным продольным уклоном, а вид участка представляется логически неоправданным. 4.58(4.31). Рекомендуется совмещать кривые в плане с выпуклыми кривыми в продольном профиле. Причем желательно, чтобы длина кривой в плане была больше длины кривой в продольном профиле или равна ей. Допустимое смешение кривых не должно превышать 1/4 длины меньшей из них. Видимая часть длины кривой в плане должна иметь угол поворота не менее 3°. 4.59. При совмещении кривой в плане с кривой в продольном профиле для обеспечения зрительной плавности и ясности дороги рекомендуется выдерживать соотношения Rп.п.вып / Rпл > 8 , (30) Rп.п.вогн / Rпл > 6, (31) где Rп.п.вып, Rп.п.вогн - радиусы соответственно выпуклой и вогнутой кривых в продольном профиле, м; Rпл - радиус кривой в плане, м. 4.60(4.32). Длинные прямые в плане трассы, вызывающие снижение надежности работы водителя, монотонность движения, повышенную аварийность и нарушения зрительной плавности в продольном профиле, рекомендуется ограничивать в зависимости от плотности транспортного потока и скорости движения. Продолжительность движения в потоке малой интенсивности не должна превышать 3 мин (табл. 25).
* Над чертой приведены значения показателей для дорог I категории с расчетной интенсивностью движения свыше 20000 прив.ед/ч, под чертой - менее 20000 прив.ед./ч. Примечание. Большие значения длин прямых следует принимать при преимущественно легковом движении, меньшие - при грузовом. 4.61. Длина криволинейного в плане участка дороги I категории должна составлять на равнинной местности более 5 км, на пересеченной - более 8 км; II - IV категорий - соответственно более 3 и более 5 км. Углы поворота трассы на этих участках должны быть более 6°. 4.62(4.35). Не рекомендуется проектировать короткую прямую вставку между кривыми в плане, так как это приводит к появлению зрительного излома дороги. Прямая вставка в плане не нарушает зрительной плавности дороги только в том случае, если она сопряжена с кривой в плане большого радиуса и ее видимые угловые размеры составляют не более 0,1Rα. В этом случае прямая вставка не видна и все закругление воспринимается как единое и зрительно плавное. Если видимая длина прямой вставки более 0,1Rα, то рекомендуется либо увеличивать радиусы кривых в плане или параметры клотоид, либо применять клотоидное трассирование и подбором параметров клотоид устранять прямую вставку. Прямая вставка допускается, если она воспринимается как самостоятельный элемент трассы. В этом случае ее длина должна составлять: для дорог III и IV категорий более 300 м, I и II категорий - более 700 м. 4.63. Не рекомендуется короткая кривая между длинными прямыми, поскольку такой поворот воспринимается как излом дороги. Следует стремиться к тому, чтобы длины прямых и кривой между ними были соразмерны. Рекомендуемые соотношения этих параметров для равнинной местности приведены в табл. 26.
Примечание. Значения наименьшего радиуса кривых в плане Rmin для каждой категории дороги принимают по табл. 13 (10); 4.64(4.36). Прямая вставка между двумя кривыми в продольном профиле нарушает зрительную плавность, если эта прямая не воспринимается к самостоятельный элемент трассы. Это происходит тогда, когда видимая длина прямой составляет более 10% радиуса наименьшей видимой кривизны ведущей линии. За ведущую линию принимают правую кромку проезжей части. 4.65. Если прямая вставка расположена между двумя вогнутыми или выпуклыми кривыми в продольном профиле разных радиусов, то допустимая длина прямой определяется кривой меньшего радиуса. Если прямой сопрягаются вогнутая и выпуклая кривые, то определяющей является вогнутая кривая. Прямая в продольном профиле воспринимается как пространственная, если она совпадает с прямой в плане. Кривая в плане улучшает зрительную плавность дороги и на всей своей протяженности снимает ограничение на допустимую длину прямой в продольном профиле. Если в продольном профиле дороги появляется прямая вставка, то зрительную плавность такого участка можно повысить за счет увеличения радиуса кривой в продольном профиле. Длину прямых вставок в продольном профиле на участках, совпадающих с прямой в плане, рекомендуется ограничивать согласно табл. 27 (16).
Велосипедные дорожки4.66. Ориентировочная длина велосипедных порожек на подходах к населенным пунктам принимается и зависимости от численности населения (табл. 28).
При близком (до 10 км) расположении населенных пунктов с численностью населения более 10 тыс. чел. они должны иметь соединяющую их велосипедную дорожку. 4.67. Велосипедные дорожки располагают на придорожной полосе (по согласованию с землепользователями). Параллельность велосипедной дорожки полотну автомобильной дороги необязательна. Технические нормативы на велосипедные дорожки приведены в табл. 29. Число полос движения назначают в зависимости от интенсивности движения велосипедистов (табл. 30). 4.68. Дорожки для совместного движения пешеходов и велосипедистов проектируются в стесненных условиях. Минимальную ширину такой совмещенной дорожки рекомендуется принимать 3,5 м, при этом велосипедная часть отделяется от пешеходной разметкой. 4.69. Недопустимо располагать велосипедные дорожки на обочинах автомобильных дорог за пределами населенных пунктов, за исключением стесненных условий и подходов к искусственным сооружениям. Таблица 29
4.70. Продольный уклон велосипедных дорожек должен быть не более 30%о. Максимальный уклон (60%о) допустим только на коротком протяжении (до 100 м). 4.71. Покрытие велосипедных дорожек, предназначенных для интенсивного движения (2000 вел./сут и более), следует предусматривать из цементобетона или обработанных органическими вяжущими материалов (щебня, гравия или доменного шлака). При меньшей интенсивности велосипедного движения покрытие велосипедных дорожек следует выполнять из местных водостойких материалов: укатанного топочного шлака, кирпичного боя, каменных материалов низкой прочности. 4.72. У магазинов, кинотеатров, столовых, мест кратковременного отдыха и других общественных мест рекомендуемся сооружать открытые велосипедные стоянки, оборудованные стойками, боксами или другими устройствами для хранения велосипедов. 5. ПЕРЕСЕЧЕНИЯ И ПРИМЫКАНИЯ5.1. Проектированию пересечений и примыканий должна предшествовать разработка проекту всей автомобильной дороги в целях их комплексного размещения. При этом решаются вопросы транспортных связей с прилегающими территориями, удовлетворения разнообразных потребностей пользователей дорог согласно требованиям СНиП 2.05.02-85. 5.2. Проектирование пересечений и примыканий автомобильных дорог производят из условий обеспечения максимальной безопасности и удобства движения автомобилей с наименьшими потерями времени в пределах пересечения или примыкания. Пересечения и примыкания проектируют на основе перспективных интенсивности и состава движения по направлениям. Положение и параметры съездов назначают исходя из интенсивности движения по ним, из условия обеспечения наименьших потерь времени и преимущественных удобств движения для наиболее загруженных съездов. 5.3. Безопасность и удобство движения по пересечениям и примыканиям обеспечиваются хорошей видимостью и понятностью проезда по ним. Понятность пересечений и примыканий обеспечивается: конструктивным решением преимущественного проезда; применением простых и широко распространенных типов пересечений; направлением потоков движения, организуемым четкими кромками проезжей части и их разметкой, кромками островков на второстепенных дорогах и другими направляющими устройствами (ограждениями, сигнальными столбиками и т.п.); ясным указанием мест переходов для пешеходов и велосипедистов; установкой наглядных схем, знаков и указателей на подходах к пересечениям и примыканиям и в их зоне. 5.4(5.1). Пересечения и примыкания автомобильных дорог рекомендуется, проектировать на прямолинейных в плане участках соединяющихся дорог. Недопустимо проектировать пересечения в конце или начале участков значительного протяжения с большими уклонами. Продольный уклон на подходе к пересечению на расстоянии видимости для остановки должен быть не более 40%о, чтобы обеспечить удовлетворительные условия для переменных режимов движения (торможения, разгона, переплетения, поворота). 5.5. Выбор схемы пересечений и примыканий, обоснование технических решений по их обустройству, а также сроков строительства (кроме пересечений между собой дорог IV - V категорий) производят на основе технико-экономических сопоставлений вариантов с учетом пропускной способности, безопасности и удобства движения, строительной стоимости, затрат времени пассажирами, транспортных и дорожно-эксплуатационных расходов, стоимости земель по приведенным затратам, перспективного развития и последующей реконструкции. 5.6. Основой для проектирования пересечений служат перспективная интенсивность Движения потоков по направлениям в узле пересечений и ее ежегодный рост, план местности в районе пересечений в масштабе не менее 1:5000, поперечные профили пересекаемых дорог, а также грунтово-гидрологические характеристики местности. Все пересечения на дороге следует рассматривать в единой связи друг с другом (тип смежных пересечений и расстояние между ними, обеспеченность транспортными связями прилегающих территорий с дорогой). 5.7. Из-за высокой стоимости сложных пересечений и больших площадей занимаемых ими земель элементы съездов с одной дороги на другую следует проектировать исходя из наименьшей расчетной скорости движения на съездах, принимаемой в зависимости от категорий пересекающихся дорог. При этом для торможения и разгона предусматривают устройство переходно-скоростных полос. При пересечении дорог в разных уровнях при выборе расчетной скорости движения на съездах необходимо руководствоваться пп. 5.27(5.12) - 5.28. На пересечениях в одном уровне в качестве расчетной можно принимать скорость на съездах до 15 км/ч. 5.8(5.4). В целях уменьшения помех от местного движения, повышения скоростей, удобства и безопасности движения основных потоков на автомобильных дорогах I, II и III категории количество пересечений и съездов следует уменьшать до минимума. Пересечения и примыкания на дорогах 1-а категории за пределами населенных пунктов следует проектировать, как правило, не менее чем через 10 км, на дорогах 1-б и II категорий - через 5 км, а на дорогах III категории - через 2 км с учетом конкретных условий - застройки, начертания существующей сети дорог и т.д. Местные дороги должны подводиться к запроектированным пересечениям и примыканиям с помощью параллельных путей или пересекать дороги I-III категорий в разных уровнях без устройства съездов с учетом требований п.5.11(5.6). В последнем случае размещение по протяжению не нормируется. Рекомендуется съезды на дороги IV -V категорий совмещать со съездами на площадки отдыха. 5.9. Места расположения, типы съездов, а также решения по их устройству при реконструкции автомобильных дорог I - III категорий согласовывают с соответствующими дорожно-эксплуатационными организациями. 5.10(5.5). Все съезды с дорог I - III категорий на подходах к основной дороге должны иметь твердые покрытия: на песчаных, супесчаных, легких суглинистых грунтах - на протяжении 100 м; на черноземах, глинистых, тяжелых и пылеватых суглинистых грунтах - 200 м. При проектировании въездов на дороги IV категории покрытие следует предусматривать на участке протяжением в 2 раза меньшим, чем въездов на дорог и I - III категорий. На съездах, как правило, следует устраивать дорожные одежды переходных типов с использованием местных каменных материалов и отходов промышленности; причем покрытия съездов должны отличаться по внешнему виду от покрытия главной дороги. Переход от укрепленного съезда к грунтовой дороге следует выполнять в виде щебеночной или гравийной призмы переменной толщины протяжением 6 м. 5.11(5.6). При проектировании дорог I - III категорий пересекаемые полевые дороги и пути прогона скота отводят под ближайшие искусственные сооружения с соответствующим их обустройством. В случае отсутствия на протяжении более 2 км подходящих искусственных сооружений при необходимости следует предусматривать устройство самостоятельных сооружений или путепроводов с наименьшими габаритными размерами (при отсутствии специальных требований по габариту): Ширина, м Высота, м Для полевых дорог 6 4,5 Для путей прогона скота 4 2,5 Для обеспечения лучшей видимости на дорогах высших категорий и предупреждения появления на них помех полевые дороги рекомендуется проектировать ниже уровня основной дороги, используя для этого рельеф местности и участки насыпей. 5.12(5.7). При суммарной интенсивности движения от 2000 до 3000 прив.ед./сут необходимо принимать схемы пересечений и примыканий в одном уровне с переходно-скоростными полосами, зонами безопасности, островками на второстепенных дорогах и другими мероприятиями по канализированию потоков и четкой организации их движения в соответствии с распределением потоков по направлениям. 5.13. При проектировании участков дорог в зоне пересечений и примыканий следует принимать рекомендуемые в п. 4.26 (4.20) параметры элементов плана и продольного профиля. 5.14(5.8). На главных дорогах выделение полос движения или других устройств по организации движения (островки и т.д.) выполняют разметкой соответствующих зон без возвышения их над проезжей частью. Форма каплевидных островков определяется траекториями движения грузовых автомобилей при поворотах. Островки должны быть хорошо различимы на подъезде к пересечению по второстепенной дороге. Островок треугольной формы должен быть смешен от кромки основной полосы на 1 м и иметь длину не менее 5 м. В стесненных условиях при соответствующем обосновании допускается проектировать пересечения и примыкания без устройства островков. 5.15(5.9). Оси пересекающихся или примыкающих дорог должны образовывать угол, близкий к прямому. В случае пересечения дорог под острым углом целесообразно путем изменения трассы второстепенной дороги приблизить угол пересечения к прямому с учетом местных условий (рис. 16). Если транспортные потоки не пересекаются, а сливаются или разветвляются (участки съезда или въезда), то указанное требование можно не учитывать. При слиянии или разветвлении неравнозначных дорог следует обеспечивать большую плавность главных дорог с четким выделением траектории основных потоков. Рис. 16. Схемы спрямления угла пересечения автомобильных дорог: а, б - рекомендуемые; в - нерекомендуемая 5.16. При наличии в зоне пересечения более четырех, а в зоне примыкания более трех подходов дорог следует приводить сложные схемы узлов к основным простым (рис. 17), изменяя взаимное расположение некоторых дорог. Расстояние l устанавливают из условия достаточного, протяжения участка для автомобилей, ожидающих на второстепенной дороге, но не менее 20 м. При этом длина участков с покрытиями на подходах местных дорог к главной должна приниматься в соответствии с п.5.10 (5 .5). Приведение сложных схем к простым должно предусматривать мероприятия, предупреждающие выезд автомобилей в непредусмотренных местах. При большой сложности пересечения на отдельных дорогах возможна организация одностороннего движения. Рис. 17. Приведение сложных узлов пересечения (l, 2, 3, 4) дорог к простым схемам (а-г) с учетом положения главной дороги 5.17. При реконструкции дорог целесообразно изменять планировку примыканий для улучшения условий движения по главной дороге с обеспечением оптического трассирования (рис. 18), выполняя примыкание второстепенной дороги под углом, близким к прямому. Рис. 18. Схемы изменения примыканий с улучшением условий движения на главной дороге: а - исходные схемы; б - без островков и переходно-скоростных полос; в - с островками и полосой торможения для левого поворота 5.18. При недостаточной видимости на главной дороге вместо пересечения допускается проектировать два смещенных примыкания второстепенной дороги. Смешение примыканий допускается в том случае, если отсутствует перспектива, реконструкции пересечения, а также если интенсивность пересекающего потока на второстепенной дороге между примыканиями не вызовет существенных помех движению. Причем смещение вправо предпочтительнее, чем влево. 5.19. В тех случаях, когда соединяются более четырех примыканий дорог, а приведение к простым схемам затруднено, либо когда интенсивности движения на пересекающихся дорогах одинаковы или отличаются не более чем на 20%, а интенсивность левоповоротного движения составляет не менее 40% интенсивности на пересекающихся дорогах, допускается проектировать кольцевые пересечения. На дорогах большого протяжения кольцевые пересечения не рекомендуются. При проектировании кольцевых пересечений необходимо обеспечивать своевременную информацию об их наличии, их видимость из условия безопасного обгона, а в ночное время - освещение с помощью светильников, установленных напротив каждого въезда. Диаметр центрального островка рекомендуется принимать 100 м, а наименьшего - 60 м. Кольцевая проезжая часть должна иметь ширину не менее 11 м. 5.20(5.10). Минимальный радиус сопряжения (по внутренней кромке проезжей части) на пересечениях и примыканиях в одном уровне принимают с учетом категории дороги, с которой происходит съезд, независимо от угла пересечения и примыкания: при съездах с дорог I, II категорий - не менее 25 м, III категории - 20 м и IV - V категорий - 15 м. Если сопряжение выполняется под тупым углом, рекомендуется предусматривать увеличение радиусов до 30-50 м. При расчете на регулярное движение автопоездов (более 25% в составе потока) радиусы кривых на съездах следует увеличивать до 30 м. 5.21. Сопряжение пересекающихся дорог должно включать входные и выходные переходные кривые в соответствии с траекторией движения автомобиля (при переходе с прямой на кривую и смещении при поворотах падких колес автомобиля по отношению к передним). Переходные кривые сопряжения могут быть заменены круговыми кривыми из условия сопряжения входной кривой пол углом 15°, выходной кривой - 20°. Радиус входной кривой принимают равным двум минимальным радиусам круговой кривой на сопряжении (см. п. 5.20(5.10)), а радиус выходной кривой - трем наименьшим радиусам сопряжения пересечения для второстепенной дороги. 5.22(5.11). Обеспечение видимости в местах расположения пересечений и примыканий дорог - важнейший фактор организации движения и его безопасности. В зоне пересечений или примыканий необходимо обеспечивать видимость водителям, подъезжающим к ним по главной и второстепенной дорогам, из условия остановки автомобилей до пересекаемых полос движения. Расстояния видимости для остановки должны быть не менее приведенных в табл. 13(10) для соответствующих расчетных скоростей движения на пересекаемых дорогах. При этом расположение глаз водителя принимают на расстоянии 1,75 м от кромки проезжей части. В пределах зоны видимости наличие насаждений и застройки не допускается, за исключением случая, если они представляют особую ценность. 5.23. При проектировании велосипедных дорожек в зоне пересечений и примыканий целесообразно предусматривать их вынесение за пределы земляного полотна. Это особенно важно при наличии полос для правого поворота. При проектировании велосипедных дорожек следует руководствоваться следующими положениями: если велосипедные дорожки параллельны главной дороге, то они должны пересекать второстепенную дорогу на некотором расстоянии от главной с разметкой перехода; они должны пересекать второстепенные дороги по возможности под прямым углом и проходить через каплевидный островок, но не через островок треугольной формы; велосипедные дорожки должны иметь прямой участок на протяжении не менее 3 м от кромки проезжей части пересекаемой дороги, с тем чтобы велосипедист мог свободно ориентироваться и не отвлекаться на езду по кривым; они должны пересекать главные дороги по возможности через островок треугольной формы. При этом не допускается пересечение полосы левого поворота с главной дороги; для исключения проезда между ожидающими автомобилями велосипедную дорожку располагают перед левоповоротной полосой главной дороги. 5.24. При проектировании пешеходных дорожек в зоне пересечении руководствуются теми же положениями, что и при проектировании велосипедных дорожек. Возможно совмещение велосипедных дорожек с пешеходными. Кроме того, необходимо стремится к уменьшению пути следования пешеходов. 5.25(5.2). Пересечения и примыкания автомобильных дорог в разных уровнях надлежит проектировать в следующих случаях: на дорогах 1-а категории с автомобильными дорогами всех категорий и на дорогах 1-б и II категории с дорогами II и III категорий; при пересечениях дорог III категории между собой и их примыканиях при перспективной интенсивности движения на пересечении (в сумме для обеих пересекающихся или примыкающих дорог) более 8000 прив.ед./сут. Транспортные развязки следует проектировать с таким расчетом; чтобы на дорогах I и II категории но было левых поворотов, а также въездов и съездов с левыми поворотами, при которых потоки основных направлений движения пересекались бы в одном уровне. Пересечения и примыкания дорог следует располагать с учетом обеспечения наиболее благоприятных условий движения автомобилей на прямолинейных участках дороги. В последнее время трассы дорог по условиям ландшафтного проектирования становятся более гибкими, поэтому в практике все чаше встречаются транспортные развязки на пересечениях криволинейного участка дороги с прямолинейным или двух криволинейных участков. 5.26. Расположение путепроводов и эстакад на пересечениях и примыканиях дорог в разных уровнях должно быть подчинено наилучшему проложению трасс пересекающихся дорог и наиболее целесообразной компоновке пересечений. 5.27(5.12). Элементы соединительных ответвлений транспортных развязок в целях уменьшения обшей площади их размещения следует проектировать исходя из переменной скорости движения. Правоповоротные съезды на пересечениях в разных уровнях выполняют, как правило, в виде сочетания переходных и круговых кривых, а также прямых вставок. При острых углах примыкания эти съезды проектируют в виде единой кривой без прямых вставок. Сопряжен не с применением обратных кривых допускается лишь в исключительных случаях, обязательно с технико-экономическим обоснованием. Радиусы кривых правоповоротных съездов принимают из условия обеспечения расчетных скоростей в местах въездов на основные дороги и съездов с них: для дорог I - II категории - не менее 60 км/ч (наименьший радиус 150 м), III категории - не менее 50 км/ч (наименьший радиус 100 м). При значительном количестве поворачивающих направо автомобилей целесообразно смешать правоповоротные съезды от центра пересечения увеличением радиусов кривых (если это обосновано технико-экономическим расчетом с учетом строительных и транспортно-эксплуатационных затрат), а при острых углах пересечения - устраивать двухполосные съезды для движения в обоих направлениях. 5.28. Радиусы кривых левоповоротных съездов на пересечениях типа "клеверный лист" в разных уровнях следует принимать на съездах дорог I - II категорий такими, чтобы обеспечить скорость движения не менее 40 км/ч, а на съездах дорог III категории - не менее 50 м. 5.29. На съездах радиусы кривых следует определять на основе расчетных значении используемой доли коэффициентов сцепления для поперечного направления: 0,15 - при скорости 80 км/ч; 0,16 - 60 км/ч, 0,165 - 50 км/ч, 0,17 - 40 км/ч. При условии устройства на съездах покрытий с повышенной шероховатостью способом специальной поверхностной обработки или втапливания одномерного щебня из высокопрочных пород размером 5 - 10 или 10 - 15 мм значения приведенных коэффициентов могут быть увеличены, но не более чем на 20%. При этом радиусы кривых левоповоротных съездов могут быть уменьшены до 50 м. Продольные уклоны на съездах следует принимать не более 40%о. Допустимые значения радиусов кривых в плане и продольном профиле съездов следует принимать в зависимости от расчетной скорости по табл. 13(10). При проектировании транспортных развязок элементы плана и продольного профиля съездов следует выбирать из условия обеспечения лучшего режима движения автомобилей, съезжающих с дороги более высокой категории или выезжающих на нее. При пересечении дорог одной категории лучшие условия обеспечиваются на примыкании съезда к дороге. 5.30(5.12). Отмыкание и примыкание левоповоротных и правоповоротных съездов к дороге следует осуществлять с использованием переходных кривых. Переходные кривые на отмыкании и примыкании правоповоротных и левоповоротных съездов необходимо подбирать из условия возможности отгона виража съезда на участке от точки размыкания кромок проезжих частей съезда и дороги до конца переходной кривой. Для обеспечения оптимальных условий движения автомобилей на участках примыканий и отмыкании съездов необходимо разрабатывать вертикальную планировку этих мест. Отгон поперечного уклона на участках ответвлений и примыканий можно выполнять по одной из четырех схем (рис. 19). Схемы 1, 2 и 3 применяют в том случае, если переходно-скоростная полоса (ПСП) сохраняется после отмыкания съезда. Наиболее распространена схема 1. Схему 3 используют в том случае, если необходимо обеспечить более благоприятные условия движения на съезде, чем на дороге, с которой съезжает автомобиль. Схему 4 применяют, если переходно-скоростная полоса не сохраняется после отмыкания съезда. Отгон ширины проезжей части переходно-скоростной полосы до полной ширины проезжей части съезда следует производить на всей длине переходной кривой. Продольный профиль съезда проектируют по его оси только после построения вертикальных планировок на участках сопряжения с дорогами. Продольный профиль съезда должен отличаться от профиля дороги и представлять собой последовательные участки с различными продольными уклонами, алгебраическая разность, которых не должна превышать 10%о. В особо стесненных условиях можно проектировать съезды, движение по которым происходит на спуск, с уклоном до 50%о. 5.31. При проектировании транспортных развязок надо учитывать, что наиболее опасными являются участки "переплетений". В пределах таких участков автомобиль, выезжающий на дорогу, начинает разгоняться, а съезжающий с нее тормозит. Необходимо стремиться к максимальному увеличению длины участка "переплетения". Минимальная длина участка от конца переходной кривой одного съезда до начала переходной кривой Другого съезда должна приниматься не менее 50 м. Схема 1 Схема 2
Схема 3
Схема 4
Рис. 19. Схемы отгона поперечного уклона на съездах; Loc - длина съезда 5.32. Левоповоротные съезды в плане проектируют по шести основным схемам, а правоповоротные съезды. в плане - по семи. Примеры построения правоповоротных и левоповоротных съездов приведены на рис. 20, 21, 22. Для правоповоротных съездов в особо стесненных условиях применяют схему, приведенную на рис. 22. 5.33(5.13). Ширину проезжей части однополосных левоповоротных съездов на пересечениях типа "клеверный лист" назначают 5,5 м, а правоповоротных соединительных съездов - 5 м на всем протяжении без дополнительного уширения на кривых. Ширина обочин с внутренней стороны кривых на съездах должна быть не менее 1,5 м, с внешней стороны - не менее 3 м. Обочины на всю ширину должны иметь укрепление. При этом рекомендуется выделять сопряжение проезжей части съездов с обочинами путем устройства укрепленных полос шириной 0,5 - 0,75 м или отличных по цвету сопрягаемых элементов либо разметкой. При установке ограждений ширину внутренних обочин следует назначать из условия обеспечения ширины полосы безопасности применительно к габаритам мостов и путепроводов. На всех однополосных съездах следует устраивать вираж с уклоном 20-60%o. Увеличение продольного уклона внешней кромки проезжей части на участке отгона виража на съездах не должно превышать 10%о. 5.34. Пересечения дорог I категории с дорогами III, IV и V категорий в разных уровнях можно проектировать но схеме с двумя двухполосными съездами, при которой на второстепенной дороге левые повороты выполняют в одном уровне (рис. 23). При этом ширина земляного полотна на съездах принимается, как правило, равной 10 м, проезжей части - 6 м с устройством уширений последней на кривых.
Рис. 20. Схемы левоповоротных съездов. Рис. 21. Схемы правоповоротных съездов Рис. 22. Схема правоповоротного съезда, применяемая в особо стесненных условиях Рис. 23. Возможная схема развязки пересечения дорог I категории с дорогами III-V категорий в разных уровнях Расчетная скорость при проектировании таких съездов принимается 30 км/ч. При небольшой длине съездов проезжую часть можно проектировать постоянной по ширине, рацион 9 м, без устройства уширения на кривых. 5.35. Если расчетная интенсивность на съезде больше пропускной способности одной полосы, следует проектировать двухполосные съезды. Ширина проезжей части двухполосных съездов должна быть не менее 7,5 м с дополнительным уширением на кривых, ширина обочин - не менее 2,5 м. Примыкания двух полосных съездов к основной дороге необходимо проектировать с устройством на ней дополнительной полосы протяжением не менее 600 м с последовательным отгоном полос движения. Рис. 24. Схема раскрытия видимости на право- и левоповоротных съездах; ---- - граница раскрытия видимости Рис. 25. Схема раскрытия видимости на примыкании к дорогам I категории (а) и II-V категорий (б) 5.36. Большое значение для обеспечения безопасности движения на транспортных развязках имеет правильное раскрытие зон видимости на лево- и правоповоротных съездах (рис. 24) и на примыканиях съездов к дорогам (рис. 25). Построение зон видимости осуществляется следующим образом (см. рис. 24). От точки расхождения кромок проезжих частей съезда и дороги навстречу движению откладывают расстояния видимости, соответствующие расчетным скоростям движения по осям крайних полос, и полученные точки соединяют. Образуется так называемый треугольник видимости. В этом треугольнике намечаются зоны вырубки леса, сноса строений или срезки грунта. Необходимость срезки грунта выявляют также с помощью треугольника видимости. Для этого определяют отметки покрытия дороги и съезда в вершинах треугольника видимости и расстояние между ними. Зная пространственное положение границы раскрытия видимости и построив продольный профиль, можно определить границы срезки грунта. В зоне обеспечения видимости нельзя допускать размещения площадок отдыха, постов ГАИ, АЗ-С, остановок общественного транспорта. 5.37. Перед проектированием продольного профиля пересекаемой дороги, на которой будет расположен путепровод, необходимо рассчитать минимальные отметки его проезжей части, при которых будет выдержан габарит приближения конструкций под путепроводом (подмостовой габарит). Согласно СНиП 2.05.03-84 габарит приближения конструкций под путепроводом принимается равным 5,0 м для дорог I - III категорий и 4,5 м для дорог IV - V категорий. Кроме этого, необходимо учитывать возможность перспективного развития проезжей части на дорогах I категории за счет разделительной полосы. 5.38. В последнее время все больше внимания уделяется системе автоматизированного проектирования автомобильных дорог (САПР-АД). В ГПИ "Союздорпроект" разработан пакет прикладных программ (ППП-2) для ЭВМ ЕС по проектированию развязок движения на пересечениях автомобильных дорог. При пересечении двух прямолинейных в плане дорог ППП-2 позволяет производить расчет лево- и правоповоротных съездов, вертикальную планировку сопряженных с дорогами участков, проектировать проектную линию продольного профиля. Эти расчеты можно вести в диалоговом режиме, а результаты получать о графическом отображении на чертежном устройстве. При пересечении прямолинейных участков дорог ППП-2 дает возможность рассчитывать левоповоротные съезды по многоцентровым схемам и правоповоротные съезды по одноцентровой схеме. При наличии постоянной кривизны у обеих пересекающихся дорог можно производить расчет левоповоротных съездов на ЭВМ. Если проектируемая транспортная развязка расположена в равнинной местности, то ППП-2 позволяет выполнять подсчет объемов земляных работ по съездам. Переходно-скоростные полосы5.39(5.22). В дополнение к основным полосам проезжей части в районах пересечении и примыкании устраивают переходно-скоростные полосы для торможения и разгона, позволяющие увеличить пропускную способность дороги, устранить помехи прямому движению, улучшить организацию движения автомобилей, повысить безопасность и удобство движения и уменьшить время движения. Переходно-скоростные полосы следует предусматривать на пересечениях и примыканиях в местах съездов и въездов при следующем количестве автомобилей, въезжающих на дорогу или съезжающих с нее: на дорогах I категории - 50 прив.ед./сут и более; II категории - 100 прив.ед./сут и более; III категории - 200 прив.ед./сут и более. Переходно-скоростные полосы на дорогах I - IV категорий следует предусматривать в местах расположения остановок автобусов и троллейбусов, а на дорогах I-III категорий, кроме того, и у автозаправочных станций и площадок отдыха. 5.40. На дорогах I - III категории при сопряжении переходно-скоростных полос со съездами, предназначенными для одного направления движения, длина полосы может быть уменьшена в соответствии с расчетными скоростями на съездах не менее чем до 50 м для дорог I - II категории и не менее чем до 30 м для дорог III категории. При невозможности размещения двух переходно-скоростных полос при реконструкции автомобильной дороги следует предусматривать в первую очередь полосу для левого поворота. В отдельных случаях при сложности устройства переходно-скоростных полос полной длины для правых поворотов при технико-экономическом обосновании допускаются переходно-скоростные полосы неполной длины или только отгоны полос. Устройство отгона полосы торможения начинают с уступа в плане 0,5 м для четкого выделения ее начала. При выезде со съезда должна быть обеспечена видимость конца полосы разгона. Следует выполнять сопряжение осей полос движения съездов с осями переходно-скоростных полос. 5.41(5.24). Переходно-скоростные полосы для дорог I категории на пересечениях типа "клеверный лист" следует проектировать в виде единых по длине полос для смежных съездов, включая правоповоротные съезды и участок под путепроводом. На дорогах II категории единые по типе переходно-скоростные полосы следует проектировать на участках смежных левоповоротных съездов. При определении длины полосы торможения для левых поворотов следует учитывать возможные помехи автомобилей, въезжающих на полосу торможения со смежного левоповоротного съезда. Длина полос разгона для автомобилей, въезжающих с левоповоротного съезда, должна быть уточнена с учетом скоростей движения автомобилей, съезжающих с основной дороги и использующих эту полосу для торможения перед выездом на смежный левоповоротный съезд. 5.42(5.25). Ширину полос разгона и торможения принимают равной ширине основных полос проезжей части. Сопряжения полос разгона и торможения с обочиной следует выполнять, как правило, через укрепленные полосы шириной 0,75 м на дорогах I и II категорий и шириной 0,5 м на дорогах III категории. Обочины должны быть укреплены. 5.43. Покрытие переходно-скоростных полос следует выполнять с повышенной шероховатостью для обеспечения надлежащего сцепления с ним колес автомобиля, выделяя его по возможности по внешнему виду. 5.44(5.26). Полосы разгона и торможения в зоне пересечений и примыканий, в зоне автобусных остановок за пределами остановочных площадок на участке длиной не менее 20 м следует отделять от основных полос движения разделительной полосой шириной 0,75 м на дорогах I и II категорий и 0,5 м - на дорогах III категории. Устраивают разделительную полосу в одном уровне с прилегающими полосами движения. Ее рекомендуется выполнять отличной по цвету от прилегающих полос или выделять разметкой. В зоне пересечений в одном уровне полосы торможения и разгона на кривых отделяют от основных полос движения островками, форма которых определяется траекторией движения автомобилей и общей планировкой пересечений. На дорогах IV категории переходно-скоростные полосы отделяют от основных полос сплошной линией в пределах остановочной площадки автобусов и прилегающих к ней переходно-скоростных полос на участке длиной не менее 20 м в каждую сторону. 5.45. На дорогах всех категорий, где не предусматривается конструктивное выделение или разметка сплошными линиями отгонов и прилегающих переходно-скоростных полос, их размечают пунктирной линией для четкого обозначения основных полос движения. 6. ОБУСТРОЙСТВО ДОРОГ И ЗАЩИТНЫЕ ДОРОЖНЫЕ СООРУЖЕНИЯ6.1. Обустройство дорог и защитные дорожные сооружения предназначены для предупреждения дорожно-транспортных происшествий и снижения тяжести их последствий, зрительного ориентирования водителей, обеспечения бесперебойной работы дороги круглый год. 6.2(9.1). К обустройству дорог относят технические средства организации дорожного движения (ограждения, знаки, разметка, направляющие устройства, сети освещения, светофоры, системы автоматизированного управления движением), озеленение, малые архитектурные формы. 6.3. По характеру взаимодействия транспортных средств с ограждениями и их функциональному назначению ограждения, применяемые на автомобильных дорогах, мостах, путепроводах и подходах к ним, разделяют на две группы. К первой группе относят барьерные ограждения из железобетона, дерева, металла; парапетные; комбинированные, состоящие из отдельных элементов барьерных и парапетных ограждений. Эти ограждения предназначены для предотвращения вынужденных съездов транспортных средств с земляного полотна, мостов, путепроводов; столкновений со встречными транспортными средствами при переезде разделительной полосы; наездов на массивные предметы и сооружения, расположенные в полосе отвода дороги и на разделительной, полосе (стойки информационно-указательных дорожных знаков, опоры освещения, опоры путепроводов). Ко второй группе относят перильные ограждения и сетки, предназначенные для упорядочения движения пешеходов на опасных участках дорог и для исключения возможности выхода животных на проезжую часть дороги. 6.4.(9.3) Дорожные ограждения первой группы следует устанавливать на опасных участках дорог для предотвращения выезда автомобилей за пределы земляного полотна и наезда на массивные препятствия, располагающиеся на расстоянии менее 4 м от кромки проезжей части. В связи с тем что дорожное ограждение представляет собой опасное препятствие, его следует устанавливать только на тех участках дорог, где его отсутствие может привести к дорожно-транспортным происшествиям с последствиями, более тяжкими, чем при наезд и на ограждение, и только в тех случаях, когда другие, более эффективные решения (уполаживание откосов насыпей, уменьшение высоты насыпей, удаление на достаточные расстояния от кромки проезжей части массивных препятствий) невозможно осуществить по условиям рельефа, ситуации, экономическим или конструктивным соображениям. 6.5. Барьерные ограждения по характеру работы направляющих элементов подразделяются следующим образом: жесткие, с направляющими элементами, работающими, как мощный ограждающий брус или стенка; энергопоглощающие, с направляющими элементами, способными деформироваться в поперечном направлении, выполненными в соответствии с ГОСТ 26804-86; гибкие (тросовые), с направляющими элементами, обладающими способностью воспринимать большие растягивающие напряжения. Парапетные ограждения выполняют в виде сплошной стенки. Для них характерно наличие наклонной, криволинейной или ломаной фасадной поверхности. Комбинированные ограждения представляют собой конструкцию с любым сочетанием разновидностей барьерных или парапетных ограждений. Для практических целей рекомендуется применять комбинацию полужестких барьерных ограждений с парапетными. 6.6. Барьерные ограждения имеют общие конструктивные элементы: направляющие (брусья, планки или тросы); вертикальные стойки; выступающие консоли (амортизаторы), к которым крепятся продольные брусья, планки или тросы; монтажные приспособления. К жестким барьерным ограждениям относят ограждения из железобетона и дерева. Энергопоглощающие барьерные ограждения представляют собой конструкцию с направляющими стальными планками волнообразного профиля, устанавливаемыми на металлических стойках. Тросовые барьерные ограждения состоят из трех рядов стальных тросов диаметром 19,5 мм, проходящих через амортизаторы, прикрепленные к стойкам. 6.7. Ограждения парапетного типа специального профиля могут быть монолитными или сборными, состоящими из отдельных блоков, изготавливаемых в заводских условиях. 6.8. Область рационального применения ограждений (см. п. 9.3 СНиП 2.05.02-85) определяется из условия их минимальных стоимости и расходов на содержание при максимальном сохранении функциональных свойств - предотвращения заезда автомобиля в ограждаемую зону, коррекции траектории движения автомобиля, гашения (частичного или полного) поперечной составляющей энергии движения с минимальными инерционными перегрузками. При этом учитывались: параметры геометрических элементов плана и профиля дороги, мостов и подходов; условия движения на дороге и мосту, категория дороги; стремление к однотипности конструкций и условий движения на дороге в целом. 6.9. Нa автомобильных дорогах I - II категорий, а в особо опасных условиях и III категории, рекомендуется устанавливать энергопоглощающие металлические ограждения согласно ГОСТ 26804-85, которые по деформативным характеристикам и простоте конструкций выгодно отличаются от других типов ограждений и в большей степени соответствуют требованиям обеспечения безопасности движения. Деревянные ограждения рекомендуется устанавливать преимущественно в лесных районах северной части РСФСР, Сибири и Дальнего Востока. 6.10(9.3). На горизонтальных участках дорожные ограждения следует предусматривать в зависимости от перспективной интенсивности движения и минимальной высоты насыпи в соответствии с табл. 31 (47). 6.11. Дорожные ограждения должны быть установлены по всей длине опасного участка (моста, путепровода, высокой насыпи, группы массивных препятствий и т.п.) и продолжены за его пределы на расстояние, зависящее от вида и размеров препятствия, ширины разделительной полосы и обочин, места установки ограждении и категории автомобильной дороги. Длину начального участка ограждения следует принимать с учетом пути, проходимого автомобилем за время реакции водителя при обнаружении им опасной зоны, но не менее 25 м до ее начала. 6.12(9.4). На автомобильных дорогах I категории в целях предотвращения попадания автомобилей на проезжу к часть со встречным направлением движения на распылительных полосах в зависимости от их ширины и интенсивности движения должны устанавливаться барьерные или парапетные ограждения.
Тип ограждения выбирают в зависимости от интенсивности движения, размеров разделительной полосы, наличия на ней дорожных сооружений, а также климатических условий района проложения дороги. Ограждения, предотвращающие столкновение со встречными транспортными средствами, а также наезды на массивные дорожные сооружения, устанавливают на расстоянии не менее 1 м от кромки проезжей части. Если отсутствуют на разделительной полосе массивные дорожные сооружения (рамные и консольные опоры информационно-указательных дорожных знаков, опоры мостов или путепроводов, опоры освещения н т.п.), или проезжие части с противоположными направлениями движения расположены в одном уровне, или перепад высот между ними менее 0,3 м, то ограждения следует устанавливать по оси разделительной полосы. В случае расположения внутренних кромок проезжих частей в разных уровнях (с перепадом высот между ними 0,3 м и более) планки барьерного ограждения и рабочие грани парапетного ограждения должны находиться в разных уровнях, обеспечивая необходимое возвышение ограждения над поверхностью земли с каждой стороны разделительной полосы. 6.13(9.10). Сигнальные столбики необходимо устанавливать на дорогах I категории, а также на опасных участках дорог II - V категорий без искусственного освещения, когда не требуется установка ограждении первой группы. 6.14(9.11). Сигнальные столбики на обочинах дорог II - V категорий следует устанавливать: в пределах кривых в продольном профиле и на подходах к ним при высоте насыпи не менее 2 м и интенсивности движения не менее 2000 прив.ед./сут - по три столбика с каждой стороны дороги, на расстояниях, указанных в табл. 32(49) (рис. 26, а); в пределах кривых в плане и на подходах к ним при высоте насыпи не менее 1 м - по три столбика с каждой стороны, на расстояниях, указанных в табл. 33(50) (рис. 26, б); на прямолинейных участках дорог в плане при высоте насыпи от 2 до 3 м и интенсивности движения не менее 2000 прив.ед./сут - через 50 м; при прохождении автомобильных дорог на расстоянии менее 15 м от болот и водотоков глубиной от 1 до 2 м - через 10 м;
на пересечениях и примыканиях дорог в одном уровне с внутренней стороны в пределах кривых - на расстояниях, указанных в табл. 33(50) для внешней стороны кривой; у водопропускных труб - по одному столбику с каждой стороны дороги; у мостов и путепроводов - по три столбика с двух сторон дороги до и после сооружения, через 10 м. 6.15(9.16). В проектах должны быть предусмотрены мероприятия, надежно защищающие участки дорог, проходящие по открытой местности, от снежных заносов по время метелей. 6.16. Снегозащитные лесонасаждения рассчитывают на задержание снегоприноса 10%-ной обеспеченности при его объеме до 250 м3 на 1 м дороги. В отдельных регионах РСФСР и Казахстана снегозащитные лесонасаждения можно проектировать исходя из объемов снегоприноса свыше 250 мм. В этом случае ширину и конструкции снегозащитных лесонасаждений следует определять по индивидуальному проекту, утвержденному в установленном порядке. В целях принятия наиболее эффективных и экономичных проектных решений в соответствии с местными условиями и накопленным опытом необходимо руководствоваться действующими региональными инструкциями и нормативными документами. Рис. 26. Схема установки столбиков на участках кривых в продольном профиле (а) и в плане (б)
6.17. К снегозащитным лесонасаждениям предъявляются следующие основные требования (которые необходимо учитывать при их проектировании): вступление "в работу" по защите дорог от снегозаноса как можно быстрее после посадки; задержание снега у дороги и его распределение в целях защиты ее от заносов; долговечность, устойчивость против снеголома, пожаров, вредителей и болезней; выполнение функции снегозадержания на сельскохозяйственных землях; эстетические качества; обеспечение возможности применения комплексной механизации на всех этапах выращивания и содержания лесонасаждений; экономическая эффективность. 6.18. При разработке проектов необходимо строго выполнять требования по сохранению сельскохозяйственных угодий, защите почв от эрозии, рациональному отводу и использованию земель. 6.19. Снегозащитные лесные полосы должны иметь плотную (непродуваемую) конструкцию. С этой целью в лесные полосы включают: низкие кустарники высотой до 2 м; высокие кустарники высотой более 2 м; низкокронные деревья (сопутствующие породы); высококронные деревья (главные породы). Обязательным элементом каждой полосы должна быть густая двухрядная кустарниковая опушка в сочетании с несколькими рядами низкокронных деревьев. 6.20. На основе типовых схем снегозащитных насаждений должны проектироваться рабочие схемы лесных, полос для каждого конкретного участка (рис. 27), которые составляют проектные организации. При этом определяют видовой состав древесных и кустарниковых пород, их размещение по рядам, а также количество рядов, ширину междурядий и размещение растений в рядах. Конкретное расстояние, ширину лесных полос и величину разрывов между лесными полосами определяют в зависимости от объема снегоприноса (см. рис. 27). Причем при расчетном годовом снегоприносе 10-25 м3/м (см. рис. 27, а) расстояние от бровки земляного полотна до лесонасаждений принимается следующим образом меньшие значения - для дорог IV - V категорий, большие – I - III] категорий. Сокращение расстояний, указанных на рис. 27, не допускается, за исключением схем снегозащитных насаждений, применяемых в условиях Белорусской ССР в соответствии с Указаниями по изысканию и проектированию узких снегозадерживающих насаждений вдоль автомобильных дорог Белоруссии" (Минск, 1971). Рис. 27. Типовые схемы снегозащитных насаждений у автомобильных дорог при объеме снегоприноса: а - до 25 м3/м; б - от 25 до 50 м3/м; в - от 50 до 75 м3/м; г - от 75 до 100 м3/м; д - от 100 до 125 м3/м, е - от 125 до 150 м3/м, ж - от 150 до 200 м3/м; з - от 200 до 250 м3/м; 1 - кустарники низкие; 2 - то же, высокие; 3 - деревья низкокронные; 4 - то же, высококронные 6.21. Расстояние между рядами деревьев и кустарников в лесной полосе следует принимать одинаковым: в благоприятных лесорастительных условиях - 2,5 м, в тяжелых – 3 - 4 м. Расстояние между растениями в ряду допускается назначать 0,5 - 1 м. 6.22. При большой длине снегозащитной лесной полосы, проектируемой для сельскохозяйственных угодий, необходимо предусматривать разрывы (по 10 - 15 м) через каждые 800 - 1000 м для прохода сельскохозяйственных машин. 6.23. В связи с возможностью переноса снега под углом по отношению к оси дороги снегозащитные лесные полосы проектируют длиннее защищаемого участка дороги на 50 - 100 м. В условиях снегоприноса более 100 м3/м эта величина должна быть обоснована расчетом для направления ветров под углом к оси дороги более 30°, с учетом расстояния между лесными полосами и защищаемым участком дороги. 6.24. Подбор древесных и кустарниковых пород для снегозащитных насаждений производят с учетом лесорастительных условий каждого конкретного участка насаждений, биологических и снегозадерживающих особенностей деревьев и кустарников. Породы, используемые для живых изгородей, должны хорошо переносить систематическую стрижку. Одной из лучших хвойных пород для устройства живых изгородей является ель. Еловые изгороди образуют плотную преграду для снеговетрового потока, причем ель наиболее устойчива против снеголома. Рекомендуемый ассортимент древесных и кустарниковых пород для снегозащитных лесных полос автомобильных дорог указан в табл. 34.
Примечание. Знак (+) указывает на пригодность породы для данной зоны, знак (-) - непригодность, буква (е) - пригодность только для европейской части СССР. Из лиственных пород для устройства живых изгородей рекомендуются ива белая, вяз обыкновенный, акация желтая, лещина, алыча, лох узколистный, сирень, боярышник, ирга, тамарикс. Для создания непроходимых колючих изгородей используют шиповник, боярышник, а в южных районах - гледичию. Указанный ассортимент пород деревьев и кустарников для живых изгородей является ориентировочным и может быть расширен. 6.25. Живые изгороди создают из одной породы. При большом протяжении их через некоторые промежутки меняют породу во избежание монотонности и массового повреждения грибковыми болезнями или насекомыми-вредителями. В еловые изгороди через каждые 100 - 200 м следует включать перемычки длиной не менее 10 м из лиственных пород в противопожарных целях. Древесные и кустарниковые породы в лесных полосах должны размещаться "чистыми" рядами, т.е. каждый ряд лесной полосы должен состоять из одной породы деревьев или кустарников. Чередование разных пород в одном ряду как при посадке лесных полос, так и при дополнениях не допускается. 6.26. При объемах снегоприноса в пределах 25 - 100 м3/м допускается проектировать насаждения с древесным ярусом из одной породы низкокронных деревьев во всех рядах с сохранением кустарниковой опушки. В тех случаях, когда вдоль заносимых участков дорог имеются неудовлетворительные по конструктивному решению, составу пород, размещению и другим признакам снегозащитные лесонасаждения, которые нельзя исправить рубками ухода, проектом должны быть предусмотрены мероприятия по их усилению путем увеличения ширины таких насаждений или создания дополнительных лесных полос. 6.27. Проектом предусматривается посадка (посев) снегозащитных лесных полос, как правило, рядовым способом весной. В европейской части страны при наличии положительного местного опыта могут проектироваться и осенние посадочные (посевные) работы. Приложение 1
|
|||||||||||||||||||||||||||||||||||||||||||||||||||||||||||||||||||||||||||||||||||||||||||||||||||||||||||||||||||||||||||||||||||||||||||||||||||||||||||||||||||||||||||||||||||||||||||||||||||||||||||||||||||||||||||||||||||||||||||||||||||||||||||||||||||||||||||||||||||||||||||||||||||||||||||||||||||||||||||||||||||||||||||||||||||||||||||||||||||||||||||||||||||||||||||||||||||||||||||||||||||||||||||||||||||||||||||||||||||||||||||||||||||||||||||||||||||||||||||||||||||||||||||||||||||||||||||||||||||||||||||||||||||||||||||||||||||||||||||||||||||||||||||||||||||||||||||||||||||||||||||||||||||||||||||||||||||||||||||||||||||||||||||||||||||||||||||||||||||||||||||||||||||||||||||||||||||||||||||||||||||||||||||||||||||||||||||||||||||||||||||||||||||||||||||||||||||||||||||||||||||||||||||||||||||||||||||||||||||||||||||||||||||||||||||||||||||||||||||||||||||||||||||||||||||||||||||||||||||||||||||||||||||||||||||||||||||||||||||||||||||||||||||||||||||||||||||||||||||||||
|
Транспортные средства |
Грузоподъемность, т |
Осевая масса, т |
Коэффициент приведения |
|
1 |
2 |
3 |
4 |
|
Легковые автомобили: |
|
|
|
|
"Запорожец" |
- |
|
1,0 |
|
"Жигули" |
- |
- |
1,0 |
|
"Москвич" |
- |
- |
1,0 |
|
"Волга" |
- |
- |
1,0 |
|
ЛиАЗ-969 |
- |
- |
1,0 |
|
"Нива" |
- |
- |
1,0 |
|
УАЗ-469 |
- |
- |
1,0 |
|
Автобусы: |
|
|
|
|
УАЗ-452В |
- |
- |
1,0 |
|
РАФ-2203 |
- |
- |
1,0 |
|
КаВЗ-685 |
- |
4,845 |
1,75 |
|
ПАЗ |
- |
4,5-5,29 |
1,75 |
|
ЛАЗ |
- |
7,1-9,3 |
2,5 |
|
ЛиАЗ-677 |
- |
8,31 |
2,5 |
|
Грузовые автомобили: |
|
|
|
|
Иж-2715 |
0,35-0,4 |
- |
1,0 |
|
КрАЗ-762 |
1,15 |
- |
1,0 |
|
УАЗ-451, УАЗ-452 |
0,8-1,0 |
- |
1,0 |
|
ГАЗ-52 |
2,5 |
3,6-3,94 |
1,6 |
|
ГАЗ-53 |
4,0 |
5,59 |
1,75 |
|
ЗИЛ-130 |
6,0 |
7,9 |
2,0 |
|
ЗИЛ-133 |
10,0 |
13,5* |
2,65 |
|
ГАЗ-66 |
2,0 |
3,07 |
1,5 |
|
КамАЗ-5320 |
8,0 |
10,93* |
2,5 |
|
КамАЗ-53212 |
10,0 |
14* |
2,65 |
|
МАЗ-5335 |
8,0 |
10,0 |
2,5 |
|
МАЗ-53352 |
8,4 |
10,0 |
2,5 |
|
Грузовые автомобили-самосвалы: |
|
|
|
|
САЗ-3504, САЗ-3503 |
2,25-2,4 |
3,7 |
1,5 |
|
САЗ-3502, ГАЗ-САЗ-53Б |
3,2-3,55 |
5,5 |
1,6 |
|
ЗИЛ-ММЗ-555 |
5,25-5,8 |
7,13-7,97 |
1,9-2,0 |
|
КамАЗ-5511 |
10,0 |
14,68* |
2,65 |
|
КамАЗ-55102 |
7,0 |
11,13* |
2,25 |
|
МАЗ-5549 |
8,0 |
10,0 |
2,5 |
|
Автопоезда на седельном тягаче: |
|
|
|
|
ГАЗ-52-06 |
4,3 |
3,3 |
2,8 |
|
ЗИЛ-130В-1 |
7,5 |
6,0 |
3,0 |
|
КамАЗ-5410 |
14,2 |
11,0* |
3,6 |
|
КамАЗ-54112 |
20,0 |
18,0* |
4,0 |
|
МАЗ-504В |
20,0 |
18,0* |
4,0 |
|
МАЗ-5429 |
13,5 |
10,0 |
3,6 |
|
МАЗ-5432 |
20,0 |
18,0* |
4,0 |
|
МАЗ-6422 |
26,2 |
18,0* |
4,6 |
|
Автопоезда с прицепом: |
|
|
|
|
ЗИЛ-130 |
11,5 |
7,9 |
3,5 |
|
КамАЗ-5320 |
16,0 |
5,75 |
3,75 |
|
КамАЗ-53212 |
20,0 |
14,0* |
4,0 |
|
МАЗ-5335 |
16,0 |
10,0 |
3,75 |
* Полная масса на тележку.
1. Ущерб Усев, наносимый сельскохозяйственному предприятию в связи с нарушением системы севооборота, рекомендуется определять по формуле
Усев= (625+780 КсхВсх)(ВП-ЧД)δλLсх,
где Ксх - коэффициент, учитывающий возможность получения сверхплановой сельскохозяйственной продукции на перспективу; Ксх= 1 - 2;
Всх - плановый прирост сельскохозяйственной продукции на перспективу, доли единицы ;
ВП - валовой продукт, тыс.руб.;
ВП = ТЧ + СФ + КФ;
ТЧ - фактическая выручка от продажи товарной части продукции, тыс.руб.;
СФ, КФ - денежная оценка соответственно семенного и кормового фонда по себестоимости, сдаточным или закупочным ценам, тыс.руб.;
ЧД - чистый доход, тыс.руб.;
ЧД = ВП - (МЗ + ОТ);
МЗ - материальные затраты, тыс.руб.;
ОТ - затраты на оплату труда, тыс.руб.;
δ - поправка на среднюю рабочую длину гона;
λ - коэффициент, характеризующий степень нарушения дорогой системы севооборота;
Lсх - протяженность дороги в пределах хозяйства, км.
Поправка на среднюю рабочую длину гона учитывает удобство и технологичность проведения работ. При большой, длине гона происходит увеличение затрат на холостые заезды и повороты при выполнении полевых работ, а при малой длине - на частые непроизводительные развороты. Оптимальной считается длина гона 600-800 м. Значение поправки δ принимается по табл. 1 настоящего приложения.
|
Средняя рабочая длина гона, м |
δ |
|
До 400 |
2,00 и более |
|
500 |
1,55 |
|
700 |
1,00 |
|
900 |
1,45 |
|
Свыше 1000 |
1,80 и более |
Коэффициент λ определяется по табл. 2 настоящего приложения в зависимости от плана трассы и угла пересечения оси трассы с продольной осью полей (острый угол).
|
Нарушение дорогой системы севооборота |
Характеристика трассы в плане |
Угол пересечения оси трассы с продольной осью полей, град |
λ |
|
Небольшое |
Прямолинейная |
До 30, 60 и более |
До 0,04 |
|
30-60 |
0,04 |
||
|
Среднее |
То же |
30-60 |
0,04 |
|
45 |
0,07 |
||
|
Большое |
Криволинейная |
30-60 |
0,08 |
|
45 |
0,10 |
2. Ущерб Уатм наносимый сельскохозяйственным предприятиям в результате загрязнения атмосферы отработавшими газами автотранспорта, рекомендуется определять по формуле
![]()
где Т - расчетный срок или период достижения в данной отрасли производства предельно допустимой концентрации (ПДК), годы;
St - площадь загрязнения в t-м году, га;
- стоимость недобора валовой продукции
сельскохозяйственного производства с единицы площади в t-м году, руб.;
кt - коэффициент, учитывающий получение сверхплановой продукции на перспективу;
Е - нормативный коэффициент приведения единовременных затрат.
Расчет возможной площади, на которой будет наблюдаться снижение урожайности St определяется по формуле
![]()
где
- максимальная
концентрация окиси углерода над краем проезжей части, мг/м3.
Максимальная концентрация окиси углерода над проезжей частью
определяется по
рисунку настоящего приложения с учетом состава транспортного потока и средней
скорости его движения. Средняя скорость транспортного потока в зависимости от
геометрических элементов плана, продольного и поперечного профилей,
интенсивности движения и т.д. определяется по прил. 4.

Номограмма для определения концентрации СО.
- двухполосные дороги; ----- -
четырехполосные; шестиполосные (цифры у кривых - интенсивность
движения транспортного потока, авт/ч)
При определении уровня загрязнения воздуха на перспективу получаемые по номограмме уровни необходимо умножать на понижающий коэффициент, равный 0,92 для 1990 г., 0,66 - 2000 г. и 0,5 - 2010 г., учитывающий конструктивное совершенствование автомобильных двигателей и снижение их токсичности.
Стоимость недобора валовой продукты сельскохозяйственного производства Свп с единицы площади для каждого года рекомендуется определять по формуле
,
где уi - фактическая средняя урожайность i -й культуры за тур, т.е. за последние 5 лет, ц/га;
П - потери урожая с прилегающих к автомобильной дороге сельскохозяйственных угодий (табл. 3 настоящего приложения) и зависимости от вида произрастающих культур, уровня загрязнения воздуха и количества вносимых удобрений в 1 ц действующего вещества на 100 га пашни, %;
3 - закупочные цены 1 ц i-го вида культуры, руб.;
Q - удельный вес 1-й культуры в структуре посевных угодий, доли единицы.
3. Прибыль Э (руб.) сельскохозяйственного предприятия от строительства автомобильной дороги, проходящей по угодьям сельскохозяйственного предприятия, рекомендуется определять по формуле
Э = АSсх ( р/ - р),
где А - коэффициент регрессии (табл. 4);
Sсх - общая площадь земель сельскохозяйственного предприятия, га;
р/ - показатель, учитывающий, какая часть перспективной сети дорог будет находиться в хозяйстве с вводом новой автомобильной дороги;
р - показатель, учитывающий, какая часть перспективной сети дорог находится в хозяйстве.
|
Вид сельскохозяйственных культур |
Количество вносимых удобрений и действующего вещества на 100 га |
Потери урожая с прилегающих к автомобильной дороге территории, %, при концентрации СО, мг/м3 |
||
|
10 |
18 |
26 |
||
|
Ячмень, овес, пшеница яровая |
50 |
20 |
40 |
60 |
|
100 |
16 |
32 |
50 |
|
|
150 |
13 |
27 |
40 |
|
|
200 |
11 |
23 |
34 |
|
|
Пшеница и рожь озимые |
50 |
11 |
22 |
32 |
|
100 |
10 |
20 |
28 |
|
|
150 |
8 |
16 |
25 |
|
|
200 |
8 |
15 |
22 |
|
|
Картофель, сахарная свекла |
50 |
5 |
11 |
16 |
|
100 |
5 |
10 |
15 |
|
|
150 |
5 |
9 |
14 |
|
|
200 |
5 |
9 |
13 |
|
|
Кукуруза на силос |
50 |
48 |
71 |
82 |
|
100 |
45 |
64 |
78 |
|
|
150 |
42 |
63 |
75 |
|
|
200 |
40 |
55 |
72 |
|
|
Многолетние и однолетние травы |
50 |
12 |
23 |
35 |
|
100 |
45 |
64 |
78 |
|
|
150 |
42 |
63 |
75 |
|
|
200 |
9 |
20 |
29 |
|
|
Регион |
Коэффициент А |
|
Архангельская, Мурманская, Карельская области |
9,1 |
|
Вологодская, Новгородская, Псковская, Костромская, Калининская, Смоленская, Ярославская области, Коми АССР |
9,6 |
|
Брянская, Орловская, Рязанская, Тульская области, Марийская АССР |
10,9 |
|
Калужская, Владимирская, Ивановская области |
8,2 |
|
Горьковская, Свердловская, Кировская, Пермская области, Удмуртская АССР |
7,4 |
|
Калининская обл., Чувашская АССР, Мордовская АССР |
7,0 |
|
Московская, Ленинградская области |
13,5 |
Показатель р/ для случая строительства новой внутрихозяйственной автомобильной дороги рекомендуется определять по формуле
,
где
- протяженность существующих автомобильных дорог
соответственно общего пользования и внутрихозяйственных с твердым покрытием,
км;
- протяженность вновь построенных
внутрихозяйственных дорог, км;
- протяженность перспективной сети
внутрихозяйственных дорог с
твердым покрытием, км.
Показатель р/ для случая строительства новой автомобильной дороги общего пользования рекомендуется определять но формуле
![]()
где
- протяженность вновь
построенной дороги общего пользования, км.
Показатель р, учитывающий, какая часть перспективной сети имеется в хозяйстве, рекомендуется определять по формуле
.
Если площадь изъятых земель Sиз - при строительстве автомобильной дороги общей сети составляет более 1% площади сельскохозяйственных угодий Sсх предприятия, через земли которого проходит дорога, то Э рекомендуется определять по формуле
Э = А (1 - р) Sсх - (1 - p/)( Sсх - Sиз),
где Sиз - площадь полосы отвода автомобильной дороги, га.
* См.: Оценка проектных решений автомобильных дорог по скорости движения. Программы для решения задач дорожного строительства на ЭВМ. Союздорнии. М., 1985.
1. Оценку проектных решений но скорости движения следует производить при разработке проектно-сметной документации на строительство и реконструкцию автомобильных дорог I, II и III категории, в отдельных случаях - IV и V категории, особенно на сложных участках, при проектировании которых используются предельные значения норм по отдельным элементам или допускаются отступления от них.
2. Принимаемые в проектах решения но назначению различных элементов дорог и их совокупности следует оценивать как по максимальной скорости движения, устанавливаемой для автомобилей и автопоездов, наиболее характерных для движения по проектируемой дороге, так и по средней скорости движения транспортного потока, что позволяет более объективно судить о качественной стороне принимаемых проектных решений.
Оценка обеспеченности расчетной скорости движения
3. Для оценки проектных решений автомобильных дорог но степени обеспеченности расчетной скорости движения принимается метод определения максимальных скоростей движения автомобилей в зависимости от параметров основных элементов плана и продольного профиля дороги.
4. Оценивать проектные решения следует по максимальной скорости движения одиночных автомобилей, наиболее характерных для движения по проектируемой дороге. Для автомобильных дорог I - III категорий за расчетный автомобиль принимают, как правило, ГАЗ-24, для дорог IV -V категорий - грузовой автомобиль ЗИЛ-130 или КамАЗ-5320. Когда автопоезда составляют 15% и более общего транспортного потока, следует дополнительно проводить анализ максимальных скоростей движения автопоездов, принимая за расчетный автопоезд, состоящий из тягача ЗИЛ-130 или КамАЗ-5320 с прицепами соответствующей грузоподъемности.
5. Оценивать проектные решения по максимальной скорости движения необходимо с учетом основных расчетных скоростей, приведенных в табл. 3(3). Участки дорог, на которых максимальная скорость (среднее значение для двух направлений) составляет менее 0,9 основной расчетной скорости для соответствующей категории дороги, следует перепроектировать. Для трудных участков, где изменение проектных решений приведет к значительному увеличению строительных затрат, при соответствующем технико-экономическом обоснован ни основная расчетная скорость может быть снижена, но до значений не менее допускаемых для соответствующих типов местности (см.табл. 3(3)). При этом необходимо предусмотреть меры по обеспечению безопасности движения и устойчивого равномерного движения автомобилей на смежных участках.
Влияние элементов дорог на ограничение максимальном скорости движения автомобилей
6. При оценке проектных решении вначале выявляют участки, ограничивающие максимальную скорость движения.
Максимальная скорость движения автомобилей ограничивается по условиям безопасности в зависимости от параметров элементов дорог: радиусов кривых в плане в сочетании с поперечным уклоном проезжей части, радиусов выпуклых кривых в продольном профиле с учетом обеспечения видимости в вертикальной плоскости, радиусов вогнутых кривых в продольном профиле с учетом допускаемого центробежного ускорения, продольных уклонов, переломов проектной линии в продольном профиле, не сопряженных кривыми.
Максимальная но условию безопасности скорость движения на участках кривых в плане Vпл (км/ч) в зависимости от их радиусов и поперечных уклонов проезжей части определяется но формуле
, (1)
где iв - уклон виража, определяется по табл. 12(8); при расчете значения iв, указанные в табл. 12(8), переводятся в доли единицы;
γ2φ2 - используемая доля коэффициента сцепления в поперечном направлении; для одиночных автомобилей γ2φ2 = 0,19-0,00054 Vпл, для автопоездов γ2φ2 = 0,154-0,0007 Vпл.
Максимальная по условию безопасности скорость движения нa участках переходных кривых Vпер (км/ч) в зависимости от их длины и радиуса кривой в плане рассчитывается по формуле
, (2)
где J - скорость нарастания центробежного ускорения, принимаемая 0,8 м/с3
Максимальная безопасная скорость движения на выпуклых кривых в продольном профиле Vвып (км/ч) определяется в зависимости от ее радиуса Rвып по табл. 1 настоящего приложения.
|
Rвып, м |
Vвып, км/ч |
Rвып, м |
Vвып , км/ч |
|
600 |
30 |
12000 |
119 |
|
1000 |
40 |
13000 |
122 |
|
2000 |
55 |
14000 |
125 |
|
3000 |
68 |
15000 |
128 |
|
4000 |
78 |
16000 |
130 |
|
5000 |
85 |
17000 |
133 |
|
6000 |
90 |
18000 |
135 |
|
7000 |
95 |
19000 |
138 |
|
8000 |
100 |
20000 |
140 |
|
9000 |
105 |
23000 |
145 |
|
10000 |
110 |
25000 |
150 |
|
11000 |
115 |
|
|
Максимальная по условию безопасности скорость движения Vвогн на участке вогнутых кривых в продольном профиле определяется с учетом допускаемого центробежного ускорения по формуле
,
где a - центробежное ускорение, м/с2, принимаемое в зависимости от категории дороги 0,2-0,3 м/с2 в исключительных случаях - 0,5-0,7 м/с2;
Rвогн - радиус вогнутой кривой, м.
Максимальную скорость движения VΔi в зависимости от алгебраической разности уклонов Δi на переломах проектной линии, не сопрягаемых вертикальными кривыми, определяют по табл. 2 настоящего приложения.
|
Δi, %о |
2,2 |
3,4 |
4,9 |
7,6 |
13,5 |
19,5 |
30,5 |
54,2 |
|
VΔi , км/ч |
150 |
120 |
100 |
80 |
60 |
50 |
40 |
30 |
Максимальную по условию безопасности скорость в зависимости от продольного уклона Vi для основных расчетных автомобилей ГАЗ-24 и ЗИЛ-130Г следует определять по табл. 3, а для остальных автомобилей - по рисунку настоящего приложения.
|
Продольный уклон, %о |
Vi , км/ч |
Продольный уклон, %о |
Vi, км/ч |
||
|
ГАЗ-24 |
ЗИЛ-130Г |
ГАЗ-24 |
ЗИЛ-130Г |
||
|
-100 |
113 |
63 |
10 |
140 |
80 |
|
-90 |
118 |
70 |
20 |
134 |
69 |
|
-80 |
123 |
75 |
30 |
126 |
59 |
|
-70 |
128 |
80 |
40 |
119 |
51 |
|
-60 |
133 |
84 |
50 |
112 |
44 |
|
-50 |
137 |
88 |
60 |
106 |
38 |
|
-40 |
141 |
92 |
70 |
100 |
35 |
|
-30 |
144 |
95 |
80 |
94 |
30 |
|
-20 |
146 |
96 |
90 |
88 |
27 |
|
-10 |
146 |
96 |
100 |
82 |
25 |
|
0 |
145 |
90 |
|
|
|
7. При детальной оценке изменения максимальной по условию безопасности скорости движения одиночного автомобиля по участку дороги рекомендуется строить эпюру скорости движения. При этом следует устанавливать промежуточные значения максимальных скоростей между скоростями ограничений с учетом пп.8-10.
8. Изменение скорости движения на переходных участках разгона (Lp) и торможения (Lт) определяется по следующим формулам:
на участке разгона
(4)
где Lp - путь, необходимый для перехода от скорости ограничения в начале участка Vp1, к более высокой скорости в конце его Vp2 , м;
Д - средневзвешенный динамический фактор для интервала скоростей Vp1 - Vp2 (табл. 4 настоящего приложения);
fk - коэффициент сопротивления качению; fk = 0,02;
i - продольный уклон, доли единицы;

Зависимость максимальных скоростей Vi движения автомобилей от продольного уклона i :
1 - ВА3-2103; 2 - ГА3-24; 3 - ВА3-2101; 4 - ГАЗ-21; 5 - ЗИЛ-130Г; 6 - ГАЗ-53А; 7 - КамАЗ
|
Интервал скоростей, км/ч |
Средневзвешенный динамический фактор Д автомобилей |
|||
|
ГАЗ-24 |
ЗИЛ-130 |
КамАЗ-5320 |
ЗИЛ-130 с прицепом |
|
|
0-10 |
0,333 |
0,358 |
0,321 |
0,270 |
|
10-20 |
0,356 |
0,192 |
0,180 |
0,140 |
|
20-30 |
0,367 |
0,120 |
0,120 |
0,080 |
|
30-40 |
0,348 |
0,085 |
0,078 |
0,052 |
|
40-50 |
0,292 |
0,065 |
0,056 |
0,043 |
|
50-60 |
0,224 |
0,055 |
0,040 |
0,035 |
|
60-70 |
0,185 |
0,043 |
0,028 |
0,030 |
|
70-80 |
0,150 |
0,033 |
0,015 |
0,020 |
|
80-90 |
0,116 |
0,021 |
- |
0,010 |
|
90-100 |
0,100 |
- |
- |
- |
|
100-110 |
0,084 |
- |
- |
- |
|
110-120 |
0,066 |
- |
- |
- |
|
120-130 |
0,047 |
- |
- |
- |
|
130-140 |
0,040 |
- |
- |
- |
|
140-150 |
0,034 |
- |
- |
- |
на участке торможения
(5)
где КТ - коэффициент увеличения тормозного пути за счет неполного и несвоевременного торможения; в зависимости от типа автомобиля КТ = 2 - 2,5;
VТ1 - скорость ограничения, км/ч;
VТ2 - скорость на подходе к ограничению, км/ч;
γ1φ1, - коэффициент, учитывающий состояние покрытия и погодные условия; γ1φ1 = 0,2 - при полном сцеплении; γ1φ1 = 0,5 - при нормальном сцеплении;
wв - коэффициент сопротивления воздуха; wв = 0,015 - 0,030 - для легковых автомобилей, wв = 0,05 - 0,07 - для грузовых.
9. Изменение скорости движения автомобилей в местах переходов со спусков или подъемов с малыми уклонами, которым соответствует высокая скорость движения, к значительным подъемам с намного меньшей скоростью следует принимать постепенным, учитывая, что автомобили некоторую часть подъема проходят за счет кинетической энергии (инерционный путь).
Длину инерционного пути L (м) определяют по формуле
, (6)
где Vп1 - скорость в момент перехода автомобиля на подъем, км/ч;
Vп2 - максимальная скорость для конкретного автомобиля на данном подъеме, км/ч.
10. Для определения скорости движения в пределах кривой в продольном профиле ее заменяют ломаной, разделенной на ряд участков длиной 50, 100 или 200 м, и с учетом средней величины уклона отдельных участков вычисляют скорость:
(7)
где Vк - скорость в конце каждого участка кривой, км/ч;
Vн - скорость в начале участка, км/ч;
iср - средний уклон на участке, доли единицы.
Оценка средней скорости движения транспортных потоков
11. Оценку проектных решений автомобильных дорог по средней скорости движения транспортных потоков следует выполнять в целях установления технико-экономических показателей автомобильного транспорта, определения эффективности вложения средств в строительство дороги и сроков окупаемости.
12. Для определения средней скорости движения потока автомобилей принят метод коэффициентов, учитывающий снижение скорости движения потока в зависимости от элементов плана, продольного и поперечного профилей, интенсивности движения и состава потока.
13. Среднюю скорость движения Vп (км/ч) легковых или грузовых автомобилей в потоке при определенной совокупности элементов дороги рассчитывают по выражению
Vп = Vр kоб (8)
где Vр - основная расчетная скорость движения одиночного автомобиля для соответствующей категории дороги, км/ч;
kоб - обобщающий коэффициент снижения скорости движения, учитывающий совокупность всех элементов, влияющих на скорость движения автомобилей в потоке.
Обобщающий коэффициент снижения скорости kоб определяется по формуле
, (9)
где ηmin - наименьшее из значений коэффициентов ηi, учитывающих изменение, скорости движения в результате воздействия какого-либо одного из элементов дорожных условий (влияние других элементов учитывается коэффициентом ki);
ki - коэффициент, учитывающий изменение скорости движения в результате воздействия нескольких элементов дорожных условий, за исключением элемента, оказывающего на скорость наибольшее влияние;
kп - коэффициент, учитывающий влияние продольных уклонов на изменение скорости;
θ - коэффициент, учитывающий изменение скорости в зависимости от интенсивности движения и состава потока автомобилей;
п - количество элементов, влияющих на скорость.
Значения коэффициентов ηi и ki в зависимости от дорожных условий принимают для дорог I категории по табл. 5 настоящего приложения, для дорог II и III категорий - по табл. 6.
Значения коэффициента kп учитывающего снижение скорости движения на уклонах, приведены в табл. 7 настоящего приложения.
Значения коэффициента θ, учитывающего влияние интенсивности движения и состава потока автомобилей для дорог с многополосной проезжей частью, принимаются по табл. 8 настоящего приложения, для дорог с двухполосной проезжей частью - по табл. 9 настоящего приложения.
14. Среднюю скорость потока автомобилей Vп определяют по формуле
Vп = Vлmл + Vгрmгр, (10)
где Vл, Vгр - средние (для обоих направлений) скорости движения соответственно легковых и грузовых автомобилей в транспортном потоке, км/ч;
mл, mгр - удельный вес соответственно легковых и грузовых автомобилей в транспортном потоке, доли единицы.
15. Зона влияния участка дороги с элементами, обеспечивающими низкие скорости движения по сравнению со смежными участками, определяется длиной пути, проходимого автомобилями при торможении и разгоне, в зависимости от наибольшей скорости и разности скоростей (табл. 10). Для грузовых автомобилей длина пути торможения принимается так же, как и для легковых, а разгона - умножением длин разгона легковых автомобилей на коэффициент 1,3.
|
Параметры элементов дороги I категории |
Легковой расчетный автомобиль |
Грузовой расчетный автомобиль |
||
|
ηi |
ki |
ηi |
ki |
|
|
Ширина полосы движения, м: |
|
|
|
|
|
4,0 |
0,567 |
0,945 |
0,478 |
0,929 |
|
3,75 |
0,547 |
0,941 |
0,456 |
0,924 |
|
3,5 |
0,507 |
0,934 |
0,422 |
0,917 |
|
Ширина обочин, м: |
|
|
|
|
|
3,75 |
0,547 |
0,941 |
0,456 |
0,924 |
|
2,50 |
0,527 |
0,938 |
0,437 |
0,921 |
|
Ширина укрепленной полосы, м: |
|
|
|
|
|
0,5 |
0,507 |
0,934 |
0,422 |
0,917 |
|
1,0 |
0,527 |
0,938 |
0,437 |
0,921 |
|
2,0 и более |
0,547 |
0,941 |
0,456 |
0,924 |
|
Ширина разделительной полосы, м: |
|
|
|
|
|
5 и более |
0,547 |
0,941 |
0,456 |
0,924 |
|
2 |
0,533 |
0,939 |
0,447 |
0,923 |
|
0 |
0,507 |
0,934 |
0,422 |
0,917 |
|
Число полос движения: |
|
|
|
|
|
4 |
0,567 |
0,945 |
0,478 |
0,929 |
|
6 |
0,600 |
0,950 |
0,503 |
0,934 |
|
8 |
0,633 |
0,955 |
0,534 |
0,939 |
|
Радиус кривых в плане, м: |
|
|
|
|
|
3000 и более |
0,547 |
0,941 |
0,456 |
0,924 |
|
1000 |
0,533 |
0,939 |
0,447 |
0,923 |
|
600 |
0,527 |
0,938 |
0,437 |
0,921 |
|
Радиус вогнутых кривых в продольном профиле, м: |
|
|
|
|
|
5000 и более |
0,831 |
0,981 |
- |
- |
|
3000 |
0,692 |
0,960 |
- |
- |
|
Ширина полосы безопасности, м: |
|
|
|
|
|
2,0 |
0,547 |
0,941 |
0,456 |
0,924 |
|
1,5 |
0,527 |
0,938 |
0,437 |
0,921 |
|
1,0 |
0,507 |
0,934 |
0,422 |
0,917 |
|
Коэффициент сцепления: |
|
|
|
|
|
0,2 |
0,400 |
0,912 |
0,327 |
0,894 |
|
0,3 |
0,440 |
0,921 |
0,365 |
0,904 |
|
0,4 |
0,473 |
0,928 |
0,395 |
0,911 |
|
0,5 |
0,507 |
0,934 |
0,422 |
0,917 |
|
0,6 |
0,527 |
0,938 |
0,437 |
0,921 |
|
0,7 |
0,547 |
0,941 |
0,456 |
0,924 |
|
Ровность поверхности покрытия: |
|
|
|
|
|
хорошая |
0,547 |
0,941 |
0,456 |
0,924 |
|
удовлетворительная |
0,507 |
0,934 |
0,422 |
0,917 |
|
плохая |
0,460 |
0,925 |
0,384 |
0,909 |
|
Параметры элементов дорог II и III категорий |
Легковой расчетной автомобиль |
Грузовой расчетный автомобиль |
||
|
ηi |
ki |
ηi |
ki |
|
|
Ширина проезжей части, м: |
|
|
|
|
|
8,0 |
0,708 |
0,966 |
0,579 |
0,947 |
|
7,0-7,5 |
0,683 |
0,963 |
0,569 |
0,943 |
|
6,0 |
0,566 |
0,944 |
0,467 |
0,927 |
|
Ширина обочин, м: |
|
|
|
|
|
3,75 |
0,683 |
0,963 |
0,569 |
0,945 |
|
2,50 |
0,658 |
0,959 |
0,547 |
0,941 |
|
2,00 |
0,633 |
0,956 |
0,527 |
0,938 |
|
1,75 |
0,608 |
0,951 |
0,509 |
0,935 |
|
Ширина укрепленной полосы, м: |
|
|
|
|
|
0,5 |
0,633 |
0,955 |
0,527 |
0,938 |
|
1,0 |
0,658 |
0,959 |
0,547 |
0,941 |
|
2 и более |
0,683 |
0,963 |
0,569 |
0,945 |
|
Радиус кривых в плане, м: |
|
|
|
|
|
3000 и более |
0,683 |
0,963 |
0,569 |
0,945 |
|
1000 |
0,666 |
0,960 |
0,558 |
0,943 |
|
600 |
0,658 |
0,959 |
0,547 |
0,941 |
|
400 |
0,638 |
0,955 |
0,527 |
0,938 |
|
250 |
0,608 |
0,951 |
0,509 |
0,935 |
|
125 |
0,592 |
0,949 |
0,494 |
0,932 |
|
100 |
0,575 |
0,946 |
0,480 |
0,929 |
|
60 |
0,550 |
0,942 |
0,456 |
0,924 |
|
30 |
0,517 |
0,936 |
0,426 |
0,919 |
|
Радиус вогнутых кривых в продольном профиле, м: |
|
|
|
|
|
3000 и более |
0,866 |
0,982 |
0,725 |
0,968 |
|
2000 |
0,693 |
0,960 |
0,600 |
0,950 |
|
1500 |
0,521 |
0,933 |
0,451 |
0,923 |
|
1200 |
0,433 |
0,916 |
0,375 |
0,906 |
|
1000 |
0,346 |
0,896 |
0,300 |
0,886 |
|
600 |
0,260 |
0,870 |
0,231 |
0,863 |
|
Расстояние видимости встречного автомобиля, м: |
|
|
|
|
|
700 |
0,585 |
0,948 |
0,468 |
0,927 |
|
500 |
0,569 |
0,945 |
0,457 |
0,925 |
|
300 |
0,557 |
0,943 |
0,445 |
0,922 |
|
200 |
0,532 |
0,939 |
0,425 |
0,918 |
|
100 |
0,450 |
0,923 |
0,360 |
0,903 |
|
Ширина полосы безопасности, м: |
|
|
|
|
|
2,0 |
0,683 |
0,963 |
0,569 |
0,945 |
|
1,5 |
0,658 |
0,959 |
0,547 |
0,941 |
|
1,0 |
0,633 |
0,955 |
0,527 |
0,938 |
|
0,5 |
0,566 |
0,944 |
0,467 |
0,927 |
|
0 |
0,517 |
0,936 |
0,426 |
0,919 |
|
Расстояние от застройки, м: |
|
|
|
|
|
25 и более |
0,683 |
0,963 |
0,569 |
0,945 |
|
20 |
0,666 |
0,960 |
0,558 |
0,943 |
|
15 |
0,658 |
0,959 |
0,547 |
0,941 |
|
10 |
0,633 |
0,955 |
0,527 |
0,938 |
|
5 |
0,566 |
0,944 |
0,467 |
0,927 |
|
Коэффициент сцепления: |
|
|
|
|
|
0,2 |
0,500 |
0,933 |
0,409 |
0,914 |
|
0,3 |
0,550 |
0,942 |
0,456 |
0,924 |
|
0,4 |
0,592 |
0,949 |
0,494 |
0,932 |
|
0,5 |
0,633 |
0,955 |
0,527 |
0,938 |
|
0,6 |
0,658 |
0,959 |
0,547 |
0,941 |
|
0,7 |
0,683 |
0,963 |
0,569 |
0,945 |
|
Ровность поверхности покрытия: |
|
|
|
|
|
хорошая |
0,683 |
0,963 |
0,569 |
0,945 |
|
удовлетворительная |
0,633 |
0,955 |
0,527 |
0,938 |
|
плохая |
0,575 |
0,946 |
0,480 |
0,929 |
|
Уклон, %о |
Значение Кп для автомобиля |
|||
|
легкового |
грузового |
|||
|
Подъем |
Спуск |
Подъем |
Спуск |
|
|
0 |
1,000 |
1,000 |
1,000 |
1,000 |
|
10 |
0,965 |
1,010 |
0,973 |
1,010 |
|
20 |
0,906 |
1,010 |
0,908 |
1,010 |
|
30 |
0,835 |
1,010 |
0,776 |
0,986 |
|
40 |
0,765 |
1,000 |
0,690 |
0,934 |
|
50 |
0,729 |
0,976 |
0,618 |
0,908 |
|
60 |
0,694 |
0,941 |
0,566 |
0,855 |
|
70 |
0,670 |
0,906 |
0,526 |
0,803 |
|
80 |
0,647 |
0,870 |
0,513 |
0,737 |
|
90 |
0,635 |
0,823 |
0,500 |
0,684 |
|
100 |
0,624 |
0,765 |
0,473 |
0,592 |
|
Интенсивность движения (на одной полосе), тыс.авт/сут |
Значения θ для автомобилей при их количестве в потоке, % |
||||
|
100 |
80 |
60 |
40 |
20 |
|
|
2 |
1,00 1,00 |
1,00 1,00 |
1,00 1,00 |
1,00 1,00 |
1,00 1,00 |
|
4 |
1,00 0,90 |
0,98 0,92 |
0,95 0,95 |
0,92 1,00 |
0,90 1,00 |
|
6 |
0,95 0,75 |
0,92 0,83 |
0,90 0,87 |
0,87 0,90 |
0,82 0,96 |
|
8 |
0,88 0,65 |
0,85 0,75 |
0,80 0,80 |
0,75 0,85 |
0,70 0,90 |
|
10 |
0,80 0,50 |
0,75 0,65 |
0,70 0,73 |
0,65 0,78 |
0,60 0,83 |
|
12 |
0,75 - |
0,70 0,55 |
0,65 0,63 |
0,60 0,70 |
0,50 0,75 |
|
14 |
0,70 - |
0,65 - |
0,60 0,55 |
0,50 0,63 |
- 0,70 |
|
16 |
0,65 - |
0,60 - |
0,50 - |
- 0,55 |
- 0,63 |
|
18 |
0,60 - |
0,50 - |
- |
- |
- 0,55 |
|
20 |
0,50 - |
- |
- |
- |
- |
Примечание. Над чертой приведены данные для легковых автомобилей, под чертой - для грузовых.
|
Интенсивность движения, тыс. авт/сут |
Значения θ для автомобилей при их количестве в потоке, % |
||||
|
100 |
80 |
60 |
40 |
20 |
|
|
3 |
1,00 1,00 |
1,00 1,00 |
1,00 1,00 |
1,00 1,00 |
1,00 1,00 |
|
6 |
1,00 0,98 |
1,00 1,00 |
1,00 1,00 |
1,00 1,00 |
0,95 1,00 |
|
9 |
1,00 0,95 |
0,98 0,96 |
0,97 0,98 |
0,95 1,00 |
0,90 1,00 |
|
12 |
0,97 0,90 |
0,95 0,92 |
0,92 0,94 |
0,90 0,98 |
0,85 1,00 |
|
14 |
0,94 0,85 |
0,92 0,88 |
0,89 0,90 |
0,85 0,94 |
0,80 0,98 |
|
16 |
0,90 077 |
0,88 0,81 |
0,85 0,86 |
0,82 0,90 |
0,75 0,95 |
|
18 |
0,87 0,68 |
0,84 0,73 |
0,80 0,80 |
0,76 0,86 |
0,70 0,91 |
|
20 |
0,33 0,50 |
0,80 0,64 |
0,75 0,73 |
0,71 0,80 |
0,64 0,86 |
|
22 |
0,80 - |
0,75 0,50 |
0,70 0,63 |
0,65 0,72 |
0,57 0,80 |
|
24 |
0,75 - |
0,70 - |
0,63 0,50 |
0,58 0,63 |
0,50 0,72 |
|
28 |
0,68 - |
0,63 - |
0,57 - |
0,50 0,50 |
- 0,62 |
|
28 |
0,60 - |
0,55 - |
0,50 - |
- |
- 0,50 |
Примечание. Над чертой приведены данные для легковых автомобилей, под чертой - для грузовых.
Таблица 10
|
Разность между наибольшей и наименьшей скоростями, км/ч |
Длина пути, м, при наибольшей скорости, км/ч |
||||
|
50 |
60 |
70 |
80 |
90 |
|
|
10 |
43 100 |
78 115 |
135 150 |
235 165 |
395 185 |
|
20 |
- |
121 215 |
213 265 |
370 315 |
630 350 |
|
30 |
- |
- |
256 365 |
448 430 |
765 500 |
|
40 |
- |
- |
- |
491 530 |
843 615 |
|
50 |
- |
- |
- |
- |
886 715 |
Примечание. Над чертой приведена длина пути разгона, под чертой торможения.
* См.: Оценка проектных решении по безопасности движения на автомобильных дорогах в равнинной, пересеченной и горной местности. Программы для решения задач дорожного строительства на ЭВМ. Союздорнии. М ., 1986.
1. Оценку обеспеченности безопасности движения следует производить при разработке проектно-сметной документации на строительство и реконструкцию автомобильных дорог I - III категорий, а в отдельных случаях – IV - V категорий, особенно на сложных участках, при проектировании которых используются предельные значения норм по отдельным элементам или допускаются отступления от них, а также для существую тих автомобильных дорог в целях устранения опасных участков путем реконструкции или капитального ремонта.
2. Для оценки проектных решений по степени обеспеченности безопасности движения на новых и реконструируемых дорогах применяют основные частные коэффициенты относительной безопасности, учитывающие влияние отдельных элементов автомобильных дорог на безопасность движения транспортных средств.
Когда основные частные коэффициенты относительной безопасности не охватывают всех рассматриваемых в вариантах проектных решений показателей, следует принимать дополнительные частные коэффициенты, учитывающие влияние локальных элементов автомобильных дорог и качества покрытия на безопасность движения.
3. Для оценки существующих автомобильных дорог по степени обеспеченности безопасности движения применяют частные коэффициенты аварийности, учитывающие влияние отдельных элементов существующих дорог на безопасность движения транспортных средств.
Оценка обеспеченности безопасности движения
4. Для оценки проектных решений по степени обеспеченности безопасности движения транспортных средств по новым или реконструируемым дорогам принят метод коэффициентов относительной безопасности. При этом совокупность всех элементов дороги, влияющих на безопасность движения транспортных средств, оценивается обобщающим коэффициентом относительной безопасности движения Кбо, который представляет собой произведение частных коэффициентов относительной безопасности движения Кбi:
(1)
где i = 1, 2, ... , n.
Оценивать проектные решения следует с учетом минимальных допустимых значений обобщающих коэффициентов относительной безопасности движения Кбо для сочетания элементов на данном участке дороги: I категории - 0,5; II - 0,4; III - 0,3; IV, V - 0,2.
При значениях Кбо меньше указанных либо равных им участки дорог следует перепроектировать или при соответствующем технико-экономическом обосновании разработать специальные мероприятия, повышающие безопасность движения.
Для оценки и выбора оптимальных проектных решений на особо сложных участках дорог строят графики обобщающих коэффициентов относительной безопасности движения. При этом следует учитывать, что влияние каждого элемента дороги распространяется за пределы участков с этими элементами. При наложении зон влияния принимается наименьшее значение частного коэффициента относительной безопасности.
5. Для оценки существующих дорог по степени обеспеченности безопасности движения транспортных средств принят метод коэффициентов аварийности. При этом совокупность всех элементов дороги, влияющих на безопасность движения транспортных средств, оценивается итоговым коэффициентом аварийности Ка.ит, который представляет собой произведение частных коэффициентов аварийности Каi:
(2)
Безопасность движения по существующим автомобильным дорогам обеспечивается при Ка.ит < 10.
При Ка.ит = 10 - 20 необходимо разрабатывать мероприятия по организации движения: разметку проезжей части, запрещающую обгон с выездом на полосу встречного движения; установку знаков запрещения обгона и соответствующего ограничения скорости и т.д.
При Ка.ит > 20 следует предусматривать реконструкцию участков автомобильных дорог.
Оценка влияния дорожных условий на безопасность движения
6. При оценке обеспеченности безопасности движения новых автомобильных дорог следует применять основные частные коэффициенты относительной безопасности движения Кб1 - Кб11, учитывающие влияние интенсивности движения, основных параметров плана, продольного и поперечного профилей на безопасность.
7. Влияние интенсивности движения на автомобильной дороге на его безопасность учитывают частным коэффициентом Кб1 который принимают в зависимости от интенсивности движения в обоих направлениях, приведенной к интенсивности движения легковых автомобилей.
Для автомобильных дорог с двухполосной проезжей частью Кб1 принимают по табл. 1, четырехполосной - по табл. 2, шестиполосной - по табл. 3, восьмиполосной - по табл. 4.
|
Тип местности |
К б1 при интенсивности движения, тыс.авт/сут |
||||||
|
0,2 |
1,0 |
3,0 |
5,0 |
6,0 |
7,5 |
8,0 |
|
|
Равнинный |
0,85 |
0,90 |
0,95 |
1,0 |
0,95 |
0,85 |
0,80 |
|
Пересеченный |
0,83 |
0,87 |
0,93 |
1,0 |
0,95 |
0,88 |
0,85 |
|
Горный |
0,80 |
0,85 |
0,90 |
1,0 |
0,96 |
0,90 |
0,88 |
|
Тип местности |
К б1 при интенсивности движения, тыс.авт/сут |
|||||
|
4 |
8 |
16 |
21 |
25 |
30 |
|
|
Равнинный, пересеченный и горный |
0,9 |
1,0 |
0,9 |
0,8 |
0,7 |
0,6 |
|
Тип местности |
К б1 при интенсивности движения, тыс.авт/сут |
|||||
|
7,0 |
13,5 |
27,0 |
35,0 |
42,0 |
50,0 |
|
|
Равнинный, пересеченный и горный |
0,9 |
1,0 |
0,9 |
0,8 |
0,7 |
0,6 |
|
Тип местности |
К б1 при интенсивности движения, тыс.авт/сут |
|||||
|
10 |
20 |
40 |
52 |
62 |
75 |
|
|
Равнинный, пересеченный и горный |
0,9 |
1,0 |
0,9 |
0,8 |
0,7 |
0,6 |
8. Влияние числа полос проезжей части на безопасность движения учитывают частным коэффициентом относительной безопасности Кб2. Принимают следующие значения Кб2 :
Двухполосные дороги 1,0
Трехполосные дороги 0,7
Многополосные дороги (4 и более):
без разделительной полосы между проезжими частями с разным направлением движения 0,8
с разделительной полосой шириной:
2 м 0,9
5 м и более 1,0
9. Влияние ширины полос проезжей части автомобильных дорог учитывают частным коэффициентом относительной безопасности Кб3, значения которого принимают для одно- и двухполосной проезжей части по табл. 5, многополосной - по табл. 6.;
|
Тип местности |
Кб3, при ширине проезжей части, м |
|||
|
7,5 |
7,0 |
6,0 |
4,5 |
|
|
Равнинный |
1 |
0,95 |
0,80 |
0,6 |
|
Пересеченный |
1 |
0,95 |
0,75 |
0,5 |
|
Горный |
1 |
0,95 |
0,70 |
0,4 |
|
Ширина полосы, м |
3,75 |
3,50 |
3,0 |
|
Кб3 |
1,0 |
0,9 |
0,8 |
10. Влияние ширины обочин автомобильных дорог на безопасность движения учитывают частным коэффициентом относительной безопасности Кб4 (табл. 7).
|
Тип местности |
Кб4 при ширине обочин, м |
|||||
|
3,75 |
2,5 |
1,0 |
1,75 |
1,5 |
1,0 |
|
|
Равнинный |
1 |
0,90 |
0,85 |
0,8 |
0,75 |
0,70 |
|
Пересеченный |
1 |
0,93 |
0,88 |
0,8 |
0,73 |
0,65 |
|
Горный |
1 |
0,95 |
0,90 |
0,8 |
0,70 |
0,60 |
11. Влияние ширины укрепленной полосы обочин на безопасность движения учитывают частным коэффициентом относительной безопасности Кб5 (табл. 8).
|
Тип местности |
Кб5 при ширине укрепленной полосы обочины, м |
|||||
|
2 и более |
1,5 |
1,0 |
0,75 |
0,5 |
0 |
|
|
Равнинный |
1 |
0,95 |
0,90 |
0,85 |
0,75 |
0,40 |
|
Пересеченный |
1 |
0,98 |
0,95 |
0,92 |
0,85 |
0,45 |
|
Горный |
- |
- |
- |
1,00 |
0,95 |
0,50 |
12. Влияние продольных уклонов на безопасность движения учитывают частным коэффициентом относительной безопасности Кб6 (табл. 9).
Влияние продольных уклонов распространяется за пределы рассматриваемого участка на расстояние 150 м.
Таблица 9
|
Тип местности |
Кб6 при продольном уклоне, %о |
|||||||
|
30 и менее |
40 |
50 |
60 |
7.0 |
80 |
90 |
100 |
|
|
Равнинный |
1 |
0,90 |
0,75 |
0,65 |
0,60 |
0,58 |
0,57 |
- |
|
Пересеченный |
1 |
0,93 |
0,83 |
0,75 |
0,70 |
0,64 |
0,58 |
- |
|
Горным |
1 |
0,95 |
0,90 |
0,85 |
0,80 |
0,70 |
0,60 |
0,5 |
13. Влияние расстояния видимости встречного автомобиля на безопасность движения учитывают частным коэффициентом относительной безопасности Кб7, который принимают для дорог с двухполосной проезжей частью по табл. 10, с многополосной - по табл. 11.
Таблица 10
|
Тип местности |
Кб7 при расстоянии видимости встречного автомобиля, м |
|||||||
|
900 и более |
700 |
500 |
300 |
200 |
150 |
100 |
80 |
|
|
Равнинный |
1 |
0,95 |
0,90 |
0,80 |
0,68 |
0,60 |
0,50 |
0,45 |
|
Пересеченный |
- |
1,00 |
0,96 |
0,87 |
0,76 |
0,67 |
0,54 |
0,50 |
|
Горный |
- |
- |
1,00 |
0,94 |
0,83 |
0,74 |
0,62 |
0,55 |
|
Тип местности |
Кб7 при расстоянии видимости поверхности дороги, м |
|||
|
450 |
250 |
150 |
100 |
|
|
Равнинный |
1 |
0,85 |
0,75 |
0,60 |
|
Пересеченный |
1 |
0,90 |
0,80 |
0,65 |
|
Горный |
1 |
0,95 |
0,85 |
0,70 |
14. Влияние на безопасность движения радиуса кривых в плане Rпл учитывают частным коэффициентом относительной безопасности Кб8 (табл. 12).
|
Тип местности |
Кб8 при радиусе кривых в плане, м |
|||||||||
|
3000 и более |
1000 |
800 |
600 |
400 |
250 |
125 |
100 |
60 |
30 |
|
|
Равнинный |
1 |
0,8 |
0,75 |
0,7 |
0,60 |
0,50 |
0,30 |
0,25 |
0,2 |
0,15 |
|
Пересеченный |
- |
1,0 |
0,90 |
0,8 |
0,75 |
0,65 |
0,45 |
0,35 |
0,3 |
0,20 |
|
Горный |
- |
- |
1,00 |
0,9 |
0,85 |
0,75 |
0,55 |
0,45 |
0,4 |
0,30 |
Влияние кривых в плане распространяется на прямолинейные участки дорог на расстояние 50 м при Rпл < 400 м с обеспеченной видимостью и на расстояние 100 м для участка кривых в плане с ограниченной видимостью.
15. Влияние угла поворота трассы на безопасность движения в горной местности учитывают частным коэффициентом относительной безопасности Кб9 (табл. 13).
|
Угол поворота, град |
20 и менее |
40 |
60 |
70 |
90 |
|
Кб9 |
1,0 |
0,95 |
0,90 |
0,85 |
0,80 |
16. Влияние длины прямых участков автомобильных дорог на безопасность движения транспортных средств учитывают частным коэффициентом относительной безопасности движения Кб10 (табл. 14).
|
Длина прямого участка, км |
3 и менее |
5 |
10 |
15 |
20 |
25 |
|
Кб10 |
1,0 |
0,95 |
0,90 |
0,85 |
0,75 |
0,65 |
17. Влияние на безопасность Движения ширины полос безопасности на мостах и путепроводах учитывают частным коэффициентом относительной безопасности Кб11 (табл. 15).
|
Ширина полос безопасности на мостах и путепроводах, м |
2,0 |
1,5 |
1,0 |
0,5 |
0 |
|
Кб11 |
1,0 |
0,90 |
0,75 |
0,60 |
0,35 |
18. При промежуточных значениях оцениваемых параметров допускается интерполяция частных коэффициентов относительной безопасности движения Кб1, Кб3-Кб10.
19. При оценке существующих автомобильных дорог следует применять основные частные коэффициенты аварийности Ка1-Ка10 учитывающие влияние интенсивности движения, основных параметров плана, продольного и поперечного профилей и другие характеристики существующих дорог.
20. Влияние на безопасность движения интенсивности движения на существующих автомобильных дорогах учитывают частным коэффициентом аварийности Ка1, значения которого для двух- и трехполосных дорог принимают по табл. 16, для четырехполосных - по табл. 17.
|
Проезжая часть |
Ка1 при интенсивности движения, тыс.авт/сут |
|||||||||
|
20 |
15 |
13 |
11 |
9 |
7 |
5 |
3 |
1 |
0,5 |
|
|
Двухполосная |
0,60 |
1,00 |
1,50 |
1,80 |
1,70 |
1,30 |
1,00 |
0,75 |
1,1 |
1,4 |
|
Трехполосная с разметкой: |
|
|
|
|
|
|
|
|
|
|
|
на три полосы |
1,00 |
1,30 |
1,50 |
1,25 |
0,96 |
0,90 |
0,75 |
0,65 |
- |
- |
|
осевой линии |
1,25 |
1,45 |
1,63 |
1,51 |
1,37 |
1,28 |
1,18 |
0,94 |
- |
- |
|
Интенсивность движения, тыс.авт/сут |
11-14 |
14-17 |
17-20 |
20-23 |
23-26 |
26-29 |
29-32 |
|
Ка1 |
1,0 |
1,1 |
1,3 |
1,7 |
2,2 |
2,8 |
3,4 |
21. Влияние на безопасность движения ширины проезжей части существующих автомобильных дорог учитывают частным коэффициентом аварийности Ка2 (табл. 18).
|
Проезжая часть |
Ка2 при ширине проезжей части, м |
||||||
|
14* |
14-15** |
20,5 |
9 |
7,5 |
7 |
6 |
|
|
С укрепленными обочинами |
0,5 |
0,6 |
0,7 |
0,8 |
1,0 |
1,05 |
1,35 |
|
С неукрепленными обочинами |
0,7 |
0,8 |
0,9 |
1,0 |
1,5 |
1,75 |
2,50 |
* С разделительной полосой.
** Без разделительной полосы.
22. Влияние на безопасность движения ширины обочин учитывают частным коэффициентом аварийности Ка3 (табл. 19).
|
Число полос |
Ка3 при ширине обочин, м |
|
|||
|
4 |
3 |
2 |
1,5 |
0,5 |
|
|
Две |
0,80 |
1,0 |
1,20 |
1,40 |
2,20 |
|
Три, четыре |
0,35 |
0,4 |
0,65 |
0,73 |
1,37 |
23. Влияние на безопасность движения продольных уклонов учитывают частным коэффициентом аварийности Ка4 (табл. 20).
|
Продольный уклон, %о |
20 |
30 |
50 |
70 |
80 |
90 |
100 |
120 |
|
Ка4 |
1,0 |
1,25 |
2,5 |
2,8 |
3,0 |
3,1 |
2,9 |
2,5 |
24. Влияние на безопасность движения радиусов кривых в плане существующих дорог учитывают частным коэффициентом аварийности Ка5 (табл. 21).
|
Тип местности |
Ка5 при радиусе кривых в плане, м |
||||||||
|
2000 и более |
1000-2000 |
400-600 |
200-300 |
150 |
100 |
50 |
40 |
20 |
|
|
Равнинный и предгорный |
1 |
1,25 |
1,6 |
2,25 |
4 |
5,4 |
- |
- |
- |
|
Горно-долинный |
|
|
|
|
1 |
1,3 |
1,9 |
2,2 |
2,7 |
|
Перевальный |
- |
- |
- |
- |
1 |
1,6 |
2,1 |
2,5 |
3,0 |
25. Влияние на безопасность движения расстояния видимости проезжей части существующих дорог в плане и профиле учитывают частным коэффициентом аварийности Ка6 (табл. 22).
26. Влияние на безопасность движения ширины проезжей части мостов и путепроводов на существующих дорогах учитывают частным коэффициентом аварийности Ка7 (табл. 23).
27. Влияние на безопасность движения длины прямых участков на существующих автомобильных дорогах учитывают частным коэффициентом аварийности Ка8 (табл. 24).
|
Тип местности |
Ка6 при расстоянии видимости проезжей части в плане / продольном профиле, м |
||||||||
|
500 |
400 |
350 |
250 |
200 |
150 |
100 |
50 |
30 |
|
|
Равнинный и предгорный |
1,0 1,0 |
1,2 1,4 |
1,45 2,00 |
2,0 2,4 |
2,25 2,50 |
2,7 3,4 |
3,0 4,0 |
3,6 5,0 |
- |
|
Горно-долинный |
- |
- |
- |
- |
- 1,0 |
1,0 1,1 |
1,2 1,3 |
1,5 1,6 |
2 2 |
|
Перевальный |
2,5 2,2 |
2,0 1,8 |
1,5 1,5 |
1,0 1,3 |
- 1,0 |
- |
- |
- |
- |
|
Ширина проезжей части мостов, путепроводов |
Ка7 |
|
Равна ширине земляного полотна |
1,0 |
|
По отношению к ширине проезжей части дороги: |
|
|
больше на 2 м |
1,5 |
|
больше на 1 м |
2,0 |
|
равна ей |
3,0 |
|
меньше на 1 м |
6,0 |
|
Длина прямого участка, км |
3 и менее |
5 |
10 |
15 |
20 |
25 и более |
|
Ка8 |
1,0 |
1,1 |
1,4 |
1,6 |
1,9 |
2,0 |
28. Влияние на безопасность движения числа полос движения существующих дорог учитывают частным коэффициентом аварийности Ка9 (табл. 25).
|
Число полос |
Ка9 |
|
Четыре: |
|
|
с разделительной полосой |
0,65 |
|
без разделительной полосы |
0,80 |
|
Три: |
|
|
с разметкой |
0,90 |
|
без разметки |
1,50 |
|
Две |
1,00 |
29. Влияние на безопасность движения ширины разделительной полосы на существующих автомобильных дорогах учитывают частным коэффициентом аварийности Ка10 (табл. 26).
|
Ширина разделительной полосы, м |
15 |
10 |
5 |
3 |
2 |
1 |
|
Ка10 |
0,4 |
0,5 |
1,0 |
1,5 |
2,0 |
2,5 |
Оценка влияния локальных элементов автомобильных дорог на безопасность движения в равнинной и пересеченной местности
30. Для более детальных обоснований особо сложных участков дорог следует дополнительно применять частные коэффициенты относительной безопасности Кб12 - Кб16 учитывающие влияние на безопасность движения транспортных средств пересечений в одном уровне и их видимости с примыкающей дороги, расстояния до застройки или зеленых насаждений.
31. Влияние пересечений в одном уровне на безопасность движения учитывается коэффициентом относительной безопасности Кб12 в зависимости от интенсивности движения по основной дороге (табл. 27).
|
Интенсивность движения по пересекаемой дороге, % интенсивности движения по основной дороге |
Значения Кб12 в зависимости от интенсивности движения по основной дороге, тыс.авт/сут |
|||
|
1,5 и менее |
3 |
4 |
5 |
|
|
10-20 |
0,8 |
0,55 |
0,4 |
0,3 |
|
21-50 |
0,6 |
0,40 |
0,3 |
0,2 |
При устройстве пересечений в двух уровнях специального коэффициента относительной безопасности не вводится. Для оценки влияния на безопасность движения на путепроводах используют частный коэффициент относительной безопасности Кб11 (см. п. 17 настоящего приложения).
32. Влияние на безопасность движения видимости с примыкающей дороги пересечений в одном уровне учитывают коэффициентом относительной безопасности Кб13 (табл. 28).
|
Расстояние видимости пересечения, м |
60 и более |
50 |
35 |
25 |
20 и менее |
|
Кб13 |
1,0 |
0,95 |
0,80 |
0,55 |
0,15 |
33. Влияние на безопасность движения расстояния от кромки проезжей части дороги до застройки или зеленых насаждений, снижающих боковую видимость, учитывают коэффициентом относительной безопасности Кб14 (табл. 29).
|
Расстояние от кромки проезжей части до застройки или зеленых насаждений, м |
25 и более |
20 |
15 |
10 |
5 и менее |
|
Кб14 |
1,0 |
0,95 |
0,85 |
0,55 |
0,30 |
34. Для детальных обоснований особо сложных участков существующих автомобильных дорог следует дополнительно применять частные коэффициенты аварийности Ка11 - К а20.
35. Влияние на безопасность движения типов пересечений на существующих автомобильных дорогах учитывают частным коэффициентом аварийности Ка11 (табл. 30).
Таблица 30
|
Тип пересечения |
Ка11 |
|
В разных уровнях |
0,35 |
|
Кольцевой |
0,70 |
|
В одном уровне при интенсивности движения по пересекаемой дороге, % суммарной на двух дорогах: |
|
|
10 и менее |
1,50 |
|
10 - 20 |
3,00 |
|
20 и более |
4,00 |
36. Влияние на безопасность движения пересечений в одном уровне на существующих дорогах учитывают частным коэффициентом аварийности Ка12 в зависимости от интенсивности движения по основной дороге (табл. 31).
|
Интенсивность движения по основной дороге, тыс.авт/сут |
1,6-3,5 |
3,5-5,0 |
5-7 |
|
Ка12 |
2,0 |
3,0 |
4,0 |
37. Влияние на безопасность движения видимости с примыкающей автомобильной дороги пересечений в одном уровне на существующих дорогах учитывают частным коэффициентом аварийности Ка13 (табл. 32).
|
Видимость пересечения в одном уровне с примыкающей дорогой, м |
60 и более |
60-40 |
40-30 |
30-20 |
20 и менее |
|
Ка13 |
1,0 |
1,1 |
1,65 |
2,5 |
5,0 |
38. Влияние расстояния от кромки проезжей части до застройки или зеленых насаждений на безопасность движения на существующих дорогах учитывают частным коэффициентом аварийности Ка14 (табл. 33).
39. Влияние на безопасность движения протяженности населенного пункта, через который проходит автомобильная дорога, учитывают частным коэффициент ом аварийности Ка15, (табл. 34).
40. Влияние на безопасность движения длины участков дороги на подходах к населенным пунктам учитывают частным коэффициентом аварийности Ка16 (табл. 35).
41. Влияние на безопасность движения расстояния между кромкой проезжей части и боковым препятствием учитывают частным коэффициентом аварийности Ка17 (табл. 36).
|
Расположение застройки или зеленых насаждении |
Расстояние от кромки проезжей части до застройки или зеленых насаждений, м |
Ка14 |
|
С одной стороны дороги |
50 |
1,00 |
|
То же, имеются тротуары |
50-20 |
1,25 |
|
С обеих сторон дороги; |
50-20 |
2,50 |
|
имеются тротуары и полосы для местного движения |
20-10 |
5,00 |
|
Полосы для местного движения отсутствуют; имеются тротуары |
10 и менее |
7,50 |
|
То же, тротуары отсутствуют |
10 и менее |
10,00 |
|
Протяженность населенного пункта, км |
0,5 |
1 |
2 |
3 |
5 |
6 |
|
Ка15 |
1,0 |
1,2 |
1,7 |
2,2 |
2,7 |
3,0 |
|
Длина участков дороги на подходах к населенным пунктам, м |
600-1000 |
200-600 |
До 200 |
|
Ка16 |
1,2 |
1,5 |
2,0 |
|
Расстояние между кромкой проезжей части и боковым препятствием, м |
2,5-3 |
2,0 |
1,5 |
1,0 |
0,5 |
|
Ка17 |
1,0 |
1,2 |
1,4 |
1,75 |
2,0 |
42. Влияние на безопасность движения глубины обрыва на существующих дорогах в горной местности учитывают частным коэффициентом аварийности Ка18 (табл. 37).
|
Участок дороги |
Ка18 при расстоянии от кромки проезжей части до обрыва глубиной более 5 м, м |
|||||
|
5 |
3 |
2 |
1,5 |
1 |
0,5 |
|
|
Без ограждений |
1 |
2,0 |
2,75 |
3,20 |
3,7 |
4,3 |
|
С ограждениями |
1 |
1,4 |
1,75 |
1,85 |
2,0 |
2,2 |
43. Влияние на безопасность движения извилистости существующей дороги в плане учитывают частным коэффициентом аварийности Ка19 (табл. 38).
|
Количество кривых в плане на 1 км дороги |
1-2 |
3 |
4 |
5 |
6 |
7 |
8 |
9 |
10 |
|
Ка19 |
1,0 |
1,1 |
1,2 |
1,5 |
1,8 |
1,7 |
0,9 |
0,7 |
0,5 |
44. При построении графиков коэффициентов аварийности автомобильную дорогу анализируют по каждому показателю, выделяя однородные участки. При этом необходимо учитывать, что опасная зона, как правило, распространяется на прилегающие участки дороги (табл. 39). В случае наложения зон влияния разных показателей принимают большие значения коэффициентов.
|
Элемент дороги |
Зона влияния (в каждую сторону), м |
|
Подъем |
100* |
|
Спуск |
150** |
|
Пересечения в одном уровне |
50 |
|
Кривые в плане с обеспеченной видимостью при радиусах более 400 м |
50 |
|
Мосты и путепроводы |
75 |
|
Кривые в плане с необеспеченной видимостью при радиусах менее 400 м |
100 |
|
Участки в местах влияния боковых препятствий и с глубокими обрывами у дороги |
50 |
|
Участки подходов к тоннелям |
150 |
* От вершины подъема.
** От подошвы спуска.
Оценка влияния состояния покрытия на безопасность движения в равнинной, пересеченной и горной местности
45. Влияние на безопасность движения коэффициента сцепления колес автомобиля с поверхностью покрытия новых дорог учитывают частным коэффициентом относительной безопасности Кб15 (табл. 40).
46. Влияние ровности поверхности покрытия на безопасность движения учитывают частным коэффициентом относительной безопасности Кб16 в зависимости от величины и количества просветов при измерении их трехметровой рейкой с клином (табл. 41).
Таблица 40
|
Коэффициент сцепления |
0,7 и более |
0,6 |
0,5 |
0,4 |
0,3 |
0,2 |
|
Кб15 |
1 |
0,9 |
0,8 |
0,7 |
0,6 |
0,5 |
|
Максимальный единичный просвет, мм |
Количество просветов, % |
Кб16 |
|
|
менее 3 мм |
более 5 мм |
||
|
7 |
95 |
1 |
1,0 |
|
8 |
90 |
2 |
0,8 |
|
10 |
80 |
5 |
0,6 |
47. Влияние на безопасность движения коэффициента сцепления на существующих дорогах учитывают частным коэффициентом аварийности Ка20 (табл. 42).
|
Покрытие |
Коэффициент сцепления при 60 км/ч |
Ка20 |
|
Очень шероховатое |
0,75 |
0,75 |
|
Шероховатое |
0,70 |
1,00 |
|
Сухое чистое |
0,60 |
1,30 |
|
Скользкое |
0,40 |
2,00 |
|
Скользкое, покрытое грязью |
0,2-0,5 |
2,50 |
Оценка экономического эффекта от повышения безопасности движения на автомобильных дорогах
48. Определение экономического эффекта от повышения безопасности движения на вновь строящихся или реконструируемых автомобильных дорогах основывается на методе сопоставления потерь от возможных дорожно-транспортных происшествий (ДТП) с учетом и без учета намеченных мероприятий по повышению безопасности движения.
Потери от ДТП для проектируемых дорог рассчитываются с
использованием средневзвешенных значений обобщающего коэффициента относительной
безопасности
определяемых по
формуле
(3)
где Kбоi - обобщающий коэффициент относительной безопасности на i-м участке;
li - протяженность участка с однородными дорожными условиями, км;
Lуч - протяженность сравниваемых участков, км;
![]()
49. Количество возможных ДТП ZДТП в год на 1 км дороги определяют в зависимости от средневзвешенного значения обобщающего коэффициента относительной безопасности по табл. 43 или по формуле
(4)
где e - основание натурального логарифма; e = 2,718
|
|
1,0 |
0,9 |
0,8 |
0,7 |
0,6 |
0,5 |
0,4 |
0,3 |
0,2 |
0,1 |
|
ZДТП |
0,12 |
0,17 |
0,23 |
0,33 |
0,47 |
0,7 |
1,1 |
1,78 |
3,29 |
8,11 |
50. Возможные потери от ДТП ПДТП (руб.) определяют по формуле
, (5)
где Т - период суммирования затрат, годы;
Псрt - средние потери от одного ДТП в t -м году. руб. (табл. 44);
Zдтп t - возможное количество ДТП в t-м году;
E - нормативный коэффициент для приведения к одному моменту времени разновременных затрат; Е = 0,08.
|
Год |
Средние потери от одного ДТП*, руб., для местности |
|
|
равнинной |
горной |
|
|
1975 |
5130 |
10390 |
|
1980 |
5680 |
11560 |
|
1985 |
6230 |
12720 |
|
1990 |
6780 |
13880 |
|
1995 |
7320 |
15040 |
|
2000 |
7870 |
16200 |
|
2005 |
8420 |
17360 |
|
2010 |
8970 |
18520 |
* Средние потери от ДТП определены канд. техн. наук О. А. Дивочкиным.
51. Ежегодные потери от ДТП П (руб.) по каждому участку существующей дороги с однородными дорожными условиями рассчитывают по формуле
П= 3,65.104 Zдтп/ ПсptMТNtli (6)
где Zдтп/ - количество ДТП на 1 млн.авт-км, принимается по графику рисунка настоящего приложения;
МТ - итоговый коэффициент тяжести ДТП для участка дороги;
Nt - среднегодовая суточная интенсивность движения на участке дороги в t-м году, авт/сут.

Зависимость итогового коэффициента аварийности от относительного количества ДТП на автомобильных дорогах
Общие потери Побщ (руб.) от ДТП при расчетах суммарных приведенных затрат для каждого участка определяют по формуле
. (7)
Средние значения коэффициентов тяжести ДТП приведены в табл. 45.
|
Учитываемый фактор |
Среднее значение коэффициента тяжести ДТП |
|
Ширина проезжей части, м: |
|
|
4,5 |
0,7 |
|
6,0 |
1,2 |
|
7,0 |
1,1 |
|
7,5 |
1,0 |
|
9,0 |
1,4 |
|
10,5 |
1,2 |
|
Ширина обочин, м: |
|
|
менее 2,5 |
0,85 |
|
более 2,5 |
1,0 |
|
Продольный уклон, %o: |
|
|
менее 30 |
1,0 |
|
более 30 |
1,4 |
|
Радиус кривых в плане, м: |
|
|
менее 350 |
0,8 |
|
более 350 |
1,05 |
|
Видимость в плане и профиле, м: |
|
|
менее 250 |
0,7 |
|
более 250 |
1,0 |
|
Сочетание кривых в плане и профиле |
1,05 |
|
Мосты и путепроводы |
1,3 |
|
Пересечение в одном уровне |
0,6 |
|
Населенный пункт |
1,05 |
|
Наличие деревьев, опор, путепроводов и т.п. на обочинах |
0,9 |
|
Отсутствие предусмотренных нормами ограждений |
1,8 |
1. Проект дороги должен содержать весь комплекс конструктивных решений, технологических и организационных мероприятий (включая расчет средств, ресурсов и оснащенности дорожно-эксплуатационной службы), обеспечивающих круглогодичное удобное, непрерывное и безопасное движение автомобилей со скоростями и нагрузками, предусмотренными СНиП 2.05.02-85, в том числе и в неблагоприятные периоды года. В зимний период проект дороги должен обеспечивать требования, указанные в табл. 1 настоящего приложения.
2. В состав проектных решений и мероприятий, направленных на достижение принятого уровня обеспеченности расчетной скорости в неблагоприятных метеорологических условиях, входят:
проектирование дороги на каждом участке местности с учетам возможного неблагоприятного воздействия метеорологических факторов;
выбор и назначение параметров продольного и поперечного профилей, укрепленных полос и обочин, размеров и форм разделительной полосы;
выбор руководящих рабочих отметок и очертаний земляного полотна;
выбор конструкции дорожной одежды и назначение параметров шероховатости и сцепных качеств покрытия проезжей части, укрепленных полос и обочин;
проектирование снего- и ветрозащитных насаждений и сооружении; назначение мест размещения баз для хранения противогололедных материалов;
расчет и обоснование структуры и мощности службы содержания дороги и оснащения ее дорожной техникой, исходя из годовых и сезонных объемов работ по содержанию дороги в данных климатических условиях;
выбор и обоснование схем организации и режимов движения в различные периоды года, схемы разметки дороги и расстановки знаков по сезонам года, в том числе знаков со сменной информацией.
3. Степень соответствия запроектированной дороги требованиям движения автомобилей оценивается коэффициентом обеспеченности расчетной скорости Крс, за который принимают отношение максимальной скорости одиночного легкового автомобиля Vф max на каждом участке дороги при характерных для данного периода года метеорологических условиях и состоянии дороги к расчетной скорости в эталонных условиях Vр:
(1)
Для упрощения оценки элементов дорог всех категорий за основное базовое значение расчетной скорости при вычислении коэффициентов ее обеспеченности принимается скорость 120 км/ч. В связи с этим значения Крс можно вычислить по формуле
(2)
4. Значения максимально возможных или допустимых скоростей движения на каждом участке дороги для каждого периода года вычисляют по формулам обеспечения устойчивости и безопасности движения и реализации тяговых характеристик автомобилей. В расчет принимают значения скоростей, обусловленные параметрами и состоянием дороги и метеорологическими условиями без учета общих и местных ограничении, вводимых правилами дорожного движения.
Таблица 1
|
Народнохозяйственное и административное значение дороги |
Интенсивность движения, авт/сут |
Минимальная ширина полностью очищенной поверхности проезжей части, м |
Допустимая толщина, мм, слоя снега |
Максимальный срок снегоочистки и ликвидации гололеда и зимней скользкости, ч |
||
|
рыхлого на покрытии |
уплотненного |
|||||
|
на покрытии |
на обочинах |
|||||
|
Дороги общегосударственного и республиканского значения |
Более 7000 |
На всю ширину |
10 |
- |
- |
3 |
|
3000-7000 |
7,5 |
20 |
- |
50 |
4 |
|
|
1000-3000 |
7,0 |
25 |
- |
60 |
5 |
|
|
500-1000 |
6,0 |
30 |
- |
70 |
6 |
|
|
200-500 |
6,0 |
35 |
- |
80 |
8 |
|
|
Дороги областного или краевого значения и дороги местного значения с регулярным автобусным движением в зимний период |
Более 7000 |
7,5 |
20 |
- |
- |
3 |
|
3000-7000 |
7,0 |
30 |
- |
60 |
4 |
|
|
1000-3000 |
6,0 |
40 |
- |
70 |
5 |
|
|
500-1000 |
5,0 |
60 |
- |
80 |
6 |
|
|
До 500 |
3,0 |
70 |
50 |
100 |
10 |
|
|
Дороги местного значения непрерывного действия без автобусного движения |
200-500 |
- |
70 |
70 |
120 |
12 |
|
До 200 |
- |
80 |
100 |
150 |
16 |
|
|
Дороги местного значения с допускаемым кратковременным перерывом |
Движение нерегулярное |
- |
- |
100-150 |
180-200 |
48 |
5. Все параметры элементов и эксплуатационные характеристики дороги при проектировании следует выбирать исходя из условия, что на любом участке дороги в эталонных метеорологических условиях должна быть обеспечена скорость движения не ниже расчетной. В неблагоприятных природно-климатических условиях допускается снижение максимальной обеспеченной скорости по сравнению со скоростью, принятой при проектировании элементов плана и продольного профиля, но не более чем на 25% в расчетные по условиям движения осенне-весенний и зимний периоды года и, как исключение, не более чем на 50% во время сильных дождей, туманов, снегопадов, метелей и гололеда.
6. При проектировании дорог за расчетный принимают период с наиболее сложными климатическими условиями.
Критерием определения расчетного периода является показатель влияния климата на условия движения Псез который для каждого периода года вычисляется по формуле
(3)
где
- среднесезонный коэффициент обеспеченности расчетной
скорости для эталонного участка дороги; определяют на основании данных,
полученных от ближайшей к проектируемой дороге метеостанции, но специальной
методике и программе для ЭВМ* или вручную с использованием формул определения
коэффициента обеспеченности расчетной скорости;
Кв - коэффициент влияния высоты дороги над уровнем моря на условия движения;
Тсез - длительность сезона года, дни;
Кн - коэффициент неравномерности интенсивности движения по периодам года.
* Здесь и далее см.: Методические рекомендации по проектированию и оборудованию автомагистралей для обеспечения безопасности движения (М.: Транспорт, 1983); Васильев А.П. Проектирование дорог с учетом влияния климата на условия движения (М Транспорт. 1986).
За расчетный принимают период, для которого Псез имеет наибольшее значение.
Длительность каждого сезона года определяют по климатическим справочникам как среднюю по многолетним наблюдениям. При этом к зимнему относят период с устойчивой среднесуточной температурой воздуха ниже 0°С. Допускается также определять длительность зимнего периода по числу дней с устойчивым снежным покровом. Весенне-осенним (переходным) периодом считается период со среднесуточной температурой воздуха от 0 до 15°С. Летний период ограничивается датами перехода среднесуточной температуры воздуха через 15°С в период ее повышения весной и понижения осенью.
Коэффициент неравномерности интенсивности движения но периодам года может быть получен на основании обработки многолетних наблюдений за интенсивностью движения на близлежащих дорогах. При отсутствии таких наблюдений значения этого коэффициента могут быть приняты согласно рекомендуемому приложению 5 "Инструкции по проведению экономических изысканий для проектирования автомобильных дорог" ВСН 42-87 (Союздорнии. М., 1988).
Расчетный период для дорог в горной местности определяют с учетом изменения климатических характеристик по высоте. Поэтому вычисление Псез необходимо производить по данным ближайшей метеостанции, расположенной на одной высоте с проектируемой дорогой. Коэффициент Кв принимают при высоте над уровнем моря 0 м - 1,0, 1000 м - 0,9, 2000 м - 0,8, 3000 м - 0,7, 4000 м - 0,6.
Допускается назначать расчетные периоды года для района проложения дороги, руководствуясь картой районирования территории СССР по условиям движения на дорогах. При этом, учитывая наличие корреляции между районированием по условиям движения на дорогах и дорожно-климатическим районированием, рекомендуют следующие расчетные периоды года (табл. 2).
7. Каждому периоду года соответствует характерное состояние покрытия дороги, на которое влияют метеорологические условия, уровень содержания дороги и транспортный поток.
|
Зона по условиям движения |
Дорожно-климатическая зона |
Расчетный период года по условиям движения |
|
I |
I - III |
Зимний, переходные |
|
II |
IV |
То же |
|
III |
V |
Летний, зимний с переходными |
8. Каждому расчетному состоянию покрытия соответствуют определенные значения коэффициентов сопротивления качению (fк) и сцепления (φv) (табл. 3 и 4 настоящего приложения):
fк = f20 +Kf (V-20); (4)
φv = φ20 - βφ(V-20), (5)
где Кf - коэффициент изменения сопротивления качению в зависимости от скорости; при 60 км/ч Kf = 0; при больших скоростях Кf = 0,00025 - для легкового автомобиля, К f = 0,0002 - для грузового;
βφ - коэффициент изменения сцепных качеств в зависимости от скорости (см. табл. 4).
9. При определении расчетных состояний покрытия и поверхности дороги и в других расчетах необходимо учитывать оснащенность М (%) дорожной службы машинами для содержания и текущего ремонта дорог:
, (6)
где Nм.ф. - фактическое количество машин, необходимое для содержания и текущего ремонта, имеющееся в дорожной организации, которой будет передана дорога для эксплуатации, в расчете на 100 км дороги проектируемой категории;
Nм.н.- нормативное или расчетное количество машин, необходимое для содержания и текущего ремонта, на 100 км дороги проектируемой категории.
|
Состояние покрытия |
Значение f20 для покрытия |
||||
|
цементо-, асфальтобетонного |
из холодного асфальтобетона; щебня и гравия, обработанных вяжущим |
гравийного, щебеночного |
грунтового улучшенного |
||
|
без обработки |
с поверхностной обработкой |
||||
|
Эталонное (сухое) |
0,015 |
0,020 |
0,022 |
0,035 |
0,030 |
|
Мокрое чистое |
0,025 |
0,025 |
0,030 |
0,040 |
0,045 |
|
Мокрое загрязненное |
0,030 |
0,030 |
0,040 |
0,050 |
0,100 |
|
Ровный слой плотного снега |
0,070 |
0,070 |
0,070 |
0,070 |
0,080 |
|
Гололед |
0,020 |
0,030 |
0,030 |
0,035 |
0,040 |
|
Слой рыхлого снега толщиной, мм: |
|
|
|
|
|
|
до 10 |
0,035 |
0,035 |
0,040 |
0,050 |
0,070 |
|
10-20 |
0,070 |
0,070 |
0,070 |
0,070 |
0,080 |
|
20-40 |
0,100 |
0,100 |
0,100 |
0,100 |
0,100 |
|
40-60 |
0,120 |
0,120 |
0,120 |
0,120 |
0,120 |
Примечания: 1. Мокрое чистое состояние покрытия принимается при переходных периодах для дорог с укрепленными краевыми полосами или обочинами, укрепленными щебнем и гравием, не обработанными вяжущим.
2. Мокрое загрязненное состояние покрытия принимается при переходных периодах для дорог без укрепленных краевых полос и обочин.
|
Состояние покрытия |
Показатель |
Значение показателя для покрытия |
|||||
|
цементобетонного |
асфальтобетонного |
из холодного асфальтобетона |
из щебня и гравия, обработанных вяжущим |
щебеночного, гравийного |
грунтового улучшенного |
||
|
Эталонное (сухое) |
φ20 |
0,850 |
0,85* 0,80 |
0,70 |
0,70* 0,60 |
0,60 |
0,40 |
|
βφ |
0,002 |
0,0035 0,0020 |
0,005 |
0,004 0,004 |
0,0040 |
0,0050 |
|
|
Мокрое чистое |
φ20 |
0,650 |
0,65 0,60 |
0,50 |
0,50 0,40 |
0,50 |
0,30 |
|
βφ |
0,0035 |
0,0035 0,0035 |
0,004 |
0,004 0,005 |
0,0045 |
0,0050 |
|
|
Мокрое загрязненное |
φ20 |
0,450 |
0,55 0,40 |
0,35 |
0,35 0,30 |
0,30 |
0,20 |
|
βφ |
0,0025 |
0,0035 0,0025 |
0,0025 |
0,0025 0,0030 |
0,0030 |
0,0030 |
|
|
Слой рыхлого снега |
φ20 |
0,200 |
0,20 0,20 |
0,15 |
0,20 0,20 |
0,20 |
0,20 |
|
βφ |
0,0025 |
0,0025 0,0025 |
0,0025 |
0,0025 0,0025 |
0,0025 |
0,0025 |
|
|
Слой уплотненного снега |
φ20 |
0,350 |
0,35 0,35 |
0,35 |
0,35 0,35 |
0,35 |
0,35 |
|
βφ |
0,0025 |
0,0025 0,0025 |
0,0025 |
0,0095 0,0025 |
0,0025 |
0,0025 |
|
|
Гололед |
φ20 |
0,120 |
0,15 0,12 |
0,12 |
0,12 0,12 |
0,12 |
0,10 |
|
βφ |
0,002 |
0,002 0,002 |
0,002 |
0,002 0,002 |
0,002 |
0,002 |
|
* Над чертой приведены данные для покрытий с шероховатой обработкой, под чертой - без нее.
Примечание. Значения коэффициента сцепления φ20 приведены для шин с протектором.
Фактическое количество машин назначают по данным областного управления дорог как среднее по области (для дорог соответствующих категории) или по данным управления дороги как среднее для дороги.
Нормативное количество машин принимают в соответствии с "Техническими правилами ремонта и содержания автомобильных дорог" ВСН 24-75 Минавтодора РСФСР (М.: Транспорт, 1976) или по специальному расчету, согласованному с дорожной организацией, которая будет эксплуатировать дорогу.
10. Проектировать дорогу с учетом влияния климата на условия движения рекомендуется в такой последовательности:
определить климатические характеристики района проложения дороги, расчетные периоды года и расчетные состояния покрытия;
назначить все параметры и характеристики дороги, обеспечивающие расчетную скорость в эталонных условиях в соответствии с действующими нормами и правилами;
вычислить коэффициенты обеспеченности расчетной скорости на всех характерных участках дороги (на прямых, горизонтальных участках, подъемах и спусках, кривых в плане и профиле, а также на насыпях, в выемках и местах сужений) для расчетных периодов года и состояния покрытия дороги;
построить эпюру коэффициентов обеспеченности расчетной скорости для каждого направления движения и выявить участки, где значения коэффициентов ниже допустимых;
проверить обеспеченность расчетной скорости на участках дорог, где возможна повышенная опасность воздействия отдельных метеорологических явлений - тумана, ветра, метелей, песчаных заносов, пыльных бурь и т.д.;
выявить причины снижения обеспеченной скорости и назначить другие геометрические параметры, эксплуатационные характеристики и инженерные решения, гарантирующие требуемый уровень обеспеченности расчетной скорости в неблагоприятные периоды года;
повторно проверить обеспеченность расчетной скорости в неблагоприятные периоды года;
исходя из максимальных обеспеченных скоростей на запроектированных участках дороги, прогнозируемых интенсивности и состава движения, вычислить среднюю скорость транспортного потока;
оценить обеспеченность безопасности движения в различные периоды года по графикам коэффициентов безопасности и коэффициентов аварийности по каждому варианту;
определить технико-экономические показателя вариантов с учетом их фактической эффективности по периодам года и принять окончательное решение.
Назначение параметров дорог и оценка их влияния на обеспеченность расчетной скорости в неблагоприятные периоды года
11. Ширину проезжей части и краевых укрепленных полос В1 (м) на различных участках дорог назначают в зависимости от расчетной скорости и интенсивности движения, ширины полос загрязнения укрепленной поверхности, типа укрепления, климатических факторов и проектируемого уровня содержания дороги в различные периоды года:
(7)
В1= 3 + 2bу , (8)
где A/ и z/ - параметры, зависящие от расчетной схемы и интенсивности движения (табл. 5 настоящего приложения);
bз - ширина полосы загрязнения, м; для летнего периода bз = 0, а для зимнего и переходных периодов принимают по табл. 6 настоящего приложения;
bу - ширина краевой укрепленной полосы, м.
12. Минимальный радиус кривых в плане определяют в зависимости от состояния покрытия в различные периоды года.
В зонах с летним расчетным периодом минимальный радиус кривой в плане Rпл min (м) определяют в зависимости от значения φ2:
(9)
Значение φ2 принимают равным от 0,05 при расчетных скоростях 120 - 150 км/ч до 0,20 - при 30 - 50 км/ч.
В зонах с расчетным зимним или переходным периодом минимальный радиус кривой в плане проверяют по условию обеспечения устойчивости автомобиля против заноса:
(10)
Для расчетного состояния покрытия используемую долю сцепления в поперечном направлении определяют по формуле
γ2 φ2 = 0,60 [φ20 - βφ(Vp-20)] (11)
|
Расчетная схема |
Интенсивность движения, авт/сут |
А/ |
Z/ |
||
|
летом |
в переходные периоды |
зимой |
|||
|
Свободное движение одиночного автомобиля |
Менее 700 |
Менее 600 |
Менее 600 |
50,0 |
3,1 |
|
Движение о частично связанном потоке |
700-1500 |
600-1200 |
500-1000 |
40,0 |
4,0 |
|
1500-4200 |
1200-3600 |
1000-3000 |
33,3 |
4,0 |
|
|
Движение при интенсивном встречном потоке |
Более 4200 |
Более 3600 |
Более 3000 |
26,4 |
4,0 |
|
Движение на трехполосной проезжей части: |
|
|
|
|
|
|
при наличии полной разметки (краевых и осевых линии) |
Более 6000 |
Более 6000 |
Более 5000 |
23,3 |
8,5 |
|
при отсутствии разметки |
Более 7000 |
Более 6000 |
Более 6000 |
23,3 |
8,5 |
|
Движение на проезжей части одного направления четырехполосной автомагистрали: |
|
|
|
|
|
|
с разделительной полосой шириной более 5 м |
Менее 15000 |
Менее 12000 |
Менее 12000 |
29,4 |
4,1 |
|
то же, до 5 м |
Менее 12000 |
Менее 10000 |
Менее 10000 |
24,4 |
4,1 |
|
Участок дороги |
Уменьшение ширины укрепленной поверхности, м, для обочин |
|||
|
укрепленных |
неукрепленных |
с бордюром высотой hб |
||
|
слоем щебня или гравия |
засевом трав |
|||
|
Зимний период |
||||
|
Прямолинейные и кривые в плане Rпл > 600 м при Нн > Нс * |
0,2-0,4 0,4-0,6 |
0,2-0,75 0,4-1,0 |
0,2-0,75 0,4-1,0 |
3hб - 8hб 6hб -12hб |
|
Кривые в плане Rпл = 200 – 600 м при Нн > Нс |
0,3-0,5 0,5-1,0 |
0,3-0,5 0,6-1,2 |
0,4-0,6 1,2-1,8 |
3hб - 8hб 6hб -12hб |
|
Снегозаносимые**; с ограждениями, направляющими столбиками, тумбами, парапетами |
0,3-0,5 0,6-1,2 |
0,3-0,5 1,2-1,8 |
0,4-0,6 1,2-2,0 |
3hб - 8hб 6hб -12hб |
|
Переходные периоды |
||||
|
Прямолинейные и кривые в плане Rпл > 200 м |
0,1-0,3 0,2-0,4 |
0,1-0,3 0,4-0,6 |
0,1-0,5 0,6-0,8 |
3hб 6 hб |
|
Кривые в плане Rпл < 200 м; с ограждениями, направляющими столбиками, тумбами, парапетами |
0,1-0,3 0,3-0,8 |
0,1-0,3 0,5-1,0 |
0,1-0,5 1,0-1,5 |
3hб 6 hб |
* Нн - высота насыпи, Нс - толщина снежного покрова.
** К снегозаносимым участкам на открытой местности относят все выемки, полувыемки-полунасыпи; нулевые места и насыпи, высота которых меньше толщины снежного покрова; все насыпи на кривых радиусом менее 200 м, пересечения в разных уровнях.
Примечания: 1. Над чертой приведены данные для дорог I - II категорий, под чертой – III - IV категорий.
2. В зависимости от оснащенности дорожных организаций машинами для содержания дорог значения уменьшения ширины полосы загрязнения принимают: минимальные - при 100% оснащенности, средние – 60 - 70%, максимальные - 50%.
3. На всех участках дорог, проложенных через сплошные лесные массивы, огражденных лесонасаждениями или другими постоянным и средствами защиты от снежных заносов, величину уменьшения ширины укрепленной поверхности принимают такой же, как и на прямолинейных участках.
На открытых, ветроопасных участках дорог величину минимальных радиусов кривых в плане назначают из условия устойчивости автомобиля против заноса при движении по покрытию, находящемуся в состоянии, характерном для расчетного периода года, с учетом бокового воздействия ветра при расчетной скорости ветра 20 м/с и более:
(12)
где qв - коэффициент, учитывающий боковое воздействие ветра.
Коэффициент учета бокового воздействия ветра можно принимать по табл. 7 или вычислять по формуле
(13)
где ρ - аэродинамический коэффициент; ρ = 1,1-1,2;
F - площадь боковой проекции автомобиля, м2;
Vв - скорость ветра на уровне центра боковой поверхности автомобиля, м/с;
ma - масса незагруженного автомобиля с водителем, кг;
g - ускорение свободного падения, м/с2.
|
Марка автомобиля |
qв при скорости ветра на уровне центра боковой поверхности автомобиля, м/с |
|||
|
20 |
30 |
40 |
50 |
|
|
ГАЗ-24, ВАЗ-2103, Москвич-412 |
0,010 |
0,022 |
0,040 |
0,063 |
|
ЗАЗ-966, РАФ-977Д |
0,013 |
0,029 |
0,053 |
0,081 |
|
КамАЗ-53212 |
0,011 |
0,024 |
0,042 |
0,066 |
Если расчетная скорость ветра менее 20 м/с, то боковое воздействие ветра не учитывают.
13. Максимальный продольный уклон imax (%o) в районах с летним расчетным периодом определяют по динамическим характеристикам автомобиля с учетом изменения коэффициента сопротивления движению при изменении скорости по формуле
imax = Дv - f20 - Kf (Vp -20), (14)
где Дv - динамический фактор при расчетной скорости для данной категории дороги.
Значения коэффициента сопротивления качению f20 принимают в зависимости от типа покрытия по табл. 3 настоящего приложения.
В районах с переходными и зимним расчетными периодами величину максимального продольного уклона необходимо проверять по возможности его преодоления автомобилями при наличии на покрытии рыхлого или уплотненного слоя снега и гололеда. При этом должна быть принята максимально допустимая толщина слоя снега на покрытии, на которую будут рассчитывать снегозащиту дороги и оснащенность порожной службы машинами и оборудованием для содержания дороги в зимний период.
Максимальный продольный уклон, преодолеваемый на заданной скорости V/ при мокром, грязном или заснеженном покрытии либо при наличии гололеда, определяют по формуле
imax = mφ20 - f20 - (mβφ + Kf )(V/ -20), (15)
где m - коэффициент сцепного веса; для легкового автомобиля принимают 0,5-0,55, для грузового - 0,6-0,65.
Кроме того, в этих районах величину максимального продольного уклона необходимо проверять по возможности трогания с места остановившегося на подъеме автомобиля при наличии на покрытии снега или при гололеде. Максимальный продольный уклон, преодолеваемый автомобилем на заснеженном покрытии и при гололеде, может быть определен по формуле
(16)
14. Возможную среднюю скорость Vср.max (км/ч) автомобиля на горизонтальном участке и при движении на подъемах по условиям взаимодействия колес с покрытием при его различных состояниях определяют по формуле
+20. (17)
Оценка проектных решений автомобильных дорог по обеспеченности удобства и безопасности движения в неблагоприятных климатических условиях
15. Влияние основных параметров и характеристик дорог на скорость движения оценивается частными коэффициентами обеспеченности расчетной скорости, которые учитывают:
ширину основной укрепленной поверхности - Кр.с1;
ширину обочин с учетом их укрепления - К р.с2
интенсивность и состав движения - Kр.с3;
продольные уклоны - К р.с4,
радиусы кривых в плане и уклон виража - Кр.с5;
расстояние видимости поверхности дороги - Кр.с6,
коэффициент сцепления колеса с покрытием - Кр.с7.
16. Влияние всей совокупности параметров и характеристик дороги на скорость движения оценивается итоговым коэффициентом обеспеченности расчетной скорости Кр.сит на каждом характерном участке дороги.
17. Для вычисления значений коэффициентов обеспеченности расчетной скорости дорогу разбивают на однородные по элементам плана, продольного и поперечного профилей участки с выделением участков кривых и прямых, продольных уклонов различной величины, насыпей и выемок, участков с ограждениями, сигнальными столбиками и надолбами, участков с различной шириной проезжей части, краевых укрепительных полос и т.д. При выделении характерных участков учитывают зоны влияния отдельных элементов (табл. 8).
18. Итоговый коэффициент обеспеченности расчетной скорости на каждом характерном участке для расчетных (по условиям движения) периодов года принимают равным наименьшему из всех значений частных коэффициентов на этом участке. Для этого строят линейный график, на который наносят сокращенный продольный профиль и план дороги, ее основные параметры и характеристики, частные значения коэффициента обеспеченности расчетной скорости движения в прямом и обратном направлениях для каждого периода года.
19. В местах пересечений и примыканий автомобильных дорог, пересечений с железными дорогами, около автобусных остановок в пределах населенных пунктов и на других участках, где нельзя определить максимальную скорость расчетом, значения Кр.с определяют исходя из скорости, допускаемой на таких участках правилами дорожного движения. На остальных участках ограничения скорости правилами движения условно не учитывают.
|
Элементы дороги |
Зона влияния, м |
||
|
зимой |
осенью и весной |
летом |
|
|
Подъем и спуск |
100 - за вершиной, 150 - у подошвы |
||
|
Пересечения в одном уровне: |
|
|
|
|
при наличии твердого покрытия на пересекаемой дороге |
100 - в каждую сторону |
50 - в каждую сторону |
50 - в каждую сторону |
|
при его отсутствии |
100 - в каждую сторону |
100-500 - в каждую сторону в зависимости от типа грунта |
100-500 - в каждую сторону в зависимости от типа грунта |
|
Пересечения в разных уровнях |
В пределах между примыканиями переходно-скоростных полос или правоповоротных съездов |
||
|
Кривые в плане: |
|
|
|
|
с обеспеченной видимостью при радиусах менее 400 м |
По 100 - от начала и конца кривой |
||
|
с необеспеченной видимостью при любом радиусе |
По 100 - от начала и конца кривой |
||
|
Мосты, трубы и другие сужения |
По 100 - от начала и конца сужения |
По 75 - от начала и конца сужения |
|
|
Автобусные остановки |
100 - в каждую сторону |
||
|
Населенные пункты |
По 100 - от границ застройки |
||
20. Частный коэффициент Кр.с1 определяют в зависимости от ожидаемой "чистой", т.е. фактически используемой для движения, ширины укрепленной поверхности (ширины психологического коридора), в который входит ширина проезжей части и краевых укрепленных полос за исключением ширины полос загрязнения:
В1ф = В + 2ау - 2bз, (18)
при отсутствии краевых укрепленных полос
В1ф = В - 2bз, (19)
Ожидаемое уменьшение ширины полос загрязнения принимают в зависимости от типа укрепления обочин в соответствии с табл. 5 настоящего приложения.
Значения Кр.с1 в зависимости от ширины "чистой" (фактически используемой для движения) укрепленной поверхности и интенсивности движения приведены в табл. 9, 10.
21. Частный коэффициент Кр.с2 определяют в зависимости от ширины обочин по табл. 11.
22. Частный коэффициент Кр.с3 определяют в зависимости от интенсивности и состава движения по формуле
Кр.с3 = Кр.с1 - ΔКр.с (20)
где ΔКр.с - снижение коэффициента обеспеченности расчетной скорости под влиянием интенсивности движения, значения которого приведены в табл. 12.
23. Частный коэффициент Кр.с4 определяют в зависимости от продольного уклона для расчетного состояния поверхности дороги в каждый период года. Различают следующие расчетные схемы при оценке влияния продольного уклона на скорость движения:
|
Ширина "чистой" укрепленной поверхности, м |
Кр.с1 для двухполосных дорог при интенсивности движения, авт/сут |
|||
|
600 |
600-1200 |
1200-3600 |
3600 |
|
|
3,5 |
0,17 |
- |
- |
- |
|
4,0 |
0,37 |
0,00 |
0,00 |
0,00 |
|
4,5 |
0,58 |
0,17 |
0,14 |
0,11 |
|
5,0 |
0,79 |
0,33 |
0,28 |
0,22 |
|
5,5 |
1,00 |
0,50 |
0,42 |
0,33 |
|
6,0 |
1,21 |
0,67 |
0,56 |
0,44 |
|
6,5 |
- |
0,83 |
0,70 |
0,55 |
|
7,0 |
- |
1,00 |
0,83 |
0,66 |
|
7,5 |
- |
1,17 |
0,97 |
0,77 |
|
8,0 |
- |
- |
1,11 |
0,88 |
|
8,5 |
- |
- |
- |
0,99 |
|
9,0 |
- |
- |
- |
1,10 |
|
Ширина "чистой" укрепленной поверхности двухполосной проезжей части одного направления четырехполосных дорог, м |
Кр.с1 при ширине разделительной полосы, м |
|
|
более 5 |
до 5 |
|
|
4,5 |
0,10 |
0,08 |
|
5,0 |
0,22 |
0,18 |
|
5,5 |
0,34 |
0,28 |
|
6,0 |
0,47 |
0,39 |
|
6,5 |
0,59 |
0,49 |
|
7,0 |
0,71 |
0,59 |
|
7,5 |
0,83 |
0,69 |
|
8,0 |
0,96 |
0,79 |
|
8,5 |
1,08 |
0,89 |
|
9,0 |
1,20 |
0,99 |
|
10,0 |
1,45 |
1,20 |
|
Ширина обочины, м |
Значения Кр.с2 для дорог с обочиной |
|
|
укрепленной |
неукрепленной |
|
|
0,4 |
0,40 |
0,20 |
|
0,5 |
0,70 |
0,40 |
|
1,0 |
0,85 |
0,71 |
|
1,5 |
0,91 |
0,78 |
|
2,0 |
0,94 |
0,85 |
|
2,5 |
1,01 |
0,90 |
|
3,0 |
1,08 |
0,99 |
|
3,5 |
1,20 |
1,10 |
|
4,0 |
- |
1,20 |
|
Интенсивность движения, тыс.авт/ в сутки |
Значения ΔКр.с для дорог |
||||||||||
|
двухполосных при β |
четырехполосных с разделительной полосой при β |
||||||||||
|
0,85 |
0,7 |
0,6 |
0,5 |
0,45 |
0,85 |
0,7 |
0,6 |
0,5 |
0,4 |
0,3 |
|
|
1 |
0,07 |
0,06 |
0,04 |
0,03 |
0,02 |
0,07 |
0,04 |
0,03 |
0,03 |
0,02 |
0,02 |
|
2 |
0,13 |
0,11 |
0,08 |
0,06 |
0,05 |
0,12 |
0,08 |
0,06 |
0,05 |
0,04 |
0,03 |
|
3 |
0,19 |
0,15 |
0,12 |
0,09 |
0,07 |
0,16 |
0,12 |
0,09 |
0,06 |
0,05 |
0,04 |
|
4 |
0,25 |
0,19 |
0,14 |
0,11 |
0,09 |
0,20 |
0,15 |
0,11 |
0,09 |
0,07 |
0,05 |
|
5. |
0,30 |
0,23 |
0,17 |
0,13 |
0,10 |
0,24 |
0,18 |
0,14 |
0,11 |
0,08 |
0,06 |
|
6 |
0,35 |
0,27 |
0,20 |
0,15 |
0,12 |
0,27 |
0,21 |
0,16 |
0,13 |
0,10 |
0,07 |
|
7 |
0,39 |
0,30 |
0,22 |
0,17 |
0,13 |
0,31 |
0,23 |
0,18 |
0,14 |
0,11 |
0,07 |
|
8 |
0,43 |
0,32 |
0,24 |
0,18 |
0,15 |
0,33 |
0,25 |
0.20 |
0,16 |
0,12 |
0,08 |
|
9 |
- |
- |
- |
- |
- |
0,36 |
0,27 |
0,22 |
0,18 |
0,13 |
0,09 |
|
10 |
- |
- |
- |
- |
- |
0,39 |
0,29 |
0,23 |
0,19 |
0,14 |
0,10 |
|
11 |
- |
- |
- |
- |
- |
0,41 |
0,31 |
0,25 |
0,20 |
0,14 |
0,11 |
|
12 |
- |
- |
- |
- |
- |
0,43 |
0,32 |
0,26 |
0,21 |
0,15 |
0,12 |
|
13 |
- |
- |
- |
- |
- |
0,44 |
0,33 |
0,26 |
0,21 |
0,15 |
0,12 |
|
14 |
- |
- |
- |
- |
- |
0,45 |
0,34 |
0,27 |
0,21 |
0,15 |
0,12 |
а) возможная скорость движения на подъем по динамическим характеристикам автомобиля;
б) скорость, допустимая при движении на спуск по условиям безопасности в зависимости от видимости поверхности дороги и коэффициента сцепления.
Значения Кр.с4 для движения на подъем приведены в табл. 13, на спуск - в табл. 14. Из двух значений Кр.с4 выбирают наименьшее для каждого периода года и наносят на линейный график.
|
Продольный уклон, %о |
Кр.с4 в зависимости от состояния дорожного покрытия |
||||||||
|
1 |
2 |
3 |
4 |
5 |
6 |
7 |
8 |
9 |
|
|
0 |
1,11 |
1,06 |
1,03 |
0,80 |
0,69 |
0,61 |
0,39 |
0,27 |
0,50 |
|
10 |
1,06 |
1,02 |
0,98 |
0,74 |
0,64 |
0,55 |
0,33 |
0,21 |
0,42 |
|
20 |
1,02 |
0,97 |
0,93 |
0,69 |
0,59 |
0,49 |
0,27 |
0,15 |
0,35 |
|
30 |
0,97 |
0,93 |
0,90 |
0,64 |
0,54 |
0,42 |
0,21 |
0,09 |
0,27 |
|
40 |
0,93 |
0,89 |
0,86 |
0,59 |
0,49 |
0,36 |
0,15 |
0,03 |
0,20 |
|
50 |
0,89 |
0,85 |
0,82 |
0,54 |
0,44 |
0,30 |
0,09 |
0,02 |
0,12 |
|
60 |
0,85 |
0,81 |
0,78 |
0,49 |
0,39 |
0,24 |
0,03 |
0,02 |
0,05 |
|
70 |
0,81 |
0,77 |
0,75 |
0,44 |
0,33 |
0,18 |
0,02 |
0,01 |
0,01 |
|
80 |
0,77 |
0,74 |
0,71 |
0,39 |
0,28 |
0,13 |
0,01 |
0,01 |
- |
Примечания: 1. Значения Кр.с4 даны для покрытия из асфальтобетона без шероховатой обработки Для покрытии с шероховатой поверхностной обработкой значения Кр.с4 следует увеличивать на 10-15%.
2. Состояния покрытия: 1 - сухое чистое; 2 - мокрое чистое; 3 - мокрое загрязненное; 4 - уплотненный снег; 5 - слои рыхлого снега толщиной до 10 мм; 6 - то же, от 10 до 20 мм; 7 - то же, от 20 до 40 мм; 8 - то же, от 40 до 60 мм; 9 - гололед
|
Расстояние видимости поверхности дороги, м |
Продольный уклон, %о |
Кр.с4 в зависимости от состояния* дорожного покрытия |
||||||||
|
1 |
2 |
3 |
4 |
5 |
6 |
7 |
8 |
9 |
||
|
55 |
20 |
0,54 |
0,44 |
0,39 |
0,40 |
0,33 |
0,35 |
0,36 |
0,37 |
0,24 |
|
40 |
0,54 |
0,44 |
0,38 |
0,39 |
0,32 |
0,34 |
0,36 |
0,36 |
0,22 |
|
|
60 |
0,53 |
0,43 |
0,38 |
0,38 |
0,31 |
0,33 |
0,34 |
0,35 |
0,20 |
|
|
80 |
0,53 |
0,42 |
0.37 |
0,37 |
0,30 |
0,31 |
0,33 |
0,34 |
0,18 |
|
|
100 |
20 |
0,80 |
0,62 |
0,55 |
0,56 |
0,45 |
0,48 |
0,51 |
0,52 |
0,32 |
|
40 |
0,80 |
0,61 |
0,54 |
0,54 |
0,44 |
0,46 |
0,49 |
0,51 |
0,30 |
|
|
60 |
0,79 |
0,60 |
0,52 |
0,53 |
0,42 |
0,45 |
0,48 |
0,49 |
0,27 |
|
|
80 |
0,78 |
0,59 |
0,51 |
0,51 |
0,40 |
0,43 |
0,46 |
0,47 |
0,24 |
|
|
200 |
20 |
1,17 |
0,80 |
0,70 |
0,76 |
0,60 |
0,64 |
0,68 |
0,71 |
0,42 |
|
40 |
1,00 |
0,80 |
0,65 |
0,74 |
0,58 |
0,62 |
0,66 |
0,68 |
0,38 |
|
|
60 |
0,95 |
0,75 |
0,60 |
0,72 |
0,55 |
0,59 |
0,64 |
0,65 |
0,34 |
|
|
80 |
0,90 |
0,70 |
0,58 |
0,70 |
0,52 |
0,57 |
0,61 |
0,64 |
0,30 |
|
|
300 |
20 |
1,25 |
0,80 |
0,75 |
0,89 |
0,70 |
0,74 |
0,79 |
0,82 |
0,48 |
|
40 |
1,00 |
0,80 |
0,70 |
0,86 |
0,66 |
0,71 |
0,76 |
0,79 |
0,43 |
|
|
60 |
0,95 |
0,76 |
0,65 |
0,83 |
0,63 |
0,68 |
0,73 |
0,76 |
0,39 |
|
|
80 |
0,90 |
0,75 |
0,60 |
0,80 |
0,60 |
0,65 |
0,70 |
0,73 |
0,33 |
|
|
500 |
20 |
1,25 |
0,80 |
0,80 |
1,00 |
0,80 |
0,86 |
0,92 |
0,96 |
0,55 |
|
40 |
1,00 |
0,80 |
0,77 |
0,90 |
0,76 |
0,82 |
0,89 |
0,92 |
0,49 |
|
|
60 |
0,95 |
0,80 |
0,75 |
-0,84 |
0,72 |
0,78 |
0,85 |
0,89 |
0,43 |
|
|
80 |
0,90 |
0,80 |
0,70 |
0,82 |
0,68 |
0,74 |
0,81 |
0,85 |
0,37 |
|
* См. примечание 2 к табл. 13 настоящего приложения.
24. Частный коэффициент Кр.с5 определяют в зависимости от радиуса кривой в плане и уклона виража для расчетного состояния поверхности дороги в каждый период года (табл. 15).
|
Радиус кривой в плане, м |
Уклон виража, %о |
Кр.с5 при состоянии* покрытия |
|||||
|
1 |
2 |
3 |
4 |
5-8 |
9 |
||
|
30 |
60 |
0,37 |
0,31 |
0,28 |
0,24 |
0,23 |
0,18 |
|
60 |
60 |
0,52 |
0,42 |
0,38 |
0,33 |
0,31 |
0,25 |
|
100 |
60 |
0,65 |
0,52 |
0,48 |
0,42 |
0,39 |
0,31 |
|
150 |
60 |
0,78 |
0,61 |
0,57 |
0,49 |
0,46 |
0,37 |
|
200 |
60 |
0,89 |
0,68 |
0,64 |
0,55 |
0,51 |
0,41 |
|
300 |
60 |
1,06 |
0,79 |
0,75 |
0,64 |
0,59 |
0,48 |
|
400 |
60 |
1,20 |
0,80 |
0,80 |
0,71 |
0,66 |
0,53 |
|
600 |
60 |
1,25 |
0,80 |
0,80 |
0,81 |
0,75 |
0,60 |
|
800 |
60 |
1,25 |
0,80 |
0,80 |
0,92 |
0,78 |
0,61 |
|
1000 |
30 |
1,25 |
0,80 |
0,80 |
0,94 |
0,78 |
0,60 |
|
1200 |
30 |
1,25 |
0,80 |
0,80 |
0,98 |
0,82 |
0,62 |
* См. примечание 2 к табл. 13 настоящего приложения.
25. Частный коэффициент Кр.с6 определяют в зависимости от расстояния видимости поверхности дорог и для ее расчетного состояния (табл. 16).
26. Частный коэффициент Кр.с7, учитывающий величину коэффициента сцепления, принимают для каждого расчетного периода в зависимости от типа покрытия и ожидаемого уровня содержания дороги (табл. 17).
27. Автоматизированное вычисление значений Кр.с выполняют с помощью комплекса программ серии ВАЕМ-С, модифицированных для двух- и многополосных дорог. В результате расчета ЭВМ выдает готовый линейный график значений Кр.с через каждые 20 м по длине дороги для летнего, переходных и зимнего периодов года.
|
Расстояние видимости поверхности дороги, м |
Кр.с.6 при состоянии* покрытия |
||||||||
|
1 |
2 |
3 |
4 |
5 |
6 |
7 |
8 |
9 |
|
|
55 |
0,55 |
0,45 |
0,40 |
0,41 |
0,34 |
0,36 |
0,37 |
0,38 |
0,26 |
|
100 |
0,81 |
0,63 |
0,56 |
0,57 |
0,47 |
0,49 |
0,52 |
0,54 |
0,35 |
|
200 |
1,18 |
0,80 |
0,77 |
0,78 |
0,63 |
0,67 |
0,71 |
0,73 |
0,46 |
|
300 |
1,25 |
0,80 |
0,80 |
0,91 |
0,72 |
0,77 |
0,82 |
0,85 |
0,52 |
|
500 |
1,25 |
0,80 |
0,80 |
1,08 |
0,84 |
0,89 |
0,96 |
0,99 |
0,60 |
|
750 |
1,25 |
0,80 |
0,80 |
1,20 |
0,92 |
0,98 |
1,06 |
1,10 |
0,65 |
* См. примечание 2 к табл. 13 настоящего приложения.
|
Расстояние видимости поверхности дороги, м |
Кр.с.7 при коэффициенте сцепления дорожного покрытия φ20 |
|||||||||
|
0,1 |
0,15 |
0,20 |
0,25 |
0,3 |
0,35 |
0,4 |
0,5 |
0,6 |
0,8 |
|
|
750 |
0,42 |
0,52 |
0,62 |
0,72 |
0,81 |
0,90 |
0,99 |
1,16 |
1,25 |
1,25 |
|
500 |
0,40 |
0,50 |
0,58 |
0,68 |
0,75 |
0,83 |
0,91 |
1,05 |
1,19 |
1,25 |
|
300 |
0,37 |
0,46 |
0,53 |
0,61 |
0,68 |
0,74 |
0,80 |
0,92 |
1,03 |
1,22 |
|
225 |
0,35 |
0,43 |
0,50 |
0,56 |
0,62 |
0,68 |
0,74 |
0,84 |
0,93 |
1,09 |
|
200 |
0,34 |
0,42 |
0,48 |
0,54 |
0,60 |
0,66 |
0,71 |
0,80 |
0,89 |
1,04 |
|
175 |
0,33 |
0,40 |
0,46 |
0,52 |
0,58 |
0,63 |
0,67 |
0,76 |
0,84 |
0,98 |
|
125 |
0,31 |
0,36 |
0,42 |
0,47 |
0,51 |
0,55 |
0,59 |
0,66 |
0,73 |
0,84 |
|
100 |
0,23 |
0,34 |
0,38 |
0,43 |
0,47 |
0,50 |
0,54 |
0,60 |
0,65 |
0,75 |
|
85 |
0,27 |
0,32 |
0,36 |
0,40 |
0,43 |
0,47 |
0,50 |
0,55 |
0,60 |
0,69 |
|
65 |
0,24 |
0,28 |
0,32 |
0,35 |
0,38 |
0,41 |
0,43 |
0,48 |
0,52 |
0,58 |
|
55 |
0,22 |
0,26 |
0,29 |
0,32 |
0,35 |
0,37 |
0,39 |
0,43 |
0,47 |
0,52 |
|
45 |
0,20 |
0,24 |
0,26 |
0,29 |
0,31 |
0,33 |
0,35 |
0,38 |
0,42 |
0,45 |
Анализ линейного графика заключается в выявлении участков дороги, на которых в расчетный период года значения Кр.с меньше допустимых, и причин этого снижения.
По величине обеспеченности расчетной скорости оценивается качество основных проектных решений (план, поперечный и продольный профили, снегозащитные мероприятия и обустройство дорог).
Шкала оценки проектных решении приведена в табл. 18. Требования к проектированию соблюдены на тех участках, где значения коэффициента обеспеченности расчетной скорости соответствуют уровню А. Проектные решения, при которых коэффициент обеспеченности расчетной скорости соответствуют уровню Б, могут быть приняты в порядке исключения, только при технико-экономическом обоснований.
Участки дороги, для которых значения Кр.с ниже уровня Б, необходимо перепроектировать.
28. На основании анализа причин, обусловливающих снижение скорости движения, намечают мероприятия по обеспечению ее расчетного значения в неблагоприятные периоды года.
29. Удобство и безопасность движения на каждом участке запроектированной дороги в различные периоды года и при разных погодных условиях оценивают по величине коэффициента безопасности и сезонного значения коэффициента аварийности.
Коэффициент безопасности определяют по формуле
(21)
где
- коэффициент
обеспеченности расчетной скорости соответственно на входе на участок и на самом
участке дороги.
|
Категория дороги |
Значения |
Уровень оценки проектных решений |
||
|
основные |
допустимые на трудных участках местности |
|||
|
пересеченной |
горной |
|||
|
1-а |
1,25-0,92 |
1,00-0,75 |
0,67-0,50 |
А |
|
0,92-0,62 |
0,75-0,50 |
0,50-0,33 |
Б |
|
|
1-б |
1,00-0,75 |
1,00-0,75 |
0,67-0,50 |
А |
|
0,75-0,50 |
0,75-0,50 |
0,50-0,33 |
Б |
|
|
II |
1,00-0,75 |
0,83-0,62 |
0,50-0,33 |
А |
|
0,75-0,50 |
0,62-0,42 |
0,38-0,25 |
Б |
|
|
III |
0,83-0,62 |
0,67-0,50 |
0,42-0,32 |
А |
|
0,62-0,42 |
0,50-0,33 |
0,32-0,21 |
Б |
|
|
IV |
0,67-0,50 |
0,50-0,38 |
0,33-0,25 |
А |
|
0,50-0,33 |
0,38-0,25 |
0,25-0,17 |
Б |
|
За участок входа принимают участок дороги в пределах расстояния видимости до точки, для которой определяется значение коэффициента безопасности.
Значения Кбо вычисляют по программам ВАЕМ-С-1 и ВАЕМ-С-2.
При Кбо > 0,8 участок считается неопасным, Кбо = 0,6-0,8 - малоопасным, Кбо = 0,4-0,6 - опасным и Кбо < 0,4 - очень опасным. В проектах новых дорог недопустимы участки с Кбо < 0,8; при разработке проектов реконструкции и капитального ремонта следует перепроектировать участки с Кбо < 0,6.
30. График сезонных коэффициентов аварийности является основным рабочим документом для оценки условий безопасности движения по дороге в различные периоды года, на основании которого разрабатывают конкретные мероприятия по повышению безопасности движения на каждом опасном участке. Порядок его Построения изложен в "Указаниях по организации и обеспечению безопасности движения на автомобильных дорогах" ВСН 25-76 Минавтодора РСФСР (М.: Транспорт, 1977).
Степень опасности участка определяют в зависимости от итогового коэффициента аварийности (в равнинной и холмистой местности): неопасный – 0 - 10, малоопасный – 10 - 20, опасный - 20-40, очень опасный - более 40.
В проектах строительства новых и реконструкции существующих дорог рекомендуется перепроектировать участки, для которых итоговый коэффициент аварийности превышает 15 - 20.
В горной местности, где на большом протяжении имеются продольные уклоны более 50%о и кривые в плане радиусом менее 300 м степень опасности определяют по соотношению значений сезонного итогового коэффициента аварийности на смежных участках: неопасный - до 20, малоопасный – 20 - 40, опасный – 40 - 100, очень опасный - более 100.
Участки, на которых сезонный итоговый коэффициент аварийности превышает на 40% и более значения этого коэффициента на одном из смежных участков, относятся к опасным и должны быть перепроектированы или исправлены при капитальном ремонте или реконструкции дороги.
1. В соответствии с топографическими условия м и местности на плане в горизонталях намечается положение центра С серпантины и откладывается внутренний угол поворота α0 = 26° (рис. 1 настоящего приложения).
2. Согласно проектируемой категории дороги (расчетной скорости движения автомобиля) назначают элементы основной серпантины - радиус R0 и минимальную длину переходной кривой L0;
R0 = 20 м;
L0 = 25 м (в соответствии со СНиП 2.05.02-85).
3. Рассчитывают угол β0 (рад):
4. По таблицам для разбивки клотоид по значениям β0 и R0 определяют величину сдвижки круговой кривой Р0 (м) после введения переходной кривой и расстояние от начала круговой кривой до переходной кривой t0 (м):
, (3)
где Ртаб и tтаб - табличные значения показателей*
* Ксенодохов В.И. Таблицы для клотоидного проектирования и разбивки плана и профиля автомобильных дорог. М.: Транспорт, 1981.

Рис. 1 Расчетные схемы серпантин симметричных (а) и несимметричных (б) I рода и II рода (в).
5. Задаются
величиной тангенса Т1 вспомогательного угла α1.
Рекомендуется принимать
, что обеспечивает соотношение скоростей движения на смежных
обратных кривых V0/V1 ~ 1,5, т.е. в
пределах рекомендуемых из условия безопасности движения (разбивка серпантин
может быть осуществлена и при больших значениях Т1. Однако при этом
радиусы основной и вспомогательных кривых будут значительно отличаться друг от
друга, что не рекомендуется, так как приведет к резкому перепаду скоростей на
смежных обратных кривых):
. (4)
6. Определяют расстояние b (м) от тангенса основного угла α0 (точки М на рис. 1, а) до вершины вспомогательного угла α1 (точки N):
b = t0 + Т1 = 12,34+22,40 = 34,7 м. (5)
7. Определяют вспомогательный угол α1:
(6)
8. При заданном значении Т1 и определенном выше угле поворота α1 по таблицам для проектирования клотоид в строке, соответствующей α1, находят табличное значение Ттаб и вычисляют отношение:
(7)
9. Вычисляют основные элементы вспомогательной биклотоиды:
радиус R1= Rтаб f = 100 . 0,3928=39,28 м;
длину переходной кривой (клотоиды)
L1 = Lтаб f = 55,01. 0,3928 =21,61 м; (8)
параметр А = Атаб f = 74,20 . 0,3928 = 29,13 м;
биссектрису угла Б1 = Бтаб f = 5,212 . 0,3928 = 2,05 м;
величину сдвижки круговой кривой Р1 = Ртаб f и т.д.
10. Проверяют правильность вычислений по соблюдению тождества
(9)
Согласно п.7 α1 = 31,519° (31°31/ 08//), т.е. практически имеет место тождество.
11. Вычисляют расстояние d (м) от центра серпантины С до вершины N1 вспомогательной кривой:
(10)
12. Вычисляют угол γ (град):
γ = 90 - α1 = 90 - 31,519 = 58,481° = 58° 28/ 52//. (11)
13. Определяют угол σ (град):
σ = 360 - α0 - 2γ - 2β0 = 360 - 26 - 2 . 58,481 - 2. 35,81 = 145,418 º = 145º25/ 05//. (12)
14. Рассчитывают длину кривой Lc (м) по всей серпантине от HK1 до НК2:
(13)
15. Определяют расстояние Lш (м) от середины вспомогательной кривой нижней ветви серпантины до середины вспомогательной кривой верхней ветви (в створе "шейки" серпантины):
Lш = Lс - 2L1 = 187,20 - 2 . 21,61 = 143,98 м. (14)
16. Устанавливают превышение Нс (м) середины кривой верхней ветви серпантины над нижней ветвью в створе "шейки" серпантины:
, (15)
где i0 - продольный уклон по серпантине, %о.
При i0 = 40%o
Нс = 0,04Lш = 143,98 . 0,04=5,76 м.
17. При проектировании серпантины, помимо подбора составляющих ее элементов, необходимо проверить возможность размещения верхнего и нижнего участков дороги, располагаемых в наиболее узкой части - "шейке" серпантины в створе N1 N2.
Обозначим N1 N2= Z.
Как видно из рис. 1, а настоящего приложения,
Z= 2d sin (α/2) + 2Б1 = 240,71 sin (26/2) + 2 . 2,05 = 22,42 м. (16)
При проектировании серпантины в каждом конкретном случае необходимо убедиться в достаточности полученного по формуле (16) настоящего приложения расстояния Z для размещения в указанном створе земляного полотна дороги в двух ярусах.
Для этого определяют минимальное расстояние Zmin (м) между осями дороги на косогоре (рис. 2 настоящего приложения):
Zmin = В + С +h1(n - m) + Нп m, (17)
где Нп - высота подпорной стены, м.
При В =12 м, n = m = 1,5 и С = 1,2 м
Zmin = 12,0 + 1,2 + 5,76 . 1,5 = 21,84 м.
Сравнивают Z и Zmin и делают вывод о возможности разбивки серпантины на данном участке. Если Z > Zmin, то серпантину разбить можно.
Рис. 2. Поперечное сечение на серпантине
В случае, если Z < Zmin, следует либо перепроектировать серпантину, задавшись большей величиной Т1, и весь расчет провести заново, либо предусмотреть подпорную стену, что позволит уменьшить Zmin до Zmin = В - С + Нп m/ (где m/ - коэффициент заложения откоса подпорной стены высотой Нп).
Алгоритм для решения задачи на ЭВМ приведен в прил. 8.
Расчет элементов несимметричной серпантины I рода
18. Проектирование несимметричной серпантины I рода (см. рис. 1, б настоящего приложения) производят аналогично проектированию симметричной серпантины. Отличие заключается в том, что в соответствии с топографическими условиями участка, где намечается разбивка серпантины, на сторонах центрального угла α0 назначают положение вершин N1 и N2 вспомогательных углов; при этом тангенсы Т1 угла N1 и Т2 угла N2 будут неодинаковыми.
Исходными данными для разбивки несимметричной серпантины указанного типа являются: центральный угол α0, радиус основной кривой R0 , длина переходной кривой L0, тангенс Т1 вспомогательного угла α1, то же Т2 - угла α2. Все расчеты элементов несимметричной серпантины 1 рода производят в последовательности, указанной выше.
Расчет элементов серпантины II рода
19. В соответствии с рельефом участка местности задаются на
плане участка положением центра серпантины С и вершин N1 и N2 углов вспомогательных
кривых, расположенных на прямых
и
, и тем самым определяют центральный угол серпантины α0/
и расстояния d1
и d2 от
вершин вспомогательных кривых до центра серпантины (см. рис. 1, в).
20. В соответствии с расчетной скоростью согласно табл. 14 СНиП 2.05.02-85 задаются значениями R0 и L0.
21. По формуле (1) настоящего приложения определяют угол β0.
22. При известных значениях β0 и R0 по таблицам для клотоидного проектирования вычисляют Р0 по формуле (2) настоящего приложения.
23. Определяют углы δ1 и δ2 (град):
, (18)
(19)
24. При заданных положениях вершин углов C0, N1 и С определяют угол φ1, (см. рис. 1, в), а при заданных вершинах углов C0, N2 и С - угол φ2.
25. Вычисляют вспомогательные углы α1 и α2:
α1 = φ1 - δ1; (20)
α2 = φ2 - δ2; (21)
26. Задаются желательным по условиям рельефа местности положением середины вспомогательной кривой, т.е. биссектрисой Б1.
27. Зная Б1 и угол поворота вспомогательной кривой α1 по таблицам для проектирования клотоид находят Бтаб и определяют элементы кривой:
радиус конца клотоиды R1 = 100 . Б1/Бтаб;
длину клотоиды L1= Lтаб . Б1/ Бтаб;
длину закругления (биклотоиды) Lз= Lз.таб . Б1/ Бтаб и т.д.
Задавшись величиной биссектрисы Б2 при определенном выше угле α2, аналогично предыдущей позиции определяют R2 второй вспомогательной кривой, представляющей собой, как и первая, биклотоиду (непосредственно сопряженные переходные кривые с радиусом R2 и длиной L2).
Алгоритм расчета приведен на рисунке настоящего приложения.
Входные данные:
α0 - угол поворота, град;
R0 - радиус основной кривой серпантины, м;
L0 - длина переходной кривой серпантины, м;
j - множитель для определения тангенса вспомогательной кривой;
В, С , h, n, m, Hc - элементы поперечного профиля дороги;
i0 - продольный уклон по серпантине. Выходные данные:
α1 - угол поворота вспомогательной кривой, град;
R1 - радиус поворота вспомогательной кривой, м;
L1 - длина переходной кривой, м;
A1 - параметр переходной кривой, м;
Б1 - биссектриса угла вспомогательной кривой, м;
L2 - длина вспомогательной кривой, м;
Т2 - тангенс угла вспомогательной кривой, м;
р1 - сдвижка оси вспомогательной кривой, м;
t0 - расстояние от начала переходной кривой до начала круговой кривой, м;
Lc - протяжение серпантины, м;
σ, γ, β0 - углы в центре серпантины, град.


Схема алгоритма расчета элементов серпантины 1 рода
1. Расчет левоповоротного съезда.
Исходные данные (рис. 1, а настоящего приложения):
R - радиус круговой кривом, м;
α - угол пересечения осей дорог, град;
β1, Р1, t1 - элементы входной переходной кривой;
β2, Р2, t2 - то же, выходной.
Расстояние от точки пересечения осей переходно-скоростных полос до начала входной кривой определяется по формуле
,
где ![]()
Расстояние от точки пересечения осей переходно-скоростных полос до конца выходной кривой вычисляют по формуле
,
где γ2 = α - γ1

Элементы левоповоротных (а) и правоповоротных (б) съездов транспортных развязок
Углы поворота круговой кривой определяют по формуле
α1 + α2 = 180 + α - β1 - β2
2. Расчет правоповоротного съезда.
Исходные данные (см. рис. 1, б) те же, что и при расчете левоповоротного съезда.
Расстояние от точки пересечения осей переходно-скоростных полос до конца выходной кривой определяют по формуле
,
где ![]()
Расстояние от точки пересечения осей переходно-скоростных полос до начала входной кривой вычисляют по формуле
![]()
где γ1 = α - γ2
Угол поворота круговой кривой определяют по формуле
α1 = 180 - α - β1 - β2.
В основе аналитического метода расчета годового снегоприноса к линии защиты лежат исследования Всесоюзного научно-исследовательского института железнодорожного транспорта (Д. М. Мельник), Всесоюзного научно-исследовательского института транспортного строительства (В. В. Ляховский) и опыт проектно-изыскательских работ института "Союзгипролесхоз" по защите автомобильных дорог от снежных заносов.
На основе данных метеостанций по ветровому режиму определяют объемы переносимого снега по зависимости между осредненной интенсивностью горизонтального переноса снега iw; (м3/(м.ч)) и скоростью ветра на высоте флюгера:
iw = C Vф3 , (1)
где С - коэффициент пропорциональности, величина которого зависит от плотности снега в метелевых сугробах;
Vф - скорость ветра на высоте флюгера, м/с.
Для большей части европейской территории СССР (кроме восточных и юго-восточных районов), где плотность снега 0,25 т/м3, коэффициент пропорциональности С принимается равным 0,00031, для районов Сибири, Казахстана, востока и юго-востока европейской части СССР - 0,00026.
Объем снега W, переносимого за время действия метелевого ветра определенного направления, можно вычислить по формуле
W = iw tв (2)
где tв - повторяемость метелевых ветров по направлениям и скоростям.
Метеорологические данные зимы 19 / гг.
по наблюдениям метеостанции (м/с) ____________
Ноябрь 19__ г.
(месяц)
|
Число месяца |
Среднесуточная температура, ºС |
Направление и скорость ветра, м/с, в часы наблюдений |
Толщина снежного покрова, см |
|||||||
|
0.00 |
3.00 |
6.00 |
9.00 |
12.00 |
15.00 |
18.00 |
21.00 |
|||
|
8 |
-1,7 |
- |
- |
- |
ЮЗ-6 |
З-8 |
З-7 |
- |
- |
10 |
|
9 |
-4,9 |
- |
- |
Ю-ЮЗ-6 |
Ю-ЮЗ-7 |
ЮЗ-12 |
ЮЗ-9 |
Ю-ЮЗ-6 |
- |
10 |
|
12 |
-6,8 |
З-6 |
ЮЗ-7 |
ЮЗ-7 |
ЮЗ-8 |
З-12 |
ЮЗ-9 |
ЮЗ-7 |
- |
12 |
|
14 |
-6,2 |
- |
- |
ЮЗ-6 |
Ю-ЮЗ-6 |
ЮВ-8 |
Ю-ЮВ-10 |
Ю-ЮВ-7 |
|
12 |
|
27 |
-10,1 |
ЮЗ-6 |
ЮЗ-7 |
ЮЗ-6 |
ЮЗ-7 |
ЮЗ-9 |
Ю-10 |
Ю-8 |
ЮЗ-6 |
19 |
|
28 |
-7,0 |
- |
- |
Ю-ЮВ-7 |
Ю-ЮВ-9 |
ЮВ-13 |
ЮВ-12 |
Ю-ЮВ-10 |
Ю-8 |
19 |
Практически для расчета снегоприноса из журнала наблюдений метеостанции выбирают сведения по скорости и продолжительности ветров не менее чем за 10 идущих подряд зим, при определенных погодных условиях - температуре воздуха ниже 0°С, скорости ветра на высоте флюгера не менее 6 м/с и толщине снежного покрова не менее 10 см. Принятая в расчетах продолжительность периода наблюдений (не менее 10 лет) позволяет избежать экстраполяции при определении годового расчетного снегоприноса принятой для проектирования снегозащитных лесонасаждений обеспеченности.
Выбранные из журналов наблюдений метеоданные сводят в таблицу по форме, приведенной в табл. 1 настоящего приложения, а затем группируют по скоростям и восьми основным направлениям. Ветры, приходящиеся на промежуточные направления относят к двум соседним основным направлениям. Это упрощение облегчает последующие расчеты и не имеет практического значения для конечных результатов.
На основании повторяемости метелевых ветров по табл. 2 настоящего приложения определяют объемы переноса снега за каждую зиму по всем основным направлениям ветра (табл. 3 настоящего приложения).
Следует иметь в виду, что таблица расчетных объемов снегопереноса составлена для плотности снега 0,25 и 0,30 т/м3 при восьми срочных наблюдениях за ветром в сутки. Если на метеостанции имеются многолетние данные (не менее чем за 5-7 лет) по плотности снежных отложений в предвесенний (февральский) период и их среднее значение не совпадает с принятыми в таблицах, в расчеты вводится поправка на фактическую плотность снега. Для этого табличные значения снегопереноса умножают на коэффициент, равный отношению плотности снега, принятого в таблице, к средней плотности по данным метеостанции, В случае использования для расчетов данных по ветру при четырех срочных наблюдениях в сутки продолжительность каждого наблюдения принимается равной 6 ч, поэтому табличные значения снегопереноса следует увеличить в 2 раза.
Расчетные объемы снегопереноса за сезон по направлениям
ветра определяются суммированием снегопереноса
при всех скоростях
метелевого ветра данного направления и указываются в итоге ведомости (см. табл. 3). Они служат основой для
вычисления объемов снегоприноса с каждой стороны участка автомобильной дороги,
которые понимаются как геометрическая сумма расчетных объемов снегоприноса по
всем румбам, относящихся к определенной стороне дороги данного направления.
Например, для участка дороги с направлением с севера на юг (С-Ю) объем
снегоприноса с левой стороны дороги выразится уравнением
(3)
а с правой
(4)
Итоговые объемы переноса снега по направлениям ветров сводят в табл. 4, а затем перемножают на коэффициенты, равные синусу угла подхода метелевых ветров к оси дороги. Полученные результаты суммируют отдельно для левой и правой сторон дороги.
Рекомендуется расчеты объемов снегоприноса (см. табл. 4) проводить только для тех направлений дороги, на которых будут выполняться изыскания в целях разработки проекта мероприятий. Расчеты проводит для каждой зимы отдельно.
Расчетный объем снегопереноса в зависимости от скорости на высоте флюгера и повторяемости метелевых ветров
|
Повторяемость ветров (продолжительность, ч) при 8 срочных наблюдениях в сутки |
Расчетный объем снегопереноса W, м3/м, при скорости ветра, м/с |
||||||||||
|
6 |
8 |
10 |
12 |
14 |
16 |
18 |
20 |
22 |
24 |
25 |
|
|
Плотность снега 0,25 т/м3; с =0,00031 |
|||||||||||
|
1 (3) |
0,2 |
0,5 |
0,9 |
1,6 |
2,6 |
3,8 |
5,4 |
7,4 |
9,9 |
12,8 |
14,5 |
|
5 (15) |
1,0 |
2,4 |
4,6 |
8,0 |
12,8 |
19,0 |
27,1 |
37,2 |
49,5 |
64,3 |
72,6 |
|
10 (30) |
2,0 |
4,8 |
9,3 |
16,1 |
25,5 |
38,1 |
54,2 |
74,4 |
99,0 |
128,6 |
145,3 |
|
15 (45) |
3,0 |
7,1 |
14,0 |
24,1 |
38,3 |
57,1 |
81,4 |
111,6 |
148,5 |
192,8 |
218,0 |
|
20 (60) |
4,0 |
9,5 |
18,6 |
32,1 |
51,0 |
76,2 |
108,5 |
148,8 |
198,0 |
257,1 |
250,6 |
|
25 (75) |
5,0 |
11,9 |
23,2 |
40,2 |
63,8 |
95,2 |
135,6 |
186,0 |
247,6 |
321,4 |
363,3 |
|
30 (90) |
6,0 |
14,3 |
27,9 |
48,2 |
76,6 |
114,3 |
162,7 |
223,2 |
|
|
|
|
35 (105) |
7,0 |
16,7 |
32,6 |
56,2 |
89,3 |
133,3 |
189,9 |
|
|
|
|
|
40 (120) |
8,0 |
19,0 |
37,2 |
64,3 |
102,1 |
152,4 |
|
|
|
|
|
|
|
Плотность снега 0,3 т/м3; с = 0,00026 |
||||||||||
|
1 (3) |
0,2 |
0,4 |
0,8 |
1,3 |
2,1 |
3,2 |
4,5 |
6,2 |
8,3 |
10,8 |
12,2 |
|
5 (15) |
0,8 |
2,0 |
3,9 |
6,7 |
10,7 |
16,0 |
22,7 |
31,2 |
41,5 |
53,9 |
60,9 |
|
10 (30) |
1,7 |
4,0 |
7,8 |
13,5 |
21,4 |
31,9 |
45,5 |
62,4 |
83,0 |
107,8 |
121,9 |
|
15 (45) |
2,5 |
6,0 |
11,7 |
20,2 |
32,1 |
47,9 |
68,2 |
93,6 |
124,6 |
161,7 |
182,8 |
|
20 (60) |
3,4 |
8,0 |
15,6 |
27,0 |
42,8 |
63,9 |
91,0 |
124,8 |
166,1 |
215,6 |
243,7 |
|
25 (75) |
4,2 |
10,0 |
19,5 |
33,7 |
53,5 |
79,9 |
113,7 |
156,0 |
207,6 |
269,6 |
304,7 |
|
30 (90) |
5,0 |
12,0 |
23,4 |
40,4 |
64,2 |
95,6 |
136,5 |
187,2 |
|
|
|
|
35 (105) |
5,9 |
14,0 |
27,3 |
47,2 |
74,9 |
111,8 |
159,2 |
|
|
|
|
|
40 (120) |
6,7 |
16,0 |
31,2 |
53,9 |
85,6 |
127,8 |
|
|
|
|
|
Примечания: 1. При промежуточных значениях повторяемости (продолжительности) и скорости ветра расчетный объем снегоприноса определяется по линейной интерполяции.
2. Формула расчета снегопереноса W = CVф2 t.
Ведомость
объемов снегопереноса за зиму 19 / гг
по основным направлениям ветра (м/с )
|
Скорость ветра, м/с |
Объем снегопереноса, м3/м по направлениям ветра |
|||||||||||||||
|
С |
СВ |
В |
ЮВ |
Ю |
ЮЗ |
З |
СЗ |
|||||||||
|
|
|
|
|
|
|
|
|
|
|
|
|
|
|
|
|
|
|
6 |
1 |
0,2 |
|
|
1 |
0,2 |
3 |
0,6 |
3 |
0,6 |
3 |
|
0,6 |
|
|
|
|
7 |
|
|
|
|
4 |
1,3 |
6 |
1,9 |
4 |
1,3 |
4 |
|
1,3 |
|
|
|
|
8 |
|
|
|
|
2 |
1,0 |
4 |
1,9 |
3 |
1,4 |
4 |
|
1,9 |
|
|
|
|
9 |
|
|
|
|
1 |
0,7 |
1 |
0,7 |
4 |
2,7 |
2 |
|
1,4 |
|
|
|
|
10 |
|
|
|
|
|
|
1 |
0,9 |
1 |
0,9 |
1 |
|
0,9 |
|
|
|
|
11 |
|
|
|
|
|
|
|
|
1 |
1,2 |
1 |
|
1,2 |
|
|
|
|
12 |
|
|
|
|
2 |
|
1 |
1,6 |
1 |
1,6 |
1 |
|
1,6 |
|
1 |
1 |
|
13 |
|
|
|
|
|
|
|
|
|
|
|
|
|
|
|
|
|
14 |
|
|
|
|
1 |
2,6 |
|
|
|
|
|
|
|
|
|
|
|
15 |
|
|
|
|
|
|
1 |
3,1 |
|
|
|
|
|
|
|
|
|
16 |
|
|
|
|
1 |
3,8 |
|
|
|
|
|
|
|
|
|
|
|
17 |
|
|
|
|
|
|
|
|
|
|
|
|
|
|
|
|
Расчет объемов снегоприноса в районе, м/с, за зиму 19 / гг. с левой и правой сторон дороги при ее различном направлении относительно сторон света
|
Wс |
Wсв |
Wв |
Wюв |
Wю |
Wюз |
Wз |
Wсз |
|
0,2 |
- |
9,6 |
10,7 |
9,7 |
8,9 |
- |
1,6 |
|
Направление дороги |
Сторона снегоприноса |
sinα .W |
Значения sinα .W |
|
С-Ю |
Левая |
0,7 Wсв |
0 |
|
Wв |
9,6 |
||
|
0,7 wюв |
7,5 |
||
|
|
|
||
|
Правая |
0,7 Wюз |
6,2 |
|
|
Wз |
0 |
||
|
0,7 Wсз |
1,1 |
||
|
|
|
||
|
СВ-ЮЗ |
Левая |
0,7 Wв |
6,7 |
|
Wюв |
10,7 |
||
|
0,7 Wю |
6,8 |
||
|
|
|
||
|
Правая |
0,7 Wз |
0 |
|
|
Wсз |
1,6 |
||
|
0,7 Wс |
0,1 |
||
|
|
|
||
|
В-3 |
Левая |
0,7 Wюв |
7,5 |
|
Wю |
9,7 |
||
|
0,7 wюз |
6,2 |
||
|
|
|
||
|
В-3 |
Правая |
0,7 Wсз |
1,1 |
|
Wс |
0,2 |
||
|
0,7 Wсв |
0 |
||
|
|
|
||
|
ЮВ-СЗ |
Левая |
0,7 Wю |
6,8 |
|
Wюз |
8,9 |
||
|
0,7 Wз |
0 |
||
|
|
|
||
|
Правая |
0,7 Wс |
0,1 |
|
|
Wсв |
0 |
||
|
0,7 Wв |
6,7 |
||
|
|
|
Примечание. При изменении направления дороги на обратное ее левая и правая стороны меняются местами.
При проектировании снегозащитных лесонасаждений вдоль автомобильных дорог, принято ориентировать их на задержание объемов переносимого снега заданной обеспеченности, обоснованной технико-экономическими расчетами. Для этого строятся кривые вероятности превышения (обеспеченности) снегоприноса с левой и правой сторон автомобильной дороги на основе применения методов математической статистики, используемых в гидрологических расчетах.
Расчет статистических показателей снегоприпоса за ряд зим и параметров для построения биномиальной асимметричной кривой обеспеченности (м/с _____) (направление дороги ЮЗ-СВ, снегопринос с левой стороны)
|
Номера зим, ранжированных по снегоприносу, m |
Годы |
Объем снегоприноса Wm, м3/м |
Обеспеченность P, % |
Кm |
Кm - 1 |
(Кm - 1)2 |
(Кm - 1)3 |
Расчет ординат биномиальной кривой |
||||
|
P, % |
Ф |
ФСv |
ФСv + 1 |
Wр |
||||||||
|
1 |
1969/70 |
84 |
6,7 |
2,15 |
1,15 |
1,32 |
1,52 |
1 |
2,68 |
1,77 |
2,77 |
108 |
|
2 |
1966/67 |
79 |
16,3 |
2,02 |
1,02 |
1,04 |
1,06 |
3 |
2,08 |
1,37 |
2,37 |
93 |
|
3 |
1967/68 |
46 |
26,0 |
1,18 |
0,18 |
0,03 |
0,01 |
5 |
1,77 |
1,17 |
2,17 |
85 |
|
4 |
1970/71 |
45 |
35,6 |
1,15 |
0,15 |
0,02 |
0,00 |
10 |
1,32 |
0,87 |
1,87 |
73 |
|
5 |
1965/66 |
37 |
45,2 |
0,95 |
-0,05 |
0,00 |
0,00 |
20 |
0,81 |
0,53 |
1,53 |
60 |
|
6 |
1964/65 |
32 |
54,8 |
0,82 |
-0,18 |
0,03 |
-0,01 |
30 |
0,46 |
0,30 |
1,30 |
51 |
|
7 |
1968/69 |
27 |
64,4 |
0,69 |
-0,31 |
0,10 |
-0,03 |
40 |
0,17 |
0,11 |
1,11 |
43 |
|
8 |
1972/73 |
22 |
74,0 |
0,56 |
-0,44 |
0,19 |
-0,09 |
50 |
-0,08 |
-0,05 |
0,95 |
37 |
|
9 |
1963/64 |
15 |
83,6 |
0,38 |
-0,62 |
0,38 |
-0,24 |
60 |
-0,33 |
-0,22 |
0,78 |
30 |
|
10 |
1971/72 |
4 |
93,3 |
0,10 |
-0,90 |
0,81 |
-0,73 |
70 |
-0,58 |
-0,38 |
0,62 |
24 |
|
|
|
391 |
|
|
|
3,92 |
1,49 |
|
|
|
|
|
Примечание. Буквенные обозначения см. в формулах (6)-(10).
С этой целью рассчитанные объемы снегоприноса за ряд последовательно идущих зим округляют до целых величин и группируют по направлениям дороги отдельно для каждой стороны. Для вычислений цифровой материал в статистических рядах располагают в убывающем порядке (табл. 5), а обеспеченность Р (%) вычисленного по метеоданным снегоприноса определяют по формуле Н. Н. Чегодаева
(5)
где m - порядковый номер члена ряда величин снегоприноса, расположенных в убывающем порядке;
k - общее число членов ряда.
Объемы снегоприноса наносят на графики вероятностей в соответствии с вычисленной обеспеченностью в принятом масштабе оси ординат. Сглаживание нанесенных точек достигается биномиальной кривой обеспеченности, положение которой на графике определяется тремя параметрами: среднеарифметическим объемом снегоприноса за ряд зим W0, коэффициентом вариации объемов Сv и коэффициентом асимметрии Сs.
Средняя величина снегоприноса за ряд зим вычисляется по формуле
(6)
где Wm - объем снегоприноса за зиму с порядковым номером m в статистическом ряду;
k - число зим, данные по которым используют в расчетах.
Коэффициент вариации Сv и коэффициент асимметрии СS вычисляют методом моментов по формулам:
(7)
(8)
где Кm - модульный коэффициент, равный отношению снегоприноса за зиму с порядковым номером m к средней величине снегоприноса за весь ряд зим;
.
Участвующий в расчетах ряд зим считается достаточным для установления среднего расчетного снегоприноса, если относительная среднеквадратичная ошибка εW0 не превышает 25-30%.
В случае, если относительная среднеквадратичная ошибка превышает указанные пределы, значения среднего снегоприноса, коэффициентов изменчивости и асимметрии приводятся к более длительному периоду, для чего в расчеты вводятся метеоданные по ветровому режиму за следующие зимы.
Если метеостанция не располагает достаточным объемом сведений и при этом в расчетах не обеспечивается выполнение условия εW0 < 25-30 %, расчетная величина снегоприноса определяется на основании имеющихся на метеостанции данных.
Относительная среднеквадратичная ошибка среднего снегоприноса εW0 (%) за ряд зим определяется по формуле
(9)
Результаты расчета статистических показателей снегоприноса и параметров для построения биномиальной кривой рекомендуется оформлять таблицей по форме табл. 3.
Отклонение ординат Ф (Р, СS) биноминальной кривой обеспеченности от среднего значения при Сv = 1
|
Коэффициент асимметрии |
Отклонение ординат Ф при обеспеченности Р, % |
|||||||||||||
|
1 |
3 |
5 |
10 |
20 |
30 |
40 |
50 |
60 |
70 |
80 |
90 |
95 |
97 |
|
|
0,0 |
2,33 |
1,88 |
1,64 |
1,28 |
0,84 |
0,52 |
0,25 |
0,00 |
-0,25 |
-0,52 |
-0,84 |
-1,280 |
-1,640 |
-1,880 |
|
0,5 |
2,68 |
2,08 |
1,77 |
1,32 |
0,81 |
0,46 |
0,17 |
-0,08 |
-0,33 |
-0,58 |
-0,85 |
-1,220 |
-1,490 |
-1,660 |
|
1,0 |
3,02 |
2,25 |
1,88 |
1,34 |
0,76 |
0,38 |
0,09 |
-0,16 |
-0,39 |
-0,62 |
-0,85 |
-1,130 |
-1,320 |
-1,420 |
|
1,5 |
3,33 |
2,39 |
1,95 |
1,33 |
0,69 |
0,30 |
0,00 |
-0,24 |
-0,45 |
-0,64 |
-0,82 |
-1,020 |
-1,130 |
-1,190 |
|
2,0 |
3,60 |
2,51 |
2,00 |
1,30 |
0,61 |
0,20 |
-0,08 |
-0,31 |
-0,49 |
-0,64 |
-0,78 |
-0,900 |
-0,950 |
-0,970 |
|
2,5 |
3,82 |
2,62 |
2,00 |
1,23 |
0,50 |
0,10 |
-0,16 |
-0,36 |
-0,51 |
-0,62 |
-0,71 |
-0,768 |
-0,790 |
-0,795 |
|
3,0 |
4,05 |
2,65 |
1,97 |
1,13 |
0,39 |
0,03 |
-0,22 |
-0,40 |
-0,51 |
-0,59 |
-0,64 |
-0,661 |
-0,665 |
-0,667 |
|
3,5 |
4,21 |
2,66 |
1,93 |
1,04 |
0,29 |
-0,05 |
-0,28 |
-0,41 |
-0,50 |
-0,54 |
-0,56 |
-0,570 |
-0,571 |
-0,571 |
|
4,0 |
4,34 |
2,65 |
1,90 |
0,96 |
0,21 |
-0,12 |
-0,31 |
-0,41 |
-0,46 |
-0,49 |
-0,50 |
-0,500 |
-0,500 |
-0,500 |
|
4,5 |
4,44 |
2,62 |
1,85 |
0,89 |
0,14 |
-0,16 |
-0,32 |
-0,40 |
-0,43 |
-0,44 |
-0,44 |
-0,444 |
-0,444 |
-0,444 |
|
5,2 |
4,59 |
2,60 |
1,74 |
0,73 |
0,04 |
-0,21 |
-0,33 |
-0,37 |
-0,38 |
-0,38 |
-0,39 |
-0,385 |
-0,385 |
-0,385 |
Примечание. При промежуточных значениях СS отклонения ординат принимаются по линейной интерполяции.
Ординаты кривой обеспеченности определяют по известным параметрам W0, Сv, СS с использованием формулы
Wp= (ФСv + 1) W0, (10)
где Wp - ординаты кривой обеспеченности Р;
Ф - относительные отклонения ординат биномиальной кривой обеспеченности от середины (единицы) при Сv = 1 и заданном значении СS.
Значения Ф берутся в соответствии с вычисленным коэффициентом асимметрии СS по табл. 6.
Полученные значения Wp наносят на графики вероятностей и соединяют кривой, которая должна совпасть с ранее нанесенными на график точками, соответствующими снегоприносу, рассчитанному по данным метеостанции.
Вследствие возможных при вычислении коэффициента асимметрии СS ошибок это условие может быть нарушено. В таких случаях рекомендуется изменением соотношения параметров СS : Сv за счет коэффициента асимметрии подобрать кривую, удовлетворяющую указанному условию. Допустимо любое соотношение СS и Сv, лишь бы кривая обеспеченности соответствовала точкам снегоприноса, рассчитанным по данным метеостанции.
По кривой обеспеченности определяют годовой расчетный объем снегоприноса, на задержание которого проектируют лесонасаждения.
На каждом графике, составленном по направлениям автомобильной дороги, показывают кривые обеспеченности для левой и правой ее сторон.
РСФСР
Нормативы* стоимости освоения новых земель взамен изымаемых для несельскохозяйственных нужд, руб./га
* Утверждены Постановлением Совета Министров республики № 211 от 6 апреля 1978 г.
|
Район |
Под пашню |
Под высокопродуктивные кормовые угодья (сенокосы и пастбища) |
|
||||
|
Нормативы стоимости освоения |
В том числе |
|
|||||
|
Капитальные вложения |
Из них в строительно-монтажные работы |
||||||
|
Нормативы стоимости освоения |
В том числе |
|
|||||
|
Капитальные вложения |
Из них в строительно-монтажные работы |
|
|||||
|
РСФСР (в среднем) |
6960 |
5380 |
3740 |
3740 |
2450 |
1250 |
|
|
Северо-Западный |
5420 |
4180 |
3090 |
3780 |
2450 |
1070 |
|
|
Центральный |
5790 |
4500 |
3400 |
3120 |
2000 |
1320 |
|
|
Волго-Вятский |
5160 |
4100 |
3050 |
3250 |
2230 |
1210 |
|
|
Центрально-Черноземный |
7060 |
5660 |
4010 |
3610 |
2540 |
1510 |
|
|
Поволжский |
7020 |
5680 |
4070 |
4770 |
3260 |
1700 |
|
|
Северо-Кавказский |
9160 |
7260 |
5270 |
4990 |
3450 |
1820 |
|
|
Уральский |
5650 |
4410 |
2950 |
3290 |
2170 |
1270 |
|
|
Западно-Сибирский |
7060 |
5490 |
3590 |
3340 |
2060 |
1240 |
|
|
Восточно-Сибирский |
6390 |
4480 |
2860 |
3840 |
2380 |
1140 |
|
|
Дальневосточный |
7190 |
5090 |
2800 |
4090 |
2570 |
1140 |
|
УКРАИНСКАЯ ССР
Нормативы* стоимости освоения новых земель взамен изымаемых для несельскохозяйственных нужд, руб./га
* Утверждены Постановлением Совета Министров республики № 327 от 3 июля 1975 г.
|
Область |
Средний норматив стоимости |
В том числе стоимость работ |
|
|
строительно-монтажных |
проектно-изыскательских |
||
|
УССР (в среднем) |
7931 |
6840 |
317 |
|
Винницкая |
8390 |
6880 |
340 |
|
Волынская |
6780 |
5950 |
300 |
|
Ворошиловградская |
7350 |
5640 |
280 |
|
Днепропетровская |
7700 |
5860 |
290 |
|
Донецкая |
7470 |
4680 |
280 |
|
Житомирская |
5860 |
5110 |
260 |
|
Закарпатская |
4940 |
4260 |
210 |
|
Запорожская |
7580 |
5760 |
290 |
|
Ивано-Франковская |
4830 |
4220 |
210 |
|
Киевская |
8270 |
6800 |
340 |
|
Кировоградская |
9540 |
7250 |
360 |
|
Крымская |
6890 |
5240 |
260 |
|
Львовская |
4940 |
4320 |
220 |
|
Николаевская |
8160 |
6200 |
310 |
|
Одесская |
7930 |
6030 |
300 |
|
Полтавская |
8040 |
6380 |
320 |
|
Ровенская |
6890 |
6050 |
300 |
|
Сумская |
8040 |
6650 |
330 |
|
Тернопольская |
8730 |
7530 |
380 |
|
Харьковская |
8270 |
6410 |
320 |
|
Херсонская |
8160 |
6200 |
310 |
|
Хмельницкая |
8040 |
6900 |
350 |
|
Черкасская |
9420 |
7600 |
380 |
|
Черновицкая |
7010 |
6010 |
300 |
|
Черниговская |
8390 |
7300 |
360 |
БЕЛОРУССКАЯ ССР
Нормативы** стоимости освоения новых земель взамен изымаемых для несельскохозяйственных нужд, руб./га
** Утверждены Постановлением Совета Министров республики № 138 от 10 мая 1978 г.
|
Качественная оценка изымаемых сельскохозяйственных угодий, балл |
Стоимость освоения новых земель |
В том числе |
|
|
капитальные вложения |
из них в строительно-монтажные работы |
||
|
До 20 |
4000 |
2700 |
2320 |
|
21-30 |
4500 |
2800 |
2410 |
|
31-40 |
5100 |
2900 |
2490 |
|
41-50 |
5800 |
3100 |
2670 |
|
51-60 |
6600 |
3300 |
2840 |
|
Свыше 60 |
7500 |
3600 |
3100 |
Определение стоимости освоения новых земель взамен изымаемых для несельскохозяйственных нужд сельскохозяйственных угодий производится на основании материалов качественной оценки этих угодий, а при отсутствии данных о качестве изымаемых угодий - по аналогии с соответствующими угодьями, имеющими качественную оценку.
КАЗАХСКАЯ ССР
Нормативы стоимости* освоения новых земель взамен изымаемых для несельскохозяйственных нужд, руб./га
* Утверждены Постановлением Совета Министров республики № 320 от 12 июля 1976 г.
|
Область |
Под орошаемую пашню |
||
|
Средний норматив стоимости освоения |
В том числе |
||
|
капитальные вложения |
из них в строительно-монтажные работы |
||
|
КазССР (в среднем) |
5314 |
3972 |
3142 |
|
Актюбинская |
5300 |
3960 |
3100 |
|
Алма-Атинская |
3500 |
3900 |
2990 |
|
Восточно-Казахстанская |
5120 |
3960 |
3150 |
|
Гурьевская |
5870 |
4170 |
3130 |
|
Джамбульская |
5480 |
3880 |
3010 |
|
Джезказганская |
3580 |
3680 |
2980 |
|
Карагандинская |
5300 |
3960 |
3100 |
|
Кзыл-Ординская |
5690 |
3990 |
3180 |
|
Кокчетавская |
4850 |
3940 |
3230 |
|
Кустанайская |
4790 |
3880 |
3180 |
|
Мангышлакская |
5870 |
4170 |
3130 |
|
Павлодарская |
5100 |
4090 |
3210 |
|
Северо-Казахстанская |
4850 |
3940 |
3110 |
|
Семипалатинская |
4910 |
3880 |
3140 |
|
Талды-Курганская |
5480 |
3880 |
3200 |
|
Тургайская |
5200 |
3860 |
3220 |
|
Уральская |
5310 |
3970 |
3250 |
|
Целиноградская |
4990 |
3980 |
3270 |
|
Чимкентская |
5770 |
4170 |
3110 |
Коэффициенты** перевода сельскохозяйственных угодий в орошаемую пашню
** Приложение № 2 к Постановлению Совета Министров Казахской ССР № 320 от 12 июля 1976 г.
|
Область |
Коэффициент перевода угодий в орошаемую пашню |
||
|
неполивных |
сенокосных |
пастбищ |
|
|
Актюбинская |
0,52 |
0,31 |
0,09 |
|
Алма-Атинская |
0,57 |
0,48 |
0,13 |
|
Восточно-Казахстанская |
0,80 |
0,60 |
0,24 |
|
Гурьевская |
- |
0,25 |
0,07 |
|
Джамбульская |
0,63 |
0,31 |
0,12 |
|
Джезказганская |
0,47 |
0,39 |
0,08 |
|
Карагандинская |
0,52 |
0,39 |
0,10 |
|
Кзыл-Ординская |
0,33 |
0,17 |
0,07 |
|
Кокчетавская |
0,79 |
0,44 |
0,16 |
|
Кустанайская |
0,71 |
0,44 |
0,17 |
|
Мангышлакская |
- |
- |
0,07 |
|
Павлодарская |
0,53 |
0,51 |
0,17 |
|
Северо-Казахстанская |
0,85 |
0,47 |
0,20 |
|
Семипалатинская |
0,58 |
0,40 |
0,13 |
|
Талды-Курганская |
0,67 |
0,51 |
0,09 |
|
Тургайская |
0,50 |
0,29 |
0,12 |
|
Уральская |
0,54 |
0,44 |
0,11 |
|
Целиноградская |
0,61 |
0,41 |
0,09 |
|
Чимкентская |
0,65 |
0,47 |
0,09 |
ЛИТОВСКАЯ CCP
Нормативы* стоимости освоения, новых земель взамен изымаемых для несельскохозяйственных нужд и расходования средств, предназначенных на возмещение потерь сельскохозяйственного производства, руб./га
* Утверждены Постановлением Совета Министров республики № 59 от 28 февраля 1978 г.
|
Шифр почвы |
Бонитет** почвы, балл |
Общая стоимость освоения новых земель |
В том числе |
|
|
капитальные вложения |
из них в строительно-монтажные работы |
|||
|
1 |
20 и ниже |
2400 |
2120 |
1960 |
|
2 |
21-30 |
3100 |
2480 |
2100 |
|
3 |
31-40 |
4400 |
3130 |
2360 |
|
4 |
41-50 |
5700 |
3780 |
2620 |
|
5 |
51-60 |
7000 |
4430 |
2880 |
|
6 |
61-70 |
8500 |
5080 |
3140 |
** Баллы бонитета почв определяются и возникающие но этим вопросам разногласия разрешаются Министерством сельского хозяйства. Отвод особо ценных сельскохозяйственных угодий с бонитетом свыше 70 для несельскохозяйственных нужд не производится.
ЛАТВИЙСКАЯ ССР
Нормативы*** стоимости освоения новых земель взамен изымаемых для несельскохозяйственных нужд, руб./га
*** Утверждены Постановлением Совета Министров республики № 414 от 4 июля 1977 г.
|
Качественная оценка изымаемых сельхозугодий, балл |
Стоимость освоения новых земель |
|
До 20 |
3150 |
|
21-30 |
3730 |
|
31-40 |
4980 |
|
41-50 |
6230 |
|
51-60 |
7480 |
|
Свыше 60 |
8730 |
ЭСТОНСКАЯ ССР
Нормативы**** стоимости освоения новых земель взамен изымаемых сельскохозяйственных угодий при отводе земель для государственных или общественных нужд, окультуривания вновь осваиваемых земель и повышения плодородия почв, руб./га
**** Утверждены Постановлением Совета Министров республики № 260 от 31 мая 1976 г.
|
Качественная оценка отводимых сельхозземель, балл |
Стоимость освоения новых земель |
В том числе |
|
|
капитальные вложения |
из них в строительно-монтажные работы |
||
|
До 20 |
500 |
200 |
50 |
|
21-30 |
1200 |
450 |
200 |
|
31-40 |
2200 |
800 |
500 |
|
41-50 |
3500 |
1250 |
1150 |
|
51-60 |
5000 |
1250 |
1150 |
|
Свыше 60 |
7000 |
1250 |
1150 |
СОДЕРЖАНИЕ
|
ГОСТЫ, СТРОИТЕЛЬНЫЕ и ТЕХНИЧЕСКИЕ НОРМАТИВЫ. Некоммерческая онлайн система, содержащая все Российские Госты, национальные Стандарты и нормативы. В Системе содержится более 150000 файлов нормативно-технической документации, действующей на территории РФ. Система предназначена для широкого круга инженерно-технических специалистов. Copyright © www.gostrf.com, 2008 - 2026 |