Крупнейшая бесплатная информационно-справочная система онлайн доступа к полному собранию технических нормативно-правовых актов РФ. Огромная база технических нормативов (более 150 тысяч документов) и полное собрание национальных стандартов, аутентичное официальной базе Госстандарта. GOSTRF.com - это более 1 Терабайта бесплатной технической информации для всех пользователей интернета. Все электронные копии представленных здесь документов могут распространяться без каких-либо ограничений. Поощряется распространение информации с этого сайта на любых других ресурсах. Каждый человек имеет право на неограниченный доступ к этим документам! Каждый человек имеет право на знание требований, изложенных в данных нормативно-правовых актах!

  


 

ВСЕСОЮЗНОЕ ПРОЕКТНОЕ ОБЪЕДИНЕНИЕ
ПО ПРОМЫШЛЕННОМУ ТРАНСПОРТУ
(ПРОМТРАНСНИИПРОЕКТ) ГОССТРОЯ СССР

ПОСОБИЕ
ПО ПРОЕКТИРОВАНИЮ
ПРОМЫШЛЕННЫХ
ЖЕЛЕЗНОДОРОЖНЫХ
СТАНЦИЙ
(к СНиП 2.05.07-85)

Утверждено

приказом Союзпромтрансниипроекта

от 14 октября 1986 г. 200

МОСКВА СТРОЙИЗДАТ 1990

Рекомендовано к изданию решением научно-технического совета Промтрансниипроекта.

Пособие по проектированию промышленных железнодорожных станций (к СНиП 2.05.07-85)/Промтрансниипроект. - М.: Стройиздат, 1990.

Приведены классификация промышленных станций, основные технические требования к плану и профилю станционных путей и сортировочных устройств, рекомендации по проектированию верхнего строения и путевого развития станций, методика расчета числа и длины станционных путей и других элементов станций.

Разработано Промтрансниипроектом (инженеры В.И. Поляков, Н.И. Провотворов, Т.А. Панькова, Л.И. Элькес, Т.Р. Лукьянова, кандидаты техн. наук Б.А. Евдокимов, В.А. Сидяков, М.Н. Маничев) и ГПИ Харьковского Промтранспроекта (инженеры А.Г. Мирошников, Е.М. Ханин).

1. ОБЩИЕ ПОЛОЖЕНИЯ

1.1. Настоящее Пособие разработано к СНиП 2.05.07-85 и содержит методические указания, рекомендации и вспомогательные материалы по проектированию промышленных станций.

1.2. Под промышленными станциями понимаются:

железнодорожные раздельные пункты, расположенные на внутренних путях, предназначенные для переработки или распределения вагонопотоков предприятий и организаций и выполнения маневровых работ по обслуживанию фронтов погрузки или разгрузки;

железнодорожные пути грузовых пунктов *, объединенные общим путевым развитием, предназначенные для выполнения маневровых работ по обслуживанию фронтов и обеспечивающих погрузку или разгрузку вагонов;

* В дальнейшем - грузовые пункты.

распределительные посты и станции (в том числе разъезды и обгонные пункты), предназначенные для выполнения операций по распределению вагонопотоков между другими станциями, а также для обеспечения пропускной способности и намечаемой организации движения;

грузовые станции (в том числе технологические), предназначенные для выполнения преимущественно маневровой работы по обслуживанию пунктов или фронтов погрузки-выгрузки;

сортировочные станции, предназначенные для переработки вагонопотоков отдельных предприятий или групп предприятий (промышленных узлов).

Примечания: 1. К внутренним железнодорожным путям относятся пути, расположенные на территории заводов, фабрик, шахт, портов, лесных и торфяных разработок, электростанций, складских баз, карьеров и других предприятий; пути промышленных станций и постов, станций промышленных узлов, а также пути, соединяющие между собой эти станции и посты, погрузочно-выгрузочные фронты, предприятия или отдельные производства, расположенные на обособленных площадках. Внутренние пути подразделяются на соединительные, станционные и погрузочно-выгрузочные.

2. К технологическим станциям относятся грузовые станции, обслуживающие погрузочно-разгрузочные фронты, связанные непосредственно с технологическим процессом производства.

1.3. Промышленные станции надлежит проектировать в соответствии с требованиями СНиП 2.05.07-85. Промышленный транспорт и СНиП II-39-76. Железные дороги колеи 1520 мм (в части увязки их с проектированием внешних (подъездных) путей), положений по разработке раздела «Транспорт» в схемах генеральных планов промышленных узлов (в части увязки с общими планировочными решениями), «Положений о порядке проведения согласования с Министерством путей сообщения при проектировании и строительстве объектов промышленного железнодорожного транспорта», а также других общесоюзных нормативных документов по проектированию и эксплуатации сооружений и устройств промышленного транспорта, отражающих технологические требования основного производства.

При проектировании технологических станций необходимо учитывать специфические требования, вызываемые технологическим процессом соответствующего производства, и рекомендации к проектированию промышленных станций настоящего Пособия.

При проектировании промышленных станций необходимо соблюдать постановления директивных органов об усилении охраны природы и улучшении использования природных ресурсов и о мерах по снижению шума на промышленных предприятиях, в городах и других населенных пунктах, правила технической эксплуатации железных дорог СССР и правила технической эксплуатации железнодорожных путей соответствующего министерства (ведомства), противопожарные и санитарные нормы, требования по обеспечению безопасности людей, а также другие общесоюзные нормы и правила проектирования, распространяющиеся на объекты промышленного транспорта.

1.4. Дополнительное путевое развитие станций железных дорог общего пользования, вызываемое примыканием к ним внешних (подъездных) железнодорожных путей, разъезды и обгонные пункты, располагаемые на железнодорожных подъездных путях, соединяющих станции примыкания общей сети железных дорог с внутренними железнодорожными путями промышленных предприятий, а также приемоотправочные парки промышленных станций, передаваемые в ведение железных дорог общего пользования, должны проектироваться в соответствии с указаниями СНиП II-39-76 и Инструкции по проектированию станций и узлов на железных дорогах Союза ССР.

1.5. При проектировании следует стремиться к сокращению числа станций, совмещая на общих станциях сортировочную и грузовую работу по распределению вагонопотоков между станциями и маневровые операции по обслуживанию пунктов или фронтов погрузки-выгрузки.

Промышленные станции следует проектировать с учетом комплексного использования путевого развития станций, расположенных на внешних и внутренних железнодорожных путях предприятий, а также станций примыкания железных дорог общего пользования.

1.6. Принципиальное размещение промышленных станций, их путевое развитие, тип сортировочного устройства устанавливают при решении общей схемы железнодорожного транспорта при разработке схем генеральных планов промышленных узлов, генеральных схем железнодорожного транспорта промышленных районов или в технико-экономических обоснованиях проектирования и строительства сооружений промышленного железнодорожного транспорта, исходя из условий рационального распределения работы между станциями общей сети железных дорог и промышленными станциями с концентрацией сортировочной работы на наименьшем числе станций.

Принимаемые решения по станциям должны обеспечивать необходимую пропускную способность подъездных и соединительных путей, пропускную и перерабатывающую способность элементов станции при соблюдении безопасности движения и при оптимальных капитальных затратах и эксплуатационных расходах (минимальных приведенных расходах). Для этого следует предусматривать:

применение методов эксплуатации, способствующих быстрейшей доставке маршрутных составов и отдельных групп вагонов к грузовым пунктам, а также сокращению простоя вагонов;

организацию поточной обработки вагонопотоков и передвижения маневровых средств при обслуживании нескольких предприятий;

оснащение станций совершенными техническими устройствами: электрической централизацией стрелок и сигналов, автоматической очисткой стрелок, механизацией торможения вагонов, радиосвязью, пневмопочтой и др.;

возможность механизации ремонта станционных путей, в том числе устройство точек электросети для подключения путевых электроинструментов и машин.

1.7. Принимаемые проектные решения должны обеспечивать возможность последующего развития станций по мере увеличения объема их работы. При этом размещение станций, их принципиальные путевые схемы и длины станционных площадок должны назначаться на расчетный срок, за который принимается год достижения предприятиями, для которых проектируется железнодорожный транспорт, полной проектной мощности и должна учитываться перспектива дальнейшего развития предприятий, расположенных в данном районе.

Установленное на расчетный срок полное развитие станции должно, как правило, осуществляться по очередям, позволяющим вводить в эксплуатацию отдельные пусковые комплексы (парки, пути, сооружения, здания, устройства), определяемые в проектах в зависимости от срока ввода в эксплуатацию отдельных предприятий, производств или их очередей.

Постовые устройства электрической централизации стрелок и сигналов станции должны предусматриваться на полную проектную мощность обслуживаемых ею промышленных предприятий.

1.8. Земляное полотно на промышленных железнодорожных станциях и постах следует проектировать по СНиП 2.05.07-85.

2. ОБЩИЕ ТРЕБОВАНИЯ К ПРОЕКТИРОВАНИЮ СТАНЦИЙ

Продольный профиль станционных путей

2.1. Станции, отдельные парки и их элементы следует размещать в профиле согласно табл. 1.

2.2. Во всех случаях расположения станций на уклонах должны быть обеспечены условия удержания поездов установленной и перспективной массы вспомогательными тормозами локомотивов, а также условия трогания с места этих поездов.

2.3. На станциях, на которых не отцепляют локомотив от вагонов, максимально допустимый уклон imax %о, обеспечивающий удержание поездов установленной (с учетом перспективной) массы тормозами локомотивов, определяют по формуле

imax = 250ΣKт/(Pл + Q),                                                 (1)

где

Pл - масса локомотива, т; Q - масса поезда, т; ΣKт - сумма нажатий тормозных колодок локомотива, кН.

Если значение imax по расчету получается более ip, оно ограничивается значением ip, но не более 12 %о, при котором локомотив может удержать состав собственными тормозными средствами.

2.4. Максимально допустимый уклон iтр, обеспечивающий трогание поезда с места, определяется по формуле

iтр = Fк.тр/(P + Q) - ωтр,                                                 (2)

где

Fк.тр - касательная сила тяги локомотива при трогании поезда с места, Н; ωтр - сопротивление движению при трогании поезда с места, Н/кН; ωтр = k142(q + 7) - для подшипников скольжения; ωтр = k28/(q + 7) - для роликовых подшипников; q - нагрузка на ось вагона; k - коэффициент, зависящий от числа вагонов в поезде.

Количество вагонов        1            2            3            4            5            6           7

Коэффициент k             1,8         1,6         1,4         1,3         1,2         1,1           1

При определении наибольшей крутизны уклона iтр следует исходить из наиболее неблагоприятных условий, которые для близкой перспективы характеризуются наименьшим удельным весом вагонов на роликовых подшипниках в поезде в размере 15 - 20 % и средней нагрузкой на ось вагона 16. Этим условиям удовлетворяет зависимость

iтр = 1,35iр - 3,5,                                                           (3)

где iр - руководящий уклон, %о.

Таблица 1

Станции и их элементы

Условия расположения в профиле

нормальные

трудные

особо трудные

1. Площадки, отдельные парки и тупики маневровых районов станций, на которых предусматривается сортировка и отцепка вагонов от состава

На горизонтальной площадке

На уклоне не свыше 1,5 %о

2. То же, на реконструируемых станциях, разъездах и обгонных пунктах

То же

При технико-экономическом обосновании допускается сохранять существующие уклоны

3. Площадки и пути разъездов и обгонных пунктов, на которых не предусмотрены маневры и отцепка локомотива или вагонов от состава

»

При соответствующем обосновании допускается располагать на уклонах до 12 %о, а в карьерах - до 75 %о руководящего уклона соединительного пути

4. Пути, соединяющие отдельные парки станции, а также пути для перестановки составов и отдельных групп вагонов

На уклонах, соответствующих массе обращающихся составов и силе тяги локомотивов, но не более 20 %о

5. Пути одиночного следования электровозов и тепловозов

На уклонах не свыше 60 %о

6. Удлинение приемоотправочных путей на станциях

На горизонтальной площадке

На уклонах не круче 1,5 %о

При технико-экономическом обосновании допускается размещать удлиняемую часть путей на уклонах не круче 2,5 %о при отсутствии отцепки вагонов от состава и при принятии мер по самопроизвольному уходу вагонов на перегон

7. Диспетчерские съезды и отдельные стрелочные переводы на подходах к станциям и перегонах за пределами стрелочных горловин

На любом уклоне до руководящего включительно

8. Стрелочные горловины, на которых не предусмотрено производство маневров

На горизонтальной площадке или на уклоне не круче 2,5 %о

За пределами крайнего предельного столбика в сторону перегона (соединительного пути) - на уклоне не круче руководящего или уклона кратной тяги, уменьшенных на 2 %о

При соответствующем обосновании на руководящем уклоне или уклоне кратной тяги

9. Стрелочные зоны, в пределах которых сортировка вагонов производится с вытяжных путей

На спуске в сторону сортировки крутизной не более 4 %о или на горизонтальной площадке

10. Подходы к станциям

Перед входными сигналами на протяжении, равном полезной длине приемоотправочных путей - на уклонах, обеспечивающих трогание поездов с места

11. Развязки подходов к станциям, предназначенные исключительно для движения поездов в одном направлении

На уклонах (спусках) не более руководящего

На уклонах (спусках) круче руководящего, но не более 30 %о

На уклонах (спусках) круче руководящего, но не более 40 %о

12. Вытяжные пути при общем среднесуточном объеме сортировки менее 150 ваг. * при работе осаживанием

В соответствии с продольным профилем смежного пути при условии обеспечения трогания с места сортируемых составов при маневрах, а также фиксированной остановки их при выключенных вагонных тормозах, но не круче 2,5 %о, или на площадке

13. Вытяжные пути при общем среднесуточном объеме сортировки 150 ваг. и более при работе толчками

На спуске не круче 2,5 %о в сторону обслуживаемых ими путей или на горизонтальной площадке

На подъеме не круче 2 %о в сторону станции

14. Длина элементов продольного профиля парковых путей станций

Не менее половины длины поезда или подачи (но не менее 100 м)

Не менее 100 м, а при обращении поездов и подач массой менее 500 т - 50 м

15. Длина элементов продольного профиля путей, соединяющих отдельные парки станций и путей одиночного следования локомотивов

Не менее 50 м

16. Сопряжение смежных прямолинейных элементов в вертикальной плоскости

По нормам, установленным для соединительных путей в нормальных условиях

17. Проектирование стрелочных переводов на вертикальных кривых

Вне пределов вертикальных кривых

Вне пределов и в пределах вертикальных кривых радиусом не менее 5000 м. При переустройстве (реконструкции) существующих станций, а также на станциях, расположенных на лесовозных ветках - в пределах вертикальных кривых радиусом не менее 2000 м

* В пособии принято: вагон (ваг.).

На участках, где намечается обращение замкнутых маршрутов из большегрузных вагонов преимущественно на роликовых подшипниках, крутизна уклона iтр может быть определена согласно правилам тяговых расчетов.

2.5. Если станция в плане располагается на кривой, наибольшую величину уклона профиля iэ(к), %о, обеспечивающего трогание поезда с места, следует определять как разность уклона трогания iтр и уклона, эквивалентного дополнительному сопротивлению от кривой,

iэ(к) = 12,2Σα/lк,                                                            (4)

Σα - суммарный угол поворота, град; lк - длина кривой, м.

2.6. При резкой неравномерности грузопотоков по направлениям движения разъезды и обгонные пункты с поперечным расположением приемоотправочных путей, на которых не предусмотрена отцепка локомотивов и вагонов, целесообразно проектировать на спуске в сторону грузового направления.

2.7. На станциях, где предусматриваются отцепка локомотивов или вагонов от составов и производство маневровых операций, в целях исключения самопроизвольного ухода подвижного состава с роликовыми подшипниками может быть применен трехэлементный продольный профиль вогнутого очертания.

Длина противоуклонов li, м, определяется по формуле

li = klпо/iпу,                                                                    (5)

где

lпо - полезная длина приемоотправочного или главного пути, м; iпу - крутизна противоуклона (1,5 - 2,5 %о); k - коэффициент, определяющий допустимую глубину понижения (0,45 - для приемоотправочных путей, 0,55 - для главных путей).

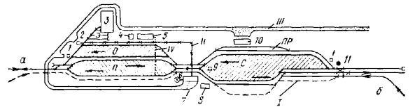
Сочетания элементов, образующих трехэлементный вогнутый профиль необходимой глубины, обеспечивающих длину элементов не менее 200 м, приведены в табл. 2 и на рис. 1.

Таблица 2

Полезная длина приемоотправочного пути

Крутизна противоуклона,

Длина, м

противоуклона

разделительной площадки

650 - 850

1,5

255 - 310

225 - 450

 

2,0

200 - 235

 

 

1,5

315 - 385

 

1050

2,0

235 - 290

280 - 650

 

2,5

200 - 230

 

 

1,5

375 - 460

 

1250

2,0

280 - 345

335 - 800

 

2,5

225 - 275

 

Рис. 1. Трехэлементный вогнутый продольный профиль приемоотправочных путей

1-1 - перегон; iпу - крутизна противоуклонов, равная 1,5 ¸ 2,5 %о; iгр - величина уклонов горловины, %о; li - длина противоуклонов; lрп - длина разделительной площадки; lпо - полезная длина приемоотправочного пути; lгр - длина горловин; L - длина станционной площадки; hпу - глубина понижения профиля

2.8. Расположение станции на уклоне должно быть обосновано технико-экономическим расчетом. В этом расчете экономия за счет сокращения объемов строительных работ или длины трассы подъездного или соединительного пути при расположении станции на уклоне должна быть сопоставлена с увеличением затрат на строительство и эксплуатацию, вызванных необходимостью предотвращения самопроизвольного ухода вагонов.

План станционных путей

2.9. Основные нормы размещения станций, разъездов и обгонных пунктов, а также их отдельных элементов в плане приведены в табл. 3.

Таблица 3

Станции и их элементы

Условия расположения в плане

нормальные

трудные

особо трудные

1. Станции и отдельные их парки с числом парковых путей более 5, разъезды, обгонные пункты

На прямых участках пути

На кривых, обращенных в одну сторону, радиусом не менее 500 м

При отсутствии маневровой работы - на обратных кривых радиусом не менее 500 м

2. Станции с числом парковых путей 5 и менее

То же

При маневровой работе, не связанной с сортировкой вагонов (прицепка, отцепка, перестановка), - на обратных кривых радиусом не менее 350 м. В отдельных обоснованных случаях при переустройстве (реконструкции) допускается сохранение существующих радиусов кривых, но не менее 160 м

3. Станции, расположенные на карьерах и на отвалах

»

На кривых, обращенных в одну сторону, радиусом не менее 200 м, а при переустройстве (реконструкции) - 160 м

4. Стрелочные горловины и отдельные стрелочные переводы

»

-

На прямых участках пути. При обосновании и переустройстве станций - на кривых участках. При этом следует учитывать, что переводы с односторонним направлением кривых вписываются в кривые радиусом не менее 400 м, а с разносторонним направлением кривых - 500 м

5. Проектирование переходных кривых на станциях, разъездах и обгонных пунктах

Переходные кривые между кривыми проектируют по нормам, предусмотренным для соединительных путей. Если на главных и приемоотправочных путях станций не предусматривается безостановочный пропуск поездов, кривые участки допускается проектировать без переходных кривых и возвышения наружного рельса

6. Вытяжные пути

На прямых участках пути

На кривых, обращенных в одну сторону, радиусом не менее 600 м

На кривых, обращенных в одну сторону, радиусом не менее: 500 м - при маневровых локомотивах со сцепной массой свыше 120 т; 300 м - при маневровых локомотивах со сцепной массой 50 - 120 т; 200 м - при маневровых локомотивах со сцепной массой менее 50 т.

При соответствующем обосновании допускается сохранение обратных кривых на существующих вытяжных путях; при этом должны быть обеспечены необходимые условия для безопасной маневровой работы

7. Прямые вставки между переходными кривыми, а при их отсутствии - круговыми кривыми

15 - 20 м - между обратными кривыми при радиусах хотя бы одной из них 250 м и менее. При радиусах более 250 м прямые вставки между обратными кривыми допускается не предусматривать. На путях, не предназначенных для организованного прохода поездов, прямые вставки можно не предусматривать, независимо от радиуса кривых

8. Радиусы кривых в пределах путей, соединяющих отдельные парки станции, и путей следования одиночных локомотивов

200 м

150 м; при обращении на станционных путях магистральных маневровых электровозов и тепловозов с колесной формулой 3-3-160 м

9. Прямые вставки перед воротами зданий или грузовыми фронтами на станциях

Не менее длины наиболее длинного вагона, подаваемого в здание или на фронт

2 м при уширении в необходимых случаях ворот зданий для обеспечения габарита приближения строений

Расстояния до зданий, сооружений и между осями смежных путей

2.10. Расстояния от оси железнодорожного пути до зданий и сооружений по горизонтали, а также от головки рельса до элементов сооружений по вертикали на прямых участках путей принимают по ГОСТ 9238-83.

2.11. Для путей, сооружений и устройств в приемоотправочных и других парках промышленных станций, обслуживаемых железной дорогой общего пользования, применяется габарит приближения строений по ГОСТ 9238-83.

Для путей, сооружений и устройств промышленных железнодорожных станций, в том числе на территории и между территориями заводов, фабрик, мастерских, депо, речных и морских портов, грузовых дворов, складов и других промышленных и транспортных предприятий независимо от системы обслуживания применяется габарит приближения строений по ГОСТ 9238-83.

2.12. В кривых участках пути габариты приближения строений увеличивают согласно инструкций по применению габаритов приближения строений и подвижного состава и ГОСТ 9238-83.

2.13. Вертикальные размеры габаритов приближений строений должны соблюдаться в течение всего периода эксплуатации сооружения и устройства. Поэтому строительные размеры сооружений и устройств по высоте назначают с учетом возможного изменения уровня верха головок рельсов: понижения - вследствие износа рельсов, повышения - вследствие укладки более высоких типов рельсов, перехода на щебеночный балласт, подъемки пути и др.

2.14. Расстояния между осями смежных путей на прямых участках должны быть не менее указанных в табл. 4.

2.15. В целях соблюдения безопасности труда станционных работников опоры освещения, связи и прочие сооружения, устанавливаемые в междупутьях, должны, по возможности, располагаться в уширенных междупутьях станций или за пределами путевого развития.

2.16. Сооружения и устройства, располагаемые между путями, должны сосредоточиваться между ограниченным числом междупутий с тем, чтобы не затруднять механизированную очистку и уборку снега и мусора снегоуборочными и другими машинами.

2.17. На станциях через каждые 6 - 10 путей, а в отдельных случаях между группами путей различной специализации, предусматриваются междупутья 6500 мм.

2.18. Взаимное расположение опор контактной сети и других сооружений и сигналов должно обеспечивать их видимость, необходимую по условиям движения поездов.

Таблица 4

Пути

Расстояние между осями смежных путей на станциях, мм

нормальное

наименьшее

1. Главные

5300

4800

2. Главные и смежные с ними

5300

5300

3. Сортировочно-отправочных, отправочных и приемоотправочных парков

5300

4800

4. Сортировочных и предгорочных парков

5300

4800

5. Приемоотправочные пути станций, расположенных на территории предприятий, при отсутствии приемосдаточных операций

4800

4800

6. Крайние пути смежных пучков путей сортировочного парка

6500

5300

7. Стрелочная улица и смежный с ней путь

5300

5300

8. Вытяжной и смежный с ним путь

6500

5300

9. Экипировочные при наличии на них смотровых канав

5500

5500

10. Пути парка отправления при механизации продольной и поперечной транспортировке запасных частей для ремонта вагонов в поездах

Через один путь 5600 и 5300

Через один путь 5600 и 5300

11. Весовой и смежный с ним путь со стороны весовой платформы

5300

5300

12. Пути для отцепочного ремонта вагонов

Через один путь 6000 и 7500

Через один путь 5300 и 7500

13. Вспомогательные станционные пути отстоя подвижного состава и погрузочно-разгрузочных фронтов (кроме путей для перегрузки)

4800

4500

14. Погрузочно-разгрузочный путь у специализированной высокой платформы и смежный парковый или другой путь (при отсутствии особых требований)

6500

6300

15. Для перегрузки непосредственно из вагона в вагон габарита I-T

3650

3600

16. Для перегрузки из вагонов колеи 1520 (1524) мм в вагоны колеи 750 мм и обратно при уровне полов вагонов:

одинаковом

3600

3200

разном

3600

3600

Примечания: 1. Наименьшие нормы допускается применять только в стесненных условиях при соответствующем обосновании. 2. В особо трудных условиях при реконструкции горок допускается сохранять существующие междупутья между пучками сортировочного парка, но не менее 4800 мм, если увеличение междупутий не вызвано устройством каких-либо сооружений. 3. В особо трудных условиях допускается уменьшать расстояния между вытяжным и смежным с ним путем до 4800 мм.

2.19. При расположении в междупутьях колонн, опор, светофоров, стрелочных будок и других сооружений и устройств расстояние между осями путей в необходимых случаях увеличивается в соответствии с требованиями ГОСТ 9238-83.

На кривых участках расстояния между осями смежных путей и сооружениями, расположенными на междупутьях, увеличивают в соответствии с требованиями инструкций по применению габаритов приближения строения и подвижного состава и ГОСТ 9238-83.

При переустройстве или удлинении путей существующих станций и постов допускается уширять междупутья до требуемой нормы для установки сигналов, столбов и других устройств только в переустанавливаемой части.

2.20. Расстояние между осями путей внутри зданий и цехов следует устанавливать с учетом требований соответствующих норм технологического проектирования.

2.21. Расстояние между осью пути, по которому предполагается перевозка негабаритных грузов (металлоконструкций, узлов оборудования и т.д.), со смежным с ним путем устанавливается расчетом.

Полезная длина станционных путей

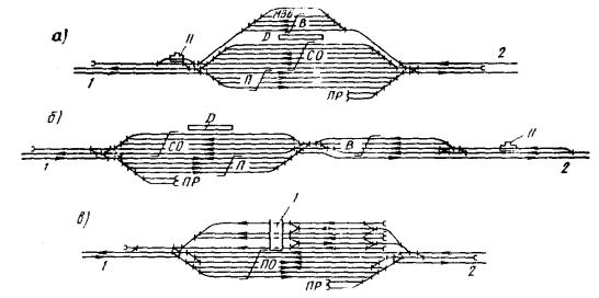
2.22. Полезная длина пути (L) определяется между предельными столбиками (рис. 2, а), предельным столбиком и стыком рамного рельса стрелочного перевода (рис. 2, б), предельным столбиком и сигналом (рис. 2, в, г).

Полезная длина вытяжных, надвижных и других тупиковых путей ограничивается предельным столбиком, сигналом (а при его отсутствии - стыком рамного рельса) и началом засыпки балластной призмы упора (рис. 2, д).

На станционных путях, оборудованных электрическими рельсовыми цепями, полезная длина путей определяется с учетом установки изолирующих стыков, рис. 2, е. Изолирующие стыки устанавливаются:

в створе с проходными, входными и маневровыми светофорами. Допускается сдвижка изолирующих стыков до 10,5 м по направлению движения и до 2 м против движения поездов. Сдвижка изолирующих стыков у входных светофоров допускается в обе стороны не более чем на 2 м. На станционных путях, используемых для приема и отправления поездов обоих направлений, а также на сортировочных путях (для получения максимально возможных длин путей) установка изолирующих стыков должна производиться на минимально допускаемом расстоянии от предельного столбика, равном 3,5 м. При этом сдвижка изолирующих стыков, как по направлению движения, так и против него, не должна допускаться, а расстояние между стыками и светофором не должно превышать 40 м. Для соблюдения этих требований между концом крестовины и изолирующими стыками могут укладываться нестандартные рельсовые рубки;

у стрелок, оборудованных электрической централизацией, участвующих в немаршрутизированных маневровых передвижениях, изолирующие стыки устанавливаются на расстоянии не менее 12,5 м от остряков одиночной или первой из спаренных стрелок и на расстоянии 25 м от остряков второй спаренной стрелки. Для одиночных стрелок, оборудованных быстродействующими приводами, расстояние от остряков до изолирующих стыков может быть сокращено до 6 м.

При наличии зависимости, обеспечивающей замыкание стрелок от занятия соседнего изолирующего участка, допускается при соответствующем обосновании установка изолирующих стыков на меньшем расстоянии.

На станциях с электрической централизацией при маневровых передвижениях по замкнутым маршрутам, а также на станциях с ручным обслуживанием стрелок, изолирующие стыки могут быть установлены у начала рамного рельса.

Рис. 2. Полезная длина станционных путей с учетом расположения сигналов и изолирующих стыков

1 - стык рамного рельса; 2 - стык рамного рельса и изолирующий; 3 - начало балластной призмы; 4 - изолирующие стыки

2.23. Станционные площадки следует проектировать, как правило, в плане на прямой параллельно направлению господствующих метелеобразующих ветров или близкому к нему, а в профиле - насыпями расчетной высоты. При этом следует по возможности избегать размещения станционных площадок в выемках, особенно в переувлажненных, а также расположенных на кривых. При невозможности выполнения указанных требований в проекте должны быть предусмотрены специальные мероприятия (снегозащитные устройства, теплоизолирующие прослойки, дренажи и др.).

На участках распространения подвижных песков продольный профиль следует проектировать насыпью высотой более 0,9 м.

2.24. Станции должны проектировать с учетом механизированной очистки от снега и быстрой его уборки со станционных путей; при этом должны быть предусмотрены места для выгрузки снега непосредственно в районе станционной площадки или за ее пределами. На станциях, расположенных на предприятиях и в зоне городской застройки, при недостатке площадей складирования снега следует предусматривать установку снеготаялок с водоотводными сооружениями от них.

При проектировании устройств электрической централизации станций, расположенных в снего- и пескозаносимых участках, следует предусматривать механизированные средства очистки стрелочных переводов.

2.25. Ширина земляного полотна поверху устанавливается с учетом числа проектируемых путей, уровня расположения отдельных станционных путей и парков и возможности увеличения числа станционных путей на перспективу.

Размеры междупутий и разрывов между парками назначают с учетом размещения откосов полотна, водоотводных устройств, а в случае необходимости - устройств и оборудования для защиты путей от заносимости снегом и песком, а также и других устройств.

При необходимости учитываются также автомобильные дороги для проезда служебных и пожарных автомашин или проезды шириной не менее 6 м с выездом на автомобильные дороги. При проектировании проездов в междупутье или в стесненных условиях допускается уменьшать их ширину до 4,5 м.

Верхнее строение и соединение путей

2.26. Тип верхнего строения на промышленных станциях принимается в зависимости от объема перевозок на прилегающих к станции участках подъездных и соединительных путей, осевой нагрузки подвижного состава и назначения путей на станциях.

На главных и приемоотправочных станционных путях, по которым предусматривается безостановочный пропуск поездов, типы верхнего строения принимают как на соединительных путях, по СНиП 2.05.07-85, а на главных и путях приема поездов со стороны внешнего (подъездного) пути - по СНиП II-39-76.

На главных и приемоотправочных путях станций, по которым не намечается безостановочный пропуск поездов, на сортировочных, вытяжных и других станционных путях тип верхнего строения принимают по табл. 5.

2.27. На главных, приемоотправочных, сортировочных и прочих путях станций, к которым примыкают внутренние соединительные или подъездные пути, имеющие разные объемы перевозок, типы верхнего строения принимают по размерам перевозок со стороны подхода путей, имеющих большой объем перевозок.

2.28. При осевой нагрузке подвижного состава св. 290 до 450 кН и при объеме перевозок на прилегающем к станции перегоне св. 10 млн. т брутто в год, а также при осевой нагрузке св. 450 кН независимо от объема перевозок следует применять рельсы типа Р75 или Р65 новые на деревянных шпалах с эпюрой 1840 шт. на 1 км и двухслойном балласте толщиной верхнего слоя не менее 30 см и подушки - 20 см или применять специальные конструкции (подбалластные плиты и т.п.).

Таблица 5

Показатели верхнего строения пути

Показатели при осевой нагрузке подвижного состава, кН

до 230

св. 230 до 290

св. 290 до 450

при объеме перевозок на прилегающем перегоне, млн. т брутто в год

до 5

св. 5 до 10

св. 10

до 5

св. 5 до 10

св. 10

до 10

Тип рельсов

Р50С

Р50С

Р65С

Р50С

Р50 - Р65С

Р65С

Р65С

Число шпал на 1 км пути

1440

1440

1600

1440

1600

1600

1600

Толщина балластной призмы под деревянной шпалой, см:

 

 

 

 

 

 

 

однослойной

20

20

25

25

25

-

-

двухслойной

-

-

-

-

-

20/20

20/20

Толщина балластной призмы под железобетонной шпалой, см:

 

 

 

 

 

 

 

однослойной

25

-

-

30

-

-

-

двухслойной

15/20

-

-

20/20

-

-

-

2.29. На сортировочных горках мощность верхнего строения принимают по пп. 35 - 36 прил. 6.

2.30. Поверхность балластной призмы должна быть на 3 см ниже поверхности деревянных шпал и в одном уровне с поверхностью средней части железобетонных шпал.

2.31. Междупутья на станциях при расстоянии между осями смежных путей до 6,5 м следует заполнять балластом.

2.32. Поверхности балласта между торцами шпал смежных путей придают поперечный уклон в соответствии с поперечным уклоном поверхности земляного полотна.

2.33. Балластную призму смежных путей при расстоянии между их осями на раздельных пунктах 6,5 м и более, а на подходах к станциям 5 м и более (кроме районов распространения вечной мерзлоты) допускается проектировать раздельной с обеспечением отвода воды из междупутного пространства.

2.34. На надвижной части горки, на вытяжных путях, а также у крайних путей приемоотправочных парков при производстве безотцепочного ремонта вагонов в поездах балластный слой должен быть уширен согласно указаниям п. 27 прил. 6.

Таблица 6

Назначение путей

Марки крестовин

стрелочных обыкновенных

переводов крестных

симметричных

глухих пересечений

1. Пути приема и отправления поездов и пути следования сцепов с длинномерными грузами

1/9

1/9

1/6

2/9

2. Подгорочные пути

1/9

2/9 и 2/6

1/6

-

3. Прочие станционные пути, кроме специальных

1/7

1/7

1/4,5

2/6

4. Специальные пути на станциях металлургических заводов: чугуновозные, шлаковозные и слитковозные пути

1/6

1/7

1/3,5

2/6

5. То же, на реконструируемых заводах, пути движения мульдовых составов и пути разливочных площадок конвертерных цехов

1/5

1/7

1/3,5

2/6

6. Пути обращения ковшей миксерного типа

1/7

1/7

1/4,5

2/6

На надвижной части горки в пределах зоны расцепки вагонов длиной 70 - 80 м, как правило, не должно быть стрелочных переводов. При наличии стрелочных переводов в этой зоне следует предусмотреть настил в уровне головок рельсов.

2.35. Крутизна откосов балластной призмы принимается 1:1,5 для всех балластных материалов, а крутизна откосов подушки 1:2.

2.36. Стрелочные переводы на станциях следует предусматривать одиночные и перекрестные. На переустраиваемых путях в трудных условиях допускается применение двойных стрелочных переводов, а в трудных и особо трудных условиях при соответствующем обосновании - глухих пересечений.

2.37. Стрелочные переводы должны соответствовать типу укладываемых рельсов на станционных путях и иметь крестовины соответствующих марок не круче указанных в табл. 6.

Стрелочные переводы более крутых марок, чем указаны в табл. 6, допускается применять, если радиусы их переводных кривых не менее принятых для пути, на котором укладываются эти стрелочные переводы.

На путях обращения специального подвижного состава, не указанных в табл. 6, марки крестовин назначают в проекте в зависимости от допустимого радиуса вписывания этого подвижного состава.

2.38. В голове сортировочного парка, как правило, укладывают симметричные стрелочные переводы марки 1/6 или перекрестные съезды марки 2/6. При числе путей в сортировочном парке не более 7 могут укладываться стрелочные переводы марки 1/9.

2.39. На путях станций, по которым производится безостановочный пропуск поездов, а также на путях приема и отправления поездов в пределах головы сортировочных парков, на сортировочных и вытяжных путях в пределах зоны торможений или разгонов должна предусматриваться установка противоугонов.

2.40. Основания под стрелочными переводами, устройства по очистке стрелок, установка упоров и предельных столбиков на станциях должны соответствовать пп. 2.89 - 2.91 СНиП 2.05.07-85.

3. ПРИМЫКАНИЕ СОЕДИНИТЕЛЬНЫХ ПУТЕЙ К ПРОМЫШЛЕННЫМ СТАНЦИЯМ

3.1. Соединительные пути должны примыкать к горловинам станций так, чтобы была в максимальной степени обеспечена возможность одновременного приема и отправления поездов (подач) по внешним железнодорожным и другим соединительным путям.

3.2. В обоснованных случаях допускается примыкание соединительных путей к вытяжным путям, а в трудных условиях - середине парковых путей, если эти пути не предназначены для приема и отправления поездов. При этом требуется обязательная проверка загрузки вытяжного пути при общем среднесуточном количестве перерабатываемых на нем вагонов более 100.

3.3. Для предотвращения столкновения вагонов, ушедших с соединительных путей, с подвижным составом на станциях должны проектироваться предохранительные устройства: предохранительные тупики, тормозные замедлители, сбрасывающие стрелки, остряки или башмаки и т.п.

Решение об установке предохранительных устройств принимается на основании анализа профиля и плана соединительных путей, включая пути стоянки отцепленных от локомотива вагонов.

3.4. Предохранительные устройства могут не устанавливаться в следующих случаях, если:

все пути стоянки отцепленного подвижного состава, связанные через соединительные пути со станционными путями, расположены на уклонах не менее 1,5 %о и направлены спуском в сторону от станции;

все пути стоянки отцепленного подвижного состава расположены на уклонах менее 1,5 %о со спуском в сторону от станции вплоть до горизонтальной площадки и к ним непосредственно примыкает подъем в сторону станции крутизной не менее 1,5 %о с перепадом высот между вершиной подъема и его основанием не менее 0,3 м.

В обоих случаях значения дополнительных сопротивлений от стрелок и кривых не учитываются.

3.5. Предохранительные устройства должны обязательно устанавливаться в следующих случаях:

если пути стоянки отцепленного подвижного состава расположены на спусках в сторону от станции менее 1,5 %о, горизонтальных площадках или спусках в сторону станции любой крутизны, причем к путям стоянки непосредственно примыкает отрезок пути, расположенный: на подъеме в сторону станции крутизной не менее 1,5 %о с перепадом высот между вершиной подъема и его основанием менее 0,3 м; на подъеме в сторону станции менее 1,5 %о; на горизонтальной площадке; на спуске любой крутизны в сторону станции и, кроме того, если за примыкающим к пути стоянки вагонов отрезком пути имеются элементы, расположенные на спусках любой крутизны в сторону станции, горизонтальных площадках или подъемах в сторону станции крутизной менее 4,8 %о с учетом дополнительного сопротивления от стрелок и кривых.

3.6. Во всех других случаях расположения путей стоянки отцепленного подвижного состава и соединительных путей в профиле и плане решение о необходимости установки предохранительных устройств принимается на основании расчетов скоростей движения вагонов.

3.7. Расчет скоростей движения вагонов осуществляется поэлементно. Для этого весь путь до предельного столбика стрелки примыкания разбивается на элементы пути длиной не более 100 м, на которых определяют крутизну уклонов, значения сопротивлений движению вагонов, в том числе и дополнительных, а также скорость ветра. Затем выбирают такие пути для стоянки и маршруты движения вагонов, которые являются наиболее благоприятными для разгонки и ускорения движения в сторону станции. Расчет конечной скорости движения вагонов на первом и последующем элементах выполняется по формуле

(6)

где υн - начальная скорость движения вагонов на каждом элементе пути, м/с; l - длина элемента пути, м; i - крутизна уклона, %о; знак (+) принимается при спуске, знак (-) - при подъеме в сторону станции; ωо - основное сопротивление движению вагонов, Н/кН; ωк - дополнительное сопротивление движению вагонов от кривых, Н/кН; ωс - дополнительное сопротивление движению вагонов от стрелок, Н/кН; υв - скорость ветра, м/с.

На первом элементе, который выбирается наиболее удаленным от станции на пути стоянки вагонов, начальная скорость принимается равной нулю. Полученная конечная скорость принимается в качестве начальной скорости для второго элемента и т.д.

На погрузочно-выгрузочных, выставочных, ремонтных и других путях в пределах зоны стоянки вагонов принимают ωо = 4,07 Н/кН, ωк = ωс = 0, υв = 10,8 м/с; на остальном протяжении подъездных и соединительных путей ωо = 2,03 Н/кН, υв = 12 м/с.

3.8. Если за пределами зоны стоянки вагонов имеются кривые и стрелки, то расчет υк производится с учетом дополнительных сопротивлений ωк и ωс:

ωк = 516/R;                                                                   (7)

                                                            (8)

где R - радиус кривой, м; Pс - работа сил сопротивлений при движении вагонов по стрелочному переводу, Нм/кН; n - количество стрелочных переводов на элементе пути длиной l.

Значения Pс для стрелочных переводов с крестовинами марки 1/9 и 1/6 приведены в табл. 7. Для остальных стрелочных переводов величина Pс определяется по формуле

Pс = 12Σα + 20n,                                                          (9)

где Σα - сумма углов поворота на всех стрелочных переводах, расположенных на элементе пути длиной l, град.

Таблица 7

Стрелка

Марка крестовины

Направление движения

Pс, Нм/кН

Обыкновенная

1/9

Прямое

20

»

1/9

На боковой путь

76

Симметричная

1/6

-

57

3.9. Если в процессе последовательных расчетов по формуле (6) оказывается, что υк < 0 или υ - мнимое число, то дальнейший расчет прекращается. Делается вывод о том, что вагоны останавливаются, не доходя до предельного столбика стрелки примыкания к станции, и, следовательно, установка предохранительных устройств на участках примыкания подъездных или соединительных путей нецелесообразна. Если на всем протяжении пути υк > 0, то делается вывод о том, что вагоны не останавливаются, и на участке примыкания необходима установка предохранительных устройств.

3.10. Во всех случаях, где имеется возможность направить самопроизвольно уходящие вагоны в предохранительные тупики, на вытяжные или другие второстепенные малодеятельные пути, должны применяться охранные стрелки. Однако следует учитывать, что сами по себе охранные стрелки только отводят вагоны в сторону от охраняемого пути или маршрута. Поэтому совместно с охранными стрелками должны применяться дополнительные устройства (предохранительные тупики, тормозные замедлители и др.) или организованы специальные технологические мероприятия по обеспечению безопасной маневровой работы на станции.

3.11. В тех случаях, когда невозможно применение охранных стрелок совместно с дополнительными устройствами или организацией специальных технологических мероприятий, необходимо применять предохранительные тупики или сбрасыватели. Сферы применения тупиков и сбрасывателей определяются допускаемой скоростью входа вагонов на стрелку тупика или сбрасыватель, исходя из обеспечения надежного отвода вагонов в тупик или сброса вагонов.

3.12. Скорость входа для существующих конструкций сбрасывающих башмаков составляет 10 км/ч; для стрелок предохранительных тупиков, двойных и подъемных остряковых сбрасывателей предельные скорости вагонов по боковому пути (по условию схода подвижного состава) определяют по табл. 8, для одиночных остряковых сбрасывателей скорости практически не ограничиваются.

3.13. Предохранительные тупики обеспечивают большую сохранность ушедшего подвижного состава и грузов, чем сбрасыватели, однако если для их размещения не оказывается необходимой площади, единственными предохранительными средствами являются сбрасыватели.

3.14. При выборе типа сбрасывающего устройства предпочтение следует отдавать сбрасывающему башмаку, который может устанавливаться в любом месте пути, не нарушая целости рельсовой нити, он экономичен в обслуживании. Если скорость вагонов в месте установки сбрасывающего устройства превышает 10 км/ч, следует применять сбрасывающие стрелки или остряки.

Таблица 8

Предельные скорости вагонов по боковому пути стрелочных переводов по условию схода подвижного состава

Стрелочные переводы

Марка перевода

Тип рельсов

Предельная скорость, км/ч

Обыкновенные

1/11, 1/9

Р65

Р50

85

70

Симметричные

1/6 для приемоотправочных путей

Р65

Р50

70

70

1/6 для горочных путей

Р65

Р50

55

55

Перекрестные

1/9

Р65

Р50

65

60

1/7

Р65

Р50

45

40

1/5

Р65

Р50

35

30

4. ГРУЗОВЫЕ ПУНКТЫ

4.1. На железнодорожных путях грузовых пунктов производится расстановка вагонов для выполнения грузовых операций, непосредственная погрузка или выгрузка грузов из вагонов, при необходимости, передвижение вагонов в процессе погрузки или выгрузки и сборка вагонов для отправления.

4.2. Путевое развитие грузового пункта зависит от типов объединяемых им грузовых фронтов, устанавливаемой технологии подачи и уборки вагонов на грузовой пункт и видов транспортной связи между фронтами и складами или производствами.

4.3. Грузовые фронты в зависимости от способа производства погрузочно-выгрузочных операций подразделяются на два типа:

точечные фронты с одной погрузочно-разгрузочной машиной или установкой, обслуживающие одновременно только один вагон, или многоточечные фронты, производящие погрузку или разгрузку в нескольких точках, но в каждой точке одновременно только один вагон. При этом механизмы и установки не меняют своего положения относительно фронта. Передвигаются только вагоны;

линейные фронты характеризуются возможностью обслуживания всех или групп вагонов погрузочными или разгрузочными машинами или установкой без выполнения маневров с подачей.

4.4. Схемы путей грузовых пунктов должны проектироваться с учетом следующих требований.

При точечных фронтах погрузки (выгрузки):

подача, уборка и перестановка групп вагонов на фронтах при делении состава на части должны производиться без пропуска локомотива под точкой погрузки;

длина погрузочного или выгрузочного пути должна обеспечивать передвижение подаваемого состава (группы вагонов) вдоль фронта - относительно точки погрузки или выгрузки, а также размещение на пути средств передвижения вагонов;

каждый фронт должен, как правило, обслуживаться самостоятельным погрузочным или разгрузочным путем. В отдельных случаях, при расположении нескольких фронтов на общем пути к фронтам, должна быть обеспечена обособленная подача вагонов;

в отдельных случаях после выгрузки сыпучих грузов на фронте могут предусматриваться пути и устройства для подборки порожних вагонов по их годности под погрузку на других фронтах.

При линейных фронтах погрузки (выгрузки):

должны быть обеспечены подача, уборка и расстановка групп вагонов вдоль фронта работ по погрузке (выгрузке);

при размещении на одном погрузочном (выгрузочном) пути нескольких, не связанных друг с другом фронтов, параллельно основному пути должен укладываться второй путь, а первый - секционироваться съездами. Каждая отделенная съездом секция основного пути рассматривается при этом как самостоятельный погрузочно-выгрузочный фронт.

4.5. В общем случае путевые схемы грузовых пунктов могут включать в себя и точечные, и линейные фронты погрузки или разгрузки.

4.6. Путевые схемы грузовых пунктов зависят от способа подачи и уборки вагонов с грузового пункта (локомотивом в «голове» или «хвосте» состава) и должны предусматривать следующую технологию организации маневровой работы:

подачу составов на грузовые пункты производят, как правило, с предварительно подобранными в них вагонами по основным грузовым фронтам;

подачу вагонов и уборку их с грузовых пунктов производят, как правило, раздельно. Исключение могут составлять обособленно расположённые грузовые пункты;

на грузовых пунктах, для которых по технико-экономическим соображениям подачу вагонов совмещают с их уборкой, а расстановку - с подборкой по грузовым фронтам, предусматривают укладку дополнительных путей;

на грузовых пунктах, объединяющих несколько грузовых фронтов различных типов, замену поданных под грузовые операции вагонов могут производить с использованием всех погрузочно-разгрузочных путей грузового пункта.

Таблица 9

Порядок установки вагонов на грузовом фронте и производства грузовой операции

Погрузка (выгрузка), складирование и выдача в производство (приемка из производства)

Подача и уборка вагонов

Передвижение вагонов на грузовом фронте

Требования к путевой схеме грузового пункта

№ схемы механизации

I. Навалочные грузы открытого хранения

1. Выгрузка на точечных фронтах

Начало выгрузки - последний вагон подачи. Протяжка состава через грузовой фронт до начала выгрузки; выгрузка, начиная с последнего вагона

Выгрузочное устройство бункерного типа, ленточный конвейер, склад открытый веерного типа

Подача вагонов на фронт локомотивом в «хвосте» состава, уборка - со стороны подачи

Стационарное маневровое устройство

Тупиковые выгрузочные пути длиной не менее удвоенного размера подачи

Рис. 4, г

Начало выгрузки - первый вагон подачи. Вытягивание состава и надвиг его на вагоноопрокидыватель

Вагоноопрокидыватель, ленточный конвейер, склад открытый, оборудованный козловым перегружателем, экскаватором и др., а также бункерами для подачи материала в производство

Подача вагонов на фронт локомотивом в «хвосте» состава, уборка - с угловым заездом через вытяжные пути

Электротолкатель

Дополнительно к выгрузочным путям, длиной не менее удвоенного размера подачи, требуется устройство ходового и вытяжного путей

Рис. 4, б, г, д

2. Выгрузка на линейных грузовых фронтах

Выгрузка одновременно всей подачи

Эстакады, повышенные пути, бульдозер, автопогрузчик, ленточный конвейер

Подача вагонов локомотивом в «хвосте» состава, уборка - со стороны подачи

Не передвигаются

Выгрузочный путь длиной не менее размера подачи

Рис. 5, а, б

Выгрузка состава механизмами, перемещающимися вдоль фронта выгрузки

Специальные вагоноразгрузчики, бульдозер, автопогрузчик, ленточный конвейер

Подача локомотивом в «хвосте» или «голове» состава

Не передвигаются

Выгрузочный путь длиной не менее размера подачи

Рис. 5, б

3. Погрузка на линейных грузовых фронтах

Погрузка состава механизмами, перемещающимися вдоль фронта

Козловые краны и перегружатели, краны на железнодорожном ходу, автопогрузчики, экскаваторы

Подача вагонов локомотивом в «голове» или «хвосте» состава

Не передвигаются

Погрузочный путь длиной не менее размера подачи

Рис. 5, а

4. Погрузка на точечных грузовых фронтах

Начало погрузки - первый вагон подачи

Погрузочный бункер

Подача вагонов локомотивом в «хвосте» состава. Уборка вагонов с угловым заездом через вытяжной путь

Стационарные маневровые устройства

Погрузочный путь длиной не менее удвоенного размера подачи

Рис. 3, в, д

II. Навалочные грузы закрытого хранения

1. Выгрузка из открытого подвижного состава на точечных фронтах

Начало выгрузки - последний вагон подачи. Протяжка состава через грузовой фронт до начала выгрузки; выгрузка, начиная с последнего вагона с передвижением состава вперед

Выгрузочное устройство бункерного типа, ленточный конвейер, склад закрытый, штабельно-бункерный

Подача вагонов локомотивом в «хвосте» состава, уборка - со стороны подачи

Стационарное маневровое устройство

Выгрузочные пути (тупиковые) не менее удвоенного размера подачи

Рис. 4, б, г, д

Начало выгрузки - первый вагон подачи. Вытягивание состава и надвиг его на вагоноопрокидыватель

Вагоноопрокидыватель, ленточный конвейер, склад закрытый

Подача вагонов локомотивом в «хвосте» состава, уборка - с угловым заездом через вытяжной путь

Электротолкатель

Дополнительно к выгрузочным путям длиной не менее удвоенного размера подачи, требуется устройство ходового и вытяжного путей

Рис. 4, а, в

2. Выгрузка из открытого подвижного состава на линейных фронтах

Выгрузка одновременно всей подачи или поочередно механизмами, перемещающимися вдоль фронта выгрузки

Траншеи, ленточные конвейеры, специальные вагоноразгрузчики, грейферные краны. Повышенные пути, эстакады

Подача вагонов в «хвосте» состава, уборка - со стороны подачи

Не передвигаются

Выгрузочный путь длиной не менее размера подачи

Рис. 5, а

3. Выгрузка из закрытого подвижного состава на точечных фронтах

Протяжка состава через грузовой фронт до начала выгрузки; выгрузка, начиная с последнего вагона, с передвижением состава к вееру путей

Выгрузка пневморазгрузчиком, приемное устройство на один хоппер или цистерну

Подача вагонов локомотивом в «хвосте» состава; уборка со стороны подачи

Стационарное маневровое устройство

Выгрузочные пути (тупиковые) не менее удвоенного размера подачи

Рис. 4 ,д

4. Выгрузка от закрытого подвижного состава на линейных фронтах

Выгрузка механизмами, перемещающимися вдоль фронта выгрузки

Выгрузка специальными разгрузчиками

Подача вагонов в «хвосте» состава, уборка со стороны подачи

Не передвигаются

Выгрузочный путь длиной не менее размера подачи

Рис. 5, а

5. Погрузка навалочных грузов закрытого хранения

Погрузка на точечных фронтах. Погрузка может производиться одновременно с нескольких точек

Пневмопогрузчиками из бункеров

Подача вагонов в «хвосте» состава

Стационарное маневровое устройство

Погрузочный путь длиной не менее размера подачи

Рис. 3, б

III. Металлы, металлоизделия, тяжеловесные, лесные грузы

Выгрузка и погрузка вагонов в пределах грузового фронта последовательно

Краны, краны-перегружатели различных конструкций

Подача вагонов локомотивом в «голове» или «хвосте» состава

Не передвигаются

Разгрузочный путь не менее размера подачи

Рис. 5, а, б

IV. Тарно-штучные грузы

Погрузка и выгрузка в пределах грузового фронта последовательно

Электропогрузчик, кран-штабелер, ленточный конвейер

Подача вагонов локомотивом в «голове» или «хвосте» состава

Не передвигаются

Разгрузочный путь не менее размера подачи

Рис. 5, а, б

V. Наливные грузы

Слив или налив группы вагонов одновременно

Сливоналивные эстакады

Подача вагонов локомотивом в «хвосте» состава

Частично передвигаются стационарным маневровым устройством

 

 

4.7. Классификация путевых схем грузовых пунктов в зависимости от технологии погрузки или разгрузки приведена в табл. 9.

4.8. Путевые схемы простейших грузовых пунктов с точечными фронтами (рис. 3, а, б; 4, г, д) предусматривают раздельную подачу и уборку вагонов локомотивом в «хвосте» состава с установкой последнего вагона под (над) точкой погрузки (выгрузки) и передвижением вагонов, в процессе их погрузки или разгрузки в сторону, обратную подаче (перемене направления движения). Схемы обеспечивают минимальное путевое развитие.

Путевые схемы грузовых пунктов (рис. 3, в, 4, в) предусматривают также подачу вагонов с локомотивом в «хвосте» состава, но с установкой первого вагона под (над) точкой погрузки (разгрузки) и передвижением вагонов в процессе их погрузки-выгрузки в сторону, совпадающую с подачей.

Уборка погруженных вагонов (см. рис. 3, в) производится по обходному пути со стороны, противоположной подаче. Эта схема обеспечивает возможность совмещения подачи и уборки вагонов и более высокое использование производительности погрузочных устройств по сравнению со схемами, показанными на рис. 3, а и 3, б. В схеме на рис. 4, в (с применением вагоноопрокидывателя) сборка вагонов после выгрузки предусматривается с помощью профилированного пути. Для уборки порожнего состава требуется обходной путь.

Схемами грузовых пунктов с несколькими точечными фронтами (рис. 3, г, 4, б) предусматривается подача вагонов с локомотивом в «голове» состава. По этим схемам требуются пути для приема составов и обгона локомотивов.

Рис. 3. Схемы железнодорожных путей грузовых пунктов погрузки вагонов на точечных фронтах

а, б, в, г - для бункерной погрузки массовых насыпных грузов; д - то же с применением траверзных тележек для передвижения вагонов; I - бункерный склад с конвейерной подачей и выдачей материала; II - силосные склады; III - погрузочное устройство; IV - траверзная тележка

4.9. Схемы путей с линейными фронтами (рис. 5) предусматривают подачу вагонов с локомотивом в «хвосте». В этих схемах, а также в схемах, приведенных на рис. 3, а, б, возможна подача вагонов локомотивом в «голове» состава, для чего необходимо предусматривать устройство специального пути для обгона локомотива (на схемах, приведенных на рис. 5, он предусмотрен) во избежание его задержки на период грузовой операции.

При схеме с краном на железнодорожном ходу (см. рис. 5, б) требуется укладка дополнительного пути для передвижения крана вдоль фронта работ.

Если грузовые операции выполняются мостовым краном, то, как правило, железнодорожный путь укладывается параллельно продольной оси мостовой эстакады.

Рис. 4. Схемы железнодорожных путей грузовых пунктов выгрузки вагонов

а, б, в - для выгрузки массовых насыпных грузов на вагоноопрокидывателе; г - то же, на бункерном выгрузочном устройстве; д - то же, пневморазгрузчиком; V - вагоноопрокидыватель; VI - разгрузочное устройство; VII - тепляк (размораживающее устройство)

При небольших объемах погрузки (выгрузки) и в случае, когда мостовой кран используется на технологических операциях (склад является продолжением цеха), возможна укладка железнодорожных путей перпендикулярно мостовой эстакаде, между ее колоннами.

Рис. 5. Схема железнодорожных путей грузовых пунктов погрузки или выгрузки вагонов на линейных грузовых фронтах

а - склады тарно-штучных и тяжеловесных грузов; б - эстакада для выгрузки сыпучих и площадки, оборудованные краном на железнодорожном ходу; 1 - закрытые склады тарно-штучных грузов; 2 - открытая площадка с козловыми кранами; 3 - вагонные весы; 4 - эстакада для выгрузки сыпучих грузов; 5 - площадки, оборудованные краном на железнодорожном ходу

4.10. Длина железнодорожных погрузочно-разгрузочных путей определяется типом фронта погрузки или разгрузки, размером подачи вагонов и должна включать длину пути для установки и маневровых перемещений вагонов или подач.

Для точечного (многоточечного) фронта в общем случае полезная длина участка Lж.д железнодорожного погрузочно-разгрузочного пути, на который подаются вагоны для выполнения погрузки или разгрузки, равна

Lж.д 2lп - lп.р + lл + Δ,                                                 (10)

где lп - длина фронта подачи вагонов, м; lп.р - длина погрузочно-разгрузочного фронта, м; lл - длина локомотива, м; Δ - дополнительная длина на неточность установки, м.

Длина фронта подачи определяется по формуле

lп = ml,                                                                (11)

где m - число вагонов, подаваемых под погрузку или разгрузку; l - средняя длина вагона, м.

Длина погрузочно-разгрузочного фронта

lп.р = mгl,                                                             (12)

где mг - число вагонов, которые одновременно могут находиться под погрузкой или разгрузкой.

Для линейного погрузочно-разгрузочного фронта длина участка железнодорожного пути

Lж.д lп + lл + Δ.

Длина погрузочно-разгрузочного пути, расположенного непосредственно у склада, в котором механизмы одновременно выполняют складские операции, определяется размерами склада, но должна быть не меньше длины фронта подачи вагонов.

4.11. При использовании нескольких механизмов на одном погрузочно-выгрузочном пути линейного фронта следует учитывать, что для производителей работы каждому механизму требуется минимально необходимый фронт работы, приведенный в табл. 10.

Таблица 10

Машины

Минимальный размер грузового фронта, ваг.

Машины

Минимальный размер грузового фронта, ваг.

1. Краны портальные, козловые, железнодорожные, экскаваторы

3

2. Краны мостовые

3. Краны автомобильные, автопогрузчики

4. Электропогрузчики

2

1

0,5

4.12. Путевые схемы грузовых пунктов должны предусматривать использование совершенного оборудования для комплексной механизации и автоматизации погрузочно-разгрузочных и складских работ, а путевые схемы пунктов с точечными фронтами, кроме того, маневровые устройства для передвижения вагонов.

Для надвига вагонов на точечных фронтах применяют стационарные маневровые устройства или электротолкатели дистанционного управления, а для сбора порожних вагонов после выгрузки на вагоноопрокидывателях - системы тележек или профилированные пути.

4.13. В пунктах массовой выгрузки навалочных грузов могут применяться горки малой мощности для отбора порожних вагонов, используемых под погрузки.

4.14. В пунктах массовой погрузки навалочных грузов могут устанавливаться вагонные весы.

В случаях, когда технология погрузки допускает возможность перегруза вагона, вагонные весы следует устанавливать в точке погрузки. Если установка весов в точке погрузки невозможна, а определить массу обмером или расчетом с необходимой точностью нельзя, то в схеме путей пункта погрузки следует предусматривать пути дозировочного устройства с железнодорожными весами.

При погрузке на нескольких фронтах без дозировочных устройств навалочных грузов, не допускающих перегруза вагона, путевая схема грузового пункта должна предусматривать устройство весового пути с установкой электронных весов для фиксации массы вагона на ходу.

4.15. В пунктах выгрузки насыпных грузов, в зависимости от расстояния и условий их перевозки, может производиться контрольное взвешивание вагонов. Схема путей, как правило, должна обеспечивать взвешивание вагонов на ходу в процессе подачи под выгрузку или в тепляк.

5. РАСПРЕДЕЛИТЕЛЬНЫЕ ПОСТЫ И СТАНЦИИ

5.1. Необходимость устройства и размещения распределительных постов определяют при разработке принципиальных путевых схем железнодорожных путей с учетом обеспечения устанавливаемых размеров, организации и безопасности движения, в увязке с генеральными планами отдельных предприятий или предприятий, объединяемых в промышленный узел.

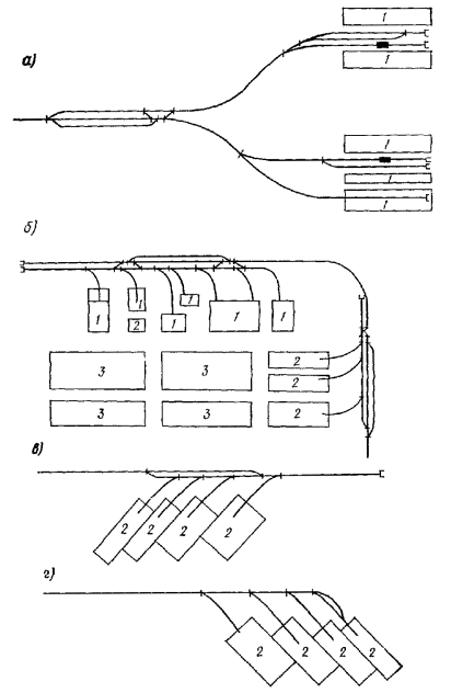
5.2. Распределительные посты устраивают в местах слияния соединительных путей и могут располагаться: перед предприятиями или грузовыми пунктами предприятия (рис. 6, а), последовательно с точкой слияния соединительных путей, образующих веер; под прямым или острым углом к вводам на предприятия или грузовые пункты соединительных путей (рис. 6, б, в) с включением в пост основного ходового пути, объединяющего соединительные пути в веер; непосредственно на одном из соединительных путей, входящих в веер (рис. 6, г).

Пост целесообразно располагать перед предприятиями или грузовыми пунктами (рис. 6, а), когда на предприятие поступают маршрутизированные вагонопотоки.

При поступлении на предприятия или грузовые пункты дробных вагонопотоков посты целесообразно располагать по схемам, показанным на рис. 6, б, в с использованием при подаче и сборке вагонов вытяжного пути, что позволяет сократить маневровые передвижения.

Схема на рис. 6, г применяется также при поступлении дробных вагонопотоков, но при их небольших размерах.

Рис. 6. Схемы размещения распределительных станций

а - последовательное размещение станции; б - параллельное размещение станций; в - размещение станций на веере путей; г - размещение станции на веере путей для дробных вагонопотоков; 1 - склад; 2 - цех; 3 - площадка

Схемами на рис. 6, б, в предусмотрено движение подач с сортировочной (или грузовой станции) с локомотивом в голове. По схеме на рис. 6, г требуется обгон локомотива на посту.

5.3. Распределительные посты для перемены направления движения с обгоном локомотива устраивают по схеме на рис. 7, а, а на слиянии двух однопутных соединительных путей при необходимости обеспечения устанавливаемых размеров движения и для его безопасности - по схеме на рис. 7, б.

Рис. 7. Схемы распределительных постов

а - для перемены направления движения поездов с отцепкой локомотива от состава; б - на слиянии двух однопутных соединительных путей

5.4. Число приемоотправочных путей на постах (без главных путей - при наличии транзитного движения через пост, или без ходовых путей - при отсутствии транзитного движения) следует принимать:

при размерах движения до 12 пар поездов (подач) в 1 сут - 1 путь;

при размерах движения более 12 пар поездов (подач) в 1 сут - 2 пути.

5.5. Распределительные посты в карьерах устраивают по условиям обеспечения расчетных размеров перевозок и безопасности движения с учетом движения поездов в одном направлении (по технологическим условиям) вагонами вперед.

5.6. Для регулирования движения поездов в карьерах применяют посты без путевого развития, оборудованные только предохранительными тупиками. Схемами постов на рис. 8 предусмотрены организация безостановочного пропуска поездов по откаточным путям и задержка поездов с бокового направления на подходе к посту. Поэтому в схемах на рис. 8 и 9, а профиль пути подхода с бокового направления должен обеспечить трогание поезда с места в случаях остановки у сигнала с показанием, запрещающим движение.

Для вывоза на поверхность карьера груженых поездов с помощью толкачей перед перегоном с тяжелыми профильными условиями проектируется пост для толкачей.

5.7. Посты с путевым развитием устраивают для обеспечения потребной пропускной способности.

Рис. 8. Схемы постов примыкания к откаточным путям в карьерах

а - примыкание путей к однопутному участку; б - примыкание путей к двухпутному участку; в - слияние однопутных участков в двухпутный; г - слияние двух двухпутных участков; 1 - верхний горизонт; 2 - нижний горизонт; 3 - горизонт; 4 - выездная траншея

В схемах таких постов (см. рис. 9), как правило, предусматривается:

возможность приема поездов с боковых направлений на шлюзовой или обгонный путь при обеспечении безостановочного пропуска поездов по главному направлению;

возможность скрещения на посту поездов, следующих с однопутных подходов.

Для обеспечения потребной пропускной способности при перемене направления движения поездов проектируют посты телескопического типа, которые позволяют сохранить специализацию главных откаточных путей (рис. 10).

Рис. 9. Схемы постов с путевым развитием (в карьерах)

а - попутное примыкание пути к двухпутному участку; б - примыкание пути к двухпутному участку с угловым заездом; в - слияние однопутных участков в двухпутный участок; г - примыкание двухпутного участка к двухпутному участку с угловым заездом (обозначения см. рис. 8)

5.8. Схемы постов (рис. 9 б - г и 10) составлены с учетом сведения до минимума пересечений поездопотоков на посту. Применение этих схем позволяет при оборудовании постов устройствами электрической централизации избежать сооружения путепроводных развязок даже при очень больших размерах движения поездов.

Схемы заводских распределительных станций отличаются от схем заводских постов (см. рис. 6) числом приемоотправочных путей, которое принимается (без главных) при размерах движения: до 12 пар «передач» в 1 сут - 1 путь; св. 12 - 2 пути.

При выполнении на распределительной станции маневров по отцепке и прицепке групп вагонов, а также отстое групп вагонов в ожидании подачи на грузовые пункты или отправления на сортировочную станцию, на станции дополнительно укладываются 1 - 2 пути, в зависимости от объема и организации работы.

5.9. Распределительные станции в карьерах устраивают для распределения поездов; с пустой породой - на отвальные тупики; с горной массой или рудным телом (углем) - на обогатительные фабрики и углесборочные станции, а также порожних поездов, следующих в обратном направлении из этих пунктов, между забоями.

5.10. Расположение распределительных карьерных станций устанавливают в зависимости от системы вскрытия и разработки карьеров.

При этом проектируется, как правило, одна станция, размещаемая в пункте слияния отвальных путей из нескольких выездных траншей и разветвления путей на отвалы и обогатительную фабрику или для угольных карьеров на углесборочную станцию.

Станции, распределяющие только поезда с пустой породой по отвалам, целесообразно располагать возможно ближе к последним.

Рис. 10. Схемы постов слияния двухпутных участков с путевым развитием (в карьерах)

а - слияние двух двухпутных участков; б - слияние двух двухпутных участков с угловым заездом; в - тупиковый телескопический пост; г - телескопический пост; 5 - на горизонт (обозначения см. на рис. 8)

5.11. Схемами карьерных распределительных станций учитывается следующий порядок организации движения:

движение груженых поездов на отвалы вагонами вперед;

пропуск груженых поездов по распределительной станции преимущественно без остановки;

выполнение на станции следующих операций с порожними составами: технический осмотр подвижного состава и экипировка локомотивов, опробование автоматических тормозов, обработка вагонов в зимнее время профилактическими средствами против смерзания в них породы и горной массы;

движение груженых поездов при трехпутной выездной траншее по двум крайним главным путям, при четырехпутной траншее - по двум средним главным путям, на путях к отвальным тупикам, примыкающим к станции - двухстороннее движение груженых и порожних составов.

5.12. На рис. 11, а, в, г пунктиром показано путевое развитие породных станций при примыкании к ним соединительного пути на обогатительную фабрику или углесборочную станцию. Схемой на рис. 11, д предусматривается разделение поездопотоков с пустой породой на отвалы и горной массы (угля) - на обогатительную фабрику или углесборочную станцию при двухпутных подходах.

5.13. Число приемоотправочных путей на распределительных станциях карьеров для каждого направления движения отдельно может приниматься по табл. 11.

5.14. Локомотивовагонное и экипировочное хозяйства и установки по обработке порожних вагонов для предотвращения смерзаемости сыпучих грузов должны быть расположены со стороны путей, предназначенных для приема порожняковых составов.

В головной части одного из крайних путей, специализированных для порожняковых составов, может устраиваться смотровая канава для осмотра локомотивов при смене локомотивных бригад.

Рис. 11. Схемы породных и карьерных распределительных станций

а - при двухпутной выездной траншее; б - при двухпутной выездной траншее и угловом движении на отвал; в - при трехпутной выездной траншее; г - при четырехпутной выездной траншее; д - при четырехпутной выездной траншее и двухпутных подходах с отвалов и обогатительной фабрики; 1 - карьер; 2 - смотровая канава; 3 - отвалы; оф - обогатительная фабрика; СБ - углесборочная станция

Таблица 11

Число поездов, прибывающих с одного направления в 1 сут

Число путей для направлений движения

груженого

порожнего

50

1

1

100

1

2

140

2

2

200

2

3

300

3

4

Примечания: 1. Число путей для пропуска поездов определено из условий оборудования станций электрической централизацией стрелок и без учета путей, необходимых для выполнения специальных требований, связанных с технологией перевозок (обработка вагонов профилактическими средствами против смерзаемости и т.п.), а также путей для стоянки и ремонта подвижного состава и технических средств на станции. 2. Таблицей не учтены главные пути, число которых принимается отдельно, но не более двух на станцию.

6. ПРОМЫШЛЕННЫЕ ГРУЗОВЫЕ СТАНЦИИ

6.1. Промышленные грузовые станции производят прием и отправление подач вагонов и маршрутных поездов, работу по обслуживанию грузовых пунктов: разделение подач на группы вагонов, предварительно подобранные по грузовым пунктам (или фронтам) на сортировочных станциях, и маршрутов с однородными грузами или порожними вагонами - для подачи групп вагонов и частей маршрутов под выгрузку или погрузку; объединение вывезенных с грузовых пунктов (фронтов) групп вагонов в подачи или отправительские маршруты, а также в необходимых случаях - сортировку порожних вагонов с выделением используемых под погрузку и взвешивание вагонов.

6.2. На грузовых станциях может производиться также сортировочная работа по подборке вагонов по фронтам погрузки-выгрузки. Эта работа выполняется в случаях:

изменения назначений сортировки в зависимости от заполнения грузовых фронтов и емкостей для грузов, используемых при погрузке или разгрузке, использования погрузочно-выгрузочных механизмов или при необходимости чередования подаваемых под выгрузку вагонов для подшихтовки выгружаемых материалов;

необходимости выделения порожних вагонов, требующих подготовку под погрузку, которая производится на этой же станции или ближайшей к ней грузовой станции, на которой организация зачистки вагонов невозможна или нецелесообразна;

большой дробности сортировки и при общем прибытии на станцию не менее 100 вагонов в 1 сут.

6.3. Грузовые станции следует размещать:

вблизи от обслуживаемых станцией грузовых пунктов. Наиболее целесообразным является размещение станции между грузовыми пунктами или параллельно им, что обеспечивает подачу и уборку вагонов к фронтам погрузки и выгрузки через вытяжной путь без обгона на станции и грузовых пунктах маневрового локомотива. Если по условиям проектирования генерального плана предприятия грузовую станцию нельзя расположить между или параллельно грузовым пунктам, возможно ее размещение перед ними;

непосредственно у пунктов погрузки или выгрузки массовых грузов, располагаемых на периферийной части территории промышленных предприятий (при доставке грузов с грузовых пунктов на склады или непосредственно к производственным агрегатам непрерывным транспортом), или непосредственно у производственных агрегатов (при устройстве для доставки подготовленных в соответствии с требованиями производств грузов «глубоких железнодорожных вводов» на территории предприятий).

Оба решения находят применение в черной металлургии при размещении сырьевых станций. При этом устройство «глубоких вводов» может применяться для реконструируемых металлургических заводов.

6.4. Схема грузовой станции, располагаемой между грузовыми пунктами, приводится на рис. 12, а. Этой схемой предусмотрены следующие специализации путей и организация работы:

длинные пути предназначены для приема и отправления маршрутных поездов, а короткие - для приема и отправления подач;

составы поездов или подач, прибывающие на станцию, по частям выставляются на грузовые пункты вагонами вперед через соответствующие вытяжные пути;

вагоны, требующие взвешивания, перед подачей на грузовые пункты взвешивают на вагонных весах;

группы вагонов, отправляемые в составах маршрутных поездов, выводимые с грузовых пунктов, выставляют на длинные пути, а остальные вагоны - на короткие. При необходимости вагоны, выставляемые на короткие пути, сортируют с выделением вагонов, используемых под сдвоенные операции и вагонов, требующих взвешивания.

Достоинством рассматриваемой схемы станции является исключение обгона локомотива при подаче вагонов на грузовые пункты и отсутствие необходимости в строительстве обгонных путей на грузовых пунктах, а также возможность совмещения операций по выводке вагонов с грузовых пунктов с операциями по их сортировке.

Рис. 12. Схемы грузовых станций

а - с расположением между грузовыми пунктами; б - с расположением перед грузовыми пунктами; 1 - грузовые пункты; 2 - весы; 3 - сортировочная станция

6.5. На рис. 12, б приведена схема расположения грузовой станции перед грузовыми пунктами.

Специализация путей на станции по этой схеме такая же, как в описанной выше. Различие схем станций заключается в организации работы.

По рассматриваемой схеме станции подача групп вагонов на грузовые пункты предусматривается, как правило, локомотивом в «голове». Обгон локомотива перед расстановкой вагонов по грузовым фронтам производится на путях грузового пункта или распределительном посту, устраиваемом перед одним или несколькими грузовыми пунктами. Выводка групп вагонов с грузовых пунктов производится на станцию в зависимости от расстояния между грузовыми пунктами и станцией локомотивом в «голове» или «хвосте» составов. При выводке локомотивом в «голове» состава для возможности объединения вагонов на длинных путях в маршрутный состав один из длинных приемоотправочных путей может быть секционирован. При выводке групп вагонов с грузовых пунктов локомотивом в «хвосте» необходим обгон локомотива на грузовом пункте или упомянутом выше распределительном посту.

Схемой станции предусмотрена возможность совмещения работы на вытяжном пути с подачей вагонов на грузовые пункты.

6.6. Для предприятий ряда отраслей промышленности целесообразно совмещать грузовую станцию с пунктом массовой погрузки (выгрузки).

Далее приводятся рекомендуемые схемы станций грузового назначения, специализированные для:

погрузки угля на обогатительных фабриках;

выгрузки угля на тепловых электростанциях;

выгрузки руды, окатышей и угля на металлургических заводах;

налива нефтепродуктов на нефтеперерабатывающих заводах;

обслуживания механизированных выгрузочных баз угольного района или межотраслевых предприятий промышленного железнодорожного транспорта (МППЖТ), с доставкой грузов автотранспортом.

6.7. Схема путевого развития углепогрузочной станции зависит от объема и количества марок отгружаемых углей и технологии погрузки.

Погрузка производится через бункера, причем крупные и средние сорта антрацита и энергетический уголь подают на бункера непосредственно после сортировки на обогатительной фабрике, минуя оперативные складские емкости. Это требует регулярного обеспечения погрузки порожними вагонами и наличия на станциях путей для их стоянки. Остальные угли поступают в бункера через оперативные погрузочно-складские емкости с выделением для каждой марки своей точки погрузки и соответственно погрузочного пути.

Для марок углей, отгружаемых обогатительной фабрикой полновесными составами (обычно не более двух марок), предусмотрены специальные пути и применение электротолкателей для передвижения вагонов при погрузке. На остальных путях отгружают марки углей в меньших количествах. Передвижение вагонов на этих путях производится более легкими маневровыми средствами.

Взаимное расположение выгрузочных и погрузочных устройств и соответственно обслуживающих их путей устанавливается в увязке с расположением складов рядовых и сортированных углей и цехов обогатительной фабрики.

Взвешивание вагонов в точке погрузки на железнодорожных весах предусматривается для углей с большой и нестабильной насыпной массой. При отгрузке угля с насыпной массой менее 0,8 т/м3 или угольных концентратов с большей, но стабильной массой взвешивание вагонов производится на ходу, на электронно-тензометрических весах.

6.8. Схемами углепогрузочных станций предусматривается:

обслуживание погрузочного и выгрузочного комплексов обогатительной фабрики на одной станции;

поточность подачи и передвижения вагонов в процессе выгрузки, погрузки и взвешивания, а также при выставке погруженных вагонов на отправочные пути;

в случаях использования вагонов МПС после выгрузки для погрузки - размещение на станции пункта подготовки вагонов (ППВ), с организацией осмотра вагонов перед выгрузкой на путях приема и после выгрузки на выставочных путях.

6.9. Схемы станции (рис. 13) составлены с учетом выгрузки рядового угля из специальных саморазгружающихся вагонов, прибывающих из шахт с локомотивом «в голове» состава и из карьеров с локомотивом в «хвосте» состава.

Собственный порожний подвижной состав отправляется обратно в шахту или карьер для погрузки рядового угля.

Погрузка продукции обогатительной фабрики производится в порожние вагоны, поступающие с общей сети железных дорог.

Длина бункерного приемного устройства для выгрузки саморазгружающихся вагонов определяется потребной производительностью.

6.10. Схемы станций, приведенные на рис. 14, предусматривают прибытие рядового угля в универсальных вагонах общей сети и использование их для погрузки различных классов углей, полученных после обогащения и сортировки. Схемами также предусматривается размещение тепляков для разогрева смерзшегося в вагонах угля.

6.11. Схема на рис. 15 составлена для случая прибытия составов с углем с двух сторон (с общей сети железных дорог и местных шахт) в универсальных вагонах, используемых после выгрузки для погрузки. Подача порожних вагонов от вагоноопрокидывателя на погрузочные пути предусмотрена траверзной тележкой. Вагоны, которые нельзя использовать под погрузку, также траверзной тележкой возвращаются на выставочный путь.

Использование траверзной тележки значительно упрощает схему станции для сложного случая подхода угля с двух сторон.

6.12. На рис. 16 представлена схема углепогрузочной станции большой производительности с поточной технологией подачи вагонов под погрузку. Вагоны из приемоотправочного парка МПС (ПО) подаются в парк приема порожняка (ППП), а затем на пути надвига под погрузку. Погрузка производится на четырех путях погрузочными бункерами. Погруженные вагоны отправляют из выставочного парка (ВО).

6.13. Схема станции (рис. 17), предназначенная для обслуживания тепловой электростанции, составлена с учетом разогрева в зимний период угля в тепляках, взвешивания вагонов на электронных весах и выгрузки вагонов на вагоноопрокидыватели. Выгрузка вагонов, которые нельзя пропускать через вагоноопрокидыватель, намечается на складе угля, где для этого предусматривается эстакада. Слив мазута (резервное топливо) предусматривается на эстакаде, длина которой зависит от количества поступающего мазута.

Рис. 13. Схемы углепогрузочных станций в случаях прибытия угля в саморазгружающихся вагонах предприятий

а - прибытие с локомотивом «в голове» состава; б - прибытие с локомотивом «в хвосте» состава; 1 - станция примыкания; 2 - шахты; карьеры (обозначения см. рис. 3, 4)

Рис. 14. Схемы углепогрузочных станций при прибытии угля с общей сети железных дорог в полувагонах

а - расположение выгрузочных и погрузочных комплексов на раздельных площадках; б - расположение выгрузочных и погрузочных комплексов на общей площадке; 1 - станция примыкания; ППВ - пункт подготовки вагонов (обозначения см. на рис. 3 и 4)

Рис. 15. Схема углепогрузочной станции при прибытии угля с общей сети железных дорог и местных шахт в полувагонах и использовании для расстановки вагонов при погрузке траверзной тележки (обозначения см. на рис. 3, 4)

1 - станция примыкания; 2 - шахты; ППВ - пункт подготовки вагонов

Рис. 16. Схема углепогрузочной станции при применении поточной технологии подачи вагонов под погрузку

ВО - выставочно-отправочный парк, ППП - парк приема порожняка, ПО (МПС) - приемоотправочный парк МПС; С - сортировочный парк

Рис. 17. Схема железнодорожной станции тепловой электростанции

1 - станция примыкания; а - эстакада слива жидкого топлива; б - весы (обозначения см. рис. 3, 4)

Рис. 18. Схема сырьевой станции металлургического завода

1 - сортировочная станция, завод (обозначения см. рис. 3, 4)

6.14. Сырьевая станция предназначена для выгрузки сырьевых материалов (коксующегося угля, руды, окатышей и известняка), поступающих маршрутами на металлургические заводы.

На рис. 18 представлены схемы станций, состоящих из приемоотправочного парка, в который принимают груженые маршруты и выставляют после выгрузки группы порожних вагонов, и двух выгрузочных парков, одного (верхнего) - для выгрузки угля и другого - для выгрузки руды, окатышей и известняка.

Выгрузка угля, руды и известняка производится на вагоноопрокидывателях, а окатышей, перевозимых в саморазгружающихся вагонах, на бункерных разгрузочных устройствах.

Вагоны, которые нельзя выгружать на вагоноопрокидывателях, отцепляют в парке ПО и после накопления подают под выгрузку на резервное приемное устройство, которое может быть использовано также для зачистки вагонов.

Надвиг вагонов на вагоноопрокидыватели и разгрузочные устройства производится при помощи электротолкателей с дистанционным управлением. Передвижение вагонов, разгружаемых на резервном разгрузочном устройстве, производится при помощи более легких маневровых средств.

Составы с углем и рудой в зимний период времени перед разгрузкой могут разогреваться в тепляках. Схемами предусмотрена возможность установки тепляков, специализированных соответственно для разгрузки руды или угля, и одного резервного, который в зависимости от необходимости может быть использован для разогрева любого из указанных грузов.

Число тепляков определяется расчетом, а вместимость каждого должна быть кратна длине части маршрута, поступающего под выгрузку.

Вагоноопрокидыватели оборудованы виброзачистными плитами.

На схеме рис. 18 для возможности одновременной подачи маршрутов с углем, рудой и окатышами под выгрузку предусмотрены три вытяжных пути длиной на полмаршрута каждый. Вытяжки позволяют также производить параллельно уборку вагонов из тепляков и постановку их на пути надвига у рудных и угольных вагоноопрокидывателей.

Пути у вагоноопрокидывателей рассчитаны на постановку половины маршрута на каждый путь. В зимний период, в целях избежания вторичного смерзания груза, на пути вагоноопрокидывателей может производиться постановка вагонов группами.

Учитывая это обстоятельство, для уборки вагонов после разгрузки на вагоноопрокидывателях, на разгрузочном и резервном приемных устройствах предусмотрены вытяжные пути.

Порожние составы из парка ПО могут отправляться: на сортировочную станцию для отбора вагонов, годных под погрузку соответствующих грузов (граншлака, длинномерных, катанки и т.п.), на станцию примыкания - для отправления на общую сеть железных дорог замкнутых кольцевых маршрутов (например, для перевозки окатышей) или на грузовые станции, если там организован отбор порожних вагонов под погрузку.

6.15. Схемами нефтеналивных станций, обслуживающих товарно-сырьевые базы (ТСБ) нефтеперерабатывающих заводов, учитываются следующие требования к погрузочно-разгрузочным устройствам:

длина наливных (сливных) эстакад устанавливается технико-экономическими расчетами с учетом погрузки (выгрузки) маршрутов и должна быть кратна длине маршрута (части маршрута), при этом на линейных фронтах должно быть не менее половины, а на многоточечных - не менее четверти длины маршрута;

на эстакадах может производиться одновременный налив нефтепродуктов маршрутами на одну станцию выгрузки (из однородных нефтепродуктов) или назначением на станцию распыления (из различных нефтепродуктов);

специализация эстакад должна предусматривать возможность производства сдвоенных грузовых операций без передвижения состава: использование цистерн после слива сырой нефти под налив темных нефтепродуктов.

6.16. Схемы путей нефтеналивных станций предусматривают следующую технологию работы:

прием на станцию и отправление подач на сортировочную станцию производится локомотивом в голове состава, а цистерн на пути налива - вагонами вперед;

прием порожних цистерн на станцию предусматривается маршрутами (составами полной длины);

подача на эстакады производится по полсостава, с расчетом обеспечения налива одновременно целого маршрута;

отправление налитых на эстакадах составов, в зависимости от профиля соединительного пути и расстояния до сортировочной станции, может производиться с объединением их в маршруты на нефтеналивной станции или без объединения;

путевое развитие предусматривает поэтапное увеличение числа наливных эстакад в соответствии с очередями сооружения нефтеперерабатывающего завода (последующее развитие показано на схемах рис. 19 пунктиром).

Рис. 19. Схемы нефтеналивных станций

а - с тупиковыми путями налива; б - с параллельным размещением эстакад; в - с последовательным размещением групп эстакад; 1 - подход с сортировочной станции

6.17. Схема нефтеналивной станции (рис. 19, а) с тупиковыми погрузочно-выгрузочными путями может применяться при относительно небольших объемах погрузки (до 6 млн. т в год).

6.18. Схемы со сквозными погрузочно-выгрузочными путями (рис. 19, б, в) отличаются между собой размещением эстакад второй очереди по отношению к обгонным путям.

Схема на рис. 19, б может быть рекомендована при наиболее рациональной кольцевой системе организации движения между наливной и сортировочной станцией и при параллельном размещении до шести наливных эстакад. При большем числе эстакад может быть применена схема (рис. 19, в) с последовательным расположением двух групп эстакад.

6.19. Число приемоотправочных путей на грузовых станциях следует определять по формуле (14) и по табл. 19.

7. ПРОМЫШЛЕННЫЕ СОРТИРОВОЧНЫЕ СТАНЦИИ

7.1. Промышленные сортировочные станции проектируются для переработки вагонопотоков группы промышленных предприятий, объединенных в промышленные узлы, или отдельных крупных предприятий.

7.2. Проектированию сортировочной станции должно предшествовать установление общего объема ее работы и рациональное распределение сортировочной работы между проектируемой станцией, станциями общей сети железных дорог и промышленными грузовыми станциями.

7.3. При распределении сортировочной работы возможны следующие случаи:

на ближайшей сортировочной станции общей сети железных дорог отдельные назначения на промышленную сортировочную станцию могут выделяться при достаточной мощности назначения (более 150 вагонов в 1 сут). Поезда с этим вагонопотоком пропускают через станцию примыкания без переработки;

на станции примыкания общей сети железных дорог подборка вагонов по маневровым районам и грузовым фронтам выполняется при обслуживании перевозок предприятий до грузовых фронтов маневровыми средствами железной дороги общей сети, при этом промышленные сортировочные станции не проектируются;

на станции примыкания производится выделение вагонопотоков на промышленную сортировочную или промышленные грузовые станции, при этом на промышленной сортировочной станции концентрируется сортировочная работа по подборке вагонов по маневровым районам и грузовым фронтам или промышленным грузовым станциям (если они проектируются); по подборке порожних вагонов для подготовки под погрузку; формирование подач в маневровые районы или на промышленные грузовые станции, а также формирование поездов на общую сеть железных дорог или подач до станции примыкания.

7.4. В промышленном узле, как правило, следует проектировать одну сортировочную станцию.

Сортировочная станция должна располагаться перед группой обслуживаемых предприятий, по возможности ближе к предприятию, на которое поступает наибольший по величине и дробности вагонопоток.

При обслуживании только одного предприятия сортировочную станцию следует размещать перед предприятием или на его периферии.

В промышленных узлах со сквозной схемой путей, когда имеются подходы к двум станциям примыкания общей сети железных дорог, при соответствующих обоснованиях могут проектироваться две сортировочные станции с концентрацией на одной станции преимущественно переработки входящего вагонопотока, а на другой - выходящего вагонопотока.

Направление сортировки вагонов устанавливается в сторону большего объема сортировочной работы (по числу перерабатываемых вагонов и числу назначений сортировки).

Для предприятий перерабатывающей промышленности направление сортировки вагонов принимается, как правило, в сторону предприятий, а добывающей промышленности - в сторону станции примыкания.

При относительном равенстве объема сортировочной работы и наличии соответствующих местных условий сортировочная станция может располагаться так, чтобы направления сортировки на основные предприятия (грузовые пункты) и станцию примыкания совпадали (рис. 20 и 21).

При поступлении или отправлении с предприятий маршрутов приемоотправочный парк должен располагаться так, чтобы из него обеспечивался прямой выход на грузовые пункты, производящие выгрузку или погрузку маршрутов.

Примеры размещения сортировочных станций в промышленных узлах в увязке с их генеральными планами приведены на рис. 22 - 23.

Рис. 20. Схема размещения сортировочной станции металлургического завода

Н - парк приема; В - выставочный парк (предгорочный); У - угольный парк; Р - рудный парк; 1 - складское хозяйство; 2 - ремонтные цехи; 3 - прокатные цехи; 4 - трубные цехи; 5 - скрапное хозяйство; 6 - сталеплавильный цех; 7 - доменный цех; 8 - коксохимический цех; 9 - склад угля; 10 - агло-фабрика; 11 - склад руды; 12 - резервные территории (обозначения см. рис. 3, 4)

Рис. 21. Схема размещения сортировочной станции металлургического завода (вариант)

13 - цех изделий из шлака (обозначения сооружений см. рис. 20, остальные цифровые и буквенные обозначения см. рис. 3, 4)

7.5. Практикой проектирования установлено, что объем переработки вагонов в промышленном узле не превышает 2 - 3 тыс. вагонов в 1 сут, а число назначений сортировки вагонов на предприятиях обрабатывающей промышленности превышает число назначений на общую сеть железных дорог не менее чем в два раза. Исходя из этого рекомендуемые схемы промышленных сортировочных станций основываются на следующих принципиальных положениях:

сортировочная станция должна состоять из одной системы парков (односторонняя) с направлением сортировки вагонов на предприятия;

отправление поездов и подача должны производиться непосредственно из сортировочного парка, поэтому на станции необходимо, как правило, предусматривать два основных парка - приема и сортировочный;

переработка вагонов (расформирование составов с одновременным формированием поездов и подач) должна сосредоточиваться на одном сортировочном устройстве.

Для подформирования поездов, отправляемых на общую сеть железных дорог по условиям ПТЭ, соединения отдельных групп вагонов в многогрупповые передачи и т.п. в хвостовой горловине должно предусматриваться сооружение вытяжки.

Рис. 22. Схема размещения сортировочной станции промышленного узла нефтехимического профиля

1 - склад ЛВЖ; 2 - завод пластмасс; 3 - завод синтетического каучука; 4 - нефтехимический комплекс; 5 - сортировочная станция; 6 - ТЭЦ-1; 7 - технические трубопроводы; 8 - грузовая станция; 9 - нефтеперегонный завод; 10 - товарно-сырьевая база; ТСБ - наливная эстакада; 11 - ТЭЦ-2; 12 - железнодорожная станция ТЭЦ; ППС - промывочно-пропарочная станция

Рис. 23. Схема размещения сортировочной станции промышленного узла машиностроительного профиля

1 - машиностроительный завод; 2 - погрузочная площадка машиностроительного завода; 3 - ТЭЦ; 4 - строительная база; 5 - завод пластмасс

7.6. Рекомендуемые схемы промышленных сортировочных станций составлены из условия:

производства на станциях параллельно следующих операций: приема поездов со станции примыкания и подач с предприятий, перестановки составов с части путей на горочную вытяжку (при расположении парка приема параллельно сортировочному). Отправление поездов на станцию примыкания и подач на предприятия. Отправление на предприятия и приема с предприятий в приемоотправочный парк станции маршрутных составов. Отправление из сортировочного парка станции поездов на станцию примыкания и подач на предприятия;

поточности переработки основных вагонопотоков и пропуска поездных, вывозных и маневровых локомотивов по станции;

дальнейшего развития и, в частности, укладки дополнительных путей, установки на спускной части горок тормозных позиций, а на станциях с параллельным расположением парков - сооружения предгорочного парка;

производства на сортировочных станциях приемосдаточных операций с вагонами.

7.7. Промышленные сортировочные станции разделяют по взаимному расположению парков (с параллельным или последовательным расположением), а также в зависимости от подходов к станции подъездных путей от станции примыкания и от основных предприятий промышленного узла.

7.8. Схемы с последовательным расположением парков (рис. 24) обеспечивают более поточную по сравнению с другими схемами переработку основных вагонопотоков и наименьшее пересечение маршрутов их следования в горловинах станций.

Схемой на рис. 24, а для приема поездов со станции примыкания и подач с предприятий (включая отправительские маршруты) предусматривается общий парк (П).

Отправление поездов на станцию примыкания предусматривается непосредственно с сортировочно-отправочных путей (СО), в обход парка приема.

Рис. 24. Схемы сортировочных станций с последовательным расположением парков

а - с сортировочно-отправочным парком (СО); б - сортировочным парком МПС (О); в - с приемо-отправочным парком МПС (ПО); П - парк приема; С - сортировочный парк; В - выставочный парк; Э - пути пункта экипировки; ПР - пути отцепочного ремонта вагонов; 1 - станция примыкания; 2 - предприятия

Рис. 25. Схемы сортировочных станций с параллельным расположением парков

а - с раздельными парками приема поездов с общей сети железных дорог (П) и подач с предприятий (В); б - с объединенным парком приема поездов и подач (П); в - со спускной частью горки, расположен под углом к сортировочному парку; С - сортировочный парк; СО - сортировочно-отправочный парк; Э - пути пункта экипировки; ПР - пути отцепочного ремонта вагонов; 1 - станция примыкания; 2 - предприятия

Отправление погруженных на предприятиях маршрутов, если они не нуждаются в подформировании, производится с путей парка приема. Локомотивы от поездов, прибывающих со станции примыкания, пропускают из парка приема, в обход горки, под составы, подготовленные на сортировочно-отправочных путях, а локомотивы от подач с предприятий пропускают из парка приема по соединительному пути в обход сортировочного парка под составы подач, сформированные на коротких сортировочных путях.

Экипировочное хозяйство (Э) предусматривается только для маневровых и вывозных локомотивов, используемых для обслуживания перевозок предприятий, и поэтому размещается на сортировочной станции со стороны предприятий.

7.9. Схема на рис. 24, б может быть рекомендована в тех случаях, когда на промышленной сортировочной станции целесообразно формировать поезда на общую сеть железных дорог, которые проходят станцию примыкания без переработки. Для оформления операций с этими поездами выделяют отправочный парк (О), передаваемый в ведение МПС.

Схема на рис. 24, в может применяться в тех случаях, когда задержка в приеме поездов промышленной сортировочной станцией может создать затруднения в пропуске поездов по станции примыкания.

По этой схеме на сортировочной станции выделяется приемоотправочный парк (ПО), передаваемый в ведение МПС, а для приема подач с предприятий устраивают выставочный парк (В).

В упомянутых схемах пути ремонта вагонов (ПР) располагают параллельно длинным путям сортировочного парка, чтобы вагоны после отцепочного ремонта, производимого средствами МПС, можно было выставлять без пересечений в приемоотправочный парк МПС, поскольку с момента передачи вагонов в ремонт они снимаются с простоя, учитываемого предприятием.

Экипировочные пункты, предназначенные для обслуживания поездных локомотивов МПС и вывозных локомотивов предприятий, размещают со стороны выходных горловин отправочных парков, так как на их путях предусматривается отстой поездных локомотивов в ожидании отправления их с готовыми поездами.

7.10. Схемы с параллельным расположением парков (рис. 25) могут быть рекомендованы при ограниченном объеме переработки вагонов сортировочными станциями или расположении их в стесненных условиях.

Размещение парков приема со станции примыкания и подач с предприятий по разную сторону сортировочного парка преследует цель избежать в горловинах станции пересечений основных вагонопотоков.

Схема с объединенным парком приема (рис. 25, б) может быть рекомендована при значительном удельном весе маршрутизированного вагонопотока, который не перерабатывается на горке.

Ввиду того, что перестановка составов на горочную вытяжку враждебна приему поездов со станции примыкания, в схеме предусмотрена укладка системы съездов, позволяющих для части путей парка приема производить указанные операции параллельно.

Схема со спускной частью горки, расположенной под углом к сортировочному парку (рис. 25, в), применяется в случае расположения подхода от станции примыкания на большом подъеме, при котором требуется устройство высокой насыпи для пути надвига на горку, а также в тех случаях, когда не предусматривается переустройство станции по схеме с последовательным расположением парков.

7.11. При объемах и характере переработки вагонов, не требующих сооружений горок, проектируются сортировочные станции, использующие в качестве основного сортировочного устройства вытяжные пути.

При числе сортировочных путей до четырех выделение парков на сортировочной станции не производится.

7.12. Схемы безгорочных сортировочных станций различаются расположением станций по отношению к обслуживаемым предприятиям.

На рис. 26 приведены схемы сортировочных станций при расположении их перед предприятиями (рис. 26, а) и между предприятиями (рис 26, б).

Схема на рис. 26, б предусматривает отправление подач на предприятия, параллельно которым расположена станция через вытяжные пути, что позволяет избежать обгона локомотивов при расстановке вагонов по грузовым фронтам.

Схемы специализированных сортировочных станций

7.13. Для предприятий, размещаемых в промышленных узлах, формируемых на базе предприятий обрабатывающей промышленности (машиностроения, химии и нефтехимии, стройиндустрии, легкой и пищевой промышленности), могут быть использованы схемы сортировочных станций, приведенные на рис. 26.

7.14. Характер работы сортировочных станций, перерабатывающих внешние вагонопотоки металлургических и нефтеперерабатывающих заводов, а также предприятий угольной промышленности, имеет специфические особенности, которые нашли отражение в схемах специализированных станций, приводимых ниже.

Схемами сортировочных станций металлургических заводов предусматривается концентрация на станциях основной сортировочной работы: по расформированию и формированию подач с подборкой в них вагонов по грузовым пунктам и фронтам, по формированию поездов на общую сеть железных дорог, по сортировке порожних вагонов после выгрузки с отбором годных под погрузку и, при необходимости, по расформированию угольных маршрутов с подборкой вагонов по маркам коксующихся углей.

Рис. 26. Схемы безгорочных сортировочных станций

а - расположение станции перед предприятиями; б - расположение станции между предприятиями; 1 - станция примыкания; 2 - предприятие; С1 - сортировочный парк для расформирования входящего вагонопотока; С2 - сортировочный парк для формирования поездов на общую сеть железных дорог; П - парк приема

7.15. Схемы сортировочных станций отличаются в зависимости от расположения станций по отношению площадок металлургических заводов и увязке их с генеральными планами и схемами развития путей.

Схемой станции, приведенной на рис. 27, предусматривается расположение сортировочной станции последовательно площадке металлургического завода с двумя двухпутными подходами: одного от сырьевой станции к приемно-отправочному парку (ПО), другого от завода к паркам ПО и сортировочному (С).

Такое расположение сортировочной станции характерно для старых металлургических заводов и рекомендуемая схема может быть использована в случаях реконструкции станций в связи с увеличением мощностей действующих заводов.

Схема разработана исходя из следующей технологии эксплуатационной работы на станции.

Рис. 27. Схема сортировочной станции, расположенной последовательно площадке металлургического завода

П - предгорочный парк, ПО - приемоотправочный парк; С - сортировочный парк; ПР - пути отцепочного ремонта вагонов: 1 - станция примыкания; 2 - завод; 3 - сырьевая станция

Рис. 28. Схемы сортировочных станций, расположенных параллельно площадкам металлургических заводов

В - выставочный парк (обозначения см. на рис. 27)

Разборочные поезда, требующие сортировки, и маршруты, поступающие с общей сети железных дорог, а также подачи с завода принимаются в общий парк приема (П).

Ввиду того, что разборочный вагонопоток с общей сети (по данным для действующих и вновь проектируемых заводов) не превышает 10 - 12 поездов в 1 сут, схемой (учитывая оборудование станции маршрутной централизацией) допускается пересечение маршрутов приема этих поездов в одном уровне с маршрутами поездов, отправляемых на общую сеть железных дорог.

Груженые маршруты, не требующие сортировки, принимаются в приемоотправочный парк (ПО) или пропускаются на сырьевую станцию. Порожние составы после выгрузки маршрутов на сырьевой станции выставляются в парк ПС для отправления на общую сеть или для сортировки с выделением вагонов, годных под погрузку различных категорий грузов (шлак, катанка, длинномерные и т.п.).

Сортировка порожних маршрутов может производиться непосредственно из парка ПО или с перестановкой в парк П.

7.16. Схемами станций, приведенными на рис. 28, предусматривается расположение сортировочной станции параллельно площадке металлургического завода при кольцевой схеме его путей. Пунктиром показан подход к станции второго пути с завода при маятниковом (возвратном) движении составов.

Схема станции (рис. 28, а) отличается от схемы станции (рис. 28, б) подходами с завода, обеспечивающими поточность переработки разборочного вагонопотока.

Отличительной особенностью схемы станции (см. рис. 28, б) является совмещение направления сортировки вагонов на завод и станцию примыкания, что позволяет избежать отправления поездов из сортировочного парка навстречу роспуску вагонов с горки, а также их пересечения приемом разборочных поездов.

Кроме того, при этой схеме станции обеспечивается поточный прием в переработку порожних составов с сырьевой станции.

Недостатком схемы является необходимость перестановки разборочных поездов из парка П в предгорочный парк В.

7.17. Схемой станции, приведенной на рис. 29, предусматривается расположение на площадке сортировочной станции сырьевого парка, предназначенного для выгрузки маршрутов с рудой, коксующимся углем и известняком.

Отличительной особенностью этой схемы является наличие на станции двух парков приема: одного для разборочных, а другого для маршрутных поездов (ПМ).

Порожние составы после выгрузки угля в парке У и руды и известняка в парке Р переставляются через вытяжку в предгорочный парк, если они нуждаются в сортировке, или в парк ПМ, если они отправляются на станцию примыкания. Предусмотрена также возможность непосредственного отправления из парка ПМ порожних составов под погрузку на завод.

Маршрутные составы, подвергающиеся сортировке, принимаются в парке П, а после сортировки по соединительному и вытяжному путям переставляются под выгрузку в парк У или Р.

Отправление поездов своего формирования может производиться непосредственно из сортировочного парка или с перестановкой в отправочный парк О.

Передаточные составы из хвостовой горловины сортировочного парка отправляют на грузовые фронты прокатных цехов и общезаводского складского хозяйства, а из головной горловины этого парка - на грузовые фронты скрапоразделочной базы и шлакоперерабатывающего производства.

Недостатком схемы является пересечение маршрутов приема составов с готовой продукцией с маршрутами выставки поездов своего формирования из сортировочного в отправочный парк.

На рис. 30 представлена схема двухсторонней сортировочной станции, которая может быть рекомендована при большем объеме сортировочной работы на общую сеть железных дорог, при котором целесообразно сортировочную систему, выполняющую эту работу, передать в ведение МПС.

Рис. 29. Схема сортировочной станции, расположенной параллельно металлургическому заводу (на одной площадке с сырьевым парком)

1 - склады угля; 2 - коксохимическое производство; 3 - склады руды и известняка; 4 - агломерационная фабрика; 5 - водное хозяйство; 6 - разливочные машины; 7 - паровоздуходувный центр; 8 - доменный цех; 9 - шлакоперерабатывающее производство; 10 - скрапоразделочное хозяйство; 11 - складское хозяйство; ПМ - парк приема маршрутов (остальные буквенные обозначения см. на рис. 20)

Рис. 30. Схема двухсторонней горочной сортировочной станции

С1 - сортировочный парк для расформирования входящего вагонопотока; С2 - сортировочный парк для формирования поездов на общую сеть железных дорог; П - парк приема (предгорочный); В - выставочный парк; 1 - станция примыкания; 2 - предприятие

Рис. 31. Схема сортировочной станции нефтеперерабатывающего завода с последовательным расположением парков

С1 - пути формирования поездов на общую сеть железных дорог; С2 - пути формирования составов под налив на ТСБ; С3, С4 - пути переработки вагонов для промывочно-пропарочной станции (ППС) и предприятий промузла; ПО - приемоотправочный парк; 1 - станция примыкания; 2 - предприятия

7.18. Схемы сортировочных станций, обслуживающих нефтеперерабатывающие заводы (НПЗ), предусматривают концентрацию на этих станциях работы по сортировке порожних цистерн по видам обработки их на промывочно-пропарочной станции (ППС) и по видам налива; по формированию порожних составов для налива маршрутов, а также по сортировке и формированию подач из вагонов, следующих на остальные предприятия промышленного узла.

7.19. Рекомендуемые схемы сортировочных станций, обслуживающих нефтеперерабатывающие заводы (рис. 31 - 34), различаются расположением парков.

Схема станции с последовательным расположением парков (рис. 31) предусматривает поточную переработку цистерн: после роспуска цистерн на короткие пути сортировочного парка (С3) они через вытяжку в хвостовой горловине переставляются на ППС, откуда после обработки выставляются в предгорочный парк для повторной сортировки по видам налива, которая производится с роспуском цистерн на длинные пути сортировочного парка (С2).

Налитые маршруты цистерн выводят в обход сортировочного парка в приемоотправочный парк.

При выводке маршрутов цистерн по частям отправочные пути могут секционироваться с целью приема повторно вводимой части состава на свободную часть пути.

В предгорочной горловине приемоотправочного парка предусматривается возможность производства параллельно следующих трех операций: прием налитых маршрутов с товарно-сырьевой базы (ТСБ) и подач с предприятий или выставка в парк готовых к отправлению составов из сортировочного парка; роспуск с путей парка составов, подвергающихся сортировке, выставка в парк групп цистерн с путей ППС или пункта ремонта вагонов.

В хвостовой горловине сортировочного парка предусматривается возможность производства параллельно четырех операций: подформирование на вытяжке составов, отправляемых из сортировочного парка на общую сеть железных дорог и порожняковых составов под налив, пропуск передач с ТСБ или предприятий в приемоотправочный парк; отправление подач из сортировочного парка; перестановка через вытяжку цистерн из сортировочного парка на пути ППС и пункта ремонта вагонов.

При кольцевой схеме путей, обслуживающих ТСБ, предусматриваемой схемой станции, приведенной на рис. 32, указанный недостаток устраняется. Дополнительным преимуществом этой схемы является возможность независимого (параллельного) обслуживания перевозок ТСБ и предприятий промышленного узла.

При небольшом числе поездов, отправляемых на общую сеть железных дорог из сортировочного парка, вторая вытяжка в хвостовой горловине, предназначаемая для их подформирования, может не проектироваться.

Схема станции с параллельным расположением парков (рис. 34) может быть рекомендована при сравнительно небольших объемах переработки вагонов (до 500 вагонов в 1 сут) и в стесненных условиях.

Недостатком этой схемы станции является необходимость перестановки разборочных поездов из приемоотправочного парка на горочную вытяжку. Система съездов входной горловины приемоотправочного парка позволяет производить эту операцию параллельно отправляемым из парка наливных маршрутов на станцию примыкания.

Схема путей промывочно-пропарочной станции показана на рис. 35.

Рис. 32. Схема сортировочной станции нефтеперерабатывающего завода с последовательным расположением парков при кольцевой схеме путей, обслуживающих ТСБ

С4 - пути переработки вагонов для предприятий промузла; 3 - товарно-сырьевая база (остальные обозначения см. на рис. 31)

Рис. 33. Схемы сортировочной станции нефтеперерабатывающего завода

а - с отправлением из сортировочного парка; б - с размещением платформы осмотра цистерн на путях надвига

Рис. 34. Схема сортировочной станции нефтеперерабатывающего завода с параллельным расположением парков (обозначения см. на рис. 31)

7.20. Схемы сортировочных станций, обслуживающих угольные предприятия (углесборочные), предусматривают концентрацию на них работы по формированию отправительских маршрутов и подготовке порожних вагонов под погрузку (средствами МПС), выгрузку грузов, прибывающих на угольные предприятия, а при обслуживании карьеров - контрольное взвешивание вагонов, отправляемых на общую сеть с дозировкой в необходимых случаях в них количества угля по массе.

Рис. 35. Схема путей промывочно-пропарочной станции

Пути: 1 - наружной обмывки; 2 - ходовой; 3 и 4 - холодной очистки цистерн; 5 и 6 - очистки цистерн из-под темных нефтепродуктов; 7 и 8 - очистки цистерн из-под этилированного бензина; 9 - очистки битумных бункеров; 10 и 11 - соединительные пути. Сооружения: I - депо для очистки цистерн из-под темных нефтепродуктов; II - эстакада для холодной очистки цистерн; III - насосная этилированного бензина; IV - платформа для очистки битумных бункеров; V - эстакада для очистки цистерн из-под бензина; VI - центральная насосная станция; VII - устройство для наружной обмывки цистерн; VIII - резервная площадка для устройств по очистке цистерн из-под химпродуктов

Рис. 36. Схемы углесборочных станций, не имеющих выхода на общую сеть железных дорог

а - при движении из карьера с локомотивом в «хвосте» состава; б - при движении из карьера с локомотивом в «голове» состава; ОФ - обогатительная фабрика; 1 и 2 - положение составов, принимаемых из карьеров (шахт); 3 - карьер (шахта)

7.21. Схемы углесборочных станций, обслуживающих внутренние перевозки, на которых производится объединение выводимых из карьера групп вагонов (составов) в состав, кратный весовой норме состава назначением на обогатительную фабрику, отличаются в зависимости от организации движения по соединительным путям на подходе к станции: локомотивом в «хвосте» или в «голове» состава.

Схема станции, предусматривающая движение вагонами вперед, представлена на рис. 36, а. При этой схеме обеспечивается возможность производства в горловине станции со стороны карьера параллельных операций по пропуску карьерного локомотива за порожним составом и обгон вывозного локомотива, работающего на участке углесборочная станция - обогатительная фабрика.

В противоположной горловине станции наличие предохранительных тупиков позволяет одновременно принимать из карьера поезд вагонами вперед на один путь, а с другого пути этого парка отправлять объединенный состав на обогатительную фабрику.

Схемой станции, приведенной на рис. 36, б, предусматривается движение со стороны карьера (шахты) локомотивом в «голове» состава. Первый состав принимается на свободный путь с таким расчетом, чтобы головной вагон остановился до предельного столбика у съезда, секционирующего приемоотправочные пути (рис. 36, б, поз. 1); поездной локомотив по съезду пропускается на ходовой путь (второй сверху). Второй состав принимается по ходовому пути и съезду на свободную часть этого же приемоотправочного пути (поз. 2), а затем осаживается для соединения с выведенным ранее составом.

В горловине станции предусмотрена возможность выполнения параллельно тех же операций, что и по схеме 36, а.

7.22. При отправлении на общую сеть железных дорог составов с углем, погруженным в карьерах (забоях), возникает необходимость в контрольном взвешивании вагонов.

Схемой станции, приведенной на рис. 37, а, предусматриваются прием угольных составов из карьера в выставочный парк В, перестановка составов на вытяжку и взвешивание вагонов на ходу осаживанием составов на весовой путь сортировочного парка. После этого производятся расстановка групп вагонов по путям сортировочного парка, специализированным по назначениям, и одновременно выставка вагонов, требующих дозировки угля, на крайний путь сортировочного парка, специализированный для выполнения указанной операции.

Вытяжка, расположенная в противоположной горловине станции, предназначена для перестановки вагонов после дозировки в них угля на специализированные по назначениям пути сортировочного парка, подформирования составов, отправляемых на общую сеть железных дорог, и перестановки из парка приема порожних вагонов, требующих отцепочного ремонта, на пути механизированного вагоноремонтного пункта.

Отправление поездов на общую сеть железных дорог производится из сортировочно-отправочного парка СО.

В парке приема на специальных путях ПР средствами МПС производится очистка и подготовка порожних вагонов под погрузку.

Схема станции учитывает дополнительные маневровые передвижения, связанные со взвешиванием вагонов на весах, не допускающих пропуск локомотивов по весовой платформе.

При применении в этой схеме весов, допускающих при взвешивании вагонов пропуск локомотивов по весовой платформе, заезд на вытяжку для перестановки вагонов на специализированные по назначениям пути сортировочно-отправочного парка может быть совмещен со взвешиванием. В этом случае может быть также рекомендована схема станций (рис. 37, б) с последовательным расположением выставочного парка и взвешиванием вагонов на ходу перед приемом поездов в этот парк.

Рис. 37. Схемы углесборочных станций, отправляющих уголь на общую сеть железных дорог

а - при взвешивании на станции вагонов с углем; б - при взвешивании вагонов с углем на подходе к станции на весах, допускающих пропуск локомотивов; в - при сплошной дозировке вагонов; МВБ - механизированная выгрузочная база; Д - дозировочные устройства; П - парк приема; ПО - приемоотправочный парк; СО - сортировочно-отправочный парк; В - выставочный парк; ПР - пути отцепочного ремонта вагонов; I - погрузочное устройство; II - вагонные весы; 1 - станция примыкания; 2 - карьер (шахты)

При работе в забоях карьеров роторных экскаваторов взвешивание угля может быть организовано на конвейерных весах при загрузке вагонов.

Схема углесборочной станции, приведенная на рис. 37, в, предназначена для карьеров большой производительности, в которых возникает необходимость организации погрузки угля в вагоны без их перегрузки. Угольные поезда по этой схеме принимаются непосредственно на пути, обслуживающие дозировочные устройства, где производится догрузка вагонов с одновременным их взвешиванием. Затем группы вагонов выставляют в приемоотправочный парк для накопления маршрутов. При такой организации работы отпадает необходимость в сортировке вагонов, требующих дозировки.

Схемой также предусматривается возможность отправления поездов после дозировки без перестановки групп вагонов в приемоотправочный парк с объединением двух групп вагонов с использованием перестановочной вытяжки.

7.23. На углесборочных станциях шахтных районов в зависимости от объема сортировочной работы (количества угля, отгружаемого по маркам, и числа назначений по плану отправительской маршрутизации) могут быть применены схемы углесборочных станций (см. рис. 36, а, б), но без весовых и дозировочных устройств, так как взвешивание и дозировку угля в вагонах целесообразно производить на углепогрузочных комплексах шахт.

На шахтных углесборочных станциях целесообразно располагать механизированную выгрузочную базу (МВБ), обслуживающую весь шахтный район. Размещение такой базы показано на рис. 36, а.

Размещение зданий, сооружений и устройств на станциях

7.24. Проектами новых и реконструируемых станций должно предусматриваться широкое кооперирование служебно-технических зданий и устройств различных служб железнодорожного транспорта между собой, а при размещении станций на площадке предприятий - также этих зданий и устройств с устройствами, предусматриваемыми для обслуживания промышленных предприятий в целом.

7.25. Размещение основных устройств и сооружений на станциях должно производиться с учетом:

обеспечения предусматриваемой технологии обработки поездов и вагонов, поездных и вагонных документов, поточного пропуска по станционным путям поездных, вывозных и маневровых локомотивов;

максимального приближения служебных помещений к месту непосредственной работы;

обеспечения подъезда автотранспорта;

блокировки и группировки зданий и кооперированного использования инженерных сетей к ним;

возможности дальнейшего развития станций;

соблюдения норм по технике безопасности, санитарии и противопожарных норм.

7.26. При размещении устройств и сооружений необходимо учитывать, что станции, сооружаемые по схемам с последовательным расположением парков, могут развиваться в поперечном направлении. Станции, сооружаемые с параллельным расположением парков (при расположении их в нестесненных условиях), кроме того, могут развиваться по схеме с последовательным расположением парков. Вследствие этого служебно-технические здания необходимо размещать со стороны, противоположной перспективному развитию станций, и оставлять свободными территории для сооружения последовательно располагаемых парков.

7.27. Независимо от предусматриваемой схемы станции служебно-технические здания должны размещаться на расстоянии не менее двух междупутий от крайних парковых путей.

Рис 38. Схема генерального плана при совместном размещении ремонтного хозяйства экипировочных устройств

I - тепловозовагонное депо; II - площадка для обмывки и очистки подвижного состава; III - механизированный пункт ремонта вагонов, склад колесных пар и площадка для хранения металла; IV - смотровая канава; V - раздаточные устройства; VI - пескораздаточные устройства; VII - склад сырого песка; VIII - раздаточная смазка; IX - пескосушилка; X - склад сухого песка башенного типа; XI - склад масел и дизельного топлива; XII - площадка для металлолома; XIII - нефтеуловитель. Пути: 1 - ремонта тепловозов; 2 - ремонта кранов и путевых машин; 3 - 4 - ремонта вагонов; 5 - ожидания ремонта; 6 - мойки и чистки подвижного состава; 7 - экипировочный; 8 - выгрузочный; 9 - ходовой

Рис. 39. Схема размещения сооружений и устройств на сортировочной станции с последовательно расположенными парками приема и отправочного железной дороги общей сети

1 - помещение для обогрева; 2 - пост дежурного по отправлению (парку); 3 - ремонтное хозяйство; 4 - смазочное хозяйство; 5 - ПТО; 6 - приемный бункер пневмопочты; 7 - центральный пост управления; 8 - компрессорная; 9 - будка башмачников; 10 - механизированный вагоноремонтный пункт; 11 - пост местного управления; Э - пункт экипировки; ПР - пути ремонта вагонов; I - развитие станции на перспективу; II - трубопровод пневмопочты; III - автомобильная дорога; IV - асфальтированная дорожка; а - станция примыкания; б - предприятия

7.28. Ремонтное хозяйство должно проектироваться, как правило, общим для группы промышленных предприятий, имеющих подвижной состав, независимо от их ведомственной подчиненности, а также общим для ремонта локомотивов, вагонов, железнодорожных кранов, путевых машин и механизмов (рис. 38).

Рис. 40. Схема размещения сооружений и устройств на сортировочной станции с последовательным расположением приемоотправочного парка промышленности (обозначения см. рис. 39)

Рис. 41. Схема размещения сооружений и устройств на сортировочной станции с параллельным расположением парков (обозначения см. рис. 39)

Ремонтное хозяйство, проектируемое для обслуживания группы предприятий средствами головного предприятия или проектируемое для отдельного предприятия, следует размещать в районе ремонтных цехов этих предприятий, а ремонтное хозяйство, находящееся в ведении предприятия промышленного железнодорожного транспорта (ППЖТ) или объединенного железнодорожного хозяйства (ОЖДХ), - на сортировочной станции промышленного узла.

Экипировочные устройства для обслуживания промышленных и поездных локомотивов железной дороги общей сети должны проектироваться, как правило, объединенными и при размещении на сортировочной станции локомотивовагонного хозяйства - на общей с этим хозяйством площадке. Пример совместного размещения ремонтного хозяйства и экипировочных устройств приведен на рис. 38.

В случае, когда на станции проектируются экипировочные устройства, предназначенные главным образом для обслуживания поездных локомотивов дороги общей сети, их, как правило, следует размещать в районе выходной горловины отправочного парка (рис. 39), а когда эти устройства проектируются для обслуживания локомотивов ППЖТ или ОЖДХ - в хвостовой горловине сортировочного парка, со стороны коротких путей (рис. 40 и 41).

7.29. На сортировочных станциях должны проектироваться следующие устройства и сооружения для обслуживания вагонов парка МПС:

пункты технического осмотра вагонов (ПТО);

механизированные пункты текущего отцепочного ремонта вагонов (МВРП). Эти пункты проектируются при больших размерах погрузки и массовом использовании порожних вагонов под погрузку, при подготовке под погрузку не менее 500 физических вагонов в 1 сут;

пункты подготовки вагонов к перевозке (ППВ) при суточной программе не менее 100 четырехосных крытых и изотермических вагонов или 400 полувагонов и платформ, или 300 цистерн.

7.30. На сортировочной станции, как правило, проектируется один пункт технического осмотра вагонов, который следует располагать на расстоянии не менее двух междупутий от крайнего пути приемоотправочного парка, посередине парка.

7.31. В междупутьях парка отправления следует предусматривать установку стеллажей с запасными частями и деталями. Для транспортировки запасных частей и деталей и размещения тележек осмотрщиков вагонов в междупутьях приемоотправочного парка должны укладываться пути колеи 170 мм. Для доставки материалов в указанные парки должны устраиваться асфальтированные дорожки шириной 2 м от помещения ПТО (или МВРП) до одной из горловин парков с пересечением путей в районе предельных столбиков.

7.32. Пути для отцепочного ремонта вагонов следует размещать параллельно сортировочному парку, со стороны коротких сортировочных путей. Эти пути должны, как правило, иметь непосредственную связь с хвостовой горловиной сортировочного парка - для подачи «больных» вагонов, и с горочной вытяжкой - для уборки и сортировки отремонтированных вагонов (см. рис. 40 и 41).

На станциях с отправочными парками железной дороги общей сети (см. рис. 39) пути ремонта вагонов размещают со стороны длинных путей сортировочного парка и соединяют с отправочным парком.

Мастерские и служебно-бытовые помещения МВРП размещают у путей отцепочного ремонта вагонов с учетом возможности развития сортировочного парка.

Пункт подготовки вагонов к перевозке (ППВ) целесообразно размещать параллельно путям сортировочного парка с обеспечением выхода в предгорочный парк или на горочную вытяжку так же, как на схемах станций рис. 39 - 41 показано размещение путей МВРП.

При необходимости размещения МВРП и ППВ преимущество отдается последнему. В этом случае с путей МВРП выход в сторону предгорочного парка или горочной вытяжки может не предусматриваться и пути устраиваются тупиковыми.

7.33. Компрессорные установки на сортировочных станциях проектируют для снабжения сжатым воздухом пневматических вагонных замедлителей, питания воздухопроводной сети для опробования ПТО автотормозов, подготовленных к отправлению поездов, и автоматической очистки стрелок от снега.

При наличии на предприятиях установок для получения сжатого воздуха, расположенных вблизи сортировочных станций, на последних компрессорные установки могут не сооружаться, а может использоваться сжатый воздух с компрессорных установок предприятий.

На сортировочных станциях компрессорные установки располагаются: на горочных станциях, оборудуемых пневматическими горочными замедлителями - в районе тормозных позиций; на безгорочных станциях - в районе ПТО.

Пути парка отправления оборудуют воздухопроводом и маслопроводом.

7.34. Для составления и обработки поездных и других документов (натурный лист, сортировочный листок и т.п.) на сортировочных станциях проектируются технические конторы, которые размещаются в станционном здании, а на горочных станциях - в здании горочного поста. Последний должен размещаться в районе тормозных позиций.

7.35. На сортировочных станциях основные служебно-технические помещения, связанные с управлением станцией и железнодорожным транспортом предприятий, объединяются в центральный пост управления.

В нем должны предусматриваться помещения: управления железнодорожного цеха (если оно не размещается в административном здании предприятия) или МППЖТ, или объединенного железнодорожного хозяйства (ОЖДХ) поста электрической централизации, узла связи и филиала товарной конторы станции примыкания (если в нем есть необходимость).

На станциях с последовательным расположением парков, а также на станциях с параллельным их расположением в случаях, когда горочный пост размещен со стороны станции примыкания, центральный пост управления может совмещаться с горочным постом.

7.36. На объединенных станциях, имеющих парк железной дороги общей сети, следует предусматривать, как правило, раздельное командование. Размещение дежурных по станции в общем здании или в разных зданиях определяется проектом с учетом разделения между ними функций по управлению станцией. Размещение дежурного по станции МПС в здании, принадлежащем промышленности; согласовывается с железной дорогой общей сети.

При размещении дежурных в одном помещении предусматриваются общее табло и отдельные пульты управления, разделенные прозрачной перегородкой, обеспечивающей звукоизоляцию.

7.37. При отправлении сортировочными станциями поездов на общую сеть железных дорог, проходящих станции примыкания без переработки, в выходных горловинах отправочных парков или приемоотправочных парков (см. рис. 24) необходимо предусматривать помещения для дежурных по отправлению МПС; а при размещении дежурных по станции МПС в зданиях центральных постов управления - помещения дежурных МПС по парку.

При необходимости организации филиала товарной конторы станции примыкания помещение для него следует совмещать с помещением дежурного по отправлению МПС (дежурного по парку) в общем здании.

К зданию филиала товарной конторы должен предусматриваться подъезд автотранспорта с местом для стоянки автомобилей.

7.38. Для доставки поездных документов, при их оформлении на сортировочных станциях, на станциях устраивается пневмопочта, связывающая парк приема поездов (приемоотправочный парк) с центральным постом управления и последний с постом дежурного по отправлению (по парку) МПС.

На механизированных сортировочных горках пневмопочта устраивается также для пересылки сортировочных листков.

7.39. На станциях, проектируемых в районах с продолжительными и холодными зимами, оборудованных электрической централизацией и устройствами для автоматической очистки стрелок от снега, для обогрева в зимнее время путейцев, вагонников, составителей и башмачников устраивают специальные помещения в противоположных концах станции.

7.40. Смазочное хозяйство следует располагать в районе ПТО и в тех случаях, когда в районе выходной горловины отправочного парка (см. рис. 39) или приемоотправочного парка, (см. рис. 28, в) размещается пункт экипировки локомотивов, - со стороны этого пункта с тем, чтобы имелась возможность использовать для слива прибывающего осевого масла выгрузочные пути экипировочного пункта.

При схемах станций (см. рис. 40 - 41), предусматривающих размещение ремонтного хозяйства и экипировочных пунктов в районе хвостовых горловин сортировочных парков, для слива осевого масла может предусматриваться специальный тупик, необходимость, устройства которого должна обосновываться в проекте.

8. СОРТИРОВОЧНЫЕ УСТРОЙСТВА И ПУТЕВОЕ РАЗВИТИЕ СТАНЦИЙ

8.1. Промышленную станцию следует рассматривать как один из элементов транспортного комплекса предприятия, промышленного узла и промышленного района. В общем случае транспортный комплекс включает в себя следующие основные элементы:

грузовые пункты и фронты, объединенные территориально в маневровые районы;

промышленные станции;

внешние железнодорожные пути, соединяющие промышленные станции с общей сетью железных дорог;

соединительные пути.

8.2. Перечисленные элементы транспортного комплекса в пределах рассматриваемой станции объединяются в условно изолированные системы:

сортировочные пути промышленной станции - грузовые фронты предприятий;

приемоотправочные пути - сортировочное устройство;

приемоотправочные пути - внешние железнодорожные пути.

8.3. Если транспортный комплекс предприятия или промышленного узла включает в себя несколько промышленных станций, то предварительно должно быть выполнено распределение общего объема работы между станциями.

8.4. Путевое развитие и основные параметры промышленной станции (организация работы, техническая оснащенность, время нахождения вагонов и др.) при заданном объеме работы должны определяться на основании системного анализа, заключающегося в нахождении оптимального сочетания этих параметров.

8.5. Для каждой промышленной станции определяют следующие параметры:

схема организации маневровой работы с разборочным вагонопотоком назначением на грузовые фронты;

тип сортировочного устройства;

путевое развитие;

число маневровых локомотивов рабочего парка, занятых обработкой грузовых фронтов;

время нахождения вагонов общесетевого парка на станции.

8.6. Оптимальная организация маневровой работы определяется путем сравнения схем, различающихся способом закрепления локомотивов за маневровыми районами и местом выполнения детальной подборки вагонов по грузовым фронтам предприятий (по методике, изложенной в прил. 1).

8.7. Для переработки вагонов на промышленных железнодорожных станциях применяются следующие типы сортировочных устройств:

вытяжные пути со стрелочной горловиной на уклоне или вытяжные пути специального профиля при числе сортировочных путей до 10;

полугорки, использующие силу тяжести вагонов или метод серийных толчков и применяемые, как правило, при переустройстве существующих безгорочных станций, когда сооружение горок малой мощности требует больших капитальных затрат;

горки малой мощности, использующие силу тяжести вагонов и применяемые при числе сортировочных путей до 16;

горки средней мощности, использующие силу тяжести вагонов, применяемые при числе сортировочных путей до 30.

8.8. Выбор типа сортировочного устройства промышленной станции зависит от принятой технологии работы, схемы организации маневровой работы с разборочным вагонопотоком, размеров и характера перерабатываемых на станции вагонопотоков.

Сортировочное устройство выбирается на основании анализа уровней загрузки различных типов этих устройств.

Расчетный уровень загрузки сортировочного устройства определяется по формуле

                                                         (13)

где Ni - среднесуточные размеры вагонопотока различного вида, ваг./сут; Si - коэффициент трудоемкости переработки вагонопотока вида i (коэффициент приведения); I - общее число различных видов вагонопотоков, перерабатываемых на сортировочном устройстве; E - максимально допустимая перерабатывающая способность сортировочного устройства, соответствующая его 85 %-ной загрузке для горки и 70 %-ной загрузке для вытяжки и полугорки, ваг./сут. Si - принимается равным: 1 - для разборочного вагонопотока назначением на другие станции и маршрутного вагонопотока, если он перерабатывается на сортировочном устройстве; 3 - для разборочного вагонопотока назначением на грузовые фронты, обслуживаемые непосредственно через данную станцию, при выполнении подборки вагонов по фронтам на грузовых станциях предприятий или на веерах внутриплощадочных путей грузовых пунктов; 4 - то же, при выполнении подборки вагонов по фронтам на сортировочном устройстве станции.

Максимально допустимая перерабатывающая способность сортировочного устройства E (с учетом повторных сортировок) принимается по табл. 12.

Таблица 12

Сортировочное устройство

Максимальная перерабатывающая способность, ваг./сут

Сортировочное устройство

Максимальная перерабатывающая способность, ваг./сут

Вытяжной путь

800

Горка малой мощности

2500

Полугорка

1200

Горка средней мощности

5000

Коэффициент Si - в формуле (13) выбирается при следующих, наиболее неблагоприятных условиях работы сортировочных устройств:

сортировка вагонов на вытяжном пути осуществляется рейсами осаживания;

сортировочная горка не механизирована;

подборка вагонов по грузовым фронтам на внутриплощадочных путях - по схеме 1 (прил. 1);

подборка вагонов по грузовым фронтам на сортировочном устройстве - по схеме 2 (прил. 1).

При организации работы на вытяжном пути толчками, механизации горки и других схемах организации маневровой работы уровень загрузки сортировочного устройства рассчитывается по методике, приведенной в прил. 2.

8.9. При незначительных объемах сортировочной работы (до 50 вагонов в 1 сут) и небольшом числе назначений сортировки (до 4) специальных сортировочных устройств предусматривать не рекомендуется. В этом случае сортировка вагонов может производиться на приемоотправочных путях и вытяжном пути этих парков или, при наличии условия для сортировки, - с использованием в качестве вытяжного подъездного (соединительного) пути предприятия.

8.10. Расчет числа маневровых локомотивов, занятых обработкой грузовых фронтов, а также время нахождения вагонов общесетевого парка на станции приведены в прил. 1 и 4.

Определение числа приемоотправочных путей

8.11. Приемоотправочные пути промышленных станций предназначаются:

для приема грузовых поездов с общей сети железных дорог в расформирование;

для приема подачи с грузовых станций и грузовых пунктов (фронтов) промышленных предприятий в расформирование;

для приема сформированных поездов с путей сортировочных парков станции, а также групп вагонов с грузовых станций, грузовых пунктов (фронтов) предприятий и отправления их на общую сеть;

для приема маршрутных поездов, следующих на грузовые станции и грузовые пункты (фронты) предприятий, и отправления их с указанных станций и грузовых пунктов (фронтов) без переработки на общую сеть;

для приема и отправления пассажирских поездов (при их наличии).

8.12. Число приемоотправочных путей на станциях независимо от того, проектируются ли они в самостоятельных парках или объединенных приемоотправочных парках, устанавливается, как правило, отдельно для каждого вагонопотока: разборочного в адрес грузовых фронтов (Nрф) или грузовых станций (Nвст) предприятий, маршрутизированного (Nм) или вагонопотока, отправляемого на станцию примыкания (Nот).

8.13. Число приемоотправочных путей на сортировочных и грузовых промышленных станциях назначается в соответствии с п. 2.98 СНиП 2.05.07-85 в зависимости от размеров среднесуточного вагонопотока, а при известных данных - от числа поездов (подач) и типа сортировочного устройства по табл. 13.

Число подач разборочного вагонопотока, поступающих с грузовых фронтов на станцию mпод, и расчетное число вагонов в одной подаче (с учетом неравновеликости подачи) nпод определяется по формулам:

mпод = 15,6Nрф/(tцP),                                                    (14)

где P - производительность маневрового локомотива, занятого обработкой грузовых фронтов. Определяется по методике, изложенной в прил. 1, ваг./сут.; Nрф - среднесуточный входящий вагонопоток в адрес грузовых фронтов, обслуживаемых через данную станцию, ваг./сут;

nпод = 0,15tцP,                                                               (15)

где tц - среднее время выполнения одной подачи-уборки, ч.

Время tц принимается равным при Nрф:

100 вагонов и менее..................... 1,14

100 - 200 вагонов.......................... 1,2

300                 »............................... 1,3

400                 »............................... 1,4

500 - 600       »............................... 1,5

8.14. Число путей, указанное в табл. 13 пп. 5 б, в; 6 б, в определяется отдельно для каждого маршрутизированного однородного вагонопотока, среднесуточный размер которого составляет не менее 100 вагонов.

При ожидании маршрутами на станции окончания грузовых операций с предыдущей частью число приемоотправочных путей, указанное в пп. 5 б, 5 в, 6 б, 6 в табл. 13, увеличивается на 1 путь при размерах среднесуточного вагонопотока 100 - 400 вагонов (до 10 поездов) и на 2 пути - при размерах среднесуточного вагонопотока более 400 вагонов (10 и более поездов).

8.15. Число приемоотправочных путей, указанное в табл. 13, пп. 1 - 3 определено при следующих условиях:

уровень загрузки сортировочного устройства не превышает 70 % для вытяжных путей и 60 % - для горок;

средневзвешенное время сортировки в расчете на один поезд (подачу) не превышает 0,4 ч для вытяжных путей и 0,2 ч - для горок;

уровень надежности работы приемоотправочных путей составляет 90 %, т.е. допускается задержка (по отказу в приеме) в среднем каждого десятого поезда.

Если указанные условия не выполняются, число приемоотправочных путей следует определять на основании технико-экономических расчетов, методика которых приведена в прил. 3.

8.16. В каждом отдельном приемоотправочном парке или в парке приема, объединяющих в различных сочетаниях приемоотправочные пути, число которых определено по табл. 13, должен предусматриваться один ходовой путь.

Главные пути должны выделяться только в случае пропуска через промышленную станцию транзитных поездов, а также при отправлении поездов своего формирования непосредственно из сортировочного парка при последовательном расположении парков.

Определение числа сортировочных путей

8.17. В сортировочных парках проектируются основные сортировочные пути и пути для накопления больных вагонов, вагонов, требующих отцепочных ремонтов, перегрузки, вагонов с разрядными грузами, сжиженными газами, ВВ и т.п., а также вытяжные, надвижные и другие специальные пути.

8.18. Основные сортировочные пути предназначены:

а) для переработки вагонопотоков, прибывающих с общей сети железных дорог, в том числе для:

расформирования поездов и формирования подач по грузовым станциям и грузовым пунктам (маневровым районам) предприятий без подборки групп вагонов в подаче;

расформирования поездов с подборкой порожних вагонов по типам, условиям предварительной обработки (очистки, промывки, пропарки) и технической годности под погрузку соответствующих видов грузов;

расформирования поездов и формирования подач по грузовым станциям или грузовым пунктам с расстановкой груженых и порожних вагонов в них в порядке расположения грузовых пунктов (фронтов) или в порядке, обусловленном требованиями технологического процесса производства предприятий.


Таблица 13

№ п.п.

Назначение приемоотправочных путей

Число приемоотправочных путей (без ходовых и главных) при размерах

среднесуточного входящего или отправляемого вагонопотока, ваг./сут

среднесуточного числа принимаемых или отправляемых поездов (подач) одного направления

150

200

300

400

500

600

5

6

7

8

9

10 - 15

16 - 18

19 - 21

22 - 24

25 - 35

36 - 49

50 - 90

91 - 120

св. 120

1

Прием поездов с внешней сети в расформирование при отсутствии формирования поездов на внешнюю сеть и оборудовании станции:

 

 

 

 

 

 

 

 

 

 

 

 

 

 

 

 

 

 

 

 

вытяжным путем или полугоркой

1

1

2

2

3

4

1

2

2

2

2

3

4

-

-

-

-

-

-

-

горкой

1

1

1

1

2

2

1

1

1

1

1

2

2

2

-

-

-

-

-

-

2

То же, при формировании поездов на внешнюю сеть из немаршрутизированного вагонопотока и оборудовании станции:

1

1

 

 

 

 

 

 

 

 

 

 

 

 

 

 

 

 

 

 

вытяжным путем или полугоркой

1

2

3

-

-

-

1

2

2

2

2

3

-

-

-

-

-

-

-

-

горкой

1

2

2

2

2

3

1

1

2

2

2

2

2

3

-

-

-

-

-

-

3

Прием подач с предприятий для расформирования при оборудовании станций:

 

 

 

 

 

 

 

 

 

 

 

 

 

 

 

 

 

 

 

 

вытяжным путем или полугоркой

2

2

3/2

-

-

-

1

1

1

1

2

2

2

2

2

2

3/2

3/2

-

-

горкой

1

1

2

3/2

5/3

6/3

1

1

1

1

1

2

2

2

2

2

2

3/2

5/3

6/3

4

Прием с предприятий подач немаршрутизированного вагонопотока с накоплением до установленной массы поезда и последующим отправлением на станцию примыкания одним назначением

1

2

2

2

2

3

1

1

2

2

2

2

2

2

-

-

-

-

-

-

5

Прием с внешней сети маршрутов с последующей передачей их на предприятия:

 

 

 

 

 

 

 

 

 

 

 

 

 

 

 

 

 

 

 

 

без деления на части

1

1

1

1

1

1

1

1

1

1

1

1

1

1

1

-

-

-

-

-

с делением на 2 части

1

2

2

2

2

2

1

1

2

2

2

2

2

2

-

-

-

-

-

-

с делением на 3 части

1

2

3

3

3

3

1

1

2

3

3

3

3

3

-

-

-

-

-

-

6

Прием с предприятий маршрутных групп вагонов с накоплением их до установленной массы поезда и последующим отправлением на внешнюю сеть:

 

 

 

 

 

 

 

 

 

 

 

 

 

 

 

 

 

 

 

 

маршруты

1

1

1

1

1

1

1

1

1

1

1

1

1

1

1

-

-

-

-

-

двух подач по 1/2 маршрута

1

2

2

2

2

2

1

1

2

2

2

2

2

2

-

-

-

-

-

-

трех подач по 1/3 маршрута

1

2

3

3

3

3

1

1

2

3

3

3

3

3

-

-

-

-

-

-

Примечания: 1. Перед чертой указано число путей приема, полезная длина которых соответствует расчетной длине подач; после черты - число путей с полезной длиной, равной не менее двух расчетных длин подач. 2. Число путей для приема с внешней сети маршрутов и последующей передачи их на предприятие определяется без учета времени ожидания грузовых операций с предыдущей частью. При необходимости это время должно определяться по отдельному расчету с соответствующим увеличением числа путей. 3. При формировании на промышленной станции поездов, отправляемых на внешнюю сеть, и выполнении на ней приемосдаточных операций следует предусматривать один дополнительный приемоотправочный путь.


В первых двух случаях расформирование поездов может производиться как с накоплением, так и без накопления вагонов на сортировочных путях, в третьем случае, как правило, без накопления вагонов;

б) для переработки вагонопотоков, прибывающих с грузовых станций, грузовых пунктов (фронтов) промышленных предприятий, в том числе:

для расформирования подач, накопления вагонов до установленной величины составов и формирования поездов из груженых вагонов по направлениям или, согласно плану формирования поездов, - по назначениям железных дорог общей сети, а из порожних вагонов - в соответствии с условиями направления их на общую сеть;

для расформирования - формирования подач назначением на станцию примыкания;

для расформирования - формирования составов из порожних вагонов.

8.19. Число основных сортировочных путей зависит от объема перерабатываемого на сортировочном устройстве вагонопотока, типа сортировочного устройства, числа назначений в разборочном поезде, принятого числа назначений формирования и способа организации сортировочной работы, числа локомотивов, обслуживающих грузовые фронты и их загрузки, а также длины формируемых составов и сортировочных путей.

8.20. Число сортировочных путей mс рассчитывается по формуле

mс = mрф + mрст + mм + mот,                                                    (16)

где mрф - число путей для вагонопотока назначением на грузовые фронты, обслуживаемые непосредственно через данную станцию; mрст - число путей для вагонопотока назначением на другие промышленные станции или специализированные назначения; mм - число путей для маршрутизированного вагонопотока, если он перерабатывается на сортировочном устройстве; mот - число путей для отправляемого на внешнюю сеть вагонопотока при числе назначений формирования на внешнюю сеть K > 1; mрф и mм определяются путем деления размеров среднесуточного входящего вагонопотока Nрф и Nм на суточный съем вагонов с одного сортировочного пути по СНиП 2.05.07-85 табл. 16 и прил. 1 табл. 3, который соответствует производительности локомотива, занятого подачей-уборкой вагонов; mрст - принимается по числу промышленных станций или назначений, в адрес которых отсортировываются вагоны на данной станции; при этом суточный съем вагонов с сортировочного пути не должен превышать 150 на каждое назначение; mот - принимается по числу назначений формирования на внешнюю сеть K; при этом суточный съем вагонов с сортировочного пути не должен превышать 200 на каждое назначение.

8.21. При общих размерах среднесуточного объема сортировки 50 вагонов и менее сортировочные пути на промышленной станции не предусматриваются.

8.22. Дополнительно к основным путям в каждом отдельном сортировочном парке при выполнении детальной подборки вагонов по грузовым фронтам на сортировочном устройстве станции (2, 4, 6 схемы прил. 1) должен быть предусмотрен один отсевной путь. Кроме того, если по местным условиям не представляется возможным устройство общего ходового пути для приемоотправочного и сортировочного парков, в сортировочном парке должен предусматриваться отдельный ходовой путь.

На промышленных станциях со среднесуточным объемом переработки на сортировочном устройстве свыше 500 ваг. должен выделяться один дополнительный путь для перестановки вагонов во время очистки путей от снега и производства плановых ремонтов пути.

Определение полезной длины путей

8.23. Полезная длина приемоотправочных путей на станциях промышленных предприятий определяется, исходя из наибольшей длины поездов (подач), включая длину локомотивов, принятых к обращению на примыкающих к станции участках путей с учетом резерва на неточность установки составов.

8.24. Длина поездов и подач устанавливается по технико-экономическим расчетам, исходя из объема перевозок, характера вагонопотока, организации движения, технологического процесса работы станции и погрузочно-разгрузочных устройств, величины руководящего уклона и мощности локомотива.

8.25. Длина поездного (вывозного) локомотива для установления длины путей принимается не менее 30 м, для маневрового - 20 м; неточность установки составов при приеме поездов (подач) с использованием поездных (вывозных) локомотивов принимается 20 м, а с маневровым локомотивом - 10 м.

8.26. Полезная длина путей, предназначенных для приема на один путь подач с предприятий, может быть увеличена и должна быть кратной длине передачи. При этом должно быть сокращено число этих путей на станциях (табл. 13 п. 3).

8.27. Полезная длина приемоотправочных путей для приема и отправления полновесных поездов на железные дороги общей сети без переработки на станции примыкания назначается в соответствии с полезной длиной приемоотправочных путей на станциях, расположенных на прилегающих перегонах этих дорог с учетом перспективы - 1250, 1050 или 850 м.

8.28. Разрешается на всех путях или части приемоотправочных путей применение полезной длины меньше 850 м в случаях, когда длина принимаемых или отправляемых маршрутных поездов (с учетом перспективы) существенно отличаются от полезной длины путей, установленной по унификации с железной дорогой общей сети.

8.29. При приеме со станции примыкания и отправлении на нее части маршрута полезная длина приемоотправочных путей принимается из расчета 1/2 или 1/3 длины маршрута, но не менее 350 м.

8.30. При строительстве новых станций в необходимых случаях допускается отклонение в меньшую сторону от принятых норм полезной длины приемоотправочных путей до 10 м.

На переустраиваемых станциях в обоснованных случаях (для сохранения существующих горловин, избежания больших объемов земляных работ, работ по переустройству искусственных сооружений на подходах и т.п.) отклонения в меньшую сторону допускаются до 25 м.

8.31. Полезная длина приемоотправочных путей на участках с резко выраженным негрузовым направлением может быть установлена отдельно для грузового и негрузового направлений.

8.32. На станциях, расположенных в пределах участков систематического подталкивания или двойной тяги, установленная полезная длина приемоотправочных путей должна быть увеличена на длину второго локомотива.

8.33. Полезная длина сортировочных путей принимается, как правило, дифференцированной в зависимости от условий работы станции по расформированию поездов и передач, рода и числа назначений в поездах и числа вагонов, поступающих на каждое назначение.

8.34. Полезная длина специализированных сортировочных путей, предназначенных для накопления вагонов до установленной весовой нормы поезда или величины подачи, принимается по их длине, увеличенной на 10 %, неспециализированных, предназначенных для формирования разборочных поездов - по табл. 14.

8.35. Полезная длина сортировочно-отправочных путей, с которых предусматривается отправление поездов на общую сеть железных дорог, должна быть не менее длины состава с учетом перспективы, установленной на прилегающих к станции участках железных дорог общей сети, увеличенной на 10 %.

Таблица 14

Число вагонов в разборочном поезде

Полезная длина сортировочного пути, м, при удельном весе вагонопотока данного назначения

0,2 и менее

0,3

0,4

0,5

0,6

0,7

0,8

0,9

30 и менее

180

225

270

315

360

405

435

465

40

210

285

345

405

465

525

570

615

50

270

330

420

445

570

630

690

750

60

300

350

450

500

600

700

750

850

При отправлении на станцию примыкания общей сети неполновесных поездов полезная длина сортировочно-отправочных путей принимается по максимальной длине формируемых на путях поездов, увеличенной на 10 %, но не менее 350 м.

8.36. Полезная длина вытяжных (надвижных) путей должна, назначаться, как правило, на полную длину сортируемого поезда. В трудных условиях, при организации маневровой работы с вагонопотоком в адрес грузовых фронтов, непосредственно обслуживаемых через данную станцию, а при оборудовании станции горкой независимо от схемы организации маневровой работы полезную длину вытяжных путей допускается проектировать на половину длины состава.

В особо трудных условиях при среднесуточном объеме переработки на вытяжных путях менее 100, на полугорках - 250, на горках - 500 вагонов длину вытяжных путей допускается проектировать на 1/3 длины состава, но не менее 250 м (СНиП 2.05.07-85, п. 2.112).

8.37. На горочных станциях в хвостовой горловине сортировочного парка следует проектировать вспомогательные вытяжные пути, полезной длиной, равной половине длины состава, а в трудных условиях - не менее 1/3 длины.

8.38. В отдельных случаях для приема с предприятий маршрутов по частям в приемоотправочном парке укладываются вытяжные пути для перестановки частей маршрута на пути отправления полезной длиной не менее длины переставляемой части маршрута.

8.39. Установленную по величине состава длину вытяжных путей следует увеличивать на длину локомотива с учетом неточности установки состава.

8.40. Полезная длина погрузочно-разгрузочных путей на станциях устанавливается в зависимости от типа устройств, применяемых для выполнения операций, по погрузке и выгрузке, и длины состава подачи с учетом производства на путях необходимых маневров.

8.41. Полезная длина прочих станционных путей определяется в зависимости от числа вагонов (длины составов), намечаемых к постановке на этих путях, с учетом производства на путях необходимых операций.

8.42. Полезная длина предохранительных тупиков должна быть не менее 50 м, а на станциях, расположенных на территории предприятий и в карьерах, - не менее 30 м.

Требования к конструкции горловин станций

8.43. К конструкциям горловин (зонам со стрелочными переводами, соединяющими пути и парки станций между собой) станций промышленных предприятий при проектировании предъявляют следующие требования:

обеспечение наибольшей пропускной способности и числа одновременно выполняемых операций при соблюдении условий безопасности их производства;

достижение максимальной компактности и сокращения длины горловин;

обеспечение необходимой технологической связи между путями и парками станции и взаимозаменяемости путей в парках;

обеспечение выходов со станции на грузовые пункты (фронты) предприятий и на подъездные пути с возможно большего числа приемоотправочных и сортировочных путей при наименьшем числе пересекаемых маршрутов;

при подходе к станции нескольких подъездных и соединительных путей горловины должны обеспечивать параллельный прием-отправление поездов (подач) этих направлений;

обеспечение равномерной загрузки стрелочных переводов при наименьшем их числе на главных путях станции.

8.44. Безопасность приема и отправления поездов (подач) и маневровой работы достигается применением рациональных схем горловин с наименьшим пересечением главных путей станций, оборудованием станции устройствами электрической централизации и автоматики. На крупных станциях приемоотправочные парки секционируют для осуществления параллельных операций.

8.45. Для укорочения горловин в приемоотправочных парках применяют перекрестные съезды и перекрестные стрелочные переводы. В табл. 15 приведены типичные схемы горловин приемоотправочных парков промышленных станций.

8.46. Путевое развитие горловин сортировочного парка с использованием горок и вытяжных путей должно отвечать требованиям пучкообразного построения горловины для уменьшения ее длины. Это обеспечивает более высокую перерабатывающую способность сортировочных устройств, позволяет уменьшить высоту горок, а также суммарную мощность тормозных средств и затрат на их устройство и эксплуатацию.

Таблица 15

№ п. п.

Схемы

Междупутье

Тип рельса

Расстояние

Главные и приемоотправочные пути

Прочие станционные и внутренние пути

по оси от передних стыков рамных рельсов до центра перевода

от центра перевода до торца крестовины (по оси пути)

в нормальных условиях

в стесненных условиях и при переустройстве путей

в нормальных условиях

в стесненных условиях и при переустройстве путей

вставка

длина

вставка

длина

вставка

длина

вставка

длина

a1

b1

d

l

d

l

d

l

d

l

1

-

Р50

15,42

 

12,5

6,25

43,35

37,09

6,25

4,50

37,09

35,34

4,5

35,34

0

30,84

-

Р65

15,19

12,5

6,25

42,89

36,03

6,25

4,50

36,63

34,88

4,5

34,88

0

30,38

2

-

Р50

15,42

 

12,5

43,35

6,25

37,09

4,50

35,34

0

30,84

-

Р65

15,19

12,5

42,89

6,25

36,63

4,50

34,88

0

30,38

3

-

Р50

15,42

15,64

12,5

6,25

43,56

37,31

6,25

4,5

37,31

35,56

4,5

35,56

-

-

-

Р65

15,19

15,85

12,5

6,25

43,54

37,29

6,25

4,5

37,25

35,54

4,5

35,54

-

-

4

4,8

Р50

 

15,04

12,42

43,70

12,42

43,70

12,42

43,70

12,42

43,70

Р65

15,85

12,0

43,70

12,0

43,70

12,0

43,70

12,0

43,70

5,3

Р50

15,64

16,92

48,20

16,92

48,20

16,92

48,20

16,92

48,20

Р65

15,85

16,5

48,20

16,5

48,20

16,5

48,20

16,5

48,20

5

4,8

Р50

15,42

15,64

12,64

43,70

12,64

43,70

12,64

43,70

12,64

43,70

Р65

15,19

15,85

12,66

43,70

12,66

43,70

12,66

43,70

12,66

43,70

5,3

Р50

15,42

15,64

17,14

48,20

17,14

48,20

17,14

48,20

17,14

48,20

Р65

15,19

15,85

17,16

48,20

17,16

48,20

17,16

48,20

17,16

48,20

Примечание. Над чертой - для главных путей, под чертой - для приемоотправочных путей.

8.47. При проектировании горловин на сортировочных устройствах должна предусматриваться поточность всех операций, обеспечивающая ускорение оборота вагонов и ритмичность расформирования и формирования составов.

8.48. Горочная горловина сортировочного парка в пределах от первой разделительной стрелки до предельных столбиков проектируется короткой за счет применения симметричных стрелочных переводов с крестовинами марки 1/6, глухих пересечений марки 2/6 и кривых радиусом до 200 м, а в отдельных случаях до 140 м.

Стрелочные переводы горловин со стороны сортировочного устройства группируются с учетом объединения парковых путей в пучки от 3 до 8 в каждом.

При расположении кривых в плане между стрелочными переводами тангенсы кривых размещают непосредственно за хвостом крестовины или перед стыком рамного рельса.

8.49. При выполнении сортировочной работы с подборкой вагонов по грузовым фронтам и пунктам предприятий на промышленной станции значительно возрастает объем повторной сортировки вагонов, которую целесообразно производить на основном сортировочном устройстве.

Для рационального использования основного сортировочного устройства при повторной сортировке и перестановке вагонов, а также для возможности отправления поездов в сторону, обратную направлению сортировки, с возможно большего числа основных путей сортировочного парка должны предусматриваться соединительные пути в обход вершины горки.

При отсутствии дробной сортировки соединительные пути в обход вершины горки могут проектироваться только для крайних путей, с которых производится отправление поездов на общую сеть или подач на предприятия.

Применение в этом случае перекрестных съездов в горловине горки позволяет:

производить отправление поездов и подачу на внешнюю сеть или предприятия с части сортировочных путей в сторону, обратную сортировке, не прекращая роспуска состава;

вытягивать составы с большей части сортировочных путей в обход горки для повторной сортировки или переставлять группы вагонов на пути сборки со стороны горки;

при работе двух маневровых локомотивов вытягивать составы в обход горки с части путей одновременно с роспуском состава;

уменьшить по сравнению с симметричными стрелками марки 1/6 длину горочной горловины, сократить высоту горки и уменьшить мощность тормозных позиций.

Рис. 42. Наименьшее расстояние от вершины горки

а, в - до первой разделительной стрелки; б, г - до вагонного замедлителя; 1 - направление роспуска

Условные обозначения:

 - горб горки

 - стык изолирующий

 - стык сварной переходной с рельса Р50 на Р65 заводского изготовления

 - стык металлический переходной с рельса Р50 на Р65

 - стык металлический

 - вагонные замедлители

8.50. Наиболее распространенными схемами являются горочные горловины со спускным путем, расположенным симметрично или под стрелочными углами 6°20'25" и 12°40'50" относительно продольной оси сортировочного парка.

Горочные горловины, расположенные симметрично относительно продольной оси сортировочного парка, могут применяться как при последовательном, так и при параллельном расположении приемоотправочного и сортировочного парков.

Горочные горловины с расположением оси сортировочного парка под углом к оси спускного пути применяются в основном при параллельном расположении сортировочного и приемоотправочного парков.

8.51. В целях сокращения числа замедлителей на спускной части горок с числом сортировочных путей 8 и менее конструктивные решения горочных горловин могут быть приняты с устройством тормозной позиции, расположенной перед первой разделительной стрелкой. Эти схемы рекомендуется применять в благоприятных климатических условиях, при наличии резерва перерабатывающей способности сортировочного устройства, когда кратковременные перерывы, связанные с ремонтом замедлителей, не отражаются на перерабатывающей способности горки (рис. 42).

8.52. В тех случаях, когда на первый период эксплуатации тормозная позиция не оборудуется вагонными замедлителями, горочные горловины проектируют с учетом возможности последующего перехода к комплексной механизации сортировочного процесса.

8.53. При расположении замедлителей типа КВ-3 и КНП между кривыми в плане тангенсы кривых принимают на расстоянии 1 м от крайних изолирующих стыков вагонных замедлителей.

8.54. Наименьшее расстояние между симметричными стрелочными переводами марки 1/6 и перекрестными съездами марки 2/6 принимают по табл. 16.

Расстояния между элементами стрелочных переводов и вагонными замедлителями типа КВ-3 на спускной части горок приведены на рис. 43.

8.55. В горловинах горок при необходимости предусматривают дополнительные соединения путей для ускорения операций по уборке вагонов, запрещенных к спуску с горки без локомотива.

8.56. Конструкции хвостовых горловин сортировочного парка должны обеспечивать одновременное проведение следующих операций:

отправление поездов на внешнюю сеть или на предприятия из сортировочного парка, а также перестановку состава из сортировочного парка в отправочный;

проход поездного или маневрового локомотива к сформированному составу или подаче;

формирование поездов или подач (при необходимости) со стороны хвостовой горловины.

Рис. 43. Расстояние между элементами стрелочных переводов и вагонными замедлителями на спускной части горок

а, б, в - в нормальных условиях проектирования; г, д, е - в стесненных условиях проектирования (обозначения см. рис. 42)

8.57. При проектировании горок, а в обоснованных случаях и при проектировании других сортировочных устройств в хвостовых горловинах сортировочных парков предусматриваются дополнительные вытяжки для выполнения вспомогательных операций.

8.58. Хвостовые горловины с числом путей в сортировочном парке не более 12, как правило, проектируют со стрелочными переводами марки 1/9.


Таблица 16

Расстояния между центрами смежных симметричных стрелочных переводов, м

№ п.п.

Схемы

Междупутья

Тип рельса

Расстояние

на сортировочных путях

на сортировочно-отправочных путях

Длина съезда

 

от передних стыков рамных рельсов до центра перевода (по оси пути)

от центра перевода до конца крестовины (по оси пути)

от центра перевода до торца крайнего рельса за хвостом крестовины

вставка

длина

вставка

длина

 

S

 

a1

a2

b1

b2

 

d

l

d

l

L

 

1

Направление сортировки

-

Р50

9,93

-

10,59

-

-

-

-

6,25

26,11

-

-

Р50

9,93

-

10,59

-

-

-

-

4,50

24,36*

-

2

Направление сортировки

-

Р50

9,93

6,93

10,59

10,59

-

-

-

6,25

23,11

-

-

Р50

9,93

6,93

10,59

10,59

-

-

-

5,26

22,12*

-

3

Направление сортировки

-

Р50

-

6,93

-

10,59

-

6,25

20,12

-

-

-

-

Р50

-

6,93

-

10,59

-

5,26

19,12*

-

-

-

4

Направление сортировки

-

Р50

9,93

-

10,59

-

-

-

-

7,46

27,99

-

5

Направление сортировки

-

Р50

-

6,93

-

10,59

11,78

6,25

24,97

-

-

-

-

Р50

-

6,93

-

10,59

11,78

5,26

23,98*

-

-

-

6

5,92

Р50

9,93

-

10,59

-

-

-

-

4,5

24,36*

35,54

5,92

Р50

9,93

-

10,59

-

-

-

-

6,25

26,11

35,54

7

5,92

Р50

9,93

6,93

-

-

-

6,25

23,11

-

-

35,54

5,92

Р50

9,93

6,93

-

-

-

5,26

22,12*

-

-

35,54

5,92

Р50

9,93

-

-

10,59

11,78

4,5

26,21

-

-

35,54

8

Направление сортировки

4,8

Р50

-

-

10,59

10,59

11,78

5,65

29,21

-

-

-

5,3

Р50

-

-

10,59

10,59

11,78

8,69

32,25

-

-

-

5,75

Р50

-

-

10,59

-

11,78

10,59

12,5

34,87

-

-

-

* Принимается в стесненных условиях проектирования.

Рис. 44. Схема симметричной горочной горловины сортировочного парка на 10 путей

Рис. 45. Схема хвостовой горловины сортировочного парка на 10 путей


В стесненных условиях, а также при числе путей в парке более 12 рекомендуется хвостовые горловины проектировать с использованием симметричных стрелочных переводов марки 1/6.

8.59. Для повышения качества и ускорения проектирования промышленных станций следует применять типовые проектные решения горочных и хвостовых горловин сортировочных и приемоотправочных парков.

8.60. В качестве примера на рис. 44, 45 приведен один из вариантов плана сортировочного парка на 10 путей, скомбинированных из чертежей горочных и хвостовых горловин указанных выше типовых решений.

9. СИГНАЛИЗАЦИЯ, ЦЕНТРАЛИЗАЦИЯ, БЛОКИРОВКА (СЦБ) И СВЯЗЬ

9.1. При разработке проектов устройств СЦБ и связи надлежит руководствоваться, кроме СНиП 2.05.07-85 и рекомендаций настоящего раздела:

Ведомственными нормами технологического проектирования (М., 1986);

Правилами производства работ по устройству автоматики и телемеханики на железнодорожном транспорте (СЦБ). Кабельные работы. ВСН 129/1-80; Монтаж устройств СЦБ. ВСН 129/11-77 (М., 1980);

Руководством по проектированию сооружений электросвязи на железных дорогах Союза ССР (Л., 1982);

правилами и нормами, утвержденными транспортными управлениями соответствующих министерств и ведомств;

техническими заданиями на проектирование устройств СЦБ и связи, выдаваемыми железнодорожными цехами реконструируемых предприятий с учетом местных особенностей.

9.2. В зависимости от размеров движения и организации работы проектируются следующие основные устройства СЦБ: на перегонах соединительных путей - путевая блокировка; на раздельных пунктах и в маневровых районах - электрическая централизация стрелок и сигналов; на перегонах, раздельных пунктах и в маневровых районах - переездная сигнализация, а при больших размерах движения, кроме того, диспетчерский контроль, диспетчерская централизация, механизация и автоматизация горок. В необходимых случаях при решении вопросов с поставкой нестандартизированного оборудования проектируются также телеуправление транспортными объектами с локомотива и устройства СЦБ в комплексе с автоматической системой управления технологическим процессом (АСУ ТП).

9.3. Устройства СЦБ, включая здания постов централизации, постовую аппаратуру и магистральную кабельную сеть, следует проектировать с учетом перспективы путевого развития станций и взаимосвязанных с ними внутренних путей без перерыва движения поездов (подач) при осуществлении последующих очередей строительства обслуживаемых предприятий (цехов).

Постовые устройства электрической централизации должны предусматриваться на полную проектную мощность предприятия в случае, когда разработана путевая часть всей станции.

9.4. При расширении и реконструкции сооружений и устройств СЦБ и связи, когда дополнительная постовая аппаратура их не может быть размещена в существующих зданиях, рекомендуются блокировка этих зданий с новыми (пристраиваемыми) помещениями и применение однотипной с существующей аппаратурой.

9.5. Выбор элементной базы аппаратуры вновь проектируемых устройств СЦБ и связи при расширении и реконструкции предприятий должен определяться в зависимости от соотношения числа действующей и проектируемой на транспорте предприятия аппаратуры с учетом сроков эксплуатации кабельной сети и напольного оборудования.

9.6. В проектах СЦБ и связи необходимо предусматривать технические решения, обеспечивающие после введения их в действие:

выполнение технологического процесса по обслуживанию предприятия при заданных размерах движения;

безопасность движения, соответствующую местным условиям;

сокращение ручного труда;

снижение простоев подвижного состава за счет сокращения числа и продолжительности остановок и исключения ограничений скорости движения по условиям безопасности.

9.7. При проектировании внутренних железнодорожных путей промышленных предприятий черной и цветной металлургии, угольной промышленности, промышленности строительных материалов, химической промышленности и т.п. следует учитывать следующие особенности устройств автоматики на этих путях:

ограниченное число сигнальных показаний для регулирования движения поездов и увеличенное число показаний для регулирования маневрового движения, в том числе применение различных комбинаций сигнальных огней, включая мигающие;

безаккумуляторное электропитание;

малопроводные линейные цепи управления и контроля;

беспостовые устройства; блокирование зданий постов СЦБ со станционными зданиями; бесшкафные напольные устройства; переездная сигнализация, переключаемая в зависимости от передвижений железнодорожного подвижного состава в районе переезда, сокращенное число устанавливаемого постового и напольного оборудования СЦБ.

9.8. Устройства сигнализации, ограждающие железнодорожные вводы на фронты погрузки и разгрузки, должны быть увязаны с устройствами СЦБ на подходах к грузовым фронтам.

9.9. Разрешение на въезд на территорию грузовых фронтов, управление сигнализацией на въездах и обслуживание этой сигнализации должно предусматриваться работниками обслуживаемых цехов, а применяемая аппаратура приниматься из числа электротехнического оборудования общего назначения.

9.10. Оборудование и аппаратура, предусматриваемые в проектах СЦБ и связи, должны приниматься из числа серийно изготавливаемых промышленностью для сети железных дорог общего пользования.

9.11. Перечень нестандартизированного оборудования и оборудования, имеющего ограничения в поставках, должен быть указан в задании на проектирование.

9.12. Количество оборудования и материалов, предусматриваемых в проектах СЦБ и связи, должно обеспечивать сдачу устройств в эксплуатацию с учетом пусконаладочных работ.

Напольные устройства СЦБ

9.13. Напольные устройства СЦБ (стрелочные электроприводы, светофоры, маневровые колонки, релейные шкафы, путевые ящики и кабельные линии) устанавливают на основании схематических планов, разрабатываемых в составе проектов СЦБ, на основании норм ВСН 129/1-80, ВСН 129/11-77 в соответствии с габаритом приближения строений (ГОСТ 9238-83).

9.14. Переходы кабельных линий через автодороги, а также местоположение релейных шкафов должны быть увязаны с генеральными планами предприятий.

9.15. В проектах автодорог должна предусматриваться укладка на глубине 1 м не менее двух асбоцементных труб диаметром 100 мм с любой стороны от пересекающего автодорогу железнодорожного пути на расстоянии 2 - 5 от последнего (число труб определяется пропуском в каждой по 2 - 3 кабеля и дополнительно одной резервной трубы).

9.16. При проектировании путевого развития в случаях, когда необходимо строго выдерживать расстояния от рельсовых изолирующих стыков до пересекающих их автодорог, указанные рельсовые стыки (в том числе с резкой рельсов) должны быть указаны на путевых планах.

9.17. Кабельные линии СЦБ на мостах (эстакадах) рекомендуется прокладывать в балластном корыте в асбоцементных трубах диаметром 100 мм, а там, где это невозможно, в металлических трубах; прокладка кабельных линий по шлаковым грунтам должна предусматриваться только в канализации или в желобах.

9.18. Для прокладки кабеля СЦБ от поста, располагаемого на борту карьера, к внутрикарьерным путям следует предусматривать металлическую лестницу, опускаемую по борту карьера.

9.19. При строительстве электрической централизации в несколько очередей следует предусматривать прокладку магистрального кабеля СЦБ в железобетонных желобах (при условии изготовления желобов силами заказчика).

9.20. Соединение кабелей СЦБ следует, как правило, предусматривать в подземных кабельных муфтах.

9.21. При выборе марки сигнально-блокировочного напольного и внутрипостового кабеля должна учитываться горючесть полиэтиленовой оболочки.

На путях горячих перевозок кабельные муфты и путевые ящики следует заглублять в грунт с устройством гидроизоляции.

9.22. В отдельных, обоснованных в проектах случаях, при числе проводов не более 24, линейные цепи станционных устройств СЦБ допускается предусматривать воздушными.

9.23. Цепи контроля исправности и вспомогательного управления устройствами СЦБ (постоянный ток напряжением до 60 В) при требуемом числе жил в одном кабеле не более 10 могут предусматриваться с использованием свободных жил внутризаводской телефонной кабельной сети.

9.24. Линейные цепи СЦБ постоянного тока могут уплотняться путем наложения на них переменного тока напряжением 12 - 24 В в обоих направлениях.

9.25. На соединительных путях, оборудуемых рельсовыми цепями, должны быть исключены прямые подсоединения к рельсам металлоконструкций (мостов, трубопроводов, эстакад, опор и т.д.).

9.26. При выборе типа рельсовых цепей, применяемых на железных дорогах промышленных предприятий, следует учитывать:

интенсивное загрязнение железнодорожных путей продукцией и отходами производства (колошниковая пыль, мелкая руда и кокс, фенол, металлическая стружка и др.);

использование в качестве балласта шлаков, вскрышных пород и др.;

недостаточный водоотвод от железнодорожных путей;

повышенные величины обратного тягового тока на электрифицированных участках предприятий открытых горных разработок (особенно при электрификации на переменном токе напряжением 10 кВ).

9.27. Для устройства рельсовых цепей рекомендуется применять при возможности изготовления на месте клееболтовые изолирующие стыки.

9.28. На участках с автономной тягой в качестве основного типа рельсовых цепей должны приниматься рельсовые цепи 50 Гц с нейтральными путевыми реле, для участков с электрической тягой - рельсовые цепи 25 Гц с двухэлементным реле.

9.29. Предельные длины рельсовых цепей должны приниматься в зависимости от типа рельсовых цепей и минимального сопротивления балласта, но не более 2000 м.

9.30. При низком сопротивлении балласта (менее 0,250 м/км) следует разбивать рельсовые цепи на короткие участки с учетом прямой пропорции между минимально допустимым сопротивлением балласта и длиной рельсовой цепи.

9.31. Регулировочные таблицы рельсовых цепей, разработанных МПС, должны применяться с учетом параметров железных дорог промышленных предприятий.

9.32. Сдвижка изолирующих стыков относительно светофоров должна приниматься по п. 3.31 Ведомственных норм технологического проектирования.

9.33. Допускается применение удлиненных рельсовых цепей с использованием тиристоров (длиной до 6 км).

9.34. Для контроля за свободностью путевых участков, в том числе для путей, лежащих на металлических основаниях, могут применяться бесстыковые высокочастотные рельсовые цепи ограниченной длины (до 50 м, а при изготовлении аппаратуры на месте до 1 - 2 м).

9.35. При наличии съезда, одна из стрелок которого соединяет предохранительный тупик, обе стрелки этого съезда допускается включать в общий стрелочно-путевой участок.

9.36. Рамные рельсы всех стрелочных переводов, включаемые в электрическую централизацию (не более трех) должны обтекаться сигнальным током. Параллельные ответвления рельсовых цепей более 60 м длиной должны контролироваться дополнительными путевыми реле (кроме рельсовых цепей, применяемых для информации ДСП для переключения переездной сигнализации с нормально закрытыми заградительными сигналами, и рельсовых цепей, применяемых в маневровых районах для исключения перевода стрелок под составами).

На ответвлениях, где не установлены путевые реле, должны предусматриваться двойные стыковые соединители.

9.37. Контроль свободности участков пути, используемый для информации ДСП при переключении переездной сигнализации при нормально закрытых заградительных сигналах, может предусматриваться с помощью рельсовых цепей с двухкратным использованием тракта передач и одним активным концом (рельсовые цепи с диодами, реактивные рельсовые цепи).

9.38. При разработке проектов СЦБ следует учитывать возможность потери шунтовой чувствительности на малодеятельных путях (в том числе на диспетчерских съездах), а также на путях, примыкающих к фронтам погрузки и выгрузки битума и т.д.

9.39. На перегонах с автономной тягой могут применяться бесстыковые рельсовые цепи тональной частоты с расположением аппаратуры в постах ЭЦ, прилегающих станций. Указанные рельсовые цепи могут предусматриваться также при сопротивлении балласта ниже 0,250 м/км.

9.40. Предельное удаление стрелок и сигналов при прямопроводном управлении не должно превышать 6,5 км (с центральным трехфазным питанием 230/400 В или с местным питанием).

9.41. Для включения стрелок, светофоров и рельсовых цепей может предусматриваться магистральное питание, а для восстановления стыковых соединителей вдоль станций с числом стрелок более 50 может прокладываться шлейф для питания сварочных аппаратов.

9.42. Допустимое падение напряжения в линии должно определяться установленными для отдельных устройств СЦБ номинальными напряжениями при расчетных колебаниях нагрузки, при этом колебания напряжения в низковольтных цепях, питающих устройства СЦБ, должны быть не более плюс 5 и минус 10 % номинального.

9.43. Электрический расчет сечения медных жил кабелей СЦБ должен производиться по допустимому падению напряжения с проверкой при плотности тока более 5 А/мм2 на нагревание.

9.44. Падение напряжения в линии при бестрансформаторном питании светофорных ламп не должно превышать двух номинальных, при питании стрелочных электроприводов - одного номинального и во всех случаях - предельного напряжения, допускаемого в сигнально-блокировочном кабеле.

9.45. Питающие установки устройств СЦБ при электроснабжении от источников с заземленной нейтралью должны иметь изолирующие трансформаторы (в том числе при размещении аппаратуры СЦБ в релейных шкафах).

9.46. Электроснабжение рассредоточенных по территории предприятия устройств СЦБ должно предусматриваться, как правило, от общих источников.

9.47. Для контроля «мертвых зон» ограниченной длины, не контролируемых рельсовыми цепями (глухие пересечения железнодорожных и трамвайных путей и др.), могут применяться путевые педали (индуктивные, электронные), другие датчики, а также схемные решения с использованием временных зависимостей.

9.48. Для контроля положения подвижного состава на путях в особо сложных условиях (погрузочно-разгрузочные комплексы в металлургической и угольной промышленности) могут применяться радиотехнические датчики СВЧ, а по согласованию с предприятиями-изготовителями также лазерные датчики.

9.49. На передвижных путях открытых горных разработок следует предусматривать передвижную аппаратуру СЦБ, рассчитанную на часто встречающиеся варианты путевых схем, в том числе релейные шкафы с аппаратурой коммутации, монтируемые в соответствии с указанными вариантами (или допускающие возможность быстрого перемонтажа на месте), и аппараты управления блочного типа.

9.50. При проектировании напольных устройств СЦБ на территориях предприятий и цехов химической промышленности должна учитываться агрессивность среды и предусматриваться необходимые мероприятия по защите подземных кабелей.

Таблица 17

№ п.п.

Устройство

Минимальное расстояние, м, от центров стрелочных переводов при междупутье

4,2

4,8

5,3

4,2

4,8

5,3

Стрелочные переводы марки

1/7

1/9

1

Предельный столбик

 

 

29

55

49

43

40

43

39

2

Карликовый светофор с одной головкой

 

 

32

59

55

47

42

47

40

3

Карликовый светофор с двумя головками

 

 

 

-

48

48

47

44

4

Мачтовый светофор

 

 

 

-

-

68

59

Примечание. Над чертой указаны расстояния при применении стандартных рубок, под чертой - при минимальной длине рубок 4,5 м.

9.51. Срок службы напольного оборудования СЦБ должен устанавливаться в зависимости от степени агрессивности окружающей среды.

9.52. Пути, где производится слив и налив легковоспламеняющихся жидкостей (ЛВЖ), должны быть изолированы от соединительных путей не менее чем двумя парами изолирующих стыков, устанавливаемых в каждую нитку пути. При этом должна быть исключена возможность перекрытия электрифицированных участков пути и путей слива-налива подвижным составом.

Рельсовые нити путей слива-налива должны быть соединены между собой.

9.53. Установка светофоров, стрелочных электроприводов, путевых ящиков, наземных кабельных муфт и устройство рельсовых цепей не допускаются на расстоянии менее 20 м от сливоналивных эстакад нефтепродуктов, при этом должны учитываться требования СНиП.

9.54. При расстановке напольного оборудования СЦБ относительно путей необходимо выдерживать нормы, приведенные в табл. 17, 18 и п. 9.55.

Таблица 18

№ п.п.

Сооружения, устанавливаемые между стрелочными переводами, м

Минимальное расстояние между смежными стрелочными переводами, м

при попутной укладке

при встречной укладке

при попутной укладке

при встречной укладке

Стрелочные переводы марки

1/7

1/9

1

Без установки светофоров

22,3

19,8

31

14,5

2

При установке между стрелками карликового светофора

 

 

58

86

3

При установке между стрелками мачтового светофора

 

 

79

107

9.55. Минимальные междупутья, необходимые для размещения оборудования СЦБ и связи, м:

светофора на железобетонной мачте................. 5,18

то же, на металлической мачте........................... 5,048

светофора карликового с одной головкой......... 4,15

то же, с двумя головками..................................... 4,46

то же, с квадратным щитом................................. 4,49

светофора на мостике.......................................... 6,64 … 7,64

колонок маневровых............................................ 5,41

шкафа релейного.................................................. 8,25

опор с громкоговорителями................................ 5,13

переговорной колонки......................................... 5,13

9.56. Для установки стрелочных электроприводов на стрелочных переводах марки 1/7 следует применять гарнитуры для стрелочных переводов марки 1/9.

9.57. Монтажный провод, используемый при реконструкции электрических схем на посту ЭЦ, должен иметь двойную комбинированную изоляцию (марка МГШВ).

Постовые устройства СЦБ

9.58. Для размещения аппаратуры для управления стрелками и сигналами рекомендуется предусматривать объединенные здания станций и постов электрической централизации, а также блокировку таких зданий путем устройства закрытых переходов.

9.59. Отдельные посты СЦБ рекомендуется проектировать двух- и трехэтажными с ограниченными размерами в плане и возможностью при большой маневровой работе обзора и выхода на балкон в сторону путей из помещения ДСП.

9.60. Здания постов ЭЦ, включая объединенные со станционными, встроенные в заводские здания, а также проектируемые в составе общезаводских комплексов, должны удовлетворять следующим требованиям:

на первом этаже должен предусматриваться ввод напольных кабелей (совместный ввод кабелей СЦБ и связи с кабелями электроснабжения запрещается);

высота помещений для размещения аппаратуры СЦБ должна приниматься в зависимости от типа проектируемой аппаратуры (при реле НМШ - не менее 3,0 м, при реле РЭЛ - не менее 2,5 м);

перекрытия под помещениями релейной должны выдерживать нагрузку 8 кПа;

вентиляция приточно-вытяжная с трехкратным обменом, отопление с учетом тепловыделений аппаратуры СЦБ.

9.61. Помещение для аккумуляторов и резервных дизель-генераторов в постах СЦБ не предусматривается, за исключением случаев, когда надежность внешнего электроснабжения не удовлетворяет требованиям СНиП 2.05.07-85.

9.62. Здания постов электрической централизации рекомендуется проектировать с защитой аппаратуры СЦБ и связи от загрязненной воздушной среды путем выбора их местоположения, исключения оконных проемов и создания избыточного воздушного давления в помещениях релейной и связевой, а на открытых горных разработках также с защитой от влияния взрывов горных пород.

9.63. На путях открытых горных разработок, при необходимости, могут применяться передвижные посты СЦБ с использованием переоборудованных железнодорожных вагонов, автофургонов и помещений на салазках, при этом помещение ДСП может предусматриваться в виде отдельной вышки.

9.64. При отсутствии в здании поста ЭЦ специального помещения для обслуживающего персонала в релейной должно предусматриваться рабочее место механика СЦБ площадью не менее 6 м2.

9.65. При расстановке постового оборудования должны выдерживаться следующие минимальные расстояния: от передней стенки оборудования до стены помещения - 1500 мм, до стативов - 800 мм; от задней стенки оборудования до стены 1000 мм, до стативов - 800 мм; между стативами - 870 мм.

9.66. Устройства СЦБ, в первую очередь полупроводниковые элементы, должны быть защищены от атмосферных и коммуникационных перенапряжений с использованием низковольтных вентильных разрядников РВНШ-250, а также выравнивателей типа ВОЦ-220 и Вк-10.

9.67. На шинах вводных панелей ЭЦ допустимые отклонения напряжения не должны превышать 207 - 242 В.

Сигнальные устройства

9.68. Для регулирования движения поездов при скоростях до 40 км/ч и длине примыкающих к станции перегонов до 3 км рекомендуется, как правило, применять двухзначную систему светофорной сигнализации со следующими сигнальными показаниями:

а) на входном светофоре:

зеленый огонь - разрешение поезду следовать на станцию по главному или боковому пути с возможностью остановки у следующего светофора - (выходного или маршрутного), если последний закрыт;

лунно-белый мигающий огонь - разрешение поезду проследовать светофор с красным (или погасшим) огнем и продолжать движение до следующего светофора с особой бдительностью;

красный огонь - запрещение проезда светофора;

б) на выходных и проходных светофорах:

зеленый огонь - разрешение поезду следовать до следующего попутного светофора с возможностью остановки перед ним, если он закрыт;

красный огонь - запрещение проезда светофора;

в) на светофорах прикрытия:

зеленый огонь - разрешение движения за светофор;

красный огонь - запрещение движения за светофор;

г) на заградительных светофорах:

красный огонь - запрещение движения за светофор;

д) на повторительных светофорах:

зеленый огонь - разрешение движения за светофор, следующий светофор открыт.

9.69. При неблагоприятных условиях, затрудняющих остановку состава перед закрытым светофором (тяжелый профиль, расстояние между смежными попутными светофорами менее длины тормозного пути и т.д.), открытие светофора должно быть возможно только при разрешающем показании на следующем попутном светофоре.

9.70. На отдельных выходных, маршрутных, проходных светофорах в случаях, когда не обеспечивается видимость следующего попутного светофора на расстоянии длины тормозного пути (увеличенном при регулярном движении вагонами вперед на длину поезда), следует предусматривать предупредительные сигналы, разрешающие движение до следующего закрытого попутного светофора с готовностью остановиться перед ним.

9.71. В качестве предупредительных сигналов могут применяться: зеленый мигающий, зеленый и красный одновременно горящие или желтый огни.

9.72. На входных светофорах в случаях, когда возможно ошибочное восприятие побутных выходных (маршрутных) светофоров, следует применять предупредительные сигналы (зеленый и красный одновременно горящие огни).

9.73. Трехзначная система светофорной сигнализации проектируется при:

скоростях движения поездов свыше 40 км/ч и длине соединительных путей свыше 3 км;

на участках со скоростями 30 км/ч и более при 100 и более составов в 1 сут по одному пути;

при неблагоприятных условиях видимости (частые туманы, метели и др.);

на путях действующих предприятий, где эксплуатируется только такая сигнализация.

При трехзначной системе сигнализации предусматриваются предупредительные светофоры, указанные в п. 9.71.

9.74. Для регулирования маневровых передвижений проектируются светофоры со следующими показаниями:

один лунно-белый огонь - разрешение движения маневровому составу;

красный (синий) огонь - запрещение движения маневровому составу.

Синие огни должны предусматриваться на светофорах в горловинах станций с поездным движением.

9.75. В случаях, когда необходимо разделить маневровые маршруты, оканчивающиеся в пределах станции, от маршрутов с выходом на соединительные или подъездные пути, следует предусматривать маневровые светофоры с двумя лунно-белыми огнями.

Два лунно-белых огня могут предусматриваться также для обозначения движения на свободный путь (ускоренные маневры).

9.76. В случаях, когда необходимо указание о маневровом движении с ограниченной скоростью (движение на короткий тупиковый путь и т.д.), могут применяться лунно-белый мигающий или лунно-белый и красный одновременно горящие огни.

9.77. При отправлении со станций, оборудованных электрической централизацией, на один из путей многопутного участка II и III категорий на выходных светофорах направление не указывается.

9.78. Светофоры, ограждающие пути фронтов погрузки и выгрузки, где требуется прицельная установка головного вагона, должны иметь следующие показания:

зеленый огонь - разрешение движения с установленной скоростью;

желтый огонь - разрешение движения с ограниченной скоростью;

красный огонь - остановка движения;

лунно-белый и красный одновременно горящие огни - осаживание состава.

Допускается в этих случаях применение вместо желтого огня мигающего зеленого или зеленого и красного одновременно горящих огней.

9.79. В обоснованных в проекте случаях могут быть использованы следующие сигналы:

на входном светофоре - лунно-белый огонь, разрешающий прием без контроля занятости пути приема;

два зеленых огня, разрешающие прием в случаях, когда установленная скорость по станционным путям превышает допустимую при отклонении по стрелкам;

на заградительных и светофорах прикрытия - красные мигающие огни, сигнализирующие о включении выдержки времени на открытие этих светофоров.

9.80. Дополнительные сигналы, обозначающие направление движения, не предусматриваются (в необходимых случаях такие сигналы подаются с помощью парковой и радиосвязи).

9.81. Пригласительный сигнал должен предусматриваться на входном светофоре в виде отдельной головки. Эта головка может быть использована в качестве маневрового сигнала.

9.82. Допускается применение выходных светофоров с нормально погашенными сигнальными огнями, загорающимися при открытии одного из выходных светофоров.

9.83. Нормальное показание светофоров прикрытия устанавливается начальником железнодорожного цеха.

9.84. При включении на входном светофоре пригласительного огня на предыдущем светофоре показание не должно меняться.

9.85. При перегорании нити лампы красного огня (или обеих нитей при двухнитевых лампах) на входных или проходных светофорах должен предусматриваться автоматический перенос красного огня на предыдущий.

9.86. Светофоры, включаемые с постов электрической централизации, должны иметь не менее двух режимов горения ламп (дневного и ночного). Другие светофоры (светофоры автономных маневровых районов, переездов, перегонов) предусматриваются с одним режимом горения ламп.

9.87. Маршрутные указатели допускается предусматривать только в случаях, когда невозможно использование сигнальных огней.

9.88. При неблагоприятных условиях рекомендуется на поездных светофорах включать предупредительные сигналы (зеленый мигающий или зеленый и красный одновременно горящие огни) в случаях, когда продолжение данного маршрута пересекает продолжение другого установленного маршрута.

9.89. В случаях, когда лунно-белые огни зажигаются на фоне огней производственного освещения, следует предусматривать мигание сигнальных огней.

9.90. На выходном светофоре допускается применение зеленого мигающего огня при отправлении на ответвление, а на групповом выходном это же показание в качестве разрешения отправления с бокового пути.

9.91. Светофоры с двухнитевыми лампами должны предусматриваться:

в случаях, когда замена ламп затруднена ввиду ограниченной доступности к местам установки светофоров;

в случаях, когда замена ламп связана с отключением контактной сети;

на путях перевозки горячих грузов, путях открытых горных разработок и других путях перевозки массовых грузов.

Переключение основных нитей на резервные должно предусматриваться на всех лампах светофора.

9.92. Для мигания светофорных ламп могут применяться устройства, обеспечивающие продолжительность горения и перерыва равными 1 и 0,5 с или 0,75 и 0,75 с.

9.93. Мачтовыми должны проектироваться входные и маршрутные по приему поездов, проходные, групповые выходные и групповые маневровые светофоры, а также маневровые светофоры, ограждающие станции со стороны соединительных (подъездных) путей длиной более 500 м, а также в случаях, когда видимость карликовых светофоров (выходных и маршрутных с боковых путей, маневровых и др.) менее 200 м.

9.94. Групповые маневровые светофоры устанавливаются, как правило, без маршрутных указателей.

9.95. Двухсторонние групповые маневровые и заградительные светофоры допускается устанавливать с левой стороны пути.

9.96. В необходимых случаях дежурный по станции передает машинисту указание о числе подцепляемых к составу вагонов путем высвечивания соответствующей цифры на маршрутном указателе.

9.97. Установка светофоров перед въездами в заводские корпуса должна обеспечивать видимость этих светофоров из кабины локомотивов, находящихся в корпусе.

9.98. Мачтовыми должны проектироваться входные (маршрутные по приему) светофоры, проходные светофоры и светофоры по главным путям при скоростях более 50 км/ч и при движении со скоростями более 25 км/ч и размерах движения более 24 пар в сутки, а также при движении вагонами вперед.

9.99. В случаях, когда установка мачтовых светофоров затруднительна, допускается замена их на карликовые с устройством дополнительных замыканий или установка повторительных светофоров.

9.100. Установка карликовых светофоров в необходимых случаях должна по высоте соответствовать габариту специального подвижного состава.

9.101. Светофоры на территориях промышленных предприятий могут устанавливаться на стенах зданий, на технологических эстакадах и других сооружениях.

9.102. На территории химических предприятий и путях отдельных цехов необходимо предусматривать защиту конструкций светофоров от коррозии.

9.103. На путях горячих перевозок светофоры устанавливают с отнесением на 3 - 4 м от путей следования и мест остановок составом с жидким чугуном и шлаком, горячими изложницами, горячими слитками и др.; при этом наружные линзы разрезают посредине, монтаж предусматривается с применением термостойких проводов и асбестовых шнуров, жаростойкой краски и металлических экранов для прикрытия бетона.

9.104. На предприятиях открытых горных разработок светофоры следует по возможности относить от путей на расстояние, исключающее повреждение их при обрушениях горной массы из вагонов (4 м).

9.105. Местоположение светофоров должно уточняться по месту, с учетом их видимости, представителями строительной организации и железнодорожного цеха предприятия.

9.106. В случаях, когда светофоры должны устанавливаться на эстакадах, мостах и т.д., в проектах последних должны предусматриваться конструкции для установки этих светофоров.

9.107. Для резервирования сигнальных огней допускается применять по две лампы, включаемые параллельно, причем одна из них последовательно с резистором.

9.108. В случаях обращения на участке длинносоставных поездов допускается увеличивать полезную длину станционных путей за счет использования стрелочных секций и участков путей в горловине, где устанавливаются в этих случаях поездные светофоры или применяются отдельные светофорные головки, монтируемые с обратной стороны выходных светофоров.

Путевая блокировка

9.109. На перегонах и соединительных путях между раздельными пунктами должен применяться, как правило, поездной, а в пределах раздельных пунктов соединительных путей III категории и в маневровых районах - маневровый порядок движения.

На одном перегоне соединительных путей II и III категорий могут проектироваться поездной и маневровый порядки движения; способ отправления каждого состава на перегон при этом представляется дежурным по станции отправления.

9.110. В зависимости от расчетных размеров движения и местных условий на перегонах соединительных путей проектируются следующие средства сигнализации и связи при движении поездов:

с разграничением времени;

по приказам транспортного диспетчера, передаваемым машинисту локомотива по телефону или радиосвязи;

при посредстве одного локомотива;

при посредстве одного жезла;

телефон;

электрожезловая система;

полуавтоматическая блокировка;

автоблокировка.

9.111. Электрожезловая система может проектироваться при условии обеспечения объекта жезловыми аппаратами.

Полуавтоматическую блокировку следует проектировать как основную систему путевой блокировки на внутриплощадочных путях (кроме путей открытых горных разработок и перегонов соединительных путей протяженностью до 1,5 км).

Полуавтоматическую блокировку допускается дополнять устройствами контроля свободности перегона.

9.112. Автоблокировка проектируется на путях перевозок массовых грузов и на технологических перевозках открытых горных разработок, включая пути в забоях на предприятиях черной и цветной металлургии, теплоэлектроцентралях и т.п., а также на перегонах соединительных путей между раздельными пунктами, оборудуемыми электрической централизацией при нескольких переездах на перегоне, в узлах, где проектируется центральный пост управления движением.

Применение автоматической локомотивной сигнализации должно быть обосновано в проекте.

Автоблокировка проектируется без проходных светофоров, за исключением случаев, когда без них не обеспечиваются расчетные размеры движения.

Автоблокировка без проходных светофоров может предусматриваться как при поездном, так и при маневровом порядках движения.

Проходные светофоры должны расставляться исходя из разграничения поездов двумя блок-участками.

Длина блок-участка должна быть не менее длины тормозного пути для данного места при полном служебном торможении.

9.113. На двухпутных перегонах должна предусматриваться возможность двухстороннего движения по каждому из путей в период ремонтных, строительных, восстановительных работ и в порядке регулировки поездов.

На двухпутных участках, оборудованных автоблокировкой с проходными сигналами, последние устанавливаются, как правило, только по правостороннему направлению.

При 100 и более парах поездов проходные светофоры должны при наличии междупутья не менее 5,2 м устанавливаться по каждому из путей двухпутного перегона в обоих направлениях.

9.114. При длине блок-участка менее длины тормозного пути смежные попутные сигналы должны быть сблокированы между собой.

9.115. При автоблокировке с регулярным движением вагонами вперед проходные светофоры должны оставаться открытыми до прохода всего состава за светофор. Аналогично должны включаться в этом случае входные, выходные и маршрутные светофоры.

Автоблокировка без проходных светофоров с одним блок-участком может предусматриваться без дачи согласия или с дачей согласия в одном или обоих направлениях, причем на станции отправления во всех случаях должны контролироваться свободность перегона, отсутствие встречного маршрута и попутный входной сигнал соседней станции. Такая блокировка должна предусматриваться с минимальным (от 2 до 6) числом линейных проводов.

Автоматическая блокировка без проходных светофоров при ограниченной длине перегонов соединительных путей может проектироваться с применением беспроводных двухсторонних рельсовых цепей (симметричных импульсных и реактивных).

9.116. Автоблокировку следует применять, как правило, с рельсовыми цепями переменного тока 50 Гц длиной не менее 25 и не более 2000 м.

9.117. Для исключения возможности отправления на забойные тупики открытых горных разработок более одного состава с локомотивом следует предусматривать перед входным светофором станции отправления короткую (от 50 до 100 м) рельсовую цепь.

9.118. В качестве средств сигнализации и связи при движении поездов на перегоне рекомендуется использовать цифровые счетчики электрических импульсов, регистрирующих число осей состава, отправляемого с одной и прибывающего на смежную станцию, позволяющие дежурным по этим станциям контролировать свободность перегона путем сопоставления числа осей при отправлении и приеме одного состава.

Счетчики осей типа МЭС должны включаться автоматически (с помощью рельсовых педалей, рельсовых цепей и др.) и иметь ручной сброс набранной цифры числа осей.

9.119. При совпадении мест установки входных светофоров смежных раздельных пунктов взаимозависимость между ними не предусматривается.

9.120. При проектировании путевой блокировки с установкой группового выходного светофора без увязки его со стрелками входной светофор предусматривается независимо действующим.

9.121. Стрелки вспомогательных постов на перегонах могут оборудоваться ключевой зависимостью с увязкой с выходными светофорами прилегающих станций.

Электрическая централизация стрелок и сигналов

9.122. Электрическая централизация стрелок и сигналов (ЭЦ) проектируется:

на путях перевозки массовых грузов (вскрышная порода и руда на открытых горных разработках, руда и уголь на металлургических предприятиях, уголь на теплоэлектроцентралях и др.);

на раздельных пунктах, где при ручном переводе стрелок необходимо содержать стрелочные посты (круглогодично или в сезон);

на путях в голове сортировочных устройств (вытяжные пути, полугорки, горки);

для обеспечения безопасности в тяжелых условиях (пути горячих перевозок, пути с большими затяжными уклонами, пути перевозки особо опасных грузов и др.);

для обеспечения основного технологического процесса обслуживаемого предприятия, а также в других случаях при технико-экономическом обосновании.

При определении экономической целесообразности ЭЦ следует учитывать возможное сокращение при этом путевого развития и территории предприятия и снижение потерь, определяемых временем нахождения грузов «на колесах».

9.123. Управление стрелками может проектироваться по следующим системам:

местной (составитель поездов), дистанционной (машинист локомотива), централизованной (дежурный по станции), диспетчерской (поездной диспетчер района или участка). Выбор системы зависит от характера и назначения путевого развития и расположения объектов управления:

одиночные, обособленно расположенные стрелки на соединительных путях и погрузочно-разгрузочных фронтах;

маневровые районы и веера путей, обслуживающие фронты погрузки и выгрузки;

удаленные от станции посты и разъезды, обеспечивающие перераспределение вагонопотоков, а также обгонные пункты, обеспечивающие заданную пропускную способность;

сортировочные и грузовые станции предприятий.

9.124. Местное управление стрелками должно проектироваться с установкой стрелочных электроприводов и пультов управления, дополняемых в зависимости от местных условий:

маневровыми светофорами (по два у каждой стрелки, в качестве стрелочных указателей);

устройствами контроля свободности стрелочно-путевых участков без установки или с установкой маневровых светофоров;

маневровыми светофорами и устройствами контроля свободности стрелочно-путевых участков, которые могут оборудоваться программно-задающими устройствами.

9.125. Дистанционное управление стрелками с локомотива (с помощью аппаратуры телеуправления) проектируют в случаях, когда определен поставщик нестандартизированной аппаратуры.

Такое управление может предусматриваться с использованием радиосигналов или индуктивной связи, в последнем случае с использованием подземного кабельного шлейфа или рельсовых цепей для передачи команд с локомотива на центральный пост ЭЦ.

Дистанционное управление стрелками с локомотива рекомендуется предусматривать в маневровых районах, где управление с центрального поста затруднено, а также на передвижных путях открытых горных разработок.

9.126. Дистанционное управление может также предусматриваться с применением:

электроконтактных щитов, устанавливаемых на путях и воспринимающих сигналы машинистов локомотивов (такие щиты должны изготавливаться на месте строительства);

путевых датчиков, фиксирующих удаление головы состава на расстояние от стрелки, равное максимальной длине состава;

жесткого цикла передвижений в одном районе состава по единой (или с вариантами) программе.

9.127. Местное и дистанционное управление стрелочными переводами без контроля свободности стрелочно-путевых участков предусматривают при наличии прямой видимости и расстоянии от стрелок до постов управления в пределах 100 м.

Двойное управление стрелками допускается в случаях, когда невозможно организовать движение при централизованном или только местном управлении.

9.128. Электрическая централизация с центральными зависимостями и блочным (блочно-панельным) монтажом с пульт-манипулятором и выносным табло должна предусматриваться как основная система управления стрелками и сигналами на внутренних путях.

9.129. Централизованное управление стрелками раздельных пунктов (маневровыми районами, парками, постами, станциями) в зависимости от размеров и характера движения, путевой схемы, ведомственной принадлежности и местных условий проектируют с местными зависимостями и питанием. При этом следует учитывать, что при центральных зависимостях и питании капитальные затраты и расход кабеля больше, а эксплуатационные расходы меньше по сравнению с местными зависимостями и питанием.

9.130. Диспетчерское управление стрелками проектируется на удаленных от центрального поста раздельных пунктах, где производится перераспределение вагонопотоков без переработки, а также на раздельных пунктах с ограниченной маневровой работой.

9.131. Разработке проектной документации по централизации стрелок и сигналов должны предшествовать следующие мероприятия по реконструкции путевого развития:

сокращение числа стрелок и примыканий к главным путям;

исключение малодеятельных соединений путей;

обеспечение параллельной поездной и маневровой работы в горловинах станции;

замена стрелочных переводов, не рассчитанных на установку электроприводов, замена коротких рельсовых рубок, замена шпал и брусьев, пропитанных металлизированными антисептиками, замена металлических шпал, изоляция рельсовых стяжек, а также устройство водоотводов и постановка стрелочных переводов на щебень.

9.132. В случаях, когда предусматривается поэтапное развитие станции с увеличением длины путей, рекомендуется при последующих очередях сохранять конфигурацию горловин предшествующих очередей.

9.133. Все включаемые в ЭЦ стрелки, расположенные в снегозаносимых районах при централизованном управлении, должны оборудоваться механизированной очисткой стрелок от снега.

Допускается при наличии обоснования и соответствующей аппаратуры предусматривать в этих случаях электрический обогрев удаленных от центрального поста стрелочных переводов.

9.134. Источниками воздухоснабжения для механизированной очистки стрелок должны быть, как правило, соответствующие сети обслуживаемого предприятия.

Проектирование отдельной компрессорной должно быть обосновано в проекте.

9.135. Дистанционное ограждение на путях, используемых для осмотра и ремонта вагонов, предусматривается в зависимости от задания на проектирование.

Устройства оповещения о приближении состава к месту работ на путях предусматриваются в зависимости от местных условий, что должно быть оговорено в задании на проектирование устройств ЭЦ.

9.136. Выбор индивидуального или маршрутного управления стрелками определяется средним числом стрелок, переводимых при установке одного маршрута и числом устанавливаемых маршрутов.

9.137. Необходимость обогрева контактов автопереключателей стрелочных электроприводов устанавливается в зависимости от климатической зоны.

9.138. При числе локомотивов на станции более двух рекомендуется предусматривать контроль занятости соединительных путей, примыкающих к станции подвижным составом, если длина этих путей более 300 м.

9.139. Станционные пути, на которые предусматривается прием с соединительных путей только маневровых маршрутов, оборудуют устройствами контроля свободных путей от подвижного состава в зависимости от местных условий.

9.140. На вытяжных путях и полугорках рекомендуется дополнять ЭЦ при числе перерабатываемых вагонов до 300 в 1 сут программно-задающими устройствами (ПЗУ) емкостью от 4 до 6 отцепов, а на полугорках при числе сортировочных путей более 6 - двумя автоматически переключаемыми группами ПЗУ такой же емкости. Очередной отцеп должен при этом надвигаться на полугорку только при свободной спускной части.

При числе вагонов более 300 горки малой и средней мощности должны оборудоваться устройствами горочной автоматической централизации (ГАЦ) с трансляцией задания при следовании отцепа по спускной части горки.

9.141. Выдержка времени при искусственном размыкании маршрута (секции маршрута), не разомкнувшегося после проследования его подвижным составом, должна быть при маневровом движении не более, а при поездном не менее 1 мин.

9.142. В случаях возможного ухода вагонов или продвижения состава по неподготовленному маршруту следует предусматривать устройства, предотвращающие «взрез» в этих случаях стрелочных электроприводов.

При этом в качестве устройств контроля ухода вагонов должны использоваться рельсовые цепи, рельсовые педали и другие путевые датчики.

9.143. В случаях, когда составной маневровый маршрут может быть отменен в последующей части с минимальной выдержкой времени, так что состав не сможет своевременно остановиться, следует предусматривать составные участки приближения так, чтобы такая отмена могла происходить только при свободном участке приближения достаточной длины.

9.144. В проектах должны быть предусмотрены мероприятия исключающие возможность установки одновременных пересекающихся маршрутов при проезде поездом закрытых сигналов.

9.145. На станциях, где проектируются тупиковые пути с электротолкателями, в исходном положении управление электротолкателями должно быть отключено. Для вывода толкателя в рабочее положение должна быть предусмотрена возможность передачи соответствующего района в управление оператору погрузочно-разгрузочного комплекса. После возвращения толкателя в тупик устройства должны возвращаться в исходное положение.

9.146. Допускается перевод стрелок оборотных тупиков без устройства рельсовых цепей с помощью конечных путевых выключателей или других точечных датчиков; при этом стрелка ограждается светофорами или оборудуется стрелочными указателями (в том числе с применением для этой цели двух сдвоенных противоположно направленных светофоров).

9.147. Для управления удаленными районами должны использоваться системы телеуправления и телеконтроля, выпускаемые для железных дорог общего пользования.

Допускается использование для этих же целей аппаратуры телеуправления и телесигнализации, а также беспроводных систем телеуправления, если предприятиями-заказчиками получено разрешение на применение и им выделена соответствующая аппаратура или имеется возможность использовать с этой целью штатные железнодорожные радиостанции.

9.148. Электрическая централизация стрелок и сигналов может предусматриваться без оборудования стрелочно-путевых участков рельсовыми цепями за счет контроля за проследованием подвижного состава на входе и выходе с контролируемого района.

9.149. Допускается предусматривать возможность открытия маневровых светофоров на стрелочно-путевые участки, занятые подвижным составом.

9.150. На станциях, оборудованных рельсовыми цепями, могут предусматриваться счетчики, регламентирующие продолжительность занятия отдельных путей, горловин и т.д. подвижным составом.

9.151. Для перевода стрелок могут применяться стрелочные электропневматические приводы в случаях, когда они могут быть изготовлены силами заказчика.

Переездная сигнализация

9.152. Переездная сигнализация должна обеспечивать независимо от схемы пересекаемых автодорогами железнодорожных путей ограждение переезда со стороны автодорог.

Переездная сигнализация должна включаться при подходе железнодорожного состава к переезду и выключаться после проследования железнодорожного состава за переезд.

На переездах с немаршрутизированными маневровыми передвижениями сигналы встречных заградительных (прикрытия) светофоров по каждому пути должны предусматриваться взаимно независимыми.

9.153. При проектировании переездной сигнализации должны быть обеспечены минимальные простои железнодорожного подвижного состава и автотранспортных средств при:

задержке подвижного состава перед переездом более нормативного срока;

осаживании железнодорожного состава после проезда его за переезд, после занятия им участка переезда или после занятия им участка приближения к переезду;

продолжении движения железнодорожного состава в первоначальном направлении без осаживания после задержки его перед переездом;

делении железнодорожного состава, занимавшего переезд и подходы к нему с последующим выводом частей этого состава за пределы участка переезда;

одновременном или разновременном движении нескольких составов в разных направлениях по разным подходам (в том числе при задержке составов на участках приближения).

9.154. Выбор ограждения переездов должен производиться в зависимости от:

установленной скорости движения железнодорожных составов через переезд;

интенсивности автомобильного и железнодорожного движения в период «пика» за 3 ч движения;

условий видимости;

путевой схемы переезда и ситуационного плана площадки, прилегающей к переезду;

характера движения железнодорожных составов через переезд, массы, длины и тормозного пути составов;

степени опасности повреждения перевозимых грузов;

вероятности проезда железнодорожным составом закрытого сигнала.

Переездную сигнализацию следует в первую очередь предусматривать на перегонах соединительных путей и на ходовых путях маневровых районов.

9.155. Пересечения железнодорожных путей автодорожными проездами шириной более принятой для проезжей части примыкающих автодорог не допускаются.

9.156. Ограждение переездов на путях с немаршрутизированным маневровым движением следует проектировать с применением следующих видов переездной сигнализации:

нерегулируемой с постоянно включенными (или включаемыми на время нахождения локомотива на тупиковом пути) желтыми мигающими огнями на переездных светофорах;

с ручным включением и выключением нормально негорящих переездных светофоров и нормально горящих запрещающих сигналов в сторону железной дороги;

с автоматическим включением переездных светофоров при вступлении на подходы к переезду железнодорожного подвижного состава (в сторону железной дороги сигналы могут не устанавливаться или устанавливаться в одну или обе стороны);

с установкой электрошлагбаумов, управляемых дежурным по переезду;

в увязке с электрической централизацией по одному или двум подходам к переезду (для одного пути);

с дистанционным управлением из кабины локомотива (при условии изготовления нестандартизированной аппаратуры на месте).

9.157. При автоматическом включении переездной сигнализации, проектируемой по п. 9.156, используют следующие варианты контроля приближения железнодорожных составов к переезду (для одного пути):

один контрольный участок с включением в него переезда и обоих подходов или переезда и одного подхода или только переезда без подходов;

два контрольных участка - переездной и один из подходов;

три контрольных участка - переездной и оба подхода.

9.158. При пересечении одной автодорогой нескольких железнодорожных путей (в том числе имеющих соединения) следует предусматривать, как правило, общий контролируемый переездной участок и контролируемые участки на подходах к переезду. Если железнодорожные пути расположены друг от друга на расстоянии меньшем общей длины автопоезда или других автотранспортных средств, которые могут установиться при пропуске железнодорожных составов, переездная сигнализация должна проектироваться с объединением этих пересечений в один переезд с общим переездным участком.

При пересечении одним железнодорожным путем нескольких автодорог возможность объединения этих пересечений в один переездной участок должна определяться в зависимости от расстояния автодорог друг от друга и предельной допустимой задержки во времени с восстановлением движения на этих автодорогах после прохода хвоста состава за переезд.

9.159. Ограждение переездов только сигнальными и дорожными знаками допускается при:

удовлетворительных условиях видимости (железнодорожный состав виден с транспортных средств на расстоянии не менее 100 - 150 м) при скоростях первых соответственно не более 40 и 25 км/ч;

скоростях железнодорожных составов не более 3 км/ч или следовании их с обязательной остановкой перед переездом.

Нерегулируемую светофорную сигнализацию допускается проектировать в случаях, когда устройство рельсовых цепей осложнено, а размеры движения ограничены.

9.160. Светофорная сигнализация на неохраняемых переездах с ручным управлением проектируется при размерах движения до 8 подач в 1 сут и возможности остановок железнодорожных составов у переездов.

9.161. Автоматическая переездная сигнализация (АПС) с одним контролируемым участком пути (без установки светофоров, ограждающих переезд со стороны железнодорожных путей) должна рассматриваться как основная система АПС на внутризаводских путях (вне зоны ЭЦ и путевой блокировки) и предусматриваться, как правило, при:

скоростях движения железнодорожных составов не более 10 км/ч;

длине участков приближения до 50 м;

отсутствии необходимости в отстоях железнодорожных составов в пределах контролируемых участков пути;

допустимой задержке во времени с восстановлением автодорожного движения с момента прохода состава за переезд в пределах 20 с; возможности остановки каждого состава перед переездом при следовании через него (такая остановка необходима при отсутствии участка приближения и требует ограждения переезда со стороны железной дороги).

9.162. Автоматическая переездная сигнализация с двумя контролируемыми участками по каждому пути проектируется вне зоны ЭЦ при расположении переездов у фронтов погрузки и выгрузки или перед въездами в цеха, а также при невозможности или сложности устройства рельсовых цепей (наличие стрелочных переводов) с одной стороны переезда.

9.163. Автоматическая переездная сигнализация с тремя контролируемыми участками по каждому пути проектируется вне зоны ЭЦ при значительных размерах движения и необходимости отстоя железнодорожных составов на обоих участках приближения к переезду, при регулярной маневровой работе в районе переезда и при необходимости исключения простоев подвижного состава по причинам, связанным с регулированием движения в районе переезда.

9.164. На переездах в пределах станций, оборудуемых ЭЦ, автоматическая переездная сигнализация должна увязываться с маршрутами приема и отправления поездов и маневровых передвижений. На бесстрелочных участках переездная сигнализация в этих случаях может проектироваться автономной, аналогично переездам с неорганизованным движением железнодорожных составов.

Для включения переездной сигнализации при отправлении и приеме поездов, а также при производстве организованных маневровых передвижений при запрещающих показаниях светофоров, как правило, должны предусматриваться на аппаратах управления станционных дежурных (диспетчеров) индивидуальные кнопки «закрытие переезда» с соответствующей индикацией. Установка таких кнопок обязательна, если светофоры в стороны железной дороги открываются с выдержкой времени.

Допускается предусматривать выключение переездной сигнализации с установкой на аппаратах управления дежурных по станциям индивидуальных кнопок «открытие переезда» с соответствующей индикацией на табло.

9.165. Охраняемые переезды с ограждениями, включаемыми дежурными, допускается проектировать на особо сложных пересечениях при обосновании в проекте и, как правило, с совмещением постов дежурных по переездам с дежурными по другим постам (стрелочным, примыканий и т.п.).

9.166. Допускается включение переездной сигнализации с момента открытия светофора, ограждающего въезд маневрового состава на переезд.

На соединительных путях с организованным движением в случаях, когда длина перегона соизмерима с длиной железнодорожного состава, допускается включение АПС предусматривать с момента занятия перегона (в необходимых случаях с задержкой по времени), а выключение с момента освобождения перегона или проследования головы этого состава - за входной сигнал станции приема.

9.167. Длина участков приближения к переезду должна устанавливаться в зависимости от расстояния, проходимого железнодорожным составом за время, необходимое для проследования автотранспортного средства через переезд.

Указанная длина должна определяться в зависимости от установленной скорости движения железнодорожных составов по данному пути с учетом направления движения (к грузовым станциям, фронтам или от них).

Скорость и длины расчетного автомобиля принимают равными 8 км/ч и 6, 12, 18 или 24 м. Расстояние от места остановки автомобиля до переездного светофора (не более 5 м), время срабатывания приборов автоматики (не более 2 с) и гарантийное время (не более 10 с) могут приниматься равными нулю.

9.168. Переезды со стороны автодорог должны ограждаться переездными светофорами с двумя горизонтально расположенными попеременно зажигающимися при включении красными (в особых случаях - желтыми) огнями. При нескольких автодорожных подходах должны устанавливаться переездные светофоры с тремя красными огнями.

9.169. Сигнальные огни переездных светофоров могут дополняться непрерывными или прерывными акустическими сигналами (звонками, ревунами), включаемыми одновременно с запрещающими огнями.

Акустические сигналы предусматриваются в местах массового прохода людей.

Акустические сигналы должны быть, как правило, прерывистыми.

Рекомендуется применять звонки громкого боя типа МЗ-1, включаемые от переменного тока напряжением 220 В.

Электрические шлагбаумы, ограждающие охраняемые переезды, должны иметь безаккумуляторное электропитание; резервные аккумуляторные батареи допускаются в случаях, когда надежность внешнего электроснабжения ниже I категории.

9.170. Переездные светофоры должны устанавливаться от оси крайнего пути на расстоянии от 2,6 до 7,5 м (при авто- и электрошлагбаумах не ближе 7,5; 9,5 и 11,5 м в зависимости от длины бруса, соответственно, 4, 6 и 8 м).

9.171. Ограждающие переезд со стороны железнодорожных путей светофоры могут предусматриваться с одним красным огнем (заградительные светофоры), с красным и зеленым огнями (светофоры прикрытия) или с красным и лунно-белым огнями (маневровые заградительные светофоры).

Рекомендуется ограждать переезды, как правило, заградительными светофорами, а при недостаточно надежном электроснабжении - светофорами прикрытия.

Заградительные (прикрытия) светофоры, как правило, должны быть карликовыми. Мачтовые светофоры предусматриваются при плохой видимости, на снегозаносимых участках, при длине составов более 300 м и регулярном движении вагонами вперед, а также на охраняемых переездах.

9.172. При автоматической переездной сигнализации на путях с немаршрутизированными маневровыми передвижениями заградительные (прикрытия) светофоры устанавливают при двух и трех контролируемых участках по каждому пути, а также при одном контролируемом участке, если участки приближения менее расчетных (или отсутствуют).

Эти светофоры должны быть нормально открыты, если длина участков приближения не менее расчетных, и нормально закрыты, если участки менее расчетных (или отсутствуют). Выдержка времени на их открытие должна равняться расчетной при отсутствии участка приближения или дополняться до расчетной - при коротких участках приближения.

В случае, когда указанные выдержки времени для одного переезда различны, принимается одна, наиболее продолжительная.

9.173. Заградительные (прикрытия, маневровые заградительные) светофоры устанавливают в пределах 1 - 25 м от края автодорог (для охраняемых переездов на расстоянии до 800 м).

Для обеспечения передачи запроса на занятие переезда после задержки железнодорожного состава перед переездом или для осаживания его после проследования за переезд, когда переезд оборудован одной или несколькими контролируемыми участками пути и заградительными (прикрытия) светофорами, необходимо границы переездного участка (изолирующие стыки) сдвигать относительно заградительных светофоров в сторону от переезда на 3 - 6 м, но не более 12,5 м.

9.174. При проектировании переездной сигнализации, как правило, должен предусматриваться контроль ее исправности на центральном посту (пост ЭЦ, диспетчерская железнодорожного цеха).

Необходимость контроля открытого и закрытого состояния переезда на центральном посту устанавливается в проекте.

Контроль переездной сигнализации должен включать проверку:

целостности цепей ламп переездных светофоров (включая нити ламп и линию);

горения красных огней на нормально закрытых заградительных светофорах;

наличия напряжения раздельно на основном и резервном питающих фидерах.

При обрыве цепей запрещающих огней нормально закрытых заградительных светофоров должны автоматически включаться переездные светофоры.

На центральном посту, как правило, следует предусматривать нормально негорящие контрольные лампочки «неисправность переезда» и «включение переезда».

9.175. Устройства сигнализации на переездах, расположенных вне зоны электрической централизации, следует относить по надежности к первой категории по классификации ПУЭ; допускается при скоростях движения не выше 40 км/ч относить эти устройства ко второй категории. На обоих линиях, питающих устройства переездной сигнализации, должен предусматриваться контроль наличия напряжения.

Электроснабжение переездной сигнализации должно быть, как правило, централизованным от двух общих независимых источников однофазного переменного тока 50 Гц напряжением 230 В. При установке релейного шкафа СЦБ в нем на вводе следует предусматривать изолирующий трансформатор.

9.176. Аппаратура переездной сигнализации должна, как правило, размещаться на центральном посту. В зависимости от числа переездов на площадке предприятия, их взаиморасположения и типа сигнализации могут проектироваться местные зависимости и питание; в случаях, когда переезды удалены от центрального поста или затруднена прокладка линий, аппаратура размещается в групповых релейных шкафах (по 2 - 8 переездов в одном шкафу, группируемых по автодорогам).

Устройства связи

9.177. Для организации работы железнодорожного транспорта промышленных предприятий должны проектироваться следующие виды связи и сигнализации:

распорядительная телефонная связь (РТС);

двухсторонняя парковая связь (ДПС);

станционная радиосвязь (РС);

местная телефонная связь общего пользования;

межстанционная связь;

часофикация, радиофикация и пожарная сигнализация.

9.178. Дежурные по станциям (ДСП) должны иметь связь по РТС между собой (при нескольких станциях в районе), с фронтами погрузки и выгрузки, начальником смены, дежурным по депо, а также со стрелочными постами, маневровыми колонками и дежурными электромеханиками.

Начальник смены по РТС должен быть связан с ДСП (включая станции примыкания), фронтами погрузки и выгрузки, дежурным по депо, руководителями железнодорожного цеха, диспетчером предприятия и заместителем директора предприятия по транспорту.

Кроме того, начальник смены должен, как правило, включаться в вагонную диспетчерскую связь (ВДС) отделения железной дороги общего пользования.

На открытых горных разработках ДСП должны связываться с транспортным диспетчером, а последний с горным диспетчером, который является основным руководителем работ в карьерах.

9.179. Двухсторонняя парковая связь проектируется на всех станциях с маневровой работой и в других случаях, оговоренных в задании на проектирование.

9.180. Местная телефонная связь, а также общее радиовещание следует предусматривать с использованием автоматических телефонных станций (АТС) и сетей радиовещания предприятия.

9.181. Станционная радиосвязь должна проектироваться в случаях, когда к району приписано два и более локомотива, и включать стационарные и передвижные радиостанции.

Составительские бригады должны быть обеспечены носимыми радиостанциями, в первую очередь в случаях, когда машинист локомотива при большой длине состава или на кривых не может воспринять сигналы составителя.

9.182. Разрешение на установку и эксплуатацию радиостанций, а также выделение радиочастот предприятие оформляет в соответствии с инструкциями.

9.183. По заданию заказчика может предусматриваться радиосвязь ДСП с машинистами кранов на железнодорожном ходу.

9.184. Допускается предусматривать звукозаписывающую аппаратуру для контроля за переговорами ДСП и начальника смены с составителями и машинистами локомотивов.

9.185. Линейные и станционные устройства связи, обеспечивающие связь дежурных по станциям и начальников смен с фронтами погрузки и выгрузки, а также местная связь общего пользования, часификация и пожарная сигнализация предусматриваются в проекте общезаводских устройств связи и сигнализации (кроме станционных устройств, размещаемых в служебно-технических зданиях железнодорожных цехов).

9.186. Линии железнодорожной связи, как правило, прокладывают совместно с линиями СЦБ (в траншеях или в канализации).

9.187. Электроснабжение устройств связи предусматривается по надежности как электроприемников первой категории, но не ниже категории надежности электроснабжения обслуживаемого предприятия.

Аккумуляторные батареи допускается предусматривать только при обосновании в проекте.

Выпрямительные устройства, обеспечивающие питание телефонных коммутаторов при безаккумуляторном питании, должны иметь стопроцентный резерв.

9.188. Пожарная сигнализация (ПС) служебно-технических зданий железнодорожного цеха должна проектироваться в соответствии с нормативными документами.

Контрольные табло пожарной сигнализации должны устанавливаться в помещениях с круглосуточным дежурством. Резерв емкости станции пожарной сигнализации должен быть не менее 10 %.

Помещения, в которых расположены станции ПС, должны быть обеспечены телефонной связью с пожарной охраной.

В служебных помещениях СЦБ и связи (релейная, связевая, кроссовая, аппаратная ДСП) необходимо устанавливать комбинированные пожарные извещатели, реагирующие на появление дыма и повышение температуры.

Автоматические пожарные извещатели следует устанавливать в каждом отсеке помещения, оборудованном стеллажами, оборудованием и строительными конструкциями, верхние края которых выступают от потолка на 0,6 м и менее.

В одном помещении должно устанавливаться не менее двух автоматических пожарных извещателей.

Количество автоматических пожарных извещателей, включаемых в один луч, определяется технической характеристикой станции пожарной сигнализации.

Цепи электропитания станций пожарной сигнализации должны выполняться самостоятельными проводами и кабелями.

ПРИЛОЖЕНИЕ 1

ВЫБОР СХЕМЫ ОРГАНИЗАЦИИ МАНЕВРОВОЙ РАБОТЫ

Для расчета технической оснащенности, эксплуатационных и экономических показателей для каждой промышленной станции необходимо установить схему организации маневровой работы на станции. В табл. 1 приведены возможные схемы организации маневровой работы по подборке и расстановке вагонов по грузовым фронтам.

Таблица 1

№ схемы

Подборка вагонов по грузовым фронтам выполняется на

Организация работы в маневровом районе

Одновременная работа в одном маневровом районе двух и более локомотивов

Наличие на внутриплощадочных путях устройств электрической централизации

станции

внутриплощадочных путях

локомотивы закреплены

локомотивы не закреплены

возможна

не возможна

оборудованы

не оборудованы

1

-

+

+

-

-

+

-

+

2

+

-

+

-

-

+

-

+

3

-

+

-

+

-

+

-

+

4

+

-

-

+

-

+

-

+

5

-

+

-

+

+

-

+

-

6

+

-

-

+

+

-

+

-

Схема 1. Прибывший в расформирование поезд сортируется на промышленной станции по маневровым районам, за каждым из которых закреплен маневровый локомотив. Детальная подборка вагонов по грузовым фронтам каждого маневрового района осуществляется закрепленным за ним локомотивом вне пределов станции (на веерах внутриплощадочных путей или путях отстоя). Перед каждой очередной подачей вагонов в маневровый район на сортировочном устройстве станции осуществляется выборка вагонов в зависимости от оперативной обстановки на грузовых фронтах. Указанная операция на станции может не выполняться, если в маневровом районе имеются пути для отстоя вагонов в ожидании освобождения грузовых фронтов.

Схема 2. Прибывший поезд сортируется по маневровым районам с последующей детальной подборкой (в зависимости от оперативной обстановки) вагонов по грузовым фронтам на сортировочном устройстве станции. Маневровые локомотивы, как и в схеме 1, закреплены за маневровыми районами.

Таблица 2

Исходные данные

Буквенное обозначение

Характеристика вагонов

Общий объем переработки станции, ваг./сут

N

Общий среднесуточный входящий и отправляемый вагонопоток, включая порожняк

N = Nрф + Nрст + Nм + Nст

Разборочный вагонопоток назначением на грузовые фронты, ваг./сут

Nрф

Среднесуточный входящий вагонопоток в адрес грузовых фронтов, непосредственно обслуживаемых через данную станцию

 

(ni - входящий среднесуточный вагонопоток в адрес i-го фронта)

Разборочный вагонопоток назначением на другие промышленные станции, ваг./сут

Nрст

Среднесуточный входящий вагонопоток в адрес J промышленных станций, вагоны которых сортируются на данной станции

(nj - входящий среднесуточный вагонопоток в адрес j станции)

Маршрутизированный вагонопоток, ваг./сут

Nм

Среднесуточный входящий вагонопоток, состоящий из порожняка, однородных грузов, грузовые операции с которыми осуществляются на грузовых фронтах, непосредственно обслуживаемых через данную станцию

(ng - входящий вагонопоток с g-м грузом или порожняк для g-го груза)

Отправляемый на станцию примыкания (или непосредственно на внешнюю сеть) вагонопоток, ваг./сут

Nот

-

Среднее число вагонов в одном разборочном поезде, ваг.

nр

-

То же, в одном маршруте ваг.

nм

-

Среднее число вагонов в одном поезде (подаче), передаваемых на другие промышленные станции или грузовые фронты, ваг.

nст

-

Среднее число вагонов в одном отправляемом на станцию примыкания (или непосредственно на внешнюю сеть) поезде, ваг.

nот

-

Число назначений формирования на внешнюю сеть, единиц

k

-

Схема 3. Организация расформирования и подборки вагонов по грузовым фронтам аналогична 1-й схеме. Локомотивы за маневровыми районами не закрепляются, каждый локомотив может работать в любом маневровом районе, однако одновременная работа в одном маневровом районе двух и более локомотивов не допускается по условиям безопасности движения.

Схема 4. Организация расформирования и подборки вагонов по грузовым фронтам аналогична схеме 2; организация работы маневровых локомотивов аналогична схеме 3.

Схема 5. Организация расформирования и подборки вагонов по грузовым фронтам и работы маневровых локомотивов аналогична схеме 3; возможна одновременная работа в одном маневровом районе двух и более локомотивов.

Схема 6. Организация расформирования и подборки вагонов по грузовым фронтам и работы маневровых локомотивов аналогична схеме 4; возможна одновременная работа в одном маневровом районе двух и более локомотивов.

Исходные данные для расчета технической оснащенности промышленной станции приведены в табл. 2.

Количественным критерием оценки приведенных схем являются эксплуатационные расходы на выполнение маневровой работы в системе «сортировочные пути - грузовые фронты», зависящие от затрат локомотиво- и вагоно-часов.

Оптимальные значения основных параметров системы «сортировочные пути - грузовые фронты» (среднесуточная производительность маневрового локомотива рабочего парка P, ваг./сут; время нахождения вагонов в системе без учета грузовых операций tф, ч; себестоимость переработки одного вагона в части затрат локомотиво- и вагоно-ч C, руб./ваг.) для каждой схемы организации маневровой работы в зависимости от числа приведенных грузовых фронтов Fпр и среднего числа вагонов в одном поступившем на промышленную станцию разборочном поезде nр приведены в табл. 3.

Таблица 3

Fпр

Среднее число вагонов в разборочном поезде nр

10

20

30

40

50

60

P

tф

C

P

tф

C

P

tф

C

P

tф

C

P

tф

C

P

tф

C

Схема 1

5

40

4,0

6,4

50

4,0

5,9

55

3,4

5,4

60

3,4

5,1

60

3,4

4,9

65

3,3

4,7

10

30

5,7

10,4

40

4,4

7,2

50

4,0

6,2

55

3,9

5,7

60

3,4

5,4

60

3,4

5,3

15

25

5,7

10,4

40

4,4

7,5

45

4,2

6,5

50

4,0

6,0

50

4,0

5,7

55

3,7

5,6

20

25

5,7

10,4

35

5,2

8,4

40

4,4

7,0

45

4,2

6,4

50

4,0

6,1

55

4,0

5,8

30

25

5,7

10,4

35

5,2

9,0

35

4,6

7,9

40

4,4

7,0

50

4,0

6,5

50

4,0

6,2

50

25

5,7

10,0

35

5,2

9,0

35

5,0

8,2

35

4,4

7,7

40

4,4

6,9

45

4,2

6,7

70 и более

25

5,7

10,4

30

5,2

9,0

35

5,0

8,2

35

4,8

8,2

40

4,4

7,3

40

4,4

6,9

Схема 2

5

45

4,0

6,4

65

3,4

5,0

75

3,1

4,3

85

3,1

3,9

85

2,7

3,8

95

2,7

3,6

10

30

5,7

10,0

45

4,2

6,7

55

3,4

5,5

65

3,4

4,9

70

3,1

4,5

75

3,1

4,3

15

30

5,7

10,4

45

4,4

7,0

55

4,0

5,8

60

3,4

5,3

60

3,4

5,0

60

3,4

4,8

20

30

5,7

10,4

40

5,0

8,2

45

4,2

6,5

55

4,0

5,7

55

3,4

5,4

60

3,4

5,2

30

30

5,7

10,4

40

5,2

9,0

40

4,4

7,7

45

4,2

6,6

55

4,0

5,9

60

4,0

5,6

50

30

5,7

10,4

40

5,2

9,0

40

4,6

8,1

40

4,4

7,3

45

4,2

6,6

50

4,0

6,2

70 и более

30

5,7

10,4

35

5,2

9,0

40

4,6

8,1

40

4,6

8,0

45

4,4

7,1

45

4,2

6,6

Схема 3

5

40

3,9

6,1

50

3,2

5,6

60

3,1

5,1

65

2,9

4,8

65

2,9

4,6

70

2,7

4,5

10

30

4,6

9,6

40

3,9

6,9

50

3,3

5,9

60

3,2

5,4

60

3,1

5,1

65

3,1

4,9

15

30

5,2

10,0

40

3,9

7,1

45

3,2

6,1

55

3,3

5,7

50

3,2

5,4

55

3,1

5,2

20

30

5,2

10,0

35

4,1

8,0

40

3,7

6,7

50

3,3

5,9

50

3,3

5,7

55

3,2

5,4

30

30

5,2

10,0

35

4,3

8,6

40

4,0

7,5

45

3,7

6,6

50

3,3

6,0

50

3,3

5,9

50

30

5,2

10,0

35

4,3

8,6

40

4,1

7,8

40

4,0

7,3

45

3,7

6,5

45

3,4

6,3

70 и более

30

5,2

10,0

35

4,3

8,6

40

4,1

7,8

40

4,0

8,0

40

3,9

7,0

45

3,8

6,6

Схема 4

5

45

3,4

6,3

65

3,3

4,8

70

2,6

4,2

80

2,5

3,9

85

2,4

3,7

90

2,3

3,5

10

30

4,6

9,5

45

3,4

6,4

55

3,1

5,2

65

3,0

4,6

70

2,5

4,3

75

2,6

4,1

15

30

5,2

10,0

45

3,7

6,7

50

3,2

5,5

60

3,1

5,1

65

3,0

4,8

65

2,7

4,5

20

30

5,2

10,0

40

4,2

7,8

45

3,4

6,2

55

3,2

5,4

55

3,1

5,1

60

3,0

4,9

30

30

5,2

10,0

30

4,3

8,6

40

4,0

7,3

45

3,4

6,3

55

3,2

5,6

55

3,0

5,3

50

30

5,2

10,0

30

4,3

8,6

40

4,0

7,7

40

3,9

7,0

45

3,4

6,2

50

3,3

5,9

70 и более

30

5,2

10,0

30

4,3

8,6

40

4,0

7,7

40

4,0

7,6

45

3,7

6,7

45

3,4

6,3

Схема 5

5

50

2,6

5,6

60

2,5

4,6

65

2,3

4,3

70

2,3

4,0

70

2,2

3,9

75

2,1

3,8

10

35

3,1

7,3

50

2,7

5,4

60

2,4

4,8

65

2,6

4,4

65

2,3

4,3

70

2,2

4,1

15

35

3,4

7,5

50

2,7

5,5

60

2,7

4,9

60

2,5

4,7

65

2,5

4,5

60

2,2

4,3

20

35

3,4

7,5

45

3,1

6,2

50

2,5

5,3

60

2,5

4,8

60

2,5

4,7

60

2,6

4,5

30

35

3,4

7,5

40

3,0

6,6

45

2,8

5,9

50

2,5

5,3

60

2,7

4,9

60

2,4

4,7

50

35

3,4

7,5

40

3,0

6,6

45

2,9

6,0

45

2,6

5,7

50

2,5

5,2

55

2,6

5,0

70 и более

35

3,4

7,5

40

3,0

6,6

45

2,9

6,0

45

2,9

6,0

50

2,7

5,5

50

2,5

5,2

Схема 6

5

55

2,6

5,1

70

2,3

4,0

80

2,3

3,6

85

2,1

3,4

95

2,2

3,3

100

2,0

3,2

10

35

3,1

7,2

55

2,6

5,1

65

2,2

4,3

70

2,2

4,0

80

2,1

3,2

85

2,3

3,6

15

35

3,4

7,5

50

2,5

5,3

65

2,5

4,5

65

2,1

4,2

70

2,3

4,0

70

2,1

3,9

20

35

3,4

7,5

45

2,9

6,1

55

2,6

5,0

65

2,6

4,5

65

2,3

4,2

70

2,3

4,1

30

35

3,4

7,5

40

3,0

6,6

45

2,6

5,7

55

2,6

5,0

60

2,5

4,6

65

2,6

4,4

50

35

3,4

7,5

40

3,0

6,6

45

2,9

6,0

50

2,7

5,5

55

2,6

5,0

55

2,4

4,8

70 и более

35

3,4

7,5

40

3,0

6,6

45

2,9

6,0

45

2,9

5,9

50

2,6

5,3

55

2,6

5,0

Маршрутизированный вагонопоток

1 - 2

 

-

 

120

2,1

2,9

150

2,1

2,7

170

2,0

2,5

185

2,0

2,4

190

1,9

2,4

3

 

-

 

100

2,0

3,2

120

2,1

2,9

140

2,0

2,7

160

2,0

2,5

170

2,0

2,5

4

 

-

 

85

2,0

3,5

110

1,9

3,1

120

2,1

2,9

130

2,0

2,8

150

2,1

2,8

Fпр - приведенное число грузовых фронтов; P - среднесуточная производительность маневрового локомотива рабочего парка, ваг./сут; tф - время нахождения вагона в системе «сортировочные пути - грузовые фронты» (без учета грузовых операций), ч; C - себестоимость переработки одного вагона, руб./ваг.

Число приведенных грузовых фронтов рассчитывается по формуле

                                              (1)

Для маршрутизированного вагонопотока значения P, tф и C определяют для каждого однородного груза по табл. 3.

В качестве Fпр принимается число грузовых фронтов, на которых производится погрузка или выгрузка данного однородного груза.

Если в разборочном поезде поступают вагоны не только в адрес грузовых фронтов, обслуживаемых через данную станцию, но и в адрес других промышленных станций, то число вагонов в одном разборочном поезде должно быть при пользовании табл. 3 пропорционально уменьшено.

Например, на входную промышленную станцию предприятия или промузла поступает среднесуточный разборочный вагонопоток 300 ваг. (по 45 ваг. в поезде), в том числе в адрес грузовых фронтов, непосредственно обслуживаемых через данную станцию, 200 ваг., а в адрес других промышленных станций предприятия (промузла) 100 ваг. Число приведенных грузовых фронтов, обслуживаемых через данную станцию, рассчитанное по формуле (1), составляет 20. При расчете параметров P, tф и C число вагонов в одном разборочном поезде следует принимать nр = (45×200)/300 = 30. Значение указанных параметров для 1-й схемы организации маневровой работы в этом случае составляет P = 40 ваг./сут; tф = 4,4 ч; C = 7 руб./ваг.

Число локомотивов рабочего парка Л, занятых в системе «сортировочные пути - грузовые фронты», и эксплуатационные расходы Э, тыс. руб./год, на маневровую работу в части, зависящей от затрат локомотиво- и вагоно-часов, рассчитываются по формулам:

Лф = Nрф/P;                                                                   (2)

Э = 0,365CNрф.                                                             (3)

Значения P, tф, C, Л, Э определяют для всех систем организации маневровой работы с разборочными вагонопотоками при Nрф > 100 ваг. Для рассмотренного примера результаты расчета выглядят следующим образом:

Схема 1

         P = 42                 tф = 4,4                   C = 7,0                      Л = 5,0               Э = 511

Схема 2

         P = 46                 tф = 4,2                   C = 6,5                      Л = 4,3               Э = 475

Схема 3

         P = 42                 tф = 3,7                   C = 6,7                      Л = 4,6               Э = 490

Схема 4

         P = 45                 tф = 3,4                   C = 6,2                      Л = 4,4               Э = 453

Схема 5

         P = 50                 tф = 2,5                   C = 5,3                      Л = 4,0               Э = 387

Схема 6

         P = 65                 tф = 2,6                   С = 5,0                      Л = 3,1               Э = 365

К значениям Э по 5-й и 6-й схемам следует добавить 0,12K, где K - капитальные затраты на оборудование стрелочных переводов внутриплощадочных путей устройствами ЭЦ.

При выборе схемы организации маневровой работы могут быть использованы следующие практические рекомендации:

для каждой из шести схем по табл. 3 определяют параметры P, tф и C и рассчитывают число маневровых локомотивов рабочего парка (с округлением) и эксплуатационные расходы на маневровую работу;

принимается схема с наименьшим числом локомотивов;

если для нескольких схем число локомотивов одинаково, то принимается схема с меньшими эксплуатационными расходами.

В отдельных случаях при окончательном выборе схемы организации маневровой работы, если они отличаются типами сортировочных устройств, следует учитывать дополнительные капитальные затраты и эксплуатационные расходы, связанные с переходом на более производительное сортировочное устройство;

при размерах входящего разборочного вагонопотока менее 100 ваг./сут принимается 1-я или 3-я схема организации маневровой работы в зависимости от системы обслуживания.

Оптимальные значения P, tф и C, приведенные в табл. 3, определены в результате многовариантного направленного перебора различных сочетаний коэффициента использования локомотивов рабочего парка a и среднего времени выполнения одной подачи-уборки (цикла обработки грузовых фронтов) tц, ч. При заданных Nрф, Fпр и nр определено такое сочетание α и tц, при которых эксплуатационные расходы на выполнение маневровой работы, связанные с затратами локомотиво- и вагоно-ч Э, руб./сут, достигают минимума.

ПРИЛОЖЕНИЕ 2

РАСЧЕТ ВРЕМЕНИ СОРТИРОВКИ ВАГОНОВ И УРОВНЯ ЗАГРУЗКИ ДЛЯ РАЗЛИЧНЫХ ТИПОВ СОРТИРОВОЧНЫХ УСТРОЙСТВ

Время сортировки входящего разборочного вагонопотока складывается из:

времени расформирования прибывшего на станцию поезда по маневровым районам (локомотивам) и другим промышленным станциям. При этом в зависимости от схемы организации маневровой работы с вагонопотоком назначением на грузовые фронты Nрф (см. прил. 1) вагоны не подбираются по грузовым фронтам (схемы 1, 3, 5) или подбираются (схемы 2, 4, 6) прил. 1, времени повторной сортировки вагонопотока Nрф (выборка для каждого маневрового района вагонов в адрес тех грузовых фронтов, на которые в зависимости от оперативной обстановки эти вагоны должны быть поданы).

Время расформирования одного поезда на вытяжных путях и полугорках (при работе толчками) Tс, мин, определяется по формуле

Tс = 1,2(Аgkg - Бnkп)kкрtос,                                           (1)

где А и Б, мин - постоянные коэффициенты, зависящие от способа организации работы, приведены в табл. 1; n - число сортируемых вагонов; g - число сортируемых отцепов; kg и kп - коэффициенты повторности сортировки отцепов и вагонов; kкр - коэффициент, учитывающий увеличение времени сортировки при расположении вытяжного пути на кривых малого радиуса, табл. 2; tос - время осаживания на сортировочных путях, мин; tос = 0,06п, учитывается при работе серийными толчками и на полугорках.

Число сортируемых отцепов q определяется по табл. 3 в зависимости от числа приведенных назначений Fпр и числа вагонов в разборочном поезде.

Таблица 1

Тип сортировочного устройства и способ организации работы

А

Б

Вытяжной путь при работе осаживанием

0,81

0,51

Вытяжной путь при работе изолированными толчками

0,73

0,48

Вытяжной путь при работе серийными толчками (приведенный уклон пути следования свободных отцепов и 100 м стрелочной зоны составляет 1,5 - 4 %)

0,41

0,40

Полугорка (при работе толчками)

0,34

0,32

Число приведенных назначений определяется:

для схем 1, 3, 5 организации маневровой работы (см. прил. 1)

Fпр = Л + I;                                                                   (2)

для схем 2, 4, 6

Fпр = Fпргр + I,                                                              (3)

где Л - число маневровых локомотивов, занятых обработкой грузовых фронтов; I - число других промышленных станций, вагонопотоки которых перерабатываются на данной станции; Fпргр - число приведенных грузовых фронтов, обслуживаемых непосредственно через рассматриваемую станцию, определяемых по формуле (1) прил. 1.

Таблица 2

Радиус кривой вытяжного пути, м

Kкр

Радиус кривой вытяжного пути, м

Kкр

300 ≤ R < 500

1,1

180 ≤ R < 200

1,3

200 ≤ R < 300

1,2

R < 180

1,5

Коэффициенты повторности сортировки отцепов и вагонов учитываются для схем 2, 4, 6 организации маневровой работы. Значение kg принимается по табл. 4 в зависимости от числа сортировочных путей, предназначенных для переработки разборочного вагонопотока m'с = mрф + mрст + 1 (см. табл. 4), и числа назначений в одном разборочном поезде f, определяемого по табл. 3.

Таблица 3

Общее число приведенных назначений рассматриваемого района (станции)

Среднее число назначений f над чертой и отцепов q под чертой в одном разборочном поезде (подаче) при числе вагонов в поезде (подаче)

5

10

15

20

25

30

35

40

45

50

55

60

2

2

3,7

2

4,8

2

5,9

2

7

2

8,1

2

9,2

2

10,3

2

11,4

2

12,5

2

13,6

2

14,7

2

15,8

3

2,4

3,9

2,7

5,2

2,8

6,4

2,9

7,5

3

8,7

3

9,8

3

10,9

3

12

3

13,1

3

14,2

3

15,3

3

16,4

4

3

4,3

3,2

5,5

3,5

6,8

3,6

7,9

3,8

9,1

3,8

10,2

3,9

11,4

3,9

12,5

4

13,7

4

14,8

4

15,9

4

17

5

4

4,9

4

6

4

7,1

4,3

8,3

4,4

9,5

4,6

10,7

4,7

11,9

4,8

13

4,8

14,1

4,9

15,3

4,9

16,4

4,9

17,5

6

4

4,9

4,9

6,5

4,9

7,6

4,9

8,7

5,1

9,9

5,3

11,1

5,4

12,3

5,5

13,4

5,6

14,6

5,7

15,7

5,8

16,9

5,8

16

7

4

4,9

5,8

7

5,8

8,1

5,8

9,2

5,8

10,3

5,8

11,4

6

12,6

6,2

13,8

6,4

15

6,5

16,2

6,6

17,4

6,6

18,5

8

4

4,9

6,6

7,5

6,6

8,6

6,6

9,7

6,6

10,8

6,6

11,9

6,6

13

6,8

14,2

7

15,4

7,2

16,8

7,3

17,8

7,4

18,9

9

4

4,9

7,4

7,9

7,4

9

7,4

10,1

7,4

11,2

7,4

12,3

7,4

13,4

7,4

14,5

7,5

15,7

7,5

17

8

18,2

8,1

19,3

10

4

4,9

8,1

8,3

8,1

9,4

8,1

10,5

8,1

11,6

8,1

12,7

8,1

13,8

8,1

14,9

8,2

16,1

8,4

17,3

8,6

18,5

8,6

19,7

15

4

4,9

8,7

8,7

8,8

9,8

8,8

10,9

8,8

12,0

9

13,3

9,6

14,7

10,1

16,1

10,5

17,4

10,9

16,8

11,3

20,1

11,6

21,4

20

4

4,9

8,7

8,7

8,8

9,8

11,6

12,6

11,6

13,7

11,6

14,8

11,6

15,9

11,7

17

12,3

18,5

12,8

19,9

13,3

21,2

13,8

22,6

25

4

4,9

8,7

8,7

8,8

9,8

13,8

13,8

13,8

14,9

13,8

16

13,8

17,1

13,8

18,2

13,8

19,3

14,3

20,7

14,9

22,2

15,5

23,6

30

4

4,9

8,7

8,7

8,8

9,8

13,8

13,8

15,5

15,9

15,5

17

15,5

18,1

15,5

19,2

15,5

20,3

15,5

21,4

16,3

23

17

24,5

40

4

4,9

8,7

8,7

8,8

9,8

13,8

13,8

15,5

15,9

17

17,9

17

19

17

20,1

17

21,2

17,4

22,5

18,3

24,1

19,2

25,8

50

4

4,9

8,7

8,7

8,8

9,8

13,8

13,8

15,5

15,9

17

17,9

19,2

20,3

19,2

22,4

19,2

22,4

19,2

23,4

19,9

25,1

20,9

26,8

60

4

4,9

8,7

8,7

8,8

9,8

13,8

13,8

15,5

15,9

17

17,9

20,9

21,3

20,9

22,4

20,9

23,5

20,9

24,6

21,1

25,8

22,3

27,6

70

4

4,9

8,7

8,7

8,8

9,8

13,8

13,8

15,5

15,9

17

17,9

20,9

21,3

22,3

23,3

22,3

24,3

22,3

25,4

22,3

26,5

23,4

28,2

80

4

4,9

8,7

8,7

8,8

9,8

13,8

13,8

15,5

15,9

17

17,9

20,9

21,3

23,4

23,8

23,4

24,9

23,8

26,2

23,4

27,4

24,4

28,4

90

4

4,9

8,7

8,7

8,8

9,8

13,8

13,8

15,5

15,9

17

17,9

20,9

21,3

24,3

24,3

24,3

25,4

24,3

26,5

24,3

27,6

25,1

29,2

100

4

4,8

8,7

8,7

8,8

9,8

13,8

13,8

15,5

15,9

17

17,9

20,9

21,3

24,3

24,3

25,1

25,9

25,7

27

25,7

28,1

25,7

29,5

Значение kп рассчитывается по формуле

                                                         (4)

где m'с - число сортировочных путей для разборочного вагонопотока; f - число назначений в одном разборочном поезде.

Время повторной сортировки tс, мин, в расчете на одну подачу-уборку для вытяжных путей и полугорок (при работе толчками) определяется по формуле

tс = 1,2(Аg' + Бn' + 1,8 + 0,3nсб)kкр,                                       (5)

где n' - число сортируемых вагонов за одну повторную сортировку:

n' = 0,08kP,                                                         (6)

где k - коэффициент, зависящий от схемы организации маневровой работы: k = 2,2 - для 1 и 2 схем; k = 2 - для 3 и 4 схем; k = 1,7 - для 5 и 6 схем; P - производительность одного маневрового локомотива, занятого обработкой грузовых фронтов, ваг./сут (см. прил. 1);

g' = 1 + 0,05P для 1, 3, 5 схем;                                   (7)

Таблица 4

Среднее число приведенных назначений в одном разборочном поезде (подаче)

Коэффициент повторности сортировки отцепов kg при числе сортировочных путей m'с

2

3

4

5

6

7

8

9

10

11

12

13

14

15

2

1

1

1

1

1

1

1

1

1

1

1

1

1

1

3

1,3

1

1

1

1

1

1

1

1

1

1

1

1

1

4

1,3

1,3

1

1

1

1

1

1

1

1

1

1

1

1

5

1,3

1,3

1,2

1

1

1

1

1

1

1

1

1

1

1

6

1,5

1,3

1,3

1,2

1

1

1

1

1

1

1

1

1

1

7

1,5

1,3

1,3

1,3

1,2

1

1

1

1

1

1

1

1

1

8

1,5

1,5

1,3

1,3

1,2

1,2

1

1

1

1

1

1

1

1

9

1,6

1,5

1,3

1,3

1,3

1,2

1,2

1

1

1

1

1

1

1

10

1,6

1,5

1,4

1,3

1,3

1,3

1,2

1,2

1,2

1

1

1

1

1

11

1,6

1,5

1,5

1,3

1,3

1,3

1,2

1,2

1,1

1

1

1

1

1

12

1,7

1,6

1,5

1,4

1,3

1,3

1,3

1,2

1,2

1,1

1

1

1

1

13

1,7

1,6

1,5

1,4

1,3

1,3

1,3

1,2

1,2

1,2

1,2

1,1

1

1

14

1,7

1,6

1,5

1,4

1,4

1,3

1,3

1,3

1,2

1,2

1,2

1,1

1

1

15

1,8

1,6

1,6

1,5

1,4

1,3

1,3

1,3

1,3

1,2

1,2

1,2

1,1

1

16

1,8

1,7

1,6

1,5

1,4

1,4

1,3

1,3

1,3

1,2

1,2

1,2

1,2

1,1

17

1,6

1,7

1,6

1,5

1,4

1,4

1,3

1,3

1,3

1,3

1,2

1,2

1,2

1,1

18

1,8

1,7

1,6

1,5

1,4

1,4

1,4

1,3

1,3

1,3

1,3

1,2

1,2

1,2

19

1,8

1,7

1,6

1,5

1,4

1,4

1,4

1,4

1,3

1,3

1,3

1,2

1,2

1,2

20

1,8

1,7

1,6

1,6

1,4

1,4

1,4

1,4

1,3

1,3

1,3

1,3

1,2

1,2

21

1,9

1,7

1,7

1,6

1,5

1,4

1,4

1,4

1,4

1,3

1,3

1,3

1,2

1,2

22

1,9

1,7

1,7

1,6

1,5

1,4

1,4

1,4

1,4

1,3

1,3

1,3

1,2

1,2

23

1,9

1,7

1,7

1,6

1,5

1,4

1,4

1,4

1,4

1,3

1,3

1,3

1,3

1,2

24

1,9

1,8

1,7

1,7

1,5

1,4

1,4

1,4

1,4

1,3

1,3

1,3

1,3

1,2

25

1,9

1,8

1,7

1,7

1,6

1,5

1,4

1,4

1,4

1,4

1,3

1,3

1,3

1,2

26

1,9

1,8

1,7

1,7

1,6

1,5

1,4

1,4

1,4

1,4

1,3

1,3

1,3

1,2

27

1,9

1,8

1,7

1,7

1,6

1,5

1,5

1,4

1,4

1,4

1,3

1,3

1,3

1,2

28

1,9

1,8

1,7

1,7

1,6

1,5

1,5

1,4

1,4

1,4

1,4

1,3

1,3

1,2

29

1,9

1,8

1,7

1,6

1,6

1,5

1,5

1,4

1,4

1,4

1,4

1,4

1,3

1,2

30

2

1,8

1,8

1,7

1,6

1,5

1,5

1,5

1,4

1,4

1,4

1,4

1,3

1,2

31

2

1,8

1,8

1,7

1,6

1,5

1,5

1,5

1,4

1,4

1,4

1,4

1,4

1,2

32

2

1,9

1,8

1,7

1,6

1,6

1,5

1,5

1,4

1,4

1,4

1,4

1,4

1,2

33

2

1,9

1,8

1,7

1,6

1,6

1,5

1,5

1,5

1,4

1,4

1,4

1,4

1,2

34

2

1,9

1,8

1,7

1,6

1,6

1,5

1,5

1,5

1,4

1,4

1,4

1,4

1,4

35

2

1,9

1,8

1,7

1,7

1,6

1,5

1,5

1,5

1,4

1,4

1,4

1,4

1,4

g' - число сортируемых отцепов:

g' = 1 + 0,07P для 2, 4, 6 схем;                                   (8)

nсб - число вагонов, переставляемых на путь сборки;

nсб = 0,08P.                                                                   (9)

Остальные обозначения те же, что и в формуле (1).

Время расформирования одного поезда на горках и полугорках (при работе надвигом) Tс, мин, определяется по формуле

Tс = Г + Д + nkп + En2kп + 0,9n(в + Жn/g),                             (10)

где Г, Д, Е, В, Ж - постоянные коэффициенты, которые принимают по табл. 5.

Таблица 5

п.п.

Тип сортировочного устройства

г

Д

Е

в

Ж

1

Механизированная горка с замедлителями на сортировочных путях

8,61

5,47

0,248

0,126

0,0003

0,0006

5,99

0,68

2

Частично механизированная горка, без замедлителей на сортировочных путях

8,61

5,47

0,248

0,126

0,0003

0,0006

4,61

0,53

3

Немеханизированная горка

8,61

5,47

0,248

0,126

0,0003

0,0006

2,92

0,53

4

Полугорка (при работе надвигом)

8,61

5,47

0,248

0,126

0,0003

0,0006

2,37

0,43

Примечания: 1. Над чертой приведены значения Г, Д, Е при выполнении перестановки состава с путей приема на горочную вытяжку с выключенными тормозными средствами, под чертой - с включенными. 2. При последовательном расположении парков приема и сортировки Г = 1,03; Д = Е = 0. 3. При перестановке вагонов на горочную вытяжку непосредственно с сортировочных путей для повторной сортировки Г = 2,8; Д = 0,06; Е = 0,0006.

Значения g и kп определяются так же, как при расчете по формуле (1).

Время повторной сортировки tс, мин, в расчете на одну подачу-уборку для горок и полугорок (при работе надвигом) определяется по формуле

tс = Г + Дn' + 0,9n'/(В + Жn'/g') + 0,3nсб.                                (11)

Условные обозначения в формуле (11) те же, что и в формулах (5) и (10).

Значения Г и Д принимают в соответствии с примечанием 3 к табл. 5.

Время формирования Tф на внешнюю сеть определяемого со станции вагонопотока Nот по назначениям общесетевого плана формирования или по каким-либо другим признакам учитывается, если число назначений K не менее 2, и определяется по формулам (1) и (10).

Число сортируемых отцепов в этом случае определяется по формуле

g = 1,44 + 0,58K + 0,22nот,                                          (12)

где K - число назначений формирования на внешнюю сеть; nот - число вагонов в формируемом поезде. Повторность сортировки не учитывается.

Время расформирования маршрутов Tм, если они сортируются по маркам сырья, топлива, степени пригодности вагонов под погрузку и т.п., рассчитывается по формулам (1), (10) и (12) с подстановкой соответствующих значений K и nм. Повторность сортировки не учитывается.

Уровень загрузки сортировочного устройства ρ рассчитывается по п. 8.8, а для более точных расчетов по формуле

                     (13)

ПРИЛОЖЕНИЕ 3

РАСЧЕТ КОЛИЧЕСТВА ПРИЕМООТПРАВОЧНЫХ ПУТЕЙ

В общем случае число приемоотправочных путей рассчитывается из условия обеспечения заранее заданной степени надежности их работы, которая ограничивает задержки по неприему поездов или подач в пределах этой надежности. Так, при заданной степени надежности 90 % (0,9) допускается задержка по неприему каждого десятого поезда, а при надежности 80 % (0,8) - каждого пятого поезда. При этом средняя длина очереди перед станцией, т.е. среднее число поездов, задержанных по неприему (Мо), составит в первом случае 0,1, а во втором 0,2. Число путей приема для поездов каждой категории, поступающих на станцию должно удовлетворять неравенству

                                          (1)

где t - полное время занятия пути одним поездом, ч; mп - число путей приема; для подач, поступающих с предприятий, в качестве mп принимается λmп, где λ - число частей, из которых накапливается поезд для отправления на станцию примыкания одним назначением; n - среднесуточное число поездов; γ - коэффициент, зависящий от характера распределения интервалов поступления поездов и времени их отработки;

γ = 0,5(Vu2 + Vt2),                                                         (2)

где Vu2 - коэффициент вариации интервала поступления; Vt2 - коэффициент вариации времени обработки.

Для поездов разборочного вагонопотока и подач, поступающих с предприятий, значения Vu и Vt могут быть приняты равными 1, так как распределение интервалов поступления и времени обработки близко к показательному. Для поездов маршрутного вагонопотока, поступающих, как правило, через равные интервалы или по жестким расписаниям, Vu = 0,1 - 0,2; Vt = 0,6 - 0,7.

Значения Mо могут быть приняты: 0,05 - при приеме поездов непосредственно с внешней сети без переработки на станции примыкания; 0,1 - при приеме поездов после их переработки на станции примыкания при отсутствии на станции примыкания специальных приемосдаточных путей; 0,2 - при приеме поездов со станции примыкания при наличии на ней специальных приемосдаточных путей, а также при приеме подач с предприятий, не имеющих внутриплощадочного станционного путевого развития (обгонные пути, пути отстоя и т.п.); 0,3 - при приеме поездов с грузовых станций предприятий, а также из маневровых районов, имеющих станционное путевое развитие.

Число частей, из которых накапливается поезд для отправления на станцию примыкания одним назначением λ, определяется делением средней длины отправляемого поезда nот на величину группы накопления nсб, рассчитываемую по формуле (9) прил. 2.

Время занятия пути одним поездом t, ч, определяется по формуле

t = tпо + tтех + tож,                                                          (3)

где tпо - время занятия пути непосредственно операциями приема и отправления, ч; tтех - время на обработку поезда по технологическому процессу, включая приемосдаточные операции, если они выполняются на промышленной станции, ч; tож - время ожидания начала следующей операции (расформирование, подача - уборка, отправление на внешнюю сеть и т.п.), включая накопление перед отправлением на внешнюю сеть, ч.

Время выполнения отдельных операций приведено в табл. 1.

Таблица 1

№ п.п.

Наименование операций

Продолжительность операций, мин (ч)

1

Прием поезда с внешней сети

5 (0,08)

2

Прием подачи с предприятий

4 (0,07)

3

Отправление поезда на внешнюю сеть

4 (0,07)

4

Отправление подачи на предприятие

3 (0,05)

5

Заезд локомотива под состав

4 (0,07)

6

Обработка поезда, прибывшего с внешней сети в расформирование, с производством приемосдаточных операций

30 (0,5)

7

То же, без производства приемосдаточных операций

15 (0,25)

8

Оборотка состава своего формирования перед отправлением на внешнюю сеть

30 (0,5)

9

Включение и опробование тормозов в составе из m вагонов

3 + 0,14m(0,05 + 0,002m)

Время ожидания tож рассчитывается по формулам:

ожидание расформирования разборочными поездами и подачами с предприятий

                                                                                           (4)

ожидание подачи-уборки маршрутами

tож = tп-уα/(1-α);                                                       (5)

накопление подач с предприятий до расчетной массы поезда, передаваемого на станцию примыкания одним назначением

                                              (6)

где tрср - средневзвешенное время сортировки, определяемое с учетом всех поездов и подач, перерабатываемых на сортировочном устройстве, ч; ρ - уровень загрузки сортировочного устройства; Vс - коэффициент вариации времени сортировки; tп - время подачи-уборки части маршрута на грузовой пункт, ч; α - коэффициент использования локомотива, выполняющего подачу-уборку маршрутных групп вагонов, принимается равным 0,7 - 0,75; nср - средний размер группы накопления ваг.; пот - состав отправляемого поезда ваг.; Nрф и Nрст - разборочные вагонопотоки назначением на грузовые фронты и другие промышленные (грузовые) станции, ваг./сут; d - коэффициент, зависящий от допустимого колебания величины отправляемых составов Δm, %.

Δm           2            4            6           8           10

d             0,4         0,7         0,9        1,1         1,2

d = 1 - для поездов, отправляемых в переработку на станции примыкания; d = 0,4 - для поездов, отправляемых непосредственно на внешнюю сеть.

Уровень загрузки сортировочного устройства ρ определяется в соответствии с формулой (14) разд. 8 или по методике, приведенной в прил. 2. Средневзвешенное время сортировки tрср, ч, определяется по формуле

                           (7)

где β - коэффициент, учитывающий нормативный уровень загрузки сортировочного устройства (табл. 12 разд. 8); принимается равным 0,85 для горки и 0,7 - для вытяжки.

Остальные обозначения приведены в табл. 2 прил. 1.

При определении уровня загрузки сортировочного устройства учитываются только те поезда и подачи, которые на данном сортировочном устройстве перерабатываются. Коэффициент вариации времени сортировки Vс в зависимости от сочетаний различных видов вагонопотоков может ориентировочно приниматься по табл. 2.

Таблица 2

Сочетание вагонопотоков различных видов, перерабатываемых на сортировочном устройстве

Vс

Nрф

Nрст

Nот

Nм

+

+

+

+

0,5

+

+

+

-

0,6

+

+

-

+

0,6

+

+

-

-

0,7

+

-

-

-

0,8

-

+

+

+

0,4

-

+

+

-

0,4

-

+

-

+

0,3

-

+

-

-

0,2

Более точно коэффициент вариации рассчитывается по формуле

                                              (8)

где mi - число поездов или подач i-й категории; mi = (Nрф + Nрст)/nр - для поездов разборочного вагонопотока; mi = Nот/nот - для поездов, формируемых на внешнюю сеть; mi = Nм/nм - для сортируемых маршрутов; mi = 15,6Nрф/tцP - для расформировываемых подач, поступающих с предприятий; ti - время сортировки одного поезда или подачи i-го вагонопотока, ч, определяется по методике, приведенной в прил. 2.

Размер группы накопления nгр, ваг., рассчитывается по формуле

                                  (9)

где Nстi - разборочный вагонопоток на i-ю грузовую станцию, ваг./сут.

nстi - состав поезда, передаваемого на i-ю грузовую станцию, ваг.; I - число грузовых станций.

Время подачи-уборки части маршрута на грузовой пункт рассчитывается по формуле

tп = 0,15 + 0,06L + 0,015(nм/λ) + 0,13f + Tгр,                       (10)

где L - дальность подачи, км; f - число грузовых фронтов, на которых осуществляется погрузка или выгрузка маршрута с данным однородным грузом; Tгр - продолжительность погрузки или выгрузки части маршрута, ч; λ - число частей деления маршрута.

,                                           (11)

где q - грузоподъемность вагона, т; η - коэффициент использования грузоподъемности вагона; Mi - производительность одного механизма, т/ч; Ti - суточный лимит времени работы одного механизма, ч; l - число одновременно работающих механизмов.

Значение Tгр в формуле (10) учитывается в том случае, если на приемоотправочных путях осуществляется отстой маршрутов в ожидании окончания выгрузки или погрузки предыдущей части маршрута.

Подстановка данных в формулу (3) приводит к следующим усредненным значениям времени занятия пути одним поездом или подачей:

для поездов разборочного вагонопотока и подач с предприятий, поступающих в расформирование:

для поездов при выполнении приемосдаточных операций на станции

t = 0,7 + 0,62tрсрρ/(1 - ρ);                                             (12)

то же, при отсутствии приемосдаточных операций

t = 0,45 + 0,62tрсрρ/(1 - ρ);                                           (13)

для подач с предприятий

t = 0,2 + 0,62tрсрρ/(1 - ρ);                                             (14)

для подач с предприятий, накапливающихся на приемоотправочных путях, до установленной массы поезда с последующей его передачей на станцию примыкания одним назначением:

с переработкой на станции примыкания

t = 0,2 + nгр/nот + 12(1 - dnгр/nот)nот/(Nрф + Nрст);                         (15)

без переработки на станции примыкания

t = 0,7 + nгр/nот + 12(1 - dnгр/nот)nот/(Nрф + Nрст);                         (16)

для маршрутов:

без отстоя на приемоотправочных путях в ожидании окончания грузовых операций

t = 0,6 + 2,17(P - 1)(0,47 + 0,015nм/P);                               (17)

то же, с отстоем в ожидании окончания грузовых операций

t = 0,6 + (P - 1)[2,17(0,47 + 0,015nм/P)] + (24nмqn)/.           (18)

Вычисленные по формулам (12) - (18) значения t подставляются в неравенство (1), которое решается относительно n (при заданном m) или относительно m (при заданном n).

Максимально допустимое число поездов разборочного вагонопотока и подач с предприятий, поступающих в расформирование, которое может быть переработано на одном приемоотправочном пути, при различных сочетаниях уровня загрузки сортировочного устройства ρ и средневзвешенного времени сортировки tрср (при Mо = 0,1 и Vс = 0,5) приведено в табл. 3.

Таблица 3

tрср

Число поездов при уровне загрузки сортировочного устройства ρ

0,2

0,3

0,4

0,5

0,6

0,7

0,8

0,1

9/20

9/20

9/20

8/16

8/12

8/10

7/9

0,2

9/20

9/20

8/16

8/16

8/12

7/9

6/8

0,3

8/16

8/16

8/16

7/15

7/11

6/8

5/7

0,4

8/16

8/16

7/14

7/14

6/8

5/7

3/5

0,5

8/16

8/16

7/14

6/10

5/7

5/7

3/5

0,6

8/16

7/14

7/14

6/10

5/7

4/6

3/5

0,7

8/16

7/14

7/14

6/10

5/7

3/5

3/5

0,8

8/16

7/14

6/10

6/10

5/7

3/5

2/4

0,9

8/16

7/14

6/10

5/8

4/6

3/5

2/4

1,0

7/14

7/14

6/10

5/8

4/6

2/4

2/4

Примечания: 1. Перед чертой указано число поездов, поступающих в расформирование с внешней сети при выполнении приемосдаточных операций на промышленной станции, после черты - число подач, поступающих с предприятий. 2. При отсутствии на промышленной станции приемосдаточных операций число поездов определяется как среднеарифметическое из двух значений, указанных в табл. 3 (перед чертой и после черты), например (7 + 15):2 = 11. 3. Влияние Mо и Vс учитывается совместным умножением числа путей, указанного в табл. 3, на коэффициенты:

при Mо = 0,05 … 0,87

   »    Mо = 0,2 … 1,25

   »    Mо = 0,3 … 1,5

   »    Vс = 0,8 - 1 … 0,9

   »    Vс = 0,2 - 0,3 … 1,1.

4. Число поездов, указанное в табл. 3 (с учетом влияния Mо и Vс), увеличивается в 3 раза при двух путях, в 5 раз - при трех путях, в 7 раз - при четырех путях, в 9 раз - при пяти путях.

ПРИЛОЖЕНИЕ 4

РАСЧЕТ ВРЕМЕНИ ОБОРОТА ВАГОНОВ ОБЩЕСЕТЕВОГО ПАРКА НА ПРОМЫШЛЕННЫХ СТАНЦИЯХ (БЕЗ УЧЕТА ГРУЗОВЫХ ОПЕРАЦИЙ)

Оборот вагонов общесетевого парка на промышленных станциях определяется отдельно для каждого вида вагонопотока:

разборочного назначением на грузовые фронты, непосредственно обслуживаемые через данную станцию Nрф;

разборочного назначением на другие промышленные станции Nрст;

маршрутизированного назначением на грузовые фронты, непосредственно обслуживаемые через данную станцию Nм.

Оборот вагонов разборочного вагонопотока назначением на грузовые фронты Tрф, ч, определяется по формуле

Tрф = tпр + tпртех + kпtож + tрпр + tсповт + tф + tотнак + tсот + tоттех + tот,                 (1)

где tпр - время непосредственно приема, ч; принимается по табл. 1 прил. 3; tпртех - время обработки поезда по прибытию, ч; принимается по табл. 1 прил. 3; tож - время ожидания расформирования, ч; рассчитывается по формуле (4) прил. 3; tрпр - время расформирования, ч; рассчитывается по формуле (1) или (10) прил. 2 в зависимости от типа сортировочного устройства; tсповт - время повторной сортировки вагонов перед подачей на грузовые фронты, ч: рассчитывается по формуле (5) или (11) прил. 2 в зависимости от типа сортировочного устройства; tф - время нахождения вагона в системе сортировочные пути - грузовые фронты, ч; определяется по табл. 3 прил. 1 в зависимости от числа приведенных грузовых фронтов и длины разборочного поезда; tотнак - время простоя под накоплением перед отправлением на внешнюю сеть, ч; kп - коэффициент, учитывающий число повторных сортировок; принимается равным 3 - при формировании на внешнюю сеть и 2 - при отсутствии формирования.

tотнак = 12K(1 - dnср/nот)nот/(Nрф + Nрст),                                    (2)

где K - число назначений формирования на внешнюю сеть.

Остальные условные обозначения см. в формуле (6) прил. 3.

В случае, если вагоны из-под выгруженных маршрутов отправляют в составе разборочных поездов, tотнак и nгр рассчитывают по формулам (10) и (11) данного приложения.

tсот - время сортировки по отправлению, ч, определяется в соответствии с п. 6 прил. 1 и учитывается только при k > 1; tоттех - время обработки поезда по отправлению, ч, принимается по табл. 1 прил. 3; tот - время непосредственно отправления, ч, принимается по табл. 1 прил. 3.

По формуле (1) рассчитывается также оборот вагонов маршрутизированного вагонопотока, если они перерабатываются на сортировочном устройстве (без учета tсповт). При формировании на внешнюю сеть принимается равным 2, при отсутствии формирования - 1.

Оборот вагонов разборочного вагонопотока назначением на другие промышленные станции Tрст, ч, определяют по формуле

Tрст = tпр + tпртех + kпtож + tрпр + tстнак + tотнак + tсот + tоттех + tот,                     (3)

где tнакст - средневзвешенный простой под накоплением перед отправлением на другие промышленные станции, ч.

                                             (4)

tiнак = 12(1 - niср/niот)(niот/Niст);                                        (5)

                                   (6)

где tiнак - простой под накоплением перед отправлением на i-ю промышленную станцию, ч; Niнак - среднесуточный вагонопоток, передаваемый на i-ю промышленную станцию, ваг./сут; niот - средний состав поезда, передаваемый на i-ю станцию, ваг.; niр - средний размер общей группы вагонов в адрес станций, поступающей в разборочных поездах, ваг.; g - число отцепов в одном разборочном поезде, определяемое по табл. 3 с учетом формул (2) и (3) прил. 2; tiнак - учитывается только в случае, если niср > nр.

Значения остальных слагаемых в формуле (3) принимают такими же, как и в формуле (1), значение kп принимают равным 2 при формировании на внешнюю сеть и 1 - при отсутствии формирования.

Оборот вагонов маршрутизированного вагонопотока Tм, ч, рассчитывают по формулам:

при отправлении погруженных или выгруженных маршрутов также маршрутами в том же составе

Tм = tпр + tтех + 2tож + tф + tоттех + tот;                                          (7)

при отправлении вагонов из-под выгруженных маршрутов в составе разборочных поездов

Tм = tпр + tтех + tож + tф + tотнак + tоттех + tот;                                     (8)

tож = 1,1(P - 1)(0,47 + 0,015nм/P);                                           (9)

                                 (10)

                                       (11)

где Niм - среднесуточный маршрутизированный вагонопоток с i-м однородным грузом; Q - число родов грузов, которые поступают маршрутами.

При отправлении на станцию примыкания порожних вагонов только из-под выгруженных маршрутов при определении tнак и nгр учитывают только маршруты

                                      (12)

                                                      (13)

где Kм - число назначений формирования из порожних вагонов из-под выгрузки маршрутов.

Средневзвешенный оборот вагонов общесетевого парка, перерабатываемых на станции Tср, ч, определяют по формуле

                                     (14)

ПРИЛОЖЕНИЕ 5

ПРИМЕР ТЕХНОЛОГИЧЕСКОГО РАСЧЕТА ПРОМЫШЛЕННОЙ СТАНЦИИ

Рассчитаем входную сортировочную станцию С предприятия, имеющего и своем составе еще 2 грузовые станции А и Б. Среднесуточный объем работы станции С характеризуется следующими исходными данными:

разборочный вагонопоток Nр = 300 ваг., поступающий с внешней сети в поездах по 45 ваг., в том числе в адрес грузовых фронтов, непосредственно обслуживаемых через станцию, Nрф = 200 ваг. (см. табл. 1); в адрес станции А NрА = 40 ваг. с накоплением до подачи длиной 10 ваг.; в адрес станции Б NрБ = 60 ваг. с накоплением до подачи длиной 20 ваг.;

маршрутизированный вагонопоток с углем Nму = 80 ваг., поступающий с внешней сети в поездах по 40 ваг. и выгружаемый на двух фронтах, непосредственно обслуживаемых через станцию, без переработки на сортировочном устройстве. Вместимость каждого фронта составляет 10 ваг.;

маршрутизированный вагонопоток с инертными Nми = 60 ваг., поступающий с внешней сети в поездах по 30 ваг. и выгружаемый на трех фронтах, непосредственно обслуживаемых через станцию, с предварительной сортировкой по маркам материалов. Вместимость каждого фронта составляет 5 ваг.

Станция выполняет формирование на внешнюю сеть на 2 назначения из вагонов разборочного вагонопотока Nот = 300 ваг. с накоплением до длины поезда 40 ваг., без переработки на станции примыкания.

Полезная длина приемоотправочных путей на прилегающих перегонах общей сети составляет 850 м.

Порожние вагоны из-под угля и инертных передаются на ближайшую сортировочную станцию одним назначением с накоплением до средней длины передаточного поезда 40 ваг.

Вагонопотоки Nрф и Nрст перерабатываются на станции примыкания.

Приемосдаточные операции с МПС выполняют на станции примыкания (с вагонопотоками Nрф и Nрст) и на станции С (с вагонопотоками Nму, Nми, Nот). На станции примыкания имеется 2 специально выделенных приемосдаточных пути для предприятия.

По условиям генплана подходы к грузовым фронтам, примыкающим к станции С, расположены в основном на спусках, что делает крайне затруднительной подборку вагонов по фронтам на веерах внутриплощадочных путей. Число стрелочных переводов на внутриплощадочных путях 30.

1. Выбор схемы организации маневровой работы и определение основных параметров системы «сортировочные пути - грузовые фронты»

По формуле (1) прил. 1 рассчитывают число приведенных грузовых фронтов, характеристика которых приведена в табл. 1. Учитывая, что вагонопотоки Nрф и Nрст поступают в одних и тех же поездах, число вагонов в одном разборочном поезде для вагонопотока Nрф принимают равным (см. п. 3 прил. 1): nр = 45×200/(200 + 100) = 30.

На основании табл. 3 и формул (2) и (3) прил. 1 определяют параметры P, tф, С, Л, Э для шести схем организации маневровой работы. Результаты расчета сведены в таблицу.

Таблица 1

п.п.

ni

п.п.

ni

п.п.

ni

п.п.

ni

1

4

11

6

21

10

31

9

2

8

12

2

22

0,1

32

1,8

3

1

13

1

23

0,2

33

6

4

15

14

4

24

0,3

34

1,2

5

6

15

20

25

2,6

35

5

6

0,2

16

2

26

19

36

16

7

7

17

0,3

27

5

37

2

8

0,8

18

0,4

28

1

38

7

9

10

19

0,3

29

5

39

4

10

3

20

9

30

4

40

0,8

Из рассмотренных схем организации маневровой работы с вагонопотоком Nрф наиболее экономичными являются схемы 5 и 6. Учитывая расположение соединительных путей, ведущих к грузовым фронтам, на спусках следует рекомендовать 6-ю схему. Эта схема требует оборудования внутриплощадочных стрелочных переводов устройствами электрической централизации. Стоимость оборудования устройствами ЭЦ одной внутриплощадочной стрелки, учитывая, что станция С будет централизована независимо от схемы организации маневровой работы, составит 8 - 9 тыс. руб., а общие затраты на все внутриплощадочные стрелки составят 9×30 = 270 тыс. руб. Эти затраты необходимо учесть в схеме 6: 365 + 0,12×270 = 397 тыс. руб./год. И в этом случае схема 6, как видно из табл. 2, оказывается наиболее экономичной.

Таблица 2

№ схемы

P, ваг./сут

tф, ч

С, руб./ваг.

Л

Э, тыс. руб./год

1

42

4,4

7,0

5,0

511

2

46

4,2

6,5

4,3

474

3

42

3,7

6,7

4,8

489

4

45

3,4

6,2

4,4

453

5

50

2,5

5,3

4,0

387

6

55

2,6

5,0

3,6

365

Число маневровых локомотивов, занятых обработкой маршрутов с углем и инертными, определяется также по табл. 3 прил. 2 (для маршрутизированного вагонопотока). Л = 80/170 + 60/120 = 0,97 ≈ 1 локомотив.

2. Расчет числа сортировочных путей

Число сортировочных путей определяется в соответствии с п. 8.20 разд. 8.

Число сортировочных путей mрф для вагонопотока назначением на грузовые фронты устанавливается по числу маневровых локомотивов, занятых обработкой грузовых фронтов (п. 2.106 СНиП 2.05.07-85). Поскольку рекомендована 6-я схема организации маневровой работы, предусматривающая подборку вагонов по грузовым фронтам на сортировочном устройстве станции, дополнительно предусматривается один отсевной путь (п. 2.108 СНиП 2.05.07-85). Таким образом, mрф = 4 + 1 = 5 путей.

Число сортировочных путей mрст, предназначенных для накопления вагонов назначением на другие промышленные станции А и Б, определяется по числу этих станций (п. 2.105 СНиП 2.05.07-85), т.е. mрст = 2 пути.

Число сортировочных путей mот, предназначенных для накопления вагонов, отправляемых на внешнюю сеть, должно соответствовать числу назначений общесетевого плана формирования (п. 2.105 СНиП 2.05.07-85), т.е. mот = 2 пути.

Число сортировочных путей mм для накопления вагонов с инертными грузами после сортировки их по маркам материалов устанавливается по числу маневровых локомотивов, занятых подачей-уборкой вагонов с инертными, т.е. mм = 1 путь.

Учитывая, что объем переработки вагонов на станции составляет св. 500 ваг., предусматривается один дополнительный путь для перестановки составов во время очистки путей от снега и производства плановых ремонтов путей (п. 2.108 СНиП 2.05.07-85).

Общее число сортировочных путей на станции С составит mс = mрф + mрст + mм + mот + mдоп = 5 + 2 + 2 + 1 + 1 = 11 путей.

3. Выбор типа сортировочного устройства и расчет времени сортировки

Всего на станции С на сортировочном устройстве по заданной технологии работы перерабатывается 860 ваг., в том числе:

вагонопоток в адрес грузовых фронтов (перерабатывается дважды по прибытию) 200 + 200 = 400 ваг.;

вагонопоток в адрес станции А и Б - 100 ваг.;

маршрутизированный вагонопоток с инертными - 60 ваг.;

отправляемый разборочный вагонопоток - 300 ваг.

Приведенный объем переработки Д (приведенных вагонов в сутки) определяется в соответствии с рекомендациями п. 2.111 СНиП 2.05.07-85

Д = 200×4 + 100 + 300 + 60 = 1260 ваг./сут.

Из табл. 18 СНиП 2.05.07-85 следует, что в качестве сортировочного устройства на станции должна быть горка малой мощности. Уровень загрузки немеханизированной горки ориентировочно (см. п. 8.8 раздела 8) составит ρ = (0,85×1260)/2500 = 0,43.

Это значение ρ может быть использовано при определении числа приемоотправочных путей в формулах (4), (7) прил. 3.

Время сортировки вагонов рассчитывается отдельно для каждого вида вагонопотока.

Для разборочного вагонопотока общее число приведенных назначений определяется по формуле (3) прил. 2: Fпр = 20 + 2 = 22.

По табл. 3 прил. 2 при nр = 45 и Fпр = 22 устанавливается, что один разборочный поезд в среднем представлен f = 13 назначениями и g = 19 отцепами. Для расформирования разборочного вагонопотока предусмотрено 5 сортировочных путей (см. п. 2). Коэффициент повторности сортировки вагонов в этом случае, определенный по формуле (4) прил. 2, составит: kп = (3×5 + 13 - 3)/4(5 - 1) = 1,56.

Время расформирования одного разборочного поезда определяется по формуле (10) прил. 2:

для полностью механизированной горки Tс = 5,47 + 0,126×45×1,56 + 0,0006×452×1,56 + (0,9×45)/(5,99 + 0,68 - 45/19) = 16,2 + 5,3 = 21,5 мин = 0,36 ч;

для частично механизированной горки Tс = 16,2 + (0,9×45)/(4,61 + 0,53 - 45/19) = 16,2 + 6,9 = 23,1 мин = 0,39 ч;

для немеханизированной горки Tс = 16,2 + (0,9×45)/(2,92 + 0,53 - 45/19) = 16,2 + 9,7 = 25,9 мин = 0,43 ч.

Среднее число вагонов, перерабатываемых за одну повторную сортировку (для вагонопотока Nрф), определяется по формуле (6) прил. 2: n' = 0,08×1,7×55 = 7,48.

Среднее число отцепов, перерабатываемых за одну повторную сортировку, определяется по формуле 8 прил. 2: g' = 1 + 0,07×55 = 4,85.

Число вагонов, переставляемых на путь сборки, определяется по формуле (9) прил. 2: nсб = 0,08×55 = 4,4.

Время повторной сортировки в расчете на одну подачу-уборку рассчитывается по формуле (11) прил. 2:

для полностью механизированной горки tс = 2,8 + 0,06×7,48 + (0,9×7,48)/[5,99 + 0,68(7,48/4,85)] + 0,3×4,4 = 4,57 + 0,96 = 5,5 мин = 0,09 ч;

для частично механизированной горки tс = 4,57 + (0,9×7,48)/[4,61 + 0,53 - (7,48/4,85)] = 4,57 + 1,24 = 5,8 мин = 0,1 ч;

для немеханизированной горки tс = 4,57 + (0,9×7,48)/[2,92 + (7,48/4,85)].

Число сортируемых отцепов, приходящееся на один поезд отправляемого вагонопотока, определяется по формуле (12) прил. 2 g = 1,44 + 0,58×2 + 0,22×40 = 11,4.

Время формирования на внешнюю сеть одного поезда рассчитывается по формуле (10) прил. 2:

для полностью механизированной горки Tф = 5,47 + 0,126×40 + 0,0006×402 + (0,9×40)/[5,99 + 0,68 - (40/11,4)] = 11,5 + 4,3 = 15,8 мин = 0,26 ч;

для частично механизированной горки Tф = 11,5 + (0,9×40)/4,61 + 0,53(40/11,4) = 11,5 + 5,56 = 17,06 мин = 0,28 ч;

для немеханизированной горки Tф = 11,5 + (0,9×40)/[2,92 + 0,53(40/11,4)] = 11,5 + 7,53 = 19,03 мин = 0,32 ч.

Число сортируемых отцепов, приходящихся на один маршрут с инертными, определяется по формуле (12) прил. 2

g = 1,44 + 0,58×3 + 0,22×30 = 9,8.

Время сортировки одного маршрута с инертными рассчитывается по формуле (10) прил. 2:

для полностью механизированной горки Tс = 5,47 + 0,126×30 + 0,0006×302 + (0,9×30)/[5,99 + 0,68 - (30/9,8)] = 9,8 + 3,3 = 13,1 мин = 0,22 ч;

для частично механизированной горки Tс = 9,8 + (0,9×30)/[4,61 + 0,53 - (30/9,8)] = 9,8 + 4,3 = 14,1 мин = 0,23 ч;

для немеханизированной горки Tс = 9,8 + 0,9×30/2,92 + 0,53 - (30/9,8) = 9,8 + 5,9 = 15,7 мин = 0,26 ч.

Количество сортировок, выполняемых на сортировочном устройстве станции, составит:

разборочных поездов с вагонопотоками Nрф и Nрст 300:45 = 6,7;

повторных сортировок перед подачей на грузовые фронты с вагонопотоком Nрф (см. формулу (13) прил. 2) (15,6×200)/(1,2×55) = 47,3;

поездов, формируемых на внешнюю сеть, 300/40 = 7,5;

маршрутов с инертными 60/30 = 2.

Общее количество сортировок составит

6,7 + 47,3 + 7,5 + 2 = 63,5.

Уровень загрузки горки на станции С при различной степени ее механизации составит:

для полностью механизированной горки

ρ = (0,36×6,7 + 0,09×47,3 + 0,26×7,5 + 0,22×2)/24 = 0,38;

для частично механизированной горки

ρ = (0,39×6,7 + 0,1×47,3 + 0,28×7,5 + 0,23×2)/24 = 0,41;

для немеханизированной горки

ρ = (0,43×6,7 + 0,11×47 + 47,3 + 0,32×7,5 + 0,26×2)/24 = 0,46.

Средневзвешенное время одной сортировки составит:

для полностью механизированной горки 24×0,38/63,5 = 0,143 ч;

для частично механизированной горки 24×0,41/63,5 = 0,155 ч;

для немеханизированной горки 24×0,46/63,5 = 0,174 ч.

Степень механизации горки определяется на основании технико-экономических расчетов, учитывающих, с одной стороны, сокращение штата обслуживающего персонала и затрат вагоно-часов при большей степени механизации и, с другой стороны, дополнительные капитальные вложения в механизацию.

Для рассматриваемой станции технико-экономические расчеты выполнены при следующих исходных данных табл. 3.

Таблица 3

Наименование показателей

Измеритель

Немеханизированная горка

Частично механизированная горка

Полностью механизированная горка

Капитальные вложения в механизацию

тыс. руб.

-

700

950

Штат башмачников:

 

 

 

 

всего

чел.

30

15

5

в том числе в смену

»

6

3

1

Штат операторов на тормозных позициях:

 

 

 

 

всего

»

-

5

10

в том числе в смену

»

-

1

2

Затраты вагоно-часов, связанные с сортировкой вагонов, складываются из времени непосредственно сортировки и времени ожидания сортировки.

Коэффициент вариации времени сортировки определяется по формуле (8) прил. 3.

Для полностью механизированной горки

Vс = (1/0,143)[6,7(0,143 - 0,36)2 + 47,3(0,143 - 0,09)2 + 7,5(0,143 - 0,26)2 + 2(0,143 - 0,22)2]/63,5 = 0,66;

для частично механизированной горки

Vс = 1/0,155[6,7(0,155 - 0,39)2 + 47,3(0,155 - 0,1)2 + 7,5(0,155 - 0,28)2 + 2(0,155 - 0,23)2]/63,5 = 0,65;

для немеханизированной горки

Vс = 1/0,174[6,7(0,174 - 0,43)2 + 47,3(0,174 - 0,11)2 + 7,5(0,174 - 0,32)2 + 2(0,174 - 0,26)2]/63,5 = 0,65.

Время ожидания сортировки определяется по формуле (4) прил. 3 и составляет:

для полностью механизированной горки

tож = 0,143(0,38/1 - 0,38)[(1 + 0,662)/2] = 0,06 ч;

для частично механизированной горки

tож = 0,155(0,41/1 - 0,41)[(1 + 0,652)/2] = 0,08 ч;

для немеханизированной горки

tож = 0,174(0,46/1 - 0,46)[(1 + 0,652)/2] = 0,11 ч.

Затраты вагоно-часов, связанные с сортировкой вагонов, составят:

для полностью механизированной горки

B = 800(0,06 + 0,36) + 200(0,06 + 0,09) + 300(0,06 + 0,26) + 60(0,06 + 0,22) = 268,8 ч/сут;

для частично механизированной горки

B = 300(0,08 + 0,39) + 200(0,08 + 0,1) + 300(0,08 + 0,28) + 60(0,08 + 0,23) = 303,6 ч/сут;

для немеханизированной горки

B = 300(0,11 + 0,43) + 200(0,11 + 0,11) + 300(0,11 + 0,32) + 60(0,11 + 0,26) = 357,2 ч/сут.

Приведенные затраты для различных вариантов механизации горки рассчитываются по формуле C = 0,12(Kм + Kж) + АМ + 365ав-чB, где Kм - капитальные вложения в механизацию горки, тыс. руб.; Kж - капитальные вложения в жилищное строительство, тыс. руб. Kж = 200×9×2,5×М (200 - стоимость 1 м2 жилья; 9 - норма обеспеченности жильем, м2/чел.; 3,5 - коэффициент семейности); М - штат обслуживающего персонала; А - среднегодовая зарплата одного работающего, принимаемая 3 тыс. руб.; ав-ч - стоимость вагоно-часа, принимаемая равной 0,554 руб.; B - затраты вагоно-часов, связанные с сортировкой вагонов.

Приведенные затраты составляют:

для полностью механизированной горки

C = 0,12(950000 + 200×9×3,5×15) + 3000×15 + 365×0,554×268,8 = 224694 руб./год = 224,7 тыс. руб./год;

для частичной механизированной горки

C = 0,12(700000 + 200×9×3,5×20) + 3000×20 + 365×0,554×303,6 = 220510 руб./год = 220,5 тыс. руб./год;

для немеханизированной горки

C = 0,12×200×9×3,5×30 + 3000×30 + 365×0,554×352,2 = 184909 руб. год = 185 тыс. руб./год.

Результаты технико-экономической оценки вариантов механизации горки показывают, что для данной станции можно ограничиться строительством немеханизированной горки. Такой вывод совпадает с рекомендацией СНиП 2.05.07-85 (п. 2.111), в соответствии с которой обязательной механизации подлежат горки с переработкой более 1000 ваг./сут. На рассматриваемой же станции объем переработки, как было указано выше, составляет 860 ваг./сут.

4. Расчет числа приемоотправочных путей

Для приема поездов с внешней сети в расформирование. Число путей приема определяется в соответствии с п. 2 табл. 13 (отправляемый вагонопоток со станции С на внешнюю сеть формируется на два назначения) для 300 ваг. (или 8,7 поездов) и составляет 2 пути.

Для приема подач с предприятия в расформирование. С предприятия принимается 300 ваг., включая станции А и Б. Число подач с грузовых фронтов - 47,3, со станции А - 4, со станции Б - 5, всего 47,3 + 4 + 5 = 56 подач. Число путей приема определяется в соответствии с п. 2 табл. 13 и составляет 2 пути.

Для приема с внешней сети маршрутов с последующей передачей их на предприятия. Всего поступает 2 маршрута с углем (маршруты с инертными поступают в расформирование и число путей для их приема учтено в п. 1). Число вагонов 80. Число путей приема определяется в соответствии с п. 5 табл. 13 и составляет 1 путь.

Для приема с предприятий маршрутных групп вагонов. Всего поступает 8 маршрутных групп, 140 ваг. Число путей приема определяется в соответствии с п. 6 табл. 13 и составляет 1 путь.

Общее число приемоотправочных путей, рассчитанное по табл. 13, составляет с учетом ходового пути общего для приемоотправочного и сортировочного парков, и дополнительного пути в связи с формированием на станции поездов на внешнюю сеть и выполнением на ней приемосдаточных операций

mпо = 2 + 2 + 1 + 1 + 1 + 1 = 8 путей.

Для более точных расчетов рекомендуется пользоваться рекомендациями прил. 3.

5. Определение полезной длины путей

Приемоотправочные пути. Полезная длина приемоотправочных путей, предназначенных для приема разборочных поездов и маршрутов с углем с внешней сети (2 пути), отправления на внешнюю сеть поездов, накопленных из порожних вагонов из-под выгрузки маршрутов с углем и инертными (1 путь), для перестановки сформированных маршрутов из сортировочного парка (1 путь) принимается по полезной длине прилегающих перегонов общей сети, увеличенной на 10 %, т.е. 850×1,1 = 935 м.

Длина путей приема подач с предприятия в расформирование (2 пути) устанавливается по расчетной длине подачи, определяемой по формуле (16) разд. 8, увеличенной на 30 м.

l = 15×0,15×1,2×55 + 30 = 178,5 м (можно ограничиться одним путем длиной 350 м).

Полезная длина ходового пути не лимитируется.

Сортировочные пути. Полезная длина специализированных сортировочных путей, предназначенных для формирования на внешнюю сеть (2 пути), принимается 850 м.

Полезная длина неспециализированных сортировочных путей, предназначенных для расформирования разборочного вагонопотока в адрес станций А и Б и грузовых фронтов назначается по табл. 17 СНиП 2.05.07-85 (табл. 14 разд. 8).

Удельный вес каждого назначения разборочного вагонопотока составляет: станция А - 40/300 = 0,13; станция Б - 60/300 = 0,20; каждый из 4 маневровых районов - 200/(4×300) = 0,17 (200 - вагонопоток Nрф, 4 - число локомотивов, занятых обработкой грузовых фронтов).

По табл. 14 разд. 8 определяется полезная длина сортировочных путей для каждого назначения: станция А - 184 м; станция Б - 240 м; маневровые районы - 4 пути по 216 м.

Проверяется соответствие определенной полезной длины путей для назначений на ст. А и Б длине формируемых в адрес этих станций передаточных поездов: ст. А - 10×15×1,1 + 30 = 165 м; ст. Б - 20×15×1,1 + 30 = 360 м.

Полезная длина сортировочных путей для ст. А и Б принимается соответственно 184 и 360 м, а для каждого из сортировочных путей маневровых районов - 216 м.

Полезная длина отсевного пути не лимитируется.

Полезная длина сортировочного пути, предназначенного для сортировки маршрутов с инертными по маркам материалов, принимается по длине маршрута, т.е. 30×15 = 450 м.

Таким образом, расчетная полезная длина сортировочных путей составит: 2 пути по 935 м - для формирования на внешнюю сеть; 1 путь 450 м - для маршрутов с инертными; 1 путь 360 м - для станции Б; 4 пути по 216 - для маневровых районов; 1 путь 184 м - для станции А; 1 путь отсевной.

Окончательно полезная длина сортировочных путей устанавливается конструктивно и должна быть не менее рассчитанной.

Полезная длина горочного вытяжного пути принимается по длине самого длинного состава, т.е. 850 м.

6. Расчет времени оборота вагонов общесетевого парка (без учета грузовых операций)

Оборот вагонов разборочного вагонопотока назначением на грузовые фронты. Оборот вагонов разборочного вагонопотока Tрф, ч, определяется по формуле (1) прил. 4.

Tрф = tпр + tпртех + Ktож + tрпр + tсповт + tф + tотнак + tсот + tоттех + tот,

tпр = 0,08 ч - по табл. 1 прил. 3; tпртех = 0,25 ч - по табл. 1 прил. 3; tож = 0,11 ч - см. п. 3 данного прил. и формулу (4) прил. 3; tрпр = 0,43 ч - см. п. 3 данного прил. и формулу (10) прил. 2; tсповт = 0,11 ч - см. п. 3 данного прил. и формулу (11) прил. 2; tф = 2,6 ч - см. п. 1 данного прил. и табл. 3 прил. 1; K = 3; tотнак - рассчитывается по формуле (2) прил. 4.

Размер группы накопления рассчитывается по формуле (9) прил. 3.

nгр = [200(1,2×55/15,6) + 40×10×60×20]/(200×100) = 8,15 ваг.; tотнак = 12×2(1 - 0,4 - 8,15/40)40/(200 + 100) = 2,93 ч; tсот = 0,32 ч - см. п. 3 данного прил. и формулу (12) прил. 2; tоттех = 0,5 ч - по табл. 1 прил. 3; tот = 0,07 ч - по табл. 1 прил. 3; Tрф = 0,08 + 0,25 + 3×0,11 + 0,43 + 0,11 + 2,93 + 0,32 + 0,5 + 0,07 = 7,62 ч.

Оборот вагонов разборочного вагонопотока назначением на станции А и Б. Оборот вагонов назначением на станции А и Б рассчитывается по формуле (3) прил. 4

Tрст = tпр + tпртех + Ktож + tрпр + tстнак + tотнак + tсот + tоттех + tот.

Средний размер одной группы вагонов в адрес станции А, поступающей в одном разборочном поезде, определяется по формуле (6) прил. 4

nгр = 40/((200 + 100)/45{1 - [1 - 40/(200 + 100)]19}) = 6,4 ваг.;

19 - число отцепов в одном разборочном поезде - см. п. 3 настоящего прил. и табл. 3 прил. 2.

Средний размер одной группы вагонов в адрес станции Б

nгрБ = 60/((200 + 100)/45{1 - [1 - 60/(200 + 100)]19}) = 9,1 ваг.

Простой под накоплением перед отправлением на станцию А определяется по формуле (5) прил. 4

tАнак = 12(1 - 6,4/10)(10/40) = 1,08 ч.

Простой под накоплением перед отправлением на станцию Б

tБнак = 12(1 - 9,1/20)(20/60) = 2,18 ч.

Средневзвешенный простой под накоплением перед отправлением на ст. А и Б определяется по формуле (4) прил. 4

tстнак = (1,08×40 + 2,18×60)/160 = 1,74 ч.

Остальные значения в формуле для определения Tрст такие же, как и в формуле для определения Tрф.

Tрст = 0,08 + 0,25 + 20,11 + 0,43 + 0,11 + 1,74 + 2,93 + 0,32 + 0,5 + 0,07 = 6,65 ч.

Оборот вагонов маршрутизированного вагонопотока с инертными грузами, сортируемыми по маркам материалов. Оборот вагонов с инертными рассчитывается по формуле (1) прил. 4 (без учета tсповт и tсот).

tпр = 0,08 ч - по табл. 1 прил. 3 (п. 1); tпртех = 0,5 ч - по табл. 1 прил. 3 (п. 6); tож = 0,11 ч - п. 6 данного прил.; tрпр = 0,26 ч - п. 3 данного прил.; tф = 2,1 ч - определяется по табл. 3 прил. 1 для маршрутизированного вагонопотока при nр = 30 и Fпр = 3; tотнак определяется по формуле (12) прил. 4, поскольку порожние вагоны из-под выгруженных маршрутов с углем и инертными накапливаются отдельно от разборочного вагонопотока.

Средний размер группы накопления рассчитывается по формуле (13) прил. 4.

nгр = (60×30/2 + 80×40/2)/140 = 17,85 ваг.;

tотнак = 12(1 - 0,4×17,85/40)40/140 = 2,82 ч;

tоттех = 0,5 ч - по табл. 1 прил. 3; tот = 0,07 ч - по табл. 1 прил. 3; tми = 0,08 + 0,5 + 0,11 + 0,26 + 2,1 + 2,82 + 0,5 + 0,07 = 6,44 ч.

Оборот вагонов маршрутизированного вагонопотока с углем. Оборот вагонов с углем рассчитывается по формуле (8) прил. 4.

Tму = tпр + tпртех + tож + tф + tотнак + tоттех + tот,

tпр = 0,08 ч - по табл. 1 прил. 3; tпртех = 0,5 ч - по табл. 1 прил. 3; tож = 1,1(0,47 + 0,015×40/2) = 0,85 ч; tф = 0,47 + 0,015×40/2 = 0,77 ч; tотнак = 2,82 ч - п. 6 данного прил.; tоттех = 0,5 ч - п. 6 данного прил.; tот = 0,07 ч - п. 6 данного прил.;

Tму = 0,08 + 0,5 + 0,85 + 0,77 + 2,82 + 0,5 + 0,07 = 5,59 ч.

Средневзвешенный оборот вагонов общесетевого парка, перерабатываемых на станции С составит

Tср = (200×7,62 + 100×6,65 + 60×6,44 + 80×5,59)/440 = 6,87 ч.

7. Сводные показатели

Полученные на основании выполненного технологического расчета станции С сводные показатели приведены в табл. 4.

Таблица 4

№ п.п.

Показатели

Обозначение

Характеристика

1

Общий объем переработки станции, ваг./сут

N

440

2

Разборочный вагонопоток назначением на грузовые фронты, ваг./сут

Nрф

200

3

Разборочный вагонопоток назначением на другие промышленные станции (А и Б), ваг./сут

Nрст

100

4

Маршрутизированный вагонопоток с углем и инертными

Nм

140

5

Среднее число вагонов в одном разборочном поезде (вагонопотоки Nрф и Nрст), ваг.

nр

45

6

Среднее число вагонов в одном угольном маршруте (вагонопоток Nму = 80 ваг./сут), ваг.

nму

40

7

Среднее число вагонов в одном маршруте с инертными (вагонопотоки Nми = 60 ваг./сут), ваг.

nрот

30

8

Среднее число вагонов в одном отправляемом на внешнюю сеть поезде разборочного вагонопотока (вагонопотоки Nрф и Nрст), ваг.

nмот

40

9

Среднее число вагонов в отправляемом на внешнюю сеть маршруте с порожняком из-под угля и инертных (вагонопотоки Nму и Nми), ваг.

nмот

40

10

Схема организации маневровой работы с вагонопотоком

-

6 схема

11

Число назначений формирования на внешнюю сеть

K

2

12

Объем переработки на сортировочном устройстве в физических вагонах

-

860

13

Объем переработки на сортировочном устройстве в приведенных вагонах

-

1260

14

Тип сортировочного устройства

-

Немеханизированная горка

15

Число сортировочных путей

-

10

16

Число приемоотправочных путей

-

7 (6)

17

Полезная длина сортировочных путей, м

-

185 - 935

18

Полезная длина приемоотправочных путей для поездов, поступающих с внешней сети и отправляемых на внешнюю сеть, м

-

850 - 935

19

Полезная длина путей для приема подач с предприятия, м

-

180 (350)

20

Средневзвешенный оборот вагонов общесетевого парка (без грузовых операций), ч

Tср

6,74

21

Затраты вагоно-часов на станции (без грузовых операций), ч/сут

-

2965

22

Общее число грузовых фронтов для вагонопотока Nрф (см. табл. 1)

F

40

23

Число приведенных грузовых фронтов от вагонопотока

Fпргр

20

24

Число фронтов, на которых осуществляется погрузка-выгрузка маршрутов

-

5

25

Число маневровых локомотивов рабочего парка

В том числе:

Л

6

на обработке грузовых фронтов

Лф

4

на обработке маршрутов

Лм

1

на станции

Лст

1

ПРИЛОЖЕНИЕ 6

ПРОЕКТИРОВАНИЕ СОРТИРОВОЧНЫХ УСТРОЙСТВ

1. Стрелочная зона lз вытяжных путей со стрелочной горловиной на уклоне (рис. 1, а) проектируется на спуске до 2,5 %о. На таком же уклоне располагается участок удаления lуд длиной до 100 м; в маневровых районах, где сортируются только легковесные и порожние вагоны, допускается располагать стрелочные горловины на спуске до 4 %о. Примыкающая к участку удаления часть вытяжного пути lпу на длине 350 м может устраиваться на подъеме до 3 - 4 %о.

Длина элемента стрелочной зоны и участка удаления устанавливается с учетом выделения участка для размещения тормозной позиции.

Участок вытяжного пути от упора до начала зоны маневрирования проектируется, как правило, на спуске 1,5 - 2 %о в сторону сортировочных путей или на площадке. В трудных условиях допускается проектировать вытяжные пути на подъеме не круче 2 %о в направлении сортировки.

Проектирование всей надвижной части вытяжных путей на спуске в направлении сортировки допускается только в случае, вызванном рельефом местности, при этом средняя величина спуска не должна превышать 1,5 %о. Для обеспечения расцепки вагонов при роспуске составов надвигом в указанном случае применяется режим пульсирующей скорости.

2. Профиль вытяжных путей специального профиля (рис. 1, б), размещение и мощность тормозных средств на них должны обеспечивать необходимые интервалы на разделительных стрелках, безопасность и бесперебойность сортировочной работы, а также скорость входа вагонов из числа хороших и очень хороших бегунов на тормозной башмак, не превышающую на спускной части 1,5 м/с, а в подгорочном парке - 3,5 м/с.

Рис. 1. Профиль вытяжного пути

а - со стрелочной горловиной на уклоне; б - специального профиля

Скоростной участок lск вытяжных путей специального профиля рекомендуется проектировать крутизной не менее 20 %о. Стрелочная зона lз вытяжных путей специального профиля в тех случаях, когда не предусматривается последующее переустройство их в горку малой мощности, проектируется на спуске до 2,5 %о, а в маневровых районах, где намечается сортировка только легковесных и порожних вагонов, - до 4 %о.

Подающую часть вытяжных путей специального профиля рекомендуется проектировать из следующих элементов: участок удаления lуд - на спуске в направлении сортировки, крутизной 3 - 3,5 %о и длиной 40 - 80 м, примыкающий к нему участок вытяжного пути lпу длиной 350 м - на среднем подъеме до 3 - 4 %о, причем элемент длиной не менее 50 м, сопрягаемый непосредственно с участком удаления, располагается на подъеме 4 - 6 %о.

3. Продольный профиль и план сортировочных путей при устройстве вытяжных путей проектируются по нормам, установленным для горок малой мощности.

4. При проектировании горловин сортировочного парка с горками и вытяжными путями переломы продольного профиля с устройством вертикальных кривых допускается предусматривать на перевозных кривых стрелочных переводов. Кривые, сопрягающие в вертикальной плоскости смежные элементы профиля, не должны размещаться в пределах вагонных замедлителей, остряков и крестовин стрелочных переводов, а точки переломов профиля должны находиться от них не менее чем на длину тангенсов вертикальных кривых, м, равной

T = (RΔi)/2000,                                                            (1)

где R - радиус вертикальной кривой, м; Δi - алгебраическая разность уклона сопрягаемых элементов, %о.

5. Вытяжные пути и пути надвига должны располагаться, как правило, на прямых участках.

В трудных условиях допускается их размещение на кривых, направленных в одну сторону, радиусом не менее 600 м, а в особо трудных условиях радиусом не менее 500 м. Вытяжные пути могут проектироваться на кривых радиусом не менее 200 м.

Проектирование вытяжных путей обратными кривыми не допускается. В исключительных случаях при соответствующем обосновании может быть допущено сохранение обратных кривых на существующих вытяжных путях при их реконструкции. Во всех случаях должна быть предусмотрена видимость, необходимая для обеспечения безопасности производства маневровых работ.

6. Горки малой мощности проектируются, как правило, с одним путем надвига, одним спускным путем и с одной тормозной позицией на спускной части. В зонах с низкими температурами допускается устройство двух путей надвига (и двух горбов).

В тех случаях, когда горка малой мощности устраивается не более чем на восемь путей, допускается проектировать ее без тормозной позиции на спускной части или с одной тормозной позицией перед разделительной стрелкой.

Вторая тормозная позиция (ручная или оборудованная замедлителями малой мощности) устраивается непосредственно на подгорочных путях.

7. При переработке на горках малой мощности более 750 вагонов в сутки тормозные позиции спускной части, а при 1000 вагонов и подгорочные пути должны быть, как правило, механизированы вагонными замедлителями и оборудованы горочной автоматической централизацией (ГАЦ).

8. Горки средней мощности устраиваются, как правило, с двумя путями надвига, с двумя горбами в одном уровне, отвечающим зимним условиям работы и с одним или двумя спускными путями.

Горки средней мощности оборудуют вагонными замедлителями в качестве основных тормозных средств, горочной автоматической централизации стрелок (ГАЦ) в комплексе с системой автоматического задания скорости роспуска (АЗСР), устройствами автоматического регулирования скорости скатывающихся отцепов (АРС) и телеуправления горочными локомотивами (ТГЛ).

На горках средней мощности на первую очередь строительства допускается предусматривать автоматическое регулирование скорости скатывания вагонов только на спускной части горки с временным сохранением торможения вагонов тормозными башмаками на подгорочных путях.

Вагонные замедлители на спускной части горки средней мощности (до первых разделительных стрелок пучков) устанавливаются, как правило, на двух тормозных позициях.

9. При проектировании вновь строящихся и реконструируемых немеханизированных сортировочных устройств должна предусматриваться возможность переустройства их в дальнейшем, без значительных затрат на механизированные устройства.

10. Продольный профиль надвижной части горок проектируется применительно к условиям рельефа местности и должен удовлетворять при минимальных объемах земляных работ следующим требованиям:

а) возможность трогания с места полновесного расчетного состава, состоящего из большегрузных вагонов, одним горочным локомотивом установленной мощности при нахождении первого вагона у вершины горки;

б) обеспечение безопасной расцепки состава одним человеком при работе методом непрерывного надвига с заданной расчетной скоростью при чередовании отцепов: одиночный вагон, расчетный отцеп из нескольких вагонов;

в) обеспечение надежного разъединения вагонов и быстрый отрыв расчетного отцепа из нескольких вагонов от сортируемого состава.

11. В зависимости от местных условий надвижная часть горок малой мощности (рис. 2) может проектироваться по следующим вариантам:

с крутым противоуклоном и надвижной частью пути, примыкающему к противоуклону, на уровне начала подгорочных путей;

с устройством короткого и пологого противоуклона и подъемом надвижного на уровень 0,4 - 0,5 м от отметки вершины горки.

Вариант «а» применяется при расположении подходов к станции на площадке и в тех случаях, когда составы распускаются с повышенной и переменной скоростью, при сортировке больших отцепов из порожних и легковесных вагонов.

Рис. 2. Профиль горки малой мощности

а - с крутым противоуклоном; б - с пологим противоуклоном

Горки малой мощности с устройством надвижной части по варианту «б» могут сооружаться в целях уменьшения объема земляных работ, когда подход к станции и входная горловина расположены на спуске, а также когда требуется смягчение профиля надвижной части для расцепа тяжеловесных составов с учетом длительных остановок их перед горбом горки. Применение этого вида профиля при параллельном расположении парков прибытия и сортировки обычно требует переноса стрелки примыкания маршрута вытягивания состава с путей парка прибытия в сторону упора (тупика) вытяжного пути. Поэтому горки, оборудованные с подъемкой вытяжного пути, хуже вписываются в существующее путевое развитие станций. Однако такие горки обеспечивают более дальний пробег длинных отцепов в глубину сортировочного парка.

12. Максимальная по условию трогания с места величина среднего: уклона надвижной части горок, %о, определяется по формуле

                                (2)

где Fк(тр) - сила тяги маневрового локомотива при трогании с места, Н (по расч.); P - расчетный вес локомотива, кН; Q - вес состава, кН; Ln - длина состава с локомотивом, м; ωо - удельное сопротивление вагонов, Н/кН; ωтр - удельное дополнительное сопротивление при трогании с места, Н/кН; n - количество стрелочных переводов в пределах участка длиной Ln перед вершиной сортировочного устройства; Σα - сумма углов поворота в пределах этого участка в градусах (включая стрелочные углы поворота).

13. Полное (основное и дополнительное) удельное сопротивление при трогании с места ωтр определяется по правилам производства тяговых расчетов (Н/кН):

для подшипников скольжения

ωтр = 142/(qо + 7);                                                        (3)

для подшипников качения

ωтр = 28/(qо + 7),                                                          (4)

где qо - средняя для состава нагрузка от оси вагона на рельсы.

К сопротивлению ωтр добавляется удельное сопротивление от кривых и стрелок.

14. Для производства расцепки вагонов перед горбом горки устанавливается противоуклон lпу длиной не менее 50 м.

Минимальная крутизна противоуклона, %о, обеспечивающая бесперебойную расцепку вагонов одним работником, определяется из выражения

                                 (5)

где lо - длина расчетного отцепа, м; ωо - удельное сопротивление вагонов, Н/кН; iск - крутизна скоростного уклона, %; υо - расчетная скорость надвига состава, м/с; lпл - длина разделительной площадки, м; υсц - скорость передвижения сцепщика, м/с, принимается равной 1,4 м/с, при скорости роспуска 1 м/с и 1,7 м/с при скорости роспуска 1,5 м/с.

Наиболее рациональными следует считать противоуклоны: при скорости роспуска υо = 0,8 м/с - 8 %о, при υо = 1 м/с - 12 %о, при υо = 1,5 м/с - 18 %о и при υо = 2,2 м/с - 23 %о.

Для сокращения времени сортировки вагонов при роспуске составов в режиме переменной скорости противоуклон перед вершиной горки рекомендуется принимать в пределах 12 - 16 %о на протяжении 100 - 150 м. Предыдущий участок перед противоуклоном на протяжении 350 м необходимо располагать на площадке.

15. Для облегчения надвига состава на горб горки (при параллельном расположении парков сортировки и приема) конец надвижного пути на протяжении примерно 200 м рекомендуется проектировать на спуске более 10 %о в сторону горба горки.

16. Сумма абсолютных величин сопрягаемых уклонов надвижной и спускной частей горок не должна превышать 55 %о во избежание саморасцепа вагонов, при сумме величин сопрягаемых уклонов более 55 %о необходимо устраивать на горбе горки (между тангенсами сопрягающих вертикальных кривых) площадку длиной равной базе вагона (не менее 19 м) для облегчения разъединения расцепленных автосцепок.

17. Продольный профиль спускной части горок проектируется, как правило, для каждого пучка подгорочного парка с учетом кривизны путей и характера вагонопотока, следующего на данный пучок.

Обеспечение разных уровней пучков достигается за счет применения разных уклонов профиля - от 1 до 2 %о - в пределах от конца пучковой тормозной позиции до предельных столбиков каждого пучка или разных уклонов элементов профиля между первой и второй тормозными позициями каждого пучка.

18. Расчетную длину спускной части горок (см. рис. 2) разбивают на четыре расчетных участка продольного профиля: скоростной, тормозной позиции, стрелочной зоны и сортировочных путей подгорочного парка (до расчетной точки остановки плохого бегуна).

19. Уклон и длина элементов участка от горба (точки отрыва отцепов) до первой тормозной позиции определяются расчетами и должны обеспечивать интервал между последовательно скатывающимися плохим и хорошим бегунами (плохой - хороший - плохой), достаточный для беспрепятственного перевода замедлителя из нетормозного в тормозное положение, а также для перевода первой разделительной стрелки при сохранении расчетной скорости надвига.

Величину уклона скоростного участка lск, %о, определяют в зависимости от расчетной высоты горки Hг по формуле

                                    (6)

где iс, iз, iт - уклоны соответственно участка расчетного сортировочного пути (от предельного столбика до расчетной точки), стрелочной зоны и тормозной позиции, %о; lрт; lз; lт, lск - длина элементов соответственно участка от предельного столбика до расчетной точки, стрелочной зоны, тормозной позиции и скоростного, м; T'с - длина от горба горки до точки перелома скоростного участка, м.

Расчетная высота горок определяется согласно прил. 6.

Уклон скоростного участка спускной части горок малой мощности (скоростной уклон) принимается возможно более крутым, но не круче 40 %о. Наименьшая величина скоростного уклона принимается 25 %о. Первый элемент скоростного участка горок средней мощности принимается в пределах 35 - 55 %о.

Длина скоростного уклона (от вершины горки до перелома профиля в месте сопряжения с участком тормозной позиции) принимается 40 - 50 м.

Если участок lск - T'с имеет значительную длину (более 60 м), целесообразно разбить его на два элемента l'ск и l"ск, %о. Уклон i'ск первого элемента принимается, как правило, 30 - 40 %о. Величина уклона i"ск второго элемента определяется из выражения

i"ск = (1000hск - l'скi'ск)/l"ск,                                         (7)

где hск - высота скоростного участка, м.

20. На горках средней мощности для обеспечения комплексной механизации и автоматизации процесса сортировки вагонов, в зависимости от принятой системы автоматизации регулирования скорости скатывания отцепов (АРС), предусматриваются измерительные участки для определения ходовых свойств вагонов при движении на прямом и кривом участках пути, а также весомерные участки для определения весовых категорий отцепов. Места размещения этих участков устанавливаются проектом. Прямой измерительный участок проектируется, как правило, на два четырехосных вагона и располагается на однообразном уклоне. В отдельных случаях допускается устраивать измерительный участок длиной не менее 30 м; для измерения ходовых свойств вагонов на кривой длину участка следует устанавливать проектом. Уклон на участке пучковой тормозной позиции на горке малой и средней мощности располагается на спуске, обеспечивающем в неблагоприятных условиях трогание с места «плохих бегунов» (в случае остановки их при торможении), но не менее 7 %о. На автоматизированных горках средней мощности уклон пучковой тормозной позиции рекомендуется проектировать около 5 %о для уменьшения погрешности в скорости выхода отцепов.

На существующих горках в случае сохранения башмачного торможения на спускной части горки этот уклон может быть уменьшен до 5 %о.

21. Длина тормозных участков зависит от числа и типа устанавливаемых замедлителей, определяемых согласно прил. 10, а также от конструкции горочных горловин. Расположение замедлителей на тормозных участках в плане приведены на рис. 44 и 45 пособия.

22. Стрелочная зона проектируется на спуске в сторону подгорочных путей со средним уклоном до 1,5 %о. На крайних пучках этот уклон может быть увеличен до 2 %о.

Для горок малой мощности, которые в течение ближайших лет будут работать при ручном обслуживании стрелок и торможении ручными башмаками, стрелочную зону целесообразно располагать на уклоне 2 - 2,5 %о в сторону сортировочных путей.

23. Продольный профиль сортировочных путей на горках рекомендуется проектировать из нескольких элементов. Первому элементу на длину половины состава придается равномерный уклон, попутный скатыванию вагонов, крутизной, как правило, при длине состава 800 м - 1 %о, 1000 м - 0,9 %о, 1200 м - 0,8 %о. Следующий за ним элемент сортировочного пути должен быть расположен на уклоне не более 0,5 %о.

Первому элементу длиной 100 м неспециализированных сортировочных путей короткого протяжения (200 - 400 м) придается уклон крутизной не более 1,5 %о.

Последнюю часть сортировочного парка на протяжении 120 - 200 м, а при коротких путях 100 - 150 м полезной длины сортировочных путей следует располагать на обратном уклоне 0,5 %о с возможностью увеличения этого уклона в кривых частях пути на величину удельного сопротивления вагонов на кривой.

В хвостовой горловине сортировочного парка рекомендуется устраивать обратный уклон 2 %о.

В обоснованных случаях и при переустройстве существующих станций все элементы профиля сортировочных подгорочных путей допускается устраивать на площадке.

24. На горках малой мощности с механизированными тормозными позициями в подгорочном парке в качестве резервных средств, а также при сохранении башмачного торможения должны предусматриваться башмакосбрасыватели на каждом пути подгорочного парка, располагаемые не ближе чем в 25 м за предельными столбиками.

25. Короткие сортировочные пути полезной длиной 200 - 400 м во избежание выхода очень хороших бегунов в сторону хвостовой горловины за 6 м от конца их полезной длины рекомендуется оборудовать сбрасывающими башмаками.

26. Наименьшие радиусы вертикальных кривых при сопряжении уклонов на горбе горки принимаются в сторону надвижной и спускной части 350 м, на остальных элементах спускной части - не менее 250 м.

27. На горках разрешается проектировать:

кривые в плане радиусом 200 м, а в отдельных случаях на крайних сортировочных путях до 140 м с соответствующим усилением этих кривых;

начало кривых непосредственно за хвостом крестовины, при этом уширение колен в кривых следует производить в пределах кривой, давая полное уширение на расстоянии 4 м от ее начала;

на спускной части и в подгорочном парке - механизированные тормозные позиции на кривых участках пути при пользовании тормозных средств, которые по своей конструкции допускают установку их на кривых участках. Радиусы кривых должны соответствовать конструкции тормозных устройств.

28. Замедлители на тормозных позициях должны укладываться по утвержденным эпюрам.

Сортировочное устройство

Масса разборочного поезда, т, брутто

600

св. 600 до 2000

св. 2000

1. Вытяжные пути при работе локомотивов:

 

 

 

толчками

ТГМ3, ТГМ4

ТЭМ2, ТГМ6 (1 секция)

-

рейсами осаживания

ТГМ23

ТГМ3, ТГМ4

ТЭМ2

2. Горки малой мощности

-

ТГМ3, ТГМ4, ТГМ6 (1 секция)

ТЭМ2, ЧМЭ3

3. Горки средней мощности

-

ТЭМ2, ЧМЭ3

ТЭМ2, ТЭМ7

ЧМЭ3

29. Сортировочные устройства должны проектироваться из условия применения в качестве маневровых средств тепловозной тяги. В хвостовой горловине сортировочного парка в необходимых случаях могут быть использованы электровозы.

При использовании на сортировочной работе тепловозов рекомендуется применять их по мощности не ниже приведенных в таблице.

30. При механизации сортировочных горок все стрелочные переводы головы сортировочного парка, путей надвига, обходных путей, примыкающих к путям пучков сортировочного парка, включаются в зависимости от характера работы в электрическую централизацию или горочную централизацию; стрелочные переводы, участвующие в распределении отцепов по сортировочным путям, включаются в горочную автоматическую централизацию (ГАЦ). Рекомендуется применение электрической централизации стрелок и при отсутствии механизации торможения вагонов.

Стрелочные переводы в хвостовой горловине сортировочного парка могут быть оборудованы местной электрической централизацией.

При механизации сортировочной горки должны быть предусмотрены также стрелки и устройства сигнализации, связи, воздухоснабжения автоматической очистки стрелок, энергоснабжения, устройства для передачи сортировочных листов, а в необходимых случаях - устройства автоматического регулирования скорости скатывания вагонов и ускорители движения вагонов.

31. В зоне централизованных стрелочных переводов сортировочного парка должны быть предусмотрены изолированные секции и дополнительные устройства, не допускающие перевода стрелок под отцепом.

Расстояние от передних изолирующих стыков стрелочной изолированной секции до остряка стрелки определяется расчетом в зависимости от наибольшей скорости движения вагонов в данном месте и времени на перевод стрелок. При существующем электроприводе это расстояние должно составлять для всех стрелок не менее 6 м.

32. Для обеспечения вагонных замедлителей сжатым воздухом проектируются специальные компрессорные установки необходимой производительности.

При этом следует учитывать потребность в сжатом воздухе для обдувки стрелочных переводов и замедлителей и действия пневматической почты для пересылки технической документации.

В отдельных технико-экономически обоснованных случаях при наличии на предприятиях близлежащей установки, вырабатывающей сжатый воздух для других целей, допускается питание вагонных замедлителей от этих установок при условии обеспечения бесперебойности подачи сжатого воздуха к замедлителям. В обоих случаях должна быть обеспечена осушка сжатого воздуха, подаваемого в воздухопроводную сеть.

33. Компрессорные установки механизированных сортировочных горок должны иметь автоматическое управление компрессорами и обеспечивать:

во время роспуска вагонов - подачу к наиболее удаленному вагонному замедлителю сжатого воздуха давлением не менее 68,5×104 Н/м2;

в перерыве между роспусками давление в воздухопроводной сети не менее 4,9×104 Н/м2.

34. Основными источниками электрической энергии для питания устройств механизированной горки могут быть трансформаторные подстанции предприятий или собственные подстанции, питаемые от высоковольтных сетей энергообъединений, при условии обеспечения непрерывности питания.

35. На горках в пределах от вершины до конца кривых в голове сортировочного парка пути, как правило, проектируются из новых рельсов не слабее типа Р50 при числе шпал не менее 1600 на 1 км.

На горках средней мощности от вершины горки до первой тормозной позиции укладываются новые рельсы типа Р65.

36. На горках средней мощности пути от вершины горки до хвоста крестовин (включительно) последних стрелочных переводов головы сортировочного парка должны проектироваться на щебеночном балласте и на песчаной подушке; толщина верхнего слоя балласта под шпалой принимается 0,2 м, подушки - 0,2 м.

Замедлители устанавливаются на специальном основании, принимаемом по типовым проектам.

На горках, оборудуемых устройствами АРС, измерительный участок проектируется на щебеночном балласте и на песчаной подушке.

На подъемной части горки, а также на вытяжных путях специального профиля для удобства и безопасности работы составительских бригад балластный слой надвижных или вытяжных путей должен быть уширен на расстояние не менее 1 м от конца шпал с каждой стороны на протяжении от места начала расцепки вагонов до горба горки или до точки отрыва вагонов от состава.

37. Рельсовые стыки на спускной части горки и в пределах 350 - 400 м полезной длины сортировочных путей за предельными столбиками должны быть сварены, за исключением изолирующих стыков рельсовых цепей, требующихся для системы ГАЦ и системы автоматического регулирования скорости отцепов.

38. В пределах спускной части горки в местах перелома профиля в начале и в конце измерительных участков и на путях в необходимых точках на расстоянии не менее 100 м друг от друга должны устанавливаться реперы.

39. По всей длине головы сортировочного парка должна быть предусмотрена установка противоугонов.

ПРИЛОЖЕНИЕ 7

РАСЧЕТ ВЫСОТЫ ГОРОК И МОЩНОСТИ ТОРМОЗНЫХ ПОЗИЦИЙ

1. Наименьшая высота Hг горки (разность отметок вершины горки или точки отрыва от состава плохих бегунов и расчетной точки на расчетном пути сортировочного парка) должна обеспечивать проход расчетного плохого бегуна при неблагоприятных условиях скатывания до расчетной точки, принимаемой на расстоянии lрт = 80 м для горок средней мощности, а на существующих станциях в трудных условиях реконструкции, а также для горок малой мощности и других малых сортировочных устройств - 50 м за предельным столбиком расчетного пути. В качестве расчетного принимается путь, на котором величина удельного сопротивления движению вагонов является наибольшей.

На горках малой мощности и вытяжных путях специального профиля расчетное расстояние lрт может быть сокращено, если при этом достигается уменьшение суммарной мощности и числа вагонных замедлителей или других тормозных средств.

2. Высота горки определяется по формуле

                      (1)

где Hг - высота горки, м; Lт - расстояние от вершины горки до предельного столбика расчетного сортировочного пути, м; lрт - расстояние от предельного столбика до расчетной точки сортировочного пути, м; ωо - основное удельное сопротивление движению расчетного плохого бегуна, Н/кН; ωср - дополнительное удельное сопротивление движению от воздушной среды и ветра, Н/кН; k - дополнительная удельная работа сил сопротивления расчетного плохого бегуна в кривых участках пути и кривых стрелочных переводов на 1° угла поворота, принимаемая равной 9 Нм/кН; Σα° - сумма углов поворота кривых участков пути и стрелочных переводов по маршруту следования отцепа до расчетной точки, в градусах; 20 - дополнительная удельная работа сил сопротивления от ударов при проходе по стрелочному перевода, Нм/кН; n - число стрелочных переводов на пути следования отцепа;  - энергетическая высота, соответствующая скорости роспуска состава с горки, м; υо - расчетная скорость роспуска состава, м/с; g' - ускорение силы тяжести с учетом вращающихся масс вагона, м/с2.

3. Для расчета наименьшей высоты вытяжных путей специального профиля за расчетную величину υо принимается скорость «плохого бегуна» в точке начала свободного скатывания при неблагоприятных условиях (зимнее время и встречный ветер), равная 4,5 м/с.

Расчетная величина скорости υо для подсчета Hг принимается равной 3,5 км/ч для горок малой и 5 км/ч - для горок средней мощности.

4. Значения Lг; Σα°; n определяют из плана горочной горловины.

5. При расчете высоты сортировочных горок основное удельное сопротивление движению расчетных «плохих бегунов» ωо принимается по табл. 1 (в среднем на всем протяжении горки).

6. На реконструируемых промышленных станциях и станциях примыкания масса расчетных «плохих и хороших бегунов» определяется на основании анализа структуры вагонопотока, перерабатываемого на горке в наиболее напряженные летние и зимние периоды года. По данным существующего вагонопотока выделяют группы легковесных и тяжеловесных вагонов, каждая из которых должна составлять около 10 % перерабатываемого на горке вагонопотока за расчетный период. Средневзвешенное значение массы в группе легковесных вагонов определит массу расчетного «плохого бегуна», а в группе тяжеловесных вагонов - «хорошего бегуна».

Таблица 1

Масса расчетных бегунов, т

Основное удельное сопротивление движению, Н/кН, при температуре наружного воздуха

выше 0°

-5°

-15°

-25°

-35°

ск.

рол.

ск.

рол.

ск.

рол.

ск.

рол.

ск.

рол.

22

4,8

3,9

5,1

3,9

5,5

4,0

6,1

4,1

6,9

4,2

25

4,7

3,8

5,0

3,8

5,4

3,9

6,0

4,0

6,8

4,1

30

4,6

3,7

4,9

3,7

5,3

3,8

6,8

3,9

6,6

4,0

35

4,4

3,5

4,7

3,5

5,1

3,6

5,6

3,7

6,3

3,8

40

4,2

3,4

4,5

3,4

4,9

3,5

5,4

3,6

6,2

3,7

50

4,0

3,2

4,3

3,2

4,7

3,3

5,1

3,4

5,8

3,5

60

3,8

3,0

4,1

3,0

4,5

3,1

4,9

3,2

5,5

3,3

70

3,6

2,9

3,9

2,9

4,3

3,0

4,7

3,1

5,3

3,2

80

3,5

2,8

3,7

2,8

4,1

2,9

4,5

3,0

5,1

3,1

Примечание. В гр. «ск.» - приведены данные для вагонов на подшипниках скольжения, в гр. «рол.» - на роликовых подшипниках.

7. На вновь строящихся станциях из анализа структуры намечаемого вагонопотока устанавливают среднюю массу вагона в вагонопотоке, подлежащих переработке на горке (включая порожние вагоны), а массу расчетного плохого бегуна определяют по табл. 2.

Таблица 2

Средняя масса вагона, т

До 60

60 - 70

Св. 70

Масса расчетного плохого бегуна, т

25

30

50

8. За плохой бегун принимается четырехосный крытый вагон, а за хороший - четырехосный полувагон массой 70 т брутто. В качестве очень хорошего бегуна принимается четырехосный полувагон массой 80 т брутто.

Минимальное сопротивление четырехосного полногрузного полувагона на роликовых подшипниках принимается равным 0,5 Н/кН.

9. Дополнительное удельное сопротивление движению от воздушной среды и ветра определяется по формулам:

для одиночных вагонов

±ωср = [(17,8CxS)/(273° + t°)]υр2;                                (2)

для отцепов

                                (3)

где Cx - коэффициент воздушного сопротивления одиночных вагонов или первого вагона в отцепе; Cxx - коэффициент воздушного сопротивления вагонов в отцепе (кроме первого вагона); S, Sj - площадь поперечного сечения вагонов соответственно одиночного или первого вагона в отцепе и последующих вагонов в отцепе, м2; q - масса вагона, т;  - масса отцепа из n вагонов, т; t° - температура воздуха, °С; υр - относительная скорость отцепа, м/с, с учетом направления ветра.

10. Коэффициенты воздушного сопротивления Cx и Cxxj выбираются в зависимости от рода вагона и результирующего угла α° из табл. 3.

Таблица 3

Род вагона

Число осей

м2

Коэффициенты воздушного сопротивления вагонов при α°, равном

0

10

20

30

50

70

90

Коэффициенты Cx/Cxxj

Полувагон

4

8,5

1,36

0,5

1,68

0,69

1,83

0,82

1,76

0,88

1,11

0,8

0,43

0,43

0,1

0,1

Крытый

4

9,7

1,12

0,22

1,46

0,38

1,64

0,56

1,58

0,73

0,92

0,85

0,29

0,29

0,1

0,1

Полувагон

6

10,2

1,46

0,5

1,71

0,7

1,80

0,88

1,72

0,98

1,16

0,89

0,51

0,51

0,15

0,15

Полувагон

8

10,7

1,56

0,75

1,95

0,97

2,09

1,13

2,03

1,16

1,15

0,88

0,4

0,4

0,15

0,15

Коэффициенты Cx

Платформа

4

4,1

1,51

2,02

2,30

2,23

1,30

0,4

0,1

Цистерна

4

9,8

0,59

0,82

0,96

0,96

0,59

0,19

0,05

Цистерна

8

10,3

0,81

1,08

1,22

1,10

0,65

0,19

0,06

Хоппер

4

9,9

0,92

1,18

1,38

1,46

1,21

0,68

0,25

Примечание. Воздушное сопротивление четырехосной платформы с контейнерами приравнивается сопротивлению крытого четырехосного вагона.

11. Результирующую скорость υр, м/с, и угол α° вычисляют по формулам:

υр2 = υ2ср + υ2в ± 2υсрυвcosβ;                                                (4)

                                                       (5)

где υср - средняя скорость скатываемого отцепа на участке, м/с; υв - скорость ветра, м/с, принимаемая постоянной на всем протяжении скатывания отцепа, м/с; β - угол между направлением ветра и осью участка пути, по которому движется отцеп.

12. Расчеты при углах β < 30° можно производить по формулам:

υр = υср ± υв и α = β/2.                                                  (6)

В формулах (6) знак (+) принимается при встречном ветре, знак (-) - при попутном.

При скорости попутного ветра более средней скорости скатываемого отцепа сопротивление от воздушной среды ωср принимается со знаком минус.

13. Скорость и направление ветра принимают наиболее неблагоприятные при данных условиях роспуска, причем скорость ветра каждого направления принимается средняя месячная и определяется из «Справочника по климату СССР» или с использованием данных местного управления гидрометеослужбы за срок не менее 10 лет с учетом повторяемости ветра различной скорости и направления υв, м/с, в местах расположения горки по формуле

                                           (7)

где υ2, 3, … - среднее значение скорости ветра в интервале градаций скорости; p2, 3, … - вероятность (повторяемость) ветра различной скорости данного направления (румба).

14. За расчетный месяц принимается такой, в котором при совпадении скорости ветра принятого направления с расчетной температурой получаются наихудшие условия скатывания вагонов с горки.

15. Средняя скорость υср движения расчетного плохого бегуна для горок средней мощности принимается в зависимости от заданной скорости роспуска по табл. 4.

Для горок малой мощности средняя скорость υср движения расчетного плохого бегуна принимается 3 м/с.

Таблица 4

Заданная скорость роспуска υо, м/с

На спускной части горки до предельного столбика

На подгорочных путях от предельного столбика до расчетной точки

До 1,9

4,8

2,0

До 2,22

5,3

 

До 2,5

5,7

 

Более 2,5

6,2

2,7

16. Величина ускорения силы тяжести вагона g' зависит от количества осей и массы вагона (брутто) и принимается по табл. 5.

Таблица 5

Количество осей в вагоне

4

6

8

Масса вагона, т (брутто)

g', м/с2

Масса вагона, т (брутто)

g', м/с2

Масса вагона, т (брутто)

g', м/с2

22

9,1

32

9,1

43

9,1

30

9,3

60

9,4

80

9,4

40

9,4

80

9,5

120

9,5

50

9,5

100 и более

9,6

140 и более

9,6

60 и более

9,6

 

 

 

 

17. Средней считается температура до -5°, среднезимней - в интервале ниже -5 до -25° и низкой - ниже -25°.

Расчетная средняя суточная температура, которая при совпадении с неблагоприятным направлением ветра определяет расчетные условия проектирования горки, вычисляется по формуле t° = t°ср - 11, где t°ср - средняя месячная температура воздуха, полученная из многолетних наблюдений местных метеостанций, по справочникам или по СНиП.

Для пунктов, не включенных в климатические справочники, средняя месячная температура определяется по данным местных управлений гидрометеорологической службы из длительного ряда наблюдений (более 10 лет).

18. В случае проектирования летней горки средней мощности высота ее рассчитывается для условий средней температуры воздуха.

Высота немеханизированной горки малой мощности рассчитывается на нормальную работу при средней температуре, а механизированной - при среднезимней или средней температуре с обеспечением возможности временной подъемки горба.

19. Для предупреждения затруднений в работе станций зимой в условиях низких температур наружного воздуха (ниже -25°) на тех горках, фактическая высота которых меньше расчетной, необходимой для работы в указанных условиях, может осуществляться временный подъем горба, предусматриваемый при проектировании горки.

20. Горб сортировочной горки поднимается на такую величину, чтобы при совпадении расчетной низкой температуры наружного воздуха со встречным ветром высота горки обеспечивала скатывание очень плохого бегуна из числа порожних вагонов с сопротивлением ωо(н)оп на расстояние не менее 10 метров за предельные столбики наиболее трудных сортировочных путей средних пучков.

21. Значения ωо(н)оп для очень плохого бегуна из числа порожних вагонов массой 23 т с буксами на подшипниках скольжения определяются по формуле

ωо(н)оп = 7,32 - 0,0031t° + 0,0019(t°)2,                                (8)

где t° - расчетная температура воздуха (со знаком минус).

22. Суммарная расчетная мощность механизированных тормозных средств горки средней мощности по маршруту скатывания отцепов должна обеспечивать при благоприятных условиях скатывания (попутный ветер) остановку четырехосного вагона массой 80 т брутто с основным удельным сопротивлением 0,5 Н/кН на последней тормозной позиции, расположенной на спускной части, с учетом торможения отцепа на первой тормозной позиции до установленной расчетом скорости с проверкой этого расчета на остановку шестиосного вагона массой 127 т брутто при тех же условиях, но с остановкой его на парковой позиции.

23. На горках малой мощности механизированные тормозные средства должны обеспечивать при благоприятных условиях скатывания остановку очень хороших бегунов из числа четырех- и шестиосных вагонов на парковой тормозной позиции при полном использовании мощности всех тормозных позиций, расположенных по маршруту скатывания.

24. На горках малой мощности при торможении ручными башмаками в расчете работы торможения остановку очень хороших бегунов следует предусматривать на тормозной позиции башмакосбрасывателей в начале подгорочных путей, с учетом торможения отцепов на тормозной позиции спускной части.

25. При проектировании сортировочных горок средней и малой мощности при необходимости должна производиться проверка на торможение восьмиосных вагонов массой 168 т.

26. При комплексной механизации и автоматизации процесса сортировки вагонов мощность тормозных средств каждой позиции должна обеспечивать заданную (расчетную) скорость роспуска составов и компенсировать расчетные величины погрешностей средств регулирования скоростей скатывания вагонов.

27. Механизированные тормозные позиции на спускной части горок средней мощности проектируются, как правило, на прямых участках пути; на путях подгорочного парка тормозные позиции могут располагаться на кривых участках пути, если в устройствах автоматического регулирования скорости скатывания вагонов предусматривается измерение и прогнозирование ходовых свойств вагонов при движении по кривым.

28. На первой тормозной позиции горок средней мощности рекомендуется устанавливать не менее двух замедлителей во избежание нарушения нормального режима роспуска составов во время ремонта замедлителя.

29. Мощность тормозных средств рассчитывается по формуле (9).

30. Технологические горочные расчеты по определению режима скоростей скатывания и проверке профиля горки могут производиться аналитическим, графоаналитическим и графическим методами, с построением кривых скоростей и времени скатывания вагонов или выдачей на печать результатов расчетов на ЭВМ.

31. Расчеты по проверке профиля горки, размещению и установлению мощности тормозных средств должны определять возможность обеспечения расчетной скорости роспуска состава при последовательном чередовании плохих и хороших бегунов (плохой - хороший и хороший - плохой).

Проверка производится для неблагоприятных и благоприятных условий скатывания при среднезимних и летних температурах, с соблюдением требования сохранения достаточных интервалов для перевода разделительных стрелок, а также для перевода балок замедлителей из нетормозного в тормозное положение. Для автоматизированных горок средней мощности производятся также расчеты по определению расчетной скорости роспуска при выключении на второй тормозной позиции для ремонта одного замедлителя или одной его стороны.

32. Общая мощность тормозных средств на горках малой и средней мощности определяется из выражения

Hт = hг + hо - (ωохlг + 6,5Σαго + 20nт)10-3,                                      (9)

где hг; lг - высота и длина участка протяжением от расчетной вершины сортировочного устройства до конца нижней тормозной позиции на спускной части (для горок средней мощности), а для горок малой мощности - до конца парковой тормозной позиции наиболее легкого пути; hо - энергетическая высота, соответствующая скорости надвига состава на горку или максимальной скорости толчка при работе толчками, м; ωох - основное удельное сопротивление движению очень «хорошего бегуна», Н/кН; nт - число стрелочных переводов на участке lг.

Если на сортировочных устройствах с горками малой мощности и вытяжными путями тормозные позиции на сортировочных путях не проектируются, то значения hг и lг принимают до предельного столбика наиболее легкого по сопротивлению движения вагонов сортировочного пути.

33. Общее количество замедлителей по маршруту следования отцепов определяется по формуле

m = Hг/hз,                                                              (10)

где hз - энергетическая высота, поглощаемая вагонным замедлителем, м.

34. На горках средней мощности расчетная мощность первой тормозной позиции, м, энергетической высоты, определяется по формуле

hт = (υ2вх - υ2вых)/2g + lт(iт - ω)10-3,                                           (11)

где ω - общее удельное сопротивление движению на участке Н/кН; lт - расчетная длина участка тормозной позиции, равная сумме длин отрезка пути, занятого расположенными на нем замедлителями, и колесной базы расчетного отцепа, м; iт - уклон участка lт, %о; υвх - скорость подхода очень «хороших бегунов» к тормозной позиции, м/с; υвых - скорость, с которой очень «хороший бегун» должен выходить с тормозной позиции, м/с.

35. После определения hт по формуле (11) на первой тормозной позиции мощность второй тормозной позиции на спускной части горок определяется по формуле

hт" = Hт - hт',                                                                 (12)

36. Расчетная мощность третьей тормозной позиции рассчитывается из условия скорости подхода к ней очень «хорошего бегуна» в зависимости от величины наименьшей расчетной скорости, с которой выпускаются очень «хорошие бегуны» со второй позиции, чтобы автоматически обеспечивались интервалы между отцепами на разделительных стрелках, а скорость выхода с третьей позиции не превышала, где υр - допустимая скорость соударения вагонов, принимаемая не более 1,5 м/с.

37. На горках малой мощности вначале определяется расчетная мощность парковой тормозной позиции с учетом компенсации погрешностей в работе пучковой тормозной позиции, принимаемой равной 0,05 м энергетической высоты.

38. Величина расчетной мощности h'т первой (пучковой) тормозной позиции определится как разность между Hт и h" проектной мощности замедлителей, устанавливаемых на парковой позиции.

39. Количество замедлителей на каждой тормозной позиции определится из отношения ее потребной расчетной мощности к поглощаемой мощности одного замедлителя.

40. Скорость входа вагона на тормозной башмак не должна превышать 4,5 м/с.

41. Энергетическая высота, поглощаемая ручными башмаками, определяется в зависимости от массы и расположения вагонов в отцепе, коэффициента тормозного действия башмака и длины юза.

При торможении одной оси вагона тормозная сила башмака определяется из выражения F = fP, где f - коэффициент тормозного действия башмака, принимаемый равным 0,17 при условии, что второе колесо оси скользит юзом по рельсу; P - нагрузка от колеса, подвергаемого торможению, т.

В том случае, когда тормозной башмак подкладывается под несколько колес в отцепе, значение P определяется как сумма нагрузок от подтормаживаемых осей вагонов.

Величина удельного сопротивления, возникающего при трении башмака о рельс ωт, Н/кН, определяется по формулам:

для одиночного вагона или отцепа из нескольких вагонов с одинаковой нагрузкой на ось

ωт = f(nт/n)103,                                                              (13)

где n - общее число осей в вагоне или в отцепе; nт - число тормозных осей в отцепе;

для отцепа из нескольких вагонов с различной нагрузкой на ось

ωт = (fΣP/ΣQ)103,                                                         (14)

где ΣQ - общая масса отцепа брутто, т.

42. Энергетическая высота, погашаемая тормозным башмаком отцепа любой массы, определяется по формуле

hт = ωтlюз×10-3,                                                           (15)

где lюз - длина юза башмака, м.

Длина юза не должна превышать 20 м во избежание образования ползунов на противоположных колесах вагона.

ПРИЛОЖЕНИЕ 8

ВЗАИМНОЕ РАСПОЛОЖЕНИЕ СМЕЖНЫХ СТРЕЛОЧНЫХ ПЕРЕВОДОВ

1. Расстояния между центрами смежных стрелочных переводов принимают в зависимости от назначения путей, типа рельсов, марки крестовины и схемы взаимного их расположения, приведенных в табл. 15 и 16 Пособия.

2. Укладка двух встречных обыкновенных стрелочных переводов по табл. 15, 16, как правило, должна производиться с прямой вставкой между стыками рамных рельсов на главных путях не менее 4,5 м, а на приемоотправочных путях - не менее 6,25 м.

В стесненных условиях при переустройстве горловин станций прямая вставка d принимается на главных путях не менее 6,25 м, а на приемоотправочных путях - не менее 4,5 м.

На прочих второстепенных путях станций и на всех путях, расположенных на территории предприятий и грузовых пунктах, прямая вставка предусматривается не менее 4,5 м, а в стесненных условиях может не устраиваться.

В стесненных условиях при переустройстве горловин станций укладка на приемоотправочных путях двух встречных обыкновенных стрелочных переводов по схеме 1 табл. 15 может производиться без прямой вставки, если расстояние между остриями остряков равно или более 8,66 м.

3. Укладка на главных и приемоотправочных путях двух встречных обыкновенных стрелочных переводов по схеме 2 табл. 15 должна производиться с прямой вставкой не менее 12,5 м, а в стесненных условиях - не менее 6,25 м.

На прочих станционных путях, на путях, расположенных на территории предприятий и грузовых пунктах, прямая вставка принимается не менее 4,5 м, а в стесненных условиях может не устраиваться.

4. Укладка на главных и приемоотправочных путях, а также на всех путях, расположенных на территории предприятий и грузовых пунктах, двух смежных обыкновенных стрелочных переводов один вслед за другим по схеме 3 табл. 15 должна производиться с прямой вставкой d за хвостом крестовины длиной не менее 6,25 м. В стесненных условиях на указанных путях допускается прямую вставку уменьшить до 4,5 м.

При расположении смежных стрелочных переводов по схеме 3 табл. 15 на прочих станционных путях прямая вставка d принимается не менее 4,5 м. При конструкции стрелочных переводов, имеющих за торцом крестовины рубку «к» длиной более 4,5 м, а также в стесненных условиях и при переустройстве путей прямая вставка d может не предусматриваться.

5. Наименьшее расстояние l между центрами стрелочных переводов, укладываемых по схемам 4 и 5 табл. 15, определяется в зависимости от расстояния между осями смежных боковых путей, принимаемых по табл. 15, и угла крестовины α.

Указанное расстояние рассчитывается по формуле

l = S/sinα.                                                                (1)

При этом величина прямой вставки при параллельном направлении боковых путей определяется по формулам:

для схемы 4

d = S/sinα - (b1 + b2);                                                    (2)

для схемы 5

d = S/sinα - (b1 + a1),                                                    (3)

где b1 и b2 - расстояния от центра каждого перевода до торца крестовины, м; a1 - расстояние от начала рамных рельсов до центра перевода, м.

Во всех случаях прямая вставка d на главных путях должна быть, как правило, не менее 12,5 м, а на прочих путях в стесненных условиях - не менее 4,5 м.

6. При укладке стрелочных переводов по схеме 1 табл. 15 в стесненных условиях на прочих станционных и внутренних путях и на всех путях, кроме главных, по схеме 2 табл. 15 расстояние между центрами смежных стрелочных переводов можно уменьшить на величину допускаемого укорочения вылета рамного рельса.

7. На путях, расположенных на эстакадах, внутри зданий и на подъездах к ним, величины прямых вставок d принимают по нормам, указанным для прочих станционных путей.

8. При укладке переводов из рельсов разных типов, а также переводов, имеющих уширение в начале рамных рельсов, длина рубки во всех случаях должна быть не менее 4,5 м.

9. Укладка двух встречных симметричных стрелочных переводов марки 1/6 на сортировочно-отправочных путях, с которых предполагается регулярное отправление поездов собственного формирования с транзитным пропуском их через станцию примыкания общей сети, в том числе в стороны, обратные сортировке, должна производиться по схеме 1 табл. 16 со вставкой между стыками рамных рельсов d не менее 6,25 м, а в стесненных условиях - не менее 4,5 м. При этом в голове сортировочных пусков, с путей которых намечается регулярное отправление поездов, должны быть уложены стрелочные переводы марки 1/6, предназначенные для приемоотправочных путей.

Если отправление поездов с путей сортировочного парка предусматривается с перестановкой в приемоотправочный парк, то в голове сортировочного парка укладываются симметричные стрелочные переводы марки 1/6, предназначенные для горочных путей, а в месте примыкания обходного пути к горочной горловине должны укладываться симметричные стрелочные переводы марки 1/6, предназначенные для приемоотправочных путей (см. схему 2 табл. 16).

Укладка двух встречных симметричных стрелочных переводов во всех остальных случаях производится с прямой вставкой d, равной в нормальных условиях 6,25 м, а в стесненных условиях - 5,26 м исходя из условия, чтобы расстояние от оси стыка рамного рельса одного стрелочного перевода до начала остряка второго перевода было не менее 6 м. В голове сортировочного парка в этом случае рекомендуется укладывать стрелочные переводы марки 1/6, предназначенные для горочных путей (см. схему 3 табл. 16).

10. При попутной укладке в голове сортировочного парка симметричных стрелочных переводов марки 1/6 по схеме 4 табл. 16 на сортировочно-отправочных путях, с которых намечается регулярное отправление поездов с транзитным пропуском их через станцию примыкания общей сети, прямая вставка должна быть не менее 7,46 м с тем, чтобы обеспечить необходимую длину между концом переводной кривой первого стрелочного перевода и началом остряка второго стрелочного перевода, равную 12 м.

Если систематическое отправление поездов непосредственно с сортировочных путей не предусматривается, то в голове сортировочного парка должны укладываться симметричные стрелочные переводы марки 1/6, предназначенные для горочных путей (см. схему 5 табл. 16). При попутной укладке стрелочных переводов марки 1/6, предназначенных для горочных путей по схеме 10, прямая вставка d предусматривается равной 6,25 м в нормальных условиях и 5,25 м - в стесненных условиях, при этом расстояние от центра стрелочного перевода до изолирующего стыка за хвостом крестовины принимается равным 11,78 м.

11. В случае укладки в голове сортировочного парка перекрестных съездов марки 2/6 и намечаемого регулярного отправления поездов с сортировочно-отправочных путей с транзитным пропуском их через станцию примыкания общей сети взаимное расположение смежных стрелочных переводов принимается согласно схеме 6 табл. 16 с применением прямой вставки, равной 4,5 м.

Если отправление поездов непосредственно с путей сортировочного парка не намечается, допускается указанный перекрестный съезд укладывать в сочетании с симметричными стрелочными переводами марки 1/6, предназначенными для горочных путей (см. схему 7 табл. 16).

12. Укладка двух смежных симметричных стрелочных переводов марки 1/6 по схеме 3, когда торец крестовины одного стрелочного перевода располагается за торцом крестовины другого, производится со вставкой, определяемой по формуле (2). При этом минимальное расстояние между осями параллельных путей S должно быть не менее 4,8 м.

В голове горочных горловин сортировочных парков это расстояние, как правило, принимается равным 5,75 м исходя из условия расстановки изолирующих стыков и стандартной вставки d, равной длине рельса 12,5 м.

При наличии обратных кривых, примыкающих к хвостам стрелочных переводов, длина прямой вставки d может быть уменьшена до 4,5 м.

ПРИЛОЖЕНИЕ 9

ПРАВИЛА НУМЕРАЦИИ ПУТЕЙ И СТРЕЛОЧНЫХ ПЕРЕВОДОВ

1. Каждый путь на новых и переустраиваемых станциях должен иметь присвоенный ему номер. При проектировании отдельных парков приема, отправления, сортировки каждому парку присваивается буквенное обозначение (пп, ПО, С). Не допускается устанавливать одинаковые номера путям в пределах одной станции, а на станциях, имеющих отдельные парки, в пределах одного парка.

2. При наличии на станциях главных путей * они нумеруются римскими цифрами (I, II, III и т.д.): по нечетному направлению - нечетными, по четному - четными.

* Главные пути в приемоотправочных парках станций промышленных предприятий выделяются только в случае пропуска через эти станции транзитных или пассажирских поездов, а также в случае отправления поездов своего формирования из сортировочного парка (при последовательном расположении парков).

При подходе к станции с одной стороны двухпутных линий, с другой - двух однопутных линий главные пути в пределах станции нумеруют по двухпутному подходу.

При подходе к одной горловине станции четных и нечетных поездов главные пути станций нумеруют порядковыми римскими цифрами, начиная от станционного здания.

3. Приемоотправочные пути при наличии главных путей нумеруют арабскими цифрами, начиная со следующего номера за номером главного пути; при этом пути, предназначенные для приема четных поездов, нумеруют четными цифрами (4, 6, 8, 10 и т.д.), а пути, предназначенные для приема нечетных поездов - нечетными цифрами (3, 5, 7, 9 и т.д.).

При отсутствии главных путей приемоотправочные пути нумеруются арабскими цифрами 1, 2, 3 и т.д. На сортировочных станциях промышленных предприятий приемоотправочные пути, используемые как для приема четных, так и нечетных поездов, а также пути на грузовых и распределительных станциях нумеруют порядковыми арабскими цифрами (3, 4, 5, 6, 7 и т.д.) вслед за номерами главных путей при их наличии и начиная с первого порядкового номера при отсутствии главных путей.

4. Сортировочные пути нумеруют также арабскими цифрами вслед за номером приемоотправочных путей при параллельном расположении парков приема и отправления и сортировочных и порядковыми номерами (1, 2, 3 и т.д.) - при последовательном расположении парков.

5. Остальные станционные пути нумеруют арабскими цифрами, начиная со следующего номера за последним номером парковых путей, сначала со стороны внешних подходов путей к станции, а затем с противоположной стороны станции.

6. Направление нумерации приемоотправочных, сортировочных и прочих станционных путей устанавливается в возрастающем порядке сначала в сторону станционного здания, а затем в противоположную сторону от здания при расположении главных путей между приемоотправочными путями и в сторону от станционного здания - при расположении главных путей непосредственно у станционного здания.

7. В парках, не имеющих станционных зданий, нумерация путей в поперечном направлении производится слева направо по отношению к внешним подходам путей к станции.

8. Каждый стрелочный перевод должен иметь определенный, присвоенный ему номер (арабские цифры).

9. Стрелочные переводы нумеруются со стороны прибытия четных поездов порядковыми четными номерами, со стороны прибытия нечетных поездов - порядковыми нечетными номерами.

При подходе как четных, так и нечетных поездов с одной стороны станции, стрелкам, расположенным в горловинах станций со стороны внешних подходов путей, присваиваются нечетные номера, а с противоположной стороны - четные номера.

10. Нумерация стрелок на станциях, имеющих большое путевое развитие, производится по отдельным паркам или группам путей, однородных по характеру работы.

11. На распорядительных станциях карьеров, а также на станциях промышленных предприятий, не имеющих ярко выраженных внешних подходов, нумерация стрелок производится четными номерами со стороны преимущественного расположения грузовых фронтов относительно станции. С противоположной ее стороны стрелкам присваиваются нечетные номера.

12. Стрелки, лежащие по стрелочной улице, а также спаренные стрелки должны иметь непрерывную нечетную (или четную) нумерацию, например 1, 3, 5, 7 или 6, 8, 10, 12 и т.д.

13. За границу, отделяющую нечетную сторону от четной, принимается ось станционного здания при центральном или близком к нему расположении в отношении путевого развития станции (парка) или поперечная ось станции при нецентральном расположении здания или при его отсутствии.

14. Нумерация стрелок производится, начиная с входных стрелок станции или парка (при нумерации по отдельным паркам).

15. При частичном переустройстве станций может сохраняться существующая нумерация стрелок.

ПРИЛОЖЕНИЕ 10

ТЕХНИЧЕСКАЯ ХАРАКТЕРИСТИКА ВАГОННЫХ ЗАМЕДЛИТЕЛЕЙ

1. Для торможения вагонов на спускной части горок и в подгорочном парке промышленных сортировочных станций, а также в хвостовых горловинах станций и на отдельных маневровых путях маневровых районов применяются механизированные и ручные тормозные средства.

2. На горках средней и малой мощности, как правило, применяют пневматические замедлители типа КНП-5, РНЗ-2, КВЗ-72, на парковых позициях рекомендуется применять пневматические замедлители типа РНЗ-2, а в отдельных случаях КНП-5. В подгорочном парке применяют также тормозные башмаки. Тормозные башмаки применяют в хвостовой части сортировочных парков, на путях маневровых районов и на путях стоянки подвижного состава для предохранения его от угона.

Пневматические замедлители снабжают от компрессорных станций сжатым воздухом с давлением не более 78 Н/см2. Все замедлители имеют изолированные участки в пределах тормозных позиций для устройства электрических рельсовых цепей.

Показатели

Тип замедлителя

КНП-5

РНЗ-2

КВЗ-72

Расчетная энергетическая высота погашения (тормозная мощность) для четырехосного полногрузного вагона, м, энергетической высоты

1,25

0,48

1,1

Допустимая скорость входа на замедлитель, м/с

7,0

7,0

7,0

Время торможения, с

0,6

0,4

0,6

Время оттормаживания, с

1,0

0,6

0,7

Длина замедлителей по концам рельса, м

12,5

6,25

11,5

Рабочая длина (зона торможения), м

11,9

2,8

7,6

Глубина заложения от головки рельса, м

0,9

0,6

1,3

Допустимый радиус кривых, на котором может укладываться замедлитель, м

-

140

-

Масса замедлителя, т

34,8

9,36

31,9

Металлоемкость, т/м, энергетической высоты

28

18

30

Расход воздуха на одно включение, м3

1,49

0,23

1,09

Завод-изготовитель

Читинский паровозовагоноремонтный завод

 

Читинский паровозовагоноремонтный завод

Двухрельсовый рычажно-нажимной замедлитель типа РНЗ-2 может применяться для интервально-прицельного торможения отцепов на спускной части горок и малой мощности и прицельного торможения на подгорочных путях. Каждый замедлитель выполнен в виде автономно-управляемых звеньев.

Двухрельсовые клещевидно-нажимные подъемные замедлители типа КНП-5 и клещевидно-нажимные типа КВЗ-72 устанавливают, как правило, на спускной части горок.

Основные технические характеристики вагонных замедлителей приведены в таблице.

СОДЕРЖАНИЕ

1. Общие положения. 1

2. Общие требования к проектированию станций. 3

Продольный профиль станционных путей. 3

План станционных путей. 7

Расстояния до зданий, сооружений и между осями смежных путей. 8

Полезная длина станционных путей. 10

Верхнее строение и соединение путей. 12

3. Примыкание соединительных путей к промышленным станциям.. 14

4. Грузовые пункты.. 17

5. Распределительные посты и станции. 24

6. Промышленные грузовые станции. 31

7. Промышленные сортировочные станции. 38

Схемы специализированных сортировочных станций. 45

Размещение зданий, сооружений и устройств на станциях. 53

8. Сортировочные устройства и путевое развитие станций. 57

Определение числа приемоотправочных путей. 59

Определение числа сортировочных путей. 61

Определение полезной длины путей. 64

Требования к конструкции горловин станций. 66

9. Сигнализация, централизация, блокировка (СЦБ) и связь. 74

Напольные устройства СЦБ. 75

Постовые устройства СЦБ. 79

Сигнальные устройства. 80

Путевая блокировка. 83

Электрическая централизация стрелок и сигналов. 85

Переездная сигнализация. 88

Устройства связи. 92

Приложение 1. Выбор схемы организации маневровой работы.. 94

Приложение 2. Расчет времени сортировки вагонов и уровня загрузки для различных типов сортировочных устройств. 98

Приложение 3. Расчет количества приемоотправочных путей. 102

Приложение 4. Расчет времени оборота вагонов общесетевого парка на промышленных станциях (без учета грузовых операций) 106

Приложение 5. Пример технологического расчета промышленной станции. 109

Приложение 6. Проектирование сортировочных устройств. 117

Приложение 7. Расчет высоты горок и мощности тормозных позиций. 125

Приложение 8. Взаимное расположение смежных стрелочных переводов. 131

Приложение 9. Правила нумерации путей и стрелочных переводов. 133

Приложение 10. Техническая характеристика вагонных замедлителей. 135

 

 




ГОСТЫ, СТРОИТЕЛЬНЫЕ и ТЕХНИЧЕСКИЕ НОРМАТИВЫ.
Некоммерческая онлайн система, содержащая все Российские Госты, национальные Стандарты и нормативы.
В Системе содержится более 150000 файлов нормативно-технической документации, действующей на территории РФ.
Система предназначена для широкого круга инженерно-технических специалистов.

Рейтинг@Mail.ru Яндекс цитирования

Copyright © www.gostrf.com, 2008 - 2026