Крупнейшая бесплатная информационно-справочная система онлайн доступа к полному собранию технических нормативно-правовых актов РФ. Огромная база технических нормативов (более 150 тысяч документов) и полное собрание национальных стандартов, аутентичное официальной базе Госстандарта. GOSTRF.com - это более 1 Терабайта бесплатной технической информации для всех пользователей интернета. Все электронные копии представленных здесь документов могут распространяться без каких-либо ограничений. Поощряется распространение информации с этого сайта на любых других ресурсах. Каждый человек имеет право на неограниченный доступ к этим документам! Каждый человек имеет право на знание требований, изложенных в данных нормативно-правовых актах!

  


 

ГОСУДАРСТВЕННЫЙ СТАНДАРТ СОЮЗА ССР

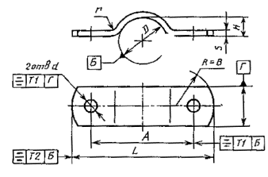
Детали крепления трубопроводов

СКОБЫ

Конструкция и размеры

Pipe-line fastening parts.
Cramps.
Design and dimensions

ГОСТ
24132-80

Взамен
ГОСТ 16684-71

Постановлением Государственного комитета СССР по стандартам от 25 апреля 1980 г. № 1891 срок введения установлен

с 01.01.81

Ограничение срока действия отменено, ИУС II-12-94

1. Настоящий стандарт распространяется на скобы диаметром D от 6 до 430 мм.

2. Конструкция и размеры скоб должны соответствовать указанным на чертеже и в таблице.

Примечания:

1. Все размеры, кроме размеров В и s, обеспечиваются инструментом.

2. Отклонение от центра радиуса R относительно оси поверхностей Г не должно быть более 1 мм.

Размеры, мм

D

A

B ´ s

H

L

d H14

r

Масса 1000 шт., кг

Применяемость

Номин.

Пред. откл.

6

26

±0,5

16 ´ 2

2

42

5,8

4,5

9,8

 

8

28

2

44

10,2

10

30

3

46

10,9

12

32

4

48

11,6

14

40

22 ´ 3

5

62

7,0

32,1

16

42

6

64

34,1

18

44

7

66

36,1

20

46

8

68

38,1

22

50

9

72

9,0

39,2

25

55

10

77

41,2

28

55

30 ´ 3

11

85

63,4

32

60

12

90

67,4

36

65

14

95

72,4

40

70

16

100

77,4

45

75

18

105

82,4

50

80

20

110

87,4

55

90

30 ´ 4

23

120

11,0

6,0

126,2

60

95

25

125

134,2

65

100

28

130

141,2

70

105

30

135

149,2

75

110

33

140

157,2

80

120

±0,5

30 ´ 4

35

150

13,0

6,0

166,2

 

85

125

38

155

178,2

90

130

40

160

181,2

95

135

43

165

189,2

100

140

45

170

197,2

105

145

48

175

204,2

110

150

50

180

211,2

115

160

40 ´ 4

53

200

17,0

299,3

120

165

55

205

313,3

125

170

58

210

325,3

130

175

60

215

335,3

135

180

63

220

345,3

140

185

65

225

355,3

145

190

68

230

365,3

150

195

70

235

376,6

155

205

40 ´ 5

73

245

7,5

488,6

160

210

75

250

501,6

165

215

78

255

513,6

170

220

80

260

525,6

175

225

83

265

537,6

180

230

85

270

549,6

185

235

88

275

561,6

190

240

90

280

573,6

195

245

93

285

585,6

200

250

95

290

596,6

210

260

97

300

621,6

225

275

105

315

661,6

245

310

±1,0

50 ´ 6

115

360

22,0

9,0

1107,0

260

325

122

375

1167,0

275

340

130

390

1232,0

300

365

140

415

1317,0

330

395

155

445

1437,0

360

425

170

475

1532,0

380

445

180

495

1612,0

430

495

205

545

1792,0

Пример условного обозначения скобы D = 25 мм из стали марки 08 кп с покрытием Ц9.хр:

Скоба 25-08кп-Ц9.хр ГОСТ 24132-80

3. Технические требования - по ГОСТ 24140-80.

 




ГОСТЫ, СТРОИТЕЛЬНЫЕ и ТЕХНИЧЕСКИЕ НОРМАТИВЫ.
Некоммерческая онлайн система, содержащая все Российские Госты, национальные Стандарты и нормативы.
В Системе содержится более 150000 файлов нормативно-технической документации, действующей на территории РФ.
Система предназначена для широкого круга инженерно-технических специалистов.

Рейтинг@Mail.ru Яндекс цитирования

Copyright © www.gostrf.com, 2008 - 2026