Крупнейшая бесплатная информационно-справочная система онлайн доступа к полному собранию технических нормативно-правовых актов РФ. Огромная база технических нормативов (более 150 тысяч документов) и полное собрание национальных стандартов, аутентичное официальной базе Госстандарта. GOSTRF.com - это более 1 Терабайта бесплатной технической информации для всех пользователей интернета. Все электронные копии представленных здесь документов могут распространяться без каких-либо ограничений. Поощряется распространение информации с этого сайта на любых других ресурсах. Каждый человек имеет право на неограниченный доступ к этим документам! Каждый человек имеет право на знание требований, изложенных в данных нормативно-правовых актах!

  


 

ГОСТ 9817-95

МЕЖГОСУДАРСТВЕННЫЙ СТАНДАРТ

АППАРАТЫ БЫТОВЫЕ, РАБОТАЮЩИЕ
НА ТВЕРДОМ ТОПЛИВЕ

ОБЩИЕ ТЕХНИЧЕСКИЕ УСЛОВИЯ

МЕЖГОСУДАРСТВЕННЫЙ СОВЕТ
ПО СТАНДАРТИЗАЦИИ, МЕТРОЛОГИИ И СЕРТИФИКАЦИИ

Минск

Предисловие

1 РАЗРАБОТАН Межгосударственным техническим комитетом по стандартизации МТК 98; Проектно-конструкторским и технологическим институтом «ГАЗОАППАРАТ»

ВНЕСЕН Государственным комитетом Украины по стандартизации, метрологии и сертификации

2 ПРИНЯТ Межгосударственным Советом по стандартизации, метрологии и сертификации (протокол № 8 от 10 декабря 1995 г.)

За принятие проголосовали:

Наименование государства

Наименование национального органа по стандартизации

Азербайджанская Республика

Азгосстандарт

Республика Армения

Армгосстандарт

Республика Беларусь

Госстандарт Беларуси

Республика Казахстан

Госстандарт Республики Казахстан

Киргизская Республика

Киргизстандарт

Республика Молдова

Молдовастандарт

Российская Федерация

Госстандарт России

Республика Таджикистан

Таджикгосстандарт

Туркменистан

Главная государственная инспекция Туркменистана

Республика Узбекистан

Узгосстандарт

Украина

Госстандарт Украины

3 Постановлением Государственного комитета Российской Федерации по стандартизации и метрологии от 23 марта 1999 г. № 84 межгосударственный стандарт ГОСТ 9817-95 введен в действие непосредственно в качестве государственного стандарта Российской Федерации с 1 января 2000 г.

4 ВЗАМЕН ГОСТ 9817-82

МЕЖГОСУДАРСТВЕННЫЙ СТАНДАРТ

АППАРАТЫ БЫТОВЫЕ, РАБОТАЮЩИЕ НА ТВЕРДОМ ТОПЛИВЕ

Общие технические условия

Household apparatus using the solid fuel.

General specifications

Дата введения 2000-01-01

1 Область применения

Настоящий стандарт распространяется на бытовые аппараты, работающие на твердом топливе (далее - аппараты), с водяным контуром номинальной тепловой мощностью до 70 кВт, предназначенные для отопления, горячего водоснабжения, приготовления пищи.

Вид климатического исполнения аппаратов - УХЛ категории 4.2 по ГОСТ 15150.

Обязательные требования к качеству продукции, обеспечивающие ее безопасность для жизни, здоровья и имущества населения, охраны окружающей среды, изложены в 4.1.8-4.1.10; 4.1.13-4.1.15; 4.1.21 (в части самопроизвольного открывания дверцы); 4.1.25; 8.1; 8.2; 8.3.1; 8.3.2; 8.3.3 (в части 4.1.14, 4.1.15, 4.1.21, 5.2); 8.3.4 (в части 4.1.21; 5.4); 8.3.6; 8.3.9; 8.3.13; 8.3.16-8.3.20 и разделах 5, 6, 10.

2 Нормативные ссылки

В настоящем стандарте использованы ссылки на следующие стандарты:

ГОСТ 2.601-95 Единая система конструкторской документации. Эксплуатационные документы

ГОСТ 8.207-76 Государственная система обеспечения единства измерений. Прямые измерения с многократными наблюдениями. Методы обработки результатов наблюдений. Основные положения

ГОСТ 9.014-78 Единая система защиты от коррозии и старения. Временная противокоррозионная защита изделий. Общие требования

ГОСТ 12.1.004-91 Система стандартов безопасности труда. Пожарная безопасность. Общие требования

ГОСТ 12.1.005-88 Система стандартов безопасности труда. Общие санитарно-гигиенические требования к воздуху рабочей зоны

ГОСТ 27.410-87 Надежность в технике. Методы контроля показателей надежности и планы контрольных испытаний на надежность

ГОСТ 503-81 Лента холоднокатаная из низкоуглеродистой стали. Технические условия

ГОСТ 3560-73 Лента стальная упаковочная. Технические условия

ГОСТ 6009-74 Лента стальная горячекатаная. Технические условия

ГОСТ 8828-89 Бумага-основа и бумага двухслойная водонепроницаемая упаковочная. Технические условия

ГОСТ 9078-84 Поддоны плоские. Общие технические условия

ГОСТ 12082-82 Обрешетки дощатые для грузов массой до 500 кг. Общие технические условия

ГОСТ 14192-96 Маркировка грузов

ГОСТ 15150-69 Машины, приборы и другие технические изделия. Исполнения для различных климатических районов. Категории, условия эксплуатации, хранения и транспортирования в части воздействия климатических факторов внешней среды

ГОСТ 15846-79 Продукция, отправляемая в районы Крайнего Севера и труднодоступные районы. Упаковка, маркировка, транспортирование и хранение

ГОСТ 19537-83 Смазка пушечная. Технические условия

ГОСТ 21650-76 Средства скрепления тарно-штучных грузов в транспортных пакетах. Общие требования

ГОСТ 24597-81 Пакеты тарно-штучных грузов. Основные параметры и размеры

ГОСТ 26663-85 Пакеты транспортные. Формирование с применением средств пакетирования. Общие технические требования

3 Классификация, основные параметры и размеры

3.1 Аппараты классифицируют:

3.1.1 По назначению:

     О - отопительные;

     К - комбинированные (отопление, горячее водоснабжение, приготовление пищи).

3.1.2 По способу передачи тепла (функция отопления);

       класс 1 - аппараты, характеризующиеся полезной мощностью, затрачиваемой на нагрев теплоносителя;

       класс 2 - аппараты, характеризующиеся общей мощностью, затрачиваемой на нагрев теплоносителя и на прямую теплоотдачу, способствующую обогреву помещения в месте установки.

3.1.3 По номинальной тепловой мощности.

Рекомендуемый ряд тепловых мощностей приведен в приложении А.

3.2 Размеры аппаратов должны соответствовать указанным в таблице 1.

Таблица 1

Наименование показателя

Норма для аппарата

Ширина загрузочного отверстия, мм, не менее

160

Высота загрузочного отверстия, мм, не менее

140

Высота от пола до варочного настила (при его наличии), мм

850±4,5

3.3 Условное обозначение:

- аппарат бытовой (А) отопительный (О), работающий на твердом топливе (Т), с водяным контуром (В) номинальной тепловой мощностью 12 кВт, характеризующийся полезной мощностью, затрачиваемой на нагрев теплоносителя (1).

Пример записи (маркировки) условного обозначения:

АОТВ-12-1 ГОСТ 9817-95

- аппарат бытовой (А) комбинированный (К), работающий на твердом топливе (Т), с водяным контуром (В) номинальной тепловой мощностью 18 кВт, характеризующийся общей мощностью, затрачиваемой на нагрев теплоносителя и на прямую теплоотдачу, способствующую обогреву помещения в месте установки.

Пример записи (маркировки) условного обозначения:

AKТB-18 ГОСТ 9817-95

4 Общие технические требования

4.1 Характеристики

4.1.1 Аппараты следует изготавливать в соответствии с требованиями настоящего стандарта по рабочим чертежам и, при необходимости, образцу-эталону, утвержденным в установленном порядке.

4.1.2 Предельное отклонение номинальной тепловой мощности аппаратов - ±15 %.

4.1.3 Температура в духовке (при ее наличии) должна быть не менее 220 °С.

4.1.4 Духовка (при ее наличии) должна обеспечивать качественную выпечку мучных изделий. Неравномерность цвета выпеченных изделий не должна превышать:

для одной поверхности.............................................. 30 %

для различных поверхностей.................................... 35 %

4.1.5 Духовка (при ее наличии) должна иметь индикатор (указатель) температуры.

4.1.6 Средняя наработка аппарата на отказ - не менее 2500 ч.

Критерии отказа:

- разгерметизация газоходов;

- отклонение от плоскостности варочного настила сверх допустимой нормы;

- трещина стекла дверцы духовки и прогар стенки духовки (при ее наличии);

- прогар колосниковой решетки.

4.1.7 Средний срок службы аппарата - не менее 10 лет.

Критерий предельного состояния - разгерметизация теплообменника.

4.1.8 Аппарат в упаковке должен выдерживать транспортную тряску при средней перегрузке 2,4 g и частоте 120 ударов в минуту.

4.1.9 Температура поверхностей ручек управления в точках касания не должна превышать температуру помещения более чем:

металлических............................................................ на 35 °С

керамических.............................................................. на 45 °С

пластмассовых............................................................ на 50 °С

4.1.10 Температура наружных поверхностей аппарата не должна быть более:

передней и задней стенок......................................... 120 °С

боковых стенок........................................................... 80 °С

стекла дверцы духовки (при ее наличии)................ 170 °С

Температура пола под аппаратом не должна быть более 50 °С.

4.1.11 Коэффициент полезного действия (КПД) указан в таблице 2.

Таблица 2

Наименование функции

Значение КПД, %, не менее

Антрацит

Каменный уголь

Бурый уголь, дрова

Отопление:

 

 

 

для аппаратов класса 1

70

60

55

для аппаратов класса 2

75

65

60

Горячее водоснабжение

65

55

50

Приготовление пищи

25

25

25

Примечание - Количество тепла, отдаваемое путем прямой теплоотдачи помещению, где находятся аппараты класса 2, должно быть не более 13 % номинальной тепловой мощности.

4.1.12 Конструкция аппарата должна обеспечивать номинальную тепловую мощность:

               До  9 кВт                          при разрежении                   (6±2) Па

Св. 9        »   18 кВт                        То же                                     (8±2) Па

» 18        »   24 кВт                        »                                             (10±2) Па

»24 кВт                                          »                                             (12±2) Па

4.1.13 Водяные коммуникации теплообменника, бака (напорный или безнапорный) или змеевика (при их наличии) должны быть прочными и герметичными при испытательном давлении 1,5 рабочего.

4.1.14 Допуск плоскостности варочного настила не должен превышать 3 мм.

4.1.15 Сечение дымоотводящего патрубка должно быть не менее 8 см2 на 1 кВт номинальной тепловой мощности.

4.1.16 Аппарат должен иметь регулятор воздуха, регулирующий доступ воздуха в камеру сгорания, обеспечивающий диапазон регулирования тепловой мощности от минимальной* до номинальной.

*Минимальная тепловая мощность составляет не более 50 % номинальной.

4.1.17 Аппарат должен обеспечивать сгорание топлива, загруженного в камеру сгорания от колосниковой решетки до ее верхнего края при работе на минимальной тепловой мощности, в течение не менее 8 ч - при работе на антраците или каменном угле и не менее 6 ч - при работе на буром угле или дровах.

4.1.18 Годное для сжигания топливо, содержащееся в очаговом остатке, извлеченное с колосниковой решетки и из ящика для сбора золы, не должно превышать 15 % массы загруженного топлива.

4.1.19 Конструкция аппарата должна обеспечивать свободный доступ для чистки камеры сгорания и газоходов от зольных и сажистых отложений.

4.1.20 При просыпании золы через колосниковую решетку не менее 90 % ее количества должно попадать в ящик для сбора золы, который должен выниматься вручную или при помощи инструмента. Накопление золы не должно уменьшать сечение регулятора воздуха.

4.1.21 Дверцы аппарата, кроме декоративных, в закрытом положении должны прилегать к сопрягаемой поверхности по всему периметру. Зазор не должен превышать 1,0 мм, при лабиринтном уплотнении - 1,5 мм.

Дверцы должны иметь устройство, исключающее возможность их самопроизвольного открывания.

4.1.22 Дверцы камеры сгорания, зольника и духовки должны открываться не менее чем на 120°.

Допускается применение дверцы духовки с горизонтальной осью. Угол поворота должен быть 90°-5°.

4.1.23 Стекло дверцы духовки должно быть термостойким.

4.1.24 Аппараты должны иметь термометр, защищенный от воздействия механических повреждений.

Не допускается применять ртутные термометры.

4.1.25 Материалы и (или) покрытия деталей аппарата, в том числе соприкасающиеся с пищевыми продуктами или водой, используемой для хозяйственных нужд, следует применять из числа разрешенных Минздравом (Госсанэпиднадзором) страны-изготовителя (потребителя) для конкретного вида применения.

4.2 Комплектность

4.2.1 В комплект аппарата должны входить:

- совок - 1 шт.;

- кочерга - 1 шт.;

- решетка колосниковая - 1 шт. (при отсутствии стационарной) или колосники - 1 комплект;

- ящик для сбора золы - 1 шт.;

- ручка съемная - 1 шт. (при отсутствии стационарной);

- материал для футеровки - не менее 3 кг (при наличии футеровки камеры сгорания);

- термометр - 1 шт.;

- противень - 2 шт. (при наличии духовки);

- решетка - 1 шт. (при наличии духовки);

- лист стальной размером 700 ´ 500 мм, толщиной не менее 0,5 мм - 1 шт.

К аппарату должно прилагаться руководство по эксплуатации согласно ГОСТ 2.601.

Примечание - По согласованию с потребителем комплект может быть расширен.

4.3 Маркировка

4.3.1 На каждом аппарате на видном месте, исключая переднюю поверхность, должна быть прикреплена табличка, содержащая:

- товарный знак или наименование предприятия-изготовителя;

- условное обозначение аппарата;

- порядковый номер аппарата по системе нумерации предприятия-изготовителя;

- год и месяц выпуска;

- знак соответствия для сертифицированных аппаратов.

Маркировка должна быть нанесена способом, обеспечивающим ее сохранность в течение срока службы аппарата.

4.3.2 Транспортная маркировка груза - по ГОСТ 14192 с нанесением манипуляционных знаков: «Верх», «Хрупкое. Осторожно».

4.4 Упаковка

4.4.1 Перед упаковыванием наружные поверхности аппарата, изготовленные из материалов, подвергающихся коррозии, должны быть подвергнуты временной противокоррозионной защите (вариант ВЗ-4 по ГОСТ 9.014) с нанесением слоя смазки по ГОСТ 19537.

Отверстия штуцеров должны быть защищены от засорения.

4.4.2 Каждый аппарат должен быть обернут бумагой по ГОСТ 8828 или другой бумагой, обеспечивающей сохранность аппарата, обвязан шпагатом и упакован в обрешетку по ГОСТ 12082 или другую тару, обеспечивающую сохранность аппарата, изготовленную по техническим условиям и рабочим чертежам, утвержденным в установленном порядке.

Съемные детали должны быть обернуты бумагой по ГОСТ 8828, обвязаны шпагатом и уложены в камеру сгорания.

При отправке аппаратов в районы Крайнего Севера и труднодоступные районы транспортная тара и упаковка аппаратов должны соответствовать ГОСТ 15846.

4.4.3 Руководство по эксплуатации должно быть вложено в водонепроницаемый пакет или завернуто в бумагу по ГОСТ 8828 и уложено в камеру сгорания.

5 Требования безопасности

5.1 Температура продуктов сгорания на выходе из аппарата должна быть не менее 140 °С и не более 400 °С (по условиям пожарной безопасности).

5.2 Шибер в закрытом положении не должен закрывать более 75 % сечения дымоотводящего патрубка.

5.3 Сопряжение варочного настила с корпусом аппарата и соединения газоходов должны быть герметичными. При разрежении 15 Па присосы воздуха не должны превышать 0,4 м3/ч на 1 кВт номинальной тепловой мощности.

5.4 Зольник аппарата должен быть закрыт со всех сторон и со стороны обслуживания должен иметь дверцы. Его конструкция должна предотвращать выпадание раскаленных частиц топлива или золы через отверстия подвода воздуха для горения.

5.5 Вероятность возникновения пожара не должна превышать 10-6 в год по ГОСТ 12.1.004.

6 Требования охраны окружающей среды

6.1 Содержание оксида углерода в сухих неразбавленных продуктах сгорания, процент объемный, должно быть не более:

при работе на антраците........................................... 0,5

при работе на каменном угле.................................... 2,0

при работе на буром угле или дровах....................... 4,0

6.2 Содержание вредных веществ в атмосферном воздухе от производства при выполнении требований СанПиН 4946 [1] не должно превышать «Предельно-допустимые концентрации (ПДК) загрязняющих веществ в атмосферном воздухе населенных мест» (список № 3086-84 с дополнениями).

7 Правила приемки

7.1 Для проверки соответствия аппаратов требованиям настоящего стандарта следует проводить следующие виды испытаний:

- приемо-сдаточные;

- периодические;

- типовые;

- сертификационные.

7.2 Приемо-сдаточным испытаниям подвергают:

- каждый аппарат - на соответствие требованиям 4.1.5 (в части наличия индикатора), 4.1.13, 4.1.14, 4.1.16 (в части наличия регулятора воздуха), 4.1.20 (в части наличия ящика), 4.1.21, 4.1.22, 4.1.24, 4.2.1, 4.3.1, 4.3.2, 4.4.1 (в части консервации и защиты отверстий штуцеров), 4.4.2, 4.4.3, 5.3;

- один аппарат - из числа изготовленных в данной смене - на соответствие требованиям 4.1.1;

- один аппарат - из 100 шт. - на соответствие требованиям 4.1.15, 4.1.23 (на соответствие сертификату), 4.1.25.

Допускается отдельные проверки проводить до полной сборки аппарата.

Аппарат, не выдержавший испытаний, возвращается для устранения дефектов. После устранения дефектов аппарат повторно подвергается испытаниям в полном объеме.

При положительных результатах приемо-сдаточных испытаний ставят отметку ОТК в руководстве по эксплуатации.

7.3 Периодические испытания проводят не реже одного раза в год на одном аппарате, из числа прошедших приемо-сдаточные испытания, на соответствие всем требованиям настоящего стандарта, кроме 4.1.6, 4.1.7.

При получении отрицательных результатов изготовитель готовит и осуществляет мероприятия по обеспечению качества аппаратов и направляет не менее трех аппаратов на повторные испытания.

На время действия сертификата соответствия периодические испытания допускается проводить один раз в три года.

Испытания на соответствие 4.1.6, 4.1.7 проводят не реже одного раза в пять лет не менее чем на трех аппаратах. Аппарат устанавливают на испытания первый раз - в год начала серийного производства из числа прошедших приемо-сдаточные испытания.

7.4 Типовые испытания проводят с целью оценки целесообразности вносимых изменений в конструкцию, рецептуру и технологический процесс.

Типовым испытаниям подвергают аппараты на соответствие тем требованиям настоящего стандарта, на которые могли повлиять внесенные изменения. Количество испытываемых аппаратов определяется с учетом внесенных изменений.

7.5 Сертификационные испытания следует проводить не менее чем на трех аппаратах, из числа прошедших приемо-сдаточные испытания, на соответствие обязательным требованиям, изложенным в разделе 1 настоящего стандарта, кроме требований раздела 10.

8 Методы контроля

8.1 Средства контроля и вспомогательные устройства

8.1.1 При проведении испытаний должны быть использованы следующие средства контроля:

- термометр с погрешностью измерения:

       ±0,1 °С - для измерения температуры воды,

       ±1,0 °С - для измерения температуры воздуха в помещении,

       ±2,0 °С - для измерения температуры продуктов сгорания;

- психрометр аспирационный с погрешностью измерения ±4 % для измерения относительной влажности воздуха в помещении;

- анемометр с диапазоном измерения от 0,1 до 5,0 м/с для измерения скорости движения воздуха в помещении;

- газоанализатор с основной приведенной погрешностью измерения:

       ±2 % - для измерения содержания диоксида углерода;

       ±10 % - для измерения содержания оксида углерода;

- секундомер класса точности 2 для измерения продолжительности испытаний;

- микроманометр жидкостный класса точности 1 для определения разрежения в дымоходе;

- преобразователь термоэлектрический с погрешностью измерения ±3 °С с вторичным прибором с погрешностью измерения ±0,5 % нормируемого значения для измерения температуры: в духовке, поверхностей ручек управления, наружных поверхностей аппарата, пола под аппаратом;

- калориметр сжигания с бомбой, жидкостный, типа В-ОВ МА с пределом допускаемой погрешности ±1 % для измерения низшей теплоты сгорания топлива;

- блескомер с погрешностью измерения ±4 % для измерения неравномерности цвета выпеченного изделия;

- манометр класса точности 1,5 с верхними пределами измерений:

       0,6 МПа - при испытании теплообменника и безнапорного бака на прочность и герметичность,

       1,6 МПа - при испытании напорного бака или змеевика на прочность и герметичность;

- весы с погрешностью измерений:

       ±10 г - для измерения массы растопочного материала, бачков и воды в бачках,

       ±75 г - для измерения массы топлива и расхода нагретой воды;

- труба термоизолированная для выполнения измерений;

- стенд проверки аппарата на герметичность;

- средства измерения для контроля линейных размеров, обеспечивающие указанную точность. Допускается применять другие средства контроля, обеспечивающие указанную точность.

8.2 Порядок подготовки к проведению контроля

8.2.1 Испытания следует проводить при следующих условиях:

температура воздуха в помещении...................................................... (20±5) °С

относительная влажность воздуха в помещении, не более.............. 80 %

скорость движения воздуха в помещении, не более.......................... 0,5 м/с

8.2.2 При проверке аппарата в режиме отопления следует подать в теплообменник воду, подогретую до температуры 55 °С±5 °С.

При проверке аппарата в режиме горячего водоснабжения следует подать воду в бак (змеевик) из водопровода.

Определить необходимый для испытаний расход воды Gp, проходящей через аппарат, в килограммах в час по формуле

,                                                           (1)

где Np - расчетная номинальная тепловая мощность аппарата, кВт;

с - удельная теплоемкость воды, кДж/(кг °С);

Δt - расчетная разность температур горячей и холодной воды: от 20 до 25 °С - в режиме отопления; от 35 до 40 °С - в режиме горячего водоснабжения.

В процессе испытаний расход воды и разрежение в дымоходе должны быть постоянными.

Открыть регулятор воздуха на дверце зольника.

Установить разрежение в дымоходе согласно 4.1.12.

Определить необходимое для испытаний количество топлива Bp в килограммах по формуле

,                                                      (2)

где τр - расчетная продолжительность рабочего цикла, ч;

k - коэффициент запаса, принимаемый равным 1,1-1,3;

 - низшая теплота сгорания топлива, кДж/кг;

ηр - расчетный коэффициент полезного действия аппарата, %.

Дрова для растопки следует принять в количестве, необходимом для заполнения камеры сгорания на 3/4 ее высоты.

Загрузить на колосниковую решетку аппарата растопочный материал - дрова, 30 % из которых - мелконарубленные. Размер дров должен соответствовать размерам камеры сгорания и обеспечивать их продольную и поперечную укладку.

Испытания аппарата следует проводить на том виде топлива, на который он рассчитан.

Характеристика твердого топлива приведена в приложении Б.

8.3 Порядок проведения контроля

8.3.1 После воспламенения растопочного материала и частичного его обугливания загрузить в камеру сгорания первую порцию топлива. Уголь загрузить равномерным слоем в количестве 1/3 массы, подготовленной к испытаниям.

Последующие дозагрузки производить тонким слоем, равномерно, по всей площади горения, не допуская погасания языков пламени над слоем топлива. Массу каждой дозагружаемой порции топлива следует выбирать в зависимости от конструкции и объема камеры сгорания. Каждую последующую дозагрузку аппарата топливом следует производить после падения температуры продуктов сгорания на выходе из аппарата не более чем на 10 °С без дополнительной регулировки подачи воздуха.

Продолжительность рабочего цикла аппарата:

- функция отопления - не менее 8 ч;

- функция горячего водоснабжения - не менее 3 ч;

- функция приготовления пищи - не менее 3 ч.

8.3.2 Продолжительность рабочего цикла следует определять от момента воспламенения растопочного материала до момента, характеризуемого содержанием диоксида углерода (СО2) в продуктах сгорания, равным 4 % объемных. В этот момент испытания следует прекратить, произвести выгрузку очагового остатка из камеры сгорания и зольника для проведения анализа проб. Очаговый остаток следует быстро потушить, охладить и разделить на годное и непригодное для сжигания топливо. Непригодное для сжигания топливо следует взвесить, измельчить и отобрать на пробу. Годное для сжигания топливо следует взвесить для определения полноты сгорания.

При испытании тепловой мощности варочного настила бачки с водой следует снять и взвесить.

8.3.3 Проверку аппарата на соответствие 3.2 (таблица 1); 4.1.1 (на соответствие рабочим чертежам); 4.1.14; 4.1.15; 4.1.20 (в части количества просыпавшейся золы); 4.1.21 (в части допустимых зазоров); 4.1.22; 5.2 следует проводить с помощью средств контроля.

8.3.4 Проверку аппарата на соответствие 4.1.1 (на соответствие образцу-эталону); 4.1.5; 4.1.16 (в части наличия регулятора воздуха); 4.1.19; 4.1.20 (в части наличия ящика); 4.1.21 (в части самопроизвольного открывания дверцы); 4.1.24; 4.2.1; 4.3.1; 4.3.2; 4.4.1; 4.4.2; 4.4.3; 5.4 следует проверять визуально.

8.3.5 Номинальную тепловую мощность N в киловаттах (4.1.2, 4.1.12) следует определять по формуле

,                                                             (3)

где В - часовой расход топлива, кг/ч;

η - коэффициент полезного действия аппарата, %.

Часовой расход топлива В в килограммах в час при испытании на антраците, каменном или буром угле следует определять по формуле

,                                                    (4)

где т - суммарная масса топлива, загружаемого в камеру сгорания аппарата за рабочий цикл, кг;

mp - масса растопочного материала, кг;

 - низшая теплота сгорания растопочного материала, кДж/кг;

m0 - приведенная масса годного для сжигания топлива, содержащегося в очаговом остатке, за рабочий цикл, кг;

τ - продолжительность испытаний, ч.

Приведенную массу годного для сжигания топлива m0 в килограммах (4.1.18), содержащегося в очаговом остатке, за рабочий цикл следует определять по формуле

,                                                    (5)

где  - масса годного для сжигания топлива, содержащегося в очаговом остатке, за рабочий цикл, кг,

А1 - зольность годного для сжигания топлива, %;

 - зольность исходного топлива, %.

Часовой расход топлива В в килограммах в час при испытании на дровах следует определять по формуле

.                                                              (6)

8.3.6 Температуру в духовке (4.1.3) следует измерять через 30 мин после первой загрузки топлива и далее через каждые 15 мин в течение работы аппарата. При этом термопары следует размещать в пяти точках горизонтальной плоскости, проходящей через геометрический центр объема духовки. Противни при этом должны быть вынуты из духовки.

Температуру поверхностей ручек управления (4.1.9), наружных поверхностей аппарата, пола под аппаратом (4.1.10), продуктов сгорания на выходе из аппарата (5.1) следует измерять через каждые 30 мин в течение рабочего цикла. При этом термопары следует размещать в точках максимального нагрева, определяемых зондированием.

Окончательным результатом при определении температуры в духовке и продуктов сгорания на выходе из аппарата является средняя арифметическая величина температуры в точках измерения за рабочий цикл.

Окончательным результатом при определении температуры поверхностей ручек управления, наружных поверхностей аппарата, пола под аппаратом является максимальное значение температуры в любой из точек измерения.

8.3.7 Работу духовки (4.1.4) определяют выпечкой мучного кондитерского изделия на режиме согласно руководству по эксплуатации.

Рецепт мучного кондитерского изделия указан в таблице 3.

Таблица 3

Наименование продукта

Количество продукта

Время выпечки, мин

Мука

300 г

Не более 18

Маргарин

200 г

Сахар

100 г

Яйцо

1 шт.

Соль

1 г

Тесто следует охладить в холодильнике в течение 24 ч при температуре от плюс 2 °С до плюс 10 °С и извлечь за 20 мин до начала выпечки. Охлажденное тесто формуется в виде полос толщиной 4 мм и шириной 20 мм. Полосы укладывают на противень для выпечки параллельно стенкам духовки с интервалом 10 мм.

При выпечке противень должен находиться на средней полке духовки или на полке, указанной в руководстве по эксплуатации.

Через 1 ч после извлечения выпеченного изделия из духовки проводят оценку неравномерности цвета и определяют качество выпечки. Для оценки результатов выпечки полосы укладывают на матовую черную бумагу.

Неравномерность цвета выпеченного изделия Ц в процентах определяют по формуле

,                                                           (7)

где С - показания блескомера в наиболее светлом месте выпеченного изделия;

Т - показания блескомера в наиболее темном месте выпеченного изделия;

Э - показания блескомера по эталону.

8.3.8 Перед испытанием на соответствие 4.1.6, 4.1.7 аппарат должен быть проверен на соответствие требованиям 4.1.11, 4.1.13, 5.3, 6.1.

8.3.8.1 Испытание в части средней наработки аппарата на отказ (4.1.6) проводится на номинальной тепловой мощности.

Через каждые 500 ч работы аппарат проверяют на соответствие показателям, характеризуемым критериями отказов.

Испытания проводят до наработки 2500 ч.

8.3.8.2 Средний срок службы аппарата (4.1.7) контролируется по результатам информации, получаемой при испытаниях по методике 8.3.8.1 и данным эксплуатации в соответствии с ГОСТ 27.410.

8.3.9 Испытание аппарата на транспортную тряску (4.1.8) следует проводить на стенде в течение 30 мин при средней перегрузке 2,4 g и частоте 120 ударов в минуту. Упакованный аппарат должен быть жестко закреплен на стенде.

При транспортировании аппаратов железнодорожным или автомобильным транспортом к месту испытаний на расстояние не менее 100 км допускается не проводить испытание на транспортную тряску на стенде.

После испытания на стенде (транспортирования) визуально проверяют состояние упаковки. Нарушение упаковки не допускается.

Аппарат считают выдержавшим испытание, если после тряски (транспортирования) не будут обнаружены механические повреждения, ослабление крепежа более чем на 1,5 оборота, нарушение прочности и герметичности теплообменника, бака или змеевика (при их наличии), нарушение герметичности сопряжения варочного настила с корпусом аппарата, а также герметичности соединения газоходов.

8.3.10 Коэффициент полезного действия η в процентах (4.1.11) аппаратов, выполняющих функции отопления (класс 1), горячего водоснабжения, следует определять по формуле

,                                                   (8)

где  - расход нагретой воды, кг/ч;

t2 - температура воды на выходе из аппарата, °С;

t1 - температура воды на входе в аппарат, °С.

Измерение температуры воды на входе и выходе из аппарата следует проводить через каждые 15 мин.

8.3.11 Коэффициент полезного действия η1 в процентах (4.1.11) аппаратов, выполняющих функцию отопления, (класса 2), следует определять по формуле

,                                                   (9)

где q2 - потери тепла с уходящими газами, %;

q3 - потери тепла от химического недожога, %;

q4 - потери тепла от механического недожога, %.

Потери тепла с уходящими газами q2 в процентах следует определять по формуле

,                                      (10)

где tу.г - средняя температура продуктов сгорания на выходе из аппарата за рабочий цикл, °С;

tв - средняя температура воздуха в помещении за рабочий цикл, °С;

tmax – жаропроизводительность топлива без учета влаги воздуха должна приниматься: для антрацита - 2150 °С, для каменного и бурого углей - 2130 °С, для дров - 1980 °С;

c', k - поправочные коэффициенты, значения которых, в зависимости от температуры продуктов сгорания, приведены в таблице 4;

h - коэффициент разбавления сухих продуктов сгорания;

В' - поправочный коэффициент, значения которого следующие:

       для антрацита........................................................ 0,95

       для каменного угля................................................ 0,93

       для бурого угля и дров.......................................... 0,75

Таблица 4

tу.г, °С

c'

k

100

0,82

0,77

200

0,83

0,78

300

0,84

0,79

400

0,86

0,80

500

0,87

0,81

Коэффициент разбавления сухих продуктов сгорания h следует определять по формуле

,                                                          (11)

где - максимальная объемная доля трехатомных газов в продуктах сгорания, %, должна приниматься: для антрацита - 20,2, для каменного угля - 19,0 для бурого угля и дров - 20,3;

 - объемная доля трехатомных газов в продуктах сгорания, %;

СО' - объемная доля оксида углерода в продуктах сгорания, %.

Потери тепла от химического недожога q3 в процентах следует определять по формуле

,                                                        (12)

где k1 - эмпирический коэффициент, значения которого:

для антрацита............................................................................................. 67

для каменного угля.................................................................................... 61

для бурого угля и дров............................................................................... 90

Потери тепла от механического недожога q4 в процентах следует определять по формуле

,                                                         (13)

где тн - приведенная масса непригодного для сжигания топлива, содержащегося в очаговом остатке, за рабочий цикл, кг.

Приведенную массу непригодного для сжигания топлива тн в килограммах, содержащегося в очаговом остатке, за рабочий цикл, следует определять по формуле

,                                             (14)

где mоч - масса очагового остатка, извлеченного за рабочий цикл, кг;

А - зольность непригодного для сжигания топлива в очаговом остатке, %.

8.3.12 Коэффициент полезного действия η2 в процентах (4.1.11) аппаратов, выполняющих функцию приготовления пищи, следует определять по формуле

,                                                   (15)

где Nв.н - тепловая мощность варочного настила, кВт.

Для определения тепловой мощности варочного настила следует установить на него стальные бачки прямоугольной формы высотой 200 мм так, чтобы они полностью закрывали варочный настил. Бачки на 2/3 объема следует заполнить водой температурой (20 ±1) °С, закрыть крышкой, в центре которой должно быть отверстие для установки термометра. Термометр должен быть плотно закреплен в крышке и расположен в бачке так, чтобы ртутный резервуар в начальный момент испытаний находился в центре объема воды.

Тепловую мощность варочного настила Nв.н в киловаттах следует определять по формуле

,                (16)

где т1 т2, ... , тп - масса воды, заливаемой в бачки, кг;

т1', т2', ... , тп' - масса бачков, кг;

т' - масса испарившейся воды, кг;

t1', t2', ... , tn' - температура нагретой воды в бачках, °С;

t - начальная температура воды, заливаемой в бачки, °С;

r - скрытая теплота испарения воды, кДж/кг;

c1 - удельная теплоемкость материала бачков, кДж/(кг·°С).

8.3.13 Испытания теплообменника для отопления и безнапорного бака для горячего водоснабжения на прочность и герметичность (4.1.13) должны проводиться в течение 5 мин гидравлическим (водой) или пневматическим (воздухом) давлением не менее 105 кПа для аппарата номинальной тепловой мощностью до 30 кВт, не менее 210 кПа - для аппарата номинальной тепловой мощностью свыше 30 до 70 кВт.

Испытания напорного бака или змеевика для горячего водоснабжения, подсоединяемого к водопроводу, на прочность и герметичность должны проводиться в течение 5 мин водой или воздухом давлением не менее 900 кПа.

При испытаниях водой не допускаются течь и потение, а при испытаниях воздухом - появление пузырьков воздуха.

8.3.14 Определение минимальной тепловой мощности (4.1.16) и испытание на длительность горения (4.1.17) следует проводить следующим образом:

после розжига топлива по 8.3.2 и достижения основного жара дозагрузить топливо в камеру сгорания от колосниковой решетки до ее верхнего края. Далее в течение 30 мин разрежение в дымоходе и подвод воздуха уменьшить до такой степени, чтобы топливо не погасло и обеспечивало максимальное время сжигания.

По истечении 30 мин с начала испытания нельзя вмешиваться в процесс горения.

По истечении 8 ч работы аппарата на антраците или каменном угле и 6 ч работы на буром угле или дровах в камеру сгорания добавить топливо, установить разрежение в дымоходе согласно 4.1.12 и такой подвод воздуха, чтобы аппарат снова вышел на номинальную тепловую мощность.

8.3.15 Проверку термической стойкости стекла дверцы духовки (4.1.23) следует проводить при работе аппарата на номинальной тепловой мощности не менее 1 ч. Сразу после открывания дверцы на поверхность стекла, обращенную внутрь духовки, в произвольно выбранную точку следует выплеснуть 25 мл воды температурой (20 ± 1) °С. Появление трещин на стекле не допускается.

8.3.16 Проверку материалов и (или) покрытий деталей аппарата (4.1.25) следует проводить сверкой сертификатов на материалы, заложенные в документации на аппарат, а при их отсутствии - по результатам лабораторного анализа на соответствие Перечню материалов, разрешенных Минздравом.

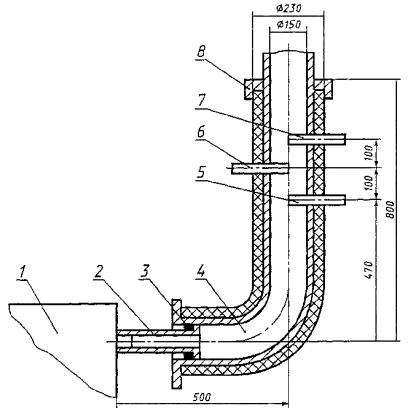
8.3.17 Герметичность мест сопряжения варочного настила с корпусом аппарата и соединения газоходов (5.3) при периодических, типовых и сертификационных испытаниях следует проводить согласно схеме (рисунок 1). Перед проверкой проем регулятора воздуха и дымоотводящий патрубок следует закрыть резиновыми манжетами, подсоединить аппарат к вакуум-насосу и установить разрежение 15 Па. Расход воздуха не должен превышать 0,4 м3/ч на 1 кВт номинальной тепловой мощности.

При приемо-сдаточных испытаниях герметичность следует оценивать по отклонению факела бытовой стеариновой свечи, помещенной снаружи аппарата на расстоянии 20 мм от мест сопряжения. Аппарат должен быть подсоединен к трубе с искусственной тягой. При разрежении в трубе 15 Па отклонение факела в сторону мест сопряжения не допускается.

1 - микроманометр; 2 - аппарат; 3 - манжета резиновая; 4 - кран проходной; 5 - вакуум-насос; 6 - расходомер

Рисунок 1 - Схема проверки аппарата на герметичность

8.3.18 Вероятность возникновения пожара от аппарата (5.5) следует проверять в соответствии с ГОСТ 12.1.004.

8.3.19 Содержание оксида углерода СОα=1 в сухих неразбавленных продуктах сгорания в процентах объемных (6.1) следует определять по формуле

,                                                  (17)

где n - число измерений.

Отбор продуктов сгорания следует проводить каждые 30 мин в течение всего рабочего цикла аппарата пробоотборником, который представляет собой трубку из нержавеющей стали внутренним диаметром 5,2 мм с отверстиями диаметром 1 мм, расположенными с шагом 15 мм.

Пробоотборник следует устанавливать в соответствии с рисунком 2. Допускается отбор продуктов сгорания производить в стеклянную или резиновую тару, не менее чем троекратно промытую продуктами сгорания. Срок хранения отобранных продуктов сгорания - не более 2 ч.

1 - аппарат; 2 - переходник; 3 - уплотнитель; 4 - труба; 5 - пробоотборник; 6 - термометр; 7 - трубка для измерения разрежения; 8 - крышка

Рисунок 2 - Труба термоизолированная для выполнения измерений

Примечание - Установку термометра (поз. 6) следует проводить под углом 45° к вертикальной оси трубы

8.3.20 Содержание вредных веществ в атмосферном воздухе (6.2) следует определять по ГОСТ 12.1.005.

8.4 Правила оформления результатов контроля

8.4.1 Результаты приемо-сдаточных, периодических и типовых испытаний оформляют протоколом, в котором, как правило, указывают:

- изготовителя аппаратов;

- заводские номера аппаратов;

- перечень представленной с аппаратом документации;

- вид топлива, на котором проводились испытания;

- условия и методы испытаний;

- обозначение настоящего стандарта и нормируемые значения;

- результаты испытаний;

- выводы;

- дату испытаний.

8.4.2 Результаты испытаний по 4.1.6, 4.1.7 оформляются протоколом в соответствии с ГОСТ 27.410.

8.4.3 Результаты сертификационных испытаний оформляются в соответствии с требованиями принятой системы сертификации.

8.5 Допустимая погрешность контроля

8.5.1 Расчеты по формулам (1) - (16) проводят с точностью до второго десятичного знака с последующим округлением до первого десятичного знака.

Расчет по формуле (17) проводят до третьего десятичного знака с последующим округлением до второго десятичного знака.

8.5.2 Испытания по 8.3.5, 8.3.10, 8.3.11, 8.3.12, 8.3.19 должны дублироваться не менее трех раз; за окончательный результат испытания принимают среднее арифметическое значение.

При расхождении результатов дублируемых опытов по 8.3.5, 8.3.10, 8.3.11, 8.3.12 более чем на 2 %, а по 8.3.19 более чем на 20 %, испытания следует повторить. Результаты повторных испытаний являются окончательными.

8.5.3 Метод обработки результатов наблюдений и оценка погрешности результатов - по ГОСТ 8.207.

9 Транспортирование и хранение

9.1 Транспортирование

9.1.1 Упакованные аппараты должны транспортироваться всеми видами транспорта в соответствии с правилами перевозки грузов, действующими на транспорте данного вида.

Транспортные средства должны быть закрытыми.

9.1.2 При транспортировании железнодорожным транспортом размещение и крепление упакованных аппаратов должно осуществляться согласно «Техническим условиям погрузки и крепления грузов», утвержденным Министерством путей сообщения. Допускается упакованные аппараты формировать в пакеты по ГОСТ 26663. Параметры и размеры пакетов - по ГОСТ 24597. Аппараты, сформированные в пакеты, устанавливают на плоские поддоны по ГОСТ 9078 грузоподъемностью не более 1 т, скрепляют по ГОСТ 21650 стальной лентой по одному из следующих стандартов: ГОСТ 3560, ГОСТ 6009, ГОСТ 503.

9.1.3 Транспортирование аппаратов по суше - по условиям хранения 5 по ГОСТ 15150, при морских перевозках в трюмах - по условиям хранения 3 по ГОСТ 15150; на самолетах - по условиям хранения 8 по ГОСТ 15150.

9.2 Хранение

9.2.1 Упакованные аппараты хранят по условиям хранения 2 по ГОСТ 15150.

10 Указания по эксплуатации

10.1 Аппараты следует использовать для отопления помещений, горячего водоснабжения (для хозяйственных нужд: мытье посуды, стирка, купание и т.п.), приготовления пищи.

10.2 Аппарат должен быть установлен на основу из негорючих материалов на расстоянии не менее 500 мм до сгораемых конструкций.

10.3 Пол из горючих и трудно горючих материалов под дверкой камеры сгорания должен быть защищен стальным листом размером 700 ´ 500 мм, толщиной не менее 0,5 мм.

10.4 Аппарат должен эксплуатироваться только подключенным к отопительной системе, заполненной водой.

Рабочее давление столба жидкости в месте установки аппарата номинальной тепловой мощностью до 30 кВт не должно превышать 70 кПа, свыше 30 до 70 кВт - не должно превышать свыше 140 кПа.

Не допускается установка запорной арматуры на водопроводе для слива воды из безнапорного бака.

10.5 Не допускается превышение температуры воды на выходе из аппарата более 95 °С.

10.6 Аппарат должен быть подключен к обособленному дымовому каналу.

10.7 Установка аппаратов и отвод продуктов сгорания должны соответствовать требованиям раздела 3 СНиП 2.04.05 [2].

10.8 Запрещается устанавливать аппарат в жилом помещении.

10.9 Запрещается пользоваться помещениями для сна и отдыха, где установлен аппарат.

10.10 Нарушение указаний по эксплуатации может привести к несчастному случаю.

11 Гарантии изготовителя

11.1 Предприятие-изготовитель гарантирует соответствие аппаратов требованиям настоящего стандарта при соблюдении условий эксплуатации, транспортирования и хранения.

11.2 Гарантийный срок эксплуатации аппаратов - 2,5 года со дня продажи через розничную торговую сеть, а для внерыночного потребления - со дня получения потребителем.

ПРИЛОЖЕНИЕ А

(рекомендуемое)

Ряд номинальных тепловых мощностей аппаратов, кВт: 10; 20; 30; 40; 50; 60; 70.

ПРИЛОЖЕНИЕ Б

(рекомендуемое)

Характеристика твердого топлива

Антрацит:

размеры кусков - от 25 до 50 мм;

низшая теплота сгорания  = (27200 ± 4080) кДж/кг.

Каменный уголь:

размеры кусков - от 25 до 50 мм;

низшая теплота сгорания = (20560 ± 3080) кДж/кг.

Бурый уголь:

низшая теплота сгорания  = (16000 ± 2400) кДж/кг.

Дрова:

сечение - не более 70 х 70 мм;

низшая теплота сгорания  = (10200 ± 1530) кДж/кг;

влажность - не более 35 %.

ПРИЛОЖЕНИЕ В

(справочное)

Библиография

[1] СанПиН 4946-89 Санитарные правила по охране атмосферного воздуха (Минздрав СССР, Москва, 1989 г.).

[2] СНиП 2.04.05-91 Отопление, вентиляция и кондиционирование. Разработан институтом Промстройпроект, Государственным проектным и научно-исследовательским институтом СантехНИИпроект

Ключевые слова: аппараты бытовые, твердое топливо, отопление, горячее водоснабжение, приготовление пищи, тепловая мощность.

СОДЕРЖАНИЕ

 

 




ГОСТЫ, СТРОИТЕЛЬНЫЕ и ТЕХНИЧЕСКИЕ НОРМАТИВЫ.
Некоммерческая онлайн система, содержащая все Российские Госты, национальные Стандарты и нормативы.
В Системе содержится более 150000 файлов нормативно-технической документации, действующей на территории РФ.
Система предназначена для широкого круга инженерно-технических специалистов.

Рейтинг@Mail.ru Яндекс цитирования

Copyright © www.gostrf.com, 2008 - 2026