| |
ОРДЕНА
ТРУДОВОГО КРАСНОГО ЗНАМЕНИ АРЕНДНОЕ ПРЕДПРИЯТИЕ ПРОМСТРОЙПРОЕКТ
ПОСОБИЕ 2.91 к СНиП 2.04.05-91
Расчет поступления теплоты солнечной
радиации в помещения
Главный инженер института И.Б.
Львовский
Главный специалист Б.В.
Баркалов
Москва 1993 г.
1. Расчетные формулы.
1. В Пособии рассматриваются
поступления теплоты в помещения солнечной радиации и от людей. Другие
поступления теплоты следует учитывать по заданиям технологов, опытным или
литературным данным.
2.
Поступления теплоты, Q Вт, в помещении от солнечной
радиации через остекленные световые проемы и массивные ограждающие конструкции
зданий различного назначения для наиболее жаркого месяца года (июля) и
заданного или каждого часа суток, следует рассчитывать по формуле:
(1)
где:
Qi - тепловой поток, Вт, через
i-й световой проем;
Qi,м - тепловой поток, Вт, через i-е
массивное ограждение;
a, b - число световых
проемов и массивных ограждений.
Расчетным является
максимальный тепловой поток Qмакс, Вт, выбираемый из часовых
поступлений теплоты за период, когда в помещении работают или отдыхают люди или
ведется производственный процесс.
3. Тепловой поток прямой и
рассеянной солнечной радиации (далее "солнечной радиации") через i-й
световой остекленный проем (далее "световой проем"), Вт, следует
определять по формуле:
  , (2)
где:
- тепловой поток, Вт, солнечной
радиации через остекленный световой проем, определяемый по п.п. 4-9;
- показатель поглощения
теплового потока солнечной радиации, определяемый по п.п. 10-12;
- тепловой поток теплопередачей
через световой проем по п. 13.
Примечание. При определении поступлений теплоты для расчета
систем вентиляции, величину допускается не
учитывать.
4. Тепловой поток, Вт,
солнечной радиации через световой проем рассчитывается по формуле:
(3)
где:
- поверхностная плотность
теплового потока, Вт/кв.м, через остекленный световой проем в июле в данный час
суток, соответственно от прямой ( ) и рассеянной ( ) солнечной радиации, принимаемая для вертикального и
горизонтального остекления по табл. 1,
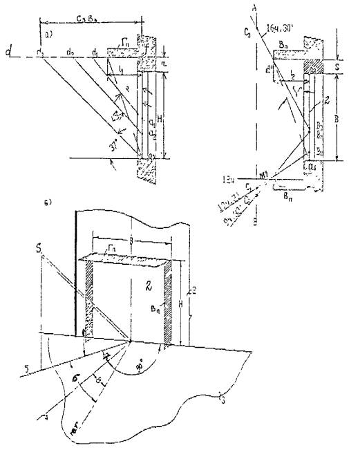
а для наклонного остекления рассчитывается по п. 5;
- коэффициенты облученности
прямой солнечной радиацией для учета площади светового проема, незатененной
горизонтальной и вертикальной K
плоскостями в строительном исполнении, рис 1
а, определяемые по п. 6;
. - коэффициенты облученности для учета поступления рассеянной
солнечной радиации через световые проемы, незатененные горизонтальной и
вертикальной наружными солнцезащитными плоскостями в строительном исполнении,
определяемые по п. 7;
- коэффициенты теплопропускания
солнцезащитных устройств (шторы, карнизы, жалюзи и др. изделия заводского
изготовления), принимаемые по прил. 8 СНиП II-3-79**.
- коэффициент теплопропускания
остеклением световых проемов, принимаемые по табл. 2;
- площадь светового проема
(остекления), кв. м.
5. Поверхностная плотность
тепловых потоков, (Вт/кв. м), поступающих в помещение в данный час суток через
наклонное (рис. 2) остекление от прямой
и рассеянной солнечной радиации следует определять по
формулам:
для остекления а -
при  или  
qп=qп,г·cosa+qп,в·sina; (4)
qp=qp,г·cosa+qp,в·sina (5)
для остекления в -
при 
qп=q'п,г·cosa-q'п,в·sina (6)
qp=q'р,г·cosa-q'р,в·sina (7)
где:
- поверхностная плотность
тепловых потоков, Вт/кв. м, поступающих от прямой (п) и рассеянной (р)
солнечной радиации соответственно через горизонтальное (г) и вертикальное (в)
остекление той же ориентации, что и наклонное остекление "а",
принимаемые по табл. 1:
- поверхностная плотность тепловых потоков, Вт/кв. м, поступающих от
прямой и рассеянной солнечной радиации через вертикальное остекление, ориентация
которого соответствует остеклению ''в'' противоположна ориентации наклонного
остекления ''а'', принимаемые по табл. 1;
- угол наклона остекления к
горизонтальной плоскости, град. (рис. 2).
Примечание: Если при вычислении по формулам (4) и (6) величина окажется
отрицательной, то следует считать  , т.к. в этом случае остекление находится в тени.
6. Коэффициенты и формулы (3)
определяются по формулам:
(8)
(9)
где:
Н, В - высота и ширина
светового проема, м;
- ширина горизонтальных и
вертикальных строительных солнцезащитных плоскостей, рис. 1 а; при отсутствии солнцезащитных плоскостей, но
при расстоянии кромки стен от остекления 150 мм и более рекомендуется их
учитывать как плоскость, затеняющую оконный проем;
- высота солнца - угол, град.,
между направлением солнечного луча и его проекцией на горизонтальную плоскость,
принимаемая по табл. 3, рис. 1 6;
- солнечный азимут остекления
светового проема, град., определяемый по п. 8;
r, s
- расстояние, м, от солнцезащитных плоскостей соответственно до вертикального
или горизонтального края светового проема (рис.
1 а).
Примечания: 1. При отсутствии
солнцезащитных устройств (СЗУ) в формулах (8) и (9) следует принимать r = s = 0.
2. Если при
вычислениях по формулам (8) и (9):
а) или , то следует принять , т.е. световой проем полностью затенен;
б)  или , то следует принять или , т.к. тень от солнцезащитного устройства не доходит до
светового проема.
7. Коэффициенты принимаются по табл. 4 в зависимости от солнцезащитных
углов плоскостей и по рис. 1 а, определяемых по формулам:
(10)
, (11)
где:
Н, В, , , r, s - принимаются по п. 5 рис. 1 а.
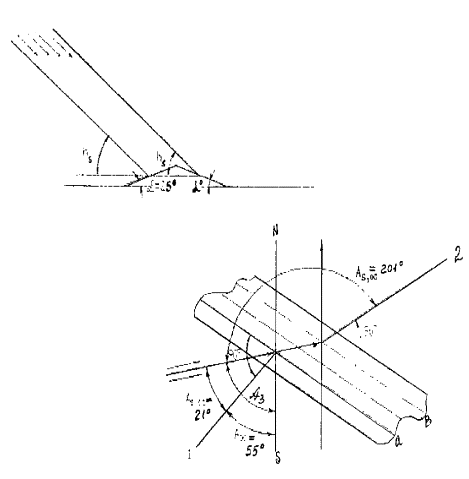
8. Солнечный азимут
светового проема, град., определяется
разностью углов азимута солнца и азимута светового проема (рис. 1 б и 3)
(12)
где:
- азимут солнца, град. - угол
между направлением на юг и горизонтальной проекцией солнечного луча;
- азимут светового проема, град., угол между перпендикуляром к
остеклению и направлением на юг;
- для восточной половины
небосклона отрицательны, а для западной половины положительны.
Азимуты световых проемов,
ориентированные по основным странам света имеют следующие значения: ЮВ - 45°, В - 90°, СВ - 135°, С - 180°, Ю±0°, ЮЗ - 45°, З - 90°, СЗ - 135°.
9. Затенение светового проема
наружными солнцезащитными плоскостями (в строительном исполнении)
рассчитывается по формулам (8) - (11) или графическим построением тени по
методу Л.А. Глаубянца [5]. Для графического расчета на горизонтальном разрезе
окна через точки и (на гранях защитных
ребер, (рис.1 а) проводятся
горизонтальные проекции солнечных лучей до пересечения их с плоскостью стекол.
Отрезки прямых - , - , - определяют ширину
тени, падающей на стекло в данный час суток. Пересечение продолжения прямых - , - , и - с проекцией грани
горизонтального защитного элемента (козырька) прямой А - Б обозначаются точки , … , . Полученные отрезки прямых - , ….
... и заменяются
соответственно равными им отрезками , которые откладываются на прямой f D,
проведенной вдоль защитного козырька на вертикальной проекции окна.
Для каждого расчетного часа
через точки проводят вертикальные
проекции солнечных лучей до пересечения с плоскостью стекол в точках . Длины отрезков представляют высоты
тени, создаваемой козырьком на стеклах светового проема.
На фасаде светового проема
строятся границы полученной тени и вычисляется площадь затененной и свободной
части светового проема (см. пример 2).
10. Показатель "а " - поглощения ограждениями и оборудованием теплового
потока прямой и рассеянной солнечной радиации, передаваемого воздуху помещения
конвективными потоками, определяется по табл.
5. в зависимости от отношения , в котором показатель суммарного
усвоения теплоты ограждениями и оборудованием помещения [1], Вт/град. С:
; (13)
-
показатель интенсивность конвективного теплообмена в помещении (м);
, (14)
У …У - коэффициенты теплоусвоения, Вт/(кв. м. град. С), для стен,
покрытий и пола принимаются по формулам пунктов 3.4*, 3.5, 3.6* и 4.2* СНиП II-3-79** [4], причем
в расчете учитывается только один-два активных внутренних слоя конструкции
ограждения со стороны помещения;
А - А - внутренние поверхности ограждений помещения и поверхности
оборудования, м .
11. Коэффициенты теплоусвоения
для ограждений и оборудования определяются по формулам, Вт/(кв. м. град. С):
для окон и остекления
фонарей
, (15)
где:
R -
термическое сопротивление теплопередаче остеклений световых проемов,
принимаемое по прил. 6* СНиП
II-3-79**;
- коэффициент теплоотдачи,
принимаемый по табл. 4* СНиП
II-3-79**;
для перегородок производится
расчет для половины их толщины по формуле:
, (16)
где:
R
- термическое сопротивление части слоя, м, перегородки, разделенной по оси
симметрии;
S
- коэффициент теплоусвоения материала слоя на границе разделения.
Для оборудования [1,2]
, (17)
где:
G
- масса оборудования, кг; с - удельная теплоемкость оборудования, Дж/(кг град.
С), для металла 481,5 Дж/(кг град .С).)
12. Для определения почасовых
поступлений теплоты расходуемой на нагревание приточного воздуха, следует по табл. 1 найти время начала прямой
радиации Z
и продолжительность прямой радиации через остекленные поверхности помещения , а затем по табл. 5,
руководствуясь найденными значениями по строке,
соответствующей отношению находят значения
показателя а для начала радиации Z и затем для всех часов
суток Z+1, Z+2 и т.д.
Умножая значение
максимального теплового потока солнечной радиации Q (найденного по п.п. 4-9)
на полученный показатель а определяют почасовые поступления теплоты, Вт, в помещение,
расходуемые на нагревание воздуха (см. пример
1).
13. Тепловой поток
теплопередачей, Вт, для данного часа суток через остекленный световой проем (остекление)
рассчитывается по формуле:
 , (18)
где:
t -
средняя за сутки температура наружного воздуха, град. С, принимаемая равной
температуре июля по графе 3 таблицы "Температура наружного воздуха" СНиП 2.01.01-82
[6];
А - максимальная суточная амплитуда температуры наружного
воздуха в июле, град. С, принимаемая по СНиП 2.01.01-82;
 - коэффициент, выражающий
гармоническое изменение температуры наружного воздуха, принимаемый по табл. 6;
t
- температура воздуха в помещении, град. С, принимаемая по СНиП 2.04.05-91 (8);
А , R
- площадь, кв. м, и приведенное сопротивление теплопередаче, кв. м град. С/Вт,
остекления светового проема, принимаемое по прил. 6* СНиП II-3-79** или по табл. 2 Пособия.
14. Тепловой поток, Вт,
через массивную ограждающую конструкцию (наружную стену или покрытие) Q ,
для данного часа суток (Z) следует определять по
формуле.
Q = , (19)
где:
R -
сопротивление теплопередаче массивной ограждающей конструкции (наружной стены,
покрытия), кв. м град. С/Вт, принимаемое в соответствии с требованиями п.п.
2.6-2.9 СНиП II-3-79**;
t ,
t
- средняя температура наружного воздуха в июле, по СНиП 2.01.01-82 [6] и
температура воздуха в помещении;
- коэффициент поглощения
солнечной радиации поверхностью ограждающей конструкции, принимаемый по
приложению 7 СНиП II-3-79**
[4];
J
- среднесуточное значение поверхностной плотности теплового потока суммарной
солнечной радиации (прямой и рассеянной), Вт/кв. м, поступающей в июле следует
принимать по табл. 7 для
горизонтальной и табл. 8 для
вертикальной поверхности;
- коэффициент равный 1 - при
отсутствии вентилируемой воздушной прослойки в ограждении (покрытии) и равным
0,6 для всех других ограждающих конструкций;
V -
величина затухания амплитуды колебаний температуры наружного воздуха в
ограждающей конструкции, определяемая по п. 3.4* СНиП II-3-79** или по формуле [1];
, (20)
где:
- термическое сопротивление ограждения
Вт/(кв. м град. С);
- тепловая инерция ограждения,
V
= 0,85+0,15 - для многослойных конструкций; (21)
V = 1+0,5R -
для конструкций с воздушной прослойкой; (22)
- коэффициенты теплоусвоения
материалов первого и второго слоев по ходу тепловой волны, Вт/(кв. м град. С),
по СНиП II-3-79**.
- коэффициенты, принимаемые по табл. 6 для каждого часа суток
соответственно при ;
- запаздывание температурных
колебаний в ограждении определяется по п.15; Z - время максимума суммарной
(прямой и рассеянной) солнечной радиации, принимаемое по табл. 7 и 8;
А - по п. 13;
А - амплитуда суточных колебаний суммарной солнечной радиации
(прямой и рассеянной), принимая по п. 1б;
А - площадь массивной ограждающей конструкции (наружной стены,
покрытия), кв. м;
- коэффициенты теплоотдачи наружной и внутренней поверхности ограждения
Вт/(м град. С), определяемые соответственно по формуле (24) и табл.
4* СНиП II-3-79**.
15. Запаздывание температурных
колебаний в ограждающей конструкции , в часах, определяется по формуле:
, (23)
где:
- тепловая инерция ограждающей
конструкции, определяемая по п. 2.4* СНиП II-3-79**.
16. Амплитуда суточных
колебаний суммарной солнечной радиации (прямой и рассеянной) А Вт/кв.м, определяется по формуле;
, (24)
где:
- максимальное и среднесуточное
значение суммарной солнечной радиации (прямой и рассеянной), поступающей на
наружное ограждение, принимается по табл. 7
или 8.
17. Выделения теплоты от
взрослых людей в производственных помещениях в зависимости от затрат энергии
(категории тяжести выполняемой работы и температуру воздуха в рабочей или
обслуживаемой зоне помещений) принимаются по табл. 9.
Тепловыделения от людей в
жилых зданиях в теплый период года не учитывается, а в холодный период являются
частью величины бытовых тепловыделений, определяемых в соответствии со СНиП
2.04.05-91.
Тепловыделения от людей в
общественных зданиях и административно-бытовых помещениях промышленных
предприятий принимаются по СНиП на проектирование этих зданий или по ведомственным нормативным
документам.
2. Примеры расчетов поступлений теплоты от солнечной
радиации.
Пример
1.
Определить поступление теплоты солнечной радиации в производственное помещение
в одноэтажном здании в Москве (56 град. СШ), имеющем окна в ЮЗ стене без
солнцезащитных устройств.
Влияние солнцезащиты - см. пример 2. В помещении поддерживается
постоянная температура воздуха 22 град. С. Характеристика ограждающих
конструкций помещения приведена в табл.
10. В помещении установлено технологическое оборудование общей массой 3000
кг, при общей поверхности 200 кв. м.
Решение. Расчеты произведены
по методике профессора В.Н. Богословского [1].
1. Максимальный тепловой
поток солнечной радиации через окна площадью 85 кв. м находим по формуле (3) и табл. 1, при максимальной плотности потока прямой
радиации 479 и рассеянной 108 Вт/кв. м, при коэффициенте теплопропускания К =0,61 (по табл. 2)
и отсутствии защитных устройств на окнах К = 1; К = 1 и К = 1:
Q
(479´1 + 108´1)´1´0,61´85 = 30436 Вт;
2. Для определения
показателя а поглощения помещением теплового потока солнечной радиации по
п. 10 находим коэффициенты теплоусвоения,
Вт/(кв. м град. С):
для окон по формуле (15) У = 1/(0,34 -1/8,7) = 4,44;
для стены по слою
керамзитобетона D = 3,2 > 1;
по п. 3.5 СНиП
II-3-79** У = S = 5,03;
для покрытия по слою
пенобетона, при D>1, по п. 3.5 СНиП II-3-79** У = S =
2,19;
для перегородок при D/2
= 0,56 < 1 по формуле (16)
У = 0,0315 ´ 17,98 = 10,2;
для пола при D = 0,63 > 0,5 по формуле (27) СНиП II-3-79**
У = 2 ´ S
= 2 ´ 16,43 = 32,9;
для оборудования по формуле
(17)
У = 3,6 ´ 10 ´ 3000 ´ 481,5 = 52.
3. Показатель суммарного
теплоусвоения помещения по формуле (13):
=
4,44.85+5,03.22+2,19.216+10,2.260+32,9.216+52=10772 Вт/град. С.
4. Показатель интенсивности
конвективного теплообмена по формуле (14):
2,55(85+22+216+260+216+200) =
2547,5 Вт/град. С.
5. Показатель поглощения
помещением теплового потока солнечной радиации по п.
10:
а = 4,2.
6. По табл. 1 находим общую продолжительность радиации через ЮЗ
окна = 10 ч и начало радиации в Z = 10 ч, по табл. 5 при а = 4,2 находим величины показателя а = 0,18 для Z = 10 ч; а = 0,19 для Z+1 = 11 ч и т.д. для всех
часов суток и записываем их в первую строку табл. 11.
7. Умножим Q = 30436 Вт на показатели а ; полученные часовые поступления теплоты, поглощенные
помещением и переданные его воздуху, вносим во вторую строку табл. 11.
8. По формуле (18) определяем величину теплового
потока теплопередачей через окна, Вт.
Q
= (18,1+0,5 ´ 18,5-22)85/0,34 = 2300 - 975,
где - определяется по табл. 6 на пересечении графы,
соответствующей 15 часам и строки для того часа, где = 1, что
соответствует максимальному поступлению теплоты через окна. Вправо и влево от
этого значения по строке 15 находим значения , которые
записываем в строку 3 табл. 11 , а в строках 4 и 5 почасовые поступлении теплоты через окна.
9. Определяем величину
теплового потока, Вт, через наружную стену (табл. 6) по формуле (19) для
Q =
.
Q
= 34,9 + 79 + 110,2 ; при ; Q =
34,9+189,2 , Вт,
где: J = 202; А = 699-202 = 497 Вт/кв. м по табл. 8 для 56 град. СШ; = 1,16(5+10. ) = 27,1 Вт/(кв. м град. С).
По формуле (20) затухание амплитуды колебаний
температуры наружного воздуха в стене:
V = (0,83+3 )(0,85+0,15 ) раз.
Расчет по значительно более
сложной формуле (21) СНиП II-33-79** дает V = 22,3 раза - принято в расчете.
10. Поступление теплового
потока через наружную стену запаздывает на 2,7D-0,4 = 2,7´3,57-0,4 = 9,2 ч по
сравнению с поступлением максимального теплового потока на ЮЗ вертикальную
плоскость в 15 ч, т.е. максимальное поступление теплоты через стену будет в
15+9,2 = ~24 часа при =1, которое в табл. 6
находится на пересечении строки 24 и графы 24.
Поэтому по строке 24 находим
все остальные значения величины 1, записываем их в строку 6 табл. 11 по = 34,9+189,2 Q, Вт - находим все его
значения, приведенные в строке 7 табл.
11.
11. Определяем величину
теплового потока, Вт, через бесчердачное покрытие по формуле (19):
Q = 
=892,2+393,8 +696,6 .
где = 691+126-327 = 490 Вт/кв. м по табл. 7 для 56 град. СШ. По формуле (20)
V=  раза, принято по формуле (21) СНиП II-33-79* 43,9 раза.
Поступление теплового потока
через покрытие теплопередачей от наружного воздуха запаздывает на 2,7´3,93 - 0,4 = 10,2 ч по
сравнению с поступлением максимального потока от наружного воздуха в 15 ч, т.е.
максимум, наступит в 15+10,2=25,2 или в 1 час ночи.
Этому соответствует = 1. По аналогии с п.
10 данные для , берем на строке 1 табл.
6 и записываем почасовые поступления теплоты 393,8 в строку 9.
12. Максимальный тепловой
поток солнечной радиации на горизонтальную поверхность покрытия поступает в 12
ч и с запаздыванием 2,7´3,93 - 0,4 = 10,2 ч, т.е. в
22 ч поступит в помещение, чему соответствует = 1. Данные для , берем на строке 22 табл.
6 записываем в строку 10 табл. 11,
вычисляем и записываем почасовые поступления теплоты 696,6 , в строку 11, а в строке 12 приводятся общие поступления теплоты
через покрытие.
13. Суммарный максимальный
тепловой поток, нагревающий воздух помещения (строка 13 табл. 11) приходится на 17 часов солнечного времени. Он
составляет 13,8 кВт или 43 % от суммарных максимальных потоков теплоты 30,4
+1,29-0,14+0,88 = 32,4 кВт, рассчитанных с учетом максимального потока
солнечной радиации через остекление.
Пример
2.
Определить максимальное поступление теплового потока солнечной радиации в 17
часов солнечного времени в помещение, характеристика которого дана в примере 1.
Запроектирована защита окон горизонтальными и вертикальными плоскостями в
строительном исполнении - козырьками шириной 600 мм и ребрами шириной 500 мм (рис. 3). Высота окон 2 м и ширина 1,2 м,
размер r = 0,2 м и S = 0,15 м. Азимут окон 45 град. Солнечный азимут
окон 95-45 = 50 град.
Азимут солнца ( ) для периода 17 часов по табл. 3 равен 95 град.
Решение. По формулам (8) и (9) определяем коэффициенты

и = 0,92
Определяем солнцезащитные
углы по формулам (10) и (11):
arctg(0,6/2,2) = ,
20,3°.
По табл. 4 находим = 0,77; 0,85; = 0,77´0,85 = 0,65.
Тепловой поток солнечной
радиации в 17 часов по формуле (3)
составит:
Тепловой поток при
максимальной плотности, принятой в примере 1, с полученными выше коэффициентами
К и К по формуле (3) от
прямой и рассеянной радиации составит: (479´0,578 + 108´0,65)´0,61´85 = 17995 Вт или 59 % от
максимального теплового потока для незатененного окна. С учетом показателя
поглощения, а равного для 17 часов 0,39, тепловой поток, поглощаемый воздухом
помещения составит 0,39´177995 = 7018 Вт.
Поступления от теплопередачи, согласно табл.
11 для 17 часов равны 1026 - 14 + 876 = 1888 Вт, всего 7018 + 1888 = 8906
Вт или 65 % от теплового потока через незатененные окна.
Затенение окон от прямой и
рассеянной радиации составит (1 - 0,59) 2,4 =
0,934 м . Графическое решение затенения окна представлено на рис. 3. При этом затенение окна от прямой радиации
составило:
0,46´2 + 0,74´0,04 = 0,95 м .
Более подробные данные по
средствам солнцезащиты см. [7].
Пример 3. Определить
величину теплового потока солнечной радиации, поступающего в 17 ч в помещение,
характеристика ограждений которого приведена в примере 1. Помещение дополнительно оборудовано зенитным
фонарем с двухслойными стеклопакетами в металлических переплетах площадью 20
кв. м. Окна помещения затенены козырьками и ребрами, как указано в примере 2.
1. Максимальное поступление
теплового потока через затененные окна принимаем по примеру 2 - 8906 Вт.
2. Начало поступления
теплового потока через фонарь по табл. 1
в 5 ч и окончание 20 ч, т.е. продолжительность радиации 15 ч. Максимальный
тепловой поток через фонарь 606+93=699 Вт/(кв. град. С) в 12 ч солнечного
времени.
3. Коэффициент теплоусвоения
для фонаря по формуле (15)
1/(0,31-1/8,7) = 5,1 Вт/(кв. м град. С).
4. Показатель суммарного
теплоусвоения помещения (по аналогии с п. 3 примера
1):
4,44´85+5,1´20+5,03´22+2,19(216-20)+10,2´260+32,9´216+52 = 10830.
5. Показатель интенсивности
конвективного теплообмена остается равным 2547,5 Вт/град. С по п. 4 примера 1.
Следовательно, и показатель поглощения теплового потока воздухом помещения
а = (10830/2547,5) 4,2
6. При максимальной
продолжительности прямой солнечной радиации 12 ч, вместо 15 ч отсутствующих в табл. 5, находим для 4,2, при скорректированном начале радиация 7 ч (вместо 5) для
, т.е. для часа Z+10 - соответствующему 17
часам, по табл. 5 величину а = 0,415.
Тогда расчетами тепловой
поток солнечной радиации через фонарь по формулам (2), (3) и (13), с учетом Q
по аналогии с п. 8 расчета для примера 1
+ Q
= 20(606.1+93.1)0,68.1.0,415 + 20(18,1+0,71.9,2-22)/0,31=
= 3945+170 = 4115 Вт.
7. Тепловой поток через окна
и непрозрачные конструкции помещения в расчетные 17 ч по примеру 2 равен 8906 Вт и через фонарь 4115 Вт, или всего
в помещение поступит 8906+4115=13021 Вт
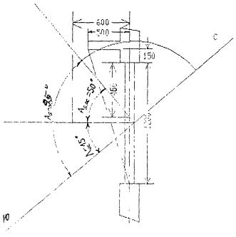
Пример 4. Определить
коэффициенты облученности прямой солнечной радиацией
К и облученности рассеянной радиации К светового проема в наружной стене здания ( 44 град. СШ)
восточной ориентации (А = -90гр.) для 8 ч. ЗО мин. Высота окна Н =2,5 м, ширина В =
2 м. Имеются наружные солнцезащитные устройства: горизонтальные (козырек) и
вертикальные (ребра); 1 = 0,5 м; 1 = 0,5 м; r = 0,2 м; s - 0,3 м, см. рис. 1.
Решение. Коэффициент К при азимуте окна А = -90 град.:
по табл. 3: А = -78 град.; h
= 40 град.
по пункту 8: A =-78 град. - (-90 град.) = 12 град.
По формулам (8) и (9): К = 1- = 0,91;
K = 1 - = 1,1.
В соответствии с примечанием
2 к п. 6 следует принять К = 1.
По п. 4: К = 0,91.1=0,91 или 91% площади светового проема будет
облучаться прямой солнечной радиацией.
Определяем солнцезащитные
углы и по формулам (10) и (11)
= аrсtg =
10°30'; =
аrсtg = 12°15'
по найденным углам  и по табл. 4 определяем К = 0,84 и К = 0,9.
Коэффициент для учета
облучаемости рассеянной радиацией по п. 4, K =
0,9´0,84 = 0,76.
Пример 5. Определить
поступление теплоты прямой и рассеянной солнечной радиации между 15 и 16 часами
через остекление треугольного фонаря общей площадью 42 кв. м. Остекление
ориентировано стороной "а" (рис. 2)
на ЮЗ (азимут остекления А = 55 град.) и стороной "в" на СВ (А = -125 ). Здание расположено в местности 45°СШ. a = 25°.
Решение. На широте 48 град.
азимут солнца между 15 и 16 часами, согласно табл. 3 равен 76 град., высота солнца 40 град. По формуле
(12) определяем солнечный азимут
для остекления: А = 76-55 = 21°; 0°< 21 <
90°; "в" 76 - (-125 ) = 201°; 90°< 201<270°.
При найденных солнечных
азимутах остекления расчет ведем по формулам (4) и (5) для
остекления "а" и по
формулам (6) и (7) для "в", определив по табл. 1:q
=420 Вт/кв. м, q =427; q = 82; q
= 112 Вт/кв.м для ЮЗ ориентации и q
= 0 и q
=59 Вт/кв. м - для СВ ориентации.
Тогда для остекления "а":q =420´0,906+427´0,423=561,1 Вт/кв. м, q = 82´0,906+112´0,423 = 121,7 Вт/кв. м. Для
остекления "в" q
= 420´0,906-0 = 380,5 Вт/кв. м; q
= 82´0,906-59´0,423 = 49,3 Вт/кв. м. Всего
через остекления треугольного фонаря в помещение поступит:
(561,1+121,7)21+(380,5+49,3)21
= 23364,6 Вт или в среднем 556,3
Вт/кв. м.
Таблица 1.
Поверхностная плотность теплового потока J солнечной радиации в июле, прошедшего через вертикальное или
горизонтальное остекление световых проемов, Вт/ время начала и окончания прямой радиации.
|
Географическая
широта, градус
|
Часы до полудня
|
Ориентация
вертикального светового проема (до полудня)
|
Горизонтальный
световой проем
|
Часы после полудня
|
|
С
|
СВ
|
В
|
ЮВ
|
Ю
|
ЮЗ
|
З
|
СЗ
|
|
36
|
5-6
|
56
35
|
140
27
|
157
35
|
42
24
|
__
17
|
__
17
|
__
17
|
__
17
|
13
23
|
18-19
|
|
6-7
|
62
69
|
333
76
|
388
108
|
170
80
|
__
51
|
__
35
|
__
38
|
__
46
|
22
57
|
17-18
|
|
7-8
|
8
79
|
369
108
|
465
130
|
279
128
|
__
79
|
__
56
|
__
53
|
__
57
|
279
78
|
16-17
|
|
8-9
|
__
73
|
274
104
|
443
129
|
335
129
|
3
81
|
__
60
|
__
63
|
__
60
|
465
93
|
15-16
|
|
9-10
|
__
69
|
149
34
|
356
108
|
321
98
|
52
83
|
__
63
|
__
64
|
__
62
|
626
100
|
14-15
|
|
10-11
|
__
67
|
38
71
|
104
88
|
237
86
|
110
83
|
__
71
|
__
65
|
__
65
|
715
105
|
13-14
|
|
11-12
|
__
67
|
__
67
|
31
80
|
126
83
|
151
83
|
3
77
|
__
72
|
__
65
|
747
105
|
12-13
|
|
40
|
5-6
|
71
38
|
170
46
|
214
46
|
50
35
|
__
20
|
__
20
|
__
21
|
__
22
|
19
31
|
18-19
|
|
6-7
|
51
71
|
350
96
|
410
112
|
183
86
|
__
55
|
__
42
|
__
44
|
__
46
|
114
62
|
17-18
|
|
7-8
|
6
78
|
345
114
|
493
133
|
302
100
|
__
71
|
__
56
|
__
55
|
__
57
|
281
78
|
16-17
|
|
8-9
|
__
71
|
258
104
|
471
121
|
354
108
|
60
73
|
__
60
|
__
60
|
__
60
|
431
87
|
15-16
|
|
9-10
|
__
64
|
116
80
|
363
99
|
342
95
|
150
79
|
__
63
|
__
62
|
__
62
|
558
93
|
14-15
|
|
10-11
|
__
62
|
6
71
|
191
81
|
274
86
|
222
83
|
__
67
|
__
62
|
__
65
|
651
100
|
13-14
|
|
11-12
|
__
60
|
__
67
|
35
73
|
172
77
|
257
83
|
45
77
|
__
65
|
__
65
|
692
104
|
12-13
|
|
44
|
5-6
|
84
42
|
222
53
|
292
58
|
72
40
|
__
23
|
__
22
|
__
22
|
__
23
|
31
36
|
18-19
|
|
6-7
|
42
70
|
369
98
|
452
112
|
209
86
|
__
55
|
__
44
|
__
44
|
__
44
|
126
62
|
17-18
|
|
7-8
|
__
77
|
357
110
|
500
130
|
333
109
|
__
71
|
__
55
|
__
55
|
__
55
|
283
76
|
16-17
|
|
8-9
|
__
71
|
256
101
|
490
121
|
398
108
|
66
79
|
__
60
|
__
59
|
__
60
|
481
83
|
15-16
|
|
9-10
|
__
64
|
84
80
|
371
100
|
387
101
|
162
81
|
__
63
|
__
60
|
__
62
|
543
93
|
14-15
|
|
10-11
|
__
60
|
2
71
|
193
81
|
305
86
|
245
84
|
__
67
|
__
60
|
__
64
|
629
98
|
13-14
|
|
11-12
|
__
59
|
__
67
|
37
72
|
214
79
|
288
85
|
73
77
|
__
65
|
__
65
|
668
98
|
12-13
|
|
48
|
5-6
|
93
45
|
356
60
|
327
65
|
95
45
|
__
27
|
__
26
|
__
24
|
__
26
|
37
42
|
18-19
|
|
6-7
|
35
69
|
385
98
|
472
114
|
237
87
|
__
55
|
__
43
|
__
44
|
__
44
|
145
62
|
17-18
|
|
7-8
|
__
74
|
348
107
|
542
129
|
363
109
|
3
73
|
__
53
|
__
53
|
__
53
|
285
73
|
16-17
|
|
8-9
|
__
70
|
222
99
|
497
121
|
427
112
|
80
81
|
__
60
|
__
58
|
__
59
|
420
82
|
15-16
|
|
9-10
|
__
64
|
60
81
|
372
100
|
419
107
|
186
86
|
__
65
|
__
58
|
__
62
|
519
93
|
14-15
|
|
10-11
|
__
60
|
__
71
|
193
81
|
352
94
|
271
87
|
7
70
|
__
60
|
__
64
|
601
95
|
13-14
|
|
11-12
|
__
59
|
__
67
|
37
72
|
251
84
|
317
88
|
106
78
|
__
65
|
__
65
|
643
98
|
12-13
|
|
52
|
5-6
|
102
55
|
301
69
|
371
73
|
116
52
|
__
31
|
__
28
|
__
28
|
__
28
|
57
42
|
18-19
|
|
6-7
|
26
69
|
391
98
|
497
119
|
272
91
|
__
59
|
__
43
|
__
44
|
__
44
|
158
62
|
17-18
|
|
7-8
|
__
71
|
342
106
|
545
129
|
328
110
|
13
76
|
__
55
|
__
53
|
__
53
|
291
73
|
16-17
|
|
8-9
|
__
67
|
196
96
|
498
123
|
448
114
|
94
85
|
__
63
|
__
57
|
__
58
|
419
82
|
15-16
|
|
9-10
|
__
63
|
42
79
|
374
100
|
429
110
|
206
87
|
__
67
|
__
59
|
__
60
|
508
87
|
14-15
|
|
10-11
|
__
60
|
__
69
|
193
84
|
333
96
|
299
90
|
14
72
|
__
60
|
__
62
|
585
93
|
13-14
|
|
11-12
|
__
59
|
__
65
|
37
72
|
272
86
|
344
91
|
150
78
|
__
65
|
__
63
|
630
98
|
12-13
|
|
56
|
4-5
|
88
19
|
165
32
|
237
27
|
28
20
|
__
12
|
__
13
|
__
13
|
__
13
|
33
20
|
19-20
|
|
5-6
|
103
56
|
344
74
|
433
74
|
140
57
|
__
35
|
__
28
|
__
30
|
__
30
|
76
42
|
18-19
|
|
6-7
|
17
66
|
401
93
|
523
115
|
287
90
|
__
58
|
__
42
|
__
43
|
__
44
|
169
57
|
17-18
|
|
7-8
|
__
65
|
339
98
|
547
122
|
424
105
|
22
74
|
__
53
|
__
48
|
__
53
|
287
71
|
16-17
|
|
8-9
|
__
62
|
174
87
|
504
114
|
479
108
|
128
85
|
__
64
|
__
55
|
__
56
|
405
78
|
15-16
|
|
9-10
|
__
58
|
26
71
|
378
91
|
479
102
|
245
88
|
__
67
|
__
56
|
__
57
|
493
87
|
14-15
|
|
10-11
|
__
57
|
__
62
|
193
76
|
427
92
|
347
91
|
21
72
|
__
58
|
__
58
|
566
91
|
13-14
|
|
11-12
|
__
55
|
__
59
|
37
67
|
330
79
|
398
92
|
176
76
|
__
63
|
__
53
|
606
93
|
12-13
|
|
60
|
3-4
|
39
7
|
63
9
|
95
7
|
__
|
__
|
__
|
__
|
__
|
__
|
20-21
|
|
4-5
|
112
28
|
272
40
|
291
37
|
__
28
|
__
16
|
__
15
|
__
14
|
__
14
|
49
23
|
19-20
|
|
5-6
|
107
51
|
387
71
|
448
78
|
152
58
|
__
35
|
__
28
|
__
30
|
__
33
|
92
42
|
18-19
|
|
6-7
|
15
59
|
404
86
|
542
107
|
313
85
|
__
53
|
__
40
|
__
40
|
__
43
|
178
57
|
17-13
|
|
7-8
|
__
57
|
331
83
|
556
110
|
441
96
|
37
10
|
__
49
|
__
45
|
__
50
|
284
65
|
16-17
|
|
8-9
|
__
55
|
146
77
|
509
99
|
501
98
|
166
81
|
__
60
|
__
50
|
__
52
|
391
70
|
15-16
|
|
9-10
|
__
51
|
19
62
|
378
77
|
501
92
|
287
86
|
__
65
|
__
51
|
__
53
|
466
78
|
14-15
|
|
10-11
|
__
51
|
__
55
|
193
65
|
452
84
|
384
91
|
70
69
|
__
53
|
__
53
|
534
80
|
13-14
|
|
11-12
|
__
50
|
__
55
|
37
60
|
363
74
|
449
91
|
215
71
|
__
56
|
__
53
|
578
78
|
12-13
|
|
64
|
3-4
|
70
19
|
126
23
|
121
19
|
35
12
|
__
12
|
__
9
|
__
9
|
__
10
|
34
15
|
20-21
|
|
4-5
|
158
38
|
330
51
|
307
51
|
96
38
|
__
21
|
__
19
|
__
21
|
__
22
|
63
30
|
19-20
|
|
5-6
|
109
52
|
429
74
|
471
85
|
208
62
|
__
36
|
__
28
|
__
31
|
__
35
|
105
42
|
18-19
|
|
6-7
|
12
55
|
408
83
|
558
105
|
362
85
|
__
52
|
__
38
|
__
37
|
__
44
|
187
57
|
17-19
|
|
7-8
|
__
52
|
316
83
|
576
106
|
423
95
|
57
69
|
__
46
|
__
42
|
__
48
|
286
62
|
16-17
|
|
8-9
|
__
51
|
133
73
|
519
95
|
543
95
|
194
79
|
__
58
|
__
46
|
__
50
|
386
62
|
15-16
|
|
9-10
|
__
49
|
12
58
|
379
74
|
544
91
|
331
85
|
__
64
|
__
48
|
__
50
|
443
72
|
14-15
|
|
10-11
|
__
48
|
__
51
|
193
62
|
488
82
|
435
90
|
116
67
|
__
49
|
__
51
|
507
67
|
13-14
|
|
11-12
|
__
48
|
__
51
|
37
57
|
395
74
|
495
90
|
256
70
|
__
51
|
__
51
|
544
65
|
12-13
|
|
68
|
2-3
|
63
17
|
145
16
|
144
12
|
28
9
|
__
8
|
__
6
|
__
7
|
__
8
|
29
15
|
21-22
|
|
3-4
|
112
28
|
281
33
|
258
35
|
70
19
|
__
19
|
__
12
|
__
9
|
__
14
|
59
31
|
20-21
|
|
4-5
|
128
44
|
409
58
|
384
65
|
135
42
|
__
23
|
__
17
|
__
19
|
__
20
|
82
37
|
19-20
|
|
5-6
|
113
52
|
475
78
|
504
95
|
245
66
|
__
38
|
__
28
|
__
31
|
__
38
|
134
46
|
18-19
|
|
6-7
|
9
55
|
412
83
|
534
106
|
336
88
|
7
55
|
__
38
|
__
37
|
__
44
|
198
57
|
17-18
|
|
7-8
|
__
51
|
297
83
|
588
106
|
499
99
|
79
69
|
__
46
|
__
42
|
__
48
|
283
62
|
16-17
|
|
8-9
|
__
51
|
135
74
|
531
98
|
578
99
|
231
102
|
__
58
|
__
46
|
__
49
|
376
62
|
15-16
|
|
9-10
|
__
48
|
5
57
|
394
74
|
583
91
|
369
85
|
__
65
|
__
48
|
__
49
|
440
67
|
14-15
|
|
10-11
|
__
48
|
__
51
|
193
62
|
531
85
|
463
90
|
174
65
|
__
49
|
__
50
|
483
67
|
13- 14
|
|
11-12
|
__
48
|
__
51
|
37
57
|
442
74
|
523
90
|
302
71
|
__
51
|
__
51
|
520
67
|
12-13
|
Примечание: 1. Значения радиации приводятся в табл. 1 в виде дроби:
над чертой -
прямой радиации,
под чертой -
рассеянной.
2. Истинное
солнечное время с поясным временем
приближенно связано соотношением

где: - географическая долгота места строительства в гр.;
N - номер пояса времени, при этом (где - декретное время);
n-
установленное отступление от солнечного времени.
где: - поясное время.
- декретное время.
3. Плотность
теплового потока от рассеянной радиации дана с учетом рассеянного отражения
прямой радиации от земной поверхности со средним альбедо 20 %.
Таблица 2.
Сопротивление теплопередаче и коэффициенты теплопропускания
заполнений световых проемов (окон, балконных дверей и фонарей.)
|
№№ пп
|
Заполнение
светового проема
|
Сопротивление
теплопередаче кв. м. гр. С/Вт (приведенное)
|
Коэффициент
теплопропускания заполнения светового проема, К
|
|
1.
|
Одинарное остекление в деревянных переплетах
|
0,18
|
0,75
|
|
2.
|
Одинарное остекление в металлических переплетах
|
0,15
|
0,90
|
|
3.
|
Двойное остекление в деревянных спаренных переплетах
|
0,39
|
0,60
|
|
4.
|
Двойное остекление в деревянных раздельных переплетах
|
0,42
|
0,51
|
|
5.
|
Двойное остекление в металлических раздельных переплетах
|
0,34
|
0,61
|
|
6.
|
Двойное остекление витрин в металлических раздельных
переплетах
|
0,31
|
0,68
|
|
7.
|
Тройное остекление в деревянных переплетах (спаренный и
одинарный)
|
0,55
|
0,41
|
|
8.
|
Тройное остекление в металлических переплетах разд.
|
0,46
|
0,57
|
|
9.
|
Блоки стеклянные пустотелые размером 194´194´98
при ширине швов 6 мм
|
0,31
|
0,55
|
|
10.
|
Блоки стеклянные пустотелые размером 244´244´98
при ширине швов 6 мм
|
0,33
|
0,59
|
|
11.
|
Профильное стекло швеллерного сечения
|
0,16
|
0,72
|
|
12.
|
Профильное стекло коробчатого сечения
|
0,31
|
0,64
|
|
13.
|
Органическое стекло одинарное
|
0,19
|
1,0
|
|
14.
|
Органическое стекло двойное
|
0,36
|
0,90
|
|
15.
|
Органическое стекло тройное
|
0,52
|
0,82
|
|
16.
|
Двухслойные стеклопакеты в деревянных переплетах
|
0,36
|
0,60
|
|
17.
|
Двухслойные стеклопакеты в металлических переплетах.
|
0,31
|
0,68
|
|
18.
|
Одинарное остекление в раздельных деревянных переплетах и
двухслойные стеклопакеты
|
0,53
|
0,41
|
Примечание 1. Значения приведенных
сопротивлений теплопередачи заполнений световых проемов в деревянных переплетах
даны для случаев, когда отношение площади остекления к площади заполнения
светового проема равно 0,75¸0,85.
При отношении
площади остекления к площади заполнения светового проема в деревянных
переплетах, равном 0,6¸0,74, указанные в таблице значения ROC следует увеличивать на 10 %, а
при отношении площадей, равном 0,88 и более, соответственно уменьшать на 5 %.
2. Значения ROC
взяты по приложению 6* СНиП
II-3-79** .
Таблица 3.
Высота hs и азимут As солнца на различных широтах, град. в июле.
|
Истинное солнечное
время - часы
|
Географическая
широта в град.
|
|
30
|
40
|
44
|
48
|
52
|
56
|
60
|
64
|
68
|
|
до полудня
|
оосле полудня
|
hs
|
As
|
hs
|
As
|
hs
|
As
|
hs
|
As
|
hs
|
As
|
hs
|
As
|
hs
|
As
|
hs
|
As
|
hs
|
As
|
|
2 - 3
|
21 - 22
|
|
|
|
|
|
|
|
|
|
|
|
|
|
|
|
|
4
|
145
|
|
3 - 4
|
20 - 21
|
|
|
|
|
|
|
|
|
|
|
|
|
1
|
130
|
3
|
131
|
6
|
131
|
|
4 - 5
|
19 - 20
|
|
|
|
|
|
|
|
|
3
|
119
|
5
|
120
|
7
|
120
|
9
|
119
|
10
|
118
|
|
5 - 6
|
18 - 19
|
6
|
111
|
8
|
111
|
9
|
111
|
10
|
110
|
12
|
109
|
13
|
108
|
14
|
107
|
15
|
106
|
16
|
104
|
|
6 - 7
|
17 - 18
|
18
|
104
|
19
|
104
|
19
|
100
|
20
|
99
|
21
|
97
|
21
|
95
|
21
|
94
|
21
|
92
|
21
|
91
|
|
7 - 8
|
16 - 17
|
30
|
94
|
29
|
93
|
29
|
90
|
30
|
87
|
30
|
85
|
29
|
82
|
28
|
81
|
27
|
79
|
27
|
77
|
|
8 - 9
|
15 - 16
|
42
|
86
|
41
|
82
|
40
|
78
|
40
|
76
|
38
|
72
|
37
|
69
|
36
|
67
|
34
|
64
|
32
|
61
|
|
9 - 10
|
14 - 15
|
54
|
75
|
52
|
69
|
50
|
65
|
49
|
60
|
47
|
56
|
45
|
53
|
43
|
50
|
40
|
49
|
37
|
45
|
|
10 - 11
|
13 - 14
|
65
|
56
|
62
|
49
|
59
|
45
|
56
|
40
|
54
|
36
|
51
|
33
|
48
|
31
|
44
|
29
|
40
|
28
|
|
11 - 12
|
12 - 13
|
73
|
24
|
69
|
20
|
65
|
18
|
61
|
16
|
58
|
13
|
54
|
12
|
50
|
11
|
46
|
10
|
42
|
9
|
|
12 полдень
|
74
|
0
|
70
|
0
|
66
|
0
|
62
|
0
|
58
|
0
|
54
|
0
|
50
|
0
|
46
|
0
|
42
|
0
|
Таблица 4.
Коэффициенты облученности
|
Тип солнцезащитной конструкции
|
Солнцезащитные
углы и , град. (по рис. 1)
|
|
10
|
20
|
30
|
40
|
50
|
60
|
|
Горизонтальная 
|
0,84
|
0,70
|
0,58
|
0,47
|
0,36
|
0,27
|
|
Вертикальная К
|
0,92
|
0,85
|
0,79
|
0,73
|
0,68
|
0,63
|
Примечание.
Коэффициент
облученности К при наличии горизонтальных и вертикальных элементов
затенения следует определять как произведение соответствующих коэффициентов К =К ´К .
Таблица 5.
Показатель поглощения теплового потока
солнечной радиации "а "
|

|
Часы суток
|
|
Z
|
Z+1
|
Z+2
|
Z+3
|
Z+4
|
Z+5
|
Z+6
|
Z+7
|
Z+8
|
Z+9
|
Z+10
|
Z+11
|
Z+12
|
Z+13
|
Z+14
|
Z+15
|
Z+16
|
Z+17
|
Z+18
|
Z+19
|
Z+20
|
Z+21
|
Z+22
|
Z+23
|
Z+24
|
|
Продолжительность
солнечной радиации 
|
|
0,5
|
0,01
|
0,33
|
0,61
|
0,58
|
0,25
|
0,12
|
0,08
|
0,06
|
0,05
|
0,04
|
0,04
|
0,04
|
0,03
|
0,03
|
0,03
|
0,03
|
0,02
|
0,02
|
0,02
|
0,02
|
0,02
|
0,02
|
0,02
|
0,01
|
0,01
|
|
1,0
|
0,03
|
0,22
|
0,43
|
0,46
|
0,27
|
0,15
|
0,11
|
0,09
|
0,08
|
0,07
|
0,06
|
0,06
|
0,05
|
0,05
|
0,05
|
0,04
|
0,04
|
0,04
|
0,04
|
0,04
|
0,03
|
0,03
|
0,03
|
0,03
|
0,03
|
|
1,5
|
0,04
|
0,16
|
0,33
|
0,38
|
0,26
|
0,16
|
0,12
|
0,10
|
0,09
|
0,08
|
0,07
|
0,07
|
0,07
|
0,06
|
0,06
|
0,06
|
0,05
|
0,05
|
0,05
|
0,05
|
0,05
|
0,04
|
0,04
|
0,04
|
0,04
|
|
2,0
|
0,05
|
0,14
|
0,28
|
0,33
|
0,24
|
0,15
|
0,12
|
0,11
|
0,10
|
0,09
|
0,08
|
0,08
|
0,07
|
0,07
|
0,07
|
0,06
|
0,06
|
0,06
|
0,06
|
0,06
|
0,05
|
0,05
|
0,05
|
0,05
|
0,05
|
|
2,5
|
0,05
|
0,12
|
0,24
|
0,29
|
0,23
|
0,15
|
0,13
|
0,11
|
0,10
|
0,09
|
0,09
|
0,08
|
0,08
|
0,08
|
0,07
|
0,07
|
0,07
|
0,07
|
0,06
|
0,06
|
0,06
|
0,06
|
0,06
|
0,06
|
0,05
|
|
3,0
|
0,06
|
0,11
|
0,22
|
0,27
|
0,22
|
0,15
|
0,12
|
0,11
|
0,10
|
0,10
|
0,09
|
0,09
|
0,08
|
0,08
|
0,08
|
0,08
|
0,07
|
0,07
|
0,07
|
0,07
|
0,06
|
0,06
|
0,06
|
0,06
|
0,06
|
|
3,5
|
0,06
|
0,10
|
0,20
|
0,24
|
0,21
|
0,14
|
0,12
|
0,11
|
0,10
|
0,10
|
0,09
|
0,09
|
0,09
|
0,09
|
0,08
|
0,08
|
0,08
|
0,08
|
0,07
|
0,07
|
0,07
|
0,07
|
0,06
|
0,06
|
0,06
|
|
4,0
|
0,06
|
0,10
|
0,18
|
0,23
|
0,20
|
0,14
|
0,12
|
0,11
|
0,11
|
0,10
|
0,10
|
0,09
|
0,09
|
0,09
|
0,09
|
0,08
|
0,08
|
0,08
|
0,08
|
0,07
|
0,07
|
0,07
|
0,07
|
0,07
|
0,06
|
|
4,5
|
0,07
|
0,10
|
0,17
|
0,21
|
0,19
|
0,14
|
0,12
|
0,11
|
0,11
|
0,10
|
0,10
|
0,10
|
0,09
|
0,09
|
0,09
|
0,09
|
0,08
|
0,08
|
0,08
|
0,08
|
0,08
|
0,07
|
0,07
|
0,07
|
0,07
|
|
5,0
|
0,07
|
0,09
|
0,16
|
0,20
|
0,18
|
0,13
|
0,12
|
0,11
|
0,11
|
0,10
|
0,10
|
0,10
|
0,09
|
0,09
|
0,09
|
0,09
|
0,08
|
0,08
|
0,08
|
0,08
|
0,08
|
0,07
|
0,07
|
0,07
|
0,07
|
|
5,5
|
0,07
|
0,09
|
0,15
|
0,19
|
0,18
|
0,13
|
0,12
|
0,11
|
0,11
|
0,10
|
0,10
|
0,10
|
0,10
|
0,09
|
0,09
|
0,09
|
0,08
|
0,08
|
0,08
|
0,08
|
0,08
|
0,08
|
0,07
|
0,07
|
0,07
|
|
6,0
|
0,07
|
0,09
|
0,15
|
0,19
|
0,17
|
0,13
|
0,12
|
0,11
|
0,11
|
0,11
|
0,10
|
0,10
|
0,10
|
0,10
|
0,09
|
0,09
|
0,09
|
0,09
|
0,08
|
0,08
|
0,08
|
0,08
|
0,08
|
0,07
|
0,07
|
|
Продолжительность
солнечной радиации 
|
|
0,5
|
0,02
|
0,24
|
0,50
|
0,66
|
0,68
|
0,52
|
0,25
|
0,13
|
0,10
|
0,08
|
0,07
|
0,06
|
0,05
|
0,05
|
0,05
|
0,04
|
0,04
|
0,04
|
0,08
|
0,03
|
0,03
|
0,03
|
0,02
|
0,02
|
0,02
|
|
1,0
|
0,04
|
0,17
|
0.36
|
0,50
|
0,54
|
0,46
|
0,28
|
0,18
|
0,14
|
0,12
|
0,10
|
0,09
|
0,09
|
0,08
|
0,08
|
0,07
|
0,07
|
0,06
|
0,06
|
0,06
|
0,05
|
0,05
|
0,05
|
0,05
|
0,04
|
|
1,5
|
0,06
|
0,15
|
0,29
|
0,40
|
0,45
|
0,41
|
0,28
|
0,19
|
0,16
|
0,14
|
0,12
|
0,11
|
0,11
|
0,10
|
0,09
|
0,09
|
0,09
|
0,03
|
0,08
|
0,07
|
0,07
|
0,07
|
0,07
|
0,06
|
0,06
|
|
2,0
|
0,07
|
0,13
|
0,25
|
0,35
|
0,39
|
0,37
|
0,27
|
0,20
|
0,17
|
0,15
|
0,14
|
0,13
|
0,12
|
0,11
|
0,11
|
0,10
|
0,10
|
0,09
|
0,09
|
0,09
|
0,08
|
0,08
|
0,08
|
0,08
|
0,07
|
|
2,5
|
0,08
|
0,13
|
0,22
|
0,31
|
0,35
|
0,34
|
0,26
|
0,20
|
0,17
|
0,15
|
0,14
|
0,13
|
0,13
|
0,12
|
0,12
|
0,11
|
0,11
|
0,10
|
0,10
|
0,10
|
0,09
|
0,09
|
0,09
|
0,09
|
0,08
|
|
3,0
|
0,09
|
0,12
|
0,21
|
0,28
|
0,32
|
0,31
|
0,26
|
0,20
|
0,17
|
0,16
|
0,15
|
0,14
|
0,13
|
0,13
|
0,12
|
0,12
|
0,11
|
0,11
|
0,11
|
0,10
|
0,10
|
0,10
|
0,10
|
0,09
|
0,09
|
|
3,5
|
0,09
|
0,12
|
0,19
|
0,26
|
0,30
|
0,28
|
0,25
|
0,19
|
0,17
|
0,16
|
0,15
|
0,14
|
0,14
|
0,13
|
0,13
|
0,12
|
0,12
|
0,11
|
0,11
|
0,11
|
0,10
|
0,10
|
0,10
|
0,10
|
0,09
|
|
4,0
|
0,10
|
0,12
|
0,18
|
0,25
|
0,28
|
0,28
|
0,24
|
0,19
|
0,17
|
0,16
|
0,15
|
0,15
|
0,14
|
0,14
|
0,13
|
0,13
|
0,13
|
0,12
|
0,12
|
0,12
|
0,11
|
0,11
|
0,11
|
0,10
|
0,10
|
|
4,5
|
0,10
|
0,12
|
0,18
|
0,23
|
0,27
|
0,27
|
0,23
|
0,19
|
0,17
|
0,16
|
0,15
|
0,15
|
0,14
|
0,14
|
0,13
|
0,13
|
0,13
|
0,12
|
0,12
|
0,12
|
0,11
|
0,11
|
0,11
|
0,11
|
0, 11
|
|
5,0
|
0,11
|
0,12
|
0,17
|
0,22
|
0,26
|
0,26
|
0,23
|
0,19
|
0,17
|
0,16
|
0,16
|
0,16
|
0,15
|
0,14
|
0,14
|
0,14
|
0,13
|
0,13
|
0,13
|
0,13
|
0,12
|
0,12
|
0,11
|
0,11
|
0,11
|
|
5,5
|
0,11
|
0,12
|
0,17
|
0,21
|
0,25
|
0,25
|
0,22
|
0,18
|
0,17
|
0,16
|
0,16
|
0,15
|
0,15
|
0,15
|
0,14
|
0,14
|
0,13
|
0,13
|
0,13
|
0,12
|
0,12
|
0,12
|
0,12
|
0,11
|
0,11
|
|
6,0
|
0,11
|
0,12
|
0,16
|
0,21
|
0,24
|
0,24
|
0,22
|
0,18
|
0,17
|
0,16
|
0,16
|
0,16
|
0,15
|
0,15
|
0,14
|
0,14
|
0,14
|
0,13
|
0,13
|
0.13
|
0,12
|
0,12
|
0,12
|
0,11
|
0,11
|
|
Продолжительность
солнечной радиации 
|
|
0,5
|
0,06
|
0,20
|
0,41
|
0,60
|
0,71
|
0,72
|
0,64
|
0,50
|
0,24
|
0,15
|
0,11
|
0,09
|
0,08
|
0,07
|
0,07
|
0,06
|
0,06
|
0,05
|
0,05
|
0,05
|
0,04
|
0,04
|
0,04
|
0,03
|
0,03
|
|
1,0
|
0,06
|
0,16
|
0,31
|
0,45
|
0,55
|
0,59
|
0,55
|
0,45
|
0,29
|
0,20
|
0,17
|
0,14
|
0,13
|
0,12
|
0,11
|
0,10
|
0,10
|
0,10
|
0,09
|
0,08
|
0,08
|
0,07
|
0,07
|
0,07
|
0,06
|
|
1,5
|
0,08
|
0,15
|
0,26
|
0,38
|
0,46
|
0,50
|
0,49
|
0,42
|
0,30
|
0,22
|
0,19
|
0,17
|
0,15
|
0,14
|
0,13
|
0.13
|
0,13
|
0,11
|
0,11
|
0,10
|
0,10
|
0,10
|
0,09
|
0,09
|
0,08
|
|
2,0
|
0,10
|
0,14
|
0,24
|
0,33
|
0,40
|
0,44
|
0,44
|
0,39
|
0,30
|
0,23
|
0,20
|
0,18
|
0,17
|
0,16
|
0,15
|
0,14
|
0,14
|
0,13
|
0,13
|
0,12
|
0,12
|
0,11
|
0,11
|
0,10
|
0,10
|
|
2,5
|
0,11
|
0,15
|
0,22
|
0,30
|
0,37
|
0,40
|
0,40
|
0,37
|
0,29
|
0,23
|
0,21
|
0,19
|
0,18
|
0,17
|
0,16
|
0,16
|
0,15
|
0,14
|
0,14
|
0,14
|
0,13
|
0,13
|
0,12
|
0,12
|
0,11
|
|
3,0
|
0,12
|
0,14
|
0,21
|
0,28
|
0,34
|
0,37
|
0,38
|
0,35
|
0,29
|
0,24
|
0,21
|
0,20
|
0,19
|
0,18
|
0,17
|
0,16
|
0,16
|
0,15
|
0,15
|
0,14
|
0,14
|
0.14
|
0,13
|
0,13
|
0,12
|
|
3,5
|
0,13
|
0,15
|
0,20
|
0,27
|
0,32
|
0,35
|
0,36
|
0,33
|
0,29
|
0,24
|
0,21
|
0,20
|
0,19
|
0,18
|
0,18
|
0,17
|
0,17
|
0,16
|
0,16
|
0,15
|
0,15
|
0,14
|
0,14
|
0,13
|
0,13
|
|
4,0
|
0,14
|
0,15
|
0,20
|
0,25
|
0,30
|
0,33
|
0.34
|
0,32
|
0,28
|
0,27
|
0,22
|
0,21
|
0,20
|
0,19
|
0,18
|
0,18
|
0,17
|
0,17
|
0,16
|
0,16
|
0.16
|
0,15
|
0,15
|
0,14
|
0,14
|
|
4,5
|
0,14
|
0,15
|
0,20
|
0,25
|
0,29
|
0,32
|
0,32
|
0,31
|
0,27
|
0,23
|
0,22
|
0,21
|
0,20
|
0,19
|
0,18
|
0,18
|
0,18
|
0,17
|
0,17
|
0,16
|
0,16
|
0,16
|
0,15
|
0,15
|
0,14
|
|
5,0
|
0,15
|
0,16
|
0,19
|
0,24
|
0,28
|
0,31
|
0,31
|
0,30
|
0,27
|
0,23
|
0,22
|
0,21
|
0,20
|
0,20
|
0,19
|
0,19
|
0,18
|
0,18
|
0,17
|
0,17
|
0,16
|
0,16
|
0,16
|
0,15
|
0,15
|
|
5,5
|
0,15
|
0,16
|
0,19
|
0,23
|
0,27
|
0,29
|
0,30
|
0,29
|
0,26
|
0,23
|
0,22
|
0,21
|
0,20
|
0,20
|
0,19
|
0,19
|
0,18
|
0,18
|
0,17
|
0,17
|
0,17
|
0,16
|
0,16
|
0,15
|
0,15
|
|
6,0
|
0,15
|
0,16
|
0,19
|
0,23
|
0,26
|
0,29
|
0,30
|
0,29
|
0,26
|
0,23
|
0,22
|
0,21
|
0,21
|
0,20
|
0,20
|
0,19
|
0,18
|
0,18
|
0,18
|
0,17
|
0,17
|
0,16
|
0,16
|
0,16
|
0,15
|
|
Продолжительность
солнечной радиации 
|
|
0,5
|
0,04
|
0,17
|
0,35
|
0,52
|
0,66
|
0,74
|
0,76
|
0,71
|
0,60
|
0,44
|
0,24
|
0,16
|
0,13
|
0,11
|
0,09
|
0,09
|
0,08
|
0,07
|
0,07
|
0,06
|
0,06
|
0,05
|
0,05
|
0,05
|
0,04
|
|
1,0
|
0,08
|
0,16
|
0,28
|
0,41
|
0,52
|
0,60
|
0,63
|
0,61
|
0,55
|
0,44
|
0,30
|
0,22
|
0,19
|
0,16
|
0,15
|
0,14
|
0,13
|
0,12
|
0,11
|
0,11
|
0,10
|
0,10
|
0,09
|
0,09
|
0,08
|
|
1,5
|
0,11
|
0,16
|
0,25
|
0,35
|
0,44
|
0,51
|
0,54
|
0,54
|
0,50
|
0,43
|
0,32
|
0,25
|
0,22
|
0,20
|
0,18
|
0,17
|
0,16
|
0,15
|
0,14
|
0,14
|
0,13
|
0,13
|
0,12
|
0,12
|
0,11
|
|
2,0
|
0,13
|
0,16
|
0,24
|
0,32
|
0,40
|
0,45
|
0,49
|
0,49
|
0,46
|
0,41
|
0,33
|
0,27
|
0,24
|
0,22
|
0,20
|
0,19
|
0,18
|
0,17
|
0,16
|
0 16
|
0,15
|
0,15
|
0,14
|
0,14
|
0,13
|
|
2,5
|
0,15
|
1,17
|
0,23
|
0,30
|
0,37
|
0,42
|
0,45
|
0,46
|
0,44
|
0,39
|
0,32
|
0,27
|
0,25
|
0,23
|
0,21
|
0,20
|
0,20
|
0,19
|
0,18
|
0,18
|
0,17
|
0,16
|
0,16
|
0,15
|
0,15
|
|
3,0
|
0,16
|
0,18
|
0,23
|
0,29
|
0,34
|
0,39
|
0,42
|
0,43
|
0,42
|
0,38
|
0,32
|
0,28
|
0,25
|
0,24
|
0,22
|
0,21
|
0,21
|
0,20
|
0,19
|
0,19
|
0,18
|
0,18
|
0,17
|
0,16
|
0,16
|
|
3,5
|
0,17
|
0,18
|
0,22
|
0,28
|
0,33
|
0,37
|
0,40
|
0,41
|
0,40
|
0,37
|
0,32
|
0,28
|
0,26
|
0,24
|
0,23
|
0,22
|
0,22
|
0,21
|
0,20
|
0,20
|
0,19
|
0,18
|
0,18
|
0,17
|
0,17
|
|
4,0
|
0,18
|
0,19
|
0,22
|
0,27
|
0,31
|
0,35
|
0,33
|
0,39
|
0,38
|
0,36
|
0,32
|
0,28
|
0,26
|
0,25
|
0,24
|
0,23
|
0,22
|
0,22
|
0,21
|
0,21
|
0,20
|
0,19
|
0,19
|
0,18
|
0,18
|
|
4,5
|
0,18
|
0,19
|
0,22
|
0,27
|
0,21
|
0,34
|
0,37
|
0,37
|
0,37
|
0,35
|
0,31
|
0,28
|
0,26
|
0,25
|
0,24
|
0,23
|
0,23
|
0,22
|
0,22
|
0,21
|
0,21
|
0,20
|
0,19
|
0,19
|
0,18
|
|
5,0
|
0,19
|
0,19
|
0,22
|
0,26
|
0,30
|
0,33
|
0,35
|
0,36
|
0,36
|
0,34
|
0,31
|
0,28
|
0,27
|
0,25
|
0,25
|
0,24
|
0,23
|
0,23
|
0,22
|
0,22
|
0,21
|
0,20
|
0,20
|
0,19
|
0,19
|
|
5,5
|
0,19
|
0,20
|
0,22
|
0,26
|
0,29
|
0,32
|
0,34
|
0,35
|
0,35
|
0,35
|
0,31
|
0,28
|
0,27
|
0,26
|
0,25
|
0,24
|
0,23
|
0,23
|
0,23
|
0,22
|
0,22
|
0,21
|
0,21
|
0,20
|
0,19
|
|
6,0
|
0,20
|
0,20
|
0,22
|
0,25
|
0,29
|
0,31
|
0,33
|
0,35
|
0,34
|
0,33
|
0,31
|
0,28
|
0,27
|
0,26
|
0,26
|
0,25
|
0,24
|
0,24
|
0,23
|
0,22
|
0,22
|
0,21
|
0,21
|
0,20
|
0,20
|
|
Продолжительность
солнечной радиации 
|
|
0,5
|
0,06
|
0,16
|
0,32
|
0,47
|
0,50
|
0,70
|
0,77
|
0,78
|
0,75
|
0,68
|
0.56
|
0,41
|
0,24
|
0,16
|
0,14
|
0,12
|
0,11
|
0,10
|
0,09
|
0,08
|
0,08
|
0,07
|
0,06
|
0,06
|
0,06
|
|
1,0
|
0,10
|
0,17
|
0,27
|
0,33
|
0,44
|
0,57
|
0,63
|
0,66
|
0,65
|
0,61
|
0,54
|
0,44
|
0,31
|
0,24
|
0,21
|
0,18
|
0,17
|
0,16
|
0,15
|
0,14
|
0,13
|
0,12
|
0,12
|
0,11
|
0,10
|
|
1,5
|
0,14
|
0,18
|
0,26
|
0,34
|
0,43
|
0,50
|
0,55
|
0,58
|
0,59
|
0,56
|
0,51
|
0,43
|
0,34
|
0,27
|
0,24
|
0,22
|
0,21
|
0,19
|
0,18
|
0,17
|
0,17
|
0,16
|
0,15
|
0,15
|
0,14
|
|
2,0
|
0,16
|
0,19
|
0,25
|
0,32
|
0,39
|
0,45
|
0,50
|
0,53
|
0,54
|
0,52
|
0,48
|
0.43
|
0,35
|
0,29
|
0,27
|
0,25
|
0,23
|
0,22
|
0,21
|
0,20
|
0,19
|
0,18
|
0,18
|
0,17
|
0,16
|
|
2,5
|
0,18
|
0,20
|
0,25
|
0,31
|
0,37
|
0,42
|
0,46
|
0,49
|
0,50
|
0,49
|
0,46
|
0,41
|
0,35
|
0,30
|
0,28
|
0,26
|
0,25
|
0,24
|
0,23
|
0,22
|
0,21
|
0,20
|
0,20
|
0,19
|
0,18
|
|
3,0
|
0,20
|
0,21
|
0,25
|
0,30
|
0,35
|
0,40
|
0,44
|
0,47
|
0,41
|
0,47
|
0,45
|
0,41
|
0,36
|
0,31
|
0,29
|
0,27
|
0,26
|
0,25
|
0,24
|
0,24
|
0,22
|
0,22
|
0,21
|
0,20
|
0,20
|
|
3,5
|
0,21
|
0,22
|
0,25
|
0,30
|
0,34
|
0,38
|
0,42
|
0,44
|
0,45
|
0,45
|
0,40
|
0,40
|
0,38
|
0,32
|
0,30
|
0,28
|
0,27
|
0,25
|
0,25
|
0,24
|
0,23
|
0,23
|
0,22
|
0,22
|
0,21
|
|
4,0
|
0,22
|
0,23
|
0,26
|
0,27
|
0,33
|
0,37
|
0,40
|
0,42
|
0,44
|
0 43
|
0,42
|
0,39
|
0,35
|
0,32
|
0,30
|
0,29
|
0,28
|
0,27
|
0,26
|
0,26
|
0,25
|
0,24
|
0,23
|
0,23
|
0,22
|
|
4,5
|
0,23
|
0,23
|
0,26
|
0,29
|
0,36
|
0,36
|
0,39
|
0.41
|
0,42
|
0,42
|
0,41
|
0,38
|
0,35
|
0,32
|
0,30
|
0,29
|
0,28
|
0,27
|
0,27
|
0,26
|
0,25
|
0,25
|
0,24
|
0,23
|
0,23
|
|
5,0
|
0,23
|
0,24
|
0,26
|
0,29
|
0,32
|
0,35
|
0,38
|
0,40
|
0,41
|
0,41
|
0,40
|
0,38
|
0,35
|
0,32
|
0,31
|
0,30
|
0,30
|
0,28
|
0,27
|
0,27
|
0,26
|
0,25
|
0,25
|
0,24
|
0,23
|
|
5,5
|
0,24
|
0,24
|
0,26
|
0,29
|
0,32
|
0,34
|
0,37
|
0,39
|
0,40
|
0,40
|
0,39
|
0,38
|
0,35
|
0,32
|
0,32
|
0,30
|
0,30
|
0,29
|
0,28
|
0,28
|
0,27
|
0,26
|
0,26
|
0,25
|
0,24
|
|
6,0
|
0,24
|
0,24
|
0,26
|
0,29
|
0,31
|
0,34
|
0,36
|
0,35
|
0,39
|
0,40
|
0,39
|
0,38
|
0,35
|
0,33
|
0,32
|
0,31
|
0,30
|
0,29
|
0,28
|
0,28
|
0,27
|
0,26
|
0,26
|
0,25
|
0,24
|
Примечание: если Z=m
> 24 ч, то коэффициент принимается для Z= m - 24 ч
Таблица 6
Коэффициент гармонического изменения температуры наружного
воздуха для каждого часа суток.
|
|
ЧАСЫ СУТОК
|
|

|
1
|
2
|
3
|
4
|
5
|
6
|
7
|
8
|
9
|
10
|
11
|
12
|
13
|
14
|
15
|
16
|
17
|
18
|
19
|
20
|
21
|
22
|
23
|
24
|
|
1
|
1
|
0,97
|
0,87
|
0,71
|
0,5
|
0,26
|
0
|
-0,26
|
-0,5
|
-0,71
|
-0,87
|
-0,97
|
-1
|
-0,97
|
-0,87
|
-0,71
|
-0,5
|
-0,26
|
0
|
0,26
|
0,5
|
0,71
|
0,87
|
0,97
|
|
2
|
0,97
|
1
|
0,07
|
0,97
|
0,71
|
0,5
|
0,26
|
0
|
-0,26
|
-0,5
|
-0,71
|
-0,87
|
-0,97
|
-1
|
-0,97
|
-0,87
|
-0,71
|
-0,5
|
-0,26
|
0
|
0,26
|
0,5
|
0,71
|
0,87
|
|
3
|
0,87
|
0,97
|
1
|
0,97
|
0,87
|
0,71
|
0,5
|
0,26
|
0
|
-0,26
|
-0,5
|
-0,71
|
-0,87
|
-0,91
|
-1
|
-0,97
|
-0,87
|
-0,71
|
-0,5
|
-0,26
|
0
|
0,26
|
0,5
|
0,71
|
|
4
|
0,71
|
0,87
|
0,97
|
1
|
0,97
|
0,57
|
0,71
|
0,5
|
0,26
|
0
|
-0,26
|
-0,5
|
-0,71
|
-0,87
|
-0,97
|
-1
|
-0,97
|
-0,87
|
-0,71
|
-0,5
|
-0,26
|
0
|
0,26
|
0,5
|
|
5
|
0,5
|
0,71
|
0,87
|
0,97
|
1
|
0,97
|
0,87
|
0,71
|
0,5
|
0,26
|
0
|
-0,26
|
-0,5
|
-0,71
|
-0,87
|
-0,97
|
-1
|
-0,97
|
-0,87
|
-0,71
|
-0,5
|
-0,26
|
0
|
0,26
|
|
6
|
0,26
|
0,5
|
0,71
|
0,87
|
0,97
|
1
|
0,97
|
0,87
|
0,71
|
0,5
|
0,26
|
0
|
-0,26
|
-0,5
|
-0,71
|
-0,87
|
-0,97
|
-1
|
-0,97
|
-0,87
|
-0,71
|
-0,5
|
-0,26
|
0
|
|
7
|
0
|
0,26
|
0,5
|
0,71
|
0,87
|
0,97
|
1
|
0,97
|
0,87
|
0,71
|
0,5
|
0,26
|
0
|
0,26
|
-0,5
|
-0,71
|
-0,87
|
-0,97
|
-1
|
-0,97
|
-0,97
|
-0,71
|
-0,5
|
-0,26
|
|
8
|
-0,26
|
0
|
0,26
|
0,5
|
0,71
|
0,87
|
0,97
|
1
|
0,97
|
0,87
|
0,71
|
0,5
|
0,26
|
0
|
-0,26
|
-0,5
|
-0,71
|
-0,87
|
-0,97
|
-1
|
-0,97
|
-0,87
|
-0,71
|
-0,5
|
|
9
|
-0,5
|
-0,26
|
0
|
0,26
|
0,5
|
0,71
|
0,87
|
0,97
|
1
|
0,97
|
0,87
|
0,71
|
0,5
|
0,26
|
0
|
-0,26
|
-0,5
|
-0,71
|
-0,87
|
-0,97
|
-1
|
-0,97
|
-0,87
|
-0,71
|
|
10
|
-0,71
|
-0,5
|
-0,26
|
0
|
0,26
|
0,5
|
0,71
|
0,87
|
0,97
|
1
|
0,97
|
0,87
|
0,71
|
0,5
|
0,26
|
0
|
-0,26
|
-0,5
|
-0,71
|
-0,87
|
-0,97
|
-1
|
-0,97
|
-0,87
|
|
11
|
-0,87
|
-0,71
|
-0,5
|
-0,26
|
0
|
0,26
|
0,5
|
0,71
|
0,87
|
0,97
|
1
|
0,97
|
0,87
|
0,71
|
0,5
|
0,26
|
0
|
-0,26
|
-0,5
|
-0,71
|
-0,87
|
-0,97
|
-1
|
-0,97
|
|
12
|
-0,97
|
-0,87
|
-0,71
|
-0,5
|
-0,26
|
0
|
0,26
|
0,5
|
0,71
|
0,87
|
0,97
|
1
|
0,97
|
0,87
|
0,71,
|
0,5
|
0,26
|
0
|
-0,26
|
-0,5
|
-0,71
|
-0,87
|
-0,97
|
-1
|
|
13
|
-1
|
-0,97
|
-0,87
|
-0,71
|
-0,5
|
-0,26
|
0
|
0,26
|
0,5
|
0,71
|
0,87
|
0,97
|
1
|
0,97
|
0,87
|
0,71
|
0,5
|
0,26
|
0
|
-0,26
|
-0,5
|
-0,71
|
-0,87
|
-0,97
|
|
14
|
-0,97
|
-1
|
-0,97
|
-0,87
|
-0,71
|
-0,5
|
-0,26
|
0
|
0,26
|
0,5
|
0,71
|
0,87
|
0,97
|
1
|
0,97
|
0,87
|
0,71
|
0,5
|
0,26
|
0
|
-0,26
|
-0,5
|
-0,71
|
-0,87
|
|
15
|
-0,87
|
-0,97
|
-1
|
-0,97
|
-0,87
|
-0,71
|
-0,5
|
-0,26
|
0
|
0,26
|
0,5
|
0,71
|
0,87
|
0,97
|
1
|
0,97
|
0,87
|
0,71
|
0,5
|
0,26
|
0
|
-0,26
|
-0,5
|
-0,71
|
|
16
|
-0,71
|
-0,87
|
-0,97
|
-1
|
-0,97
|
-0,87
|
-0,71
|
-0,5
|
-0,26
|
0
|
0,26
|
0,5
|
0,71
|
0,87
|
0,97
|
1
|
0,97
|
0,87
|
0,71
|
0,5
|
0,26
|
0
|
-0,26
|
-0,5
|
|
17
|
-0,5
|
-0,71
|
-0,87
|
-0,97
|
-1
|
-0,97
|
-0,87
|
-0,71
|
-0,5
|
-0,26
|
0
|
0,26
|
0,5
|
0,71
|
0,87
|
0,97
|
1
|
0,97
|
0,87
|
0,71
|
0,5
|
0,26
|
0
|
-0,26
|
|
18
|
-0,26
|
-0,5
|
-0,71
|
-0,87
|
-0,97
|
-1
|
-0,97
|
-0,87
|
-0,71
|
-0,5
|
-0,26
|
0
|
0,26
|
0,5
|
0,71
|
0,87
|
0,97
|
1
|
0,97
|
0,87
|
0,71
|
0,5
|
0,26
|
0
|
|
19
|
0
|
-0,26
|
-0,5
|
-0,71
|
-0,87
|
-0,97
|
-1
|
-0,97
|
-0,87
|
-0,71
|
-0,5
|
-0,26
|
0
|
0,26
|
0,5
|
0,71
|
0,87
|
0,97
|
1
|
0,97
|
0,87
|
0,71
|
0,5
|
0,26
|
|
20
|
0,26
|
0
|
-0,26
|
-0,5
|
-0,71
|
-0,87
|
-0,97
|
-1
|
-0,97
|
-0,87
|
-0,71
|
-0,5
|
-0,26
|
0
|
0,26
|
0,5
|
0,71
|
0,87
|
0,97
|
1
|
0,97
|
0,87
|
0,71
|
0,5
|
|
21
|
0,5
|
0,26
|
0
|
-0,26
|
-0,5
|
-0,71
|
-0,87
|
-0,97
|
-1
|
-0,97
|
-0,87
|
-0,71
|
-0,5
|
-0,26
|
0
|
0,26
|
0,5
|
0,71
|
0,87
|
0,97
|
1
|
0,97
|
0,87
|
0,71
|
|
22
|
0,71
|
0,5
|
0,26
|
0
|
-0,26
|
-0,5
|
-0,71
|
-0,87
|
-0,97
|
-1
|
-0,97
|
-0,87
|
-0,71
|
-0,5
|
-0,26
|
0
|
0,26
|
0,5
|
0,71
|
0,87
|
0,97
|
1
|
0,97
|
0,87
|
|
23
|
0,87
|
0,71
|
0,5
|
0,26
|
0
|
-0,26
|
-0,5
|
-0,71
|
-0,87
|
-0,97
|
-1
|
-0,97
|
-0,87
|
-0,71
|
-0,5
|
-0,26
|
0
|
0,26
|
0,5
|
0,71
|
0,87
|
0,97
|
1
|
0,97
|
|
24
|
0,97
|
0,57
|
0,71
|
0,5
|
0,26
|
0
|
0
|
-0,5
|
-0,71
|
-0,87
|
-0,97
|
-1
|
-0,97
|
-0,87
|
-0,71
|
-0,5
|
-0,26
|
0
|
0,26
|
0,5
|
0,71
|
0,87
|
0,97
|
1
|
Примечание: если =а>24 ч, то значение коэффициента принимается для
соответствующего часа суток при =а-24 ч.
Таблица
7.
Поверхностная плотность потока солнечной
радиации: , поступающей на горизонтальную поверхность, Вт/ , в июле
|
Географическая
широта град.
|
ЧАСЫ СУТОК ДО
ПОЛУДНЯ Jмакс
|
Среднее суточное
значение Jср
|
|
5-6
|
6-7
|
7-8
|
8-9
|
9-10
|
10-11
|
11-12
|
|
36
|
48
35
|
164
77
|
334
10
|
521
133
|
654
143
|
770
149
|
849
151
|
344
|
|
40
|
56
42
|
168
84
|
338
105
|
509
119
|
635
126
|
743
135
|
788
140
|
333
|
|
44
|
77
49
|
181
84
|
349
102
|
509
112
|
621
126
|
718
131
|
761
133
|
331
|
|
48
|
91
56
|
209
84
|
356
99
|
495
112
|
593
126
|
685
129
|
733
133
|
328
|
|
52
|
119
56
|
223
84
|
364
100
|
495
112
|
586
119
|
666
126
|
719
133
|
329
|
|
56
|
140
56
|
237
77
|
359
96
|
482
105
|
572
119
|
650
122
|
691
126
|
327
|
|
60
|
160
56
|
251
77
|
359
87
|
468
91
|
544
105
|
615
105
|
663
105
|
319
|
|
64
|
174
56
|
258
77
|
363
84
|
468
84
|
523
98
|
588
92
|
628
91
|
319
|
|
68
|
216
63
|
272
77
|
363
84
|
461
84
|
523
91
|
570
92
|
607
91
|
332
|
|
|
ЧАСЫ СУТОК ПОСЛЕ
ПОЛУДНЯ
|
|
|
18-19
|
17-18
|
16-17
|
15-16
|
14-15
|
13-14
|
12-13
|
|
Таблица
8.
Поверхностная плотность потока солнечной
радиации: , поступающей на вертикальную поверхность, северной
ориентации, Вт/м2, в июле
|
Географическая
широта, град.
|
ЧАСЫ СУТОК ДО
ПОЛУДНЯ Jмакс
|
Среднее суточное
значение Jcp
|
|
5-6
|
6-7
|
7-8
|
8-9
|
9-10
|
10-11
|
11-12
|
|
36
|
79
32
|
128
93
|
58
107
|
__
99
|
__
93
|
__
91
|
__
91
|
73
|
|
40
|
105
43
|
104
95
|
52
106
|
__
96
|
__
86
|
__
82
|
__
81
|
71
|
|
44
|
125
52
|
99
94
|
20
104
|
__
96
|
__
86
|
__
81
|
__
80
|
72
|
|
48
|
141
60
|
93
93
|
__
104
|
__
94
|
__
86
|
__
81
|
__
80
|
73
|
|
52
|
155
73
|
77
93
|
__
96
|
__
91
|
__
85
|
__
81
|
__
80
|
79
|
|
56
|
159
76
|
64
90
|
__
87
|
__
83
|
__
78
|
__
77
|
__
74
|
80
|
|
60
|
157
70
|
53
80
|
__
77
|
__
73
|
__
70
|
__
69
|
__
67
|
82
|
|
64
|
160
71
|
37
74
|
__
71
|
__
69
|
__
66
|
__
65
|
__
65
|
88
|
|
68
|
166
71
|
20
73
|
__
70
|
__
69
|
__
67
|
__
65
|
__
64
|
104
|
|
|
ЧАСЫ СУТОК ПОСЛЕ ПОЛУДНЯ
|
|
|
18-19
|
17-18
|
16-17
|
15-16
|
14-15
|
13-14
|
12-13
|
|
Таблица 8а.
Поверхностная плотность потока солнечной
радиации: , поступающей на вертикальную поверхность, южной ориентации,
Вт/ , в июле
|
Географическая
широта, град.
|
ЧАСЫ
СУТОК ДО ПОЛУДНЯ Jмакс
|
Среднее суточное
значение Jcp
|
|
5-6
|
6-7
|
7-8
|
8-9
|
9-10
|
10-11
|
11-12
|
|
36
|
__
|
__
28
|
__
98
|
___
132
|
___
132
|
___
133
|
___
133
|
55
|
|
40
|
__
27
|
__
72
|
__
95
|
60
106
|
150
106
|
222
109
|
257
110
|
110
|
|
44
|
__
31
|
__
73
|
7
96
|
99
106
|
199
110
|
276
113
|
314
114
|
128
|
|
48
|
__
36
|
__
73
|
28
99
|
137
110
|
242
116
|
327
118
|
370
120
|
159
|
|
52
|
__
43
|
__
80
|
58
102
|
171
114
|
283
119
|
378
121
|
424
123
|
168
|
|
56
|
__
46
|
__
78
|
83
101
|
207
114
|
327
120
|
428
122
|
479
124
|
187
|
|
60
|
__
46
|
5
72
|
108
94
|
250
109
|
369
116
|
471
122
|
534
123
|
204
|
|
64
|
__
49
|
9
71
|
136
93
|
279
106
|
412
114
|
518
121
|
582
121
|
221
|
|
68
|
51
51
|
14
73
|
145
93
|
320
106
|
465
115
|
568
121
|
637
121
|
241
|
|
|
ЧАСЫ УТОК ПОСЛЕ
ПОЛУДНЯ
|
|
|
18-19
|
17-18
|
16-17
|
15-16
|
14-15
|
13-14
|
12-13
|
|
Таблица 8б.
Поверхностная плотность потока солнечной радиации: , поступающей на вертикальную поверхность, юго-восточной к
юго-западной ориентации, Вт/ , в июле
|
Географическая
широта град.
|
ЧАСЫ СУТОК ДЛЯ
ЮГО-ВОСТОЧНОЙ ОРИЕНТАЦИИ Jмакс
|
Среднее суточное значение Jcp
|
|
2-3
|
3-4
|
4-5
|
5-6
|
6-7
|
7-8
|
8-9
|
9-10
|
10-11
|
11-12
|
12-13
|
13-14
|
14-15
|
15-16
|
15-17
|
17-18
|
18-19
|
19-20
|
20-21
|
21-22
|
|
36
|
|
|
|
60
31
|
212
108
|
314
172
|
395
174
|
384
133
|
308
116
|
200
112
|
80
104
|
96
|
__
91
|
__
84
|
__
77
|
__
42
|
__
21
|
|
|
|
138
|
|
40
|
|
|
|
66
46
|
225
116
|
364
148
|
425
146
|
417
129
|
352
112
|
254
104
|
119
98
|
91
|
__
85
|
__
81
|
__
76
|
__
56
|
__
27
|
|
|
|
147
|
|
44
|
|
|
|
95
53
|
256
116
|
395
148
|
467
146
|
460
136
|
380
116
|
297
107
|
150
104
|
19
91
|
__
85
|
__
81
|
__
74
|
__
59
|
__
30
|
|
|
|
161
|
|
48
|
|
|
2
10
|
125
62
|
286
119
|
427
148
|
497
151
|
429
144
|
429
127
|
335
113
|
190
105
|
41
94
|
__
88
|
__
81
|
__
74
|
__
58
|
__
35
|
__
6
|
|
|
177
|
|
52
|
|
|
5
20
|
154
71
|
316
122
|
457
149
|
521
154
|
518
149
|
465
131
|
373
116
|
230
105
|
65
98
|
__
92
|
__
85
|
__
73
|
__
58
|
__
35
|
__
12
|
|
|
191
|
|
56
|
|
|
23
27
|
184
77
|
346
121
|
488
142
|
551
145
|
561
138
|
502
124
|
413
107
|
260
102
|
91
96
|
__
92
|
__
86
|
__
72
|
__
56
|
__
37
|
__
17
|
|
|
202
|
|
60
|
|
12
9
|
76
35
|
198
79
|
377
115
|
512
130
|
579
133
|
582
124
|
534
113
|
448
101
|
259
96
|
128
93
|
__
88
|
__
81
|
__
66
|
__
53
|
__
37
|
__
23
|
__
6
|
|
213
|
|
64
|
|
58
16
|
140
46
|
267
84
|
430
115
|
541
129
|
622
129
|
624
123
|
570
112
|
483
100
|
340
941
|
169
92
|
2
86
|
__
78
|
__
63
|
__
52
|
__
38
|
__
26
|
__
13
|
|
235
|
|
68
|
35
12
|
105
24
|
174
58
|
314
90
|
456
120
|
576
134
|
663
134
|
669
123
|
616
114
|
529
101
|
378
95
|
198
93
|
23
87
|
__
79
|
__
63
|
__
52
|
__
38
|
__
30
|
__
19
|
__
9
|
259
|
|
|
ЧАСЫ СУТОК ДЛЯ ЮГО-ЗАПАДНОЙ ОРИЕНТАЦИИ
|
|
|
21-22
|
20-21
|
19-20
|
18-19
|
17-18
|
16-17
|
15-16
|
14-15
|
13-14
|
12-13
|
11-12
|
10-11
|
9-10
|
8-9
|
7-8
|
6-7
|
5-6
|
4-5
|
3-4
|
2-3
|
|
Таблица 8в.
Поверхностная плотность потока солнечной
радиации: , поступающей на вертикальную поверхность, северо-восточной и
северо-западной ориентации, Вт/м2, в июле.
|
Географическая
широта, град.
|
ЧАСЫ СУТОК ДЛЯ
СЕВЕРО-ВОСТОЧНОЙ ОРИЕНТАЦИИ Jмакс
|
Среднее
суточное значение Jcp
|
|
1-2
|
2-3
|
3-4
|
4-5
|
5-6
|
6-7
|
7-8
|
8-9
|
9-10
|
10-11
|
11-12
|
12-13
|
13-14
|
14-15
|
15-16
|
16-17
|
17-18
|
18-19
|
19-20
|
20-21
|
21-22
|
22-23
|
|
36
|
|
|
|
|
183
28
|
454
102
|
488
146
|
393
147
|
265
114
|
98
97
|
__
91
|
__
87
|
__
84
|
__
83
|
__
81
|
__
77
|
__
63
|
__
23
|
|
|
|
|
129
|
|
40
|
|
|
|
11
1
|
193
63
|
398
130
|
428
154
|
335
140
|
200
108
|
55
96
|
__
91
|
__
87
|
__
87
|
__
84
|
__
81
|
__
77
|
__
63
|
__
29
|
|
|
|
|
123
|
|
44
|
|
|
|
35
6
|
252
72
|
419
133
|
424
149
|
324
137
|
170
108
|
38
96
|
__
91
|
__
87
|
__
86
|
__
84
|
__
81
|
__
74
|
__
60
|
__
31
|
|
|
|
|
123
|
|
48
|
|
|
|
70
19
|
191
81
|
437
133
|
420
144
|
305
134
|
143
109
|
22
96
|
__
91
|
__
87
|
__
86
|
__
84
|
__
80
|
__
72
|
__
59
|
__
35
|
__
8
|
|
|
|
125
|
|
52
|
|
|
|
108
32
|
342
93
|
449
131
|
418
143
|
281
130
|
119
107
|
8
93
|
__
87
|
__
85
|
__
84
|
__
81
|
__
79
|
__
72
|
__
59
|
__
37
|
__
12
|
|
|
|
127
|
|
56
|
|
|
23
5
|
187
44
|
391
95
|
460
125
|
414
133
|
260
119
|
93
95
|
__
84
|
__
80
|
__
79
|
__
78
|
__
77
|
__
76
|
__
72
|
__
59
|
__
41
|
__
16
|
|
|
|
129
|
|
60
|
|
|
73
13
|
310
53
|
442
96
|
469
116
|
412
112
|
236
104
|
65
82
|
__
73
|
__
73
|
__
72
|
__
72
|
__
72
|
__
71
|
__
67
|
__
58
|
__
44
|
__
24
|
__
7
|
|
|
134
|
|
64
|
|
17
7
|
163
29
|
395
67
|
490
101
|
473
112
|
395
112
|
221
99
|
41
78
|
__
70
|
__
70
|
__
70
|
__
69
|
__
67
|
__
67
|
__
64
|
__
59
|
__
48
|
__
30
|
__
16
|
|
|
143
|
|
68
|
29
9
|
169
19
|
320
43
|
465
79
|
541
106
|
483
112
|
366
112
|
204
100
|
29
77
|
__
70
|
__
70
|
__
70
|
__
67
|
__
66
|
__
66
|
__
64
|
__
60
|
__
52
|
__
35
|
__
23
|
__
12
|
__
7
|
164
|
|
|
ЧАСЫ СУТОК ДЛЯ
СЕВЕРО-ВОСТОЧНОЙ ОРИЕНТАЦИИ
|
|
|
22-23
|
21-22
|
20-21
|
19-20
|
18-19
|
17-18
|
16-17
|
15-16
|
115
|
13-14
|
12-13
|
11-12
|
10-11
|
9-10
|
8-9
|
7-8
|
6-7
|
5-6
|
4-5
|
3-4
|
2-3
|
1-2
|
|
Таблица 8г.
Поверхностная плотность потока солнечной
радиации: , поступающей в июле
на вертикальную поверхность, восточной и западной ориентации Вт/м2.
|
Географическая
широта, град.
|
ЧАСЫ СУТОК ДЛЯ
ВОСТОЧНОЙ ОРИЕНТАЦИИ Jмакс
|
Среднее суточное
значение Jcp
|
|
5-6
|
6-7
|
7-8
|
8-9
|
9-10
|
10-11
|
11-12
|
12-13
|
13-14
|
14-15
|
15-16
|
16-17
|
17-18
|
18-19
|
|
36
|
151
45
|
442
147
|
535
177
|
515
174
|
440
147
|
286
120
|
105
108
|
__
98
|
__
91
|
__
86
|
__
85
|
__
74
|
__
47
|
__
17
|
1б2
|
|
40
|
242
63
|
476
151
|
561
179
|
542
164
|
442
134
|
276
110
|
101
99
|
__
88
|
__
84
|
__
84
|
__
81
|
__
73
|
__
59
|
__
28
|
169
|
|
44
|
332
79
|
514
151
|
579
177
|
563
163
|
452
135
|
279
108
|
105
98
|
__
87
|
__
81
|
__
81
|
__
80
|
__
73
|
__
59
|
__
30
|
180
|
|
48
|
371
88
|
536
155
|
590
174
|
565
164
|
454
135
|
279
110
|
105
98
|
__
87
|
__
81
|
__
79
|
__
78
|
__
72
|
__
59
|
__
34
|
184
|
|
52
|
468
101
|
579
164
|
614
174
|
579
169
|
461
135
|
28
113
|
105
96
|
__
87
|
__
81
|
__
77
|
__
77
|
__
72
|
__
59
|
__
41
|
200
|
|
56
|
482
101
|
594
156
|
621
165
|
579
155
|
461
121
|
283
102
|
105
91
|
__
85
|
__
79
|
__
76
|
__
74
|
__
65
|
__
58
|
__
41
|
201
|
|
60
|
509
105
|
623
144
|
632
149
|
586
134
|
461
104
|
285
88
|
105
81
|
__
76
|
__
72
|
__
69
|
__
67
|
__
62
|
__
54
|
__
41
|
206
|
|
64
|
535
115
|
635
141
|
655
143
|
597
129
|
463
101
|
285
84
|
106
77
|
__
70
|
__
66
|
__
63
|
__
63
|
__
57
|
__
50
|
__
42
|
215
|
|
68
|
572
189
|
663
143
|
669
143
|
611
131
|
480
101
|
279
84
|
106
77
|
__
70
|
__
66
|
__
63
|
__
63
|
__
57
|
__
50
|
__
42
|
239
|
|
|
ЧАСЫ СУТОК ДЛЯ
ЗАПАДНОЙ ОРИЕНТАЦИИ
|
|
|
18-19
|
17-18
|
16-17
|
15-16
|
14-15
|
13-14
|
12-13
|
11-12
|
10-11
|
9-10
|
8-9
|
7-8
|
6-7
|
5-6
|
|
Таблица 9.
Тепловыделения
от взрослых людей
|
Показатели
|
Тепловыделения от
взрослых людей, Вт при температуре окружающего воздуха в С°
|
|
10
|
15
|
20
|
25
|
30
|
35
|
|
В состоянии покоя
|
|
Тепловыделения явные
|
143
|
116
|
87
|
58
|
41
|
12
|
|
скрытые
|
23
|
29
|
29
|
35
|
52
|
81
|
|
полные
|
163
|
145
|
116
|
93
|
93
|
93
|
|
При легкой работе
(категория I)
|
|
Тепловыделения явные
|
151
|
122
|
99
|
64
|
41
|
6
|
|
скрытые
|
29
|
35
|
52
|
81
|
105
|
140
|
|
полные
|
180
|
157
|
151
|
145
|
146
|
46
|
|
При работе средней
тяжести (категория II а)
|
|
Тепловыделения явные
|
166
|
135
|
108
|
73
|
44
|
7
|
|
скрытые
|
51
|
66
|
90
|
121
|
150
|
187
|
|
полные
|
217
|
201
|
198
|
194
|
194
|
194
|
|
При работе средней
тяжести (категория II 6)
|
|
Тепловыделения явные
|
182
|
150
|
119
|
84
|
49
|
9
|
|
скрытые
|
71
|
97
|
126
|
158
|
193
|
233
|
|
полные
|
253
|
247
|
245
|
242
|
242
|
242
|
|
При тяжелой работе
|
|
Тепловыделения явные
|
198
|
163
|
129
|
93
|
52
|
12
|
|
скрытые
|
93
|
128
|
163
|
198
|
238
|
279
|
|
полные
|
291
|
291
|
291
|
291
|
290
|
291
|
Таблица 10 к примеру 1.
|
№№ п/п
|
Конструкция и
материал
|
Плотность, Кг/ 
|
Толщина, м 
|
Коэффициенты
|
|
Удельная
теплопроводность Вт/(м2 С°) 
|
Теплоусвоение Вт/(м2
С°)
S
|
Термическое
сопротивление (м2 С°)/Вт R
|
Тепловая инерция 
|
|
I.
|
Окна двойные в металлических рамах, площадью 85 м2
в Ю-З стене 0,34
|
|
II.
|
Наружная стена площадью 22 м2, ориентированная
на Ю-З.
|
|
1.
|
Облицовочный слой из известкового песчаного раствора
|
1600
|
0,015
|
0,7
|
8,7
|
0,021
|
0,186
|
|
2.
|
Керамзитобетон
|
1000
|
0,21
|
0,33
|
5,03
|
0,636
|
3,2
|
|
3.
|
Облицовочный слой(см.1)
|
1600
|
0,015
|
0,7
|
8,7
|
0,021
|
0,186
|
|
|
|
|
|
|
всего
|
0,667
|
3,57
|
|
0,83*
|
|
III.
|
Бесчердачное покрытие площадью 216 м2
|
|
1.
|
Ковер (рубероид)
|
600
|
0,01
|
0,17
|
3,53
|
0,06
|
0,21
|
|
2.
|
Керамзитобетон
|
1800
|
0,02
|
0,8
|
10,5
|
0,025
|
0,26
|
|
3.
|
Пенобетон
|
400
|
0,20
|
0,14
|
2,19
|
1,43
|
3,13
|
|
4.
|
Плита железобетон
|
2500
|
0,035
|
1,92
|
17,98
|
0,018
|
0,33
|
|
|
|
|
|
|
Всего
|
1,533
|
3,93
|
|
1,685*
|
|
IV.
|
Внутренние перегородки площадью 260 м2
|
|
1.
|
Железобетон
|
2500
|
0,22/2
|
1,92
|
17,98
|
0,063/2
|
0,56
|
|
V.
|
Пол площадью 216 м
|
|
1.
|
Железобетонная плита
|
2500
|
0,045
|
1,92
|
17,98
|
0,023
|
0,42
|
|
2.
|
Асфальтобетон
|
2100
|
0,04
|
1,05
|
16,43
|
0,038
|
0,63
|
|
|
|
|
|
|
Всего
|
0,061
|
1,05
|
*) с учетом
тепловосприятия от наружного воздуха 1/27,1 и теплоотдачи воздуху помещения 1/8,7 м2 °С/Вт
Таблица 11 к примеру 1.
|
Часы суток
|
1
|
2
|
3
|
4
|
5
|
6
|
7
|
8
|
9
|
10
|
11
|
12
|
13
|
14
|
15
|
16
|
17
|
18
|
19
|
20
|
21
|
22
|
23
|
24
|
|
Тепловой поток
солнечной радиации через окна начала 10ч Qrj=30436 Вт(макс)
|
|
1.
|
Q
|
0,23
|
0,22
|
0,22
|
0,21
|
0,21
|
0,20
|
0,19
|
0,19
|
0,18
|
0,18
|
0,19
|
0,22
|
0,27
|
0,31
|
0,35
|
0,38
|
0,39
|
0,38
|
0,36
|
0,32
|
0,28
|
0,26
|
0,25
|
0,24
|
|
2.
|
Qч
|
7000
|
6696
|
6696
|
6392
|
6392
|
6037
|
5783
|
5783
|
5478
|
5478
|
5783
|
6696
|
8218
|
9435
|
10633
|
11566
|
11870
|
11566
|
10957
|
9740
|
8522
|
7913
|
7609
|
7305
|
|
Тепловой поток через
окна теплопередачей QΔt=2300 Ө1+975 Вт и общий тепловой
поток
|
|
3.
|
Ө1
|
-0,87
|
-0,97
|
-1
|
-0,97
|
-0,87
|
-0,71
|
-0,5
|
-0,26
|
0
|
0,26
|
0,5
|
0,71
|
0,87
|
0,97
|
1
|
0,97
|
0,87
|
0,71
|
0,5
|
0,26
|
0
|
-0,26
|
-0,5
|
-0,71
|
|
4.
|
|
-2976
|
-3206
|
-3275
|
-3206
|
-2976
|
-2608
|
-2125
|
-1573
|
-975
|
-377
|
175
|
658
|
1026
|
1256
|
1335
|
1256
|
1026
|
658
|
175
|
-377
|
-375
|
-1573
|
-2125
|
-2608
|
|
5.
|
Всего
через окно
|
4024
|
3490
|
3421
|
3186
|
3416
|
3479
|
3658
|
4210
|
4503
|
5101
|
5958
|
7354
|
9244
|
10693
|
10978
|
12822
|
12896
|
12224
|
11132
|
9363
|
7547
|
6340
|
5484
|
4597
|
|
Тепловой поток через
стену Qм= 34,9 + 199,2 Ө1; Ө1= Ө2; начало 10 ч =9,2 ч
|
|
6.
|
Ө1
|
0,97
|
0,87
|
0,71
|
0,5
|
0,26
|
0
|
-0,26
|
-0,5
|
-0.71
|
-0,87
|
-0,97
|
-1
|
-0,97
|
-0.87
|
-0,71
|
-0,
5
|
-0,26
|
0
|
0,26
|
0,5
|
0,71
|
0,87
|
0,97
|
1
|
|
7.
|
Өм
|
219
|
200
|
169
|
130
|
84
|
35
|
-14
|
-60
|
-100
|
-130
|
-149
|
-154
|
-149
|
-130
|
-100
|
-60
|
-14
|
35
|
84
|
130
|
169
|
200
|
219
|
224
|
|
Тепловой поток через
покрытие Өм = 892,2 + 393,8 Ө1 + 696,6 Ө2
|
|
8.
|
Ө1
|
1
|
0,97
|
0,87
|
0,71
|
0,5
|
0,26
|
0
|
-0,26
|
-0,5
|
-0,71
|
-0,87
|
-0,97
|
-1
|
-0,97
|
-0,87
|
-0,71
|
-0,5
|
-0,26
|
0
|
0,26
|
0,5
|
0,71
|
0,87
|
0,97
|
|
9.
|
Q1
|
394
|
382
|
343
|
280
|
197
|
102
|
0
|
-102
|
-197
|
-280
|
-343
|
-382
|
-394
|
-382
|
-343
|
-280
|
-196
|
-102
|
0
|
102
|
197
|
280
|
343
|
182
|
|
10.
|
Ө2
|
0,71
|
0,5
|
0,26
|
0
|
-0,26
|
-0,5
|
-0,71
|
-0,87
|
-0,97
|
-1
|
-0,97
|
-0,87
|
-0,71
|
-0,5
|
-0,26
|
0
|
0,26
|
0,5
|
0,71
|
0,87
|
0,97
|
1
|
0,97
|
0,87
|
|
11.
|
Q2
|
495
|
348
|
181
|
0
|
-181
|
-348
|
-495
|
-606
|
-655
|
-697
|
-655
|
-606
|
-495
|
-348
|
-181
|
0
|
181
|
348
|
495
|
608
|
655
|
697
|
655
|
606
|
|
12.
|
Всего
Q1 + +Q2 + +892,2
|
1781
|
1622
|
1416
|
1172
|
908
|
646
|
397
|
184
|
40
|
-85
|
-106
|
-96
|
3
|
162
|
368
|
612
|
870
|
1138
|
1387
|
1600
|
1744
|
1869
|
1890
|
1880
|
|
Суммарный тепловой
поток поступающий в помещение
|
|
13.
|
Всего
|
6024
|
5312
|
5006
|
4488
|
4408
|
4160
|
4041
|
4334
|
4443
|
4886
|
5703
|
7104
|
9098
|
10725
|
12246
|
13374
|
13758
|
13397
|
12608
|
11093
|
9460
|
8409
|
7593
|
6701
|
Список литературы.
1. В.Н. Богословский.
Строительная теплофизика. Издательство "Высшая школа". Москва,1970.
2. В.Н. Богословский.
Тепловой режим зданий. Москва. Стройиздат,1977 г.
3. СНиП 11-33-75. Отопление,
вентиляция и кондиционирование воздуха.
4. СНиП II-3-70**. Строительная
теплотехника. Москва,1985 г.
5. Справочник проектировщика.
Часть П. Вентиляция и кондиционирование воздуха. Под редакцией И.Г.
Староверова. Стройиздат,1978 г.
6. СНиП 2.01.02. Строительная
климатология и геофизика, 1983 г.
7. Руководство по
проектированию и применению солнцезащитных средств в промышленных зданиях.
Москва. Стройиздат,1980 г.
8. СНиП 2.04.05-91.

рис. 1 Световой
проем с солнцезащитными плоскостями: а - строительные размеры и построения
затенения остекления наружными
плоскостями; б - схема влияния
высоты и азимутов солнца на световой проем; H - высота проема; В - ширина проема; Гп - горизонтальная
солнцезащитная плоскость; Вп - вертикальная солнцезащитная плоскость;
1
- высота солнца; - град.; 2 - плоскость светового проема; 3 - перпендикулярная плоскость к световому проему ; 4 -
перпендикуляр к плоскости светового проема; 5 - проекция солнечного луча
на плоскость 3; 6 - азимут солнца А ,град.; 7 - солнечный
азимут остекления светового проема А , град.; 8 - азимут светового проема А .

Рис. 2.
Световой фонарь с наклонным остекленением 1 и 2 - перпендикуляры к остеклению.


Рис. 3
к примеру 2. Построение затенения окна по заданным координатам солнца: , . Площадь тени от прямой солнечной радиации 0,46´2+0,04´0,74
= 0,95 кв.
|
|