Крупнейшая бесплатная информационно-справочная система онлайн доступа к полному собранию технических нормативно-правовых актов РФ. Огромная база технических нормативов (более 150 тысяч документов) и полное собрание национальных стандартов, аутентичное официальной базе Госстандарта. GOSTRF.com - это более 1 Терабайта бесплатной технической информации для всех пользователей интернета. Все электронные копии представленных здесь документов могут распространяться без каких-либо ограничений. Поощряется распространение информации с этого сайта на любых других ресурсах. Каждый человек имеет право на неограниченный доступ к этим документам! Каждый человек имеет право на знание требований, изложенных в данных нормативно-правовых актах!

  


 

ГОСУДАРСТВЕННЫЙ КОНЦЕРН НЕФТЕГАЗОВОГО СТРОИТЕЛЬСТВА «НЕФТЕГАЗСТРОЙ»

Всесоюзный научно-исследовательский институт по строительству магистральных трубопроводов
ВНИИСТ

СТРОИТЕЛЬСТВО МАГИСТРАЛЬНЫХ И ПРОМЫСЛОВЫХ ТРУБОПРОВОДОВ
СРЕДСТВА И УСТАНОВКИ ЭЛЕКТРОХИМЗАЩИТЫ

ВСН 009-88

Миннефтегазстрой

ДОПОЛНЕНИЕ
ЭЛЕКТРОХИМИЧЕСКАЯ ЗАЩИТА КОЖУХОВ НА ПЕРЕХОДАХ ТРУБОПРОВОДОВ ПОД АВТОМОБИЛЬНЫМИ И ЖЕЛЕЗНЫМИ ДОРОГАМИ

Москва 1991

Содержание

РАЗРАБОТАНЫ И ВНЕСЕНЫ

Всесоюзным научно-исследовательским институтом по строительству магистральных трубопроводов (ВНИИСТ) Притула В.В., д-р техн. наук, руководитель задания, Сидорова Н.П., ответственный исполнитель

УТВЕРЖДЕНЫ

Миннефегазстроем

СОГЛАСОВАНЫ

ВНИПИТрансгазом, ЮжНИИГипрогазом, Гипроспецгазом, Главтрубопроводстроем.

Министерство строительства предприятий нефтяной и газовой промышленности

Ведомственные строительные нормы

Дополнение к ВСН 009-88

Строительство магистральных и промысловых трубопроводов. Средства и установки электро-химзащиты.
Электрохимическая защита кожухов на переходах трубопроводов под автомобильными и железными дорогами

Миннефтегазстрой

1. ОБЩИЕ ПОЛОЖЕНИЯ

1.1. Настоящий нормативный документ содержит требования к электрохимической защите кожухов под автомобильными и железными дорогами.

1.2. Требования настоящего документа должны соблюдать проектные, строительные и эксплуатирующие организации, обеспечивающие электрохимическую защиту магистральных трубопроводов.

1.3. В соответствии с требованиями СНиП 2.05.06-85 на переходах под автомобильными и железными дорогами кожухи и участки трубопроводов, примыкающие к ним, должны иметь усиленный тип защитных покрытий.

1.4. Электрохимическую защиту кожухов на переходах под автомобильными и железными дорогами следует предусматривать одновременно с защитой магистрального трубопровода.

1.5. Электрохимическая защита кожухов под дорогами может быть осуществлена как совместно с трубопроводом, так и самостоятельными защитными установками.

1.6. При сдаче в эксплуатацию и в процессе эксплуатации трубопровода следует проводить контроль наличия электрического контакта между кожухом и трубопроводом. При наличии электрического контакта его необходимо устранить.

Внесены ВНИИСТом

Утверждены Министерством строительства предприятий нефтяной и газовой промышленности.
Приказ № 375 от 27.12.88

Срок введения
l июля 1991 г.

1.7. Для обеспечения защитных потенциалов на кожухе и на прилегающих к нему участках трубопровода следует использовать схемы защиты, содержащиеся в разделе 2.

1.8. Электрохимическую защиту кожухов следует осуществлять в соответствии с требованиями ГОСТ 25812-83 и СНиП 2.05.06-85.

2. СХЕМЫ ЭЛЕКТРОХИМИЧЕСКОЙ ЗАЩИТЫ КОЖУХОВ

2.1. В зависимости от расстояния между кожухом и катодной установкой, подключенной к трубопроводу, кожухи могут быть классифицированы на три группы.

2.2. К первой группе относятся кожухи, которые расположены на расстоянии до 0,5 км от точки дренажа катодной установки.

2.3. Ко второй группе относятся кожухи, расположенные на расстоянии от 0,5 до 3 км от точки дренажа катодной установки.

2.4. К третьей группе относятся кожухи, расстояние от которых до точки дренажа катодной установки составляет более 3 км.

2.5. Выбор схем электрохимической защиты кожухов на трубопроводах следует осуществлять, исключая опасное и мешающее влияния средств электрохимической защиты на неэлектрифицированные и электрифицированные железные дороги, на кабельные и другие подземные металлические сооружения, расположенные вблизи дорог.

2.6. Для обеспечения электрохимической защиты на кожухах первой группы катодную станцию следует располагать не далее 20 м от единичного трубопровода или крайнего трубопровода многониточной системы. Подключение катодной установки к кожуху следует осуществлять через регулируемое сопротивление (рис. 1). В случае необходимости устанавливают дополнительные анодные заземлители на расстоянии от кожуха, составляющем не более одной пятой длины кожуха. При этом для катодной защиты кожухов, имеющих диаметры до 1220 мм, анодные заземлители устанавливают с одной стороны (рис. 2), а для кожухов диаметром более 1220 мм-с обеих сторон (рис. 3).

Рис. 1. Схема катодной защиты кожуха при близком расположении катодной станции:

1 - кожух; 2 - трубопровод; 3 - катодная - станция; 4 - анодное заземление; 5 - регулируемое сопротивление

Рис. 2. Схема катодной защиты кожуха с использованием анодных заземлителей, расположенных с одной стороны кожуха:

1 - кожух; 2 - трубопровод; 3 - катодная станция; 4 - анодное заземление; 5 - регулируемое сопротивление; 6 - дополнительные анодные заземлители

Рис. 3. Схема катодной защиты с дополнительными анодными заземлителями, расположенными с обеих сторон кожуха:

1 - кожух, 2 - трубопровод; 3 - катодная станция; 4 - анодное заземление; 5 - регулируемое сопротивление; 6 - дополнительные анодные заземлители

2.7. При обеспечении электрохимической защиты на кожухах второй группы катодную станцию можно располагать на любом расстоянии от трубопровода, а подключение кожуха к трубопроводу следует осуществлять также через регулируемое сопротивление (рис. 4). В случае необходимости к кожуху подключают протекторы, устанавливаемые от него на расстоянии, составляющем не более одной десятой длины кожуха. В этом случае для защиты кожухов с диаметром до 1220 мм протекторы устанавливают с одной стороны кожуха (рис. 5), а при диаметрах кожухов более 1220мм - с обеих сторон кожуха (рис. 6).

2.8. При обеспечении защитного потенциала на кожухах третьей группы катодную станцию можно располагать на любом расстоянии от трубопровода. В этом случае кожух подключают к трубопроводу через регулируемое сопротивление и защиту кожуха усиливают с помощью протекторов, устанавливаемых от него на расстоянии, не превышающем одной десятой длины кожуха. Протекторы устанавливают с одной стороны кожуха при диаметре его до 720 мм (см. рис. 5). При диаметре кожуха 820 мм и более протекторы устанавливает с обеих сторон (см. рис. 6).

Рис. 4. Схема катодной защиты кожуха при подключении его к трубопроводу:

1 - кожух; 2 - трубопровод; 3 - катодная станция; 4 - анодное заземление; 5 - регулируемое сопротивление

Рис. 5. Схема защиты кожуха с помощью протекторов, устанавливаемых с одной стороны кожуха:

1 - кожух; 2 - трубопровод; 3 - регулируемое сопротивление; 4 - протекторы; 5 - катодная станция; 6 - анодное заземление

Рис.6. Схема защиты кожуха с помощью протекторов, устанавливаемых с двух сторон кожуха:

1 - кожух; 2 - трубопровод; 3 - регулируемое сопротивление; 4 - протекторы; 5 - катодная станция; 6 - анодное заземление

2.9. Наладку системы электрохимической защиты на кожухе осуществляют путем подбора действующего значения регулируемого сопротивления.

2.10. При реализации схем защиты, указанных на рис. 2, 3, 5, 6, установку дополнительных анодных заземлителей и протекторов предусматривает с интервалом 5-10 м между соседними электродами.

2.11. На кожухах протяженностью более 40 м дополнительные анодные заземлители или протекторы следует устанавливать с обеих сторон кожуха.

2.12. Общее количество анодных заземлителей или протекторов при любых условиях должно быть не менее двух - по одному на каждом конце кожуха.

3. РАСЧЕТ ПАРАМЕТРОВ ЭЛЕКТРОХИМИЧЕСКОЙ ЗАЩИТЫ ТРУБОПРОВОДОВ С КОЖУХОМ

3.1. Величину тока, необходимую для защиты участка трубопровода с кожухами на переходах, определяют по формуле

,                                                                                                   (1)

где Jt - величина тока, необходимая для защиты участка собственно трубопровода, А;

ik1 - величина тока, необходимая для защиты единичного кожуха, А;

n - количество кожухов на защищаемом участке трубопровода.

3.2. Величину тока, необходимую для защиты участка собственно трубопровода, определяют по формуле

,                                                                                            (2)

где Ut3l - требуемое смещение потенциала в конце защищаемого участка трубопровода, В;

Rt - продольное сопротивление трубопровода, Ом/м;

Rnt - переходное сопротивление трубопровода, Ом/м;

L3,- длина плеча защиты на участке трубопровода, м.

3.3. Величину тока, необходимую для защиты единичного кожуха, определяют по формуле

,                                                                                                     (3)

где Uзк - требуемый защитный потенциал кожуха, В;

Uек - естественным потенциал кожуха, В;

RПК - переходное сопротивление кожуха, Ом;

,                                                                                           (4)

где  - удельное сопротивление грунта, окружающего кожух, Ом·м;

Lk длина кожуха, м;

Dk - диаметр кожуха, м;

Rизк - сопротивление изоляционного покрытия кожуха Ом·м.

3.4. Величину тока, попадающего в кожух, электрически подключенный к катодной станции, защищающей участок трубопровода, определяют по формуле

,                                                                               (5)

где Rрег- действующее значение регулировочного сопротивления в цепи защиты кожуха, Ом;

Lк - расстояние от точки дренажа катодной станции до дальнего конца кожуха, м;

 - постоянная распространения тока в защищаемом трубопроводе, I/м,

;                                                                                                          (6)

Zвхт - входное сопротивление части участка защищаемого трубопровода до места расположения кожуха, Ом

;                                                                                     (7)

 - расстояние от точки дренажа катодной станции до ближнего конца кожуха, м.

3.5. Для обеспечения необходимого уровня защиты на всех кожухах должно выполняться соотношение .

3.6. При условии соотношения  на отдельных кожухах в процессе наладки всей системы катодной защиты на них необходимо увеличивать действующее значение регулировочного сопротивления в цепи защиты кожуха для достижения условия .

3.7. При условии соотношения  на отдельных кожухах для достижения на них необходимого уровня защиты следует обеспечить с помощью дополнительных средств электрохимической защиты наложение недостающего защитного тока, величину которого определяют по формуле

.                                                                                                           (8)

3.8. При установке дополнительных анодных заземлителей сопротивление растеканию их определяют по формуле

,                                                                                                        (9)

где Rаз - сопротивление растеканию основного анодного заземления катодной станции, Ом.

3.9. Количество дополнительных анодных заземлителей определяют по формуле

,                                                                                                         (10)

где Rз - сопротивление растеканию одного заземлителя, Ом;

коэффициент экранирования заземлителей.

3.10. При защите кожуха с помощью протекторов для определения их количества исходят из величины дополнительного тока и разности потенциалов протектор-кожух.

3.11. Сопротивление цепи протекторов определяют по формуле

,                                                                                                  (11)

где Uп - потенциал протектора, В.

3.12. Переходное сопротивление протекторов определяют по формуле

                                                                                                  (12)

3.13. Количество протекторов, необходимое для защиты кожуха, определяют по формуле

,                                                                                            (13)

где RРП - сопротивление растеканию одного протектора, Ом;

RПОЛ - поляризационное сопротивление протектора, Ом×м2;

SП - рабочая поверхность протектора, м2;

 - коэффициент экранирования протекторов.

4.ЭЛЕКТРИЧЕСКИЕ ИЗМЕРЕНИЯ НА КОЖУХАХ

4.1. Электрическими параметрами, характеризующими состояние кожуха при эксплуатации трубопроводов, являются защитный потенциал, переходное сопротивление кожуха и сопротивление цепи между кожухом и трубопроводом.

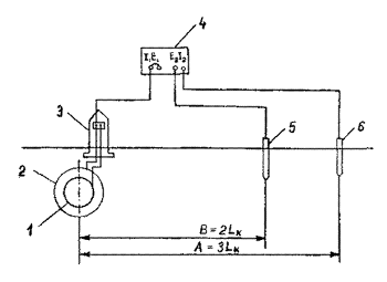
4.2. Для измерения перечисленных параметров осуществляют подключение измерительных приборов к выводу от кожуха в контрольно-измерительном пункте, расположенном вблизи кожуха (рис.7).

4.3. Измерение потенциала кожуха выполняют высокоомным вольтметром, устанавливая медносульфатный электрод сравнения в грунт над кожухом.

4.4. Периодические измерения потенциалов кожухов позволяют контролировать работу средств катодной и протекторной защиты. При резком изменении потенциала кожуха следует проверить работу защитных установок и принять меры к устранению неисправностей.

Рис.7. Схема измерения переходного сопротивления кожуха:

1 - трубопровод; 2 - кожух; 3 - контрольно - измерительный пункт; 4 - прибор для измерения сопротивления заземлений; I1, I2 - токовые клеммы прибора; Е1, Е2 - клеммы напряжения прибора; 5 - измерительный электрод; 6 - токовый электрод; В - расстояние между трубопроводом и измерительный электродом; А - расстояние между трубопроводом и токовым электродом; LК - длина кожуха

4.5. Измеренная величина переходного сопротивления кожуха характеризует фактическое состояние изоляционного покрытия и используется при расчете параметров защитных установок.

4.6. Измерение переходного сопротивления выполняют на кожухе, не имеющем электрического контакта с трубопроводом при отключенных ближайших средствах электрохимической защиты.

4.7. Допустима оценка переходного сопротивления кожуха по результатам измерений с помощью омметра. В этом случае его включают в цепь между кожухом и трубопроводом через контрольно-измерительный пункт. Величину переходного сопротивления кожуха определяют, вычитая входное сопротивление трубопровода () из показаний омметра.

4.8. Сопротивление цепи кожух-труба ниже требуемого минимально допустимого значения, определяемого по графику рис. 8, указывает на вероятное наличие электрического контакта между кожухом и трубопроводом или на недопустимо низкое переходное сопротивление кожуха.

Рис. 8. График зависимости усредненного минимально допустимого сопротивления цепи кожух-труба RЦ от длины кожуха LК

 




ГОСТЫ, СТРОИТЕЛЬНЫЕ и ТЕХНИЧЕСКИЕ НОРМАТИВЫ.
Некоммерческая онлайн система, содержащая все Российские Госты, национальные Стандарты и нормативы.
В Системе содержится более 150000 файлов нормативно-технической документации, действующей на территории РФ.
Система предназначена для широкого круга инженерно-технических специалистов.

Рейтинг@Mail.ru Яндекс цитирования

Copyright © www.gostrf.com, 2008 - 2026