Крупнейшая бесплатная информационно-справочная система онлайн доступа к полному собранию технических нормативно-правовых актов РФ. Огромная база технических нормативов (более 150 тысяч документов) и полное собрание национальных стандартов, аутентичное официальной базе Госстандарта. GOSTRF.com - это более 1 Терабайта бесплатной технической информации для всех пользователей интернета. Все электронные копии представленных здесь документов могут распространяться без каких-либо ограничений. Поощряется распространение информации с этого сайта на любых других ресурсах. Каждый человек имеет право на неограниченный доступ к этим документам! Каждый человек имеет право на знание требований, изложенных в данных нормативно-правовых актах!

  


 

ДЕПАРТАМЕНТ СТРОИТЕЛЬСТВА

НАУЧНО-ТЕХНИЧЕСКОЕ УПРАВЛЕНИЕ
МОССТРОЙЛИЦЕНЗИЯ

ВЕДОМСТВЕННЫЕ СТРОИТЕЛЬНЫЕ НОРМЫ
по проектированию и монтажу подземных сетей канализации и водопровода из поливинилхлоридных труб

ВСН 20-95

Москва-1996

Настоящие ВСН разработаны лабораторией инженерного оборудования НИИМосстроя по заданию Научно-технического управления Департамента строительства г. Москвы (договор № 2/11-95 от 1.02.95 г.) в порядке пересмотра ведомственной нормативно-технической документации, в частности ВСН 68-84 по проектированию и монтажу подземных сетей канализации и водопровода из поливинилхлоридных (ПВХ) труб.

Подготовке ВСН предшествовало обобщение опыта изготовления труб и фасонных изделий из ПВХ НПО "Пластик" и соответствующих технических условий, подготовленных НПО "Пластик" по согласованию с НИИМосстроем, в период 1987-1994 гг., проектирования наружных сетей канализации и водоснабжения из труб ПВХ (АО Моспроект), монтажа трубопроводов из ПВХ в г. Москве (АО ХК Главмосстрой), а также анализ современных зарубежных норм и инструкций по подземной прокладке труб из ПВХ, в частности норм РИЛ 77 (Финляндия) и инструкций фирмы "Рехау" (Германия).

ВСН согласованы с НПО "Пластик", АО Моспроект, АО ХК Главмосстрой, ММП Мосводоканал.

В разработке ВСН принимали участие сотрудники НИИМосстроя: канд. техн. наук А.В.Сладков, научн. сотр. О.П.Симакова, инж. Л.И.Гамаева, техн. С.С.Силакова, лаб. В.А.Ефремов. При участии Мосстройлицензии (Ю.И.Столяров, к.т.н. В.Д.Фельдман).

Департамент строительства

Ведомственные строительные нормы по проектированию и монтажу подземных сетей канализации и водопровода из поливинилхлоридных труб

ВСН 20-95
ДС

Научно-техническое управление

взамен
ВСН 68-84 Главмосстрой

Содержание

1. ОБЩИЕ ПОЛОЖЕНИЯ

2. ПРОЕКТИРОВАНИЕ ПОДЗЕМНЫХ КАНАЛИЗАЦИОННЫХ И ВОДОПРОВОДНЫХ СЕТЕЙ

3. ТРАНСПОРТИРОВКА И ХРАНЕНИЕ ТРУБ

4. МОНТАЖ ТРУБОПРОВОДОВ

5. ИСПЫТАНИЯ ВНУТРИКВАРТАЛЬНЫХ СЕТЕЙ ВОДОПРОВОДА И КАНАЛИЗАЦИИ ИЗ ПОЛИВИНИЛХЛОРИДНЫХ РАСТРУБНЫХ ТРУБ

6. ТРЕБОВАНИЯ БЕЗОПАСНОСТИ

7. СПОСОБЫ РЕМОНТА ТРУБОПРОВОДОВ ИЗ ПВХ

Приложение 1 ОТВОДЫ ИЗ ПВХ С РАСТРУБОМ ПОД РЕЗИНОВОЕ КОЛЬЦО ПО ТУ 6-19-221-85

Приложение 2 СПЕЦИАЛЬНЫЕ ФЛАНЦЕВЫЕ ПЕРЕХОДЫ ИЗ ЧУГУНА К РАСТРУБНЫМ НАПОРНЫМ ТРУБАМ ИЗ ПВХ

Приложение 3 ПЕРЕЧЕНЬ ИНСТРУМЕНТОВ И ПРИСПОСОБЛЕНИЙ ДЛЯ МОНТАЖА

1. ОБЩИЕ ПОЛОЖЕНИЯ

1.1. Настоящие ВСН распространяются на прокладку подземных сетей канализации и водопровода из канализационных и напорных поливинилхлоридных (ПВХ) труб.

1.2. Для подземных сетей канализации в г. Москве следует применять раструбные трубы из непластифицированного поливинилхлорида, выпускаемые НПО "Пластик" по ТУ 6-19-307-86 (с изменениями № 1-3). Сортаменты и типоразмеры труб приведены в табл. 1 (обозначения см. рис. 1).

Примечание. Для подземных сетей канализации в г. Москве допускается применение труб из ПВХ импортного производства при наличии сертификата соответствия Минстроя РФ.

1.3. Показатели свойств раструбных канализационных труб из ПВХ приведены в табл. 2.

Внесены НИИМосстроем

Утверждены Научно-техническим управлением Департамента строительства
"22" июня 1995г.

Дата введения в действие
" 1 " июля 1995 г.

1.4. Для подземных водопроводных сетей в г. Москве следует применять напорные раструбные трубы из ПВХ типа "Т" (рабочее давление 1,0 МПа), с маркировкой "питьевая", выпускаемые НПО "Пластик" по ТУ 6-19-231-87 (с изменениями № 1-3), а также трубы ПВХ 12,5 по ТУ 6-49-4-88 (с изменениями № 1-3).

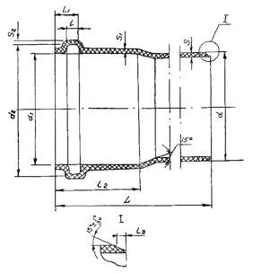
Рис.1. Канализационная раструбная труба из ПВХ (размеры см. табл. 1)


Таблица 1

Сортамент (выборочно) и типоразмеры раструбных канализационных труб из ПВХ по ТУ 6-19-307-86 (размеры в мм)

Средний наружный диаметр, d (с допуском)

Толщина стенки, S (с допуском)

Средний внутренний диаметр раструба, d1 (с допуском)

Средний внутренний диаметр желобка, d2 (с допуском)

Минимальная толщина стенки раструба, S1

Толщина стенки в месте желобка, S2

Ширина желобка, l

Расстояние от задней стенки желобка до торца раструба, l1

Длина раструба минимальная, l2

Размер фаски минимальный, l3

Длина трубы, L

Масса 1 м, кг, м

110+0,3

3,2+0,5

110,4+0,5

120,6

2,9

-2,1

9,1

22

54

6

2000

1,67-1,68

"

"

"

"

"

"

"

"

"

"

2485

 

"

"

"

"

"

"

"

"

"

"

2605

 

"

"

"

"

"

"

"

"

"

"

2650

 

"

"

"

"

"

"

"

"

"

"

4000

 

160+0,4

3,6+0,5

160,5+0,5

174,3

3,2

2,7

11,7

32

74

7

2000

2,59-2,74

"

"

"

"

"

"

"

"

"

"

3000

 

"

"

"

"

"

"

"

"

"

"

5000

 

"

"

"

"

"

"

"

"

"

"

6000

 

200+0,4

4,5+0,5

200+0,5

216,2

4,0

3,4

13,1

40

90

9

5500

4,227

"

"

"

"

"

"

"

"

"

"

6000

"

 

5,9+0,5

"

"

5,3

3,9

"

"

"

"

5500

5,43

 

 

"

 

"

"

"

"

"

"

6000

"


Таблица 2

Показатели свойств раструбных канализационных труб из ПВХ

№ пп

Наименование показателя

Единица измерения

Норма ТУ 6-19-307-86 (с изм. № 1-3)

Примечание

А. Основные показатели

1

Предел текучести при растяжении

МПа

³44,1

для справок, ориентировочно

2

Относительное удлинение при разрыве

%

³25

температура хрупкости – 18 °С

3

Сопротивление удару, количество разрушенных образцов

%

£10

теплопроводность 0,13Вт/м°С

4

Температура размягчения по Вика

°С

³79

коэффициент линейного расширения 0,000081/°С

5

Водопоглощение

г/м2

£40

 

6

Герметичность сборных узлов (при давлении 49 кПа и температуре 20 °С в течение 15 мин)

-

без признаков разрушения

 

Сортаменты - типоразмеры труб (выборочно) приведены соответственно в табл.3 и 4 (обозначения - см. рис.2).

Примечание. Для подземных водопроводных сетей в г. Москве допускается применение напорных труб из ПВХ, рассчитанных на номинальное рабочее давление 1,0 МПа, импортного производства при наличии гигиенического сертификата республиканского или московского комитетов санитарно-эпидемиологического надзора и сертификата качества Минстроя РФ.

Рис. 2. Напорная раструбная труба из ПВХ (размеры см. табл. 3)

Таблица 3

Сортамент и типоразмеры раструбных напорных труб из ПВХ типа Т по ТУ 6-19-231-87 (размеры в мм)

Наружный диаметр труб, d (с допуском)

Толщина стенки, S (с допуском)

Внутренний диаметр раструба, d1 (с допуском)

Диаметр по желобку раструба, d2 (с допуском)

Толщина стенки желобка раструба, S1

Длина раструба, l

Расстояние от края желобка до торца раструба, 12

Длина фаски, 11,

Масса 1 м, кг

63+0,2

3,0+0,5

63,6+0,7

80+0,8

3,4

99,5

13

6

0,85

75+0,3

3,6+0,6

93,9+0,8

93,9+0,8

4,0

102,5

14

7

1,22

90+0,3

4,3+0,7

110,7+0,9

110,7+0,8

4,8

110,5

15

8

1,75

110+0,3

5,3+0,8

132,5+0,9

132,5+0,9

5,9

116,0

17

10

2,61

160+0,4

7,7+1,0

186,0+1,0

186,0+1,0

8,5

134,5

22

14

5,47

225+0,5

10,8+1,3

254,5+1,2

254,5+1,2

12

154,0

27

20

10,8

280+0,6

13,4+1,6

314,7+1,4

314,7+1,4

14,9

172,0

32

24

16,6

315+0,6

15,0+1,7

351,3+1,6

351,3+1,6

16,7

184,0

35

26

20,9

Примечание. Длина трубы с раструбом L -5,5 м, 6,0 или 6,5 м

Таблица 4

Сортамент и типоразмеры раструбных напорных труб из ПВХ-12,5 по ТУ 6-49-4-86 (размеры в мм)

Наружный диаметр труб, d (с допуском)

Толщина стенки трубы, S (с допуском)

Внутренний диаметр раструба, d1 (с допуском)

Диаметр по желобку раструба, d2 (с допуском)

Толщина стенки желобка раструба, S1,

Длина раструба, 1

Расстояние от края желобка до торца раструба, 12

Длина фаски, 11,

Ориентировочная масса 1 м, кг

110+0,3

4,3+0,7

110,8+0,9

132,5+0,9

4,7

116

17

10

2,23

160+0,4

6,2+0,9

161,0+1,1

186,0+1,0

6,8

134

22

14

4,66

225+0,5

8,7+1,1

226,4+1,1

254,5+1,2

9,5

154

27

20

9,14

Примечание. Длина трубы с раструбом L-5,5 м, 6,0 или 6,5 м

1.5. Показатели свойств раструбных напорных труб из ПВХ типа Т приведены в таблице 5.

Таблица 5

Показатели свойств раструбных напорных труб из ПВХ

№ пп

Наименование показателя

Ед. изм.

Норма по ТУ 6-19-231-87

ПВХ - 12,5 Норма по ТУ 6-49-4-88

1

Предел текучести при растяжении

МПа

³49

³49

2

Относительное удлинение при разрыве

%

³25

³25

3

Водопоглощение

г/м2

£40

£40

4

Сопротивление удару при двухопорном изгибе, доля разрушенных образцов

%

£10

£10

5

Стойкость при постоянном внутреннем давлении, контрольное время испытаний (без разрушений)

час

 

 

 

-температура 20 °С, начальное напряжение в стенке трубы:

 

 

 

 

s = 42 МПа

 

³1,0

-

 

s = 44 МПа

 

-

³1,0

 

- температура 60 °С, начальное напряжение:

"

 

 

 

s = 17,0 МПа

 

³1,0

-

 

s = 21,0 МПа

 

-

³1,0

 

- то же при s = 11,3 МПа

"

200

-

 

s = 12,5 МПа

"

-

³1000

 

s = 10,0 МПа

"

1000

-

6

Прочность сборных узлов труб с раструбом для соединения с помощью резиновых уплотнительных колец при температуре 20 °С и давлении, превышающем номинальное в:

 

 

 

 

4,2 раза

 

³1,0

-

 

2,0 раза

 

-

³1,0

 

контрольное время испытаний без признаков разрушений и потери герметичности

 

 

 

Примечание. Коэффициенты теплопроводности и температурного линейного расширения следует принимать ориентировочно по табл.2.

2. ПРОЕКТИРОВАНИЕ ПОДЗЕМНЫХ КАНАЛИЗАЦИОННЫХ И ВОДОПРОВОДНЫХ СЕТЕЙ

2.1. При проектировании подземных сетей канализации и водопровода из труб ПВХ следует руководствоваться общими требованиями СНиП 2.04.02-85, СНиП 2.04.03-84 и СН 478-80.

Канализационные сети

2.2. Для устройства подземных внутриквартальных сетей канализации в г. Москве следует применять трубы из ПВХ наружным диаметром 110, 160 и 200 мм с толщиной стенки соответственно 3,2; 3,6 и 5,9 мм.

2.3. Гидравлический расчет сетей канализации из труб ПВХ следует производить преимущественно по таблицам, НМ-61-86 (часть II) АО Моспроект и НИИМосстрой.

При этом расчетное наполнение следует принимать 0,75, минимальные уклоны и расчетные скорости для труб из ПВХ диаметром 110 мм - соответственно 0,007 и 0,87 м/с, 160 - 0,005 и 0,92 м/с, 200 мм - 0,004 и 0,96 м/с.

2.4. При прокладке подземной канализации из канализационных труб ПВХ в местах со случайным движением или отсутствия движения транспорта (под газонами, пешеходными дорогами, внутриквартальными проездами и т.д.) в грунтах с нормативным сопротивлением, равным или более 0,15 МПа, при наличии под трубами уплотненной "постели" из песка или мягкого грунта и уплотнения грунта обратной засыпки ручными трамбовками допускаемую глубину заложения (от щельги трубы до поверхности земли) следует принимать для труб диаметром: 110 мм и 160, 200 мм (с толщиной стенки 4,5 мм) до 3,0 м; а 200 мм (с толщиной стенки 5,9 мм) до 6 м.

2.5. При прокладке канализационных труб из ПВХ в грунтах с нормативным сопротивлением 0,1-0,15 МПа, где требуется устройство искусственного жесткого (бетонного или железобетонного) основания под трубопровод или при транспортной нагрузке ИК-30, допустимую глубину заложения следует принимать соответственно для диаметров 110 и 160, 200 мм (с толщиной стенки 4,5 мм) - 2,4 м, а 200 мм (с толщиной стенки 5,9 мм) до 3 м.

2.6. Минимальная глубина заложения канализационных труб из ПВХ должна быть не менее 0,8 м при отсутствии движения транспорта и 1,3 м - при движении грузового транспорта.

2.7. Соединение раструбных канализационных труб из ПВХ должно уплотняться резиновыми кольцами круглого сечения (рис. 3а).

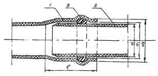
Рис. 3а. Раструбное соединение канализационных труб из ПВХ, уплотняемое резиновым кольцом круглого сечения:

1- гладкий конец трубы; 2-раструб; 3-резиновое кольцо

2.8. Резиновые уплотнительные кольца круглого сечения должны отвечать требованиям ТУ 38-105.1818. В частности, твердость кольца по Шору А не должна превышать 46 усл. ед. Сортамент и типоразмеры резиновых колец приведены в табл.6.

Таблица 6

Сортамент и типоразмеры (мм) резиновых колец круглого сечения для уплотнения раструбных соединений канализационных труб из ПВХ

Наружный диаметр труб из ПВХ

Внутренний диаметр кольца (с допуском)

Диаметр сечения кольца с допуском

Ориентировочная масса кольца, г

110

109

7+0,4

18

160

159

9+0,4

40

200

199

10+0,5

62

2.9. Гладкие концы канализационных труб из ПВХ в случае необходимости следует соединять также с помощью муфты из ПВХ и двух резиновых колец круглого сечения (рис. 3б).

Рис. 3б. Соединение канализационных труб из ПВХ на муфте из ПВХ с уплотнением резиновыми кольцами круглого сечения:

1-труба из ПВХ; 2-муфта из ПВХ; 3-резиновое кольцо

2.10. Муфты из ПВХ изготавливаются НПО "Пластик" по ТУ 6-49-33-92. Размеры муфты из ПВХ приведены в табл. 7.

Таблица 7

Размеры (мм) канализационных муфт из ПВХ

Наружный диаметр труб, d

Внутренний диаметр муфты (с допуском), d1

Минимальная толщина стенки

Внутренний диаметр по желобку (с допуском), d2

Расстояние торца до задней стенки желобка, l

Общая длина (мм), L

Масса, кг

110

110,4+0,5

3,2

120,6

22

14,5

0,25

160

160,5+0,5

3,2

174,37

32

172

0,56

200

200+0,6

4,1

216,2

40

212

1,07

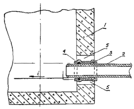
2.11. Проход канализационного трубопровода из ПВХ сквозь стенки канализационного смотрового колодца и другие строительные конструкции следует осуществлять с помощью канализационных муфт, уплотняемых одним резиновым кольцом (рис.4).

Рис. 4. Проход канализационного трубопровода сквозь стенки колодца и другие строительные конструкции:

1 - железобетонная стенка колодца; 2 - труба из ПВХ; 3 - муфта из ПВХ; 4 - резиновое кольцо; 5 - заделка цементным раствором

Водопроводные сети

2.12. При проектировании наружных сетей водоснабжения из труб ПВХ в г. Москве следует применять трубы типа Т (Рраб=1,0 МПа).

2.13. Гидравлический расчет водопровода из ПВХ труб следует производить преимущественно по таблицам НМ-76-86 (часть 1) АО Моспроект и НИИМосстрой.

2.14. Глубина заложения сетей водопровода из труб ПВХ типа Т должна быть на 0,4-0,5 м больше расчетной глубины проникновения нулевой температуры.

Минимальная глубина заложения водопровода из труб ПВХ типа Т (из условия прочности) должна составлять не менее 1,0 м. Максимальная глубина заложения в грунт труб из ПВХ типа Т не должна превышать 5,0 м.

Примечание. При необходимости подземной укладки трубопроводов из ПВХ на глубину более 5 м следует производить проверочный расчет труб на прочность.

2.15. При параллельной прокладке водопроводов и канализации из труб ПВХ водопроводы из труб ПВХ следует проектировать, как правило, выше канализационных трубопроводов из ПВХ и других труб, при этом расстояние между ними должно составлять не менее 1,5 м.

Примечание. Водопроводы из труб ПВХ можно размещать ниже трубопроводов канализации из ПВХ и других труб, при этом расстояние между ними свыше 1,5 м увеличивается на разницу в отметках заложения трубопроводов.

2.16. Водопроводы из труб ПВХ при пересечении с канализацией из ПВХ и других труб следует размещать выше на 0,4 м по вертикали в свету.

2.17. При пересечении водопроводов из труб ПВХ с газопроводами расстояние по вертикали в свету должно составлять не менее 0,2 м.

2.18. Водопроводы из труб ПВХ при пересечении с железными и автомобильными дорогами, с трамвайными путями следует прокладывать в футлярах. Длина концов футляра, выступающего за пределы пересекаемого сооружения, должна быть больше наружного диаметра трубы на 200 мм (при открытом способе производства работ).

Зазор между трубой из ПВХ и футляром следует заполнять цементно-песчаным раствором марки 100.

2.19. Соединения раструбных напорных труб из ПВХ должны уплотняться резиновыми кольцами профильного сечения (рис.5).

Рис. 5. Раструбное соединение напорных труб из ПВХ, уплотняемое резиновым кольцом профильного сечения:

1 - раструб трубы из ПВХ; 2 - гладкий конец трубы из ПВХ; 3 - резиновое кольцо профильного сечения

2.20. Резиновые уплотнительные кольца профильного сечения должны отвечать требованиям ТУ 38-105376 и ТУ 38-1051933-93.

2.21. При конструировании водопроводов из ПВХ с раструбными соединениями на резиновых кольцах в местах поворота, ответвлений и тупиковых участков должно предусматриваться устройство упоров. При расчете упоров следует принимать значения продольных усилий, приведенные в таблице 8.

Таблица 8

Величины продольных усилий (ТС), возникающих в нопорном трубопроводе из ПВХ от внутреннего давления

Участок трубопровода

Наружный диаметр, мм

63

110

160

225

280

315

Прямой отвод

0,47

1,43

3,02

5,98

9,23

11,70

угол 90°

0,66

2,02

4,26

8,40

13,1

16,6

То же 45° (135°)

0,36

1,1

2,31

4,56

7,1

8,95

То же 30° (150°)

0,24

0,74

1,57

3,1

4,79

6,66

2.22. Крепление арматуры к стенкам и днищу колодца, камеры следует производить при помощи анкерных болтов и полухомутов.

2.23. В комплекте с напорными трубами из ПВХ следует применять:

- гнутые раструбные отводы типа Т из ПВХ (см. приложение 1)

- специальный переход "фланец-гладкий конец" из металла (см. приложение 2).

- специальный переход "фланец-раструб" из металла (см. приложение 2).

Примечание. Допускается использование раструбных отводов из ПВХ, а также тройников и фланцевых переходов импортного производства при наличии гигиенического сертификата республиканского или московского комитета санэпиднадзора и сертификата соответствия Минстроя РФ.

Допускается использование специальных фасонных изделий из чугуна отечественного или импортного производства или изготовленных фасонных изделий из стали с последующим наружным антикоррозионным покрытием.

2.24. Фланцевые соединения на водопроводе из ПВХ труб, выполненные из металла, следует устанавливать, как правило, в колодцах.

Примечание. Допускается установка фланцевых соединений непосредственно в грунте с обязательным антикоррозионным покрытием узлов.

2.25. Пересечение напорных трубопроводов из ПВХ стенок колодцев и строительных конструкций или фундаментов зданий следует предусматривать с помощью стального или пластмассового футляра с заделкой зазора между футляром и трубопроводом резиновым жгутом или герметиком. Герметизацию концов футляра допускается производить гернитом.

2.26. В соответствии с требованиями главы 3 СН 478-80 допускается параллельная прокладка водопроводов из труб ПВХ без теплоизоляции при совмещенной прокладке с трубопроводами горячего водоснабжения и теплоснабжения, укладываемых в земле или канале и в каналах или туннелях отдельно или совместно с другими инженерными коммуникациями.

3. ТРАНСПОРТИРОВКА И ХРАНЕНИЕ ТРУБ

3.1. Транспортировка и хранение труб из ПВХ должны осуществляться: напорных - в соответствии с требованиями ТУ 6-19-231-87, канализационных - в соответствии с требованиями ТУ 6-19-307-86 НПО "Пластик"

При транспортировке и хранении труб из ПВХ должны также соблюдаться общие требования Инструкции Госстроя СССР – СН 478-80.

3.2. Напорные трубы из ПВХ диаметром менее 110 мм должны поставляться на склады и объекты монтажа связанными в пачки массой не более 80 кг. Напорные трубы диаметром 110 мм и более должны поставляться упакованными в пакеты.

Ориентировочные размеры и масса пакетов напорных труб из ПВХ приведены в таблице 9.

Таблица 9

Размеры и масса пакетов напорных труб из ПВХ

Наружный диаметр, мм

Габариты пакета, мм

Количество труб в пакете, шт.

Масса пакета, кг

Общая длина труб в пакете, м

ширина

высота

110

980

980

62/42х

330/515х

576/231х

160

900

900

25/25

392/640

150/137

225

1000

1000

16/12

520/603

96/66

280

940

940

9

900

36

315

1045

1045

9

1500

36

х) в числителе - для труб из ПВХ по ТУ 6-19-231-87,

в знаменателе - для труб из ПВХ-12,5 по ТУ 6-49-4-88

3.3. Напорные трубы из ПВХ должны храниться в горизонтальном положении в штабелях. Высота штабеля при транспортировании и хранении труб (в пачках и россыпью) не должна превышать 3,0 м.

3.4. Канализационные трубы из ПВХ диаметром 160 и 200 мм должны поставляться на склады и объекты монтажа упакованными в пакеты. Ориентировочные размеры и массы пакетов приведены в таблице 10.

3.5. При складировании канализационных труб из ПВХ высота штабеля не должна превышать при упаковке в пакетах - приблизительно 2,6 м.

При складировании отдельных труб высота штабеля не должна превышать приблизительно 1,7 м.

3.6. Перевозку, погрузку и разгрузку отдельных канализационных труб из ПВХ или труб, упакованных в пачки, следует производить при температуре наружного воздуха до минус 10 °С, канализационных и напорных труб, упакованных в пакеты, - при температуре до минус 15-20 °С.

Таблица 10

Размеры и масса пакетов канализационных труб из ПВХ

Диаметр и толщина стенки труб, мм

Длина отдельных труб

Габариты пакета, мм

Количество труб в пакете

Масса пакета, кг

Общая длина труб в пакете, м

высота

ширина

длина

160х3,6

5,5

930

935

5563

25

377

137

200х5,0

5,5

930

935

5575

16

478

88

200х5,9

6

930

935

6075

16

522

96

Трубы из ПВХ при отрицательных температурах имеют повышенную хрупкость, что требует соблюдения особых мер предосторожности при погрузочно-разгрузочных работах.

3.7. Соединительные канализационные муфты из ПВХ поставляются на склады и объекты монтажа в контейнерах. Раструбные отводы для напорных труб из ПВХ должны поставляться в отдельной упаковке и храниться в помещении.

4. МОНТАЖ ТРУБОПРОВОДОВ

Земляные работы

4.1. Земляные работы при строительстве внутриквартальных сетей водоснабжения и канализации из труб ПВХ, крепление стенок траншей, водоотлив и водопонижение следует производить в соответствии с требованиями главы СНиП 3.02.01-87.

4.2. Ширина траншеи по дну должна быть, как правило, не менее наружного диаметра трубы +50 см. При плотных и твердых грунтах на дне траншеи перед укладкой труб необходимо устраивать "постель" из насыпного грунта толщиной 10 см, не содержащего твердых комков крупностью более 20 мм, кирпича, камня, щебня и других твердых включений.

Перед укладкой труб из ПВХ на искусственное (бетонное или железобетонное) основание требуется устройство песчаной постели толщиной до 10 см.

4.3. Под раструбы труб из ПВХ и соединительные муфты канализационных труб на дне траншеи по всей ее ширине устраивают приямки глубиной d2 + 30 см и длиной, равной удвоенной длине раструба (l2) или муфты.

4.4. При засыпке канализационного и напорного трубопроводов из ПВХ над верхом трубопровода обязательно устройство защитного слоя из песчаного или мягкого местного грунта толщиной не менее 30 см с допускаемым содержанием твердых частиц (комков) грунта крупностью не более 20 мм и не содержащего твердых включений (щебня, камней, кирпичей и т.д.).

4.5. Засыпку пазух траншеи в случае их уплотнения следует вести послойно толщиной 5 см для глинистого грунта и 10 см для песчаного грунта (рис. 6, зоны 2 и 3).

Подбивка грунтом трубопровода из ПВХ (см. рис. 6, зона 4) производится ручным немеханизированным инструментом.

4.6. Слои грунта в пазух между стенками траншеи и трубопроводом из ПВХ уплотняются преимущественно ручной механической трамбовкой типа ИЭ-4505 или аналогичного типа. Уплотнение глинистого и песчаного грунтов в пазух трамбовкой ИЭ-4505 для достижения коэффициента уплотнения "К", приблизительно 0,93, производится за один проход (удар) трамбовки, равного приблизительно 0,95 - за два прохода (удара); более 0,95 -за три прохода (удара).

4.7.Уплотнение защитного слоя до указанных коэффициентов уплотнения рекомендуется проводить также механизированными ручными трамбовками типа ИЭ-4505. При этом производить уплотнение непосредственно над трубопроводом из ПВХ запрещается (рис. 6, зона 1).

Рис. 6. Схема уплотнения грунта при засыпке траншеи с канализационным трубопроводом из ПВХ:

1 - зона над трубопроводом из ПВХ, где уплотнение грунта запрещается; 2, 3 - зоны уплотнения ручными трамбовочными механизмами; 4 - зона уплотнения грунта немеханизированным инструментом

4.8. При обратной засыпке трубопроводов из ПВХ грунтом поверх защитного слоя, грунт не должен содержать обломков строительных деталей, материалов и пр. размерами более 300 мм.

4.9. Монтаж трубопроводов из ПВХ следует вести с максимальным использованием индустриальных методов и с подготовкой необходимых узлов, деталей трубопроводов на заводе и последующей пообъектной комплектацией.

4.10. Трубы и детали из ПВХ, поступающие на стройку, проходят входной контроль качества (ВКК).

При приемке труб от поставщика и при складировании на базе следует провести:

контроль наличия оформления поступающей трубной продукции и комплектующих изделий сопроводительной документацией;

выборочный визуальный осмотр труб;

выборочный контроль размеров труб и раструбов;

периодический контроль качества складирования и хранения труб.

На приобъектном складе следует провести:

проверку наличия паспорта-сертификата или его копий;

контроль соответствия условного обозначения на трубах, фасонных деталях и резиновых кольцах условному обозначению, указанному на ярлыке (копии ярлыка);

выборочный измерительный контроль размеров труб и фасонных деталей.

Непосредственно перед монтажом труб производится:

визуальный осмотр труб и фасонных деталей, резиновых колец;

контроль по калибрам наружного диаметра гладкого конца трубы и внутреннего диаметра раструба.

При обнаружении трещин в теле труб, на гладких концах и раструбах, скосов на концах труб трубы бракуются.

При визуальном обнаружении (при растяжении колец вручную) надрезов в резиновых кольцах или других дефектов кольца бракуются.

Монтажные работы

4.11. Трубы и муфты раскладываются по трассе (на бровке траншеи) в объеме, определяемом сменной выработкой.

4.12. Монтаж трубопроводов из ПВХ осуществляется, как правило, на дне траншеи.

4.13. Монтаж водопроводов из труб ПВХ следует производить при температуре воздуха не ниже минус 10 °С.

4.14. Соединение напорных раструбных труб из ПВХ рекомендуется выполнять в траншее по следующей технологии:

очистка от грязи и масел гладкого конца одной трубы и раструба другой;

нанесение на гладком конце трубы карандашом или мелом метки, обозначающей глубину вдвигания конца трубы в раструб;

помещение профильного резинового кольца в паз раструба;

смазка гладкого конца трубы и резинового кольца в раструбе (для смазки можно использовать жидкое мыло или мыльный раствор - состав см. п.5);

вдвигание гладкого конца в раструб до метки.

Сборку раструбных соединений труб из ПВХ диаметром до 110 мм рекомендуется осуществлять вручную. Для труб большего диаметра необходимо использовать натяжные монтажные приспособления конструкции НИИМосстрой - СКБ "Мосстрой" (проект № 5164).

4.15. При сборке раструбных соединений глубина вдвигания гладкого конца трубы в раструб должна приниматься по табл.11.

Таблица 11

Глубина вдвигания гладкого конца напорных труб из ПВХ в раструб в зависимости от температуры монтажа трубопроводов

Средний наружный диаметр, мм

Зимой

Летом

6

6

63

93

102

110

110

120

160

130

143

225

135

168

280

152

190

315

164

202

4.16. Соединение канализационных раструбных труб из ПВХ рекомендуется выполнять по следующей технологии:

очистка от грязи и масел гладкого конца одной трубы и раструба другой (муфты);

нанесение на гладком конце трубы карандашом или мелом метки, обозначающей глубину вдвигания конца труб в раструб (в муфту).

Расстояние от торца трубы до метки принимается для труб диаметром 110 мм - 45 мм, 160 мм - 66 мм, 200 - 81 мм;

помещение резиного кольца в паз раструба (муфты);

смазка гладкого конца трубы жидким мылом или мыльным раствором (состав см. п. 4.17);

вдвигание гладкого конца трубы в раструб (муфту) до метки.

Сборку раструбных соединений канализационных труб из ПВХ рекомендуется выполнять вручную с помощью рычага (с торца присоединяемой трубы) или с помощью специальных натяжных приспособлений, разработанных НИИМосстроем и СКБ "Мосстрой" (проект СКБ "Мосстрой" № 5164).

После сборки соединения рекомендуется проверить щупом толщиной до 0,5 мм наличие резинового кольца в пазе раструба (муфты).

4.17. Сборку раструбных соединений труб из ПВХ рекомендуется производить при температуре наружного воздуха до минус 10 °С. При температуре ниже 0 °С резиновые кольца должны храниться в теплом помещении и вставляться в раструб трубы, не выдерживаясь при отрицательной температуре. Рекомендуется состав мыльного раствора следующий: глицерин технический - 450 г, вода - 515 г, мыльный порошок (стружка) - 35 г (для сборки соединений при температуре ниже 0 °С).

4.18. Укладку плети трубопровода с раструбными соединениями необходимо производить при положительной температуре. При этом радиус изгиба не должен превышать приблизительно 300 диаметров трубы.

4.19. Канализационные трубы из ПВХ, уложенные на дно траншеи, спланированное по уклону, выравниваются в горизонтальной плоскости и закрепляются грунтом.

4.20. Перед засыпкой пазух рекомендуется на концы канализационного трубопровода (длиной от колодца до колодца) надвинуть соединительные муфты с одним резиновым кольцом (см. рис. 4).

4.21. При засыпке пазух и устройстве защитного слоя грунта над трубопроводом раструбные соединения оставляют не засыпанными до проведения предварительных испытаний на герметичность. После предварительных испытаний выполняется засыпка стыков с уплотнением грунта в приямках и подбивкой грунта под раструб вручную с использованием немеханизированного инструмента. Уплотнение грунта пазух и защитного слоя производится послойно с использованием механических трамбовок (см. п.п. 4.6 и 4.7).

4.22. При необходимости разрезку труб рекомендуется выполнять пилой для дерева. В этом случае на концах труб следует снять фаску под углы 15 °С с помощью специального приспособления, разработанного НИИМосстроем и СКБ "Мосстрой" (проект СКБ "Мосстрой" № 5526/1), или с помощью плоского тупоносого рашпиля (ГОСТ 6876-68).

Длина фаски на концах напорных и канализационных труб из ПВХ должна составлять 10-26 мм и 7-9 мм соответственно.

4.23. Монтаж узлов в колодцах производят одновременно с прокладкой водопровода из ПВХ. Присоединение трубопроводов к фланцам установленных в колодце металлических деталей и задвижек производят перед засыпкой защитного слоя без затяжки болтов. Окончательная затяжка болтов фланцевых соединений выполняется непосредственно перед гидравлическим испытанием водопровода.

5. ИСПЫТАНИЯ ВНУТРИКВАРТАЛЬНЫХ СЕТЕЙ ВОДОПРОВОДА И КАНАЛИЗАЦИИ ИЗ ПОЛИВИНИЛХЛОРИДНЫХ РАСТРУБНЫХ ТРУБ

5.1. Испытание безнапорных и напорных пластмассовых трубопроводов надлежит производить с учетом общих требований СНиП 3.05.04-85 на прочность и плотность (герметичность) гидравлическим способом.

Допускается испытание водопроводов пневматическим способом, при этом порядок проведения работ и требования безопасности устанавливаются проектом.

5.2. Величина предварительного испытательного (избыточного) гидравлического давления на прочность, выполняемого до засыпки траншеи и установки арматуры (гидрантов, предохранительных клапанов, вантузов), должна быть равна расчетному рабочему давлению для данного типа труб с коэффициентом 1,5 (для труб из ПВХ типа Т - 1,5 МПа).

Величина окончательного испытательного гидравлического давления на прочность, выполняемого после засыпки траншеи и завершения всех работ на данном участке трубопровода, но до установки гидрантов, предохранительных клапанов и вантузов, вместо которых на время испытания устанавливаются заглушки, должна быть равна расчетному давлению для данного типа труб с. коэффициентом 1,3 (для труб из ПВХ типа Т - 1,3 МПа).

5.3. Водопровод из раструбных труб ПВХ и соединительных деталей следует подвергать испытанию участками длиной не более 0,5 км.

5.4. До проведения испытания водопроводов из труб ПВХ с раструбными соединениями, уплотняемыми резиновыми кольцами, по торцам трубопровода и на отводах необходимо устраивать временные или постоянные упоры. Значения продольных усилий (те), возникающих при испытании трубопроводов, приведены в табл. 5. Трубопровод должен быть присыпан (кроме стыков) на высоту 80 см.

5.5. Предварительное гидравлическое испытание водопроводов из ПВХ труб следует производить в следующем порядке:

трубопровод заполнить водой и выдержать без давления в течение 2 ч;

в трубопроводе создать испытательное давление и поддерживать его в течение 0,5 ч;

испытательное давление снизить до расчетного рабочего и произвести осмотр трубопровода. Выдержка трубопровода под рабочим давлением производится не менее 0,5 ч.

Ввиду деформации оболочки трубопровода необходимо поддерживать в трубопроводе испытательное или рабочее давление подкачкой воды.

5.6. Водопровод из труб ПВХ считается выдержавшим предварительное гидравлическое испытание, если под испытательным давлением не обнаружено разрывов труб и фасонных деталей, а под рабочим давлением - не обнаружено видимых утечек воды.

5.7. Проведение окончательных гидравлических испытаний на плотность водопроводов из труб ПВХ необходимо начинать не ранее чем через 48 ч с момента засыпки траншеи и не ранее чем через 2 ч после заполнения трубопровода водой.

5.8. Окончательное гидравлическое испытание на плотность производится в следующем порядке:

в трубопроводе следует создать давление, равное расчетному рабочему давлению для данного типа труб, и поддерживать его 2 ч; при падении давления на 0,02 МПа (0,2 кгс/см2) производится подкачка воды;

давление поднимают до уровня испытательного за период не более 10 мин и поддерживают его в течение 2 ч.

При падении давления в этот период на 0,02 МПа (0,2 кгс/см2) производится подкачка воды. После этого замеряется утечка воды путем замера количества воды, добавленного для поддержания испытательного давления.

5.9. Водопровод из труб ПВХ считается выдержавшим окончательное гидравлическое испытание на плотность, если при испытательном давлении фактическая утечка воды из трубопровода не будет превышать допустимых величин, указанных в табл.12.

Таблица 12

Допустимая величина утечки на участок водопровода длиной 1 км из раструбных напорных труб ПВХ

Наружный диаметр труб, мм

Величина утечки, л/мин

63-75

0,3-0,5

90-110

0,6-0,7

160-180

1,05-1,2

225

1,4

280

1,6

315

1,7

5.10. Перед приемкой в эксплуатацию водопровод из ПВХ труб должен быть промыт водой питьевого качества при скорости течения 1-1,5 м/с. Длительность промывки должна составлять не менее 12 ч.

5.11. При проведении испытаний трубопроводов самотечной канализации из труб ПВХ следует руководствоваться требованиями Инструкции Госстроя СССР СН 478-80.

5.12. Согласно Инструкции СН 478-80 гидравлические испытания канализационных сетей из пластмассовых труб на плотность следует производить дважды: без колодцев (предварительные) и совместно с колодцами в том случае, если последние имеют гидроизоляцию внутренней и наружной поверхностей (окончательное).

5.13. Для канализационных сетей, смонтированных из труб ПВХ с раструбными соединениями, уплотняемыми резиновыми кольцами, допускается производить предварительные испытания (до окончательной засыпки траншеи) не гидравлическим способом, а пневматическим. При этом по концам испытуемого участка трубопровода должны устраиваться временные упоры, а над трубопроводом (кроме стыков) - защитный слой грунта.

5.14. Пневматические испытания проводятся под давлением сжатого воздуха 0,05 МПа (0,5 кгс/см2) с выдержкой в течение 15 мин. За это время проводят проверку герметичности стыков труб путем обмазки раструбной щели по периметру стыка мыльным раствором (эмульсией), используемым для сборки раструбных соединений (состав: 40 г мыла, 1 л воды, несколько капель глицерина). При проведении пневматических испытаний при отрицательной температуре для проверки герметичности раструбного соединения используется мыльный раствор, приготовляемый на техническом глицерине (состав см. п. 4.17). Нанесение мыльного раствора на раструбную щель стыка производится кистью.

5.15. Канализационный трубопровод считается выдержавшим предварительные испытания пневматическим способом, если при обмазке мыльным раствором не выявляется пузырение, а падение давления воздуха по испытательному манометру (при отключенном компрессоре и перекрытом подающем трубопроводе) не наблюдается.

В случае появления пузырей из раструбной щели это место по периметру насухо вытирают, подсушивают, обезжиривают (металенхлоридом, ацетоном) и наносят кистью в зазор два слоя клея типа "Тангит".

В случае установления неплотностей в теле канализационных труб из ПВХ вследствие образования сквозных трещин, отверстий и пробоин дефектный участок вырезают и вставляют новый (раструбный или гладкий) отрезок трубы с использованием надвижных муфт (см. рис. 36).

5.16. При проведении окончательных гидравлических испытаний канализационного трубопровода из ПВХ с раструбными соединениями, уплотняемыми резиновыми кольцами, испытываемый участок трубопровода признается выдержавшим испытание на плотность, если определяемая при испытании утечка или поступление воды будут равны или меньше указанных в табл. 13.

Таблица 13

Допускаемая величина утечки или поступления воды в трубопровод из ПВХ при испытаниях на плотность

Наружный диаметр трубопровода, ДН, мм

Допускаемая величина утечки (поступления) воды в м3/сут на длину трубопровода, м

100

1000

110

0,3

3,5

160

0,3

3,5

200

1,0

10,0

250

1,2

12

5.17. При испытании напорных и канализационных трубопроводов из ПВХ диаметром 110, 160, 225 мм в качестве инвентарных заглушек следует использовать чугунные патрубки "фланец-раструб" (E-KS) или "фланец-гладкий конец" (F-KS), снабженные глухим фланцем.

В процессе испытаний под давлением у заглушек должны быть устроены временные упоры.

6. ТРЕБОВАНИЯ БЕЗОПАСНОСТИ

6.1. При строительстве внутриквартальных сетей водопровода и канализации из труб ПВХ следует соблюдать общие требования СНиП III-4-80* "Техника безопасности в строительстве".

6.2. К монтажным работам с трубами из ПВХ допускаются лица не моложе 18 лет, предварительно прошедшие медицинское освидетельствование, специальное обучение, вводный инструктаж по технике безопасности и инструктаж на рабочем месте.

6.3. Трубы из ПВХ в условиях хранения, монтажа не выделяют в окружающую среду токсичных веществ. При непосредственном контакте материал труб не оказывает влияния на организм человека. Работа с трубами из ПВХ не требует особых мер предосторожности.

6.4. Трубы из ПВХ относятся к группе трудногорючих по ГОСТ 12.1.044-89. При горении выделяется хлористый водород (ПДК-5 мг/м3, класс опасности 3, ГОСТ 12.1.004-91).

При работе с трубами из ПВХ следует соблюдать правила противопожарной безопасности (ГОСТ 12.1.004-89). В случае возникновения пожара и загорания труб из ПВХ их следует тушить всеми средствами пожаротушения. При тушении труб из ПВХ в закрытых складских помещениях следует применять противогаз с фильтром марки В или фильтрующие противогазы.

6.5. Гидравлические испытания трубопроводов водоснабжения и канализации, а также пневматические испытания трубопроводов канализации следует проводить в строгом соответствии с проектом производства работ, Инструкцией СН 478-80 и настоящими ВСН.

6.6. Гидравлические и пневматические испытания трубопроводов из ПВХ следует производить после их надежного закрепления грунтом посередине (на высоту 0,80 м) и устройства упоров по их концам на поворотах и ответвлениях.

6.7. При монтаже и испытаниях трубопровода из ПВХ запрещается прислонять к нему лестницы или стремянки, ходить по трубопроводу.

При испытаниях запрещается обстукивать трубы из ПВХ молотком или оттягивать их от стенок траншеи или строительных конструкций.

7. СПОСОБЫ РЕМОНТА ТРУБОПРОВОДОВ ИЗ ПВХ

7.1. При обнаружении сквозных трещин, проколов, смятия и других повреждений канализационного трубопровода из ПВХ после опорожнения трубопровода и отрывки котлована поврежденный участок трубы соответствующей длины вырезается. Подготавливается отрезок от новой трубы из ПВХ длиной, равной расстоянию от одного отрезанного конца трубопровода до другого минус 10 мм, на концах трубопровода и заменяющего отрезка труб наносятся метки на расстоянии 60 мм от торца. На торцах трубопровода и отрезка трубы снимают фаску под углом 15 град (относительно оси трубы). На концы заменяющего отрезка трубы надевают надвижные муфты снабженные резиновыми кольцами, и его устанавливают на место удаленного отрезка, а затем на стык надвигают муфты из ПВХ (технология выполнения стыка - п. 4.16).

Для снятия фаски на торцах труб из ПВХ следует использовать рашпиль, для сборки соединения следует использовать специальное натяжное приспособление (проект № 5164 СКБ "Мосстрой").

7.2. При обнаружении течи в раструбном (муфтовом) соединении канализационного трубопровода место по периметру следует насухо вытереть, затем подсушить и обезжирить (ацетоном), после чего нанести кистью в зазор два слоя клея типа "Тангит". После его отверждения в течение 2 ч, трубопровод в месте отремонтированного стыка можно засыпать песчаным грунтом с подбивкой и послойным трамбованием его в пазух траншеи.

7.3. При обнаружении сквозных трещин, вырывов, проколов, глубоких вмятин водопровода из ПВХ после опорожнения трубопровода и отрыски котлована поврежденный участок соответствующей длины удаляется.

На концах трубопровода из ПВХ снимаются рашпилем фаски под углом 15 град. Концы труб очищают от грязи и масел и смазывают мыльным раствором (см. п. 5). Затем на концы трубы с помощью натяжного приспособления надвигают чугунные фланцевые переходы "фланец-раструб" (E-KS), снабженные резиновым уплотнительным кольцом.

Подготавливают новый отрезок напорной трубы длиной, равной расстоянию между фланцами перехода "E-KS".

На концы заменяющего отрезка из ПВХ после снятия фасок надевают фланцевые переходы "фланец-раструб" (E-KS).

Отрезок трубы с фланцевыми переходами вставляют на место удаленного отрезка трубопровода и через резиновые прокладки соединяют фланцы на болтах (болты и гайки должны быть надмированы).

После подачи давления в трубопровод проверяют герметичность фланцевых соединений. Если не обнаружено видимых утечек воды, отремонтированный участок трубопровода засыпают песчаным грунтом с подбивкой и трамбованием его в пазух траншеи.

7.4. При обнаружении разрушений или течи воды в раструбном соединении водопровода из труб ПВХ стык на участке трубопровода соответствующей длины вырезается. Далее производится ремонт согласно п. 7.3.

Приложение 1

ОТВОДЫ ИЗ ПВХ С РАСТРУБОМ ПОД РЕЗИНОВОЕ КОЛЬЦО ПО ТУ 6-19-221-85

 

Размеры в мм

d

d1

d2

S

l* не менее

l1

R*

Масса, кг для L*

Ном.

Пред. откл.

Ном.

Пред. откл.

Ном.

Пред. откл.

Ном.

Пред. откл.

11°

30°

45°

90°

90

+0,3

90,7

+0,8

110,7

+0,8

4,3

+0,7

110,5

161

315

1,2

1,4

1,6

2,1

110

110,8

+0,9

132,5

+0,9

5,3

+0,8

116,0

174

385

1,9

2,0

2,1

2,9

160

+0,4

161,0

+1,1

186,0

+1,0

7,7

+1,0

134,5

208

560

4,1

5,1

5,7

7,8

225

+0,5

226,4

254,5

+1,2

10,8

+1,3

154,0

251

788

10,0

12,7

14,3

21,0

280

+0,6

281,6

+1,4

314,7

+1,4

13,4

+1,6

172,0

288

980

17,8

23,0

32,0

48,5

315

+0,6

316,8

+1,5

351,3

+1,6

15,0

+1,7

184,0

311

1103

24,5

32,0

35,0

55,5

Приложение 2

СПЕЦИАЛЬНЫЕ ФЛАНЦЕВЫЕ ПЕРЕХОДЫ ИЗ ЧУГУНА К РАСТРУБНЫМ НАПОРНЫМ ТРУБАМ ИЗ ПВХ

Фланец - раструб Е – KS

Размеры в мм

ДН

100

150

200

250

300

Д

220

285

340

395

445

К

180

240

255

350

400

L

135

155

195

215

235

Масса, m, кгс

80

14,0

23,0

34,1

43,5

Фланец - гладкий конец F - KS

Размеры в мм

ДН

100

150

200

250

300

L

145

175

200

235

260

Масса, m, кгс

85

14,5

21,5

29,5

35,0

Приложение 3

ПЕРЕЧЕНЬ ИНСТРУМЕНТОВ И ПРИСПОСОБЛЕНИЙ ДЛЯ МОНТАЖА

1. Приспособление для сборки пластмассовых труб диаметром 110-160 мм (Проект № 5164/4А СКБ "Мосстрой").

2. Приспособление для сборки пластмассовых труб диаметром 160-200 мм (проект № 5164/ЗА СКВ "Мосстрой").

3. Приспособление для сборки пластмассовых труб диаметром 225-315 мм (проект № 5164/2А СКБ "Мосстрой").

4. Ручное приспособление для снятия фасок на ПВХ трубах диаметром 110-160 мм (проект № 5526 СКБ "Мосстрой").

5. Механизированное устройство для снятия фасок на трубах из ПВХ диаметром 160-315 мм (проект № 5852 СКБ "Мосстрой").

6. Ножовка для дерева.

7. Лоток деревянный.

8. Рашпиль плоский тупоносый 250 № 2 (ГОСТ 6876-68).

9. Щуп металлический Г-образный толщиной 0,5 мм.

10. Рулетка (ГОСТ 7502-80).

11. Заглушки для испытаний: патрубки чугунные "фланец-раструб" E-KS и "фланец-гладкий конец" F-KS диаметром 100, 150, 200 мм.

12. Комплект заглушек для испытания канализационных трубопроводов из ПВХ (проект № 6134 СКВ "Мосстрой").

 




ГОСТЫ, СТРОИТЕЛЬНЫЕ и ТЕХНИЧЕСКИЕ НОРМАТИВЫ.
Некоммерческая онлайн система, содержащая все Российские Госты, национальные Стандарты и нормативы.
В Системе содержится более 150000 файлов нормативно-технической документации, действующей на территории РФ.
Система предназначена для широкого круга инженерно-технических специалистов.

Рейтинг@Mail.ru Яндекс цитирования

Copyright © www.gostrf.com, 2008 - 2026