Крупнейшая бесплатная информационно-справочная система онлайн доступа к полному собранию технических нормативно-правовых актов РФ. Огромная база технических нормативов (более 150 тысяч документов) и полное собрание национальных стандартов, аутентичное официальной базе Госстандарта. GOSTRF.com - это более 1 Терабайта бесплатной технической информации для всех пользователей интернета. Все электронные копии представленных здесь документов могут распространяться без каких-либо ограничений. Поощряется распространение информации с этого сайта на любых других ресурсах. Каждый человек имеет право на неограниченный доступ к этим документам! Каждый человек имеет право на знание требований, изложенных в данных нормативно-правовых актах!

  


 

ГОСУДАРСТВЕННЫЙ СТАНДАРТ СОЮЗА ССР

ПОРОДЫ ГОРНЫЕ

МЕТОД ОПРЕДЕЛЕНИЯ ДЕФОРМАЦИОННЫХ
ХАРАКТЕРИСТИК ПРИ ОДНООСНОМ СЖАТИИ

ГОСТ 28985-91

КОМИТЕТ СТАНДАРТИЗАЦИИ И МЕТРОЛОГИИ СССР

Москва

 

ГОСУДАРСТВЕННЫЙ СТАНДАРТ СОЮЗА ССР

ПОРОДЫ ГОРНЫЕ

Метод определения деформационных
характеристик при одноосном сжатии

Rocks. Method for determination of deformation
characteristics under uniaxial compression

ГОСТ
28985-91

Дата введения 01.07.92

Настоящий стандарт распространяется на твердые горные породы с пределом прочности при одноосном сжатии не менее 5 МПа и устанавливает метод определения их деформационных характеристик при одноосном сжатии образцов.

Стандарт не распространяется на мерзлые горные породы.

1. ОБЩИЕ ПОЛОЖЕНИЯ

1.1. Испытания образцов проводят для определения следующих деформационных характеристик:

зависимостей "напряжение - деформация";

модуля упругости Еу;

коэффициента Пуассона ;

модуля деформации Ед;

коэффициента поперечной деформации .

1.2. Сущность метода заключается в измерении сжимающей силы, приложенной к торцам образца, продольных и поперечных деформаций его, вызванных этой силой.

1.3. Метод предусматривает знание или определение предела прочности при одноосном сжатии испытываемой породы  по ГОСТ 21153.2.

1.4. Деформационные характеристики горных пород следует определять в диапазоне требуемых напряжений. При этом диапазон напряжений от 5 до 50 % от предела прочности при одноосном сжатии является обязательным.

2. МЕТОД ОТБОРА ПРОБ

Отбор проб - по ГОСТ 21153.0 со следующими дополнениями:

размеры и объем пробы должны обеспечить изготовление образцов необходимых размеров и количества, указанных в п.п. 4.4, 4.11, 4.12;

допускается взамен парафинирования производить консервацию проб негигроскопических пород битумированной бумагой по ГОСТ 515, полиэтиленовой пленкой по ГОСТ 10354 или другими водонепроницаемыми материалами, не вступающими в химическое взаимодействие с горными породами;

при необходимости отбор проб сопровождают определением влажности по ГОСТ 5180 (для карналлита - по ГОСТ 16109).

3. ОБОРУДОВАНИЕ, ИНСТРУМЕНТЫ И МАТЕРИАЛЫ

Для подготовки и проведения испытаний применяют оборудование, инструменты и материалы по ГОСТ 21253.2 (разд. 1) со следующими дополнениями:

индикаторы многооборотные с ценой деления 0,001 мм по ГОСТ 9696 или индикаторы часового типа с ценой деления 0,01 мм по ГОСТ 577 - для измерения деформаций образца;

тензорезисторы по ГОСТ 21616 - для измерения относительных деформаций, в том числе тензорезисторы типов ФКП, ФКТ - для измерения относительных поперечных деформаций образца;

тензометры любой конструкции (индикаторный, тензорезисторный, индуктивный, лазерный, оптический, емкостной и т.п.), отвечающие требованиям ГОСТ 18957 и обеспечивающие измерение продольных и поперечных деформаций образцов с погрешностью не более 2 %;

приборы и устройства, обеспечивающие точность измерения регистрации относительных деформаций и нагрузок не менее 2 %, например, цифровой тензометрический мост (ЦТМ-5, ИДЦ-1) или самопишущий потенциометр (ПДП-4);

клей типа БФ-2 по ГОСТ 12172 или циакрин ЭО по ТУ 6-09-30-86 - для наклейки тензорезисторов;

спирт этиловый ректификованный технический по ГОСТ 18300, ацетон по ГОСТ 2768 - для очистки поверхностей склеивания;

паяльник по ГОСТ 7219;

припой ПОЛС-61 по ГОСТ 21931;

флюс канифольный по ГОСТ 19113.

4. ПОДГОТОВКА К ИСПЫТАНИЮ

4.1. Для испытания изготовляют цилиндрические или призматические (с квадратным сечением) образцы.

4.2. Образцы выбуривают или вырезают на камнерезной машине из штуфов или кернов, их торцевые поверхности шлифуют; при необходимости шлифуют боковые поверхности до обеспечения требований п.п. 4.5 и 4.6.

4.3. Образцы из гигроскопических пород изготовляют без применения промывочной жидкости и до начала испытания хранят в эксикаторе. Допускается применение в качестве промывочной жидкости силиконового или трансформаторного масла по ГОСТ 982, а также других жидкостей, не вступающих в химическое взаимодействие с горными породами.

4.4. Размеры образцов должны соответствовать указанным в табл. 1.

Таблица 1

Наименование параметра образца

Массовые испытания

Сравнительные испытания

Диаметр d (сторона квадрата a), мм

От 30 до 90 включ.

42 ± 2

Отношение высоты h к диаметру (стороне квадрата)

2,0 ± 0,1

2,00 ± 0,05

Примечание. Диаметр (сторона квадрата) образцов должен быть не менее 10-кратного линейного размера зерен (неоднородностей), слагающих породу.

Измерения производят штангенциркулем с погрешностью не более ± 0,1 мм. Диаметр (сторону квадрата) измеряют в средней части образца в двух взаимно перпендикулярных направлениях. Допускается разность диаметров (сторон квадрата) по этим измерениям не более 1,0 мм. За расчетный диаметр (сторону квадрата) принимают среднее арифметическое результатов измерений.

4.5. Торцевые поверхности образца должны быть плоскими, параллельными друг другу и перпендикулярными к боковой поверхности.

Неплоскостность (выпуклость, вогнутость) проверяют линейкой штангенциркуля или боковой поверхностью слесарного угольника на отсутствие просвета.

Отклонения от перпендикулярности образующей к торцам образца контролируют слесарным угольником на отсутствие просвета в двух взаимно перпендикулярных направлениях.

4.6. Образующие боковых поверхностей образца должны быть прямолинейными по всей его высоте.

Отклонение от прямолинейности контролируют линейкой штангенциркуля или боковой поверхностью слесарного угольника на отсутствие просвета.

Допускаемая шероховатость поверхности образца в зоне контакта с датчиками деформации (тензорезисторами или тензометрами) - не более 0,2 мм.

4.7. Образцы должны иметь одинаковые размеры. Допускается отклонение значений диаметра (сторон квадрата) каждого образца от среднего арифметического не более ± 1 мм и высоты не более ± 3 мм.

4.8. База измерения деформации должна быть не менее 15 мм, и превышать линейный размер зерен (неоднородностей), слагающих образец, не менее чем в 10 раз и располагаться симметрично по отношению к середине образца. База измерения продольной деформации l не должна превышать диаметр (сторону квадрата) образца.

4.9. Количество чувствительных элементов датчиков деформаций, закрепляемых на образце, должно быть не менее двух для каждого вида деформаций. Их располагают равномерно по периметру в средней по высоте части боковой поверхности образца без наложения друг на друга. Возможное расположение чувствительных элементов (тензорезисторов) на боковой поверхности образца показано на черт. 1. Для измерения поперечных деформаций должны применяться только фольговые тензорезисторы.

 

1 - образец; 2 - тензорезистор поперечных деформаций; 3 - тензорезистор продольных деформаций; 4 - образующая

 

Черт. 1

4.10. Наклейка тензорезисторов на боковую поверхность образца производится в соответствии с их эксплуатационной документацией.

4.11. Количество образцов при сравнительных испытаниях должно быть не менее 5 при условии обеспечения надежности  результатов не менее 90 % и относительной погрешности  не более 10 %.

4.12. Количество образцов при массовых испытаниях должно быть не менее 3 при условии обеспечения надежности  результатов не ниже 80 % и относительной погрешности  не более 20 %.

4.13. Определение фактической надежности  результатов испытаний и уточнение необходимого числа образцов n для достижения заданной надежности производят в соответствии с приложением 1.

5. ПРОВЕДЕНИЕ ИСПЫТАНИЯ

5.1.Образец, оснащенный датчиками деформаций, устанавливают на испытательной машине (прессе) в соответствии с ГОСТ 21153.2 (разд. 1).

5.2. Датчики деформаций подключают к регистрирующей аппаратуре.

5.3. Образец нагружают до начального напряжения  (напряжения пригрузки), составляющего 5 % от предела прочности при одноосном сжатии ( = 0,05 ).

Значения деформаций при напряжении  принимают за условный ноль отсчета деформаций. Индикаторы часового типа устанавливают в положение нулевого отсчета с натягом на 1-2 оборота большой стрелки.

5.4. Деформации образца регистрируют не менее чем при десяти значениях напряжения сжатия в процессе нагружения до максимального заданного значения  и при последующей разгрузке до  регистрируют деформации также не менее чем при десяти значениях напряжения.

5.5. При дискретной записи отсчетов интервал времени между отсчетами не должен превышать 10 с при нагружении и разгрузке образца.

Продолжительность остановки при переходе от нагружения к разгрузке не должна превышать 30 с.

5.6. Значения нагрузок Р, зафиксированные силоизмерителем испытательной машины (пресса), и соответствующие им показания приборов для деформаций (продольных  и поперечных ) записывают в журнал испытаний в соответствии с приложением 2.

5.7. При необходимости определяют влажность испытанного образца. Для этого после завершения испытания образец освобождают от датчиков деформации и разрушают его; обломки образца помещают в бюксы и сразу же взвешивают. Дальнейшие операции - по ГОСТ 5180 (для карналлита - по ГОСТ 16109). Влажность фиксируют в журнале испытаний.

6. ОБРАБОТКА РЕЗУЛЬТАТОВ

6.1. По результатам испытаний строят графики зависимостей "напряжение  - деформаиця " (черт. 2), на которых каждому зафиксированному уровню напряжений , , ,  соответствуют относительные деформации образца: продольные  при нагружении , , ,  и разгрузке , , , ; поперечные  - при нагружении , , ,  и разгрузке , , , .

 

Черт. 2

6.2. Модуль деформации Ед и коэффициент поперечной деформации  в заданном диапазоне напряжений () определяются по нагрузочным ветвям зависимостей  по формулам:

модуль деформации (Ед) в МПа

;

коэффициент поперечной деформации ()

.

Модуль упругости (Еу) и коэффициент Пуассона () определяются в этом же диапазоне напряжений по разгрузочным ветвям зависимостей  по формулам:

модуль упругости (Еу) в МПа

;

коэффициент Пуассона ()

,

где ,  -

напряжения в конце и начале диапазона при нагружении или разгрузке, МПа;

,  -

относительные продольные деформации образца в конце и начале диапазона при нагружении;

,  -

относительные поперечные деформации образца в конце и начале диапазона при нагружении;

,  -

относительные продольные деформации образца в конце и начале диапазона при разгрузке;

,  -

относительные поперечные деформации образца в конце и начале диапазона при разгрузке.

6.3. При использовании тензометров, измеряющих абсолютные деформации, рассчитывают относительные деформации образца по формулам:

где l -

база измерения продольных деформаций образца, мм;

 -

изменение базы при изменении нагрузки на образец, мм;

d(a) -

диаметр (сторона квадрата) образца, мм;

 -

изменение диаметра (стороны квадрата) при изменении нагрузки на образец, мм.

6.4. Обработку результатов испытаний n образцов производят в следующем порядке.

Вычисляют средние арифметические значения по пробе для , , Еу, , средние квадратические отклонения  и коэффициенты вариации  по формулам:

а также фактическую надежность их определения согласно приложению 1.

6.5. Вычисления величин , , Еу,  по формулам п.п. 6.2 и 6.4 производят до второй значащей цифры.

6.6. Пример обработки и представления результатов испытаний приведен в приложениях 2 и 3.

ПРИЛОЖЕНИЕ 1

Рекомендуемое

ОПРЕДЕЛНИЕ НАДЕЖНОСТИ И ПОГРЕШНОСТИ РЕЗУЛЬТАТОВ
ИСПЫТАНИЯ, УТОЧНЕНИЕ НЕОБХОДИМОГО ЧИСЛА ОБРАЗЦОВ

Значение фактической надежности  результатов испытания устанавливают по табл. 2 по заданному максимальному значению относительной погрешности , коэффициенту вариации V (см. п.п. 4.11, 4.12 настоящего стандарта) и числу испытанных образцов n.

Если определенное таким образом значение надежности меньше заданного, то испытывают дополнительное число образцов, которое устанавливают по табл. 2. После испытания обработку результатов (см. п. 6.4) повторяют для нового числа образцов.

При невозможности испытания дополнительного числа образцов принимают заданное значение надежности  и по табл. 2 устанавливают фактическую относительную погрешность  оценки средних значений деформационных характеристик для каждого диапазона напряжений.

Таблица 2

Значение отношения

Надежность , %

Число образцов n, шт.

3

4

5

6

7

8

9

10

0,4

44

52

58

63

66

70

74

76

0,6

59

68

75

80

84

87

89

91

0,8

71

79

85

90

92

94

96

96

1,0

77

86

91

94

96

97

98

99

1,2

82

90

94

96

98

99

99

100

1,4

86

93

96

96

99

99

100

100

1,6

89

95

98

99

99

100

100

100

 

ПРИЛОЖЕНИЕ 2

Рекомендуемое

ФОРМА ЖУРНАЛА ОПРЕДЕЛЕНИЯ ОТНОСИТЕЛЬНЫХ ДЕФОРМАЦИЙ

Таблица 3


Нагрузка, Р, кН

Напряжение , МПа

Показания датчиков деформаций, делений

Средние значения показаний датчиков деформаций, делений

Приращение показаний датчиков деформаций, делений

Относительные деформации образцов

продольные

поперечные

продольные

поперечные

продольные

поперечные

продольные

поперечные

h1

h2

hn

d1

d2

dn

1

2

3

4

5

6

 

8

9

10

11

12

13

14

 


ПРИЛОЖЕНИЕ 3

Рекомендуемое

ПРИМЕР РАСЧЕТА ДЕФОРМАЦИОННЫХ ХАРАКТЕРИСТИК

Определить деформационные характеристики песчаника с линейными размерами зерен не более 1 мм при испытании образцов одноосным сжатием в диапазоне напряжений от 0,4 до 0,7 .

Размеры образцов: d = 41,5 мм; h = 84,4 мм; площадь поперечного сечения S = 13,45 см2; n = 5.

Предел прочности песчаника при одноосном сжатии - по ГОСТ 21153.2  = 112 МПа; разрушающая нагрузка Рпр =  × S = 150 кН.

Регистрирующий прибор - измеритель деформации цифровой ИДЦ-1 с ценой деления 1 × 10-5.

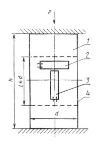
Датчики деформаций - тензорезисторы с базой измерения 15 мм в прижимном тензометре ДМ-12, изображенном на черт. 3.

Для одного из образцов результаты испытания (нагружение и разгрузка) записаны в журнал в виде табл. 4 в соответствии с приложением 2 и построены графики зависимостей , аналогичные показанным на черт. 2.

Таблица 4

Р,
кН

,
МПа

h1,
деле-
ний

h2,
деле-
ний

d1,
деле-
ний

d2,
деле-
ний

,
деле-
ний

,
деле-
ний

,
деле-
ний

,
деле-
ний

Примечание

7,5

5,6

546

538

554

461

542

507

0

0

20

15,0

527

521

565

465

524

515

18

8

Нагружение

30

22,0

514

497

570

468

506

519

36

12

 

40

30,0

493

483

572

470

488

521

54

14

 

50

38,0

481

463

578

476

472

527

70

20

 

60

44,8

453

447

581

477

450

529

92

22

75

56,0

413

431

586

480

422

533

120

26

85

63,0

371

421

594

484

396

539

146

32

 

95

71,0

356

408

599

487

382

543

160

36

 

105

78,4

326

390

606

492

358

549

184

42

 

95

71,0

350

408

600

490

379

545

162

38

Разгрузка

85

63,0

375

425

597

485

400

541

142

34

 

75

56,0

390

438

595

483

414

539

128

32

60

44,8

425

455

589

481

440

535

102

28

50

38,0

452

468

585

477

460

531

82

24

 

40

30,0

476

480

574

472

478

523

64

16

 

30

22,0

500

496

566

468

498

517

44

10

 

20

15,0

520

516

560

466

518

513

24

6

 

7,5

5,6

534

538

558

464

536

511

6

4

Расчет деформационных характеристик производится по разд. 6.

1. В соответствии с п. 1.4 необходимо определить значения , , Еу,  в диапазоне напряжений (), где  = 0,05× = 5,6 МПа;  = 0,5× = 56,0 МПа.

 МПа;

;

 МПа;

.

2. Расчет деформационных характеристик в заданном диапазоне напряжений (), где  = 0,4× = 44,8 МПа;  = 0,7× = 78,4 МПа.

 МПа;

;

 МПа;

Примечание. На уровне напряжения  деформации образца при нагружении и разгрузке равны между собой: ; .

3. После испытаний всех отобранных образцов песчаника и обработки результатов по разд. 6 получены следующие значения, представленные в табл. 5.

Таблица 5

Номер образца

Деформационные характеристики в диапазоне напряжений

от 0,05× до 0,5×

от 0,4× до 0,7×

×10-4,
МПа

×10-4,
МПа

×10-4,
МПа

×10-4,
МПа

1

4,2

0,22

4,1

0,23

3,6

0,22

4,1

0,17

2

3,2

0,17

3,0

0,19

3,0

0,17

3,0

0,18

3

4,8

0,20

4,7

0,18

4,6

0,21

4,7

0,20

4

3,9

0,24

3,6

0,17

3,4

0,19

3,7

0,21

5

4,4

0,18

4,2

0,20

4,0

0,23

4,1

0,22

Среднее арифметическое значение

4,1

0,20

3,9

0,19

3,7

0,20

3,9

0,20

Среднее квадратическое отклонение

0,60

0,029

0,65

0,023

0,61

0,024

0,62

0,021

Коэффициент вариации, %

15

14

16

12

16

12

16

11

Фактическая надежность , %, при  (см. п. 4.11 и приложение 1)

80

80

80

85

80

85

80

88

 

 

1 - образец; 2 - тензорезистор продольных деформаций; 3 - тензорезистор поперечных деформаций; 4 - прокладка резиновая; 5 - пружина

 

Черт. 3

 

ИНФОРМАЦИОННЫЕ ДАННЫЕ

1.

РАЗРАБОТАН И ВНЕСЕН Министерством угольной промышленности СССР, Академией наук СССР, Министерством геологии СССР, Академией наук УССР, Министерством по производству минеральных удобрений, Государственным комитетом СССР по народному образованию

 

РАЗРАБОТЧИКИ

 

Ю.М.  Карташов, С.И.  Войцеховская, С.Е.  Чирков, И.А.  Соломина, Л.Г.  Медведев, В.В.  Фромм, И.В.  Колодина, В.В.  Виноградов, В.П.  Чередниченко, Б.В.  Титов, С.Р.  Шинкевич, Г.Я.  Новик, И.Ю.  Буров, В.Д.  Христолюбов

2.

УТВЕРЖДЕН И ВВЕДЕН В ДЕЙСТВИЕ Постановлением Государственного комитета СССР по управлению качеством продукции и стандартам от 24.04.91 № 563

3.

Срок первой проверки - 1996 г.

Периодичность проверки - 5 лет

4.

ВВЕДЕН ВПЕРВЫЕ

5.

ССЫЛОЧНЫЕ НОРМАТИВНО-ТЕХНИЧЕСКИЕ ДОКУМЕНТЫ

 

Обозначение НТД, на который дана ссылка

Номер раздела, пункта, приложения

ГОСТ 515-77

2

ГОСТ 577-68

3

ГОСТ 982-80

4.3

ГОСТ 2768-84

3.1

ГОСТ 2789-89

4.6

ГОСТ 5180-84

2

ГОСТ 7219-83

3

ГОСТ 9696-82

3

ГОСТ 10354-82

2

ГОСТ 12172-74

3

ГОСТ 16109-70

2

ГОСТ 19113-84

3

ГОСТ 21153.0-75

2

ГОСТ 21253.2-84

1.3; 5.1; приложение 3

ГОСТ 21616-76

3

ГОСТ 21931-76

3

ГОСТ 18957-73

3

 

 

 




ГОСТЫ, СТРОИТЕЛЬНЫЕ и ТЕХНИЧЕСКИЕ НОРМАТИВЫ.
Некоммерческая онлайн система, содержащая все Российские Госты, национальные Стандарты и нормативы.
В Системе содержится более 150000 файлов нормативно-технической документации, действующей на территории РФ.
Система предназначена для широкого круга инженерно-технических специалистов.

Рейтинг@Mail.ru Яндекс цитирования

Copyright © www.gostrf.com, 2008 - 2026