Крупнейшая бесплатная информационно-справочная система онлайн доступа к полному собранию технических нормативно-правовых актов РФ. Огромная база технических нормативов (более 150 тысяч документов) и полное собрание национальных стандартов, аутентичное официальной базе Госстандарта. GOSTRF.com - это более 1 Терабайта бесплатной технической информации для всех пользователей интернета. Все электронные копии представленных здесь документов могут распространяться без каких-либо ограничений. Поощряется распространение информации с этого сайта на любых других ресурсах. Каждый человек имеет право на неограниченный доступ к этим документам! Каждый человек имеет право на знание требований, изложенных в данных нормативно-правовых актах!

  


 

ГОСУДАРСТВЕННЫЙ СТАНДАРТ СОЮЗА ССР

ШПИЛЬКИ ДЛЯ ФЛАНЦЕВЫХ СОЕДИНЕНИЙ С ТЕМПЕРАТУРОЙ СРЕДЫ

от 0 до 650°С

Типы и основные размеры

ГОСТ 9066-75

ГОСУДАРСТВЕННЫЙ КОМИТЕТ СССР ПО СТАНДАРТАМ

Москва

ГОСУДАРСТВЕННЫЙ СТАНДАРТ СОЮЗА ССР

ШПИЛЬКИ ДЛЯ ФЛАНЦЕВЫХ СОЕДИНЕНИЙ
С ТЕМПЕРАТУРОЙ СРЕДЫ ОТ 0 ДО 650°С

Типы и основные размеры

Studs for flanged connections with medium temperature from 0 to 650°C.

Types and main dimensions

ГОСТ
9066-75*

Взамен
ГОСТ 9066-69

Постановлением Государственного комитета стандартов Совета Министров СССР от 28 марта 1975 г. № 794 срок введения установлен

с 01.01.76

Проверен в 1985 г. Постановлением Госстандарта от 27.12.85 № 4667 срок действия продлен

до 01.01.96

Несоблюдение стандарта преследуется по закону

1. Настоящий стандарт распространяется на шпильки односторонние и двусторонние для фланцевых соединений паровых и газовых турбин, паровых котлов, трубопроводов и соединительных частей, арматуры, приборов, аппаратов и резервуаров с температурой среды от 0 до 650°С.

Стандарт не распространяется на фланцевые соединения объектов, подведомственных Госгортехнадзору СССР, с условным давлением Ру менее 4 МПа (40кгс/см2).

(Измененная редакция, Изм. № 1).

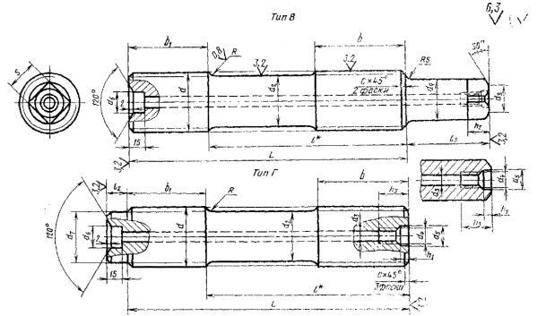
2. Шпильки должны изготовляться следующих типов:

А - шпилька сплошная с одинаковыми номинальными диаметрами резьбы и гладкой части, применяемая для фланцевых соединений трубопроводов паровых котлов, паровых и газовых турбин, арматуры, приборов и резервуаров с температурой металла менее или равной 300°С;

Б - шпилька сплошная с номинальными диаметрами резьбы, большими номинального диаметра гладкой части, применяемая для фланцевых соединений турбин, трубопроводов и соединительных частей паровых котлов, паровых и газовых турбин, арматуры, приборов, аппаратов и резервуаров с температурой металла свыше 300°С;

В - шпилька с осевым отверстием по всей длине, с номинальными диаметрами резьбы, большими номинального диаметра гладкой части, и выступом четырехгранным «под ключ», затягиваемая с нагревом, применяемая для разъемов корпусов цилиндров паровых и газовых турбин, стопорных и регулирующих клапанов с контролируемым затягом шпильки и температурой металла от 0 до 650°С;

Г - шпилька с осевым отверстием по всей длине, с номинальными диаметрами резьбы, большими номинального диаметра гладкой части, и цилиндрическим выступом на ввинчиваемом конце, затягиваемая с нагревом, применяемая для разъемов корпусов цилиндров паровых и газовых турбин, стопорных и регулирующих клапанов, арматуры с контролируемым затягом шпильки и температурой металла от 0 до 650°С;

Д - шпилька с осевым отверстием по всей длине, с номинальными диаметрами резьбы, большими номинального диаметра гладкой части, затягиваемая с нагревом, применяемая для разъемов корпусов цилиндров паровых и газовых турбин, трубопроводов и соединительных частей, арматуры, стопорных и регулирующих клапанов с контролируемым затягом шпильки и температурой металла от 0 до 650°С.

3. Размеры шпилек должны соответствовать указанным на черт. 1 - 3 и в табл. 1, 2.

Тип А

Тип Б

__________

* Размер для справки

Черт. 1

Черт. 2

Тип Д

__________

* Размер для справки.

Черт. 3

Таблица 1

мм

Номинальный диаметр резьбы d

10

12

16

20

(22)

24

(27)

30

36

42

48

(52)

56

(60)

Шаг резьбы

крупный

1,5

1,75

2

2,5

3

3,5

4

4,5

5

5,5

мелкий

1,25

1,5

2

3

4

Диаметр гладкой части

для шпилек типа А

d1

По ГОСТ 1925.8-73 и ГОСТ 19256-73.

для шпилек типов Б, В, Г, Д

d2 (пред. откл. по h12)

с крупным шагом

7,8

9,5

13

16

18

20

22

24

30

35

40

44

48

52

с мелким шагом

8

10

14

18

20

21

24

27

33

35

40

44

50

54

-

Диаметр осевого отверстия d3 для шпилек типов В, Г, Д

-

10

Диаметр резьбы осевого отверстия d4 для шпилек типов В, Г, Д

-

М12

Диаметр расточки осевого отверстия для шпилек типов В, Г, Д

d5s

-

13

17

d6

-

Диаметр цилиндрического выступа d7 для шпилек типа Г

-

24

30

34

39

43

48

52

Диаметр вписанной окружности d8 для шпилек типа В

-

14

20

25

30

Диаметр описанной окружности d9 для шпилек типа В

-

20

30

34

40

Радиус перехода R для шпилек типов Б, В, Г, Д

6

8

12

Глубина расточки осевого отверстия h1 для шпилек типов В, Г, Д

-

7

Высота головки «под ключ» h2 для шпилек типа В

-

12

15

20

Глубина резьбы осевого отверстия из для шпилек типов В, Г, Д

-

30

Размер «под ключ» для шпилек типа В

S (пред. откл. по h12)

-

13

22

27

32

Длина ввинчиваемого резьбового конца b1

номин.

15

18

22

28

30

35

38

42

50

58

65

70

75

80

пред. откл.

+1,8

+2,1

+2,5

 

+3,0

+4,0

Высота цилиндрического выступа l2 для шпилек типа Г

при нарезании резьбы

-

15

25

при накатке резьбы

-

Высота головки 13 для шпилек типа В

-

45

55

65

70

75

85

Продолжение

мм

Номинальный диаметр резьбы d

64

(68)

72

(76)

80

90

100

110

(120)

125

140

160

Шаг резьбы

крупный

6

 

мелкий

4

4 и 6

Диаметр гладкой части

для шпилек типа А

D1

По ГОСТ 19268-73 и ГОСТ 19256-73

для шпилек типов Б, В, Г, Д

d2 (пред откл. по h12)

с крупным шагом

54

56

 

с мелким шагом

58

62

66

70

74

84

94

104

114

119

134

154

-

64

68

72

80

92

102

112

116

132

152

Диаметр осевого отверстия d3 для шпилек типов В, Г, Д

10 и 20

20

36

Диаметр резьбы осевого отверстия d4 для шпилек типов В, Г, Д

М12 и М24

М24

М42

Диаметр расточки осевого отверстия для шпилек типов В, Г, Д

d5

17 и 32

32

54

d6

-

40

85

Диаметр цилиндрического выступа d7 для шпилек типа Г

56

60

64

68

72

82

92

102

112

116

132

152

Диаметр вписанной окружности d8 для шпилек типа В

30

32

35

42

50

60

70

75

Диаметр описанной окружности d9 для шпилек типа В

40

45

58

70

80

95

100

Радиус перехода R для шпилек типов Б, В, Г, Д

12

16

Глубина расточки осевого отверстия h1 для шпилек типов В, Г, Д

7

10

13

Высота головки «под ключ» h2 для шпилек типа В

20

25

30

35

40

50

Глубина резьбы осевого отверстия h3 для шпилек типов В, Г, Д

30 и 50

50

75

Размер «под ключ» для шпилек типа В

S (пред. откл. по hl2)

32

36

46

55

65

75

80

Длина ввинчиваемого резьбового конца b1

номин.

90

95

100

105

110

125

135

150

160

170

190

220

пред. откл.

+4,0

Высота цилиндрического выступа l2 для шпилек типа Г

при нарезании резьбы

25

при накатке резьбы

-

35

40

Высота головки 13 для шпилек типа В

90

100

115

120

135

145

160

180

Примечания:

1. Шпильки с размерами, заключенными в скобки, по возможности не применять.

2 Диаметр гладкой части d1 шпилек типа А с мелкой резьбой, выполняемой накаткой, при d>52 мм должен быть равен среднему диаметру резьбы. Допускается диаметр гладкой части шпилек типов Б, В, Г и Д выполнять размером среднего диаметра резьбы, выполненной методом накатки.

3. Размеры радиусов перехода R и концевых фасок не распространяются на шпильки, резьба которых выполняется методом накатки.

4. Длину ввинчиваемого резьбового конца допускается выполнять равной 1,6 d или 1,8 d на шпильках всех типов.

5. Допускается на шпильках типов Г и Д не делать расточку осевого отверстия d6, при этом на шпильках типа Г цилиндрический выступ допускается выполнять по высоте I2, равной удвоенному шагу резьбы.

6. Допускается на шпильках типов В, Г и Д осевое отверстие выполнять диаметром d3, равным 6,7 мм для шпилек М30 и М36 и 8,5 мм для шпилек М42 и М48, размеры гнезда под рым-болт - по ГОСТ 4751-73.

7. Допускается уменьшение диаметра d7 на величину шага резьбы.

8. Допускается для шпилек типов В, Г, Д с номинальным диаметром резьбы до М60 осевое отверстие d3 и гнездо под рым-болт не выполнять.

9. Неуказанные предельные отклонения размеров: Н14, h14, ± по ГОСТ 25670-83.


Таблица 2

мм

Длина шпильки L (пред. откл. по js 16)

Номинальный диаметр резьбы, d

10

12

16

20

(22)

24

(27)

30

36

42

48

(52)

56

(60)

64

(68)

72

(76)

80

100

110

(120)

125

140

160

Длина резьбового конца, b

45

-

-

-

-

-

-

-

-

-

-

-

-

-

-

-

-

-

-

-

-

-

-

-

-

-

-

50

-

-

-

-

-

-

-

-

-

-

-

-

-

-

-

-

-

-

-

-

-

-

-

-

-

-

55

-

-

-

-

-

-

-

-

-

-

-

-

-

-

-

-

-

-

-

-

-

-

-

-

-

-

60

-

-

-

-

-

-

-

-

-

-

-

-

-

-

-

-

-

-

-

-

-

-

-

-

-

-

65

-

-

-

-

-

-

-

.

-

-

-

-

-

-

-

-

-

-

-

-

-

-

-

-

-

-

70

22

-

-

-

-

-

-

-

-

-

-

-

-

-

-

-

-

-

-

-

-

-

-

-

-

-

75

-

25

-

-

-

-

-

-

-

-

-

-

-

-

-

-

-

-

-

-

-

-

-

-

-

-

80

-

-

-

-

-

-

-

-

-

-

-

-

-

-

-

-

-

-

-

-

-

-

-

-

-

-

85

-

-

-

-

-

-

-

-

-

-

-

-

-

-

-

-

-

-

-

-

-

-

-

-

-

-

90

-

-

32

-

-

-

-

-

-

-

-

-

-

-

-

-

-

-

-

-

-

-

-

-

-

-

95

-

-

-

-

-

-

-

-

-

-

-

-

-

-

-

-

-

-

-

-

-

-

-

-

-

-

100

-

-

-

-

-

-

-

.

-

-

-

-

-

-

-

-

-

-

-

-

-

-

-

-

-

-

110

-

-

-

-

-

-

-

-

-

-

-

-

-

-

-

-

-

-

-

-

-

-

-

-

-

-

120

28

-

-

40

-

-

-

-

-

-

-

-

-

-

-

-

-

-

-

-

-

-

-

-

-

-

130

-

-

-

-

45

-

-

 

-

-

-

-

-

-

-

-

-

-

-

-

-

-

-

-

-

-

140

-

-

-

-

-

-

-

-

-

-

-

-

-

-

-

-

-

-

-

-

-

-

-

-

-

-

150

-

30

-

-

-

-

-

-

-

-

-

-

-

-

-

-

-

-

-

-

-

-

-

-

-

-

160

-

-

-

-

-

48

-

-

-

-

-

-

-

-

-

-

-

-

-

-

-

-

-

-

-

-

170

-

-

-

-

-

-

55

-

-

-

-

-

-

-

-

-

-

-

-

-

-

-

-

-

-

-

180

-

-

40

-

-

-

-

60

-

-

-

-

-

-

-

-

-

-

-

-

-

-

-

-

-

-

190

-

-

-

-

-

-

-

-

-

-

-

-

-

-

-

-

-

-

-

-

-

-

-

-

-

-

200

-

-

-

48

-

-

-

-

-

-

-

-

-

-

-

-

-

-

-

-

-

-

-

-

-

-

210

-

-

-

-

52

-

-

-

70

-

-

-

-

-

-

-

-

-

-

-

-

-

-

-

-

-

220

-

-

-

-

-

-

-

-

-

75

-

-

-

-

-

-

-

-

-

-

-

-

-

-

-

-

230

-

-

-

-

-

58

-

-

-

-

-

-

-

-

-

-

-

-

-

-

-

-

-

-

-

-

240

-

-

-

-

-

-

 

-

-

-

-

-

-

-

-

-

-

-

-

-

-

-

-

-

-

-

250

-

-

-

-

-

-

65

-

-

-

-

-

-

-

-

-

-

-

-

-

-

-

-

-

-

-

260

-

-

-

-

-

-

-

-

-

-

-

-

-

-

-

-

-

-

-

-

-

-

-

-

-

-

270

-

-

-

-

-

-

-

-

-

-

90

-

-

-

-

-

-

-

-

-

-

-

-

-

-

-

280

-

-

-

-

-

-

-

-

-

-

-

-

-

-

-

-

-

-

-

-

-

-

-

-

-

-

290

-

-

-

-

-

-

-

-

-

-

-

95

-

-

-

-

-

-

-

-

-

-

-

-

-

-

300

-

-

-

-

-

-

-

70

-

-

-

-

-

-

-

-

-

-

-

-

-

-

-

-

-

-

310

-

-

-

-

-

-

-

-

-

-

-

-

105

115

120

-

-

-

-

-

-

-

-

-

-

-

320

-

-

-

-

-

-

-

-

80

-

-

-

-

-

-

-

-

-

-

-

-

-

-

-

-

-

330

-

-

-

-

-

-

-

-

-

90

-

-

-

-

-

125

-

-

-

-

-

-

-

-

-

-

340

-

-

-

-

-

-

-

-

-

-

-

-

-

-

-

-

135

135

-

-

-

-

-

-

-

-

350

-

-

-

-

-

-

-

-

-

-

-

-

-

-

-

-

-

-

135

-

-

-

-

-

-

-

360

-

-

-

-

-

-

-

-

-

-

-

-

-

-

-

-

-

-

 

-

-

-

-

-

-

-

370

-

-

-

-

-

-

-

-

-

-

-

-

-

-

-

-

-

-

-

-

-

-

-

-

-

-

380

-

-

-

-

-

-

-

-

-

-

-

-

105

-

-

-

-

-

-

-

-

-

-

-

-

-

390

-

-

-

-

-

-

-

-

-

-

100

-

-

-

-

-

-

-

-

-

-

-

-

-

-

-

400

-

-

-

-

-

-

-

-

-

-

-

-

-

115

-

-

-

-

-

-

-

-

-

-

-

-

410

-

-

-

-

-

-

-

-

-

-

-

-

-

-

-

-

-

-

-

-

-

-

-

-

-

-

420

-

-

-

-

-

-

-

-

-

-

-

-

-

-

120

-

-

-

-

-

-

-

-

-

-

-

430

-

-

-

-

-

-

-

-

-

-

-

-

-

-

-

-

-

-

-

-

-

-

-

-

-

-

440

-

-

-

-

-

-

-

-

-

-

-

105

-

-

-

125

-

-

-

-

-

-

-

-

-

-

450

-

-

-

-

-

-

-

-

-

-

-

-

-

-

-

-

-

-

-

-

-

-

-

-

-

-

460

-

-

-

-

-

-

-

-

-

-

-

-

-

-

-

-

-

-

-

-

-

-

-

-

-

-

470

-

-

-

-

-

-

-

-

-

-

-

-

120

-

-

-

135

135

135

145

-

-

-

-

-

-

480

-

-

-

-

-

-

-

-

-

-

-

-

-

-

-

-

-

-

-

-

-

-

-

-

-

-

490

-

-

-

-

-

-

-

-

-

-

-

-

-

-

-

-

-

-

-

-

-

-

-

-

-

-

500

-

-

-

-

-

-

-

-

-

-

-

-

-

130

-

-

-

-

-

-

-

-

-

-

-

-

510

-

-

-

-

-

-

-

-

-

-

-

-

-

-

-

-

-

-

-

-

-

-

-

-

-

-

520

-

-

-

-

-

-

-

-

-

-

-

-

-

-

-

-

-

-

-

-

145

145

-

-

-

-

530

-

-

-

-

-

-

-

-

-

-

-

-

-

-

-

-

-

-

-

-

-

-

-

-

-

-

540

-

-

-

-

-

-

-

-

-

-

-

-

-

-

-

-

-

-

-

-

-

-

-

-

-

-

550

-

-

-

-

-

-

-

-

-

-

-

-

-

-

135

-

-

-

-

-

-

-

-

-

-

-

560

-

-

-

-

-

-

-

-

-

-

-

-

-

-

-

-

-

-

-

-

-

-

-

-

-

-

570

-

-

-

-

-

-

-

-

-

-

-

-

-

-

-

-

-

-

-

-

-

-

-

-

-

-

580

-

-

-

-

-

-

-

-

-

-

-

-

-

-

-

-

-

-

-

-

-

-

-

-

-

-

590

-

-

-

-

-

-

-

-

-

-

-

-

-

-

-

145

-

-

-

-

-

-

-

-

-

-

600

-

-

-

-

-

-

-

-

-

-

-

-

-

-

-

-

-

-

-

-

-

-

-

-

-

-

610

-

-

-

-

-

-

-

-

-

-

-

-

-

-

-

-

-

-

-

-

-

-

175

175

-

-

620

-

-

-

-

-

-

-

-

-

-

-

-

-

-

-

-

-

-

-

-

-

-

-

-

-

-

630

-

-

-

-

-

-

-

-

-

-

-

-

-

-

-

-

-

-

-

-

-

-

-

-

-

-

640

-

-

-

-

-

-

-

-

-

-

-

-

-

-

-

-

155

155

155

-

-

-

-

-

-

-

650

-

-

-

-

-

-

-

-

-

-

-

-

-

-

-

-

-

-

-

-

-

-

-

-

-

-

660

-

-

-

-

-

-

-

-

-

-

-

-

-

-

-

-

-

-

-

165

165

165

-

-

210

240

670

-

-

-

-

-

-

-

-

-

-

-

-

-

-

-

-

-

-

-

-

-

-

-

-

-

-

680

-

-

-

-

-

-

-

-

-

-

-

-

-

-

-

-

-

-

-

-

-

-

-

-

-

-

690

-

-

-

-

-

-

-

-

-

-

-

-

-

-

-

-

-

-

-

-

-

-

-

-

-

-

700

-

-

-

-

-

-

-

-

-

-

-

-

-

-

-

-

-

-

-

-

-

-

-

-

-

-

710

-

-

-

-

-

-

-

-

-

-

-

-

-

-

-

-

-

-

-

-

-

-

-

-

-

-

720

-

-

-

-

-

-

-

-

-

-

-

-

-

-

-

-

-

-

-

-

-

-

-

-

-

-

730

-

-

-

-

-

-

-

-

-

-

-

-

-

-

-

-

-

-

-

-

-

-

-

-

-

-

740

-

-

-

-

-

-

-

-

-

-

-

-

-

-

-

-

-

-

-

165

165

165

175

175

210

240

750

-

-

-

-

-

-

-

-

-

-

-

-

-

-

-

-

-

-

-

-

-

-

-

-

-

-

Примечания:

1. Шпильки с размерами, заключенными в скобки, по возможности не применять.

2. При применении шпилек с длиной более 750 мм длина резьбы шпилек должна соответствовать ряду Ra 40 ГОСТ 6636-69.

3. Длина I шпилек A2, Б2, В, Г и Д2 более 0,25 d+b по ряду Ra 40 и дополнительному ряду ГОСТ 6636-69.

4. Допускается для шпилек типов В, Г и Д уменьшение длины резьбового конца Ь, но не более чем на 0,25 d.

5. Длину шпилек типов А и Б необходимо выбирать так, чтобы выступание шпильки из гайки типа А в резьбовом соединении было не менее шага резьбы, включая фаску на конце шпильки.


Примеры условных обозначений:

Шпилька типа А, исполнения 1, с диаметром резьбы 48 мм, с крупным шагом резьбы 5 мм, с полем допуска 6g, с длиной шпильки 200 мм, с длиной резьбового конца 90 из стали марки ЭП182, категории IV, группы качества 2, без покрытия:

Шпилька AM48-6g´200.90.3U 182.IV.2 ГОСТ 9066-75

То же, исполнения 2, с мелким шагом резьбы 3 мм, с полем допуска 6g, с длиной ввинчиваемого конца l1=65 мм, с длиной резьбового конца l0 = 90 мм, вакуумно-дугового переплава, без покрытия:

Шпилька A2M48´3-6g´200ЭП182-BД,.III.2. ГОСТ 9066-75

То же, из стали 35, категории II, группы качества 3, с покрытием 02, толщиной 9 мкм:

Шпилька A2M48´3-6g´20035.II.3.029 ГОСТ 9066-75

4. Резьба метрическая - по ГОСТ 24705-81.

(Измененная редакция, Изм. № 2).

5. Масса шпилек приведена в справочных приложениях 1-7.

6. Технические требования - по ГОСТ 20700-75.

7. (Исключен, Изм. № 2).


ПРИЛОЖЕНИЕ 1
Справочное

Длина шпильки L, мм

Теоретическая масса шпильки типа А исполнений 1и 2, кг », при номинальном диаметре резьбы d, мм

10

12

16

20

(22)

24

(27)

30

36

42

48

(52)

45

0,028

 

 

 

 

 

 

 

 

 

 

 

50

0,031

 

 

 

 

 

 

 

 

 

 

 

55

0,034

0,041

 

 

 

 

 

 

 

 

 

 

60

0,037

0,045

 

 

 

 

 

 

 

 

 

 

65

0,040

0,049

 

 

 

 

 

 

 

 

 

 

70

0,043

0,054

0,094

 

 

 

 

 

 

 

 

 

75

0,046

0,058

0,102

 

 

 

 

 

 

 

 

 

80

0,049

0,063

0,110

 

 

 

 

 

 

 

 

 

85

0,052

0,067

0,118

0,178

 

 

 

 

 

 

 

 

90

0,055

0,072

0,126

0,191

 

 

 

 

 

 

 

 

95

0,058

0,076

0,134

0,203

0,246

 

 

 

 

 

 

 

100

0,061

0,081

0,142

0,216

0,261

 

 

 

 

 

 

 

110

0,064

0,090

0,158

0,241

0,291

0,336

 

 

 

 

 

 

120

0,067

0,099

0,173

0,266

0,321

0,371

0,469

 

 

 

 

 

130

0,070

0,108

0,189

0,290

0,350

0,407

0,514

0,623

 

 

 

 

140

0,073

0,117

0,205

0,315

0,380

0,442

0,559

0,679

 

 

 

 

150

0,076

0,126

0,221

0,340

0,410

0,477

0,603

0,734

1,042

 

 

 

160

 

0,135

0,236

0,364

0,440

0,513

0,648

0,750

1,122

1,520

 

 

170

 

0,144

0,252

0,389

0,470

0,548

0,694

0,845

1,202

1,628

 

 

180

 

0,153

0,268

0,413

0,499

0,584

0,738

0,901

1,282

1,737

 

 

190

 

0,162

0,283

0,438

0,529

0,620

0,784

0,456

1,362

1,845

 

 

200

-

0,171

0,300

0,463

0,559

0,655

0,827

1,012

1,443

1,953

2,504

 

210

-

-

0,316

0,488

0,589

0,691

0,873

1,067

1,523

2,062

2,645

 

220

-

-

0,332

0,513

0,619

0,726

0,919

1,123

1,603

2,171

2,787

3,280

230

-

-

0,348

0,538

0,648

0,761

0,964

1,178

1,683

2,279

2,929

3,446

240

-

-

-

-

-

0,797

1,009

1,234

1,763

2,387

3,071

3,612

250

-

-

-

-

-

0,833

1,053

1,289

1,843

2,494

3,214

3,778

260

-

-

-

-

-

-

1,098

1,345

1,923

2,602

3,358

3,945

270

-

-

-

-

-

-

1,141

1,400

2,003

2,712

3,499

4,112

280

-

-

-

-

-

-

-

1,455

2,083

2,822

3,640

4,280

290

-

-

-

-

-

-

-

1,511

2,164

2,927

3,782

4,445

300

-

-

-

-

-

-

-

1,567

2,245

3,032

3,925

4,610

310

-

-

-

-

-

-

-

1,622

2,323

3,142

4,067

4,777

320

-

-

-

-

-

-

-

1,678

2,402

3,252

4,210

4,945

330

-

-

-

-

-

-

-

1,733

2,482

3,362

4,350

5,112

340

-

-

-

-

-

-

-

1,788

2,563

3,472

4,490

5,280

350

-

-

-

-

-

-

-

-

2,642

3,582

4,635

5,445

360

-

-

-

-

-

-

-

-

2,722

3,692

4,780

5,610

370

-

-

-

-

-

-

-

-

2,804

3,799

4,920

5,777

380

-

-

-

-

-

-

-

-

2,887

3,907

5,060

5,945

390

-

-

-

-

-

-

-

-

2,964

4,019

5,202

6,107

400

-

-

-

-

-

-

-

-

3,442

4,132

5,345

6,270

410

-

-

-

-

-

-

-

-

-

4,232

5,487

6,435

420

-

-

-

-

-

-

-

-

-

-

5,630

6,600

430

-

-

-

-

-

-

-

-

-

-

5,775

6,770

440

-

-

-

-

-

-

-

-

-

-

5,920

6,940

450

-

-

-

-

-

-

-

-

-

-

-

7,110

460

-

-

-

-

-

-

-

-

-

-

-

7,280

470

-

-

-

-

-

-

-

-

-

-

-

7,440

480

 

 

 

 

 

 

 

 

 

 

 

7,600

490

 

 

 

 

 

 

 

 

 

 

 

7,770

500

 

 

 

 

 

 

 

 

 

 

 

7,940

510

 

 

 

 

 

 

 

 

 

 

 

-

520

 

 

 

 

 

 

 

 

 

 

 

-

530

 

 

 

 

 

 

 

 

 

 

 

-

540

 

 

 

 

 

 

 

 

 

 

 

-

550

 

 

 

 

 

 

 

 

 

 

 

-

560

 

 

 

 

 

 

 

 

 

 

 

 

570

 

 

 

 

 

 

 

 

 

 

 

 

580

 

 

 

 

 

 

 

 

 

 

 

 

590

 

 

 

 

 

 

 

 

 

 

 

 

600

 

 

 

 

 

 

 

 

 

 

 

 

610

 

 

 

 

 

 

 

 

 

 

 

 

620

 

 

 

 

 

 

 

 

 

 

 

 

630

 

 

 

 

 

 

 

 

 

 

 

 

640

 

 

 

 

 

 

 

 

 

 

 

 

650

 

 

 

 

 

 

 

 

 

 

 

 

660

 

 

 

 

 

 

 

 

 

 

 

 

670

 

 

 

 

 

 

 

 

 

 

 

 

680

 

 

 

 

 

 

 

 

 

 

 

 

690

 

 

 

 

 

 

 

 

 

 

 

 

700

 

 

 

 

 

 

 

 

 

 

 

 

710

 

 

 

 

 

 

 

 

 

 

 

 

720

 

 

 

 

 

 

 

 

 

 

 

 

730

 

 

 

 

 

 

 

 

 

 

 

 

740

 

 

 

 

 

 

 

 

 

 

 

 

750

 

 

 

 

 

 

 

 

 

 

 

 

Продолжение

Длина шпильки L, мм

Теоретическая масса шпильки типа А исполнений 1 и 2, кг », при номинальном диаметре резьбы d, мм

56

(60)

64

(68)

72

(76)

80

90

100

110

(120)

125

140

160

45

 

 

 

 

 

 

 

 

 

 

 

 

 

 

50

 

 

 

 

 

 

 

 

 

 

 

 

 

 

55

 

 

 

 

 

 

 

 

 

 

 

 

 

 

60

 

 

 

 

 

 

 

 

 

 

 

 

 

 

65

 

 

 

 

 

 

 

 

 

 

 

 

 

 

70

 

 

 

 

 

 

 

 

 

 

 

 

 

 

75

 

 

 

 

 

 

 

 

 

 

 

 

 

 

80

 

 

 

 

 

 

 

 

 

 

 

 

 

 

85

 

 

 

 

 

 

 

 

 

 

 

 

 

 

90

 

 

 

 

 

 

 

 

 

 

 

 

 

 

95

 

 

 

 

 

 

 

 

 

 

 

 

 

 

100

 

 

 

 

 

 

 

 

 

 

 

 

 

 

110

 

 

 

 

 

 

 

 

 

 

 

 

 

 

120

 

 

 

 

 

 

 

 

 

 

 

 

 

 

130

 

 

 

 

 

 

 

 

 

 

 

 

 

 

140

 

 

 

 

 

 

 

 

 

 

 

 

 

 

150

 

 

 

 

 

 

 

 

 

 

 

 

 

 

160

 

 

 

 

 

 

 

 

 

 

 

 

 

 

170

 

 

 

 

 

 

 

 

 

 

 

 

 

 

180

 

 

 

 

 

 

 

 

 

 

 

 

 

 

190

 

 

 

 

 

 

 

 

 

 

 

 

 

 

200

 

 

 

 

 

 

 

 

 

 

 

 

 

 

210

 

 

 

 

 

 

 

 

 

 

 

 

 

 

220

 

 

 

 

 

 

 

 

 

 

 

 

 

 

230

 

 

 

 

 

 

 

 

 

 

 

 

 

 

240

 

 

 

 

 

 

 

 

 

 

 

 

 

 

250

4,332

 

 

 

 

 

 

 

 

 

 

 

 

 

260

4,525

 

 

 

 

 

 

 

 

 

 

 

 

 

270

4,717

 

 

 

 

 

 

 

 

 

 

 

 

 

280

4,910

5,620

 

 

 

 

 

 

 

 

 

 

 

 

290

5,105

5,842

 

 

 

 

 

 

 

 

 

 

 

 

300

5,300

6,065

 

 

 

 

 

 

 

 

 

 

 

 

310

5,492

6,287

7,120

 

 

 

 

 

 

 

 

 

 

 

320

5,685

6,510

7,370

 

 

 

 

 

 

 

 

 

 

 

330

5,877

6,730

7,625

8,620

 

 

 

 

 

 

 

 

 

 

340

6,070

6,950

7,880

8,910

9,960

12,097

 

 

 

 

 

 

 

 

350

6,262

7,175

8,130

9,190

10,270

12,453

13,811

 

 

 

 

 

 

 

360

6,455

7,400

8,380

9,470

10,580

12,809

14,206

17,978

 

 

 

 

 

 

370

6,647

7,620

8,635

9,760

10,900

13,165

14,600

18,478

 

 

 

 

 

 

380

6,840

7,840

8,890

10,050

11,220

13,520

14,995

18,978

 

 

 

 

 

 

390

7,035

8,065

9,140

10,330

11,540

13,876

15,389

19,478

 

 

 

 

 

 

400

7,230

8,290

9,390

10,610

11,870

14,232

15,784

19,977

 

 

 

 

 

 

410

7,420

8,510

9,645

10,900

12,080

14,588

16,177

20,475

 

 

 

 

 

 

420

7,610

8,730

9,900

11,190

12,300

14,944

16,573

20,975

 

 

 

 

 

 

430

7,810

8,950

10,150

11,470

12,720

15,299

16,968

21,471

 

 

 

 

 

 

440

8,010

9,170

10,410

11,750

13,140

15,655

17,362

21,974

 

 

 

 

 

 

450

8,200

9,390

10,660

12,040

13,460

16,011

17,757

22,473

27,742

 

 

 

 

 

460

8,390

9,610

10,910

12,330

13,780

16,367

18,152

22,972

28,359

34,316

 

 

 

 

470

8,580

10,060

11,160

12,600

14,100

16,723

18,546

23,472

28,976

35,062

 

 

 

 

480

8,770

10,280

11,420

12,880

14,420

17,078

18,941

23,971

29,592

35,808

 

 

 

 

490

8,965

10,510

11,670

13,170

14,740

17,434

19,335

24,471

30,208

36,554

 

 

 

 

500

9,160

10,730

11,930

13,460

15,060

17,790

19,730

24,970

30,825

37,300

44,390

 

 

 

510

9,350

10,960

12,170

13,750

15,380

18,146

20,125

25,469

31,442

38,046

45,278

 

 

 

520

9,540

11,180

12,420

14,040

15,700

18,502

20,519

25,969

32,058

38,792

46,166

 

 

 

530

-

11,410

12,680

14,320

16,010

18,857

20,914

26,468

32,674

39,538

47,053

 

 

 

540

-

11,610

12,940

14,600

16,320

19,213

21,308

26,968

33,291

40,286

4,7,941

 

 

 

550

-

-

13,190

14,890

16,65С

19,509

21,703

27,467

33,907

41,030

48,829

 

 

 

560

-

-

13,450

15,180

16,980

19,925

22,098

27,966

34,524

41,776

49,717

 

 

 

570

 

 

13,700

15,460

17,290

20,281

22,492

28,466

13,141

42,552

50,605

 

 

 

580

 

 

13,950

15,740

17,610

20,636

22,887

28,965

35,757

43,268

51,492

 

 

 

590

 

 

14,200

16,020

17,910

20,992

23,281

29,465

36,374

44,014

52,380

 

 

 

600

 

 

14,450

16,310

18,210

21,348

23,676

29,964

36,990

44,760

53,288

57,798

72,480

94,680

610

 

 

-

16,600

18,530,

21,704

24,071

30,463

37,606

45,506

54,156

57,761

93,688

96,258

620

 

 

-

16,890

18,860

22,060

24,466

30,963

38,223

46,252

55,044

59,725

74,896

97,836

630

 

 

-

17,160

19,180

22,415

24,860

31,462

38,840

46,998

55,931

60,688

76,104

99,414

640

 

 

 

17,440

19,510

22,771

25,254

31,962

39,456

47,774

56,819

61,651

77,312

100,992

650

 

 

-

17,740

19,830

23,127

25,649

32,461

40,072

48,490

57,707

62,614

78,520

102,570

660

 

 

-

-

20,160

23,483

26,044

32,960

40,689

49,236

58,595

63,578

79,728

104,148

670

 

 

-

-

20,480

23,839

26,438

33,460

41,306

49,982

59,483

64,541

80,936

105,728

680

 

 

-

-

20,810

24,194

26,833

33,959

41,922

50,728

60,370

65,504

82,144

10,304

690

 

 

-

-

-

24,560

27,227

34,459

42,538

51,474

61,258

66,468

83,359

108,882

700

 

 

-

-

-

24,906

27,622

34,958

43,155

52,220

62,146

67,431

84,560

110,460

710

 

 

-

-

-

-

-

35,457

43,772

52,966

63,034

68,394

85,768

112,038

720

 

 

-

-

-

-

-

3,5,957

44,388

53,712

63,922

69,358

86,976

113,616

730

 

 

-

-

-

-

-

36,456

45,004

54,458

64,809

70,321

88,184

115,194

740

 

 

-

-

-

-

-

36,956

45,621

55,204

65,697

71,284

89,392

116,772

750

 

 

-

-

-

-

-

37,455

46,238

55,950

66,585

72,248

90,600

118,350

ПРИЛОЖЕНИЕ 2
Справочное

Длина шпильки L, мм

Теоретическая масса шпильки типа Б исполнения 1, кг », при номинальном диаметре резьбы d, мм

10

12

16

20

(22)

24

(27)

30

36

42

48

(52)

45

0,028

-

-

-

-

-

-

-

-

-

-

-

50

0,030

-

-

-

-

-

-

-

-

-

-

-

55

0,031

0,040

-

-

-

-

-

-

-

-

-

-

60

0,033

0,044

-

-

-

-

-

-

-

-

-

-

65

0,036

0,048

-

-

-

-

-

-

-

-

-

-

70

0,038

0,052

0,097

-

-

-

-

-

-

-

-

-

75

0,040

0,056

0,104

-

-

-

-

-

-

-

-

-

80

0,041

0,059

0,111

-

-

-

-

-

-

-

-

-

85

0,043

0,063

0,118

0,170

-

-

-

-

-

-

-

-

90

0,045

0,067

0,125

0,180

-

-

-

-

-

-

-

-

95

0,047

0,071

0,132

0,190

0,222

-

-

-

-

-

-

-

100

0,049

0,075

0,139

0,200

0,247

-

-

-

-

-

-

-

110

0,053

0,082

0,153

0,220

0,271

0,328

-

-

-

-

-

-

120

0,054

0,090

0,166

0,240

0,296

0,358

0,462

-

-

-

-

-

130

0,055

0,098

0,180

0,260

0,321

0,388

0,501

0,628

-

-

-

-

140

0,056

0,115

0,194

0,280

0,345

0,418

0,539

0,677

-

-

-

-

150

0,057

0,123

0,208

0,300

0,370

0,448

0,578

0,725

1,007

-

-

-

160

-

0,130

0,222

0,320

0,395

0,477

0,616

0,773

1,074

1,500

-

-

170

-

0,138

0,236

0,340

0,419

0,507

0,655

0,822

1,141

1,594

-

-

180

-

0,145

0,250

0,360

0,444

0,537

0,694

0,870

1,209

1,688

-

-

190

-

0,153

0,264

0,380

0,469

0,567

0,732

0,918

1,276

1,782

-

-

200

-

0,160

0,277

0,400

0,493

0,597

0,771

0,967

1,343

1,876

2,497

-

210

-

-

0,291

0,420

0,518

0,627

0,809

1,015

1,410

1,969

2,622

-

220

-

-

0,305

0,440

0,543

0,656

0,848

1,063

1,477

1,063

2,747

3,257

230

 

 

0,319

0,460

0,567

0,686

0,886

1,112

1,544

2,157

2,872

3,405

240

 

 

 

 

 

0,716

0,925

1,160

1,611

2,251

2,996

3,553

250

 

 

 

 

 

0,746

0,963

1,209

1,679

2,345

3,121

3,701

260

 

 

 

 

 

 

1,002

1,257

1,746

2,438

3,246

3,849

270

 

 

 

 

 

 

1,040

1,305

1,813

2,532

3,371

3,997

280

 

 

-

-

-

-

-

1,354

1,880

2,626

3,496

4,145

290

 

 

 

 

 

 

 

1,402

1,947

2,720

3,621

4,293

300

 

 

 

 

 

 

 

1,450

2,014

2,813

3,746

4,441

310

 

 

 

 

 

 

 

1,499

2,081

2,907

3,870

4,589

320

 

 

 

 

 

 

 

1,547

2,148

3,001

3,995

4,737

330

 

 

 

 

 

 

 

1,595

2,216

3,095

4,120

4,885

340

 

 

 

 

 

 

 

1,644

2,283

3,189

3,245

5,033

350

 

 

 

 

 

 

 

 

2,350

3,282

4,370

5,181

360

 

 

 

 

 

 

 

 

2,417

3,376

4,495

5,329

370

 

 

 

 

 

 

 

 

2,484

3,470

4,619

5,477

380

 

 

 

 

 

 

 

 

2,551

3,564

4,744

5,626

390

 

 

 

 

 

 

 

 

2,618

3,657

4,869

5,773

400

 

 

 

 

 

 

 

 

2,686

3,751

4,994

5,921

410

 

 

 

 

 

 

 

 

 

3,845

5,119

6,069

420

 

 

 

 

 

 

 

 

 

 

5,244

6,217

430

 

 

 

 

 

 

 

 

 

 

5,369

5,365

440

 

 

 

 

 

 

 

 

 

 

5,493

6,513

450

 

 

 

 

 

 

 

 

 

 

 

6,661

460

 

 

 

 

 

 

 

 

 

 

 

6,809

470

 

 

 

 

 

 

 

 

 

 

 

6,957

480

 

 

 

 

 

 

 

 

 

 

 

7,105

490

 

 

 

 

 

 

 

 

 

 

 

7,253

500

 

 

 

 

 

 

 

 

 

 

 

7,402

510

 

 

 

 

 

 

 

 

 

 

 

 

520

 

 

 

 

 

 

 

 

 

 

 

 

530

 

 

 

 

 

 

 

 

 

 

 

 

540

 

 

 

 

 

 

 

 

 

 

 

 

550

 

 

 

 

 

 

 

 

 

 

 

 

560

 

 

 

 

 

 

 

 

 

 

 

 

570

 

 

 

 

 

 

 

 

 

 

 

 

580

 

 

 

 

 

 

 

 

 

 

 

 

590

 

 

 

 

 

 

 

 

 

 

 

 

600

 

 

 

 

 

 

 

 

 

 

 

 

610

 

 

 

 

 

 

 

 

 

 

 

 

620

 

 

 

 

 

 

 

 

 

 

 

 

630

 

 

 

 

 

 

 

 

 

 

 

 

640

 

 

 

 

 

 

 

 

 

 

 

 

650

 

 

 

 

 

 

 

 

 

 

 

 

660

 

 

 

 

 

 

 

 

 

 

 

 

670

 

 

 

 

 

 

 

 

 

 

 

 

680

 

 

 

 

 

 

 

 

 

 

 

 

690

 

 

 

 

 

 

 

 

 

 

 

 

700

 

 

 

 

 

 

 

 

 

 

 

 

710

 

 

 

 

 

 

 

 

 

 

 

 

720

 

 

 

 

 

 

 

 

 

 

 

 

730

 

 

 

 

 

 

 

 

 

 

 

 

740

 

 

 

 

 

 

 

 

 

 

 

 

750

 

 

 

 

 

 

 

 

 

 

 

 

Продолжение

Длина шпильки L, мм

Теоретическая масса шпильки типа Б исполнения 1, кг », при номинальном диаметре резьбы d, мм

56

(60)

64

(68)

72

(76)

80

90

100

110

(120)

125

140

160

45

-

-

-

-

-

-

-

-

-

-

-

-

-

-

50

-

-

-

-

-

-

-

-

-

-

-

-

-

-

55

-

-

-

-

-

-

-

-

-

-

-

-

-

-

60

-

-

-

-

-

-

-

-

-

-

-

-

-

-

65

-

-

-

-

-

-

-

-

-

-

-

-

-

-

70

-

-

-

-

-

-

-

-

-

-

-

-

-

-

75

-

-

-

-

-

-

-

-

-

-

-

-

-

-

80

-

-

-

-

-

-

-

-

-

-

-

-

-

-

85

-

-

-

-

-

-

-

-

-

-

-

-

-

-

90

-

-

-

-

-

-

-

-

-

-

-

-

-

-

95

-

-

-

-

-

-

-

-

-

-

-

-

-

-

100

-

-

-

-

-

-

-

-

-

-

-

-

-

-

110

-

-

-

-

-

-

-

-

-

-

-

-

-

-

120

-

-

-

-

-

-

-

-

-

-

-

-

-

-

130

-

-

-

-

-

-

-

-

-

-

-

-

-

-

140

-

-

-

-

-

-

-

-

-

-

-

-

-

-

150

-

-

-

-

-

-

-

-

-

-

-

-

-

-

160

-

-

-

-

-

-

-

-

-

-

-

-

-

-

170

-

-

-

-

-

-

-

-

-

-

-

-

-

-

180

-

-

-

-

-

-

-

-

-

-

-

-

-

-

190

-

-

-

-

-

-

-

-

-

-

-

-

-

-

200

-

-

-

-

-

-

-

-

-

-

-

-

-

-

210

-

-

-

-

-

-

-

-

-

-

-

-

-

-

220

-

-

-

-

-

-

-

-

-

-

-

-

-

-

230

 

 

 

 

 

 

 

 

 

 

 

 

 

 

240

 

 

 

 

 

 

 

 

 

 

 

 

 

 

250

4,168

 

 

 

 

 

 

 

 

 

 

 

 

 

260

4,334

 

 

 

 

 

 

 

 

 

 

 

 

 

270

4,501

 

 

 

 

 

 

 

 

 

 

 

 

 

280

4,668

5,414

 

 

 

 

 

 

 

 

 

 

 

 

290

4,293

5,607

 

 

 

 

 

 

 

 

 

 

 

 

300

5,001

5,800

 

 

 

 

 

 

 

 

 

 

 

 

310

5,168

5,994

6,880

 

 

 

 

 

 

 

 

 

 

 

320

5,335

6,187

7,102

 

 

 

 

 

 

 

 

 

 

 

330

5,501

6,381

7,324

8,333

 

 

 

 

 

 

 

 

 

 

340

5,668

6,574

7,546

8,586

9,980

11,710

 

 

 

 

 

 

 

 

350

5,835

6,767

7,768

8,839

10,270

12,023

13,351

 

 

 

 

 

 

 

360

6,002

6,961

7,990

9,091

10,560

12,319

13,686

17,528

 

 

 

 

 

 

370

6,168

7,154

8,212

9,314

10,860

12,625

14,030

17,958

 

 

 

 

 

 

380

6,335

7,347

8,434

9,596

11,150

12,920

14,365

18,398

 

 

 

 

 

 

390

6,507

7,541

8,656

9,849

11,440

13,226

14,699

18,828

 

 

 

 

 

 

400

6,668

7,734

8,878

10,100

11,740

13,522

15,044

19,267

 

 

 

 

 

 

410

6,835

7,927

9,100

10,350

12,030

13,822

15,377

19,695

 

 

 

 

 

 

420

7,002

8,121

9,322

10,600

12,320

14,134

15,713

20,135

 

 

 

 

 

 

430

7,169

8,314

9,544

10,850

12,620

14,429

16,048

20,564

 

 

 

 

 

 

440

7,335

8,507

9,766

11,110

12,910

14,735

16,392

21,004

 

 

 

 

 

 

450

7,502

8,701

9,988

11,360

13,200

15,031

16,727

21,433

26,592

 

 

 

 

 

460

7,669

8,894

10,210

11,610

13,500

15,337

17,062

21,872

27,129

32,966

 

 

 

 

470

7,835

9,087

10,430

11,860

12,790

15,633

17,406

22,312

27,676

33,632

-

-

-

-

480

8,002

9,281

10,650

12,120

14,080

15,938

17,741

22,741

28,222

34,298

 

 

 

 

490

8,169

9,474

10,870

12,370

14,380

16,244

18,075

23,181

28,768

34,964

 

 

 

 

500

8,336

9,668

11,090

12,620

14,670

16,540

18,410

23,610

29,305

35,631

43,090

46,805

 

 

510

8,502

9,861

11,310

12,870

14,970

16,846

18,755

24,049

29,852

36,296

43,888

47,775

 

 

520

8,669

10,050

11,510

13,130

15,260

17,142

19,089

24,479

30,398

36,962

44,686

48,552

 

 

530

 

10,250

11,760

13,380

15,550

17,447

19,424

24,918

30,944

37,628

45,483

49,425

 

 

540

 

10,440

11,980

13,630

15,850

17,743

19,758

25,348

31,491

38,294

46,291

50,298

 

 

550

 

10,630

12,200

13,880

16,140

18,049

20,103

25,787

32,027

38,960

47,089

51,162

 

 

560

 

 

12,420

14,140

16,430

18,345

20,438

26,216

32,574

39,626

47,877

52,035

 

 

570

 

 

12,650

14,390

16,730

18,651

20,772

26,656

33,121

40,292

48,685

52,908

 

 

580

 

 

12,870

14,640

17,020

18,456

21,107

27,065

33,667

40,958

49,492

53,781

 

 

590

 

 

13,030

14,890

17,310

19,472

21,681

27,525

34,214

41,624

50,290

54,655

 

 

600

 

 

13,310

15,150

17,610

19,768

22,016

28,214

35,040

42,290

51,108

55,528

70,650

93,370

610

 

 

 

15,400

17,900

20,074

22,351

28,653

35,786

43,276

51,896

56,401

71,748

94,838

620

 

 

 

15,650

18,190

20,380

22,685

29,083

36,133

43,942

51,694

57,275

72,856

96,306

630

 

 

 

15,900

18,490

20,675

22,930

29,522

36,680

44,608

53,491

58,148

74,064

97,974

640

 

 

 

16,160

18,780

20,981

23,364

29,952

37,216

45,271

54,299

59,021

75,07?

99,242

650

 

 

 

16,410

19,070

21,277

23,699

30,391

37,762

45,940

55,097

59,894

76,180

100,710

660

 

 

 

 

19,370

21,583

24,044

30,820

38,309

46,606

55,895

60,768

77,278

102,178

670

 

 

 

 

19,660

21,879

24,378

31,260

38,956

47,272

56,703

61,641

78,386

103,646

680

 

 

 

 

19,960

22,184

24,713

31,699

39,402

47,938

57,500

62,504

79,494

105,144

690

 

 

 

 

20,250

22,490

25,047

32,129

39,939

48,614

58,298

63,376

80,609

106,582

700

 

 

 

 

20,540

22,786

25,392

32,568

40,485

49,280

59,096

64,251

81,710

108,050

710

 

 

 

 

 

 

 

32,997

41,032

49,946

59,984

65,124

82,808

109,518

720

 

 

 

 

 

 

 

33,437

41,578

50,612

60,792

65,998

83,916

110,796

730

 

 

 

 

 

 

 

33,866

42,114

51,278

61,589

66,871

85,024

111,464

740

 

 

 

 

 

 

 

34,306

42,661

51,944

62,387

67,741

86,132

113,932

750

 

 

 

 

 

 

 

34,735

43,208

52,610

63,195

68,618

86,960

115,400

ПРИЛОЖЕНИЕ 3
Справочное

Длина шпильки L, мм

Теоретическая масса шпильки типа Б исполнения 2, кг », при номинальном диаметре резьбы d, мм

10

12

16

20

(22)

24

(27)

30

36

42

48

(52)

45

0,021

 

 

 

 

 

 

 

 

 

 

 

50

0,023

 

 

 

 

 

 

 

 

 

 

 

55

0,025

0,038

 

 

 

 

 

 

 

 

 

 

60

0,027

0,041

 

 

 

 

 

 

 

 

 

 

65

0,029

0,043

 

 

 

 

 

 

 

 

 

 

70

0,031

0,046

0,089

 

 

 

 

 

 

 

 

 

75

0,033

0,019

0,095

 

 

 

 

 

 

 

 

 

80

0,035

0,052

0,100

 

 

 

 

 

 

 

 

 

85

0,037

0,055

0,105

0,170

 

 

 

 

 

 

 

 

90

0,039

0,058

0,110

0,178

 

 

 

 

 

 

 

 

95

0,041

0,061

0,115

0,186

0,223

 

 

 

 

 

 

 

100

0,043

0,064

0,121

0,195

0,243

 

 

 

 

 

 

 

110

0,047

0,070

0,131

0,211

0,263

0,313

 

 

 

 

 

 

120

0,051

0,075

0,141

0,228

0,283

0,336

0,443

 

 

 

 

 

130

0,055

0,081

0,152

0,244

0,303

0,360

0,473

0,581

 

 

 

 

140

0,058

0,086

0,162

0,261

0,323

0,383

0,503

0,629

 

 

 

 

150

0,062

0,092

0,173

0,277

0,344

0,406

0,533

0,667

1,016

 

 

 

160

-

0,098

0,183

0,294

0,364

0,430

0,562

0,705

1,087

1,543

 

 

170

-

0,103

0,193

0,311

0,384

0,453

0,592

0,743

1,143

1,620

 

 

180

-

0,109

0,204

0,327

0,404

0,477

0,622

0,781

1,198

1,695

 

 

190

-

0,114

0,214

0,344

0,428

0,500

0,652

0,819

1,254

1,772

 

 

200

-

0,120

0,225

0,360

0,448

0,524

0,681

0,857

1,309

1,849

2,486

 

210

-

-

0,235

0,377

0,468

0,547

0,711

0,895

1,365

1,925

2,587

 

220

-

-

0,245

0,393

0,488

0,570

0,741

0,933

1,420

2,001

2,689

3,243

230

-

-

0,256

0,410

0,508

0,594

0,771

0,970

1,476

2,078

2,780

3,3b4

240

-

-

-

-

-

0,617

0,801

1,008

1,531

2,154

2,891

3,484

250

 

 

 

 

 

0,641

0,831

1,038

1,587

2,230

2,992

3,604

260

 

 

 

 

 

 

0,860

1,084

1,642

2,307

3,093

3,725

270

 

 

 

 

 

 

0,890

1,122

1,697

2,383

3,194

3,845

280

 

 

 

 

 

 

 

1,160

1,753

2,460

3,295

3,966

290

 

 

 

 

 

 

 

1,198

1,808

2,536

3,396

4,085

300

 

 

 

 

 

 

 

1,236

1,854

2,612

3,497

4,206

310

 

 

 

 

 

 

 

1,274

1,909

2,687

3,598

4,326

320

 

 

 

 

 

 

 

1,312

1,975

2,765

3,699

4,447

330

 

 

 

 

 

 

 

1,350

2,019

2,841

3,800

4,567

340

 

 

 

 

 

 

 

1,387

2,086

2,918

3,901

4,688

350

 

 

 

 

 

 

 

-

2,139

2,993

4,002

4,708

360

 

 

 

 

 

 

 

-

2,197

3,070

4,104

4,929

370

 

 

 

 

 

 

 

 

2,249

3,146

4,206

5,049

380

 

 

 

 

 

 

 

 

2,308

3,223

4,305

5,170

390

 

 

 

 

 

 

 

 

2,359

3,298

4,406

5,290

400

 

 

 

 

 

 

 

 

2,419

3,376

4,508

5,410

410

 

 

 

 

 

 

 

 

-

3,451

4,610

5,530

420

 

 

 

 

 

 

 

 

-

-

4,710

5,651

430

 

 

 

 

 

 

 

 

 

-

4,811

5,772

440

 

 

 

 

 

 

 

 

 

-

4,912

5,892

450

 

 

 

 

 

 

 

 

 

 

-

6,012

460

 

 

 

 

 

 

 

 

 

 

 

6,133

470

 

 

 

 

 

 

 

 

 

 

 

6,253

480

 

 

 

 

 

 

 

 

 

 

 

6,373

490

 

 

 

 

 

 

 

 

 

 

 

6,493

500

 

 

 

 

 

 

 

 

 

 

 

6,614

510

 

 

 

 

 

 

 

 

 

 

 

-

520

 

 

 

 

 

 

 

 

 

 

 

-

530

 

 

 

 

 

 

 

 

 

 

 

-

540

 

 

 

 

 

 

 

 

 

 

 

-

550

 

 

 

 

 

 

 

 

 

 

 

-

560

 

 

 

 

 

 

 

 

 

 

 

 

570

 

 

 

 

 

 

 

 

 

 

 

 

580

 

 

 

 

 

 

 

 

 

 

 

 

590

 

 

 

 

 

 

 

 

 

 

 

 

600

 

 

 

 

 

 

 

 

 

 

 

 

610

 

 

 

 

 

 

 

 

 

 

 

 

620

 

 

 

 

 

 

 

 

 

 

 

 

630

 

 

 

 

 

 

 

 

 

 

 

 

640

 

 

 

 

 

 

 

 

 

 

 

 

650

 

 

 

 

 

 

 

 

 

 

 

 

660

 

 

 

 

 

 

 

 

 

 

 

 

670

 

 

 

 

 

 

 

 

 

 

 

 

680

 

 

 

 

 

 

 

 

 

 

 

 

690

 

 

 

 

 

 

 

 

 

 

 

 

700

 

 

 

 

 

 

 

 

 

 

 

 

710

 

 

 

 

 

 

 

 

 

 

 

 

720

 

 

 

 

 

 

 

 

 

 

 

 

730

 

 

 

 

 

 

 

 

 

 

 

 

740

 

 

 

 

 

 

 

 

 

 

 

 

750

 

 

 

 

 

 

 

 

 

 

 

 

Продолжение

Длина шпильки L, мм

Теоретическая масса шпильки типа Б исполнения 2, кг », при номинальном диаметре резьбы d, мм

56

(60)

64

(68)

72

(76)

80

90

100

110

(120)

125

140

160

45

 

 

 

 

 

 

 

 

 

 

 

 

 

 

50

 

 

 

 

 

 

 

 

 

 

 

 

 

 

55

 

 

 

 

 

 

 

 

 

 

 

 

 

 

60

 

 

 

 

 

 

 

 

 

 

 

 

 

 

65

 

 

 

 

 

 

 

 

 

 

 

 

 

 

70

 

 

 

 

 

 

 

 

 

 

 

 

 

 

75

 

 

 

 

 

 

 

 

 

 

 

 

 

 

80

 

 

 

 

 

 

 

 

 

 

 

 

 

 

85

 

 

 

 

 

 

 

 

 

 

 

 

 

 

90

 

 

 

 

 

 

 

 

 

 

 

 

 

 

95

 

 

 

 

 

 

 

 

 

 

 

 

 

 

100

 

 

 

 

 

 

 

 

 

 

 

 

 

 

110

 

 

 

 

 

 

 

 

 

 

 

 

 

 

120

 

 

 

 

 

 

 

 

 

 

 

 

 

 

130

 

 

 

 

 

 

 

 

 

 

 

 

 

 

140

 

 

 

 

 

 

 

 

 

 

 

 

 

 

150

 

 

 

 

 

 

 

 

 

 

 

 

 

 

160

 

 

 

 

 

 

 

 

 

 

 

 

 

 

170

 

 

 

 

 

 

 

 

 

 

 

 

 

 

180

 

 

 

 

 

 

 

 

 

 

 

 

 

 

190

 

 

 

 

 

 

 

 

 

 

 

 

 

 

200

 

 

 

 

 

 

 

 

 

 

 

 

 

 

210

 

 

 

 

 

 

 

 

 

 

 

 

 

 

220

 

 

 

 

 

 

 

 

 

 

 

 

 

 

230

 

 

 

 

 

 

 

 

 

 

 

 

 

 

240

 

 

 

 

 

 

 

 

 

 

 

 

 

 

250

4,157

5,420

5,655

 

 

 

 

 

 

 

 

 

 

 

260

4,299

5,591

5,848

 

 

 

 

 

 

 

 

 

 

 

270

4,441

5,763

6,140

 

 

 

 

 

 

 

 

 

 

 

280

4,583

5,934

6,333

 

 

 

 

 

 

 

 

 

 

 

290

4,733

6,107

6,525

 

 

 

 

 

 

 

 

 

 

 

300

4,867

6,288

6,618

 

 

 

 

 

 

 

 

 

 

 

310

5,009

6,450

6,811

 

 

 

 

 

 

 

 

 

 

 

320

5,151

6,621

7,005

 

 

 

 

 

 

 

 

 

 

 

330

5,293

6,794

7,197

8,196

 

 

 

 

 

 

 

 

 

 

340

5,435

6,965

7,391

8,418

9,76

11,08

 

 

 

 

 

 

 

 

350

5,577

7,138

7,584

8,699

10,02

11,39

12,70

 

 

 

 

 

 

 

360

5,719

7,309

7,778

8,862

10,29

11,69

13,02

16,72

 

 

 

 

 

 

370

5,861

7,481

7,971

9,083

10,56

12,00

13,37

17,16

 

 

 

 

 

 

380

6,003

7,552

8,165

9,306

10,83

12,30

13,69

17,59

 

 

 

 

 

 

390

6,145

7,825

8,357

9,528

11,09

12,61

14,04

18,03

 

 

 

 

 

 

400

6,287

7,996

8,551

9,749

11,36

12,83

14,36

18,46

 

 

 

 

 

 

410

6,429

8,168

8,744

9,971

11,62

13,22

14,71

18,90

 

 

 

 

 

 

420

6,571

8,339

8,938

10,194

11,89

13,52

15,03

19,33

 

 

 

 

 

 

430

6,713

8,512

9,130

10,416

12,16

13,83

15,38

19,77

 

 

 

 

 

 

440

6,855

8,683

9,324

10,638

12,42

14,13

15,70

20,20

 

 

 

 

 

 

450

6,997

8,856

9,517

10,860

12,69

14,44

16,03

20,64

25,64

 

 

 

 

 

460

7,139

9,027

9,711

11,081

12,95

14,74

16,37

21,06

26,18

32,05

 

 

 

 

470

7,281

9,199

10,097

11,303

13,22

14,97

16,76

21,50

26,73

32,72

 

 

 

 

480

7,421

9,370

10,290

11,525

13,49

15,35

17,04

21,93

27,27

33,38

 

 

 

 

490

7,561

9,543

10,484

11,747

13,75

15,56

17,39

22,37

27,82

34,05

 

 

 

 

500

7,706

9,714

10,677

11,969

14,02

15,96

17,71

22,80

28,36

34,71

41,97

45,53

 

 

510

7,848

9,886

10,870

12,190

14,29

16,26

18,05

23,23

28,95

35,37

42,78

46,40

 

 

520

7,991

10,057

11,063

12,412

14,55

16,57

18,38

23,67

29,45

36,04

43,58

47,28

 

 

530

-

10,230

11,257

12,633

14,82

16,87

18,72

24,10

29,99

36,70

44,39

48,15

 

 

540

 

10,401

11,450

12,866

15,08

17,18

19,05

24,54

30,54

37,37

45,19

49,03

 

 

550

 

10,572

11,643

13,078

15,34

17,48

19,39

24,97

31,08

38,03

46,01

49,91

 

 

560

 

-

11,836

13,300

15,62

17,79

19,72

25,41

31,63

38,70

46,80

50,78

 

 

570

 

 

12,030

13,521

15,88

18,09

20,06

25,84

32,17

39,36

47,62

51,66

 

 

580

 

 

12,223

13,743

16,15

18,75

20,39

26,28

32,72

40,03

48,41

52,53

 

 

590

 

 

12,416

13,964

16,48

19,05

20,81

26,71

33,26

40,69

49,23

53,41

 

 

600

 

 

12,609

14,187

16,74

19,36

21,14

27,24

33,89

41,36

50,03

54,29

68,96

91,18

610

 

 

-

14,409

17,01

19,66

21,48

27,67

34,43

42,12

50,84

55,26

70,07

92,64

620

 

 

-

14,631

17,27

19,97

21,87

27,11

34,98

42,79

51,64

56,04

71,19

94,11

630

 

 

 

14,853

17,54

20,27

22,15

28,54

35,52

43,45

52,45

56,91

72,30

95,57

640

 

 

 

14,966

17,81

20,58

22,48

28,98

36,07

44,12

53,25

57,79

73,42

97,04

650

 

 

 

15,188

18,07

20,88

22,82

29,41

36,61

44,78

54,07

58,67

74,54

98,51

660

 

 

 

-

18,34

21,19

23,15

29,85

37,16

45,45

54,86

59,54

75,65

99,97

670

 

 

 

-

18,61

21,49

23,44

30,28

37,70

46,11

55,68

60,42

76,77

101,44

680

 

 

 

 

18,81

21,80

23,82

30,72

38,25

46,78

56,47

61,29

77,88

102,90

690

 

 

 

 

19,14

22,10

24,16

31,15

38,79

47,44

57,29

62,17

79,00

104,37

700

 

 

 

 

19,40

22,41

24,49

31,59

39,34

48,11

58,09

63,05

80,12

105,84

710

 

 

 

 

-

-

-

32,02

39,88

48,77

58,90

63,92

81,23

107,36

720

 

 

 

 

-

-

-

32,42

40,42

49,43

59,70

64,80

82,35

108,77

730

 

 

 

 

 

 

 

32,89

40,97

50,10

60,51

65,67

83,46

110,23

740

 

 

 

 

 

 

 

33,33

41,52

50,77

61,31

66,55

84,58

111,70

750

 

 

 

 

 

 

 

33,76

42,06

51,43

62,13

67,43

85,70

113,17

ПРИЛОЖЕНИЕ 4
Справочное

Длина шпильки L, мм

Теоретическая масса шпильки типа В, кг », при номинальном диаметре резьбы d, мм

30

36

42

48

(52)

56

(60)

64

(68)

72

(76)

80

90

100

110

(120)

125

140

160

130

0,488

 

 

 

 

 

 

 

 

 

 

 

 

 

 

 

 

 

 

140

0,518

1,072

 

 

 

 

 

 

 

 

 

 

 

 

 

 

 

 

 

150

0,548

1,122

 

 

 

 

 

 

 

 

 

 

 

 

 

 

 

 

 

160

0,578

1,172

1,692

 

 

 

 

 

 

 

 

 

 

 

 

 

 

 

 

170

0,608

1,222

1,762

 

 

 

 

 

 

 

 

 

 

 

 

 

 

 

 

180

0,638

1,272

1,832

 

 

 

 

 

 

 

 

 

 

 

 

 

 

 

 

190

0,668

1,322

1,902

 

 

 

 

 

 

 

 

 

 

 

 

 

 

 

 

200

0,698

1,372

1,972

2,682

 

 

 

 

 

 

 

 

 

 

 

 

 

 

 

210

0,728

1,422

2,042

2,782

 

 

 

 

 

 

 

 

 

 

 

 

 

 

 

220

0,758

1,472

2,112

2,882

3,409

 

 

 

 

 

 

 

 

 

 

 

 

 

 

230

0,788

1,522

2,182

2,982

3,529

 

 

 

 

 

 

 

 

 

 

 

 

 

 

240

0,818

1,572

2,252

3,082

3,649

 

 

 

 

 

 

 

 

 

 

 

 

 

 

250

0,858

1,622

2,322

3,182

3,769

4,261

5,433

6,100

 

 

 

 

 

 

 

 

 

 

 

260

0,888

1,672

2,392

3,282

3,889

4,391

5,593

6,270

 

 

 

 

 

 

 

 

 

 

 

270

0,918

1,732

2,462

3,382

4,009

4,521

5,753

6,440

 

 

 

 

 

 

 

 

 

 

 

280

0,948

1,782

2,532

3,482

4,129

4,651

5,913

6,610

 

 

 

 

 

 

 

 

 

 

 

290

0,978

1,832

2,602

3,582

4,249

4,781

6,073

6,780

 

 

 

 

 

 

 

 

 

 

 

300

1,008

1,882

2,672

3,682

4,369

4,911

6,233

6,950

 

 

 

 

 

 

 

 

 

 

 

310

1,038

1,932

2,762

3,782

4,489

5,041

6,393

7,120

 

 

 

 

 

 

 

 

 

 

 

320

1,068

1,982

2,832

3,882

4,609

5,171

6,553

7,290

 

 

 

 

 

 

 

 

 

 

 

330

1,098

2,032

2,902

3,982

4,729

5,301

6,713

7,460

8,390

 

 

 

 

 

 

 

 

 

 

340

1,128

2,082

2,972

4,082

4,849

5,431

6,873

7,630

8,580

10,576

11,188

 

 

 

 

 

 

 

 

350

-

2,132

3,042

4,132

4,969

5,561

7,033

7,800

8,770

10,836

11,468

12,778

 

 

 

 

 

 

 

360

-

2,182

3,112

4,182

5,089

5,691

7,193

7,970

8,960

11,096

11,748

13,078

17,816

 

 

 

 

 

 

370

-

2,232

3,182

4,282

5,209

5,821

7,353

8,140

9,150

11,356

12,028

13,398

18,226

 

 

 

 

 

 

380

-

2,282

3,252

4,382

5,329

5,951

7,513

8,310

9,340

11,616

12,308

13,698

18,636

 

 

 

 

 

 

390

-

2,332

3,322

4,482

5,369

6,081

7,673

8,480

9,530

11,876

12,588

14,018

19,046

 

 

 

 

 

 

400

-

2,382

2,392

4,582

5,449

6,211

7,833

8,650

9,720

12,136

12,868

14,318

19,456

 

 

 

 

 

 

410

-

2,432

2,462

4,682

5,569

6,341

7,993

8,820

9,910

12,396

13,148

14,638

19,866

 

 

 

 

 

 

420

-

-

-

4,782

5,689

6,471

8,153

8,990

10,100

12,656

13,428

14,938

20,276

 

 

 

 

 

 

430

 

 

 

4,882

5,809

6,641

8,313

9,160

10,290

12,916

13,708

15,258

20,686

 

 

 

 

 

 

440

 

 

 

4,982

5,929

6,771

8,473

9,330

10,480

13,176

13,988

15,558

21,096

 

 

 

 

 

 

450

 

 

 

 

6,049

6,901

8,633

9,500

10,670

13,436

14,268

15,678

21,506

27,669

 

 

 

 

 

460

 

 

 

 

5,169

7,031

8,793

9,670

10,860

13,696

14,548

16,178

21,916

28,189

34,444

 

 

 

 

470

 

 

 

 

6,289

7,161

9,003

9840

11,050

13,956

14,828

16,498

22,326

28,709

35,084

 

 

 

 

480

 

 

 

 

6,409

7,291

9,163

10,010

11,240

14,216

15,108

16,798

22,736

29,229

35,724

 

 

 

 

490

 

 

 

 

6,529

7,421

9,323

10,180

11,430

14,476

15,388

17,118

23,146

29,749

36,364

 

 

 

 

500

 

 

 

 

6,649

7,551

9,483

10,350

11,620

14,736

15,668

17,418

23,556

30,269

37,004

42,563

46,123

 

 

510

 

 

 

 

 

7,681

9,643

10,590

11,810

14,996

15,948

17,738

23,966

30,789

37,644

43,303

46,923

 

 

520

 

 

 

 

 

7,811

9,803

10,770

12,000

15,256

16,228

18,038

24,376

31,309

38,284

44,043

47,723

 

 

530

 

 

 

 

 

 

9,963

10,930

12,190

15,516

16,508

18,358

24,786

31,829

38,924

44,783

48,523

 

 

540

 

 

 

 

 

 

10,123

11,110

12,380

15,776

16,788

18,658

25,196

32,349

39,564

45,523

49,323

 

 

550

 

 

 

 

 

 

10,283

11,270

12,690

16,036

17,068

18,978

25,606

32,869

40,204

46,263

50,123

 

 

560

 

 

 

 

 

 

 

11,450

12,880

16,296

17,348

19,278

26,016

33,389

40,844

47,003

50,923

 

 

570

 

 

 

 

 

 

 

11,610

13,070

16,556

17,628

19,598

26,426

33,909

41,484

47,743

51,723

 

 

580

 

 

 

 

 

 

 

11,790

13,260

16,816

18,258

19,898

26,836

34,429

42,124

48,483

52,523

 

 

590

 

 

 

 

 

 

 

11,950

13,450

17,136

18,538

20,298

27,246

34,949

42,764

49,223

53,323

 

 

600

 

 

 

 

 

 

 

12,130

13,640

17,396

18,818

20,598

27,656

35,469

43,404

49,963

54,123

71,666

95,825

610

 

 

 

 

 

 

 

 

13,830

17,659

19,098

20,918

28,066

36,069

44,044

50,703

54,923

72,706

97,215

620

 

 

 

 

 

 

 

 

14,020

17,916

19,378

21,218

28,476

36,589

44,684

51,443

55,723

73,746

98,605

630

 

 

 

 

 

 

 

 

14,210

18,176

19,658

21,538

28,886

37,109

45,324

52,183

56,523

74,786

99,995

640

 

 

 

 

 

 

 

 

14,400

18,436

19,938

21,838

29,296

37,629

45,964

52,923

57,323

75,826

101,385

650

 

 

 

 

 

 

 

 

14,590

18,696

20,218

22,158

29,706

38,149

46,604

53,663

58,123

76,866

102,775

660

 

 

 

 

 

 

 

 

 

18,956

20,498

22,458

30,116

38,669

47,244

54,403

58,923

77,906

104,165

670

 

 

 

 

 

 

 

 

 

19,216

20,778

22,778

30,526

39,189

47,884

55,143

59,723

78,946

105,555

680

 

 

 

 

 

 

 

 

 

19,476

21,058

23,078

30,936

39,709

48,524

55,883

60,523

79,986

106,945

690

 

 

 

 

 

 

 

 

 

19,736

21,338

23,398

31,346

40,229

49,164

56,623

61,323

81,026

108,335

700

 

 

 

 

 

 

 

 

 

19,996

21,618

23,698

31,756

40,749

49,804

57,363

62,123

82,066

109,725

710

 

 

 

 

 

 

 

 

 

 

 

 

32,166

41,269

50,444

58,103

62,923

83,106

111,115

720

 

 

 

 

 

 

 

 

 

 

 

 

32,576

41,789

51,084

58,843

63,723

84,146

112,505

730

 

 

 

 

 

 

 

 

 

 

 

 

32,986

42,309

51,724

59,583

64,523

85,186

113,895

740

 

 

 

 

 

 

 

 

 

 

 

 

33,396

42,829

52,364

60,323

65,323

86,226

115,285

750

 

 

 

 

 

 

 

 

 

 

 

 

33,806

43,349

53,004

61,063

66,123

87,266

116,675

ПРИЛОЖЕНИЕ 5
Справочное

Длина шпильки L, мм

Теоретическая масса шпильки типа Г, кг », при номинальном диаметре резьбы d, мм

30

36

42

48

(52)

56

(60)

64

(68)

72

(76)

80

90

100

110

(120)

125

140

160

130

0,41

 

 

 

 

 

 

 

 

 

 

 

 

 

 

 

 

 

 

140

0,44

0,82

 

 

 

 

 

 

 

 

 

 

 

 

 

 

 

 

 

150

0,47

0,87

 

 

 

 

 

 

 

 

 

 

 

 

 

 

 

 

 

160

0,50

0,92

1,39

 

 

 

 

 

 

 

 

 

 

 

 

 

 

 

 

170

0,53

0,97

1,46

 

 

 

 

 

 

 

 

 

 

 

 

 

 

 

 

180

0,56

1,02

1,53

 

 

 

 

 

 

 

 

 

 

 

 

 

 

 

 

190

0,59

1,07

1,60

 

 

 

 

 

 

 

 

 

 

 

 

 

 

 

 

200

0,62

1,12

1,67

2,34

 

 

 

 

 

 

 

 

 

 

 

 

 

 

 

210

0,65

1,17

1,74

2,44

 

 

 

 

 

 

 

 

 

 

 

 

 

 

 

220

0,68

1,22

1,81

2,54

2,97

 

 

 

 

 

 

 

 

 

 

 

 

 

 

230

0,71

1,27

1,88

2,64

3,09

 

 

 

 

 

 

 

 

 

 

 

 

 

 

240

0,74

1,32

1,95

2,74

3,21

 

 

 

 

 

 

 

 

 

 

 

 

 

 

250

0,78

1,37

2,02

2,84

3,33

3,79

4,68

5,30

 

 

 

 

 

 

 

 

 

 

 

260

0,81

1,42

2,09

2,94

3,45

3,92

4,84

5,47

 

 

 

 

 

 

 

 

 

 

 

270

0,84

1,48

2,16

3,04

3,57

4,05

5,00

5,64

 

 

 

 

 

 

 

 

 

 

 

280

0,87

1,53

2,23

3,14

3,69

4,18

5,16

5,81

 

 

 

 

 

 

 

 

 

 

 

290

0,90

1,58

2,30

3,24

3,81

4,31

5,32

5,98

 

 

 

 

 

 

 

 

 

 

 

300

0,93

1,63

2,37

3,34

3,93

4,44

5,48

6,15

 

 

 

 

 

 

 

 

 

 

 

310

0,96

1,68

2,46

3,44

4,06

4,57

5,64

6,32

 

 

 

 

 

 

 

 

 

 

 

320

0,99

1,73

2,53

3,54

4,17

4,70

5,80

6,49

 

 

 

 

 

 

 

 

 

 

 

330

1,02

1,78

2,60

3,64

4,29

4,83

5,96

6,66

7,59

 

 

 

 

 

 

 

 

 

 

340

1,05

1,83

2,67

3,74

4,41

4,96

6,12

6,83

7,78

9,55

10,24

 

 

 

 

 

 

 

 

350

 

1,88

2,74

3,79

4,53

5,09

6,28

7,00

7,97

9,81

10,52

11,83

 

 

 

 

 

 

 

360

 

1,93

2,81

3,84

4,65

5,22

6,44

7,17

8,16

10,07

10,80

12,13

15,83

 

 

 

 

 

 

370

 

1,98

2,88

3,94

4,77

5,35

6,60

7,34

8,35

10,33

11,08

12,45

16,24

 

 

 

 

 

 

380

 

2,03

2,95

4,04

4,89

5,48

6,76

7,51

8,54

10,59

11,36

12,75

16,65

 

 

 

 

 

 

390

 

2,08

3,02

4,14

4,93

5,61

6,92

7,68

8,73

10,85

11,64

13,07

17,06

 

 

 

 

 

 

400

 

2,13

3,09

4,24

5,01

5,74

7,08

7,85

8,92

11,11

11,92

13,37

17,47

 

 

 

 

 

 

410

 

2,18

3,16

4,34

5,13

5,87

7,24

8,02

9,11

11,37

12,20

13,69

17,88

 

 

 

 

 

 

420

 

 

 

4,44

5,25

6,00

7,40

8,19

9,30

11,63

12,48

13,99

18,29

 

 

 

 

 

 

430

 

 

 

4,54

5,37

6,17

7,56

8,36

9,49

11,89

12,76

14,31

18,70

 

 

 

 

 

 

440

 

 

 

4,64

5,49

6,30

7,72

8,53

9,68

12,15

13,04

14,61

19,11

 

 

 

 

 

 

450

 

 

 

 

5,61

6,43

7,88

8,70

9,87

12,41

13,32

14,93

19,52

24,52

 

 

 

 

 

460

 

 

 

 

5,73

6,56

8,04

8,87

10,06

12,67

13,60

15,23

19,92

25,04

30,91

 

 

 

 

470

 

 

 

 

5,85

6,69

8,25

9,04

10,25

12,93

13,88

15,55

20,33

25,56

31,55

 

 

 

 

480

 

 

 

 

5,97

6,82

8,41

9,21

10,44

13,19

14,16

15,85

20,74

26,08

32,19

 

 

 

 

490

 

 

 

 

6,09

6,95

8,57

9,38

10,63

13,45

14,44

16,17

21,15

26,60

32,83

 

 

 

 

500

 

 

 

 

6,21

7,08

8,73

9,55

10,82

13,71

14,72

16,47

21,56

27,12

33,47

37,17

41,73

 

 

510

 

 

 

 

 

7,21

8,89

9,79

11,01

13,97

15,00

16,79

21,97

27,64

34,11

38,91

42,53

 

 

520

 

 

 

 

 

7,34

9,05

9,97

11,20

14,23

15,28

17,09

22,38

28,16

34,75

39,63

43,33

 

 

530

 

 

 

 

 

 

9,21

10,13

11,39

14,49

15,56

17,41

22,79

28,68

35,39

40,37

44,13

 

 

540

 

 

 

 

 

 

9,37

10,31

11,58

14,75

15,84

17,71

23,20

29,20

36,03

41,09

44,93

 

 

550

 

 

 

 

 

 

9,53

10,47

11,89

15,01

16,12

18,03

23,61

29,72

36,67

41,83

45,73

 

 

560

 

 

 

 

 

 

 

10,65

12,08

15,27

16,40

18,33

24,02

30,24

37,31

42,55

46,53

 

 

570

 

 

 

 

 

 

 

10,81

12,27

15,53

16,68

18,65

24,43

30,76

37,95

43,29

47,33

 

 

580

 

 

 

 

 

 

 

10,99

12,46

15,79

17,31

18,95

24,84

31,28

38,59

44,01

48,13

 

 

590

 

 

 

 

 

 

 

11,15

12,65

16,11

17,59

19,35

25,25

31,80

39,23

44,75

48,93

 

 

600

 

 

 

 

 

 

 

11,33

12,84

16,37

17,87

19,65

25,75

32,40

39,87

45,47

49,73

64,40

86,02

610

 

 

 

 

 

 

 

 

13,03

16,63

18,15

19,97

26,16

32,92

40,61

46,21

50,53

65,44

88,01

620

 

 

 

 

 

 

 

 

13,22

16,89

18,43

20,27

26,57

33,44

41,25

46,93

51,33

66,48

89,40

630

 

 

 

 

 

 

 

 

13,41

17,15

18,71

20,59

26,98

33,96

41,89

47,67

52,13

67,52

90,79

640

 

 

 

 

 

 

 

 

13,60

17,41

18,99

20,89

27,39

34,48

42,53

48,39

52,93

68,56

92,18

650

 

 

 

 

 

 

 

 

13,79

17,67

19,27

21,21

27,80

35,00

43,17

49,13

53,73

69,60

93,57

660

 

 

 

 

 

 

 

 

 

17,93

19,55

21,51

28,21

35,52

43,81

49,85

54,53

70,64

94,96

670

 

 

 

 

 

 

 

 

 

18,19

19,83

21,83

28,62

36,04

44,45

50,59

55,33

71,68

96,35

680

 

 

 

 

 

 

 

 

 

18,45

20,11

2,13

29,03

36,56

45,09

51,31

56,13

72,72

97,74

690

 

 

 

 

 

 

 

 

 

18,71

20,39

22,45

29,44

31,08

45,73

52,05

56,93

73,76

99,13

700

 

 

 

 

 

 

 

 

 

18,97

20,67

22,75

29,85

37,60

46,37

52,77

57,73

74,80

100,52

710

 

 

 

 

 

 

 

 

 

 

 

 

30,26

38,12

47,01

53,51

58,53

75,84

101,91

720

 

 

 

 

 

 

 

 

 

 

 

 

30,67

38,64

47,65

54,23

59,33

76,88

103,30

730

 

 

 

 

 

 

 

 

 

 

 

 

31,08

39,16

48,29

54,97

60,13

77,92

104,69

740

 

 

 

 

 

 

 

 

 

 

 

 

31,49

39,68

48,93

55,69

60,93

78,92

106,08

750

 

 

 

 

 

 

 

 

 

 

 

 

31,90

40,20

49,57

56,43

61,73

80,00

107,47

ПРИЛОЖЕНИЕ 6
Справочное

Длина шпильки L, мм

Теоретическая масса шпильки типа Д, исполнения 1, кг », при номинальном диаметре резьбы d, мм

30

36

42

48

(52)

56

(60)

64

(68)

72

(76)

80

90

100

110

(120)

125

140

160

130

0,45

 

 

 

 

 

 

 

 

 

 

 

 

 

 

 

 

 

 

140

0,48

0,89

 

 

 

 

 

 

 

 

 

 

 

 

 

 

 

 

 

150

0,51

0,94

 

 

 

 

 

 

 

 

 

 

 

 

 

 

 

 

 

160

0,54

0,99

1,42

 

 

 

 

 

 

 

 

 

 

 

 

 

 

 

 

170

0,57

1,04

1,49

 

 

 

 

 

 

 

 

 

 

 

 

 

 

 

 

180

0,60

1,09

1,56

 

 

 

 

 

 

 

 

 

 

 

 

 

 

 

 

190

0,63

1,14

1,63

 

 

 

 

 

 

 

 

 

 

 

 

 

 

 

 

200

0,66

1,19

1,70

2,23

 

 

 

 

 

 

 

 

 

 

 

 

 

 

 

210

0,69

1,24

1,77

2,33

 

 

 

 

 

 

 

 

 

 

 

 

 

 

 

220

0,72

1,29

1,84

2,43

2,78

 

 

 

 

 

 

 

 

 

 

 

 

 

 

230

0,75

1,34

1,91

2,53

2,90

 

 

 

 

 

 

 

 

 

 

 

 

 

 

240

0,78

1,39

1,98

2,63

3,02

 

 

 

 

 

 

 

 

 

 

 

 

 

 

250

0,82

1,44

2,05

2,73

3,14

3,88

4,69

5,45

 

 

 

 

 

 

 

 

 

 

 

260

0,85

1,49

2,12

2,83

3,26

4,01

4,85

5,62

 

 

 

 

 

 

 

 

 

 

 

270

0,88

1,51

2,19

2,93

3,38

4,14

5,01

5,79

 

 

 

 

 

 

 

 

 

 

 

280

0,91

1,56

2,26

3,03

3,50

4,27

5,17

5,96

 

 

 

 

 

 

 

 

 

 

 

290

0,94

1,61

2,33

3,13

3,62

4,40

5,33

6,13

 

 

 

 

 

 

 

 

 

 

 

300

0,97

1,66

2,40

3,23

3,74

4,53

5,49

6,30

 

 

 

 

 

 

 

 

 

 

 

310

1,00

1,71

2,53

3,33

3,86

4,66

5,65

6,47

 

 

 

 

 

 

 

 

 

 

 

320

1,03

1,76

2,60

3,43

3,98

4,79

5,81

6,64

 

 

 

 

 

 

 

 

 

 

 

330

1,06

1,81

2,67

3,53

4,10

4,92

5,97

6,81

 

 

 

 

 

 

 

 

 

 

 

340

1,09

1,86

2,74

3,63

4,22

5,05

6,13

6,98

7,77

9,67

10,33

 

 

 

 

 

 

 

 

350

 

1,91

2,81

3,95

4,34

5,18

6,29

7,15

7,96

9,93

10,61

11,66

 

 

 

 

 

 

 

360

 

1,96

2,88

4,05

4,46

5,31

6,45

7,32

8,15

10,19

10,89

11,96

15,63

 

 

 

 

 

 

370

 

2,01

2,95

4,15

4,58

5,44

6,61

7,49

8,34

10,45

11,17

12,27

16,04

 

 

 

 

 

 

380

 

2,06

3,02

4,25

4,70

5,57

6,77

7,66

8,53

10,71

11,45

12,58

16,45

 

 

 

 

 

 

390

 

2,11

3,09

4,35

5,10

5,70

6,93

7,83

8,72

10,97

11,73

12,89

16,86

 

 

 

 

 

 

400

 

2,16

3,16

4,45

5,22

5,83

7,09

8,00

8,91

11,23

12,01

13,20

17,27

 

 

 

 

 

 

410

 

2,21

3,23

4,55

5,34

5,96

7,25

8,17

9,10

11,49

12,29

13,51

17,68

 

 

 

 

 

 

420

 

 

 

4,65

5,46

6,09

7,41

8,34

9,29

11,75

12,57

13,82

18,09

 

 

 

 

 

 

430

 

 

 

4,75

5,58

6,31

7,57

8,51

9,48

12,01

12,85

14,13

18,50

 

 

 

 

 

 

440

 

 

 

4,85

5,70

6,44

7,73

8,68

9,67

12,27

13,13

14,44

18,91

 

 

 

 

 

 

450

 

 

 

 

5,82

6,57

7,89

8,85

9,86

12,53

13,41

14,75

19,32

24,56

 

 

 

 

 

460

 

 

 

 

5,94

6,70

8,05

9,02

10,05

12,79

13,69

15,06

19,73

25,08

29,96

 

 

 

 

470

 

 

 

 

6,06

6,83

8,30

9,19

10,24

13,05

13,97

15,37

20,14

25,60

30,60

 

 

 

 

480

 

 

 

 

6,18

6,96

8,46

9,36

10,43

13,31

14,25

15,68

20,55

26,12

31,24

 

 

 

 

490

 

 

 

 

6,30

7,09

8,62

9,53

10,62

13,57

14,53

15,99

30,96

26,54

31,88

 

 

 

 

500

 

 

 

 

6,42

7,22

8,78

9,70

10,81

13,83

14,71

16,30

21,37

27,16

32,52

38,10

41,75

 

 

510

 

 

 

 

 

7,35

8,94

10,02

11,00

14,09

15,09

16,61

21,78

27,68

33,16

38,82

42,55

 

 

520

 

 

 

 

 

7,48

9,10

10,19

11,19

14,35

15,37

16,92

22,19

28,20

33,80

39,54

43,35

 

 

530

 

 

 

 

 

 

9,26

10,36

11,38

14,61

15,65

17,23

22,60

28,72

34,44

40,26

44,15

 

 

540

 

 

 

 

 

 

9,42

10,53

11,57

14,87

15,93

17,54

23,01

29,24

35,08

40,98

44,95

 

 

550

 

 

 

 

 

 

9,58

10,70

11,76

15,13

16,21

17,85

23,42

29,76

35,72

41,70

45,75

 

 

560

 

 

 

 

 

 

 

10,87

12,19

15,39

16,49

18,16

23,83

30,28

36,36

42,42

46,55

 

 

570

 

 

 

 

 

 

 

11,04

12,38

15,65

16,77

18,57

24,24

30,80

37,00

43,14

47,35

 

 

580

 

 

 

 

 

 

 

11,21

12,57

15,91

17,05

18,78

24,65

31,32

37,64

43,86

48,15

 

 

590

 

 

 

 

 

 

 

11,38

12,76

16,27

17,45

19,22

25,06

31,84

38,28

44,58

48,95

 

 

600

 

 

 

 

 

 

 

11,55

12,95

16,53

17,73

19,53

25,59

32,52

38,92

45,30

49,75

64,32

86,16

610

 

 

 

 

 

 

 

 

13,14

16,79

18,01

19,84

26,00

33,04

39,56

46,02

50,55

65,35

87,54

620

 

 

 

 

 

 

 

 

13,33

17,05

18,29

20,15

26,41

33,56

40,30

46,74

51,35

66,38

88,92

630

 

 

 

 

 

 

 

 

13,52

17,31

18,57

20,46

26,82

34,08

41,00

47,46

52,15

67,41

90,30

640

 

 

 

 

 

 

 

 

13,71

17,57

18,85

20,77

27,23

34,60

41,64

48,18

52,95

68,44

91,68

650

 

 

 

 

 

 

 

 

13,90

17,83

19,13

21,08

27,64

35,12

42,28

48,90

53,75

69,47

93,06

660

 

 

 

 

 

 

 

 

14,09

18,09

19,41

21,39

28,05

35,64

42,92

49,62

54,55

70,50

94,44

670

 

 

 

 

 

 

 

 

 

18,35

19,69

21,70

28,46

36,16

43,56

50,34

55,35

71,53

95,82

680

 

 

 

 

 

 

 

 

 

18,61

19,97

22,01

28,87

36,68

44,20

51,06

56,15

72,56

97,20

690

 

 

 

 

 

 

 

 

 

18,87

20,25

22,32

29,28

37,20

44,84

51,78

56,95

73,59

98,58

700

 

 

 

 

 

 

 

 

 

19,13

20,53

22,65

29,69

37,72

45,48

52,50

57,75

74,62

99,96

710

 

 

 

 

 

 

 

 

 

 

 

 

30,10

38,24

46,76

59,22

58,55

75,65

101,34

720

 

 

 

 

 

 

 

 

 

 

 

 

30,51

38,76

47,40

53,94

59,35

76,68

102,72

730

 

 

 

 

 

 

 

 

 

 

 

 

30,92

39,28

48,04

54,66

60,15

77,71

104,10

740

 

 

 

 

 

 

 

 

 

 

 

 

31,33

39,80

48,68

55,38

60,95

78,74

105,48

750

 

 

 

 

 

 

 

 

 

 

 

 

31,74

40,32

49,32

56,10

61,75

79,77

106,86

ПРИЛОЖЕНИЕ 7
Справочное

Длина шпильки L, мм

Теоретическая масса шпильки типа Д, исполнения 2, кг », при номинальном диаметре резьбы d, мм

30

36

42

48

(52)

56

(60)

64

(68)

72

(76)

80

90

100

110

(120)

125

140

160

130

0,41

 

 

 

 

 

 

 

 

 

 

 

 

 

 

 

 

 

 

140

0,44

0,82

 

 

 

 

 

 

 

 

 

 

 

 

 

 

 

 

 

150

0,47

0,87

 

 

 

 

 

 

 

 

 

 

 

 

 

 

 

 

 

160

0,50

0,92

1,39

 

 

 

 

 

 

 

 

 

 

 

 

 

 

 

 

170

0,53

0,97

1,46

 

 

 

 

 

 

 

 

 

 

 

 

 

 

 

 

180

0,56

1,02

1,53

 

 

 

 

 

 

 

 

 

 

 

 

 

 

 

 

190

0,62

1,07

1,60

 

 

 

 

 

 

 

 

 

 

 

 

 

 

 

 

200

0,65

1,12

1,67

2,34

 

 

 

 

 

 

 

 

 

 

 

 

 

 

 

210

0,68

1,17

1,74

2,44

 

 

 

 

 

 

 

 

 

 

 

 

 

 

 

220

0,71

1,22

1,81

2,54

2,97

 

 

 

 

 

 

 

 

 

 

 

 

 

 

230

0,74

1,27

1,88

2,64

3,09

 

 

 

 

 

 

 

 

 

 

 

 

 

 

240

0,78

1,32

1,95

2,74

3,21

 

 

 

 

 

 

 

 

 

 

 

 

 

 

250

0,81

1,37

2,02

2,84

3,33

3,79

4,68

5,30

 

 

 

 

 

 

 

 

 

 

 

260

0,84

1,42

2,09

2,94

3,45

3,92

4,84

5,47

 

 

 

 

 

 

 

 

 

 

 

270

0,87

1,48

2,16

3,04

3,57

4,05

5,00

5,64

 

 

 

 

 

 

 

 

 

 

 

280

0,90

1,53

2,23

3,14

3,69

4,18

5,16

5,81

 

 

 

 

 

 

 

 

 

 

 

290

0,93

1,58

2,30

3,24

3,81

4,31

5,32

5,98

 

 

 

 

 

 

 

 

 

 

 

300

0,96

1,63

2,37

3,34

3,93

4,44

5,48

6,15

 

 

 

 

 

 

 

 

 

 

 

310

0,99

1,68

2,46

3,44

4,05

4,57

5,64

6,32

 

 

 

 

 

 

 

 

 

 

 

320

1,02

1,73

2,53

3,54

4,17

4,70

5,80

6,49

 

 

 

 

 

 

 

 

 

 

 

330

1,05

1,78

2,60

3,64

4,29

4,83

5,96

6,66

7,59

 

 

 

 

 

 

 

 

 

 

340

 

1,83

2,67

3,74

4,41

4,96

6,12

6,83

7,78

9,55

10,24

 

 

 

 

 

 

 

 

350

 

1,88

2,74

3,79

4,53

5,09

6,28

7,00

7,97

9,81

10,52

11,83

 

 

 

 

 

 

 

360

 

1,93

2,81

3,84

4,65

5,22

6,44

7,17

8,16

10,07

10,80

12,13

15,83

 

 

 

 

 

 

370

 

1,98

2,88

3,94

4,77

5,35

6,60

7,34

8,35

10,33

11,08

12,45

16,24

 

 

 

 

 

 

380

 

2,03

2,95

4,04

4,89

5,48

6,76

7,51

8,54

10,59

11,36

12,75

16,65

 

 

 

 

 

 

390

 

2,08

3,02

4,14

4,93

5,61

6,92

7,68

8,73

10,85

11,64

13,07

17,06

 

 

 

 

 

 

400

 

2,13

3,09

4,24

5,01

5,74

7,08

7,85

8,92

11,11

11,92

13,37

17,47

 

 

 

 

 

 

410

 

2,18

3,16

4,34

5,13

5,87

7,24

8,02

9,11

11,37

12,20

13,69

17,88

 

 

 

 

 

 

420

 

 

 

4,44

5,25

6,00

7,40

8,19

9,30

11,63

12,48

13,99

18,29

 

 

 

 

 

 

430

 

 

 

4,54

5,37

6,17

7,56

8,36

9,49

11,89

12,76

14,31

18,70

 

 

 

 

 

 

440

 

 

 

4,65

5,49

6,30

7,72

8,53

9,68

12,15

13,04

14,61

19,11

 

 

 

 

 

 

450

 

 

 

 

5,61

6,43

7,88

8,70

9,87

12,41

13,32

14,93

19,52

24,52

 

 

 

 

 

460

 

 

 

 

5,73

6,56

8,04

8,87

10,06

12,67

13,60

15,23

19,92

25,04

30,91

 

 

 

 

470

 

 

 

 

5,85

6,69

8,25

9,04

10,25

12,93

13,88

15,55

20,33

25,56

31,55

 

 

 

 

480

 

 

 

 

5,97

6,82

8,41

9,21

10,44

13,19

14,16

15,85

20,74

26,08

32,19

 

 

 

 

490

 

 

 

 

6,09

6,95

8,57

9,38

10,63

13,45

14,44

16,17

21,15

26,60

32,83

 

 

 

 

500

 

 

 

 

6,21

7,08

8,73

9,55

10,82

13,71

14,72

16,47

21,56

27,12

33,47

38,17

41,73

 

 

510

 

 

 

 

 

7,21

8,89

9,79

11,01

13,97

15,00

16,79

21,97

27,64

34,11

38,91

42,53

 

 

520

 

 

 

 

 

7,34

9,05

9,97

11,20

14,23

15,28

17,09

22,68

28,16

34,75

39,63

43,33

 

 

530

 

 

 

 

 

 

9,21

10,13

11,39

14,49

15,56

17,41

22,79

28,68

35,39

40,37

44,13

 

 

540

 

 

 

 

 

 

9,37

10,31

11,58

14,75

15,84

17,71

23,20

29,20

36,03

41,09

44,93

 

 

550

 

 

 

 

 

 

9,53

10,47

11,89

15,01

16,12

18,03

23,61

29,72

36,67

41,83

45,73

 

 

560

 

 

 

 

 

 

 

10,65

12,08

15,27

16,40

18,33

24,02

30,24

37,31

42,55

46,53

 

 

570

 

 

 

 

 

 

 

10,81

12,27

15,53

16,68

18,65

24,43

30,76

37,95

43,29

47,33

 

 

580

 

 

 

 

 

 

 

10,99

12,46

15,79

17,31

18,95

24,84

31,28

38,59

44,01

48,13

 

 

590

 

 

 

 

 

 

 

11,15

12,65

16,11

17,59

19,35

25,25

31,80

39,23

44,75

48,93

 

 

600

 

 

 

 

 

 

 

11,33

12,84

16,37

17,87

19,65

25,75

32,40

39,87

45,47

49,73

64,40

86,62

610

 

 

 

 

 

 

 

 

13,03

16,63

18,15

19,97

26,16

32,92

40,61

46,21

50,53

65,44

88,01

620

 

 

 

 

 

 

 

 

13,22

16,89

18,43

20,27

26,57

33,44

41,25

46,93

51,33

66,48

89,40

630

 

 

 

 

 

 

 

 

13,41

17,15

18,71

20,59

26,98

33,96

41,89

47,67

52,13

67,52

90,79

640

 

 

 

 

 

 

 

 

13,60

17,41

18,99

20,89

27,39

34,48

42,53

48,39

52,93

68,56

92,18

650

 

 

 

 

 

 

 

 

13,79

17,67

19,27

21,21

27,80

35,00

43,17

49,13

53,73

69,60

93,57

660

 

 

 

 

 

 

 

 

 

17,93

19,55

21,51

28,21

35,52

43,81

49,85

54,53

70,64

94,96

670

 

 

 

 

 

 

 

 

 

18,19

19,83

21,83

28,62

36,04

44,45

50,59

55,33

71,68

96,35

680

 

 

 

 

 

 

 

 

 

18,45

20,11

22,13

29,03

36,56

45,09

51,31

56,13

72,71

97,74

690

 

 

 

 

 

 

 

 

 

18,71

20,39

22,45

29,44

37,08

45,73

52,05

56,93

73,76

99,13

700

 

 

 

 

 

 

 

 

 

18,97

20,67

22,75

29,85

37,60

46,37

52,77

57,73

74,80

100,52

710

 

 

 

 

 

 

 

 

 

 

 

 

30,26

38,12

47,01

53,51

58,53

75,84

101,91

720

 

 

 

 

 

 

 

 

 

 

 

 

30,67

38,64

47,65

54,23

59,33

76,88

103,30

730

 

 

 

 

 

 

 

 

 

 

 

 

31,08

39,16

48,29

54,97

60,13

77,92

104,69

740

 

 

 

 

 

 

 

 

 

 

 

 

31,49

39,68

48,93

55,69

60,93

78,96

106,08

750

 

 

 

 

 

 

 

 

 

 

 

 

31,90

40,20

49,57

56,43

61,73

80,00

107,47

Приложение 8 справочное. (Исключено, Изм. № 2).

 




ГОСТЫ, СТРОИТЕЛЬНЫЕ и ТЕХНИЧЕСКИЕ НОРМАТИВЫ.
Некоммерческая онлайн система, содержащая все Российские Госты, национальные Стандарты и нормативы.
В Системе содержится более 150000 файлов нормативно-технической документации, действующей на территории РФ.
Система предназначена для широкого круга инженерно-технических специалистов.

Рейтинг@Mail.ru Яндекс цитирования

Copyright © www.gostrf.com, 2008 - 2026