Крупнейшая бесплатная информационно-справочная система онлайн доступа к полному собранию технических нормативно-правовых актов РФ. Огромная база технических нормативов (более 150 тысяч документов) и полное собрание национальных стандартов, аутентичное официальной базе Госстандарта. GOSTRF.com - это более 1 Терабайта бесплатной технической информации для всех пользователей интернета. Все электронные копии представленных здесь документов могут распространяться без каких-либо ограничений. Поощряется распространение информации с этого сайта на любых других ресурсах. Каждый человек имеет право на неограниченный доступ к этим документам! Каждый человек имеет право на знание требований, изложенных в данных нормативно-правовых актах!

  


 

ГОСУДАРСТВЕННЫЙ СТАНДАРТ СОЮЗА ССР

ЭЛЕКТРООБОРУДОВАНИЕ
ВЗРЫВОЗАЩИЩЕННОЕ С ВИДОМ ВЗРЫВОЗАЩИТЫ
«ЗАПОЛНЕНИЕ ИЛИ ПРОДУВКА ОБОЛОЧКИ
ПОД ИЗБЫТОЧНЫМ ДАВЛЕНИЕМ»

ТЕХНИЧЕСКИЕ ТРЕБОВАНИЯ
И МЕТОДЫ ИСПЫТАНИЙ

ГОСТ 22782.4-78

(СТ СЭВ 3144-81)

ИЗДАТЕЛЬСТВО СТАНДАРТОВ

Москва

ГОСУДАРСТВЕННЫЙ СТАНДАРТ СОЮЗА ССР

ЭЛЕКТРООБОРУДОВАНИЕ
ВЗРЫВОЗАЩИЩЕННОЕ С ВИДОМ
ВЗРЫВОЗАЩИТЫ «ЗАПОЛНЕНИЕ ИЛИ
ПРОДУВКА ОБОЛОЧКИ ПОД ИЗБЫТОЧНЫМ ДАВЛЕНИЕМ»

Технические требования и методы испытаний

Explosionproof electrical apparatus.
Pressurized enclosure.

Technical requirements and methods of testing

ГОСТ

22782.4-78

(CT СЭВ 3144-81)

Дата введения 01.01.80

Настоящий стандарт распространяется на взрывозащищенное электрооборудование (электротехнические устройства), электрические средства автоматизации и связи (в дальнейшем - электрооборудование) группы II по ГОСТ 122020-76 с видом взрывозащиты «заполнение или продувка оболочки под избыточным давлением» и устанавливает технические требования и методы испытаний по обеспечению взрывозащиты электрооборудования.

Стандарт не распространяется на кабели и провода.

Настоящий стандарт полностью соответствует CT СЭВ 3144-81 и Публикации МЭК 79-2.

(Измененная редакция, Изм. № 1).

1. ТЕХНИЧЕСКИЕ ТРЕБОВАНИЯ

1.1. Токоведущие или находящиеся под напряжением части электрооборудования, в том числе электрооборудования общего назначения, встроенные в оболочку, заполненную или продуваемую под избыточным давлением, должны находиться в среде защитного газа*.

____________

* Определения терминов, применяемых в стандарте приведены в приложении 4.

Электрооборудование должно соответствовать требованиям настоящего стандарта и ГОСТ 22782.0-81.

(Измененная редакция, Изм. № 1).

1.2. Требования к оболочке и газопроводам

1.2.1. Оболочка, входящий и исходящий газопроводы, фундаментные ямы электрических машин и все другие каналы, по которым проходит защитный газ (в дальнейшем - газопроводы), должны изготовляться из материалов термически стойких и стойких к агрессивной окружающей среде.

1.2.2. Степень защиты оболочки и газопроводов должна быть не ниже IP40 по ГОСТ 14254-80.

При необходимости защиты оболочки и газопроводов от попадания влаги степень защиты должна выбираться по ГОСТ 14254-80 в зависимости от условий применения электрооборудования.

1.2.3. (Исключен, Изм. № 2).

1.2.4. Оболочка, газопроводы и их крепежные элементы должны быть механически прочными и способными без остаточной деформации выдерживать полуторакратное рабочее избыточное давление защитного газа, но не менее 200 Па. Необходимо предусмотреть предохранительные устройства, если возможно появление избыточного давления, вызывающего опасную деформацию оболочки и газопроводов.

(Измененная редакция, Изм. № 1).

1.2.5. Неподвижные и вращающиеся наружные части электрооборудования, которые могут подвергаться трению или соударяться при работе, должны быть изготовлены из материалов, образующих пару, не опасную в отношении воспламенения взрывоопасных смесей искрами трения и соударения.

Допускается для оболочек применять алюминий или его сплавы при условии, что наружные поверхности оболочки будут иметь защитные покрытия от фрикционного искрения согласно нормативно-технической документации на такие покрытия*.

__________

* В эксплуатационной документации должно быть указано требование к контролю сохранения защитных покрытий.

1.2.6. (Исключен, Изм. № 2).

1.2.7. Для смотровых окон следует применять термостойкое силикатное стекло или негорючую пластмассу, соответствующую требованиям ГОСТ 22782.0-81. При этом стекла смотровых окон должны выдерживать испытания по ГОСТ 22782.0-81.

(Измененная редакция, Изм. № 1).

1.2.8. Устройства на исходящих газопроводах, предназначенные для регулирования значения избыточного давления и количества защитного газа, должны находиться за пределами взрывоопасной зоны. Устройства должны фиксироваться в рабочем положении неразъемными соединениями с газопроводом после соответствующих регулировок и проверок значения избыточного давления.

Допускается устройства не фиксировать неразъемными соединениями, если будет обеспечен контроль их положения.

(Измененная редакция, Изм. № 2).

1.2.9. Все болты и гайки должны быть предохранены от самоотвинчивания. Крышки, люки и двери для обслуживания электрооборудования и газопроводов должны иметь запорные устройства или крепиться к оболочке болтами, при этом не менее двух болтов должны отвинчиваться только торцовым ключом.

Крышки, люки и двери могут не иметь запорных устройств или болтов с головками под торцовый ключ при наличии блокировки по п. 1.5.6 настоящего стандарта.

(Измененная редакция, Изм. № 1, 2).

1.2.10. Вводные устройства для кабелей и проводов должны обеспечивать подключение электрооборудования к электрическим цепям проводами в трубах и кабелями согласно нормативно-технической документации по монтажу электрооборудования во взрывоопасных зонах. Сальниковые уплотнения вводных устройств должны выполняться по ГОСТ 4860.1-83.

Допускается взамен нажимных гаек сальников применять нажимные фланцы с болтовым креплением и выполнять гнезда сальников в деталях вводного устройства разъемными.

1.2.11. Для оболочек, в которых имеются обмотка или другие горючие изоляционные части, должны быть предусмотрены меры по предотвращению выброса в окружающую среду возникшего пламени или образовавшихся раскаленных частиц вследствие избыточного давления защитного газа.

(Введен дополнительно, Изм. № 1).

1.3. Требования к защитному газу

1.3.1. В качестве защитного газа для заполнения или продувки оболочки под избыточным давлением должен применяться атмосферный воздух или азот. Защитный газ не должен содержать горючих газов, паров и пыли, а также агрессивных примесей, отрицательно влияющих на работоспособность электрооборудования.

Допустимая влажность и запыленность защитного газа инертной пылью, а также допустимое содержание агрессивных примесей должны указываться в стандартах или технических условиях на конкретное электрооборудование.

1.3.2. Запрещается применять атмосферный воздух из магистралей компрессоров общего назначения без предварительной очистки; воздух после очистки должен соответствовать требованиям нормативно-технической документации.

1.3.3. Избыточное давление защитного газа у стенок оболочки и газопроводов, находящихся в пределах взрывоопасной зоны, должно быть не менее 50 Па (см. приложение 3).

(Измененная редакция, Изм. № 1).

1.3.4. Расход защитного газа устанавливается стандартами или техническими условиями на конкретное электрооборудование, исходя из его конструктивных особенностей.

1.3.5. Защитный газ должен быть выброшен из оболочки, продуваемой под избыточным давлением, за пределы взрывоопасной зоны. Допускается производить выбрасывание защитного газа во взрывоопасную зону при предпусковой продувке оболочки, заполняемой защитным газом под избыточным давлением. Допускается также выбрасывание защитного газа во взрывоопасную зону в случаях:

если появление во взрывоопасной зоне горючих газов, паров или пыли возможно только при аварии технологического оборудования и если в оболочке электрооборудование в нормальном режиме работы не имеет искрящих или нагретых частей, опасных в отношении воспламенения взрывоопасной смеси;

если вылет искр или раскаленных частиц предотвращен с помощью специального устройства и если предотвращается возможность быстрого подсоса наружной среды в оболочку из-за нагрева помещенного в нее электрооборудования.

Прошедший через оболочку воздух допускается смешивать с входящим в эту оболочку атмосферным воздухом для его подогрева при выполнении следующих условий:

использованный воздух должен соответствовать требованиям п. 1.3.1;

устройства для подачи использованного воздуха в подающий воздухопровод должны иметь блокировки, позволяющие включать эти устройства только после предпусковой продувки оболочки и включения электрооборудования в электрическую цепь.

(Измененная редакция, Изм. № 1, 2).

1.4. Требованиям к устройствам подачи защитного газа

1.4.1. Устройства подачи защитного газа должны обеспечивать:

необходимые значения избыточного давления и расхода защитного газа в оболочке и газопроводах для обеспечения взрывозащиты и охлаждения электрооборудования;

предпусковую продувку оболочки и всех газопроводов;

компенсацию утечек защитного газа через неплотности оболочки и газопроводов при нормальной работе электрооборудования.

1.4.2. Устройства подачи атмосферного воздуха, имеющие зоны с разрежением (например, вентиляторы), должны устанавливаться за пределами взрывоопасной зоны и, при необходимости, должны иметь защиту от атмосферных воздействий, воздухоочистители и воздухоподогреватели.

Баллоны со сжатым воздухом или азотом допускается устанавливать в пределах взрывоопасной зоны.

1.4.3. Каждое устройство подачи защитного газа должно рассчитываться для обеспечения взрывозащиты и охлаждения одного электротехнического устройства.

Допускается иметь одно устройство подачи защитного газа для нескольких электротехнических устройств при соблюдении следующих условий:

подключение оболочек к общему распределительному газопровода должно быть параллельным;

выбрасывание защитного газа за пределы взрывоопасной зоны должно быть индивидуальным из каждой оболочки, продуваемой под избыточным давлением;

при периодическом включении, отключении и разборке оболочек отдельных электротехнических устройств давление и расход защитного газа в оболочках работающего электрооборудования должны соответствовать настоящему стандарту и технической документации на это электрооборудование;

на ответвлениях от общего газопровода должны быть предусмотрены устройства, позволяющие полностью перекрывать ответвления; эти устройства допускается устанавливать в пределах взрывоопасной зоны.

1.5. Требования к устройствам контроля и блокировок

1.5.1. Электрооборудование должно иметь следующие блокировки:

а) допускающую включать электрооборудование в электрическую цепь только по истечении времени предпусковой продувки оболочки и газопроводов защитным газом в количестве, достаточном для удаления из них первоначальной среды, но не менее пятикратного объема оболочки и всех газопроводов;

б) включающую сигнал или отключающую электрооборудование от всех электрических цепей при падении избыточного давления ниже допустимого значения.

Допускается не проводить повторную предпусковую продувку, если оболочка и все газопроводы непрерывно находились под избыточным давлением защитного газа.

1.5.2. Электрооборудование должно иметь приборы автоматического или визуального контроля минимально допустимого значения избыточного давления защитного газа в оболочке и газопроводах независимо от места подключения приборов контроля.

1.5.3. При прекращении подачи защитного газа время срабатывания приборов блокировки должно быть таким, чтобы подача сигнала или отключение электрооборудования от электрической цепи происходили раньше, чем значение избыточного давления в оболочке снизится до 25 Па.

1.5.4. Аппараты управления клапаном предпусковой продувки должны включать электрооборудование в электрическую цепь только после того, как предпусковая продувка закончена, клапан закрылся и избыточное давление у внутренних стенок оболочки, а также в газопроводах, находящихся в пределах взрывоопасной зоны, достигло значений не менее 50 Па.

1.5.3, 1.5.4. (Измененная редакция, Изм. № 1).

1.5.5. Аппараты и приборы контроля, защиты, управления и блокировок, устанавливаемые внутри оболочки и газопроводов и включаемые в электрическую цепь, когда в оболочке и газопроводах может иметь место взрывоопасная смесь (например, в период их предпусковой продувки), а также аппараты и приборы, устанавливаемые во взрывоопасной зоне, должны иметь взрывозащиту, соответствующую классам взрывоопасных установок, категории и группе взрывоопасных смесей.

1.5.6. Крышки, люки и двери для обслуживания электрооборудования и газопроводов должны иметь блокировку, не допускающую их открытие, если электрооборудование не отключено от электрической цепи, и не допускающую его включение при открытых крышках, люках и дверях.

По согласованию с испытательной организацией допускается выполнять крышки, люки и двери без блокировок при условии, что на них будет рельефная предупредительная надпись: «Открывать, отключив электрические цепи!».

Допускается для крышек и люков оболочек, заполненных или продуваемых под избыточным давлением воздухом, не предусматривать блокировки и предупредительные надписи, когда их необходимо открывать для производства работ без отключения электрооборудования от электрической цепи, например для замены диаграмм в приборах.

При этом при открытой крышке или открытом люке давление внутри оболочки в зоне открытия должно быть не ниже 50 Па, должны выполняться требования п. 1.3.4 настоящего стандарта, а эксплуатационные документы должны содержать мероприятия по обеспечению безопасности производства работ без отключения электрооборудования от электрической цепи.

(Измененная редакция, Изм. № 1).

1.5.7. Средства измерений с нормированными метрологическими характеристиками системы контроля должны монтироваться способом, обеспечивающим возможность их своевременной поверки по ГОСТ 8.002-86.

1.6. Дополнительные требования к различным видам электрооборудования

1.6.1. Электрические машины, у которых могут протекать подшипниковые токи, должны быть выполнены таким образом, чтобы исключалась возможность искрений, вызываемых этими токами. Например, у электрических машин с изолированными выносными подшипниками должны быть предусмотрены изоляционные материалы в местах, где вращающиеся части ротора могут соприкасаться с неподвижными заземленными частями статора электрической машины.

1.6.2. В электрических машинах, не имеющих вводных устройств, ввод проводов в трубах и кабелей должен производиться через фундаментные ямы и каналы, находящиеся под избыточным давлением защитного газа не менее 50 Па. Места ввода проводов в трубах и кабелей в фундаментную яму и каналы должны быть уплотнены и исключать утечку защитного газа.

(Измененная редакция, Изм. № 1).

1.6.3. Для оболочек электрических машин, имеющих более трех крышек, допускается не предусматривать на каждой крышке табличку с предупредительной надписью по п. 1.5.6 настоящего стандарта, если на видном месте оболочки установлена табличка с предупредительной надписью, общей для всех крышек, например «Перед открытием любой крышки отключить электрическую цепь».

1.6.4. Электрооборудование, содержащее внутри оболочки элементы, нагревающиеся до температуры, превышающей предельную температуру, должно иметь:

резервный источник защитного газа, включающийся автоматически при снижении избыточного давления ниже допустимого значения;

блокировку, препятствующую открытию крышек, люков и дверей и отключению источника защитного газа, если элементы не охладились до предельной температуры.

Если резервным источником защитного газа является устройство с электроприводом, то оно должно питаться от обособленного источника электроэнергии.

По согласованию с испытательной организацией допускается выполнять крышки, люки и двери без блокировок при условии, что на них будет предупредительная надпись, например «Открывать крышку (люк, дверь) и отключать источник подачи защитного газа через час после отключения электрооборудования от электрической цепи».

1.6.5. Электрооборудование, к которому подводятся горючие газы и жидкости, может встраиваться в оболочку, продуваемую под избыточным давлением азотом.

Допускается продувать оболочку атмосферным воздухом при условии, что исключается образование в оболочке взрывоопасных смесей с концентрацией горючих газов и паров выше 25 % их нижнего предела взрываемости.

1.7. Дополнительные требования к электрооборудованию с различным уровнем взрывозащиты

1.7.1. Для электрооборудования повышенной надежности против взрыва блокировка по п. 1.5.1б настоящего стандарта должна обеспечивать включение сигнала.

1.7.2. Для взрывобезопасного электрооборудования блокировка по п. 1.5.1б настоящего стандарта должна обеспечивать его отключение от всех электрических цепей.

1.8. Требования безопасности

1.8.1, 1.8.2. (Исключены, Изм. № 2).

1.8.3. При использовании азота в качестве защитного газа, он не должен попадать в атмосферу, где может находиться обслуживающий персонал, а помещения, в которых установлено электрооборудование, должны быть оборудованы аварийной вентиляцией, рассчитанной на аварийное поступление азота в помещения.

На видном месте оболочки электрооборудования должна быть табличка с предупредительной надписью: «Осторожно, в оболочке азот!».

1.9. Требования к маркировке

1.9.1. Маркировка по взрывозащите электрооборудования должна соответствовать ГОСТ 12.2.020-76 и настоящему стандарту.

1.9.2. На паспортных или дополнительных табличках электрооборудования должны быть оказаны:

минимально допустимые значения расхода и избыточного давления защитного газа на входе в оболочку без учета потерь расхода и давления защитного газа в газопроводах и дифференциала прибора контроля избыточного давления;

минимально допустимые значения избыточного давления, при которых должны срабатывать датчики их контроля;

минимальное значение количества защитного газа или минимальное время, необходимые для предпусковой продувки оболочки электрооборудования;

объем оболочки электрооборудования;

максимальное и минимальное значения температуры защитного газа, устанавливаемые стандартами или техническими условиями на конкретное электрооборудование.

(Измененная редакция, Изм. № 1).

2. МЕТОДЫ ИСПЫТАНИЙ

2.1. Электрооборудование должно подвергаться испытаниям на взрывозащищенность согласно ГОСТ 12.2.021-76 испытательной организацией и предприятиями-разработчиками электрооборудования, устройств подачи защитного газа, контроля и блокировок. При испытаниях электрооборудования на месте его установки в испытаниях должно принимать участие предприятие - потребитель электрооборудования. По согласованию с предприятиями - разработчиками электрооборудования и устройств подачи защитного газа, контроля и блокировок испытательная организация может не участвовать в проведении испытаний.

2.2. Электрооборудование в комплекте с устройствами подачи защитного газа, контроля и блокировок должно подвергаться испытаниям по п. 2.1 по программе, указанной в табл. 1, на месте его установки.

Если в комплект электрооборудования не входят устройства подачи защитного газа, контроля и блокировок, то испытания по п. 2.1 проводятся по пп. 1-7 табл. 1 на соответствие параметрам взрывозащиты, указываемым в паспортной табличке по п. 1.9.2 настоящего стандарта, на предприятии - изготовителе электрооборудования и по табл. 2 на месте его остановки.

Допускаются на основании результатов испытаний по пп. 1-7 табл. 1 выдача заключения и оформление свидетельства о взрывозащищенности электрооборудования по ГОСТ 12.2.021-76.

2.3. Каждый образец электрооборудования перед вводом в эксплуатацию должен подвергаться испытаниям на взрывозащищенность предприятиями, осуществляющими монтаж и наладку электрооборудования совместно с предприятием-потребителем в объеме, оказанном в табл. 2.

Таблица 1

Виды испытаний и проверок

Пункты

технических требований

методов испытания*

1. Осмотр

1.2.1, 1.2.5-1.2.11, 1.3.1, 1.3.2, 1.3.5, 1.4.1-1.4.3, 1.5.2, 1.5.5-1.5.7, 1.6.1-1.6.5, 1.7.1, 1.7.2, 1.8, 1.9

2.4

1. Проверка степени защиты оболочки и газопроводов

1.2.2

по ГОСТ 14254-80

3. Определение параметров защитного газа, обеспечивающих взрывозащиту электрооборудования

1.3.3, 1.5.2, 1.9

2.5

4. Определение минимального количества защитного газа или минимального времени для предпусковой продувки оболочки и газопроводов

1.5.1, 1.9

2.6

5. Проверка механической прочности оболочки и газопроводов

1.2.4

2.7

6. Определение максимальной температуры оболочки и частей электрооборудования

1.2.3, 1.8

2.8

7. Определение времени, по истечении которого после отключения электрооборудования от электрических цепей его части охлаждаются до предельной температуры

1.6.4

2.9

8. Испытания электрооборудования, к которому подводятся горючие газы или жидкости

1.6.5

2.10

9. Проверка работы блокировок

1.5.1, 1.5.4, 1.6.4, 1.7.1, 1.7.2

2.11

10. Определение времени срабатывания блокировок

1.5.3

2.12

11. Проверка чистоты защитного газа

1.3.1

2.13

12. Испытания электрооборудования, подключенного к общему устройству подачи защитного газа

(Измененная редакция, Изм. № 1).

1.4.3

2.14

Таблица 2

Виды испытаний и проверок

Пункты

технических требований

методов испытаний

1. Осмотр

1.2.1, 1.2.5-1.2.9, 1.3.1, 1.3.2, 1.3.5, 1.4.1-1.4.3, 1.5.2, 1.5.5-1.5.7, 1.6.2, 1.6.4, 1.6.5, 1.7.1, 1.7.2, 1.8, 1.9

2.4

2. Проверка степени защиты газопроводов

1.2.2

по ГОСТ 14254-80

3. Проверка расхода защитного газа на входе в оболочку

1.3.4, 1.9

по ГОСТ 12259-75

4. Проверка избыточного давления защитного газа в газопроводах, на входе в оболочку и в точке подключения прибора контроля

1.3.3, 1.9

2.5

5. Проверка механической прочности газопроводов

1.2.4

2.7

6. Проверка работы блокировок

1.5.1, 1.5.4, 1.6.4, 1.7.1, 1.7.2

2.11

7. Определение времени срабатывания блокировок

1.5.3

2.12

8. Проверка чистоты защитного газа

1.3.1

2.13

9. Испытания электрооборудования, подключенного к общему устройству подачи защитного газа

1.4.3

2.14

Если устройства подачи защитного газа, контроля и блокировок ранее не испытывались с установленным типом электрооборудования, то в испытаниях должны участвовать и предприятия-разработчики этих устройств.

2.4. Соответствие электрооборудования требованиям пп. 1.2.1, 1.2.5-1.2.11, 1.3.1, 1.3.2, 1.3.5, 1.4.1-1.4.3, 1.5.2, 1.5.5-1.5.7, 1.6.1-1.6.5, 1.7.1, 1.7.2, 1.8, 1.9 настоящего стандарта проверяют осмотром и проверкой на соответствие чертежам и эксплуатационной документации*.

(Измененная редакция, Изм. № 1).

____________

* Требования к схемам и примеры их выполнения приведены в приложении 1, требования к оформлению протоколов испытаний приведены в приложении 2, требования к чертежам и эксплуатационной документации приведены в приложении 5.

2.5. Определение параметров защитного газа, обеспечивающих взрывозащиту электрооборудования

2.5.1. Для проведения испытаний на оболочке и газопроводах заподлицо с внутренними стенками должны быть установлены штуцера для подключения приборов, измеряющих статическое избыточное давление защитного газа, кроме того, должны быть установлены устройства для измерения расхода защитного газа на входе в оболочку.

Измерения давления должны производиться в зонах, в которых ожидается минимальное и максимальное избыточное давление и возможен подсос окружающей среды в оболочку и газопроводы. Точки измерения выбираются исходя из конструктивных особенностей оболочки и газопроводов и схемы движения защитного газа в оболочке и газопроводах.

Избыточное давление в общем случае измеряют:

в зонах уплотнения вала при выходе его из оболочки не менее чем в двух точках с каждой стороны (для вращающихся электрических машин);

в местах предполагаемого подключения приборов контроля избыточного давления;

в каждой зоне, ограниченной резкими изменениями сечений для прохода защитного газа или поворотами не менее чем в одной точке на 5 гидравлических диаметров потока в пределах зоны;

в зонах вращающихся частей возможно ближе к центру вращения и к наружному диаметру (для вращающихся электрических машин);

в подводящем газопроводе у входа защитного газа в газопровод и в непосредственной близости входа защитного газа в оболочку;

в исходящем газопроводе у входа защитного газа в газопровод и в месте выхода газопровода за пределы взрывоопасной зоны.

2.5.2. На входе в оболочку электрооборудования устанавливается расход защитного газа в соответствии с требованиями стандарта или технических условий на испытуемое электрооборудование и в выбранных точках измеряется статическое избыточное давление.

При испытании вращающихся электрических машин измерения должны производиться как при вращении машины, так и при неподвижной машине.

Расход защитного газа определяется одним из методов по ГОСТ 12259-75. Статическое избыточное давление измеряется трубкой Пито-Прандтля, микроманометром ММН или другими приборами, предназначенными для этой цели.

При наличии точек с избыточным давлением менее 50 Па увеличением расхода и давления защитного газа на входе в оболочку или только увеличением давления защитного газа для оболочек, заполненных под избыточным давлением, необходимо установить избыточное давление во всех измеряемых точках не менее 50 Па.

Результаты измерений вносят в табл. 3.

Таблица 3

Расход защитного газа на входе в оболочку, м2

Избыточное давление защитного газа на входе в оболочку, Па

Избыточное давление защитного газа в измеряемых точках, Па

номера точек

1

2

3

4

 

 

 

 

 

 

 

По результатам измерений в эксплуатационную документацию вносят следующие параметры:

минимально допустимые расход и избыточное давление защитного газа на входе в оболочку электрооборудования;

зоны с минимальным и максимальным избыточным давлением у стенок оболочки и газопроводов;

точки подключения приборов контроля избыточного давления и минимально допустимые значения давления в этих точках, при которых приборы должны подавать сигнал или отключать электрооборудование от электрических цепей.

(Измененная редакция, Изм. № 1).

2.5.3. Значение избыточного давления защитного газа в зонах с минимальным и максимальным давлением, в точках подключения приборов контроля избыточного давления и на выходе защитного газа из оболочки измеряют не менее чем при четырех значениях расхода и давления защитного газа на входе в оболочку. Результаты измерений вносят в табл. 3.

По результатам измерений строят графики зависимости избыточного давления в указанных точках и зонах от избыточного давления или расхода защитного газа на входе в оболочку.

По графикам проверяют выполнение требований п. 1.9.2 настоящего стандарта. Графики вносят в эксплуатационную документацию. Примеры построения графиков приведены в приложении 1 к настоящему стандарту.

2.5.4. Требуемое давление защитного газа в точках подключения приборов контроля избыточного давления Р„ определяется после выбора этих приборов по следующей формуле:

Рк = Рк минDРп,                                                                    (2)*

__________

* Формула (1). (Исключена, Изм. № 1).

где Рк мин - минимально допустимое избыточное давление в точках подключения приборов контроля, при котором приборы должны подавать сигнал или отключать электрооборудование от электрических цепей (определенное по п. 2.5.2 настоящего стандарта), Па;

DРп - дифференциал выбранного прибора контроля избыточного давления, Па.

Одновременно по графикам, построенным по п. 2.5.3 настоящего стандарта, определяют минимальное избыточное давление на входе в оболочку, при котором обеспечивается требуемое давление защитного газа Рк в точках подключения приборов контроля.

2.6. Определение минимального количества защитного газа или минимального времени для предпусковой продувки оболочки и газопроводов

(Измененная редакция, Изм. № 1).

2.6.1а. Минимальное количество защитного газа или минимальное время для предпусковой продувки оболочки электрооборудования и газопроводов принимается по п. 1.5.1а.

Если конструктивные особенности оболочки электрооборудования и газопроводов таковы, что при движении по ним защитного газа во время предпусковой продувки могут образовываться застойные зоны, тогда минимальное количество защитного газа или минимальное время для предпусковой продувки оболочки электрооборудования и газопроводов должны определяться по пп. 2.6.1-2.6.4.

(Введен дополнительно, Изм. № 1).

2.6.1. Для определения минимального количества защитного газа предварительно необходимо выполнить следующие операции и измерения:

отключить электрооборудование от электрической цепи;

уплотнить щели в оболочке и заглушить установленные по п. 2.5.1 настоящего стандарта штуцера, через которые могут иметь место утечки защитного газа, закрыть в оболочке входное и выходное отверстия для защитного газа;

создать в оболочке смесь углекислого газа с воздухом концентрацией (6 ± 0,5) % объемных, приняв меры для перемешивания при запуске в оболочку углекислого газа;

измерить концентрацию углекислого газа у стенок оболочки в двух-трех местах, в которых скорость движения защитного газа ожидается минимальной;

открыть в оболочке входное и выходное отверстия для защитного газа и клапан предпусковой продувки, если он имеется;

подать в оболочку защитный газ при минимально допустимых значениях расхода и избыточного давления на входе в оболочку, при которых обеспечивается взрывозащита и охлаждение электрооборудования;

измерить время tп с точностью до 10 с, в течение которого концентрация углекислого газа в ранее измерявшихся точках станет равной (0,6 ± 0,3) % объемных;

закрыть клапан предпусковой продувки (при его наличии);

измерить избыточное давление в зонах с минимальным давлением; оно должно соответствовать значениям, указанным в табл. 3 по п. 2.5.2 настоящего стандарта.

Для измерения концентрации углекислого газа должны применяться приборы, обеспечивающие необходимую точность измерения, например приборы типов ШИ-3, ШИ-5, ШИ-10, ГХ-5.

2.6.2. Расчетное время tр в с, в течение которого концентрация углекислого газа должна уменьшаться с 6 до 0,6 % объемных, определяется по формуле

,                                                              (3)

где Vo - свободный объем оболочки, м3;

Qмин - минимально допустимый расход защитного газа, м3/с.

После этого определяется время предпусковой продувки оболочки, исходя из условия, что оболочка на 100 % заполнена углекислым газом, концентрацию которого в воздухе необходимо снизить до 0,6 % объемных. Время предпусковой продувки tп в с определяется по формуле

,                                                                 (4)

где Q - расход защитного газа, м3/с.

Расход защитного газа Q принимается равным минимально допустимому расходу Qмин, если время tп, измеренное по п. 2.6.1 настоящего стандарта, меньше или равно расчетному времени tр, рассчитанному по формуле 3, а если время tп больше расчетного времени tр, то расход защитного газа Q в м3/с рассчитывается по формуле

.                                                             (5)

2.6.3. Минимальное количество защитного газа Мо в м3 для предпусковой продувки оболочки рассчитывается по формуле

Мо = Qмин tп                                                            (6)

и проверяется по формуле

Мо ³ 5Vо.                                                              (7)

Из формул 6 и 7 принимается большее значение минимального количества защитного газа Мо, которое заносится в эксплуатационную документацию и на табличку электрооборудования по п. 1.9.2 настоящего стандарта.

2.6.4. Минимальное количество защитного газа для предпусковой продувки оболочки и газопроводов М в м3 определяется по формуле

М = Мо + VГ,                                                               (8)

где VГ - свободный объем газопроводов по п. 1.2.1 настоящего стандарта, м3.

Если газопроводы имеют каналы и емкости, например фундаментные ямы, в которых могут иметь место плохо вентилируемые зоны, то необходимо определить минимальное количество защитного газа для предпусковой продувки газопроводов совместно с оболочкой электрооборудования по методике, изложенной в п. 2.6 настоящего стандарта. При этом в формулы 3, 4 и 5 вместо свободного объема оболочки Vo необходимо подставить суммарный объем оболочки и газопроводов в м3

V = Vо - VГ.                                                                (9)

Найденное минимальное количество защитного газа для предварительной продувки оболочки и газопроводов необходимо проверить по формуле

М ³ 5V.                                                                   (10)

Принимается большее значение минимального количества защитного газа.

Если блокировки по п. 1.5.1а настоящего стандарта осуществляются с помощью реле времени, то минимальное время предпусковой продувки tp в с определяется по формуле

.                                                              (11)

2.7. Проверка механической прочности оболочки и газопроводов

2.7.1. Электрооборудование должно быть отключено от электрической цепи. Щели должны быть уплотнены, а отверстия закрыты.

Оболочка и газопроводы заполняются сжатым воздухом давлением, превышающим в 1,5 раза максимальные давления в оболочке и газопроводах, измеренные по п. 2.5 настоящего стандарта, но не менее 200 Па. Давление воздуха поддерживается в течение не менее 5 мин.

Оболочка и газопроводы считаются выдержавшими испытания, если в результате их осмотра не обнаружены разрывы, трещины, остаточная деформация, смещение или выход из щелей уплотнительных элементов, предусмотренных конструкцией оболочки и газопроводов.

(Измененная редакция, Изм. № 1).

2.7.2. Оболочку и газопроводы допускается испытывать раздельно. Испытания оболочки и (или) газопроводов допускается не проводить, если их прочность подтверждена расчетами.

2.8. Определение максимальной температуры оболочки и частей электрооборудования

2.8.1. Определение максимальной температуры оболочки и частей электрооборудования производится при номинальной нагрузке электрооборудования и минимально допустимых расходе и давлении защитного газа по методам, приведенным в стандартах или технических условиях на конкретные типы или виды электрооборудования.

Допускается проводить испытания при меньшей нагрузке электрооборудования, но измеренное значение максимальной температуры должно быть пересчитано на условия номинальной нагрузки.

Определение максимальной температуры оболочки электрических машин рекомендуется проводить без избыточного давления защитного газа.

2.8.2. Определение максимальной температуры нагрева оболочки и внутренних частей электрооборудования допускается не проводить при наличии теплового расчета или результатов тепловых испытаний встраиваемого в оболочку электрооборудования.

2.9. Определение времени, по истечении которого после отключения электрооборудования от электрической цепи его части внутри оболочки охлаждаются до предельной температуры, производится хронометром, например секундомером с точностью до 1 мин.

2.10. Испытания электрооборудования, к которому подводятся горючие газы или жидкости, проводятся по методике испытательной организации.

2.11. Проверка работы блокировок производится искусственным созданием условий или действиями, при которых они должны срабатывать. Срабатывание всех блокировок проверяется не менее трех раз подряд.

2.12. Для определения времени срабатывания блокировок прекращается подача защитного газа в оболочку и одновременно измеряется время, в течение которого электрооборудование отключается от электрической цепи или включается сигнал и снижается избыточное давление в точках с наименьшим давлением до 25 Па.

(Измененная редакция, Изм. № 1).

2.13. Проверка отсутствия горючих газов и паров в защитном газе должна производиться газоанализаторами или хроматографами в соответствии с эксплуатационной документацией на применяемые приборы.

2.14. При применении одного устройства подачи защитного газа для нескольких электротехнических устройств каждое электротехническое устройство должно подвергаться испытаниям на соответствие п. 1.4.3 настоящего стандарта, а также испытаниям по пп. 3 и 4 табл. 2 и пп. 2.8, 2.12 и 2.13 настоящего стандарта при всех возможных вариантах последовательности их включения в работу и остановках.

ПРИЛОЖЕНИЕ 1
Обязательное

ОФОРМЛЕНИЕ ПРИНЦИПИАЛЬНОЙ СХЕМЫ ОБЕСПЕЧЕНИЯ ЭЛЕКТРООБОРУДОВАНИЯ ЗАЩИТНЫМ ГАЗОМ, СХЕМЫ ВЕНТИЛЯЦИИ ЭЛЕКТРООБОРУДОВАНИЯ И ГРАФИКА ЗАВИСИМОСТИ ИЗБЫТОЧНОГО ДАВЛЕНИЯ В ОБОЛОЧКЕ ЭЛЕКТРООБОРУДОВАНИЯ ОТ РАСХОДА ЗАЩИТНОГО ГАЗА НА ВХОДЕ В ОБОЛОЧКУ

Принципиальную схему обеспечения электрооборудования защитным газом со схемой вентиляции электрооборудования и график зависимости избыточного давления в оболочке электрооборудования от расхода защитного газа на входе в оболочку рекомендуется помещать на одном чертеже, который должен представляться в испытательную организацию с документами по ГОСТ 122021-76. Результаты расчета схемы вентиляции представляются по требованию испытательной организации.

На чертеже помещаются данные по п. 1.9 настоящего стандарта, а также указываются технические данные клапана предпусковой продувки.

Примеры оформления схем и графиков показаны на черт. 1-5 настоящего приложения.

Допускается указанные схемы и график помещать на отдельных чертежах, как показано на черт. 1-3 настоящего приложения.

График зависимости избыточного давления в оболочке электрооборудования от расхода защитного газа на входе в оболочку допускается заменять графиком зависимости давления в оболочке электрооборудования от избыточного давления на входе в оболочку.

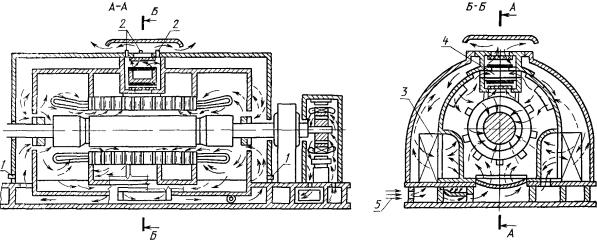
Принципиальная схема обеспечения электродвигателя защитным газом

I - пространство в невзрывоопасной зоне из которого забирается атмосферный воздух для применения в качестве защитного газа; II - невзрывоопасная зона; III - взрывоопасная зона

1 - фильтр; 2 - нагреватель; 3 - вентилятор подачи защитного газа; 4 - заслонка для регулирования количества защитного газа; 5 - входящий газопровод; 6 - электродвигатель

Черт. 1

Схема вентиляции электродвигателя в оболочке, заполненной под избыточным давлением, с механическим клапаном для предпусковой продувки

 - движение защитного газа в оболочке электродвигателя в период предпусковой продувки;

 - движение защитного газа в оболочке электродвигателя в период нормальной работы;

 - положение заслонки продувочного клапана в период предпусковой продувки оболочки электродвигателя;

 - положение заслонки продувочного клапана в период запуска и нормальной работы электродвигателя

1 - штуцера для подключения приборов, контролирующих избыточное давление в оболочке электродвигателя; 2 - штуцера для подключения приборов контролирующих работу продувочного клапана; 3 - охладитель защитного газа; 4 - продувочный клапан; 5 - подача защитного газа из входящего газопровода

Черт. 2

График зависимости избыточного давления в оболочке электродвигателя от расхода защитного газа на входе в оболочку

За нулевое значение графика принимается атмосферное давление окружающей среды

1 - в точке с наименьшим избыточным давлением; 2 - в точке контроля избыточного давления; 3 - на входе в оболочку электродвигателя; 4 - в точке контроля положения механического клапана предпусковой продувки

А - минимально допустимые значения избыточного давления и расхода защитного газа при которых должны срабатывать блокировки; В - минимальные значения избыточного давления и расхода защитного газа при нормальной работе электродвигателя с учетом значения дифференциала прибора контроля избыточного давления

Черт. 3

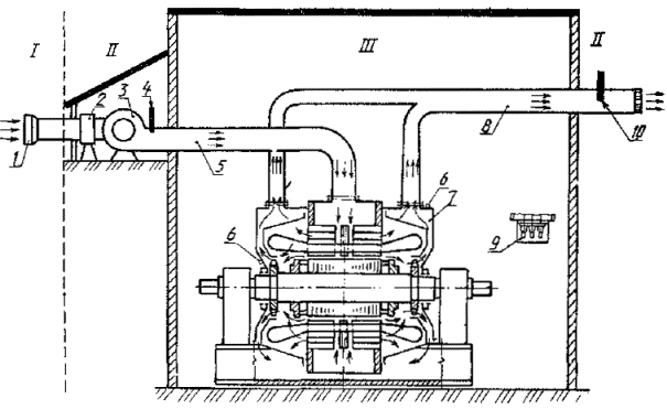
Принципиальная схема обеспечения защитным газом электродвигателя в оболочке, продуваемой лед избыточным давлением, совмещенная со схемой вентиляции электродвигателя

I - пространство в невзрывоопасной зоне, из которого забирается атмосферный воздух для применения в качестве защитного газа; II - невзрывоопасная зона; III - взрывоопасная зона

1 - фильтр; 2 - нагреватель; 3 - вентилятор подачи защитного газа; 4 - заслонка для регулирования количества защитного газа; 5 - входящий газопровод; 6 - штуцера для подключения приборов контроля избыточного давления в оболочке электродвигателя; 7 - электродвигатель; 8 - исходящий газопровод; 9 - вводное устройство электродвигателя; 10 - заслонка для регулирования значения избыточного давления

Черт. 4

График зависимости статического давления в оболочке электродвигателя от расхода защитного газа на входе в оболочку, продуваемую под избыточным давлением

За нулевое значение графика принимается атмосферное давление окружающей среды

1 - в точке с наименьшим избыточным давлением; 2 - на входе в оболочку электродвигателя; 3 и 4 - в точках контроля избыточного давления

А - минимально допустимые значения избыточного давления и расхода защитного газа, при которых должны срабатывать блокировки; В - минимальные значения избыточного давления и расхода защитного газа при нормальной работе электродвигателя с учетом значения дифференциала прибора контроля избыточного давления

Черт. 5

ПРИЛОЖЕНИЕ 2
Обязательное

ТРЕБОВАНИЯ ПО ОФОРМЛЕНИЮ ПРОТОКОЛОВ ИСПЫТАНИЙ ЭЛЕКТРООБОРУДОВАНИЯ НА ВЗРЫВОЗАЩИЩЕННОСТЬ

1. Протокол должен содержать введение, результаты испытаний и заключение.

Если испытания проводились по методикам, не указанным в стандартах, то приводятся и эти методики.

2. Во введении указываются наименование и типы испытанного электрооборудования, вид его взрывозащиты, маркировка по взрывозащите, порядковый номер изготовления, номера технических условий и сборочного чертежа, наименование предприятия-изготовителя, его адрес, место испытаний и дата.

Если испытания проводились на месте установки, то указываются также наименование этого предприятия, место установки электрооборудования, условия его эксплуатации (класс взрывоопасной зоны и категория и группа взрывоопасной смеси), а для электродвигателей - механизм, для которого он служит приводом.

3. В протоколе должны быть приведены схема движения (вентиляции) защитного газа по газопроводам и в оболочке электрооборудования (черт. 1, 2, 4 приложения 1 настоящего стандарта) и схема контроля и блокировок.

На схемах указываются:

все точки замера расхода и избыточного давления защитного газа и температуры;

технические данные источника питания защитным газом;

длина, сечение и точная конфигурация газопроводов;

заслонки по регулированию расхода и избыточного давления защитного газа и другие особенности схемы обеспечения защитным газом оболочки электрооборудования;

типы приборов для замера значений расхода и статического давления защитного газа и приборов пневматической и электрической схем контроля и блокировок, места их установок и маркировка по взрывозащите.

4. Если испытания проводились на предприятии-изготовителе электрооборудования по пп. 1-7 табл. 1 настоящего стандарта, то в протоколе испытаний данные по устройствам подачи защитного газа, контроля и блокировкам и их приборам не приводятся.

5. Если проверка оболочки, газопроводов и крепежных элементов по п. 2.7 настоящего стандарта не проводилась, то к отчету об испытаниях прилагается справка, подтверждающая, что оболочка, газопроводы и их крепежные элементы проверены расчетом и соответствуют требованиям настоящего стандарта.

6. В заключении приводятся выводы по результатам каждого вида проверок взрывозащиты электрооборудования, параметры для данных маркировки и паспортной таблички (п. 1.9 настоящего стандарта) и приводятся графики (черт. 3 и 5 приложения 1 настоящего стандарта).

7. Протокол подписывается лицами, проводившими испытания, и утверждается руководителями предприятий, которые проводили испытания. Подпись руководителя должна быть заверена печатью.

8. При проведении испытаний по п. 2.3 настоящего стандарта протокол подписывается лицами, проводившими испытания, и утверждается руководителем предприятия, которое будет эксплуатировать электрооборудование.

9. Оформленные и утвержденные в установленном порядке протоколы испытаний по п. 2.3 настоящего стандарта должны храниться у потребителя электрооборудования в течение всего срока его службы.

Один экземпляр протокола должен направляться в местные органы Государственного надзора за безопасным ведением работ, например в органы Госгортехнадзора.

10. Протокол с результатами испытаний по п. 2.3 настоящего стандарта является неотъемлемой частью эксплуатационной документации испытанного изделия. При этом в заключении по этим испытаниям должны быть приведены следующие данные, при которых будет эксплуатироваться электрооборудование:

значения расхода и избыточного давления защитного газа на входе в оболочку;

значения избыточного давления защитного газа в местах контроля при нормальной работе электрооборудования и при срабатывании блокировок;

значения количества защитного газа или время, необходимое для предпусковой продувки оболочки электрооборудования и газопроводов.

ПРИЛОЖЕНИЕ 3
Справочное

ПРИМЕРЫ ГРАФИКОВ РАСПРЕДЕЛЕНИЯ ИЗБЫТОЧНОГО ДАВЛЕНИЯ

Примеры графиков распределения избыточного давления приведены на черт. 1-3.

График распределения избыточного давления в газопроводе и оболочке электрооборудования без вращающихся частей при заполнении оболочки защитным газом под избыточным давлением

За нулевое значение графика принимается атмосферное давление окружающей среды

I - пространство в невзрывоопасной зоне, из которого забирается атмосферный воздух для применения в качестве защитного газа; II - невзрывоопасная зона, III - взрывоопасная зона

1 - вентилятор подачи защитного газа; 2 - входящий газопровод, 3 - оболочка электрооборудования, 4 - минимально допустимое значение избыточного давления защитного газа согласно настоящему стандарту, 5 - изменение значения избыточного давления защитного газа при работе электрооборудования

Черт. 1

График распределения избыточного давления в газопроводе и оболочке электродвигателя с внутренним вентилятором при заполнении оболочки электродвигателя защитным газом под избыточным давлением

За нулевое значение графика принимается атмосферное давление окружающей среды

I - пространство в невзрывоопасной зоне из которого забирается атмосферный воздух для применения в качестве защитного газа; II - невзрывоопасная зона, III - взрывоопасная зона

1 - вентилятор подачи защитного газа; 2 - входящий газопровод, 3 – электродвигатель; 4 - охладитель защитного газа; 5 - внутренний вентилятор; 6 - ось вращения; 7 - минимально допустимое значение избыточного давления защитного газа согласно настоящему стандарту; 8 - минимально допустимое значение избыточного давления за элитного газа на входе в оболочку электродвигателя (точка В), необходимое для создания у внутренних стенок оболочки электродвигателя избыточного давления не менее 100 Па; 9 - изменение избыточного давления защитного газа по входящему газопроводу и по линии движения защитного газа АВС DEFB внутри оболочки электродвигателя при нормальной работе

Черт. 2

График распределения избыточного давления в газопроводе и оболочке электрооборудования без вращающихся частей при продувке оболочки электрооборудования защитным газом под избыточным давлением

За нулевое значение графика принимается атмосферное давление окружающей среды

I - пространство в невзрывоопасной зоне, из которого забирается атмосферный воздух для применения в качестве защитного газа, II - невзрывоопасная зона, III - взрывоопасная зона

1 - вентилятор подачи защитного газа; 2 - входящий газопровод; 3 - оболочка электрооборудования; 4 - исходящий газопровод; 5 - заслонка для регулирования значения избыточного давления; 6 - минимально допустимое значение избыточного давления защитного газа согласно настоящему стандарту; 7 - изменение значения избыточного давления защитного газа при работе электрооборудования

Черт. 3

(Измененная редакция, Изм. № 1).

ПРИЛОЖЕНИЕ 4
Справочное

ОПРЕДЕЛЕНИЕ ТЕРМИНОВ, ПРИМЕНЯЕМЫХ В СТАНДАРТЕ

Термин

Определение

1. Защитный газ

Негорючий газ, который находится в оболочке электрооборудования под избыточным давлением и предотвращает проникновение внутрь оболочки окружающей взрывоопасной смеси

2. Предпусковая продувка

Процесс прохождения защитного газа через оболочку и газопроводы перед включением электрооборудования в электрическую цепь для удаления из оболочки первоначальной среды

3. Минимально допустимое значение расхода и избыточного давления защитного газа

Наименьшие значения расхода и избыточного давления защитного газа, при которых обеспечивается взрывозащита и охлаждение электрооборудования

4. Дифференциал прибора контроля давления

Значение избыточного давления защитного газа, равное разности между давлениями включения и отключения прибора

5. Запорное устройство

Доступное снаружи запорное устройство, выполненное таким образом, что ослабление его возможно только при применении инструмента

(Измененная редакция, Изм. № 2).

ПРИЛОЖЕНИЕ 5
Рекомендуемое

ДОПОЛНИТЕЛЬНЫЕ ТРЕБОВАНИЯ К ЭКСПЛУАТАЦИОННОЙ ДОКУМЕНТАЦИИ НА ЭЛЕКТРООБОРУДОВАНИЕ С ВИДОМ ВЗРЫВОЗАЩИТЫ «ЗАПОЛНЕНИЕ ИЛИ ПРОДУВКА ОБОЛОЧКИ ПОД ИЗБЫТОЧНЫМ ДАВЛЕНИЕМ»

1. Кроме требований ГОСТ 2.601-68, эксплуатационная документация должна содержать раздел, в котором описываются мероприятия по обеспечению взрывозащиты электрооборудования. Должны быть приведены описание всех конструктивных решений, связанных с требованиями настоящего стандарта, принципиальная схема подачи защитного газа с изображением его движения по газопроводам и внутри оболочки, с указанием мест установки приборов контроля избыточного давления, а также других элементов схемы согласно требованиям стандарта.

2. В разделах, устанавливающих требования к монтажу, эксплуатации и ремонту электрооборудования, должны быть указаны ссылки на нормативно-технические документы, устанавливающие правила размещения, монтажа, наладки, эксплуатации и ремонта электрооборудования в части обеспечения его взрывозащиты, например на утвержденные Госэнергонадзором «Правила устройства электроустановок» (ПУЭ-76, глава VII-3, издание 1980 г.), «Правила технической эксплуатации электроустановок потребителей и Правила техники безопасности при эксплуатации электроустановок потребителей», глава ЭIII-13 «Электроустановки взрывоопасных производств». Должны быть приведены мероприятия, которые не предусмотрены нормативно-техническими документами, но должны выполняться, исходя из особенности конструкции конкретного электротехнического устройства.

3. В эксплуатационной документации должны быть приведены принципиальные схемы и схемы соединений систем контроля, сигнализации, защиты и блокировок с описанием конструкции, принципа действия, монтажа, эксплуатации и ремонта аппаратов и приборов этих систем.

Если такие системы предприятие - изготовитель электрооборудования не поставляет с изготавливаемым им изделием, то необходимо указать в эксплуатационной документации требования к этим системам, исходя из особенностей конструкции электрооборудования и требований настоящего стандарта.

(Введено дополнительно, Изм. № 1).

ИНФОРМАЦИОННЫЕ ДАННЫЕ

1. УТВЕРЖДЕН И ВВЕДЕН В ДЕЙСТВИЕ Постановлением Государственного комитета стандартов Совета Министров СССР от 22.06.78 № 1646

2. ВВЕДЕН ВПЕРВЫЕ

3. ССЫЛОЧНЫЕ НОРМАТИВНО-ТЕХНИЧЕСКИЕ ДОКУМЕНТЫ

Обозначение НТД, на который дана ссылка

Номер пункта, приложения

ГОСТ 2.601-68

Приложение 5

ГОСТ 8.002-86

1.5.7

ГОСТ 12.2.020-76

Вводная часть; 1.9.1

ГОСТ 12.2.021-76

2.1; 2.2; приложение 1

ГОСТ 4860.1-83

1.2.10

ГОСТ 12259-75

2.3; 2.5.2

ГОСТ 14254-80

1.2.2; 2.3

ГОСТ 22782.0-81

1.1; 1.2.7

4. ПЕРЕИЗДАНИЕ (октябрь 1993 г.) с Изменениями № 1, 2, утвержденными в апреле 1982 г., марте 1984 г. (ИУС 7-82, 6-84)

СОДЕРЖАНИЕ

1. Технические требования. 1

2. Методы испытаний. 6

Приложение 1 обязательное Оформление принципиальной схемы обеспечения электрооборудования защитным газом, схемы вентиляции электрооборудования и графика зависимости избыточного давления в оболочке электрооборудования от расхода защитного газа на входе в оболочку. 11

Приложение 2 обязательное Требования по оформлению протоколов испытаний электрооборудования на взрывозащищенность. 14

Приложение 3 справочное Примеры графиков распределения избыточного давления. 15

Приложение 4 справочное Определение терминов, применяемых в стандарте. 16

Приложение 5 рекомендуемое Дополнительные требования к эксплуатационной документации на электрооборудование с видом взрывозащиты «заполнение или продувка оболочки под избыточным давлением». 17

 

 




ГОСТЫ, СТРОИТЕЛЬНЫЕ и ТЕХНИЧЕСКИЕ НОРМАТИВЫ.
Некоммерческая онлайн система, содержащая все Российские Госты, национальные Стандарты и нормативы.
В Системе содержится более 150000 файлов нормативно-технической документации, действующей на территории РФ.
Система предназначена для широкого круга инженерно-технических специалистов.

Рейтинг@Mail.ru Яндекс цитирования

Copyright © www.gostrf.com, 2008 - 2026