Крупнейшая бесплатная информационно-справочная система онлайн доступа к полному собранию технических нормативно-правовых актов РФ. Огромная база технических нормативов (более 150 тысяч документов) и полное собрание национальных стандартов, аутентичное официальной базе Госстандарта. GOSTRF.com - это более 1 Терабайта бесплатной технической информации для всех пользователей интернета. Все электронные копии представленных здесь документов могут распространяться без каких-либо ограничений. Поощряется распространение информации с этого сайта на любых других ресурсах. Каждый человек имеет право на неограниченный доступ к этим документам! Каждый человек имеет право на знание требований, изложенных в данных нормативно-правовых актах!

  


 

ГОСТ 30732-2001

МЕЖГОСУДАРСТВЕННЫЙ СТАНДАРТ

ТРУБЫ И ФАСОННЫЕ ИЗДЕЛИЯ СТАЛЬНЫЕ
С ТЕПЛОВОЙ ИЗОЛЯЦИЕЙ
ИЗ ПЕНОПОЛИУРЕТАНА
В ПОЛИЭТИЛЕНОВОЙ ОБОЛОЧКЕ

Технические условия

МЕЖГОСУДАРСТВЕННАЯ НАУЧНО-ТЕХНИЧЕСКАЯ КОМИССИЯ
ПО СТАНДАРТИЗАЦИИ, ТЕХНИЧЕСКОМУ НОРМИРОВАНИЮ
И СЕРТИФИКАЦИИ В СТРОИТЕЛЬСТВЕ
(МНТКС)

Предисловие

1 РАЗРАБОТАН Ассоциацией производителей и потребителей трубопроводов с индустриальной полимерной изоляцией, Государственным унитарным предприятием «Научно-исследовательский институт Московского строительства» (ГУП «НИИМосстрой»), Федеральным государственным унитарным предприятием - Центром методологии нормирования и стандартизации (ФГУП ЦНС) и группой специалистов

ВНЕСЕН Госстроем России

2 ПРИНЯТ Межгосударственной научно-технической комиссией по стандартизации, техническому нормированию и сертификации в строительстве (МНТКС) 30 мая 2001 г.

За принятие проголосовали

Наименование государства

Наименование органа государственного управления строительством

Азербайджанская Республика

Госстрой Азербайджанской Республики

Республика Казахстан

Казстройкомитет Республики Казахстан

Кыргызская Республика

Государственный Комитет по архитектуре и строительству при Правительстве Кыргызской Республики

Республика Молдова

Министерство окружающей среды и благоустройства территорий Республики Молдова

Российская Федерация

Госстрой России

3 ВВЕДЕН ВПЕРВЫЕ

4 ВВЕДЕН В ДЕЙСТВИЕ с 1 июля 2001 г. в качестве государственного стандарта Российской Федерации постановлением Госстроя России от 12.03.2001 г. № 19

СОДЕРЖАНИЕ

Введение. 2

1 Область применения. 2

2 Нормативные ссылки. 2

3 Определения. 3

4 Основные параметры и размеры.. 3

5 Технические требования. 4

6 Требования безопасности. 7

7 Охрана окружающей среды.. 7

8 Правила приемки. 7

9 Методы испытаний. 9

10 Транспортирование и хранение. 12

11 Гарантии изготовителя. 13

Приложение А Перечень нормативных документов, ссылки на которые приведены в настоящем стандарте. 13

Приложение Б Определение требуемой толщины пенополиуретановой теплоизоляции стальных труб при бесканальной прокладке тепловых сетей в различных климатических зонах. 14

Приложение В Сортамент фасонных изделий. 16

Приложение Г Расчетная масса одного метра длины изолированной трубы.. 30

Приложение Д Методика интегральной оценки срока службы пенополиуретановой изоляции труб тепловых сетей при переменном температурном графике теплоносителя. 30

Приложение Е Определение теплопроводности по методу «трубы». 32

Приложение Ж Определение содержания закрытых пор. 32

Введение

Стандарт на трубы и фасонные изделия стальные с тепловой изоляцией из пенополиуретана в полиэтиленовой оболочке составлен с учетом следующих европейских стандартов, разработанных Европейским Комитетом по Стандартизации (CEN):

EN 253-1994 Трубопроводы сварные, предварительно изолированные для подземных систем горячего водоснабжения. - Система трубопроводов, состоящая из стального магистрального трубопровода с полиуретановой теплоизоляцией и наружной оболочкой из полиэтилена.

EN 448-1994 Трубопроводы сварные, предварительно изолированные для подземных систем горячего водоснабжения. - Сборная арматура из стальных разводящих труб с полиуретановой теплоизоляцией и наружной оболочкой из полиэтилена.

В настоящем стандарте значения следующих показателей соответствуют указанным в европейских нормах: плотности, прочности при сжатии при 10 %-ной деформации, теплопроводности, водопоглощения, объемной доли закрытых пор. Кроме того, требования к пенополиуретану с точки зрения требований безопасности и охраны окружающей среды (класс опасности, категория взрывоопасности производства, группа горючести пенополиуретана, требования по утилизации отходов, образующихся при производстве труб, их вывозу и захоронению) также соответствуют требованиям европейских стандартов.

В разработке стандарта принимали участие: канд.техн.наук И.Л.Майзель (Ассоциация производителей и потребителей трубопроводов с индустриальной полимерной изоляцией), канд.техн.наук. А.В. Сладков, канд. техн. наук В.Г.Петров-Денисов (ГУП «НИИМосстрой»), канд. хим. наук И.В.Газуко, канд. техн. наук В.Б Ковалевский (ВНИИСТ), канд. техн. наук Я.А.Ковылянский, канд. техн. наук Г.Х. Умеркин (ОАО Объединение ВНИПИ «Энергопром»), Д. П. Смекалова, канд. техн. наук Ю.Л. Есипов (ОАО «Полимерсинтез»), канд. хим. наук М.Я. Царфин, Г.Г. Васъков (ООО НПП «Изолан»), Ю.У. Юнусов (Мосинжпроект), В.Г. Кухтин, Ф.Х. Кужбаев, Г.В. Булыгин (ЗАО «МосФлоулайн»), канд. экон. наук B.C. Ромейко, канд. техн. наук А. Ф. Аникин, канд. техн. наук А.Я. Добромыслов (ОАО НПО «Стройполимер»), Л.Е. Любецкий (АОЗТ «Ленгазтеплострой»), Ш.Н. Абайбуров (АОЗТ «Корпорация ТВЭЛ»), А.В. Новиков (Тепловые сети Мосэнерго), Ю.И. Максимов (ООО «Полимерстрой»), Н.Н. Арефьев (ЗТГНТ «Александра»), В.А. Глухарев (Госстрой России), Л.С. Васильева (ФГУП ЦНС).

МЕЖГОСУДАРСТВЕННЫЙ СТАНДАРТ

ТРУБЫ И ФАСОННЫЕ ИЗДЕЛИЯ СТАЛЬНЫЕ
С ТЕПЛОВОЙ ИЗОЛЯЦИЕЙ ИЗ ПЕНОПОЛИУРЕТАНА
В ПОЛИЭТИЛЕНОВОЙ ОБОЛОЧКЕ

Технические условия

STEEL SHAPED PIPES AND PRODUCTS
WITH FOAMED POLYURETHANE THERMAL INSULATION
IN POLYETHYLENE JACKET

Technical specifications

Дата введения 2001-07-01

1 Область применения

Настоящий стандарт распространяется на стальные трубы и фасонные изделия с тепловой изоляцией из пенополиуретана в полиэтиленовой оболочке (далее - изолированные трубы и изделия), предназначенные для подземной бесканальной прокладки тепловых сетей с расчетными параметрами теплоносителя: рабочим давлением до 1,6 МПа и температурой до 130 °С (допускается кратковременное повышение температуры до 150 °С).

2 Нормативные ссылки

Перечень нормативных документов, на которые даны ссылки в настоящем стандарте, приведен в приложении А.

3 Определения

В настоящем стандарте применяют следующие термины с соответствующими определениями.

Бесканальная прокладка - прокладка трубопровода непосредственно в грунте.

Фасонные детали и изделия - отводы, тройники, неподвижные опоры и другие элементы, предназначенные для соединения труб при строительстве трубопроводов тепловых сетей.

Прочность на сдвиг при осевой и тангенциальной нагрузках - способность изолированной трубы выдерживать нагрузку сдвига, действующую между тепловой изоляцией из пенополиуретана с полиэтиленовой оболочкой и стальной трубой в осевом и тангенциальном направлениях.

4 Основные параметры и размеры

4.1 Трубы и фасонные изделия могут быть двух типов по толщине изоляции: тип 1 - стандартный, тип 2 - усиленный (приложение Б).

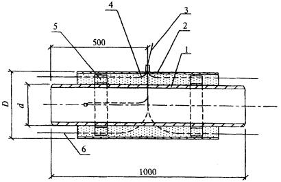
4.2 Размеры изолированных труб должны соответствовать значениям, указанным в таблице 1, конструкция - рисунку 1.

1 - центрирующая опора; 2 - изоляция из пенополиуретана; 3 - труба-оболочка из полиэтилена; 4 - стальная труба; 5 - проводники-индикаторы системы ОДК (показаны условно)

Рисунок 1

Таблица 1                                                                                                          В миллиметрах

Наружный диаметр стальных труб d

Тип 1

Тип 2

Наружный диаметр изоляции по полиэтиленовой оболочке

Толщина слоя пенополиуретана S

Наружный диаметр изоляции по полиэтиленовой оболочке

Толщина слоя пенополиуретана S

номинальный D

предельное отклонение (+)

номинальный D

предельное отклонение (+)

57

125

3,7

31,5

140

4,1

38,5

76

140

4,1

29,0

160

4,7

39,0

89

160

4,7

32,5

180

5,4

42,5

108

180

5,4

33,0

200

5,9

43,0

133

225

6,6

42,5

250

7,4

54,5

159

250

7,4

41,5

280

8,3

55,5

219

315

9,8

42,0

355

10,4

62,0

273

400

11,7

57,0

450

13,2

81,5

325

450

13,2

55,5

500

14,6

79,5

426

560

16,3

58,2

630

16,3

92,5

530

710

20,4

78,9

-

-

-

630

800

23,4

72,5

-

-

-

720

900

26,3

76,0

-

-

-

820

1000

29,2

72,4

1100

32,1

122,5

920

1100

32,1

74,4

1200

35,1

120,5

1020

1200

35,1

70,4

-

-

-

Примечание - Предельное отклонение учитывает возможность увеличения наружного диаметра полиэтиленовой оболочки после заливки пенополиуретана до 2 % номинального диаметра

4.3 Размеры полиэтиленовых труб-оболочек и предельные отклонения от них должны соответствовать величинам, приведенным в таблице 2.

Таблица 2                                                                                                          В миллиметрах

Наружный диаметр D

Толщина стенки

номинальный

предельное отклонение(+)

номинальная

предельное отклонение(+)

125

1,2

2,5

0,5

140

1,3

3,0

0,5

160

1,5

3,0

0,5

180

1,7

3,0

0,5

200

1,8

3,2

0,5

225

2,1

3,5

0,6

250

2,3

3,9

0,7

280

2,6

4,4

0,7

315

2,9

4,9

0,7

355

3,2

5,6

0,8

400

3,6

6,3

0,8

450

4,1

7,0

0,9

500

4,5

7,8

1,0

560

5,0

8,8

1,1

630

5,7

9,8

1,2

710

6,4

11,1

1,3

800

7,2

12,5

2,5

900

8,1

14,0

2,9

1000

9,0

15,6

3,2

1100

9,9

17,6

3,5

1200

10,8

19,6

3,8

4.4 Тип, конструкция и размеры изолированных фасонных изделий, в том числе неподвижной опоры, указаны в приложении В.

Размеры фасонных изделий (кроме диаметров стальной трубы и полиэтиленовой трубы-оболочки) являются рекомендуемыми и определяются проектным решением.

Допускается изготавливать неподвижные опоры иной конструкции, отличной от приведенной на рисунке В.8 приложения В, в соответствии с нормативной документацией завода-изготовителя.

4.5 Расчетная масса одного метра длины изолированной трубы указана в приложении Г.

4.6 Условное обозначение изолированной трубы или фасонного изделия состоит из наименования изделия - «труба», «отвод» и т.д., сокращенного наименования материала трубы - Ст, наружного диаметра и толщины стенки трубы в миллиметрах, типа изоляции (1 или 2), сокращенного наименования материала изоляционной конструкции: пенополиуретан - ППУ, полиэтиленовая оболочка - ПЭ и номера настоящего стандарта. Примеры условных обозначений фасонных изделий приведены в приложении В.

Пример условного обозначения стальной трубы наружным диаметром 57 мм, толщиной стенки 3 мм с изоляцией типа 1 из пенополиуретана в полиэтиленовой оболочке:

Труба Ст 57×3-1-ППУ-ПЭ ГОСТ 30732-2001

5 Технические требования

5.1 Характеристики

Стальные трубы и фасонные детали

5.1.1 На поверхности стальных труб и деталей не должно быть трещин, рванин, закатов. Допускаются некоторые следы от ударов, мелкие вмятины, риски, тонкий слой окалины и следы от зачистки дефектов, если они не вызывают уменьшения толщины стенки, выводя ее за пределы минусовых допусков, регламентируемых соответствующими стандартами.

5.1.2 Поверхность стальных труб и фасонных деталей должна быть высушена и очищена от масла, жира, ржавчины, окалины, пыли до степени очистки 3 в соответствии с ГОСТ 9.402.

5.1.3 Соединение труб и фасонных деталей должно производиться сваркой встык с полным проваром (проплавлением) в соответствии с требованиями СНиП 3.05.03 и ПБ 03-75.

5.1.4 Для поперечных стыковых сварных соединений длина свободного прямого участка в каждую сторону от оси шва должна быть не менее 130 мм с учетом свободных от изоляции концов фасонных изделий.

5.1.5 Толщину стенки трубы и фасонных деталей определяют расчетом.

Рекомендуемая толщина стенки трубы и фасонных деталей приведена в приложении В.

5.1.6 Для сварных стыковых соединений элементов трубопровода с различной толщиной стенок должен быть обеспечен плавный переход от большего к меньшему сечению путем соответствующей односторонней или двухсторонней механической обработки конца элемента с более толстой стенкой.

Угол наклона поверхностей перехода не должен превышать 15°.

Полиэтиленовые трубы-оболочки

5.1.7 Трубы-оболочки должны соответствовать характеристикам, указанным в таблице 3.

Таблица 3

Показатель

Значение

Качество поверхности

Трубы-оболочки должны иметь гладкую наружную поверхность. Допускаются незначительные продольные полосы и волнистость, не выводящие толщину стенки трубы за пределы допускаемых отклонений. Внутренняя поверхность труб должна иметь шероховатость. На наружной, внутренней и торцевой поверхностях труб не допускаются пузыри, трещины, раковины, посторонние включения. Цвет труб - черный.

Относительное удлинение при разрыве, %, не менее

350

Изменение длины труб-оболочек после прогрева при 110 °С, %, не более

3

Стойкость при температуре 80 °С и постоянном внутреннем давлении, ч, не менее

1000
(при начальном напряжении в стенке трубы 3,2 МПа)

(Поправка от 9.07.2004 г.).

5.1.8 Концы труб-оболочек не должны иметь заусенцев.

5.1.9 Сварные швы труб-оболочек после заполнения пенополиуретаном должны быть герметичны.

Тепловая изоляция труб и фасонных изделий

5.1.10 Значения показателей тепловой изоляции труб и фасонных изделий должны соответствовать таблице 4.

Таблица 4

Показатель

Значение

Плотность тепловой изоляции, кг/м3, не менее

60

Прочность при сжатии при 10 %-ной деформации в радиальном направлении, МПа, не менее

0,3

Объемная доля закрытых пор, %, не менее

88

Водопоглощение при кипячении в течение 90 мин, % по объему, не более

10

Прочность на сдвиг в осевом направлении, МПа, не менее, при температуре:

 

(23±2) °С

0,12

(140±2) °С*

0,08

Прочность на сдвиг в тангенциальном направлении, МПа, не менее, при температуре*:

 

(23±2) °С

0,2

(140±2) °С

0,13

Радиальная ползучесть теплоизоляции при температуре испытания 140 °С, мм, не более, в течение*:

 

100ч

2,5

1000ч

4,6

Теплопроводность при средней температуре 50 °C, Вт/м•°С, не более

0,033

* Определяется факультативно

(Поправка от 9.07.2004 г.).

5.1.11 Тепловую изоляцию наносят на всю длину стальных труб и фасонных изделий за исключением концевых участков, равных 1500-20 мм при диаметре труб до 219 мм и 2100-20 мм при диаметре 273 мм и более.

5.1.12 Отклонение осевых линий труб от осей полиэтиленовых труб-оболочек не должно превышать значений, указанных в таблице 5.

Таблица 5                                                                                                          В миллиметрах

Наружный диаметр полиэтиленовых труб-оболочек

Отклонение осевых линий

До 160

3

Св. 160 до 400 включ.

5

» 400 » 630 »

8

» 630 » 800 »

10

» 800 » 1200 »

14

5.1.13 Торцы тепловой изоляции труб и фасонных изделий могут иметь гидроизоляционное покрытие.

(Поправка от 9.07.2004 г.).

5.1.14 Долговечность тепловой изоляции труб и фасонных изделий в зависимости от температуры теплоносителя должна быть не менее значений, рассчитанных по формуле (Д.2) приложения Д.

5.1.15 Срок службы тепловой изоляции труб и фасонных изделий должен составлять не менее 25 лет.

Расчетный срок службы тепловой изоляции при изменении марок пенополиуретана или технологии изготовления определяют по приложению Д.

5.2 Требования к сырью, материалам и комплектующим изделиям

5.2.1 Для изготовления изолированных труб следует использовать стальные трубы наружным диаметром от 57 до 1020 мм, длиной до 12 м, соответствующие требованиям ГОСТ 550, ГОСТ 8731 ГОСТ 8733, ГОСТ 10705, ГОСТ 20295, СНиП 2.04.07 и ПБ 03-75, а также требованиям нормативной документации завода-изготовителя, утвержденной в установленном порядке.

5.2.2 Стальные отводы, тройники, переходы и др. должны соответствовать требованиям ГОСТ 17375, ГОСТ 17376, ГОСТ 17378 и ГОСТ 17380.

5.2.3 Специальные стальные фасонные изделия и детали должны соответствовать нормативной документации завода-изготовителя.

5.2.4 Для изготовления полиэтиленовых труб-оболочек должен применяться термосветостабилизированный полиэтилен низкого давления высокой плотности черного цвета, выпускаемый по ГОСТ 16338.

Допускается применение других марок полиэтилена, которые по показателям свойств труб-оболочек отвечают требованиям ГОСТ 18599 и настоящего стандарта.

5.2.5 Для изготовления труб-оболочек допускается использование чистых отходов полиэтилена от производства труб-оболочек в количестве не более 10 % по массе.

5.2.6 Для теплоизоляционного слоя должны использоваться озонобезопасные системы жестких пенополиуретанов.

5.2.7 Центрирующие опоры должны быть изготовлены из литьевых марок полипропилена по ГОСТ 26996. Допускается изготовление центрирующих опор из полиэтилена низкого давления. Допускается изготовление комбинированных опор с опорной частью из полипропилена или полиэтилена и стягивающих поясов из металлической или полимерной ленты.

5.2.8 Теплоизоляция стальных труб и фасонных изделий и деталей должна иметь не менее двух линейных проводников-индикаторов системы оперативного дистанционного контроля (ОДК) состояния влажности пенополиуретана в процессе эксплуатации теплопровода.

5.3 Маркировка

5.3.1 На поверхности полиэтиленовой оболочки изолированной трубы или фасонного изделия на расстоянии не менее 200 мм от торца изоляции с помощью трафарета или штампа должна быть нанесена светлой несмываемой краской маркировка. Допускается маркировка на бирке (этикетке), прикрепляемой к стальной трубе изделия или полиэтиленовой оболочке.

5.3.2 Маркировка должна содержать:

- условное обозначение изделия;

- товарный знак или наименование предприятия-изготовителя;

- номер партии (контракта);

- дату изготовления.

6 Требования безопасности

6.1 При изготовлении изолированных труб и фасонных изделий необходимо соблюдать указания по технике безопасности, изложенные в технических условиях на применяемые материалы, и в технологической инструкции на производство.

6.2 Основные требования к безопасности технологических процессов, хранению и транспортированию химических веществ должны соответствовать ГОСТ 12.3.008.

6.3 При выполнении работ с изолированными трубами необходимо соблюдать требования безопасности согласно СНиП III-4, ГОСТ 12.3.016, ГОСТ 12.3.038.

6.4 Теплоизоляция из пенополиуретана в полиэтиленовой оболочке при нормальных условиях не выделяет в окружающую среду токсичных веществ и не оказывает вредного воздействия на организм человека при непосредственном контакте с ней. Ее применение не требует специальных мер предосторожности. Класс опасности 4 по ГОСТ 12.1.007.

6.5 Категория взрывоопасности производства - В3 по правилам определения категории помещений и зданий по взрывопожарной и пожарной опасности. Материалы теплоизоляции относятся к группе горючих Г4.

6.6 К работе по нанесению ППУ, получению полиэтиленовых оболочек допускаются лица не моложе 18 лет, прошедшие медицинское освидетельствование, инструктаж и обучение по технике безопасности по утвержденной программе с последующими периодическими проверками знаний и имеющие допуск к самостоятельной работе.

6.7 Работа по производству пенополиуретановой изоляции (подготовка компонентов, подготовка труб и заливка композиции и др.) должна производиться в спецодежде с применением индивидуальных средств защиты (костюм х/б, обувь, перчатки резиновые, рукавицы х/б, очки защитные, респиратор).

6.8 На участке по заливке пенополиуретана должны находиться средства для нейтрализации применяемых веществ (5-10 %-ный раствор аммиака, 5 %-ный раствор соляной кислоты), а также аптечка первой помощи с медикаментами (1,3 %-ный раствор поваренной соли, 5 %-ный раствор борной кислоты, 2 %-ный раствор питьевой соды, йод, бинт, вата, резиновый жгут).

6.9 Не допускается воздействие огня в виде открытого пламени или искр, а также воздействие температуры выше 120 °С на тепловую изоляцию по длине трубы и в торцевых сечениях.

6.10 Температура воспламенения пенополиуретана 550-600 °С. При горении из пенополиуретана выделяются высокотоксичные продукты. В случае загорания пламя необходимо тушить в изолирующем противогазе. Тушение можно производить любыми средствами пожаротушения.

7 Охрана окружающей среды

7.1 Для охраны атмосферного воздуха должен быть организован контроль за соблюдением предельно допустимых выбросов по ГОСТ 17.2.3.02. Плановый лабораторный контроль за содержанием вредных веществ в атмосферном воздухе необходимо выполнять по графику, согласованному с территориальными органами Госсанэпиднадзора.

7.2 Промышленные отходы, образующиеся при производстве пенополиуретана, подлежат утилизации в соответствии с СанПиН 3183 Минздрава России.

Неутилизованные компоненты для производства пенополиуретана (полиол и полиизоцианат) подлежат вывозу и захоронению по согласованию с органами Госсанэпиднадзора России.

7.3 Отходы пенополиуретана могут захораниваться на общих свалках по согласованию с территориальными органами Госсанэпиднадзора России.

8 Правила приемки

8.1 Изолированные трубы и фасонные изделия должны быть приняты отделом технического контроля предприятия-изготовителя.

8.2 Трубы и фасонные изделия принимают партиями. Партией считают число труб или фасонных изделий одного типоразмера, изготовленных за 24 ч, или не более 100 шт. изделий на одной технологической линии из одной партии и марки сырья, сопровождаемых одним документом о качестве.

8.3 Для проверки соответствия изолированных труб и фасонных изделий требованиям настоящего стандарта проводят приемосдаточные и периодические испытания, приведенные в таблице 6.

При приемосдаточных испытаниях проверке подвергают каждую партию. Периодические испытания проводят не реже двух раз в год.

Таблица 6

Показатель

Номер пункта

Вид испытаний

Объем выборки от партии

технические требования

методы испытания

приемосдаточные

периодические

Качество поверхности изолированной трубы, маркировка, герметичность сварных швов трубы-оболочки

5.1.7-5.1.9, 5.3

9.3, 9.10

+

-

100%

Основные размеры

4.2-4.4

9.4-9.8

+

-

Не менее 5 шт.

Отклонение осевых линий

5.1.12

9.9

+

-

То же

Относительное удлинение при разрыве полиэтиленовой трубы-оболочки

5.1.7

9.16

-

+

3 шт.

Стойкость полиэтиленовой оболочки при температуре 80 °С и постоянном внутреннем давлении

5.1.7

9.23

-

*

3 шт.

Изменение длины трубы-оболочки после прогрева

5.1.7

9.5

-

+

3 шт.

Плотность пенополиуретана

5.1.10

9.11

+

-

3 %, но не менее 3 шт.

Прочность пенополиуретана при сжатии при 10 %-ной деформации в радиальном направлении

5.1.10

9.11

+

-

То же

Водопоглощение пенополиуретана при кипячении

5.1.10

9.15

+

-

»

Объемная доля закрытых пор

5.1.10

9.11

-

+

3 шт.

Теплопроводность пенополиуретана

5.1.10

9.11

-

+

3 шт.

Прочность на сдвиг в осевом направлении при температуре испытаний 23°С

5.1.10

9.18

-

+

3 шт.

Прочность на сдвиг в осевом направлении при температуре 140 °С

5.1.10

9.19

-

*

3 шт.

Прочность на сдвиг в тангенциальном направлении при температуре 23 °С

5.1.10

9.20

-

*

3 шт.

Прочность на сдвиг в тангенциальном направлении при температуре 140 °С

5.1.10

9.21

-

*

3 шт.

Радиальная ползучесть изоляции при температуре 140 °С

5.1.10

9.22

-

*

3 шт.

Примечание - знак «+» означает, что испытания проводят;

знак «-» означает, что испытания не проводят;

знак «*» означает, что испытания проводят факультативно

(Поправка от 9.02.2002 г.), (Поправка от 9.07.2004 г.).

8.4 Для проведения испытаний продукцию отбирают от партии методом случайного отбора по ГОСТ 18321.

Из середины и с обеих сторон трубы на расстоянии не менее 0,5 м от концов изоляции и не менее 0,1 м в случае фасонного изделия вырезают фрагменты теплоизоляционного слоя с защитной оболочкой.

С тройниковых ответвлений отбор фрагментов производят как с основной трубы, так и с одного из ответвлений.

8.5 При соответствии изолированной трубы и фасонного изделия требованиям настоящего стандарта партию считают принятой. При получении неудовлетворительных результатов хотя бы по одному показателю проводят повторную проверку по этому показателю на удвоенном числе образцов, отобранных из той же партии. В случае неудовлетворительных результатов повторной проверки партия изделий приемке не подлежит.

8.6 Перед началом производства изделий из новых композиций сырьевых материалов или при изменении технологических режимов предприятие-изготовитель обязано проводить типовые испытания.

Типовые испытания проводят по всем показателям, предусмотренным настоящим стандартом. При изготовлении новой оснастки проводят контроль размеров по рабочим чертежам.

8.7 Каждую партию сопровождают документом о качестве, который должен содержать:

- наименование предприятия-изготовителя или его товарный знак;

- условное обозначение изделия;

- номер партии;

- размер партии;

- результаты испытаний;

- отметку отдела технического контроля;

- дату изготовления.

9 Методы испытаний

9.1 Входной контроль сырья, материалов, покупных изделий проводят на основании документации на них.

9.2 Испытания образцов следует проводить не ранее, чем через 24 ч после нанесения пенополиуретана на трубы и фасонные изделия.

9.3 Качество поверхности и маркировку проверяют визуально без применения увеличительных приборов сравнением контролируемого изделия с образцом-эталоном, утвержденным в установленном порядке.

9.4 Для контроля геометрических размеров: наружного диаметра, длины неизолированных концов труб и фасонных элементов, длины и толщины полиэтиленовой оболочки, длины трубы, толщины теплоизоляционного слоя применяют штангенциркуль по ГОСТ 166, линейки по ГОСТ 427, рулетки по ГОСТ 7502.

Допускается применять другие измерительные инструменты, обеспечивающие соответствующую точность.

9.5 Наружный диаметр изолированной трубы рассчитывают по формуле (1). Предварительно проводят измерение периметра в двух местах поверх полиэтиленовой оболочки на расстоянии не менее 500 мм от торца изоляции.

                                                  (1)

где Р - периметр поперечного сечения трубы с изоляцией, мм;

- толщина ленты рулетки, мм;

0,2 - погрешность при замере периметра за счет перекоса рулетки при совмещении деления, мм.

9.6 Толщину стенки полиэтиленовой оболочки замеряют в четырех равномерно распределенных по окружности точках торца с точностью до 0,1 мм.

9.7 Длину полиэтиленовой оболочки, стальной трубы и неизолированных концов замеряют с точностью до 5 мм по наружной поверхности труб вдоль их оси.

9.8 Толщину теплоизоляционного слоя замеряют штангенциркулем или металлической линейкой с точностью 0,1 мм.

9.9 Отклонение осевой линии стальной трубы от оси полиэтиленовой оболочки в неторцевых сечениях определяют измерением расстояний от наружной поверхности полиэтиленовой трубы-оболочки до поверхности стальной трубы в положениях 12, 6, 9, 3 ч с последующим расчетом:

                                                            (2)

где t9 - t3; = t12 - t6;

, , , - расстояние от верхнего края полиэтиленовой трубы-оболочки до поверхности стальной трубы, измеренное соответственно в положениях 12, 6, 9, 3 ч. Измерения проводят не менее чем в трех точках по длине трубы.

9.10 Герметичность сварных швов трубы-оболочки после заполнения ППУ проверяют визуально по всей длине сварных швов.

9.11 Плотность пенополиуретана определяют по ГОСТ 17177 или ГОСТ 409; прочность при сжатии при 10 %-ной деформации в радиальном направлении - по ГОСТ 17177 или ГОСТ 23206. Теплопроводность определяют по ГОСТ 7076 или ГОСТ 30256 или по методу «трубы» (приложение Е). Объемную долю закрытых пор определяют по методике, изложенной в приложении Ж.

9.12 Для изготовления образцов отделяют слой пенополиуретана от полиэтиленовой оболочки.

Пенополиуретановые и полиэтиленовые образцы должны быть отобраны с разных равномерно распределенных мест по окружности фрагмента.

С пенополиуретановых образцов удаляют слои пенопласта, непосредственно прилегавшие к стальной трубе и к полиэтиленовой оболочке, максимально возможной толщины, но не менее 3 мм.

Образцы должны иметь форму прямоугольного параллелепипеда размером 30×30×t мм или цилиндра диаметром 30 мм и длиной t, где t - максимально достижимый размер в радиальном направлении, но не превышающий 30 мм.

Для испытания пенополиуретана контрольные образцы могут быть получены вспениванием в закрытой металлической форме размером 500×300×80 мм.

Число образцов должно быть не менее трех, полученных из каждого изделия.

Допускается восстановление теплоизолированных труб и изделий в местах отбора контрольных образцов с сохранением всех свойств пенополиуретана и полиэтиленовой трубы-оболочки.

9.13 Перед проведением испытаний образцы пенополиуретана кондиционируют при комнатной температуре в течение времени, указанного в технических условиях на данную композицию.

Образцы полиэтилена кондиционируют при комнатной температуре в течение 16 ч.

9.14 Образцы пенополиуретана должны иметь равномерную мелкоячеистую структуру. Исключается наличие трещин, пустот посторонних примесей и т.п.

9.15 Водопоглощение пенополиуретана определяют следующим образом.

Определяют массу образца m0 с точностью до 0,01 г, объем образца V с точностью до 0,1 мл на 5 образцах. Образец выдерживают в кипящей воде (дистиллированной) 90 мин, а затем в воде с температурой 20 °С в течение 60 мин. После истечения указанного времени с образца удаляют капли воды фильтровальной бумагой или мягкой тканью и определяют массу m1 с точностью до 0,01 г. Водопоглощение W, %, определяют по формуле

,                                                          (3)

где - плотность воды, г/см3.

За результат измерений принимают среднеарифметическое значение водопоглощения 5 образцов.

9.16 Предел текучести при растяжении и относительное удлинение при разрыве полиэтилена определяют по ГОСТ 11262 со следующими дополнениями.

Толщина образца-лопатки должна быть равна толщине стенки оболочки. Образцы-лопатки вырубают из отрезков оболочек так, чтобы ось образца-лопатки была параллельна образующей трубы. Испытания проводят при скорости перемещения захватов разрывной машины 50 мм/мин.

9.17 Изменение длины полиэтиленовой трубы-оболочки после нагрева при 110 °С и выдержки в течение 1 ч определяют по ГОСТ 27078.

9.18 Прочность трубы на сдвиг в осевом направлении определяют при комнатной температуре (23 ± 2) °С на образце, отрезанном под прямым углом к оси стальной трубы, длина которого составляет 2,5 толщины изоляции, но не менее 200 мм (рисунок 2). На образец прикладывают осевую нагрузку со скоростью не более 5 мм/мин, фиксируют осевую нагрузку и рассчитывают прочность сдвига. За результат принимают среднеарифметическое значение трех измерений.

Прочность на сдвиг в осевом направлении , МПа, рассчитывают по формуле

,                                                      (4)

где Fакс - осевая нагрузка, Н

L - длина образца, мм;

d - наружный диаметр трубы, мм.

9.19 Прочность на сдвиг в осевом направлении при температуре (140±2) °С определяют в соответствии с требованиями настоящего стандарта при нагреве стальной трубы в течение 30 мин до 140 °С и ее выдержке при этой температуре в течение 30 мин до приложения нагрузки.

1 - стальная труба; 2 - труба-оболочка из полиэтилена; 3 - изоляция из пенополиуретана; 4 - направляющее кольцо; 5 - плита основания машины для испытания

Рисунок 2

9.20 Прочность, на сдвиг в тангенциальном направлении при температуре (23±2) °С определяют на отдельно изготовленном образце или на фрагменте изолированной трубы, из которой выделяют поперечными разрезами до стальной трубы слой тепловой изоляции длиной, равной 0,75 диаметра стальной трубы, но не менее 100 мм (рисунок 3).

1 - стальная труба; 2 - изоляция из пенополиуретана; 3 - труба-оболочка из полиэтилена; 4 - хомут; 5 - рычаг; 6 - неподвижная опора

Рисунок 3

Тангенциальную нагрузку прилагают к полиэтиленовой оболочке с помощью двух рычагов длиной по 1000 мм, расположенных соосно горизонтально с двух сторон оболочки. Скорость приложения нагрузки к концам рычагов должна быть равна 25 мм/мин.

Прочность на сдвиг в тангенциальном направлении, МПа рассчитывают по формуле

                                                          (5)

где  - тангенциальная нагрузка, Н;

L - длина образца, мм;

d - наружный диаметр трубы, мм;

l - длина каждого рычага, мм.

9.21 Прочность на сдвиг в тангенциальном направлении при температуре (140±2) °С определяют в соответствии с 9.20 на образцах изолированных труб длиной 3 м на выделенных не менее трех участках тепловой изоляции, расположенных на расстоянии не менее 1 м от торцов теплоизоляции. При этом по трубе пропускают теплоноситель с температурой 170 °С в течение 1450 ч.

Затем температуру теплоносителя снижают до 140 °С и после выдержки в течение суток определяют значение прочности по 9.20.

9.22 Радиальную ползучесть тепловой изоляции труб определяют на трех образцах с диаметром стальной трубы 57 мм, наружным диаметром полиэтиленовой оболочки 125 мм и длиной теплоизоляции 250 мм на выделенном поперечными разрезами фрагменте тепловой изоляции длиной 100 мм.

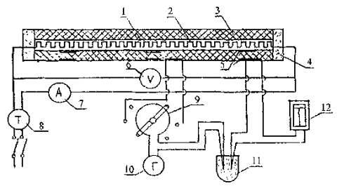
Свободные от тепловой изоляции концы стальных труб должны опираться на скользящие опоры согласно рисунку 4.

По образцам пропускают теплоноситель с температурой (140 ± 2)°С в течение одной недели, после чего к фрагменту изоляции прилагают вертикальную нагрузку (1,5 ± 0,01) кН (рисунок 4).

1 - стальная труба; 2 - индикатор; 3 - труба-оболочка из полиэтилена и изоляция из пенополиуретана; 4 - приспособление для приложения нагрузки; 5 - опора

Рисунок 4

Радиальную ползучесть тепловой изоляции замеряют в верхней части середины фрагмента до начала нагрузки (исходное значение) и в период воздействия нагрузки через 100 ч и через 1000 ч.

Замеры производят индикатором часового типа с точностью до 0,05 мм.

Величину радиальной ползучести определяют как среднеарифметическое значение результатов испытаний трех образцов.

9.23 Стойкость полиэтиленовой оболочки при постоянном внутреннем давлении определяют на образцах трубы-оболочки по ГОСТ 24157.

10 Транспортирование и хранение

10.1 Перевозку изолированных труб и фасонных изделий осуществляют автомобильным, железнодорожным и водным транспортом в соответствии с правилами перевозки грузов, обеспечивающими сохранность изоляции и исключающими возникновение продольного прогиба.

10.2 Перевозку труб и фасонных изделий, погрузочно-разгрузочные работы осуществляют в интервале температур, указанных для проведения строительно-монтажных работ, но не ниже минус 18 °С.

10.3 Для погрузки и разгрузки труб и фасонных изделий следует применять специальные траверсы и мягкие полотенца шириной 50 - 200 мм. Не допускается использовать цепи, канаты и другие грузозахватные устройства, вызывающие повреждение изоляции.

Для труб диаметром более 108 мм возможно использование торцевых захватов со специальными траверсами.

10.4 Строго запрещается сбрасывание, скатывание, соударение труб, волочение их по земле.

10.5 Укладку труб в транспортные средства необходимо производить ровными рядами, не допуская перехлестов. В качестве амортизатора между трубами с целью исключения повреждения покрытия следует использовать поролон, резину и т.п.

Для обеспечения свободного пропуска обвязок между трубами и дном кузова автомашины укладывают прокладки.

Не допускается раскатывание нижнего ряда труб при транспортировании.

10.6 Трубы и фасонные изделия должны храниться на ровных горизонтальных площадках, очищенных от камней и других посторонних предметов, которые могут привести к повреждению полиэтиленовой оболочки.

10.7 Складирование труб производят штабелями высотой не более 2 м. Для предотвращения раскатывания труб в штабелях должны быть установлены боковые опоры. В штабеле должны быть уложены трубы одного типоразмера.

10.8 Фасонные изделия хранят в специально отведенных для них местах, рассортированными по виду и диаметрам.

10.9 Трубы и фасонные изделия при хранении более 2 недель на открытом воздухе должны быть защищены от воздействия прямых солнечных лучей (в тени, под навесом или прикрыты рулонными материалами).

Торцы труб должны быть защищены заглушками.

10.10 На строительных площадках трубы следует укладывать на песчаные подушки шириной до 1,2 м и высотой не менее 300 мм, отсыпанные перпендикулярно длине труб, под концы и середину трубы.

Для предупреждения попадания воды в теплоизоляционный слой с торцов крайние песчаные подушки располагают на расстоянии около 1 м от концов оболочки.

10.11 Не допускается складирование и хранение труб и фасонных изделий в местах, подверженных затоплению водой.

11 Гарантии изготовителя

11.1 Изготовитель гарантирует соответствие труб и изделий требованиям настоящего стандарта при соблюдении правил транспортирования, хранения, монтажа и эксплуатации.

11.2 Гарантийный срок хранения- 2 года со дня изготовления.

Гарантийный срок эксплуатации - 5 лет со дня отгрузки изготовителем.

ПРИЛОЖЕНИЕ А

(справочное)

Перечень нормативных документов, ссылки на которые приведены в настоящем стандарте

ГОСТ 9.402-80 ЕСЗКС. Покрытия лакокрасочные. Подготовка металлических поверхностей перед окрашиванием

ГОСТ 12.1.007-76 ССБТ. Вредные вещества. Классификация и общие требования безопасности

ГОСТ 12.3.008-75 ССБТ. Производство покрытий металлических и неметаллических неорганических. Общие требования безопасности

ГОСТ 12.3.016-87 ССБТ. Строительство. Работы антикоррозионные. Требования безопасности

ГОСТ 12.3.038-85 ССБТ. Строительство. Работы по тепловой изоляции оборудования и трубопроводов. Требования безопасности

ГОСТ 17.2.3.02-78 Охрана природы. Атмосфера. Правила установления допустимых выбросов вредных веществ промышленными предприятиями

ГОСТ 166-89 Штангенциркули. Технические условия

ГОСТ 409-77 Пластмассы ячеистые и резины губчатые. Метод определения кажущейся плотности

ГОСТ 427-75 Линейки измерительные металлические. Технические условия

ГОСТ 550-75 Трубы стальные бесшовные для нефтеперерабатывающей и нефтехимической промышленности. Технические условия

ГОСТ 7076-99 Материалы и изделия строительные. Метод определения теплопроводности и термического сопротивления при стационарном тепловом режиме

ГОСТ 7502-98 Рулетки измерительные металлические. Технические условия

ГОСТ 8731-74 Трубы стальные бесшовные горячедеформированные. Технические требования

ГОСТ 8733-74 Трубы стальные бесшовные холоднодеформированные и теплодеформированные. Технические требования

ГОСТ 10705-80 Трубы стальные электросварные. Технические условия

ГОСТ 11262-80 Пластмассы. Метод испытания на растяжение

ГОСТ 16338-85 Полиэтилен низкого давления. Технические условия

ГОСТ 17177-94 Материалы и изделия строительные теплоизоляционные. Методы испытаний

ГОСТ 17375-83 Детали трубопроводов стальные бесшовные приварные на Ру10 МПа (≤100 кгс/см2). Отводы крутоизогнутые. Конструкция и размеры

ГОСТ 17376-83 Детали трубопроводов стальные бесшовные приварные на Ру10 МПа (≤100 кгс/см2). Тройники. Конструкция и размеры

ГОСТ 17378-83 Детали трубопроводов стальные бесшовные приварные на Ру10 МПа (≤100 кгс/см2). Переходы. Конструкция и размеры

ГОСТ 17380-83 Детали трубопроводов стальные бесшовные приварные на Ру10 МПа (≤100 кгс/см2). Технические условия

ГОСТ 18321-73 Статистический контроль качества. Методы случайного отбора выборок штучной продукции

ГОСТ 18599-83 Трубы напорные из полиэтилена. Технические условия

ГОСТ 20295-85 Трубы стальные сварные для магистральных газонефтепроводов. Технические условия

ГОСТ 22056-76 Трубки электроизоляционные из фторопласта 4Д и 4ДМ. Технические условия

ГОСТ 23206-78 Пластмассы ячеистые жесткие. Метод испытания на сжатие

ГОСТ 24157-80 Трубы из пластмасс. Метод определения стойкости при постоянном внутреннем давлении

ГОСТ 26996-86 Полипропилен и сополимеры пропилена. Технические условия

ГОСТ 27078-86 Трубы из термопластов. Методы определения изменения длины труб после прогрева

ГОСТ 30256-94 Материалы и изделия строительные. Метод определения теплопроводности цилиндрическим зондом

СНиП 23-01-99 Строительная климатология

СНиП 2.04.07-86 Тепловые сети

СНиП 2.04.14-88 Тепловая изоляция оборудования и трубопроводов

СНиП 3.05.03-85 Тепловые сети

СНиП III-4-80* Техника безопасности в строительстве

ПБ 03-75-94 Правила устройства и безопасной эксплуатации трубопроводов пара и горячей воды

СанПиН 3183-84 Порядок накопления, транспортировки, обезвреживания и захоронения токсичных промышленных отходов

ПРИЛОЖЕНИЕ Б

(рекомендуемое)

Определение требуемой толщины пенополиуретановой теплоизоляции стальных труб при бесканальной прокладке тепловых сетей в различных климатических зонах

Пример расчета толщины тепловой изоляции труб при бесканальной прокладке тепловых сетей приведен для России. Для других климатических зон расчет осуществляется аналогично с применением местных расчетных характеристик.

Толщина пенополиуретановой изоляции стальных труб для бесканальной прокладки тепловых сетей определена расчетом по СНиП 2.04.14 с использованием нормированной плотности теплового потока.

В качестве расчетных значений плотности теплового потока через поверхность изоляции трубопроводов бесканальной прокладки приняты данные, приведенные в СНиП 2.04.14.

В соответствии с рекомендациями СНиП 2.04.14 за расчетные температуры подающего и обратного трубопроводов приняты средние за год температуры воды (таблица Б.1).

Таблица Б.1

Трубопровод

Расчетные температурные режимы, °С

95-70

150-70

Подающий

65

90

Обратный

50

50

В качестве расчетной температуры окружающей среды используется средняя за год температура наружного воздуха, так как при определении толщины величина заглубления верха теплоизоляционной конструкции трубопроводов принята 0,7 м и менее (по действующим нормативным документам на тепловую изоляцию трубопроводов).

Среднегодовые температуры наружного воздуха по районам строительства должны приниматься по СНиП 23-01.

Преобладающим видом грунта принят суглинок со средним влагосодержанием 0,27 кг/кг. На основании этих данных в качестве расчетной теплопроводности грунта принято значение 1,86 Вт/м×°С, а теплопроводность пенополиуретановой изоляции в оболочке из полиэтилена - 0,033 Вт/м×°С.

Расчетные значения толщины пенополиуретановой изоляции для различных районов строительства Российской Федерации представлены в таблице Б.2.

На основании этих данных, с учетом размеров полиэтиленовых труб-оболочек (таблица 2), определена толщина пенополиуретановой изоляции индустриальных конструкций теплопроводов для бесканальной прокладки тепловых сетей (таблица 1).

Таблица Б.2                                                                                                       В миллиметрах

Наружный диаметр труб

Толщина изоляции /наружный диаметр оболочек для территориальных районов

Европейские районы

Урал

Западная Сибирь

Восточная Сибирь

Дальний Восток

Юг

Центр

Север

57

31,5/125

31,5/125

31,5/125

31,5/125

31,5/125

38,5/140

31,5/125

76

29/140

29/140

39/160

39/160

39/160

39/160

39/160

89

32,5/160

32,5/160

42,5/180

42,5/180

42,5/180

42,5/180

42,5/180

108

33/180

33/180

43/200

43/200

43/200

43/200

43/200

133

42,5/225

42,5/225

42,5/225*

42,5/225

42,5/225

54,5/250

42,5/225

159

41,5/250

41,5/250

55,5/280

41,5/250*

55,5/280

55,5/280

55,5/280

219

42/315

62/355

62/355

62/355

62/355

62/355

62/355

273

57/400

57/400

57/400*

57/400

57/400*

81,5/450

57/400

325

55,5/450

55,5/450

79,5/500

55,5/450*

79,5/500

79,5/500

79,5/500

426

58,2/560

58,2/560*

92,4/630

92,4/630

92,4/630

92,4/630

92,4/630

530

79/710

79/710

79/710

79/710

79/710

79/710

79/710

630

72,5/800

72,5/800

72,5/800*

72,5/800

72,5/800

72,5/800

72,5/800

720

76/900

76/900

76/900

76/900

76/900

76/900*

76/900

820

72,5/1000

72,5/1000

122,5/1100

72,5/1000

72,5/1000*

122,5/1100

72,5/1000*

920

74,5/1100

74,5/1100

120,5/1200

74,5/1100

74,5/1100*

120,5/1200

74,5/1100*

1020

70,5/1200

70,5/1200*

**

70,5/1200*

**

**

**

* Толщина теплоизоляции принята менее расчетной по условиям нормированных теплопотерь

** Толщина теплоизоляции определяется нестандартным наружным диаметром полиэтиленовой оболочки 1300 или 1400 мм

Рекомендации по применению изолированных труб типов 1 (стандартный) и 2 (усиленный) в зависимости от климатических районов строительства тепловых сетей приведены в таблице Б.3.

Таблица Б.3

Наружный диаметр стальной трубы d, мм

Тип изолированных труб по толщине изоляции (таблица 1)

Климатические районы строительства

57

1

Европейский район - юг, центр, север; Урал, Западная Сибирь, Дальний Восток

2

Восточная Сибирь

76

1

Европейский район - юг, центр

2

Европейский район - север; Урал, Западная Сибирь, Восточная Сибирь, Дальний Восток

89

1

Европейский район - юг, центр

2

Европейский район - север; Урал, Западная Сибирь, Восточная Сибирь, Дальний Восток

108

1

Европейский район - юг, центр

2

Европейский район - север; Урал, Западная Сибирь, Восточная Сибирь, Дальний Восток

133

1

Европейский район - юг, центр; Север, Урал, Западная Сибирь, Дальний Восток

2

Восточная Сибирь

159

1

Европейский район - юг, центр, Урал

2

Европейский район - север; Западная Сибирь, Восточная Сибирь, Дальний Восток

219

1

Европейский район - центр

2

Европейский район - центр; Север, Урал, Западная Сибирь, Дальний Восток

273

1

Европейский район - юг, центр; Север, Урал, Западная Сибирь, Дальний Восток

2

Восточная Сибирь

325

1

Европейский район - юг, центр; Урал, Западная Сибирь, Дальний Восток

2

Европейский район - север; Западная Сибирь, Восточная Сибирь, Дальний Восток

426

1

Европейский район - юг, центр

2

Европейский район - север; Урал, Западная Сибирь, Восточная Сибирь, Дальний Восток

530

1

Все районы

630

1

То же

720

1

»

820

1

Европейский район - юг, центр; Урал, Западная Сибирь, Восточная Сибирь, Дальний Восток

2

Европейский район - север

920

1

Европейский район - юг, центр; Урал, Западная Сибирь, Дальний Восток

2

Европейский район - север; Восточная Сибирь

1020*

1

Европейский район - юг, центр, север; Урал

* Изолированные стальные трубы диаметром 1020 мм могут быть применены на севере Европейского района, в Западной и Восточной Сибири и Дальнем Востоке при условии использования полиэтиленовой оболочки нестандартного наружного диаметра (1300 или 1400 мм)

ПРИЛОЖЕНИЕ В

(рекомендуемое)

Сортамент фасонных изделий

B.1 Отвод

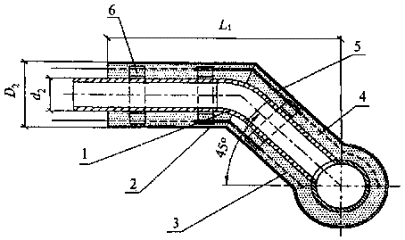
B.1.1 Конструкция и размеры отводов должны соответствовать рисунку B.1 и таблице B.1.

1 - стальная труба; 2 - изоляция из пенополиуретана; 3 - оболочка из полиэтилена; 4 - центрирующая опора; 5 - стальной отвод; 6 - электроизоляционная трубка по ГОСТ 22056; 7 - проводник-индикатор системы ОДК

Рисунок В.1 - Отвод

Таблица B.1- Отвод                                                                                          В миллиметрах

Наружный диаметр стального отвода d

Наружный диаметр изоляции (по полиэтиленовой оболочке) D

Угол α**

90°

60°

45°

30°

тип 1

тип 2

L

57

125

140

1000

1000

1000

1000

76

140

160

89

160

180

1000

1000

1000

1000

108

180

200

133

225

250

159

250

280

219

315

355

273

400

450

325

450

500

1050

860

786

720

426

560

630

1100

889

807

734

530

710

-

1200

946

848

761

630

800

-

1200(1280*)

945(1014*)

848(911*)

761(819*)

720

900

-

1370*

1066*

948*

843*

820

1000

1100

1470*

1073*

990*

820*

920

1100

1200

1570*

1132*

1032*

846*

1020

1200

-

1620*

1189*

1022*

874*

*Сварные отводы

** Допускается изготовление отводов с другими углами

B.1.2 Пример условного обозначения отвода 90° диаметром 57 мм толщиной стенки 3 мм с тепловой изоляцией типа 1:

Отвод Ст 57×3-90°-1-ППУ-ПЭ ГОСТ 30732-2001

В.2 Переход

В.2.1 Конструкция и размеры переходов должны соответствовать рисунку В.2 и таблице В.2.

1 - стальная труба; 2 - электроизоляционная трубка по ГОСТ 22056; 3 - оболочка из полиэтилена; 4 - изоляция из пенополиуретана; 5 - центрирующая опора; 6 - проводник-индикатор системы ОДК

Рисунок В.2 - Переход

Таблица В.2 - Переход                                                                                     В миллиметрах

 

d1

57

76

89

108

133

159

219

273

325

426

530

630

720

820

920

1020

d2

76

X

 

 

 

 

 

 

 

 

 

 

 

 

 

 

 

89

X

X

 

 

 

 

 

 

 

 

 

 

 

 

 

 

108

X

X

X

 

 

 

 

 

 

 

 

 

 

 

 

 

133

X

X

X

X

 

 

 

 

 

 

 

 

 

 

 

 

159

X

X

X

X

X

 

 

 

 

 

 

 

 

 

 

 

219

X

X

X

X

X

X

 

 

 

 

 

 

 

 

 

 

273

 

 

 

X

X

X

X

 

 

 

 

 

 

 

 

 

325

 

 

 

X

X

X

X

X

 

 

 

 

 

 

 

 

426

 

 

 

 

 

X

X

X

X

 

 

 

 

 

 

 

530

 

 

 

 

 

 

 

X

X

X

 

 

 

 

 

 

630

 

 

 

 

 

 

 

 

X

X

X

 

 

 

 

 

720

 

 

 

 

 

 

 

 

 

X

X

X

 

 

 

 

820

 

 

 

 

 

 

 

 

 

X

X

X

X

 

 

 

920

 

 

 

 

 

 

 

 

 

 

X

X

X

X

 

 

1020

 

 

 

 

 

 

 

 

 

 

X

X

X

X

X

 

Примечание - Х - длина изделия равна 1500 мм

В.2.2 Пример условного обозначения стального перехода диаметром 89-76 мм с изоляцией типа 2:

Переход Ст 89-76-2-ППУ-ПЭ ГОСТ 30732-2001

В.3 Тройник

В.3.1 Конструкция и размеры тройника должны соответствовать рисунку В.3 и таблице В.3 и В.5.

1 - оболочка из полиэтилена; 2 - изоляция из пенополиуретана; 3 - центрирующая опора; 4 - проводник-индикатор системы ОДК; 5 - стальная труба

Рисунок В.3 - Тройник

Таблица В.3 - Тройник                                                                                    В миллиметрах

 

d1

57

76

89

108

133

159

219

273

325

426

530

630

720

820

920

1020

d2

57

X

 

 

 

 

 

 

 

 

 

 

 

 

 

 

 

76

X

X

 

 

 

 

 

 

 

 

 

 

 

 

 

 

89

X

X

X

 

 

 

 

 

 

 

 

 

 

 

 

 

108

X

X

X

X

 

 

 

 

 

 

 

 

 

 

 

 

133

X

X

X

X

X

 

 

 

 

 

 

 

 

 

 

 

159

X

X

X

X

X

X

 

 

 

 

 

 

 

 

 

 

219

X

X

X

X

X

X

X

 

 

 

 

 

 

 

 

 

273

X

X

X

X

X

X

X

X

 

 

 

 

 

 

 

 

325

X

X

X

X

X

X

X

X

X

 

 

 

 

 

 

 

426

X

X

X

X

X

X

X

X

X

X

 

 

 

 

 

 

530

X

X

X

X

X

X

X

X

X

X

X

 

 

 

 

 

630

X

X

X

X

X

X

X

X

X

X

X

X

 

 

 

 

720

X

X

X

X

X

X

X

X

X

X

X

X

2020

 

 

 

820

X

X

X

X

X

X

X

X

X

X

X

X

2020

2120

 

 

920

X

X

X

X

X

X

X

X

X

X

X

X

2020

2120

2220

 

1020

X

X

X

X

X

X

X

X

X

X

X

X

2020

2120

2220

2320

Примечание - Х - для всех тройников неуказанные типоразмеры L=2000 мм

В.3.2 Пример условного обозначения тройника диаметром 57- 57 мм с изоляцией типа 1:

Тройник Ст 57-57-1-ППУ-ПЭ ГОСТ 30732-2001

В.4 Тройниковое ответвление

В.4.1 Конструкция и размеры тройникового ответвления должны соответствовать рисунку В4 и таблицам В.4-В.6

1 - стальной отвод; 2 - оболочка из полиэтилена; 3 - проводник-индикатор системы ОДК; 4 - изоляция из пенополиуретана; 5 - электроизоляционная трубка по ГОСТ 22056; 6 - центрирующая опора

Рисунок В.4 - Тройниковое ответвление

В.4.2 Пример условного обозначения тройникового ответвления диаметром 426-219 мм с изоляцией типа 1:

Тройниковое ответвление Ст 426-219-1 ППУ-ПЭ ГОСТ 30732-2001

Таблица В.4 - Тройниковое ответвление                                                       В миллиметрах

 

L1 при d2

57

76

89

108

133

159

219

273

325

426

530

630

720

820

920

1020

d1

57

730

 

 

 

 

 

 

 

 

 

 

 

 

 

 

 

76

760

770

 

 

 

 

 

 

 

 

 

 

 

 

 

 

89

790

800

810

 

 

 

 

 

 

 

 

 

 

 

 

 

108

810

820

830

850

 

 

 

 

 

 

 

 

 

 

 

 

133

850

860

870

880

900

 

 

 

 

 

 

 

 

 

 

 

159

880

900

910

920

930

950

 

 

 

 

 

 

 

 

 

 

219

980

990

1000

1010

1030

1040

1070

 

 

 

 

 

 

 

 

 

273

1100

1110

1120

1130

1150

1160

1190

1220

 

 

 

 

 

 

 

 

325

1170

1180

1190

1200

1220

1230

1260

1290

1320

 

 

 

 

 

 

 

426

1320

1330

1340

1360

1370

1390

1420

1450

1480

1540

 

 

 

 

 

 

530

 

1550

1560

1570

1580

1600

1630

1660

1690

1750

1710

 

 

 

 

 

630

 

 

1680

1700

1710

1730

1760

1790

1820

1880

1840

1940

 

 

 

 

720

 

 

 

1840

1850

1870

1900

1930

1940

2020

1980

2080

2120

 

 

 

820

 

 

 

 

1990

2010

2040

2070

2100

2160

2120

2230

2260

2310

 

 

920

 

 

 

 

 

2140

2180

2220

2260

2300

2340

2380

2420

2455

2490

 

1020

 

 

 

 

 

 

2290

2330

2380

2420

2460

2510

2555

2590

2640

2680

Окончание таблицы В.4                                                                                   В миллиметрах

 

L1 при d2

57

76

89

108

133

159

219

273

325

426

530

630

720

820

920

1020

d1

57

1160

 

 

 

 

 

 

 

 

 

 

 

 

 

 

 

76

1160

1180

 

 

 

 

 

 

 

 

 

 

 

 

 

 

89

1160

1180

1200

 

 

 

 

 

 

 

 

 

 

 

 

 

108

1160

1180

1200

1200

 

 

 

 

 

 

 

 

 

 

 

 

133

1160

1180

1200

1200

1245

 

 

 

 

 

 

 

 

 

 

 

159

1160

1180

1200

1200

1245

1270

 

 

 

 

 

 

 

 

 

 

219

1160

1180

1200

1200

1245

1270

1335

 

 

 

 

 

 

 

 

 

273

1160

1180

1200

1200

1245

1270

1335

1520

 

 

 

 

 

 

 

 

325

1160

1180

1200

1200

1245

1270

1335

1520

1570

 

 

 

 

 

 

 

426

1160

1180

1200

1200

1245

1270

1335

1520

1570

1680

 

 

 

 

 

 

530

 

1180

1200

1220

1245

1270

1335

1520

1570

1680

1830

 

 

 

 

 

630

 

 

1200

1220

1245

1270

1335

1520

1570

1680

1830

1920

 

 

 

 

720

 

 

 

1220

1245

1270

1335

1520

1570

1680

1830

1920

2020

 

 

 

820

 

 

 

 

1245

1270

1335

1520

1570

1680

1830

1920

2020

2120

 

 

920

 

 

 

 

 

1270

1335

1520

1570

1680

1830

1920

2020

2120

2220

 

1020

 

 

 

 

 

 

1335

1520

1570

1680

1830

1920

2020

2120

2220

2320


Таблица В.5 - Допуск по толщине стенок                                                     В миллиметрах

 

 

Трубы и допуски на ответвлениях

Основная труба

57×3

57×3+2

 

 

 

 

 

 

 

 

 

76×3

76×3+2

 

 

 

 

 

 

 

 

89×4

57×4

76×4

89×4-2

 

 

 

 

 

 

 

108×4

108×4+2

 

 

 

 

 

 

133×4

133×4+2

 

 

 

 

 

159×4,5

57×4,5

76×4,5

89×4,5

108×4,5

133×4,5

159×4,5+2

 

 

 

219×6

57×6±2

76×6±2

89×6±2

108×6±2

133×6±2

159×6

219×6+2

 

 

 

273×7

57×7±2

76×7±2

89×7±2

108×7±2

133×7±2

159×7±2

219×7

273×7+2

 

 

325×7

325×7+2

 

426×7

426×7+2

530×7

630×8

57×8±2

76×8±2

89×8±2

108×8±2

133×8±2

159×8±2

219×8±2

273×8

325×8

426×8

720×8

820×9

57×9±2

76×9±2

89×9±2

108×9±2

133×9±2

159×9±2

219×9±2

273×9±2

325×9±2

426×9±2

920×9

1020×10

57×10

76×10

89×10

108×10

133×10

159×10

219×10

273×10

325×10

426×10

Окончание таблицы В.5

 

 

Трубы и допуски на ответвлениях

Основная труба

530×7

530×7+2

 

 

 

 

 

630×8

530 ×8

630×8+2

 

 

 

 

720×8

720×8+2

 

 

 

820×9

530×9±2

630×9

720×9

820×9+2

 

 

920×9

920×9+2

 

1020×10

530×10

630×10±2

720×10±2

820×10

920×10

1020×10+2


Таблица В.6                                                                                                       В миллиметрах

 

Диаметр ответвления

57

76

89

108

133

159

Толщина стенки

трубы

отвода

трубы

отвода

трубы

отвода

трубы

отвода

трубы

отвода

трубы

отвода

Основная труба

57´3

3

3; 5

 

 

 

 

 

 

 

 

 

 

4

5

 

 

 

 

 

 

 

 

 

 

5

5

 

 

 

 

 

 

 

 

 

 

76´3

3

3; 5

3

3; 5; 6

 

 

 

 

 

 

 

 

4

5

4

6

 

 

 

 

 

 

 

 

5

5

5

6

 

 

 

 

 

 

 

 

89´4

3

3; 5

3

3; 5; 6

4

6

 

 

 

 

 

 

4

5

4

6

5

6

 

 

 

 

 

 

5

5

5

6

6

6

 

 

 

 

 

 

 

 

6

6

 

 

 

 

 

 

 

 

108´4

3

3; 5

3

3; 5; 6

4

6

4

4; 6

 

 

 

 

4

5

4

6

5

6

5

6

 

 

 

 

5

5

5

6

6

6

6

6;8

 

 

 

 

 

 

6

6

 

 

 

 

 

 

 

 

133´4

3

3; 5

3

3; 5; 6

4

6

4

4; 6

4

4; 5

 

 

4

5

4

6

5

6

5

6

5

5

 

 

5

5

5

6

6

6

6

6; 8

6

8

 

 

 

 

6

6

 

 

 

 

6,5

8

 

 

159´4,5

3

3; 5

3

3; 5:6

4

6

4

4; 6

4

4,5

4,5

6

4

5

4

6

5

6

5

6

5

5

5

6

5

5

5

6

6

6

6

6; 8

6

8

6

6; 8

 

 

6

6

 

 

6,5

8

7

8

6,5

8

 

 

 

 

 

 

 

 

8

8

 

 

Продолжение таблицы В.6

 

Диаметр ответвления

57

76

89

108

133

159

219

273

325

426

Толщина стенки

трубы

отвода

трубы

отвода

трубы

отвода

трубы

отвода

трубы

отвода

трубы

отвода

трубы

отвода

трубы

отвода

трубы

отвода

трубы

отвода

Основная труба

219´6

4

5

4

6

4

6

4

4; 6

4

4; 5

4,5

6

6

8

 

 

 

 

 

 

5

5

5

6

5

6

5

6

5

5

5

6

7

8

 

 

 

 

 

 

 

 

6

6

6

6

6

6; 8

6

8

6

6; 8

8

8; 10

 

 

 

 

 

 

 

 

 

 

 

 

7

8

7

8

7

8

 

 

 

 

 

 

 

 

 

 

 

 

 

 

8

8

8

8

8

8

 

 

 

 

 

 

 

 

273´7

5

5

5

6

5

6

5

6

5

5

5

6

6

8

7

10

 

 

 

 

 

 

6

6

6

6

6

6; 8

6

8

6

6; 8

7

8

8

10

 

 

 

 

 

 

 

 

 

 

7

8

7

8

7

8

8

8; 10

9

10

 

 

 

 

 

 

 

 

 

 

8

8

8

8

8

8

9

10

 

 

 

 

 

 

325´7

5

5

5

6

5

6

5

6

5

5

5

6

6

8

7

10

7

10

 

 

 

 

6

6

6

6

6

6; 8

6

8

6

6; 8

7

8

8

10

8

10

 

 

 

 

 

 

 

 

7

8

7

8

7

8

8

8; 10

9

10

9

10

 

 

 

 

 

 

 

 

8

8

8

8

8

8

9

10

 

 

 

 

 

 

426´7

5

5

5

6

5

6

5

6

5

5

5

6

6

8

7

10

7

10

7

10

 

 

6

6

6

6

6

6; 8

6

8

6

6; 8

7

8

8

10

8

10

8

10

 

 

 

 

 

 

7

8

7

8

7

8

8

8; 10

9

10

9

10

9

10

 

 

 

 

 

 

8

8

8

8

8

8

9

10

 

 

 

 

 

 

530´7

5

5

5

6

5

6

5

6

5

5

5

6

6

8

7

10

7

10

7

10

 

 

6

6

6

6

6

6; 8

6

8

6

6; 8

7

8

8

10

8

10

8

10

 

 

 

 

 

 

7

8

7

8

7

8

8

8; 10

9

10

9

10

9

10

 

 

 

 

 

 

8

8

8

8

8

8

9

10

 

 

 

 

 

 

630´8

5

5

6

6

6

6

6

6; 8

6

8

6

6; 8

6

8

7

10

7

10

7

10

 

 

 

 

 

 

7

8

7

8

7

8

7

8

8

10

7

10

8

10

 

 

 

 

 

 

8

8

8

8

8

8; 10

8

8;10

9

10

9

10

9

10

 

 

 

 

 

 

 

 

 

 

9

10

9

10

10

10

10

10

10

10

 

 

 

 

 

 

 

 

 

 

10

10

10

10

 

 

 

 

 

 

720´8

5

5

6

6

6

6

6

7; 8

6

8

6

6; 8

6

8

7

10

7

10

7

10

 

 

 

 

 

 

7

8

7

8

7

8

7

8

8

10

8

10

8

10

 

 

 

 

 

 

8

8

8

8

8

8;10

8

8;10

9

10

9

10

9

10

 

 

 

 

 

 

 

 

 

 

9

10

9

10

10

10

10

10

10

10

 

 

 

 

 

 

 

 

 

 

10

10

10

10

 

 

 

 

 

 

820´9

5

5

6

6

6

6

7

8

7

8

7

8

7

8

7

10

7

10

7

10

 

 

 

 

 

 

8

8

8

8

8

8;10

8

8;10

8

10

8

10

8

10

 

 

 

 

 

 

 

 

 

 

9

10

9

10

9

10

9

10

9

10

 

 

 

 

 

 

 

 

 

 

10

10

10

10

10

10

10

10

10

10

920´9

5

5

6

6

6

6

7

8

7

8

7

8

7

8

7

10

7

10

7

10

 

 

 

 

 

 

8

8

8

8

8

8;10

8

8;10

8

10

8

10

8

10

 

 

 

 

 

 

 

 

 

 

9

10

9

10

9

10

9

10

9

10

 

 

 

 

 

 

 

 

 

 

10

10

10

10

10

10

10

10

10

10

1020´10

5

5

6

6

6

6

7

8

7

8

7

8

7

8

7

10

7

10

7

10

 

 

 

 

 

 

8

8

8

8

8

8;10

8

8;10

8

10

8

10

8

10

 

 

 

 

 

 

 

 

 

 

9

10

9

10

9

10

9

10

9

10

 

 

 

 

 

 

 

 

 

 

10

10

10

10

10

10

10

10

10

10

Продолжение таблицы В.6

 

Диаметр ответвления

530

630

720

820

920

1020

Толщина стенки

трубы

отвода

трубы

отвода

трубы

отвода

трубы

отвода

трубы

отвода

трубы

отвода

Основная труба

530´7

7

10

 

 

 

 

 

 

 

 

 

 

8

10

 

 

 

 

 

 

 

 

 

 

9

10

 

 

 

 

 

 

 

 

 

 

630´8

7

10

8

10

 

 

 

 

 

 

 

 

8

10

9

10

 

 

 

 

 

 

 

 

9

10

10

10; 12

 

 

 

 

 

 

 

 

10

10; 12

 

 

 

 

 

 

 

 

 

 

720´8

7

10

8

10

8

11*

 

 

 

 

 

 

8

10

9

10

9

11*

 

 

 

 

 

 

9

10

10

10; 12

10

11*

 

 

 

 

 

 

10

10; 12

 

 

 

 

 

 

 

 

 

 

820´9

7

10

8

10

8

11*

9

11*

 

 

 

 

8

10

9

10

9

11*

10

11*

 

 

 

 

9

10

10

10; 12

10

11*; 12

11

11*

 

 

 

 

10

10; 12

11

12

11

11*; 12

 

 

 

 

 

 

11

12

 

 

 

 

 

 

 

 

 

 

920´9

7

10

8

10

8

11*

9

11*

9

14*

 

 

8

10

9

10

9

11*

10

11*

10

14*

 

 

9

10

10

10; 12

10

11*; 12

11

11*

11

14*

 

 

10

10; 12

11

12

11

11*; 12

 

 

 

 

 

 

11

12

 

 

 

 

 

 

 

 

 

 

1020´10

7

10

8

10

8

11*

9

11*

9

14*

10

14*

8

10

9

10

9

11*

10

11*

10

14*

11

14*

9

10

10

10; 12

10

11*; 12

11

11*

11

14*

12

14*

10

10; 12

11

12

11

11*; 12

 

 

12

14*

 

 

11

12

12

12

12

12

 

 

 

 

 

 

12

12

 

 

 

 

 

 

 

 

 

 

*Отводы сварные

Примечание - При толщине стенки основной трубы, больше указанной в таблице, толщина стенки ответвления должна приниматься исходя из условий:

1) толщина патрубков ответвления должна быть равна толщине стенки основной трубы с допуском по таблице В.5;

 2) толщина стенки отвода должна быть не меньше толщины стенки патрубков ответвления

В.5 Тройник параллельный

В.5.1 Конструкция и размеры параллельного тройника должны соответствовать рисунку В.5 и таблице В.7.

1 - стальной отвод; 2 - электроизоляционная трубка по ГОСТ 22056; 3 - изоляция из пенополиуретана; 4 - центрирующая опора; 5 - проводник-индикатор системы ОДК; 6 - стальная труба; 7 - оболочка из полиэтилена.

Рисунок В.5 - Тройник параллельный

В.5.2 Пример условного обозначения параллельного тройника диаметром 426-219 мм с изоляцией типа 2:

Тройник параллельный Ст 426-219-2-ППУ-ПЭ ГОСТ 30732-2001

Таблица В.7- Тройник параллельный                                                            В миллиметрах

Расстояние между оболочками Н1=150

d1

57

76

89

108

133

159

219

273

325

426

d,

57

57

57

57

57

57

57

57

57

57

Н

290

300

310

320

333

345

378

420

445

500

Продолжение таблицы В.7

L

1000

1000

1000

1500

1500

1500

1500

2000

2000

2000

L1

186

187

190

191

191

191

194

209

209

212

L2

425

425

425

675

675

675

675

925

925

925

Продолжение таблицы В.7                                                                             В миллиметрах

Расстояние между оболочками H1 =150

d1

76

89

108

133

159

219

273

325

426

530

d2

76

76

76

76

76

76

76

76

76

76

Н

310

320

330

343

355

388

430

455

510

585

L

1000

1000

1500

1500

1500

1500

2000

2000

2000

2000

L1

172

175

176

176

176

178

193

194

197

220

L2

400

400

650

650

650

650

900

900

900

900

Продолжение таблицы В.7                                                                             В миллиметрах

Расстояние между оболочками H1 =150

d1

89

108

133

159

219

273

325

426

530

630

d2

89

89

89

89

89

89

89

89

89

89

Н

330

340

353

365

398

440

465

520

595

640

L

1000

1500

1500

1500

1500

2000

2000

2000

2000

2000

L1

166

166

166

166

168

183

183

187

210

205

L2

380

630

630

630

630

880

880

880

880

880

Продолжение таблицы В.7                                                                             В миллиметрах

Расстояние между оболочками Н1 =150

d1

108

133

159

219

273

325

426

530

630

720

d2

108

108

108

108

108

108

108

108

108

108

Н

350

363

375

408

450

475

530

605

650

700

L

1500

1500

1500

1500

2000

2000

2000

2000

2000

2000

L1

146

146

146

148

164

163

167

190

185

190

L2

600

600

600

600

850

850

850

850

850

850

Продолжение таблицы В.7                                                                             В миллиметрах

Расстояние между оболочками H1 =150

d1

133

159

219

273

325

426

530

630

720

820

d2

133

133

133

133

133

133

133

133

133

133

Н

375

388

420

463

488

543

618

663

713

763

L

1500

1500

1500

2000

2000

2000

2000

2000

2000

2000

L1

119

118

121

136

135

140

163

158

163

163

L2

560

560

560

810

810

810

810

810

810

810

Продолжение таблицы В.7                                                                             В миллиметрах

Расстояние между оболочками H1 =150

d1

159

219

273

325

426

530

630

720

820

920

d2

159

159

159

159

159

159

159

159

159

159

Н

405

435

475

500

555

630

675

725

775

825

L

1500

1500

2000

2000

2000

2000

2000

2000

2000

2000

L1

100

100

114

113

117

140

135

140

140

140

L2

525

525

775

775

775

775

775

775

775

775

Продолжение таблицы В.7                                                                             В миллиметрах

Расстояние между оболочками H1 =150

d1

219

273

325

426

530

630

720

820

920

1020

d2

219

219

219

219

219

219

219

219

219

219

Н

565

608

633

688

763

808

858

908

958

1008

L

1500

2000

2000

2000

2000

2000

2000

2000

2000

2000

L1

156

171

170

175

198

198

198

198

198

198

L2

450

700

700

700

700

700

700

700

700

700

Продолжение таблицы В.7                                                                             В миллиметрах

Расстояние между оболочками H1 =150

d1

273

325

426

530

630

720

820

920

1020

d2

273

273

273

273

273

273

273

273

273

Н

650

675

730

805

850

900

950

1000

1050

L

2000

2000

2000

2000

2000

2000

2000

2000

2000

L1

139

138

142

165

160

165

165

165

165

L2

625

625

625

625

625

625

625

625

625

Продолжение таблицы В.7                                                                             В миллиметрах

Расстояние между оболочками H1 =250

d1

325

426

530

630

720

820

920

1020

d2

325

325

325

325

325

325

325

325

Н

713

763

830

875

925

975

1025

1075

L

2000

2000

2000

2000

2000

2000

2000

2000

L1

100

100

115

110

115

115

115

115

L2

550

550

550

550

550

550

550

550

Продолжение таблицы В.7                                                                             В миллиметрах

Расстояние между оболочками H1 =250

d1

426

530

630

720

820

920

1020

d2

426

426

426

426

426

426

426

Н

913

985

1030

1080

1130

1180

1230

L

2000

2000

2000

2000

2000

2000

2000

L1

100

120

115

120

120

120

120

L2

400

400

400

400

400

400

400

Продолжение таблицы В.7                                                                             В миллиметрах

Расстояние между оболочками H1=450

d1

530

630

720

820

920

1020

d2

530

530

530

530

530

530

Н

1160

1205

1255

1305

1355

1405

L

2000

2000

2000

2000

2000

2000

L1

395

390

395

395

395

395

L2

500

500

500

500

500

500

Продолжение таблицы В.7                                                                             В миллиметрах

Расстояние между оболочками H1 =450

d1

630

720

820

920

1020

d2

630

630

630

630

630

Н

1250

1300

1350

1400

1450

L

2000

2000

2000

2000

2000

L1

335

340

340

340

340

Продолжение таблицы В.7

L2

400

400

400

400

400

L1*

260

260

260

260

260

L2*

320

320

320

320

320

* Сварные отводы

Продолжение таблицы В.7

Расстояние между оболочками H1=700

d1

720

820

920

1020

d2*

720

720

720

720

H

1500

1550

1600

1650

L

2000

2000

2000

2000

L1

160

160

160

160

L2

230

230

230

230

* Сварные отводы

Расстояние между оболочками H1=800

d1

820

920

1020

 d2*

820

820

820

H

1800

1850

1900

L

2500

2500

2500

L1

160

160

160

L2

380

380

380

* Сварные отводы

Окончание таблицы В.7

 Расстояние между оболочками H1=900

d1

920

1020

 d2*

920

920

H

2000

2050

L

2500

2500

L1

160

160

L2

280

280

* Сварные отводы

Расстояние между оболочками H1=1000

d1

1020

 d2*

1020

H

2200

L

2500

L1

160

L2

230

* Сварные отводы

В.6 Тройник с шаровым краном воздушника

В.6.1 Конструкция и размеры тройника с шаровым краном воздушника должны соответствовать рисунку В.6 и таблице В.8.

1 - изоляция из пенополиуретана; 2 - центрирующая опора; 3 - проводник-индикатор системы ОДК; 4 - стальная труба; 5 - электроизоляционная трубка по ГОСТ 22056; 6 - оболочка из полиэтилена

Рисунок В.6 - Тройник с шаровым краном воздушника

В.6.2 Пример условного обозначения тройника с шаровым краном воздушника диаметром 159-32 мм с изоляцией типа 1:

Тройник с шаровым краном воздушника Ст 159-32-1-ППУ-ПЭ ГОСТ 30732-2001

Таблица В.8 - Тройник с шаровым краном воздушника                              В миллиметрах

d1

d2

Н

H1

57

32

554

375

76

32

560

380

89

32

570

390

108

32

580

400

133

32

595

425

159

32

605

425

219

32

635

455

273

32

665

480

325

32

690

510

426

32

740

560

530

57

790

610

630

57

840

660

720

57

870

685

820

57

940

755

920

57

985

805

1020

57

1035

855

B.7 Z-образный элемент

В.7.1 Конструкция и размеры Z-образного элемента должны соответствовать рисунку B.7 и таблице В.9.

1 - оболочка из полиэтилена; 2 - стальная труба; 3 - изоляция из пенополиуретана; 4 - центрирующая опора; 5 - стальной отвод; 6 - электроизоляционная трубка по ГОСТ 22056; 7 - проводник-индикатор системы ОДК.

Рисунок B.7 - Z-образный элемент

В.7.2 Пример условного обозначения Z-образного элемента диаметром 108 мм с изоляцией типа 1:

Z-образный элемент Ст 108-1-ППУ-ПЭ ГОСТ 30732-2001.

Таблица В.9 - Z-образный элемент                                                                В миллиметрах

D

L

L1

57

1000

2000

76

1000

2000

89

1000

2000

108

1000

2000

133

1000

2000

159

1000

2000

219

1000

2000

273

1000

2000

325

1050

2100

426

1100

2200

530

1200

2400

630

1280

2560

720

1370

2770

820

1470

2940

920

1570

3140

1020

1620

3240

В.8 Неподвижная опора

В.8.1 Конструкция и размеры неподвижной опоры должны соответствовать рисунку В.8 и таблице В.10.

1 - оболочка из полиэтилена; 2 - стальная труба; 3 - проводник-индикатор системы ОДК; 4 - центрирующая опора; 5 - изоляция из пенополиуретана; 6 - неподвижная опора

Рисунок В.8 - Неподвижная опора

В.8.2 Пример условного обозначения неподвижной опоры для трубы диаметром 76 мм, высотой 275 мм и толщиной 15 мм с изоляцией типа 1:

Неподвижная опора Ст 76- 275х15-1 -ППУ-ПЭ ГОСТ 30732-2001.

Таблица В.10 - Неподвижная опора                                                               В миллиметрах

d

H

s

Р*max

57

255

15,0

7,5

76

275

15,0

7,5

89

295

15,0

12,5

108

315

20,0

20,5

133

340

20,0

26,5

159

400

25,0

36,0

219

460

25,0

50,0

273

550

30,0

75,0

325

650

40,0

90,0

426

750

40,0

120,0

530

900

50,0

150,0

630

1000

50,0

205,0

720

1100

50,0

235,0

820

1300

50,0

310,0

920

1300

60,0

430,0

1020

1400

60,0

470,0

* Максимальная нагрузка на элемент опоры

B.9 Металлическая заглушка изоляции

В.9.1 Конструкция и размеры металлической заглушки изоляции должны соответствовать рисунку В.9.

Рисунок В.9 - Металлическая заглушка изоляции.

В.9.2 Пример условного обозначения заглушки длиной 650 мм для трубы диаметром 108 мм:

Заглушка 108´650 ГОСТ 30732-2001.

В.10 Элемент трубопровода с кабелем вывода

В.10.1 Конструкция и размеры элемента трубопровода с кабелем вывода должны соответствовать рисунку В.10.

1 - стальная труба; 2 - оболочка из полиэтилена; 3 - кабельный вывод; 4 - изоляция из пенополиуретана; 5 - центрирующая опора; 6 - проводник-индикатор системы ОДК.

Рисунок В. 10 - Элемент трубопровода с кабелем вывода

В.10.2 Пример условного обозначения элемента трубопровода с кабелем вывода диаметром 57 мм с изоляцией типа 1:

Элемент трубопровода с кабелем вывода Ст 57-1-ППУ-ПЭ ГОСТ 30732-2001

В.11 Концевой элемент трубопровода с кабелем вывода

В.11.1 Конструкция и размеры концевого элемента трубопровода с кабелем вывода должны соответствовать рисунку В.11.

1 - стальная труба; 2 - оболочка из полиэтилена; 3 - кабельный вывод; 4 - изоляция из пенополиуретана; 5 - центрирующая опора; 6 - проводник-индикатор системы ОДК; 7 - металлическая заглушка изоляции; 8 - герметик (термоусадочное полотно).

Рисунок B.11 - Концевой элемент трубопровода с кабелем вывода

В.11.2 Пример условного обозначения концевого элемента трубопровода с кабелем вывода диаметром 76 мм с изоляцией типа 1:

Концевой элемент трубопровода с кабелем вывода Ст76-1-ППУ-ПЭ ГОСТ 30732-2001.

ПРИЛОЖЕНИЕ Г

(справочное)

Расчетная масса одного метра длины изолированной трубы

Таблица Г.1

Наружный диаметр стальных труб, мм

Масса, кг

Тип 1

Тип 2

57

6,45

6,8

76

8,3

9,0

89

9,8

10,4

108

13,0

13,8

133

16,8

18,3

159

22,3

24,8

219

38,9

43,4

273

58,1

62,6

325

69,5

75,4

426

93,9

102,0

530

125,6

-

630

164,7

-

720

193,4

-

820

243,4

254,8

920

299,8

309,3

1020

363,4

-

Примечание - Плотность пенополиуретана принята равной 80 кг/м3

ПРИЛОЖЕНИЕ Д

(рекомендуемое)

Методика интегральной оценки срока службы пенополиуретановой изоляции труб тепловых сетей при переменном температурном графике теплоносителя

Интегральная оценка срока службы тепловой изоляции труб по данной методике производится в случае использования новых систем пенополиуретанов или новых технологий нанесения тепловой изоляции на трубы.

Методика предусматривает:

- определение долговечности тепловой изоляции труб в зависимости от температуры;

- оценку срока службы тепловой изоляции труб в зависимости от температурного графика теплоносителя.

Д.1 Методика определения долговечности пенополиуретана тепловой изоляции труб в зависимости от температуры

Долговечность тепловой изоляции определяют по критерию прочности на сдвиг в тангенциальном направлении.

В зависимости от температуры долговечность пенополиуретана в общем виде должна подчиняться экспоненциальному закону:

,                                                     (Д.1)

где,  - время старения соответственно для одинакового уровня свойств того или иного критерия долговечности, сут;

Т - температура теплоносителя, °С;

Ту - температура ускоренных испытаний, °С;

Е - эффективная энергия активации процесса старения ( 150 кДж/моль•°С);

R - универсальная газовая постоянная (8,33 Дж/моль).

Контрольные значения долговечности в зависимости от температуры определяют следующим уравнением:

                                     (Д.2)

Для определения кривых долговечности образцы стальных труб (например, диаметром 76 мм) с теплоизоляцией из пенополиуретана в полиэтиленовой оболочке длиной 3 м подвергают тепловому старению в воздушной среде на стенде путем пропуска по стальным трубам теплоносителя с температурами 165, 155, 145, 140°С (по два образца на каждую температуру) в течение времени, приведенного в таблице Д.1.

Таблица Д.1

Температура теплоносителя Т, °С

Время испытаний τ, сут

165

7; 15; 30; 45

155

15; 30; 45; 60

145

30; 45; 60; 75

140

45; 65; 75; 90

После каждого цикла теплового старения теплоизоляцию образцов в средней части поперечно разрезают по периметру (до поверхности стальной трубы), выделяя участок длиной 200 мм. После чего температуру теплоносителя устанавливают на уровне 140 °С и пропускают его в течение суток и затем определяют прочность на сдвиг на тангенциальном направлении согласно 9.21 настоящего стандарта.

По результатам испытаний на сдвиг в тангенциальном направлении определяют экспериментальную зависимость прочности на сдвиг от времени теплового старения при различных температурах теплового старения.

После установления функциональной зависимости прочности на сдвиг от времени при температурах теплового старения определяют значения долговечности при температурах 140, 145,155 и 165 °С при уровне прочности на сдвиг 0,13 МПа.

После определения значений долговечности: τ1, - при температуре 140 °С, τ2 - при температуре 145 °С, τ3 - при температуре 155 °С и τ4 - при температуре 165 °С устанавливают экспериментальную зависимость долговечности от температуры.

Значения долговечности, вычисленные по полученной эмпирической зависимости при различных температурах теплового старения, должны быть не менее контрольных значений долговечности, рассчитанных по уравнению (Д.2) при тех же температурах.

Д.2 Оценка срока службы пенополиуретановой теплоизоляции труб тепловых сетей

Срок службы пенополиуретана теплоизоляции оценивают с учетом воздействия температур исходя из температурного графика теплоносителя применительно к различным климатическим зонам России. Для других климатических зон расчет осуществляется аналогично с применением местных расчетных характеристик.

Годовой температурный график приводится к виду, удобному для использования в последующих расчетах, например для климатической зоны Западной Сибири:

- продолжительность воздействия в отопительный сезон τn (в долях от года) температур до 102 °С (относят к температуре 102 °С), до 110 °С (относят к температуре 110 °С), до 128 °С (относят к температуре 128 °С), до 143 °С (относят к температуре 143 °С), до 149 °С (относят к температуре 149 °С) и до 150 °С (относят к температуре 150 °С).

При указанных температурах по полученной эмпирической зависимости  ƒ определяют долговечность пенополиуретана τin(где п =1-5).

Предполагаемый срок службы (в годах) вычисляют по формуле

.                                       (Д.3)

ПРИЛОЖЕНИЕ Е

(рекомендуемое)

Определение теплопроводности по методу «трубы»

Для определения теплопроводности тепловой изоляции трубы применяют установку (рисунок E.1), представляющую собой стальную трубу диаметром Dн=100-150 мм, длиной не менее 2,0 м. Внутри трубы располагают нагревательный элемент, смонтированный на огнеупорном материале.

1 - стальная труба; 2 - электронагреватель; 3 - испытуемый материал; 4 - изоляция; 5 - термопары; 6 - вольтметр; 7 - амперметр; 8 - автотрансформатор; 9- переключатель; 10 - гальванометр; 11 - сосуд со льдом; 12 - самопишущий гальванометр.

Рисунок E.1

Нагревательный элемент разделяют на три самостоятельные секции по длине трубы. Центральная секция, занимающая 1/3 длины трубы, является рабочей, боковые секции служат для устранения утечек теплоты через торцы.

Трубу устанавливают на подставках на расстоянии 1,5-2 м от пола и стен помещения, в котором производят испытания.

Измерения температуры трубы и поверхности испытуемого материала производят термопарами. Путем регулировки электрической мощности, потребляемой охранными секциями, необходимо добиваться отсутствия перепада температур между рабочей и охранными секциями. Испытания проводят при установившемся тепловом режиме, при котором температура на поверхности трубы и изоляции постоянна во времени.

Расход электрической энергии рабочим нагревателем может определяться как ваттметром, так и отдельно вольтметром и амперметром.

Теплопроводность тепловой изоляции λ, Вт/м×°С, определяют по формуле

,                                                  (Е.1)

где t1и t2 - температура на поверхности трубы и изоляции, °С;

l - длина рабочей секции, м;

d - наружный диаметр стальной трубы, м;

D - наружный диаметр трубы-оболочки, м.

Тепловой поток Q, Вт, определяют по формуле

Q =0,86IV,                                                          (Е.2)

где I - среднее замеренное значение силы тока, А;

V - замеренное напряжение рабочего нагревателя, В.

ПРИЛОЖЕНИЕ Ж

(рекомендуемое)

Определение содержания закрытых пор

Сущность метода заключается в измерении объема воздуха, вытесненного образцом в процессе испытания.

Ж.1 Аппаратура

Воздушный пикнометр (рисунок Ж.1).

Прибор состоит из двух симметрично расположенных и равных по объему систем (рабочей и контрольной), соединенных через два параллельных манометра. Один из манометров - ртутный (2), внутренним диаметром (5 ±0,5) мм и высотой (60 ± 0,5) см, используется для одновременного изменения объемов систем на определенную величину, а также для выравнивания давлений в процессе проведения испытаний; другой манометр с дибутилфталатом (7), внутренним диаметром (3 ± 0,3) мм и высотой (40 ± 0,5) см, - для наблюдения за разностью давлений в обеих системах.

Рабочая система объемом (320 ± 10) см3 включает в себя камеру 3 для образца 4 и левую половину манометров 1 и 2. Камера для образца объемом (300 ± 10 см3) представляет собой цилиндрический сосуд с тщательно пришлифованной крышкой. С помощью крана 5 обе системы могут сообщаться с окружающей атмосферой или быть изолированными от нее и друг от друга. Колба 6 с ртутью служит для изменения давления в обеих системах прибора.

Весы с погрешностью не более 0,01 г.

Линейка металлическая по ГОСТ 427.

Ж.2 Подготовка к испытанию и проведение испытания

Ж.2.1 Для испытания из средней части теплоизоляционного слоя вырезают три образца-кубика размером (25 ± 0,5) мм. Допускается изготавливать образцы размером 25×25×t мм, где t - толщина пенополиуретана.

На поверхности образцов не должно быть пустот (каверн), трещин и других видимых дефектов.

1 - манометр с дибутилфталатом; 2 - ртутный манометр; 3 - камера; 4 - образец; 5 - воздушный кран; 6 - колба с ртутью; 7 - винт; 8 - подставка; 9- кран

Рисунок Ж.1

Перед испытанием образцы кондиционируют в течение 24 ч при температуре (23 ±2) °С.

Ж.2.2 Проверяют симметричность обеих систем прибора (отсутствие разности давлений в обеих системах при максимальном разряжении их без образца), для этого используют монолитный образец из полиуретана, размером по Ж.2.1, объем которого Vм измеряют с погрешностью не более 0,1 см3.

Ж.2.3 Обе системы с окружающей атмосферой соединяют краном 5. Перемещая колбу 6 с помощью подставки 8 (грубо) и винта 7 (точно), устанавливают уровень ртути по нижней части мениска на отметке А.

Ж.2.4 Закрывают камеру крышкой и обе системы изолируют друг от друга и от окружающей атмосферы. Колбу 6 плавно опускают и устанавливают уровень на отметке Б. По истечении (30 ±1) с. измеряют уровень ртути (R0) в левом колене манометра 2

Ж.2.5 Обе системы соединяют с окружающей атмосферой и повторяют испытание в соответствии с Ж.2.3, Ж.2.4 до тех пор, пока три последовательных измерения не дадут одинаковых результатов. Расхождение между последовательными измерениями больше чем на 1 мм указывает на возможность утечки в приборе.

Ж.2.6 Монолитный образец взвешивают с погрешностью не более 0,01 г, помещают в камеру и плотно закрывают крышкой. Затем устанавливают уровень ртути на отметке А и обе системы изолируют друг от друга и от окружающей атмосферы. Уровень ртути устанавливают на отметке Б и по истечении (30 ± 1) с. кран 9 перекрывают. Перемещением колбы 3 уравнивают давление в обеих системах по манометру 7 и по истечении (30 ± 1) с. измеряют уровень ртути R1 в левом колене манометра 2.

Ж.2.7 Определяют постоянную прибора К из зависимости Vм=К(R1-R0). Метки А и Б должны находиться на таком расстоянии друг от друга, чтобы постоянная прибора составляла (1 ± 0,1) см3/мм.

Ж.3 Проведение испытания

Ж.3.1 Измеряют линейные размеры и определяют объем и массу образцов из пенополиуретана.

Ж.3.2 Образец из пенополиуретана помещают в камеру и проводят испытание по Ж.2.5, Ж.2.6.

Ж.4 Обработка результатов

Ж.4.1 Объемное содержание закрытых пор Vз %, вычисляют по формуле

Vз =,                                               (Ж.1)

где V - объем испытуемого образца, см3.

Ж.4.2 За результат испытаний принимают среднеарифметическое параллельных определений.

Ключевые слова: трубы стальные, изделия фасонные стальные, изоляция тепловая, пенополиуретан, оболочка полиэтиленовая, сети тепловые, прокладка бесканальная

 




ГОСТЫ, СТРОИТЕЛЬНЫЕ и ТЕХНИЧЕСКИЕ НОРМАТИВЫ.
Некоммерческая онлайн система, содержащая все Российские Госты, национальные Стандарты и нормативы.
В Системе содержится более 150000 файлов нормативно-технической документации, действующей на территории РФ.
Система предназначена для широкого круга инженерно-технических специалистов.

Рейтинг@Mail.ru Яндекс цитирования

Copyright © www.gostrf.com, 2008 - 2026