Крупнейшая бесплатная информационно-справочная система онлайн доступа к полному собранию технических нормативно-правовых актов РФ. Огромная база технических нормативов (более 150 тысяч документов) и полное собрание национальных стандартов, аутентичное официальной базе Госстандарта. GOSTRF.com - это более 1 Терабайта бесплатной технической информации для всех пользователей интернета. Все электронные копии представленных здесь документов могут распространяться без каких-либо ограничений. Поощряется распространение информации с этого сайта на любых других ресурсах. Каждый человек имеет право на неограниченный доступ к этим документам! Каждый человек имеет право на знание требований, изложенных в данных нормативно-правовых актах!

  


 

ГОСУДАРСТВЕННЫЙ СТАНДАРТ СОЮЗА ССР

МАТЕРИАЛЫ ПОЛИМЕРНЫЕ

МЕТОД ОПРЕДЕЛЕНИЯ ДЫМООБРАЗОВАНИЯ

ГОСТ 24632-81

ГОСУДАРСТВЕННЫЙ КОМИТЕТ СССР ПО СТАНДАРТАМ

Москва

ГОСУДАРСТВЕННЫЙ СТАНДАРТ СОЮЗА ССР

МАТЕРИАЛЫ ПОЛИМЕРНЫЕ

Метод определения дымообразования

Materials polymer
Method for determination of smoke development

ГОСТ
24632-81

Постановлением Государственного комитета СССР по стандартам от 10 марта 1981 г. № 1247 срок действия установлен

с 01.01.1982 г.

до 01.01.1987 г.

Настоящий стандарт распространяется на полимерные материалы и устанавливает метод сравнительной и количественной оценки дымообразования в двух режимах: пламенного горения и тления.

Сущность метода состоит в измерении интенсивности светового потока, проходящего через задымленное пространство в испытательной камере при термическом разложении образца, и вычислении удельной оптической плотности дыма в зависимости от времени испытания, скорости дымообразования, индекса непрозрачности, массовой оптической плотности дыма.

В режиме пламенного горения на образец воздействует тепловое излучение печи и пламя газовой горелки, в режиме тления - только тепловое излучение печи.

Метод не применим для оценки пожароопасности полимерных материалов.

1. ОТБОР ОБРАЗЦОВ

1.1. Для испытания применяют образцы в форме квадрата со стороной 75 мм.

1.2. Толщина образца должна соответствовать толщине материала. При толщине материала более 15 мм толщина образца должна быть (15±0,5) мм.

Рекомендуется из пленочных материалов изготавливать образцы толщиной (0,10±0,05) мм, из листовых материалов - (3,0±0,2) мм.

1.3. Для каждого режима испытания должно быть не менее трех образцов.

2. АППАРАТУРА И МАТЕРИАЛЫ

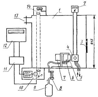
2.1. Для испытания используют установку (см. черт. 1) в которую входят:

камера дымовая герметичная 1 размером (915 ´ 915 ´ 610) мм внутрь которой из-за термического разложения образца выделяется дым, имеющая предохранительную панель 3 для сброса давления, смотровое стекло, вентиляционный канал 13, окно для прохождения светового потока;

Черт. 1

печь излучающая 7, обеспечивающая равномерный по всей экспонируемой поверхности образца тепловой поток плотностью до 4,0 Вт/см2. Мощность нагревателя печи - не более 800 Вт;

держатель образца 5 из нержавеющей стали толщиной 0,5 мм;

горелка шестифакельная 6, представляющая собой трубку из нержавеющей стали диаметром (2,0-2,5) мм. Конструкция держателя и горелки, а также их взаимное расположение приведены на черт. 2;

ротаметр 8 типа РС-ЗА для контроля расхода газа в горелке;

баллон 9 с бытовым газом для горелки;

1 - корпус держателя образца; 2 - образец; 3 - прижимная пластина из асбоцементной плиты толщиной 10 мм; 4 - горелка; 5 - опорные стержни; 6 - пружина из фосфористой бронзы толщиной 0,8 мм; 7 - штырь из стальной проволоки диаметром 3 мм

Черт. 2

система фотометрическая для измерения интенсивности светового потока, состоящая из источника света 14 (лампа накаливания типа К12-30), приемника светового потока 10 (фотоэлемент типа Ф-3) со спектральной чувствительностью, близкой к спектральной чувствительности человеческого глаза, усилителя постоянного тока 11 с пределами от 10-5 до 10-9 А, самопишущего потенциометра (12) типа КСП-4 и системы, формирующей световой поток на фотоэлемент. Фотометрическая система должна обеспечивать измерение светового потока, интенсивностью 0,01% от начального с погрешностью ±3%;

радиометр 4 с милливольтметром 2 для измерения теплового потока излучающей печи, обеспечивающей измерение с погрешностью ±15%.

2.2. Газы природные топливные для коммунально-бытового назначения по ГОСТ 5542-78 или газы углеводородные сжиженные топливные для коммунально-бытового потребления по ГОСТ 20448-80.

2.3. Фольга алюминиевая по ГОСТ 618-73.

3. ПОДГОТОВКА К ИСПЫТАНИЮ

3.1. Образцы закрывают алюминиевой фольгой толщиной 0,05 мм так, чтобы оставалась открытой только экспонируемая поверхность размером (65х65) мм.

Образцы из легкоплавящихся материалов и пленок пришивают по всей экспонируемой поверхности (размер стежка 1 см) к обертке из алюминиевой фольги медной проволокой диаметром не более 0,3 мм.

3.2. Образцы перед испытанием кондиционируют по ГОСТ 12423-66 при температуре (23±2) ºC и относительной влажности (50±5) % не менее 24 ч, если в нормативно-технической документации на материал нет иных указаний.

4. ПРОВЕДЕНИЕ ИСПЫТАНИЯ

4.1. Образец взвешивают с погрешностью не более 0,1 г и устанавливают в держатель, плотно прижав его к кромкам держателя с помощью прижимной пластины, пружины и штыря.

4.2. Излучающую печь выводят на рабочий режим, обеспечивающий плотность теплового потока 2,5 Вт/см2.

Допускается проводить испытания при других плотностях теплового потока, но не более 4,0 Вт/см2. Плотность теплового потока устанавливают с помощью радиометра. После установления заданной плотности теплового потока печи радиометр сдвигают в сторону, освобождая место для образца.

4.3. Включают фотометрическую систему, которая должна быть проверена и отрегулирована.

4.4. При испытании в режиме пламенного горения горелку поджигают, устанавливают расход газа 3,0 см3/с по ротаметру и поворачивают ее в рабочее положение. В режиме тления горелка не работает.

4.5. Держатель с образцом устанавливают на расстоянии 45 мм против излучающего отверстия печи и одновременно, нажатием кнопки «начало отсчета времени» на диаграмме самописца отмечают начало испытаний.

4.6. Испытания заканчивают, когда дымообразование достигнет максимума, что соответствует минимуму светопропускания. После этого включают вентиляцию, открывают дверь камеры и вентилируют камеру до очищения от дыма. Затем вынимают держатель с образцом, освобождают остатки образца и помещают их на 3 ч в эксикатор, после чего взвешивают с погрешностью не более 0,1 г.

4.7. Плотность теплового потока печи контролируют радиометром непосредственно перед началом каждого испытания.

5. ОБРАБОТКА РЕЗУЛЬТАТОВ

5.1. Удельную оптическую плотность дыма (Dуд) вычисляют по формуле

где   V - объем камеры, равный 0,51 м3;

S - экспонируемая поверхность образца, равная 4,225.10-3 м2;

L - длина светового пути, равная 0,915 м;

I0; I - величины, соответствующие интенсивности светового потока в начальный момент и в процессе испытания (соответственно)

5.1.1. Максимальную удельную оптическую плотность дыма Dmax, удельную оптическую плотность дыма за 2- 4-минутный период испытания (Dt=2; Dt=4) вычисляют по формуле

где Imin - величина, соответствующая минимальной интенсивности светового потока в течение испытания;

It=2; It=4 - величины, соответствующие ослаблению интенсивности светового потока за 2-4-минутный период испытания.

5.2. Время (t16), соответствующее достижению Dуд=16, определяют из графика зависимости Dуд=f(t), который строят в соответствии с формулой по п. 5.1 на основании измеренной величины интенсивности светового потока в процессе испытания.

5.3. Максимальная скорость дымообразования определяется наибольшим значением тангенса наклона касательной к линии Dуд=f(t) на участке максимального приращения удельной оптической плотности дыма в минуту.

5.4. Среднюю скорость дымообразования (Kср) вычисляют по формуле

где t0,9; t0,7; t0,5; t0,3; t0,1 - время достижения соответствующих значений 0,9Dm; 0,7Dm; 0,5Dm; 0,3Dm; 0,1Dm, которые определяют графически из зависимости Dуд =f(t).

5.5. Индекс прозрачности дыма (Uнп) вычисляют по формуле

5.6. Массовую оптическую плотность дыма (Dm) вычисляют по формуле

где m - потеря массы образца в граммах, вычисляемая по формуле

m=m1-m2,

где m1 - масса образца до испытания, г;

      m2 - масса образца после испытания, г.

5.7. Запись результатов испытаний оформляют протоколом, в котором указывают:

наименование и марку материала, толщину и прочие сведения о материале;

наименование предприятия, поставившего материал;

условия кондиционирования;

режим испытания - тление, пламенное горение;

плотность теплового потока;

показатели дымообразования;

число образцов, взятых для испытания;

дату испытания, фамилию лица, проводившего испытание;

обозначение настоящего стандарта.

СОДЕРЖАНИЕ

 

 




ГОСТЫ, СТРОИТЕЛЬНЫЕ и ТЕХНИЧЕСКИЕ НОРМАТИВЫ.
Некоммерческая онлайн система, содержащая все Российские Госты, национальные Стандарты и нормативы.
В Системе содержится более 150000 файлов нормативно-технической документации, действующей на территории РФ.
Система предназначена для широкого круга инженерно-технических специалистов.

Рейтинг@Mail.ru Яндекс цитирования

Copyright © www.gostrf.com, 2008 - 2026