Крупнейшая бесплатная информационно-справочная система онлайн доступа к полному собранию технических нормативно-правовых актов РФ. Огромная база технических нормативов (более 150 тысяч документов) и полное собрание национальных стандартов, аутентичное официальной базе Госстандарта. GOSTRF.com - это более 1 Терабайта бесплатной технической информации для всех пользователей интернета. Все электронные копии представленных здесь документов могут распространяться без каких-либо ограничений. Поощряется распространение информации с этого сайта на любых других ресурсах. Каждый человек имеет право на неограниченный доступ к этим документам! Каждый человек имеет право на знание требований, изложенных в данных нормативно-правовых актах!

  


 

Министерство внутренних дел Российской Федерации

Государственная противопожарная служба

Нормы пожарной безопасности

Техника пожарная.

Лицевые части средств индивидуальной защиты органов дыхания пожарных.

Общие технические требования.

Методы испытаний

Fire equipment.

Full face masks for breathing apparatus of fireman.
General technical requirements. Test methods

НПБ 178-99

Москва 1999

Разработаны Главным управлением Государственной противопожарной службы (ГУГПС) (А.И. Жук, Д.П. Игнатьев) и Всероссийским научно-исследовательским институтом противопожарной обороны (ВНИИПО) МВД России (В.Н. Чиркунов, Ю.Н. Маслов).

Внесены и подготовлены к утверждению отделом пожарной техники и вооружения ГУГПС МВД России.

Утверждены и введены в действие приказом ГУГПС МВД России от 19 марта 1999 г. № 19.

Дата введения в действие

1 апреля 1999 г.

1. Область применения

1. Настоящие нормы распространяются на лицевые части дыхательных аппаратов со сжатым воздухом * и кислородных изолирующих противогазов, ** применяемых для защиты органов дыхания и зрения пожарных от вредного воздействия непригодной для дыхания токсичной и задымленной газовой среды при тушении пожаров в зданиях, сооружениях и на производственных объектах различного назначения.

2. Настоящие нормы устанавливают общие технические требования к лицевым частям дыхательных аппаратов и противогазов и методы их испытаний.

3. Настоящие нормы применяются на стадиях разработки, изготовления и испытания лицевых частей дыхательных аппаратов (противогазов), а также при сертификации в Системе сертификации в области пожарной безопасности.

____________

* Далее - дыхательные аппараты.

** Далее - противогазы.

2. Определения

4. В настоящих нормах применяют следующие термины с соответствующими определениями.

4.1. Средство индивидуальной защиты органов дыхания пожарных * - устройство, предназначенное для защиты органов дыхания от опасных факторов пожара, воздействующих ингаляционно.

4.2. Дыхательный аппарат со сжатым воздухом - изолирующий резервуарный аппарат, в котором запас воздуха, используемого для дыхания, хранится в баллонах в сжатом состоянии, при этом выдох осуществляется в атмосферу.

4.3. Кислородный изолирующий противогаз - регенеративный аппарат с замкнутой схемой дыхания, предусматривающей создание газовой смеси, используемой для дыхания, за счет регенерации выдыхаемого воздуха путем поглощения из него двуокиси углерода и добавления кислорода из имеющегося в противогазе запаса.

4.4. Лицевая часть дыхательного аппарата (противогаза) ** - устройство, обеспечивающее подключение дыхательного аппарата (противогаза) к органам дыхания человека по полосе обтюрации.

4.5. Легочная вентиляция - объем воздуха, прошедшего при дыхании человека через легкие за одну минуту.

4.6. Сопротивление воздушному потоку, оказываемое лицевой частью, - разница между давлением воздуха под лицевой частью и атмосферным давлением при различном расходе воздуха.

4.7. Ограничение площади поля зрения в лицевой части - отношение площади полного поля зрения в лицевой части к площади полного поля зрения без лицевой части (ГОСТ 12.4.174).

4.8. Аппаратосмена - период, в течение которого пожарный в ходе выполнения установленного комплекса упражнений расходует основной запас воздуха, содержащийся в баллоне СИЗОД.

__________

* Далее - СИЗОД.

** Далее - лицевая часть.

3. Общие технические требования

5. Требования к показателям назначения

5.1. Лицевая часть должна быть работоспособной при температуре окружающей среды от минус 40 до 60 °С и влажности до 98 %.

5.2. Лицевая часть должна защищать глаза, нос, рот и подбородок человека.

5.3. Конструкция лицевой части должна обеспечивать поддержание избыточного давления в подмасочном пространстве на вдохе и выдохе при работе в составе дыхательного аппарата.

5.4. Герметичность лицевой части

5.4.1. Коэффициент подсоса масляного тумана в подмасочное пространство лицевой части при ее испытании в комплекте с дыхательным аппаратом (противогазом) должен быть не более 0,01 %.

5.4.2. Герметичность лицевой части должна быть такой, чтобы при создании избыточного и вакуумметрического давления, равного (980 ± 20) Па, изменение давления в ней не превышало 50 Па в минуту.

6. Требования к эргономическим показателям

6.1. Лицевая часть должна быть удобной и комфортной при использовании ее в течение 2 ч в комплекте с дыхательным аппаратом и 4 ч в комплекте с противогазом, не должна вызывать болевых ощущений и наминов третьей степени в мягких тканях головы человека (в соответствии с физиолого-гигиеническими требованиями к изолирующим средствам индивидуальной защиты).

6.2. Лицевая часть должна эргономически сочетаться с дыхательным аппаратом (противогазом) и пожарной каской.

6.3. Количество размеров лицевых частей должно быть не более 3.

6.4. Объем вредного («мертвого») пространства лицевой части должен быть не более 250 мл.

6.5. Масса лицевой части должна быть не более 0,7 кг.

6.6. Требования к переговорному узлу лицевой части

6.6.1. Переговорный узел лицевой части должен быть снабжен устройством, обеспечивающим передачу речевых сообщений, применение микротелефонной трубки или радиостанции.

6.6.2. Переговорный узел лицевой части должен иметь кожух для защиты переговорного устройства (мембраны) от механических повреждений.

6.7. Требования к смотровому узлу

6.7.1. Смотровое стекло не должно искажать изображение в процессе эксплуатации лицевой части.

6.7.2. Смотровой узел лицевой части должен обеспечивать общее поле зрения не менее 70 % от поля зрения человека без лицевой части (за исключением смотрового узла лицевой части спасательного устройства дыхательного аппарата).

6.7.3. Смотровое стекло лицевой части не должно запотевать и замерзать в течение всего времени защитного действия при работе в дыхательном аппарате (противогазе) при температуре окружающей среды от минус 40 до 60 °С.

6.7.4. Смотровое стекло должно выдерживать удар стального шара массой (150 ± 2) г, сбрасываемого с высоты (1,5 ± 0,01) м.

6.7.5. Смотровое стекло лицевой части должно сохранять прозрачность в течение всего срока эксплуатации.

6.8. Требования к наголовнику

6.8.1. Конструкция наголовника должна позволять быстро, просто и надежно фиксировать лицевую часть на голове человека.

6.8.2. Наголовник должен быть регулируемым и прочно фиксировать лицевую часть на голове человека. Регулировка не должна самопроизвольно нарушаться в течение всей аппаратосмены.

6.8.3. Лямки наголовника должны выдерживать силу натяжения (150 ± 10) Н, приложенную в продольном направлении, в течение 10 с.

6.8.4. Пряжки крепления наголовника должны выдерживать силу натяжения (150 ± 10) Н, приложенную в продольном направлении, в течение 10 с.

6.9. Требования к соединительному узлу лицевой части

6.9.1. Соединение в лицевой части между корпусом лицевой части и корпусом соединительного узла должно выдерживать осевое растягивающее усилие (500 ± 20) Н.

6.9.2. Съемные детали соединительного узла (уплотнительные прокладки и т. д.) должны прочно фиксироваться во избежание самопроизвольного выпадения во время работы и обслуживания лицевой части.

6.10. Требования к клапану выдоха лицевой части дыхательного аппарата

6.10.1. Конструкция клапана должна быть удобна при обслуживании лицевой части.

6.10.2. Клапан должен работать при любых наклонах головы человека, на которую надета лицевая часть.

6.10.3. Лицевая часть должна иметь кожух для защиты клапана выдоха от загрязнения и механических повреждений в процессе работы и обслуживания.

6.10.4. Корпус клапана выдоха должен выдерживать силу осевого натяжения (150 ± 10) Н в течение 10 с (для лицевых частей, в которых корпус клапана выдоха непосредственно крепится к корпусу лицевой части).

6.10.5. Сопротивление дыханию на выдохе (без дыхательного аппарата) должно быть не более 700 Па при легочной вентиляции 60 дм3/мин и не более 800 Па при легочной вентиляции 85 дм3/мин.

6.11. Сопротивление дыханию лицевой части на вдохе (без дыхательного аппарата) должно быть не более 300 Па при легочной вентиляции 60 дм3/мин.

6.12. Сопротивление дыханию лицевой части противогаза на вдохе и выдохе (без клапанов) должно быть не более 60 Па при легочной вентиляции 60 дм3/мин.

7. Требования устойчивости к внешним воздействиям

7.1. Лицевая часть по климатическому исполнению должна соответствовать ГОСТ 15150 (исполнение У, категория размещения 1), но рассчитана на применение при температуре окружающей среды от минус 40 до 60 °С и относительной влажности до 98 %.

7.2. Лицевая часть должна сохранять работоспособность после воздействия климатических факторов:

температуры (70 ± 3) °С в течение 24 ч;

температуры минус (60 ± 3) °С в течение 4 ч;

температуры (35 ± 2) °С при относительной влажности (90 ± 3) % в течение 72 ч.

7.3. Лицевая часть должна выдерживать воздействие открытого пламени с температурой (800 ± 50) °С в течение (5,0 ± 0,2) с.

7.4. Лицевая часть должна выдерживать воздействие теплового потока плотностью (8,5 ± 0,5) кВт/м2 в течение 20 мин.

7.5. Лицевая часть должна выдерживать транспортную тряску с перегрузкой 3 g (где g - ускорение свободного падения) при частоте от 2 до 3 Гц при имитации:

транспортирования к потребителю в транспортной упаковке;

транспортирования к месту применения.

7.6. Требования устойчивости к воздействию дезинфицирующих растворов и поверхностно-активных веществ (ПАВ)

7.6.1. Лицевая часть должна быть устойчивой к воздействию средств, рекомендованных изготовителем, а также следующих дезинфицирующих растворов:

ректификованного этилового спирта,

водных растворов: 6 % перекиси водорода; 1 % хлорамина; 8 % борной кислоты; 0,5 % марганцовокислого калия.

7.6.2. Лицевая часть должна быть устойчивой к воздействию растворов ПАВ.

8. Маркировка

8.1. На каждой лицевой части должны быть нанесены следующие обозначения:

год и месяц изготовления;

размер (если данный тип лицевой части имеет несколько размеров);

предприятие (фирма)-изготовитель;

условное обозначение того, что лицевая часть предназначена для дыхательных аппаратов с избыточным давлением.

9. Требования к эксплуатационной документации

9.1. К каждой лицевой части должна прилагаться инструкция по эксплуатации.

9.2. Инструкция по эксплуатации должна содержать следующие разделы:

область применения;

подбор, подгонка и правила эксплуатации;

порядок, объем и периодичность проверок;

правила технического обслуживания;

правила хранения;

гарантийные обязательства;

срок службы.

Примечание. Эксплуатационная документация должна быть на русском языке; при поставке лицевой части в составе дыхательного аппарата (противогаза) вышеуказанные сведения допускается оформлять в виде раздела в руководстве по эксплуатации дыхательного аппарата (противогаза).

10. Требования надежности

10.1. Вероятность сохранения исправности лицевой части за время нахождения ее в состоянии ожидания применения в течение 720 ч (30 сут) Pхр (720 ч) должна быть не менее 0,98.

10.2. Средний срок службы tк должен быть не менее 5 лет.

4. Требования безопасности

11. Требования безопасности при работе с лицевой частью дыхательного аппарата (противогаза) должны быть изложены в соответствующих разделах руководства по эксплуатации.

12. Эксплуатация лицевых частей дыхательных аппаратов (противогазов) в подразделениях ГПС МВД России должна проводиться в соответствии с положениями Наставления по газодымозащитной службе Государственной противопожарной службы МВД России.

5. Порядок контроля

13. Для контроля качества лицевых частей проводят следующие испытания по ГОСТ 16504:

приемочные;

квалификационные;

приемосдаточные;

периодические;

сертификационные.

Другие виды контрольных испытаний лицевых частей дыхательных аппаратов (противогазов) по ГОСТ 16504 проводит предприятие-изготовитель по программам испытаний, согласованным с заказчиком.

14. Контроль качества лицевых частей состоит из следующих этапов:

анализа нормативно-технической документации, проверки внешнего вида, комплектации, маркировки;

испытаний с использованием приборов и установок;

испытаний на устойчивость к внешним воздействиям;

испытаний на стенде-имитаторе внешнего дыхания человека;

лабораторных испытаний на людях;

полигонных испытаний;

испытаний на надежность.

Данные об испытаниях лицевых частей, осуществляемых на различных этапах, приведены в табл. 1.

Таблица 1

Пункты настоящих норм

Вид испытаний

Общие технические требования

Метод испытаний

Приемочные

Квалификационные

Приемосдаточные

Периодические

Сертификационные

Анализ нормативно-технической документации, проверка внешнего вида, комплектации, маркировки

6.3

18.1

+

+

+

+

+

6.6.1

18.2

+

+

+

+

+

6.6.2

18.2

+

+

+

+

+

6.10.3

18.2

+

+

+

+

+

7.1

18.1

+

+

+

+

+

8.1

18.2

+

+

+

+

+

9.1

18.1

+

+

+

+

+

9.2

18.1

+

+

+

+

+

10.2

18.1

+

+

+

+

+

Испытания с использованием приборов и установок

5.4.2

19.5

+

+

+

+

+

6.4

19.6

+

-

-

-

+

6.5

19.1

+

+

-

+

+

6.7.4

19.2

+

-

-

+

+

6.8.3

19.3

+

-

-

+

+

6.8.4

19.3

+

-

-

+

+

6.9.1

19.4

+

-

-

+

+

6.10.4

19.4

+

-

-

+

+

Испытания на устойчивость к внешним воздействиям

7.2

20.2

+

-

-

+

+

7.3

20.5

+

-

-

+

+

7.4

20.6

+

-

-

+

+

7.5

20.1

+

-

-

+

+

7.6.1

20.3

+

-

-

+

+

7.6.2

20.4

+

-

-

+

+

Испытания на стенде-имитаторе внешнего дыхания человека

5.3

21

+

+

-

+

+

6.10.5

21

+

+

+

+

+

6.11

21

+

+

+

+

+

6.12

21

+

+

+

+

+

Лабораторные испытания на людях

5.1

22.1

+

-

-

-

+

5.2

22.1

+

-

-

-

+

5.3

22.1

+

-

-

-

+

5.4.1

22.2

+

-

-

-

-

6.1

22.1

+

-

-

-

+

6.2

22.1

+

-

-

-

+

6.7.1

22.1

+

-

-

-

+

6.7.2

22.3

+

-

-

-

-

6.7.3

22.1

+

-

-

-

+

6.8.1

22.1

+

-

-

-

+

6.8.2

22.1

+

-

-

-

+

6.9.2

22.1

+

-

-

-

+

6.10.1

22.1

+

-

-

-

+

6.10.2

22.1

+

-

-

-

+

Полигонные испытания

6.1

23

+

-

-

-

-

6.2

23

+

-

-

-

-

6.7.1

23

+

-

-

-

-

6.7.3

23

+

-

-

-

-

6.8.1

23

+

-

-

-

-

6.8.2

23

+

-

-

-

-

6.9.2

23

+

-

-

-

-

6.10.2

23

+

-

-

-

-

Испытания на надежность

6.7.5

24

+

-

-

-

-

10.1

24

+

-

-

-

-

15. Лицевые части представляются на испытания партиями (не менее трех комплектов каждого наименования) и в количестве, указанном в табл. 2.

Таблица 2

Вид испытаний

Пункты настоящих норм

Количество образцов, представляемых на испытание

Общие технические требования

Метод испытаний

Анализ нормативно- технической документации

6.3; 7.1; 9.1; 9.2; 10.2

18.1

3

Проверка внешнего вида

6.6.1; 6.6.2; 6.10.3

18.2

3

Проверка маркировки

8.1; 8.2

18.2

3

Определение массы лицевой части

6.5

19.1

3

Определение устойчивости смотрового стекла к удару

6.7.4

19.2

1

Определение прочности лямок наголовника и пряжек крепления наголовника

6.8.3; 6.8.4

19.3

1

Определение прочности крепления соединительной коробки к лицевой части

6.9.1

19.4

1

Определение прочности крепления корпуса клапана выдоха к корпусу лицевой части

6.10.4

19.4

1

Определение герметичности лицевой части при избыточном и вакуумметрическом давлении

5.4.2

19.5

3

Определение вредного («мертвого») пространства лицевой части

6.4

19.6

1

Определение устойчивости лицевой части к транспортной тряске

7.5

20.1

1

Испытания на устойчивость к воздействию климатических факторов

7.2

20.2

2

Определение устойчивости лицевой части к воздействию дезинфицирующих растворов

7.6.1

20.3

2

Определение устойчивости лицевой части к воздействию растворов ПАВ

7.6.2

20.4

1

Определение устойчивости лицевой части к воздействию пламени

7.3

20.5

1

Определение устойчивости лицевой части к воздействию теплового потока

7.4

20.6

1

Определение давления воздуха в подмасочном пространстве

5.3

21

1

Определение сопротивления дыханию на вдохе и выдохе

6.10.5; 6.11; 6.12

21

1

Лабораторные испытания лицевых частей на людях: в эргометрическом зале, камерах тепла и холода

5.1; 5.2; 5.3; 6.1; 6.2; 6.7.1; 6.7.3; 6.8.1; 6.8.2; 6.9.2; 6.10.1; 6.10.2

22.1

3

Определение коэффициента подсоса масляного тумана в подмасочное пространство лицевой части

5.4.1

22.2

3

Определение общего поля зрения смотрового узла лицевой части

6.7.2

22.3

3

Полигонные испытания

6.1; 6.2; 6.7.1; 6.7.3; 6.8.1; 6.8.2; 6.9.2; 6.10.2

23

3

Испытания на надежность

6.7.5; 10.1

24

3

16. На испытания представляется следующая нормативно-техническая документация на изделие:

гигиеническое заключение Минздрава России;

технические условия и инструкция по эксплуатации.

Примечание. Нормативно-техническая документация на отечественные изделия должна быть согласована с ГУГПС МВД России в установленном порядке.

17. К лабораторным испытаниям на людях допускаются только те лицевые части, которые прошли испытания с использованием приборов и установок, а также на стенде-имитаторе внешнего дыхания человека, имеют гигиеническое заключение Минздрава России и по результатам испытаний рекомендованы для участия в испытаниях на людях.

6. Методы испытаний

18. Анализ нормативно-технической документации, проверка внешнего вида, комплектации, маркировки

18.1. Анализ нормативно-технической документации проводится путем определения соответствия содержания технической документации на лицевую часть требованиям пп. 7.1, 9.1, 9.2, 10.2 настоящих норм.

18.2. Проверку внешнего вида (пп. 6.3, 6.6.1, 6.6.2, 6.10.3) и маркировки лицевой части (п. 8.1.) проводят визуально, путем определения их соответствия требованиям настоящих норм.

19. Испытания с использованием приборов и установок

19.1. Определение массы лицевой части (п. 6.5 настоящих норм)

19.1.1. Средства измерения:

весы с диапазоном измерений до 3 кг и ценой деления 5 г.

19.1.2. Проведение испытаний.

Определяют массу лицевой части, укомплектованной в соответствии с инструкцией по эксплуатации.

Результат испытания считается положительным, если выполнены требования п. 6.5 настоящих норм.

19.2. Определение устойчивости смотрового стекла лицевой части к удару (п. 6.7.4 настоящих норм)

Испытания проводят в соответствии с п. 7.2.8 НПБ 165-97.

19.3. Определение прочности лямок наголовника и пряжек крепления наголовника (пп. 6.8.3; 6.8.4 настоящих норм)

Испытания проводят последовательно на каждой лямке и пряжке наголовника.

19.3.1. Оборудование:

разрывная установка, создающая и измеряющая усилие с погрешностью не более ±5 %;

секундомер с погрешностью не более ±0,1 с.

19.3.2. Проведение испытаний.

С помощью разрывной установки создают усилие, равное (150 ± 10) Н, которое выдерживают в течение (10,0 ± 0,2) с. После снятия усилия осматривают лямки и пряжки наголовника.

Результат испытания считается положительным, если после его окончания установлено, что отсутствуют визуально наблюдаемые изменения внешнего вида лямок и пряжек.

19.4. Определение прочности крепления соединительной коробки к лицевой части (п. 6.9.1 настоящих норм), прочности крепления корпуса клапана выдоха к корпусу лицевой части (п. 6.10.4)

19.4.1. Оборудование:

муляж головы человека;

система дополнительных ремней, снимающих нагрузку с наголовника лицевой части;

секундомер с погрешностью не более ± 0,1 с;

динамометр для создания и измерения усилия с погрешностью не более 5 %;

заглушка, имитирующая легочный автомат дыхательного аппарата (соединительную или клапанную коробку противогаза).

19.4.2. Подготовка к испытаниям.

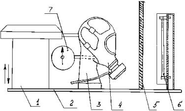
Лицевую часть надевают на муляж головы человека (рис. 1). Поверх лицевой части (в зависимости от конструкции) надевают дополнительную систему ремней, снимающих нагрузку с наголовника. В соединительной коробке лицевой части или в корпусе клапана выдоха (при проверке прочности крепления корпуса клапана выдоха к корпусу лицевой части) закрепляют заглушку, имитирующую легочный автомат дыхательного аппарата (соединительную или клапанную коробку противогаза). Одним концом динамометр закрепляют за заглушку.

Рис. 1. Установка для определения прочности крепления соединительной коробки к лицевой части и корпуса клапана выдоха к корпусу лицевой части:

1 - муляж головы человека; 2 - система дополнительных ремней, снимающих нагрузку с наголовника лицевой части; 3 - лицевая часть; 4 - заглушка

19.4.3. Проведение испытаний.

Динамометром в осевом направлении создают растягивающее усилие, равное (500 ± 20) Н при определении прочности крепления соединительной коробки к лицевой части и (150 ± 10) Н при определении прочности крепления корпуса клапана выдоха к корпусу лицевой части в течение (10 ± 0,2) с. Испытание проводят 10 раз с интервалом 10 с.

После окончания испытания лицевую часть осматривают и проверяют ее герметичность в соответствии с п. 19.5 настоящих норм.

Результат испытания считается положительным, если после его окончания установлено, что отсутствуют визуально наблюдаемые изменения внешнего вида соединительной коробки, лицевой части и клапана выдоха, а также выполнены требования п. 5.4.2 настоящих норм.

19.5. Определение герметичности лицевой части при избыточном и вакуумметрическом давлении (п. 5.4.2 настоящих норм)

Сущность метода состоит в том, что определяют изменение величины избыточного (вакуумметрического) давления, создаваемого в герметизированном подмасочном пространстве лицевой части, после отключения внешнего источника давления (рис. 2).

Рис. 2. Схема стенда для испытания маски на герметичность при избыточном и вакуумметрическом давлении:

1 - запорный вентиль; 2 - дроссель; 3 - соединительный кран; 4 - резиновые соединительные трубки; 5 - мановакуумметр; 6 - герметизирующий зажим; 7 - лицевая часть; 8, 9 - заглушки

Испытания проводят последовательно вначале при избыточном, а затем при вакуумметрическом давлении.

19.5.1. Оборудование и приспособления:

запорный вентиль;

дроссель;

соединительный кран;

резиновые соединительные трубки;

мановакуумметр с диапазоном измерений от минус 1000 до 1000 Па с погрешностью не более ±20 Па;

герметизирующий зажим;

заглушки;

секундомер с погрешностью измерения не более ±0,1 с.

19.5.2. Проведение испытаний.

В патрубки вдоха и выдоха лицевой части ввинчивают заглушки.

Монтируют лицевую часть на сердечнике герметизирующего зажима и герметизируют ее по полосе обтюрации в зажиме.

Открывают соединительный кран и создают дросселем в подмасочном пространстве лицевой части избыточное (вакуумметрическое) давление в пределах (1100 ± 100) Па, которое контролируется по мановакуумметру.

Лицевую часть выдерживают при установленном избыточном (вакуумметрическом) давлении в течение 30 с.

Снижают избыточное (вакуумметрическое) давление в подмасочном пространстве лицевой части до 980 Па с помощью дросселя.

Закрывают соединительный кран и ведут наблюдение за показаниями мановакуумметра в течение (60 ± 0,2) с.

Результат испытания считается положительным, если после него избыточное (вакуумметрическое) давление изменяется не более чем на 50 Па за 1 мин.

19.6. Определение вредного («мертвого») пространства лицевой части (п. 6.4 настоящих норм)

19.6.1. Оборудование и материалы:

муляж головы человека;

мерный сосуд вместимостью не менее 300 мл;

воронка;

льняное семя (500 мл).

19.6.2. Проведение испытаний.

Из лицевой части дыхательного аппарата удаляют клапан выдоха. Лицевую часть надевают на муляж и герметизируют. Муляж кладут на горизонтальный стол патрубком выдоха вверх. В мерный сосуд насыпают 300 мл льняного семени. С помощью воронки через патрубок выдоха льняное семя из мерного сосуда засыпают в подмасочное пространство лицевой части до полного его заполнения.

Разница между первоначальным объемом льняного семени (300 мл) в мерном сосуде и объемом, оставшимся в мерном сосуде после засыпки семени, составляет объем вредного («мертвого») пространства лицевой части.

Результат испытания считается положительным, если выполнено требование п. 6.4 настоящих норм.

20. Испытания на устойчивость к внешним воздействиям

Испытания заключаются в том, что лицевую часть подвергают внешним воздействиям в соответствии с пп. 20.1, 20.2, 20.5, 20.6 и после каждого воздействия проводят проверку соответствия лицевой части требованию п. 5.4.2 настоящих норм.

Испытания должны проводиться при нормальных климатических условиях по ГОСТ 15150.

20.1. Определение устойчивости к транспортной тряске (п. 7.5 настоящих норм)

20.1.1. Оборудование:

стенд-имитатор транспортной тряски, обеспечивающий имитацию транспортирования лицевых частей с диапазоном частот от 2,0 до 3,0 Гц с погрешностью не более 0,1 Гц и ускорением до 3,0 g с погрешностью ±0,1 g;

контейнер, имитирующий ячейку для хранения дыхательного аппарата (противогаза) с лицевой частью в отсеке пожарного автомобиля.

20.1.2. Проведение испытаний.

Устойчивость лицевой части к транспортной тряске при перевозке в упаковке к потребителю проверяют на стенде-имитаторе. Лицевую часть в транспортной упаковке жестко крепят в центре платформы стенда в положении, определяемом надписью или условным знаком "Верх". Испытания проводят с перегрузкой 3 g при частоте от 2 до 3 Гц. Продолжительность испытания 1 ч.

Устойчивость лицевой части в комплекте с дыхательным аппаратом (противогазом) к транспортной тряске при перевозке к месту применения проверяют на стенде-имитаторе. Дыхательный аппарат (противогаз) с лицевой частью в сумке (футляре) закрепляют в контейнере, имитирующем ячейку для хранения дыхательного аппарата (противогаза), в отсеке пожарного автомобиля. Контейнер в вертикальном положении жестко закрепляют в центре платформы стенда. Испытание проводят с перегрузкой 3 g при частоте от 2 до 3 Гц. Продолжительность испытания 0,5 ч.

Результат испытания считается положительным, если после его окончания отсутствуют механические повреждения лицевой части и выполнены требования п. 5.4.2.

20.2. Испытания на устойчивость к воздействию климатических факторов (п. 7.2 настоящих норм)

20.2.1. Оборудование:

климатическая камера вместимостью не менее 0,2 м3, обеспечивающая поддержание температуры в диапазоне от минус 60 до 100 °С с погрешностью не более ±2 °С;

камера тепла и влаги вместимостью не менее 0,2 м3, обеспечивающая поддержание температуры в диапазоне от 20 до 100 °С с погрешностью не более ±2 °С и влажности от 45 до 95 % с погрешностью не более ±3 %.

Определение сохранения работоспособности лицевой части после воздействия температуры 70 °С

Лицевую часть без упаковки выдерживают в климатической камере при температуре (70 ± 3) °С в течение 24 ч. После этого ее выдерживают при нормальных климатических условиях в течение 4 ч.

Результат испытания считается положительным, если после его окончания выполнены требования п. 5.4.2 настоящих норм.

Определение сохранения работоспособности дыхательного аппарата после воздействия температуры минус 60 °С

Лицевую часть без упаковки выдерживают в климатической камере при температуре минус (60 ± 3) °С в течение 4 ч. После этого ее выдерживают при нормальной температуре окружающего воздуха в течение 4 ч.

Результат испытания считается положительным, если после его окончания выполнены требования п. 5.4.2 настоящих норм.

Определение сохранения работоспособности лицевой части после воздействия температуры 35 °С при относительной влажности 90 %

Лицевую часть без упаковки выдерживают в камере тепла и влаги при температуре (35 ± 2) °С, относительной влажности от 94 до 100 % в течение 72 ч; затем - при нормальных климатических условиях в течение 24 ч.

Результат испытания считается положительным, если после его окончания выполнены требования п. 5.4.2 настоящих норм.

20.3. Определение устойчивости лицевой части к воздействию дезинфицирующих растворов (п. 7.6.1 настоящих норм)

20.3.1. Материалы:

марлевые салфетки размером 100 ´ 100 мм;

водный раствор перекиси водорода (6 ± 1) %;

водный раствор хлорамина (1 ± 0,2) %;

водный раствор борной кислоты (8 ± 1) %;

водный раствор марганцовокислого калия (0,5 ± 0,1) %;

ректификованный этиловый спирт.

20.3.2. Проведение испытаний.

Проверку проводят поочередно и отдельно с использованием каждого из перечисленных (п. 20.3.1 настоящих норм) водных растворов, а также спирта.

В выбранном растворе (спирте) следует смочить марлевую салфетку, отжать ее и пятикратно обтереть поверхности лицевой части с интервалом между протирками 15 мин.

Перед каждой протиркой марлевую салфетку необходимо смачивать заново. Объем каждого раствора должен быть не менее 50 г.

Результат испытания считается положительным, если после протирок всеми перечисленными в п. 20.3.1 настоящих норм водными растворами, а также спиртом отсутствуют визуально наблюдаемые изменения обработанных поверхностных слоев лицевой части.

20.4. Определение устойчивости лицевой части к воздействию растворов ПАВ (п. 7.6.2 настоящих норм)

20.4.1. Материалы - пена средней кратности в количестве не менее 50 дм3.

20.4.2. Проведение испытаний.

Проверку проводят погружением лицевой части в пену на 10 мин, после чего ее обмывают чистой водой и просушивают.

Результат испытания считается положительным, если после его окончания не наблюдаются изменения поверхностей лицевой части.

20.5. Определение устойчивости лицевой части к воздействию пламени (п. 7.3 настоящих норм)

20.5.1. Оборудование:

секундомер с погрешностью не более ±0,1 с;

прибор для измерения температуры пламени с погрешностью ±10 °С;

баллон с пропаном;

горелка с форсунками площадью (450 ± 20) см2;

прибор для измерения давления газа с верхним пределом измерений до 5 кПа с погрешностью ±0,2 кПа;

стойка с кронштейном для подвода лицевой части к пламени.

20.5.2. Подготовка к испытаниям.

Лицевую часть закрепляют на специальном ложементе кронштейна поворотной стойки (рис. 3). Включают прибор для измерения температуры пламени. Открывают запорный вентиль баллона с пропаном. Подносят запальное устройство к горелке с целью воспламенить газ. Устанавливают с помощью вентиля рабочее давление газа перед горелкой в диапазоне (2,4 ± 0,2) кПа. Проводят замеры температуры пламени, определяют уровень над горелкой, где температура пламени составляет (800 ± 50) °С.

Рис. 3. Схема огневой установки по определению устойчивости лицевой части к воздействию пламени:

1 - баллон с пропаном; 2, 4 - вентили; 3 - редуктор; 5 - прибор для измерения давления газа; 6 - горелка с форсунками; 7 - лицевая часть; 8 - стойка с кронштейном для подвода лицевой части к пламени

20.5.3. Проведение испытаний.

Лицевую часть помещают в зону открытого пламени, используя кронштейн стойки, и замеряют время по секундомеру. Время выдержки лицевой части в зоне пламени должно составлять (5,0 ± 0,2) с. По истечении этого времени лицевую часть следует убрать из зоны пламени и проверить ее состояние. Лицевая часть не должна поддерживать горение или тление более (5,0 ± 0,2) с.

По окончании огневого испытания проводят визуальный осмотр лицевой части и испытание ее на герметичность.

Результат испытания считается положительным, если после его окончания лицевая часть не поддерживает горение или тление более (5,0 ± 0,2) с, отсутствует разрушение стекла, а также выполняются требования п. 5.4.2 настоящих норм.

20.6. Определение устойчивости лицевой части к воздействию теплового потока (п. 7.4 настоящих норм)

20.6.1. Оборудование:

секундомер с погрешностью не более 0,1 с;

металлический муляж головы человека;

насос «искусственные легкие», имитирующий вентиляционную функцию легких человека и создающий легочную вентиляцию 60 дм3 /мин (25 циклов/ мин по 2,4 дм3/цикл);

датчик для измерения плотности теплового потока, диапазон измерений от 2 до 100 кВт/м2 с погрешностью не более 5 %;

мановакуумметр с диапазоном измерений от минус 1000 до 1000 Па с погрешностью не более 20 Па.

20.6.2. Подготовка к испытаниям.

Перед испытаниями проверяют герметичность лицевой части на соответствие требованиям п. 5.4.2 настоящих норм. Муляж головы человека с надетой лицевой частью подключают к насосу «искусственные легкие» и определяют сопротивление дыханию на вдохе и выдохе при легочной вентиляции 60 дм3 /мин (рис. 4).

Включают источник теплового потока и с помощью датчика определяют место, в котором создается плотность теплового потока (8,5 ± 0,5) кВт/м2, и отмечают данное место на подставке.

Устанавливают на подставку разделительный экран. На отмеченное место ставят муляж головы человека с надетой лицевой частью, подключенный к насосу «искусственные легкие», после чего убирают разделительный экран. Испытания проводят в течение 20 мин. В процессе испытания контролируют сопротивление дыханию на вдохе и выдохе лицевой части при легочной вентиляции 60 дм3/мин.

Рис. 4. Схема установки по определению устойчивости лицевой части к тепловому излучению:

1 - насос «искусственные легкие»; 2 - подставка; 3 - металлический муляж головы человека; 4 - лицевая часть; 5 - разделительный экран; 6 - источник теплового излучения; 7 - мановакуумметр

По окончании испытания проводят визуальный осмотр лицевой части и испытание ее на герметичность.

Результат считается положительным, если в процессе испытания сопротивление на вдохе и выдохе удовлетворяет требованиям пп. 6.10.5, 6.11, 6.12 настоящих норм, по его окончании отсутствует разрушение стекла, а также выполняются требования п. 5.4.2 настоящих норм.

21. Испытания лицевых частей на стенде-имитаторе внешнего дыхания человека (пп. 5.3, 6.10.5, 6.11, 6.12 настоящих норм)

Испытания проводятся в соответствии с п. 7.4.1 НПБ 165-97 (для лицевых частей дыхательных аппаратов) и п. 7.4 НПБ 164-97 (для лицевых частей противогазов).

В процессе испытаний определяют следующие показатели:

давление воздуха в подмасочном пространстве (для лицевых частей дыхательных аппаратов, п. 5.3 настоящих норм);

сопротивление дыханию на вдохе и выдохе (пп. 6.10.5, 6.11, 6.12 настоящих норм).

Результат проверки исполнения лицевой части дыхательного аппарата (п. 5.3 настоящих норм) считается положительным, если давление в подмасочном пространстве лицевой части (при различных значениях легочной вентиляции и температуры окружающего воздуха) более 0.

Результаты испытаний считаются положительными, если выполнены требования пп. 6.10.5, 6.11, 6.12 настоящих норм.

22. Лабораторные испытания лицевых частей на людях

Лицевые части испытывают в комплекте с дыхательным аппаратом (противогазом) для пожарных, имеющим сертификат пожарной безопасности, на соответствие требованиям НПБ 165-97 или НПБ 164-97.

Испытания проводят в соответствии с п. 7.5 НПБ 165-97 (для лицевых частей дыхательных аппаратов) и п. 7.5 НПБ 164-97 (для лицевых частей противогазов).

22.1. Испытания в эргометрическом зале, камерах тепла и холода (пп. 5.1-5.3, 6.1, 6.2, 6.7.1, 6.7.3, 6.8.1, 6.8.2, 6.9.2, 6.10.1, 6.10.2 настоящих норм)

В процессе испытаний определяют следующее:

работоспособность лицевой части (п. 5.1 настоящих норм);

исполнение лицевой части (п. 5.2 настоящих норм);

давление воздуха в подмасочном пространстве (для лицевых частей дыхательных аппаратов, п. 5.3 настоящих норм);

эргономические показатели (пп. 6.1, 6.2, 6.7.1, 6.8.1, 6.8.2, 6.9.2, 6.10.1, 6.10.2 настоящих норм);

запотевание и замерзание смотрового стекла лицевой части (п. 6.7.3 настоящих норм).

Результат проверки работоспособности лицевой части (п. 5.1 настоящих норм) считается положительным, если во всех испытаниях (при различных температурах окружающего воздуха) значения сопротивления дыханию на вдохе и выдохе не превышают значений, указанных в пп. 6.10.5, 6.11, 6.12 настоящих норм.

Результат проверки исполнения лицевой части дыхательного аппарата (п. 5.3 настоящих норм) считается положительным, если во всех испытаниях давление в подмасочном пространстве лицевой части (при различных температурах окружающего воздуха) более 0.

Результат проверки работоспособности стекла лицевой части (п. 6.7.3 настоящих норм) считается положительным, если во всех испытаниях (при различных значениях легочной вентиляции и температуры окружающего воздуха) отсутствуют визуально наблюдаемые замерзание и запотевание смотрового стекла лицевой части.

Результаты испытаний считаются положительными, если выполнены требования пп. 5.2, 6.1, 6.2, 6.7.1, 6.8.1, 6.8.2, 6.9.2, 6.10.1, 6.10.2 настоящих норм.

22.2. Определение коэффициента подсоса масляного тумана в подмасочное пространство лицевой части (п. 5.4.1 настоящих норм)

Испытания проводят в соответствии с п. 7.5.2 НПБ 165-97.

Результат испытания считается положительным, если выполнены требования п. 5.4.1 настоящих норм.

22.3. Определение общего поля зрения смотрового узла лицевой части (п. 6.7.2 настоящих норм)

Испытания проводят в соответствии с п. 7.5.3 НПБ 165-97.

Результат испытания считается положительным, если выполнены требования п. 6.7.2 настоящих норм.

23. Полигонные испытания (пп. 6.1, 6.2, 6.7.1, 6.7.3, 6.8.1, 6.8.2, 6.9.2, 6.10.2 настоящих норм)

Лицевые части испытывают в комплекте с дыхательным аппаратом (противогазом) для пожарных, имеющим сертификат пожарной безопасности, на соответствие требованиям НПБ 165-97 или НПБ 164-97.

Испытания проводят в соответствии с п. 7.6 НПБ 165-97 (для лицевых частей дыхательных аппаратов) и п. 7.6 НПБ 164-97 (для лицевых частей противогазов).

Результаты испытаний считаются положительными, если выполнены требования пп. 6.1, 6.2, 6.7.1, 6.7.3, 6.8.1, 6.8.2, 6.9.2, 6.10.2 настоящих норм.

24. Испытания на надежность (пп. 6.7.5, 10.1 настоящих норм)

Проверка соответствия лицевой части требованиям п. 6.7.5 настоящих норм проводится разработчиком по методикам, подготовленным в инициативном порядке.

Для проверки выполнения требования п. 10.1 настоящих норм лицевые части (в количестве 3 шт.) должны находиться в режиме ожидания применения в течение 720 ч (30 сут).

Результат испытания лицевой части на соответствие требованиям п. 10.1 настоящих норм считается положительным, если по окончании выдержки лицевой части в течение 720 ч (30 сут) выполнены требования пп. 5.4.2, 6.10.5, 6.11, 6.12 настоящих норм.

Приложение

Перечень использованных в НПБ стандартов и других нормативных документов

В настоящих НПБ использованы ссылки на следующие стандарты:

ГОСТ 12.4.174-87 Система стандартов безопасности труда. Средства индивидуальной защиты органов дыхания. Номенклатура показателей качества.

ГОСТ 15150-69 Машины, приборы и другие технические изделия. Исполнения для различных климатических районов. Категории, условия эксплуатации, хранения и транспортирования в части воздействия климатических факторов внешней среды.

ГОСТ 16504-81 Система государственных испытаний продукции. Испытания и контроль качества продукции. Основные термины и определения.

НПБ 164-97. Техника пожарная. Кислородные изолирующие противогазы (респираторы) для пожарных. Общие технические требования. Методы испытаний.

НПБ 165-97. Техника пожарная. Дыхательные аппараты со сжатым воздухом для пожарных. Общие технические требования. Методы испытаний.

Физиолого-гигиенические требованиям к изолирующим средствам индивидуальной защиты, утвержденные Министерством здравоохранения СССР.

Наставление по газодымозащитной службе Государственной противопожарной службы МВД России (приказ МВД России от 30.04.1996 г. № 234).

Уважаемые коллеги!

В целях реализации Федерального закона «О пожарной безопасности» Главное управление Государственной противопожарной службы МВД России совместно с Всероссийским научно-исследовательским институтом противопожарной обороны и Московским институтом пожарной безопасности приступили к изданию норм пожарной безопасности.

СОДЕРЖАНИЕ

 

 




ГОСТЫ, СТРОИТЕЛЬНЫЕ и ТЕХНИЧЕСКИЕ НОРМАТИВЫ.
Некоммерческая онлайн система, содержащая все Российские Госты, национальные Стандарты и нормативы.
В Системе содержится более 150000 файлов нормативно-технической документации, действующей на территории РФ.
Система предназначена для широкого круга инженерно-технических специалистов.

Рейтинг@Mail.ru Яндекс цитирования

Copyright © www.gostrf.com, 2008 - 2026