|
|
|
Исполнительный комитет ТЕХНИЧЕСКОЕ УПРАВЛЕНИЕ ИНСТРУКЦИЯ ВСН 175-82 МОСКВА - 1982 Настоящая «Инструкция по строительству дорожных асфальтобетонных покрытий в г. Москве» обязательна для всех организаций, выполняющих проектирование, строительство и ремонт дорог в г. Москве. «Инструкция» вводится взамен следующих нормативных документов: ВСН 8-62 (1), ВСН 4-66 (2), ВСН 5-68 (3). «Инструкция» разработана на основе научно-исследовательских и экспериментальных работ НИИМосстроя, выполненных за период с 1962 по 1980 г. с участием треста Мосасфальтстрой Главмосинжстроя и объединения Асфальтобетон Главмосдоруправления, и обобщения отечественного и зарубежного опыта строительства дорожных асфальтобетонных покрытий на транспортных магистралях и улицах и автомобильных дорогах, а также с учетом требований действующих Строительных норм и правил, Государственных стандартов и ведомственных строительных норм. «Инструкция» согласована с Техническим управлением Мосгорисполкома, ГлавАПУ, СоюздорНИИ, Мосинжпроектом, Главмосинжстроем, Главмосдоруправлением, трестом Мосасфальтстрой, Мосгоркомом профсоюза рабочих строительства и промстройматериалов. Размерности физических единиц приняты по СН-528-80 «Перечень единиц физических величин, подлежащих применению в строительстве». Составители: В. Н. Кононов, М. И. Клейман (НИИМосстрой), Э. С. Файнберг (Главмосинжстрой), Ю. П. Гончаров (Главмосдоруправление). Руководитель разработки В. Н. Кононов. СОДЕРЖАНИЕ
1. ОБЩАЯ ЧАСТЬТипы конструкций дорожных
одежд с асфальтобетонными
|
|||||||||||||||||||||||||||||||||||||||||||||||||||||||||||||||||||||||||||||||||||||||||||||||||||||||||||||||||||||||||||||||||||||||||||||||||||||||||||||||||||||||||||||||||||||||||||||||||||||||||||||||||||||||||||||||||||||||||||||||||||||||||||||||||||||||||||||||||||||||||||||||||||||||||||||||||||||||||||||||||||||||||||||||||||||||||||||||||||||||||||||||||||||||||||||||||||||||||||||||||||||||||||||||||||||||||||||||||||||||||||||||||||||||||||||||||||||||||||||||||||||||||||||||||||||||||||||||||||||||||||||||||||||||||||||||||||||||||||||||||||||||||||||||||||||||||||||||||||||||||||||||||||||||||||||||||||||||||||||||||||||||||||||||||||||||||||||||||||||||||||||||||||||||||||||||||||||||||||||||||||||||||||||||||||||||||||||||||||||||||||||||||||||||||||||||||||||||||||||||||||||||||||||||||||||||||||||||||||||||||||||||||||||||||||||||||||||||||||||||||||||||||||||||||||||||||||||||||||||||||||||||||||||||||||||||||||||||||||||||||||||||||||||||||||||||||||||||||||||||
|
Внесены |
УТВЕРЖДЕНЫ |
Срок |

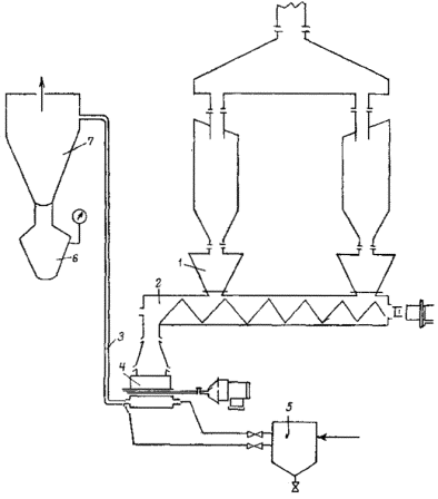
Рис. 1 Принципиальные схемы дорожных одежд с асфальтобетонным покрытием:
I - асфальтобетонное покрытие на технологическом щебеночном слое; II - то же, на грунте; III - то же, на бетонном основании из тощего бетона; IV - то же, на бетонном основании из бетона 200; 1 - слой износа (асфальтовый бетон типа. А, Б, В, Г, Д; литой, декоративный); 2 - основной (нижний) слой (крупно-, среднезернистый асфальтовый бетон, регенерированный); 3 - основание (тощий бетон); 4 - основание (бетон 200); 5 - технологический слой (щебеночные и гравийные материалы с обработкой или без обработки вяжущими); 6 - то же (тощий бетон, цементно-песчаная смесь); 7 - песчаный подстилающий слой.
1.3. Конструкция III и IV предназначаются для магистральных улиц районного значения и улиц и дорог местного значения. Эти конструкции состоят из трехслойного асфальтобетонного покрытия, устраиваемого на основании из тощего бетона (III) или бетона марки 200. Бетонное основание укладывается по технологическому слою [7].
1.4. Марку, тип и вид асфальтового бетона рекомендуется принимать в соответствии с табл. 1 в зависимости от категории улиц и дорог и от назначения конструктивных слоев.
2.1. Подстилающий слой - нижняя часть искусственного основания дорожной одежды, задачей которого является отвод всей свободной воды, поступающей в основания в расчетный период, и временное размещение ее в порах дренирующего слоя до начала работы водоотводящих устройств.
Толщина подстилающего слоя устанавливается проектом из условия обеспечения водоотвода, морозоустойчивости и прочности всей дородной конструкции.
Рекомендуемая область применения асфальтобетонных смесей для дорожных покрытий с учетом категории улиц и дорог
|
Категория улиц и дорог |
Конструктивные слои покрытия |
||||||||||||
|
слои износа |
основной (нижний) слой |
||||||||||||
|
асфальтобетонные смеси |
|||||||||||||
|
марка по ГОСТу |
литые типа |
декоративные |
крупно- и среднезернистые, типа |
песчаные |
регенерированные типа |
||||||||
|
I |
II |
III |
IV |
I |
II |
ковровые |
мозаичные |
I |
II |
I |
II |
||
|
тип асфальтобетона |
|||||||||||||
|
Скоростные дороги |
А, Б, Г |
Б, Г |
- |
- |
+ |
- |
- |
+ |
+ |
- |
- |
- |
- |
|
Магистральные улицы и дороги: |
|
|
|
|
|
|
|
|
|
|
|
|
|
|
общегородского значения |
А, Б, Г |
Б, Г |
- |
- |
+ |
+ |
- |
+ |
+ |
- |
- |
- |
- |
|
районного значения |
Б, В, Г |
Б, Г |
- |
- |
+ |
+ |
+ |
+ |
+ |
- |
+ |
+ |
+ |
|
дороги грузового движения |
Б, В, Г |
Б, В, Г |
- |
- |
+ |
+ |
- |
- |
+ |
+ |
- |
- |
+ |
|
Улицы и дороги местного значения: |
|
|
|
|
|
|
|
|
|
|
|
|
|
|
жилые улицы |
В |
В, Д |
В, Д |
В, Д |
- |
+ |
+ |
- |
+ |
- |
+ |
+ |
+ |
|
дороги промышленных и коммунально-складских районов |
Б, В |
Б, В, Г |
- |
- |
- |
+ |
- |
- |
+ |
+ |
- |
- |
- |
|
пешеходные улицы и дороги |
- |
Д |
Д |
Д |
- |
- |
- |
- |
+ |
- |
+ |
+ |
+ |
|
проезды |
В |
В, Д |
В, Д |
В, Д |
- |
- |
- |
- |
+ |
- |
+ |
+ |
+ |
|
Мосты, эстакады |
Б, Г |
- |
- |
- |
+ |
+ |
+ |
- |
- |
- |
- |
- |
- |
Примечание. Для нижнего слоя в покрытии на мостах, эстакадах применяют только плотный мелкозернистый асфальтобетон типа Б и В. Для верхнего слоя в смесях типа Б используется дробленый песок.
2.2. До начала работ по устройству подстилающего слоя должны быть выполнены все работы, предусмотренные проектом: прокладка подземных коммуникаций, устройство дренажа с засыпками и устройство закрытой водосточной сети и дренажа, вынос, усиление и ремонт существующих подземных коммуникаций, засыпка песчаным грунтом и уплотнение траншей и котлованов, планировка и уплотнение корыта земляного полотна.
2.3. Для устройства подстилающего слоя используются пески, удовлетворяющие требованиям ГОСТ 8736-77 с коэффициентом фильтрации не менее В/2 м/сут., где В - ширина проезжей части, м.
При «чистых» песчаных грунтах земляного полотна с коэффициентом фильтрации более 3 м/сут. подстилающий слой не устраивается.
2.4. Уплотнение подстилающего слоя следует производить при влажности песка близкой к оптимальной (Wопт), но не более l,3Wопт, коэффициент уплотнения подстилающего слоя должен быть не менее 0,98 [8].
2.5. Технологический слой - часть искусственного основания устраивается по подстилающему слою при механизированном распределении асфальтобетонных или бетонных смесей для обеспечения движения и маневрирования асфальтоукладчиков и транспорта, подвозящего строительные материалы. Толщина технологического слоя принимается в пределах от 0,12 до 0,18 м.
2.6. Для устройства технологического слоя применяются: фракционированный щебень; щебеночные, гравийно-песчаные материалы, обработанные и необработанные органическими вяжущими. В конструкциях с бетонным основанием для устройства технологического слоя используются песчано-цементные смеси и тощий бетон марки не свыше 50.
Рекомендуемый гранулометрический состав щебеночной и гравийно-песчаной смеси приведен в табл. 2.
Таблица 2
Рекомендуемый зерновой (гранулометрический) состав минеральной части смесей для устройства технологического слоя
|
Вид смеси |
Содержание в % зерен минерального материала мельче, мм |
|||||
|
40 |
20 |
10 |
5 |
0,63 |
0,071 |
|
|
Щебеночная |
95-100 |
40-70 |
25-45 |
20-35 |
5-15 |
2-5 |
|
Гравийно-песчаная |
90-100 |
65-85 |
- |
35-50 |
8-20 |
2-6 |
|
95-100 |
95-100 |
60-75 |
41-56 |
9-21 |
2-6 |
|
2.7. Укладка щебеночной или гравийно-песчаной смеси производится сразу после доставки их на объект. Для исключения расслаивания щебеночной смеси при транспортировании она должна иметь влажность 4-6 % по массе. При использовании гравийно-песчаной смеси в ее составе должно быть порядка 2-4 % по массе пылеватых и глинистых частиц.
2.8. При применении фракционированного щебня технологический слой устраивается по принципу щебеночного основания. В этом случае следует применять щебень из осадочных горных пород следующих фракций: 40-70, 10-20(25) и 0-10(15) мм. Марка щебня по дробимости при сжатии (раздавливании) в цилиндре должна быть не ниже 600, а по износу (истиранию) в полочном барабане И-III.
2.9. Основание устраивают из бетона марки 200 или тощего бетона толщиной, указанной в проекте, в виде плиты одинаковой толщины по всему сечению, разделенной температурными швами [см. 7].
2.10. В бетонном основании устраиваются поперечные и продольные швы. Расположение температурных швов определяется в проекте. Поперечные швы устраиваются в свежеуложенном бетоне или нарезаются в затвердевшем бетоне.
При производстве работ по устройству конструктивных слоев искусственного основания и при приемке законченных работ следует руководствоваться допускаемыми значениями отклонений от проектных размеров, приведенных в приложении 1.
3.1. Для устройства верхнего слоя (слоя износа) покрытия применяют: асфальтобетонные (горячие) смеси, выпускаемые по ГОСТ 9128-76 [9]; смеси с использованием щебня из искусственных каменных материалов и литые смеси [11].
3.2. Асфальтобетонные смеси для верхнего слоя покрытия разделяются на:
марки - 1 - IV - по качеству применяемых материалов;
виды - средне- и мелкозернистые, песчаные - по наибольшему размеру зерен минерального материала;
типы - А, Б, В, Г, Д - по количественному содержанию в них щебня и виду песка.
Для всех разновидностей ГОСТом определены технические требования по показателям физико-механических свойств и по зерновому (гранулометрическому) составу минеральной части (табл. 3 и 4).
Зерновой (гранулометрический) состав минеральной части
асфальтобетонных смесей и содержание в них битума для
верхнего слоя (слоя износа) асфальтобетонного покрытия
(извлечение из ГОСТ 9128-76)
|
Вид асфальтобетонных смесей и тип асфальтового бетона |
Содержание в % зерен минерального порошка мельче, мм |
Примерный расход битума в % от массы минеральной части |
|||||||||
|
20 |
15 |
10 |
5 |
2,5 |
1,25 |
0,68 |
0,315 |
0,14 |
0,071 |
||
|
Среднезернистых типов: |
|
|
|
|
|
|
|
|
|
|
|
|
А |
95-100 |
78-85 |
60-70 |
35-50 |
24-38 |
17-28 |
12-20 |
9-15 |
6-11 |
4-10 |
5,0-6,0 |
|
Б |
95-100 |
85-91 |
70-80 |
50-65 |
38-52 |
28-39 |
20-29 |
14-22 |
9-16 |
6-12 |
5,0-6,0 |
|
В |
95-100 |
91-96 |
80-90 |
65-80 |
52-66 |
39-53 |
29-40 |
20-28 |
12-20 |
8-14 |
6,0-7,0 |
|
Мелкозернистых типов: |
|
|
|
|
|
|
|
|
|
|
|
|
А |
- |
95-100 |
63-75 |
35-50 |
24-38 |
17-28 |
12-20 |
9-15 |
6-11 |
4-10 |
5,0-6,0 |
|
А |
- |
- |
95-100 |
35-50 |
24-38 |
17-28 |
12-20 |
9-15 |
6-11 |
4-10 |
5,0-6,0 |
|
Б |
- |
95-100 |
75-85 |
50-65 |
38-52 |
28-39 |
20-29 |
14-22 |
9-16 |
6-12 |
5,5-7,0 |
|
Б |
- |
- |
95-100 |
50-65 |
38-52 |
28-39 |
20-29 |
14-22 |
9-16 |
6-12 |
5,5-7,0 |
|
В |
- |
95-100 |
85-93 |
65-80 |
52-66 |
39-53 |
29-40 |
20-28 |
12-20 |
8-14 |
6,0-7,0 |
|
В |
- |
- |
95-100 |
65-80 |
52-66 |
39-53 |
29-40 |
20-28 |
12-20 |
8-14 |
6,0-7,0 |
|
Песчаные типов: |
|
|
|
|
|
|
|
|
|
|
|
|
Г |
- |
- |
- |
95-100 |
68-83 |
45-67 |
28-50 |
18-35 |
11-23 |
8-14 |
7,0-9,0 |
|
Д |
- |
- |
- |
95-100 |
74-93 |
53-86 |
37-75 |
27-55 |
17-33 |
10-16 |
7,0-9,0 |
Примечание. Над чертой показана непрерывная гранулометрия, под чертой - прерывистая.
Показатели
физико-механических свойств асфальтового бетона для устройства верхнего слоя
(слоя износа) покрытия
(извлечение
из ГОСТ 9128-76)
|
Марка |
Обозначение |
Нормы по типам асфальтового бетона |
||||
|
А |
Б |
В |
Г |
Д |
||
|
1 |
2 |
3 |
4 |
5 |
6 |
7 |
|
I |
П |
15-19 |
18-22 |
|
||
|
П0 |
2,5-4,5 |
|||||
|
W0 |
2-4,5 |
1,5-3,5 |
1,5-3 |
1,5-3,5 |
||
|
Н, не более |
0,5 |
|||||
|
R50, не менее |
0,9 |
1,0 |
1,4 |
|||
|
R20, не менее |
2,4 |
|||||
|
R0, не более |
9,0 |
|||||
|
Кв, не менее |
0,9 |
|||||
|
Кq, не менее |
0,85 |
|||||
|
II |
П |
15-19 |
18-22 |
£22 |
||
|
П0 |
2,5-4,5 |
|
||||
|
W0 |
2-4,5 |
1,5-3,5 |
1,5-3 |
1,5-3,5 |
1,5-3 |
|
|
Н, не более |
1,0 |
|
||||
|
R50, не менее |
0,8 |
0,9 |
1,2 |
|||
|
R20, не менее |
2,2 |
|
||||
|
R0, не более |
9,0 |
|||||
|
Кв, не менее |
0,85 |
|||||
|
Кq, не менее |
0,75 |
|||||
|
III |
П |
|
15-19 |
18-22 |
|
£ 22 |
|
П0 |
2,5-4,5 |
2,5-4,5 |
||||
|
W0 |
1,5-3,5 |
1-3 |
1-3 |
|||
|
Н, не более |
1,0 |
1,0 |
||||
|
R50, не менее |
0,9 |
1,0 |
||||
|
R20, не менее |
2,0 |
2,0 |
||||
|
R0, не более |
9,0 |
9,0 |
||||
|
Кв, не менее |
0,8 |
0,8 |
||||
|
Кq, не менее |
0,7 |
0,7 |
||||
|
IV |
П |
|
15-19 |
18-22 |
|
£ 22 |
|
П0 |
2,5-4,5 |
2,5-4,5 |
||||
|
W0 |
1,5-3,5 |
1-3 |
1-3 |
|||
|
Н, не более |
1,5 |
1,5 |
||||
|
R50, не менее |
0,8 |
0,8 |
||||
|
R20, не менее |
1,6 |
1,6 |
||||
|
R0, не более |
9,0 |
9,0 |
||||
|
Кв, не менее |
0,7 |
0,7 |
||||
|
Кq, не менее |
0,6 |
0,6 |
||||
Примечания: 1. П - пористость минерального остова, % по объему: По - остаточная пористость, % по объему; Wо - водонасыщение, % по объему; Н - набухание, % по объему; R50, R20, R0 - предел прочности при сжатии, соответственно при температурах +50 °С, +20 °С, 0 °С, МПа; Кв - безразмерный коэффициент водостойкости; Кq - безразмерный коэффициент водостойкости при длительном водонасыщении.
2. Асфальтобетон для покрытий мостов и эстакад должен соответствовать требованиям в верхнем слое:
песчаные, тип Г:П £ 20, П0 = 3-4, W0 £ 2,5;
мелкозернистые, тип Б:П £ 18, П0 = 3-4, W0 £ 3,0;
в нижнем слое:
мелкозернистые, тип Б, В:П £ 19, П0 = 3-4,5, W0 £ 3,5
3.3. Асфальтобетонные смеси с применением щебня из искусственных каменных материалов в зависимости от характера образующейся фактуры поверхности покрытий подразделяются на смеси для:
мозаичной фактуры с содержанием щебня в количестве 25- 35 % по массе;
ковровой фактуры с содержанием щебня в количестве 35-45 % по массе.
3.4. Литой асфальт - асфальтобетонная смесь - подразделяется на:
тип I - неуплотняемый, содержащий щебень от 45 до 52 % по массе;
тип II - уплотняемый (вибротрамбующим брусом асфальтоукладчика), содержащий щебень от 50 до 55 % по массе.
3.5. Зерновой состав и показатели физико-механических свойств литого асфальта и асфальтобетонных смесей с применением щебня из искусственных каменных материалов должны удовлетворять требованиям «Технических условий», извлечения из которых представлены в табл. 5, 6.
Рекомендуемый зерновой (гранулометрический) состав
минеральной части новых разновидностей (модификаций) асфальтобетонных смесей и
содержание в них битума для верхнего слоя (слоя износа) асфальтобетонного
покрытия
(извлечение из ТУ-400-24-103-76,
ТУ-400-24-104-76)
|
Вид и тип смеси, тип фактуры поверхности |
Содержание в % зерен минерального материала мельче, мм |
Примерный расход битума в % от массы минеральной части* |
||||||||
|
15 |
10 |
5 |
3 |
1,25 |
0,63 |
0,315 |
0,14 |
0,071 |
||
|
Литых типов: |
|
|
|
|
|
|
|
|
|
|
|
I |
- |
100 |
60-72 |
50-55 |
38-45 |
32-38 |
26-32 |
21-26 |
18-20 |
7,5-8,5 |
|
II |
- |
100 |
54-60 |
45-50 |
32-48 |
26-32 |
20-26 |
16-21 |
14-18 |
6,5-7,5 |
|
Мелкозернистые (фактура поверхности): |
|
|
|
|
|
|
|
|
|
|
|
мозаичная |
100 |
80-88 |
65-75 |
65-75 |
65-75 |
45-55 |
32-38 |
20-25 |
14-19 |
6,5-7,5 |
|
ковровая |
95-100 |
74-80 |
55-65 |
55-65 |
55-65 |
37-45 |
25-32 |
15-20 |
10-14 |
5,5-6,5 |
* При устройстве верхнего слоя (слоя износа) асфальтобетонного покрытия в начале строительного сезона (июнь-август) рекомендуется количество битума принимать по нижнему пределу, в конце сезона - по верхнему.
Показатели физико-механических свойств асфальтового
бетона для устройства верхнего слоя (слоя износа) покрытия
(извлечение из ТУ-400-24-103-76,
ТУ-400-24-104-76)
|
Наименование показателей |
Нормы |
|||
|
литой асфальт |
Асфальтовый бетон со щебнем «дорсил» для устройства фактур поверхности |
|||
|
тип |
||||
|
I |
II |
мозаичной |
ковровой |
|
|
Остаточная пористость, % по объему, не более |
1,0 |
- |
- |
|
|
Водонасыщение, % по объему |
0,5 |
1,0 |
1,5-3,5 |
2-5 |
|
Набухание, % по объему, не более |
- |
- |
0,5 |
|
|
Предел прочности при сжатии, МПа при температуре: |
|
|
|
|
|
±50 °C, не менее |
- |
1,0 |
1,0 |
0,9 |
|
±20 °C, не менее |
- |
- |
2,4 |
2,2 |
|
±0 °С, не более |
- |
- |
12,0 |
|
|
Коэффициент водостойкости, не менее |
- |
- |
0,90 |
0,85 |
|
Коэффициент водостойкости при длительном водонасыщении, не менее |
- |
- |
0,85 |
|
|
Удобообрабатываемость, кг, при температуре +200 °С * |
3,0-4,0 |
- |
- |
|
|
Глубина вдавливания, штампа при температуре +40 °С, мм * |
1,0-6,0 |
1,0-3,0 |
- |
- |
|
Комплексный показатель вязкой деформации при температуре +50 °С *: |
|
|
|
|
|
остаточная деформация за один цикл «нагрузка-разгрузка», мм, не более |
- |
- |
0,01 |
|
|
Количество циклов «нагрузка-разгрузка», приходящихся на область вязкого течения, не менее |
- |
- |
120 |
|
* Показатели асфальтового бетона, определяемые по методике, изложенной в приложении 4, 5, 6.
3.6. Для устройства основного (нижнего) слоя асфальтобетонного покрытия применяются плотные асфальтобетонные смеси с остаточной пористостью 3-6 % по объему: крупно- и среднезернистые, песчаные [12, см. 6]. Крупно- и среднезернистые смеси в зависимости от содержания в них щебня и его прочности подразделяются на два типа:
тип I, содержащий от 40 до 50 % по массе щебня марки не ниже 400 из осадочных и марки 600 из изверженных и метаморфических горных пород;
тип II, содержащий от 50 до 65 % по массе щебня марки не ниже 600 из осадочных и марки 800 из изверженных и метаморфических горных пород.
3.7. Для устройства основного (нижнего) слоя асфальтобетонного покрытия допускается применение регенерированных асфальтобетонных смесей, получаемых в результате переработки асфальтобетона, снятого со старых покрытий [13]. Применяются два типа регенерированных асфальтобетонных смесей:
тип I - малощебенистые, до 30 % щебня по массе (в том числе смеси, не содержащие щебня);
тип II - щебенистые, до 65 % щебня по массе.
3.8. Крупно-, среднезернистые и мелкозернистые пористые асфальтобетоны применяются только для устройства нижнего слоя покрытия. Технические требования к этим смесям представлены в табл. 7.
Таблица 7
Показатели физико-механических свойств пористого асфальтового бетона (извлечение из ГОСТ 9128-76)
|
Наименование показателей |
Нормы |
|
Пористость минерального остова, % по объему, не более |
24 |
|
Остаточная пористость, % по объему |
5-10 |
|
Водонасыщение, % по объему |
3-9 |
|
Набухание, % по объему, не более |
1,5 |
3.9. Зерновой (гранулометрический) состав минеральной части пористых и плотных асфальтобетонных смесей и содержание в них битума должны соответствовать требованиям табл. 8.
Зерновой (гранулометрический) состав минеральной части асфальтобетонных смесей и содержание в них битума для основного и нижнего слоя асфальтобетонного покрытия (извлечение из ГОСТ 9128-76 и ТУ-400-24-107-76)
|
Вид асфальтобетонных смесей и тип асфальтового бетона |
Содержание в % зерен минерального материала мельче, мм |
Примерный расход битума в % от массы минеральной части |
Примечание |
||||||||||
|
40 |
20 |
15 |
10 |
5 |
2,5 |
1,25 |
0,63 |
0,315 |
0,14 |
0,071 |
|||
|
Крупнозернистые |
95-100 |
- |
57-80 |
45-73 |
27-60 |
18-48 |
10-37 |
7-26 |
4-19 |
2-12 |
0-4 |
4,0-6,0 |
для нижнего слоя (ГОСТ 9128-76) |
|
Среднезернистые |
- |
95-100 |
68-85 |
52-76 |
27-60 |
18-48 |
10-37 |
7-26 |
4-19 |
2-12 |
0-4 |
4,0-6,0 |
|
|
Мелкозернистые |
- |
- |
95-100 |
67-85 |
35-65 |
27-50 |
18-38 |
12-27 |
6-18 |
2-13 |
0-6 |
4,0-6,5 |
|
|
Крупно- и среднезернистые (плотные) типов: |
|
|
|
|
|
|
|
|
|
|
|
|
для основного слоя (ТУ-400-24-107-76) |
|
I |
95-100 |
80-95 |
72-85 |
63-76 |
50-60 |
39-48 |
36-33 |
20-25 |
15-20 |
11-15 |
8-11 |
6,0-7,0 |
|
|
II |
95-100 |
72-95 |
62-72 |
52-63 |
35-50 |
28-48 |
16-26 |
13-20 |
10-15 |
6-11 |
6-8 |
5,0-6,0 |
|
|
Песчаные |
- |
- |
- |
- |
95-100 |
74-93 |
53-86 |
37-75 |
23-55 |
12-30 |
6-12 |
6,5-7,7 |
|
Примечание. Над чертой - непрерывная гранулометрия, под чертой - прерывистая.
3.10. Показатели физико-механических свойств плотных асфальтобетонов и асфальтобетонов из регенерированных смесей должны соответствовать требованиям табл. 9.
Таблица 9
Показатели физико-механических свойств плотного
асфальтового бетона и асфальтового бетона из регенерированных смесей
(извлечение из ТУ-400-24-107-76,
ТУ-400-24-115-78)
|
Наименование показателей |
Нормы по типам асфальтового бетона |
||||||
|
ВИД СМЕСИ |
|||||||
|
крупно- и среднезернистая |
песчаная |
регенерированная |
|||||
|
тип I |
тип II |
тип I |
тип II |
||||
|
марка щебня, не менее |
|||||||
|
400* |
600** |
600* |
800** |
||||
|
Пористость минерального остова, % по объему |
17-20 |
15-19 |
£ 22 |
- |
- |
||
|
Водонасыщение, % по объему |
2,0-5,0 |
2,0-3,5 |
3,0-8,0 |
2,0-5,0 |
2,0-6,0 |
1,0-4,5 |
1,5-6,0 |
|
Набухание, % по объему, не более |
1,0 |
0,5 |
1,5 |
1,0 |
1,5 |
1,5 |
|
|
Предел прочности на растяжение при изгибе, МПа, при температуре 0 °С, не менее *** |
4,2 |
5,0 |
3,5 |
4,5 |
4,5 |
4,5 |
3,5 |
|
Модуль упругости, ГПа, при температуре 0 °С, не более *** |
14,0 |
12,0 |
12,0 |
10,0 |
15,0 |
18,5 |
14,0 |
* Марка щебня из осадочных карбонатных горных пород.
** То же, из изверженных горных пород.
*** Показатели свойств асфальтового бетона, определяемые по методике, изложенной в приложении 4
3.11. Подбор составов асфальтобетонных (горячих ) смесей производят методом, принятым в практике дорожного строительства, при условии получения асфальтового бетона требуемого качества. При подборе минеральной части смеси на искусственных каменных материалах должна быть внесена поправка в соотношение минеральных материалов на разницу в плотностях материалов. Количество песка и минерального порошка увеличивается, а количество щебня из искусственного каменного материала уменьшается на величину g1/g0, где g1 - средняя плотность минеральной части из песка и минерального порошка, g0 - плотность щебня из искусственного каменного материала.
4.1. Для асфальтобетонных смесей применяют минеральные материалы:
щебень - из естественного камня, полученный дроблением горных пород, а также щебень из гравия - отвечающие требованиям ГОСТ 8267-75 [14], ГОСТ 10260-74 [15], ГОСТ 9128-76, табл. 12, 13 и обеспечивающие получение коэффициента безопасности не менее 0,90 (приложение 7);
пески - дробленые, природные нефракционированные и фракционированные, отвечающие требованиям ГОСТ 8736-77 [16] и ГОСТ 9128-76. В качестве дробленого песка допускается применение отходов дробления горных пород с наибольшим размером зерен - 5 мм;
минеральный порошок - неактивированный и активированный, получаемый тонким измельчением (размолом ) осадочных карбонатных горных пород, отвечающий требованиям ГОСТ. 16557-78. [17]. Для приготовления асфальтобетонных смесей III и IV марок в качестве минеральных порошков допускается применять порошкообразные отходы промышленности, например, пыль уноса цементных заводов и золы уноса ТЭЦ, отвечающие требованиям ГОСТ 9128-76, табл. 15.
4.2. Для асфальтобетонных смесей применяют щебень из искусственных каменных материален «дорсил», получаемый по технологии ГНИИстекла [18] и обладающий физико-механическими свойствами, отвечающими следующим требованиям:
износ (потеря в массе при истирании) в полочном барабане в %, не более 25;
дробимость при сжатии (потеря в массе при раздавливании) в цилиндре в %, не более 20;
количество циклов при испытании на морозостойкость не менее 150.
4.3. Щебень «дорсил» изготавливается следующих фракций: 3-8 (10) и 5-15 мм. Форма зерен щебня - кубическая, содержание зерен пластинчатой (лещадной) и игловатой формы не должно превышать 25 % по массе.
4.4. Для приготовления асфальтобетонных смесей применяют битумы нефтяные дорожные вязкие марок БНД (БН) 40/60 и БНД (БН) 60/90, удовлетворяющие требованиям ГОСТ 22245-76 [19].
При выборе битумов предпочтение следует отдавать более вязким битумам с узкими пределами колебаний по показателю глубины проникания (табл. 10).
4.5. Для приготовления асфальтобетонных смесей используются поверхностно-активные вещества (ПАВ), удовлетворяющие требованиям ВСН 59-68 [20]. При выборе ПАВ предпочтение следует отдавать катионоактивным, типа высших алифатических аминов.
Показатели
физико-химических свойств вязких дорожных нефтяных битумов
(извлечение
из ГОСТ 22245-76 и ТУ-400-24-108-76)
|
Наименование показателей |
НОРМЫ |
|||
|
по ГОСТу |
по ТУ |
рекомендуемые для г. Москвы |
||
|
БНД 60/90 |
БНД 40/60 |
|||
|
Глубина проникания иглы: |
|
|
|
|
|
при +25 °С |
60-90 |
40-60 |
40-55 |
55-65 |
|
при 0 °С, не менее |
20 |
13 |
- |
14 |
|
Температура размягчения по КиШ, °С, не менее |
47 |
51 |
55 |
52 |
|
Растяжимость, см: |
|
|
|
|
|
при +25 °С, не менее |
50 |
40 |
40 |
50 |
|
при 0 °С, не менее |
3,5 |
- |
- |
- |
|
Температура хрупкости, 0 °С, не выше |
-15 |
-10 |
-10 |
-15 |
|
Температура вспышки, °С, не ниже |
220 |
220 |
240 |
240 |
|
Сцепление с мрамором или песком |
выдерживает по контрольному образцу № 2 |
|||
|
Изменение температуры размягчения после прогрева, °С, не более |
6 |
6 |
5 |
5 |
|
Индекс пенетрации |
+1:-1 |
+1:-1 |
+1:-1 |
+1:-1 |
|
Содержание водорастворимых соединений, %, не более |
0,3 |
0,3 |
0,3 |
0,3 |
5.1. Приготовление асфальтобетонных смесей производится на стационарных асфальтобетонных заводах (АБЗ), включающих комплекты автоматизированного технологического оборудования, с высоким уровнем унификации узлов и агрегатов и системы складирования и подачи к смесительному агрегату минеральных материалов и вяжущих.
В состав современных комплектов оборудования для приготовления асфальтобетонных смесей входят: агрегат питания, сушильный агрегат, система пылеулавливания, смесительный агрегат с сортировочно-дозировочным устройством, система складирования, транспортирования и приготовления битума, транспортирования и дозирования минерального порошка и ПАВ [21-23].
5.2. Технологический процесс приготовления асфальтобетонных смесей включает следующие операции:
нагрев и обезвоживание битума;
приготовление поверхностно-активных веществ;
предварительное дозирование и подачу щебня и песка в сушильный барабан;
нагрев и высушивание минеральных материалов;
рассортировку минеральных материалов по фракциям;
дозирование исходных материалов;
перемешивание минеральных материалов с ПАВ и битумом;
выгрузку готовой смеси.
Принципиальная схема технологического процесса приготовления асфальтобетонных смесей представлена на рис. 2.

Рис. 2 Принципиальная схема технологического процесса приготовления асфальтобетонных смесей
При использовании пыли уноса очистных сооружений смесительных установок в процессе приготовления асфальтобетонных смесей рекомендуется следующая примерная схема оборудования для ее утилизации. В состав оборудования входит пневмотранспортная установка и дозирующее устройство (рис. 3).

Рис. 3 Примерная схема оборудования для утилизации пыли:
1 - бункер расходный; 2 - шнек; 3 - трубопровод; 4 - лопастной питатель; 5 - водомаслоотделитель; 6 - дозатор; 7 - расходный бункер дозатора
5.3. Битум поступает железнодорожным и автомобильным транспортом и выгружается раздельно по маркам в различные отсеки битумохранилища, откуда после нагрева до температуры 70-80 °С битумонасосом по битумопроводам перекачивается в битумоплавильные установки (котлы), в которых происходит его обезвоживание и нагрев до рабочих температур.
При использовании битума марок БНД 40/60, БНД 60/90 рабочая температура устанавливается в пределах 140-160 °С, а при применении ПАВ - 120-130 °С; 140-150 °С для смесей, изготовляемых на щебне из искусственных каменных материалов; 180-190 °С - для литых смесей типа I, 170-180 °С - для литых смесей типа II и 150-170 °С - для литых смесей типа I и II, предназначенных для устройства покрытий тротуаров.
5.4. Для предотвращения вспенивания битума в процессе выпаривания воды следует применять механические мешалки, интенсивную циркуляцию битума с помощью насоса, или противопенные химические препараты МКТ-1 (4-6 капель), или полисилоксановый каучук СКТН-1 (2-3 капли) на 10 т битума.
5.5. При необходимости введения ПАВ на минеральные материалы разогретая до 40-80 °С добавка из отдельного хранилища или отсека битумохранилища перекачивается по обогреваемым трубопроводам к специальным дозаторам, установленным на смесительных установках. Введение ПАВ в смеситель производится перед поступлением битума.
5.6. Для ввода горячего битума и ПАВ в смеситель используются весовые и объемные дозаторы.
5.7. Щебень и песок до поступления в сушильный барабан предварительно дозируют; окончательно весовое дозирование осуществляют после сортировки в грохотах.
Для предварительного дозирования песка и щебня используют агрегаты питания, управляемые дистанционно с пульта оператора. Загрузку бункеров питания со склада или с разгрузочной площадки производят с помощью ленточного транспортера, мостового крана, а также погрузчиками, бульдозерами.
Точность работы дозаторов агрегатов питания ±5 %. При работе с очень влажными материалами вводят поправку на их влажность.
5.8. Режим просушивания и нагрева минеральных материалов в сушильных барабанах должен обеспечивать равномерный нагрев материалов до заданной температуры и полное удаление из него влаги.
Процесс сушки и нагрева регулируется назначением температуры в сушильном барабане и времени нахождения материала в барабане, последнее достигается за счет изменения угла наклона подъемно-транспортных лопастей и их конструкции, а также скорости вращения барабана.
Рабочая температура щебня и песка на выходе из сушильного барабана составляет:
160-200 °С - при изготовлении асфальтобетонных смесей;
150-180 °С - то же, при применении ПАВ;
190-220 °С - при изготовлении литого асфальта для тротуаров;
230-260 °С - то же, литого асфальта;
140-170 °С - при изготовлении асфальтобетонных смесей на щебне из искусственных каменных материалов.
5.9. Для обеспечения контроля температурного режима нагрева материалов сушильные агрегаты оборудуются контрольно-измерительной аппаратурой (термопарами), устанавливаемой в ссыпном лотке сушильного барабана.
5.10. Просушенный и нагретый щебень и песок ковшом элеватором подается на грохот для фракционирования и сортировки в разъемные отсеки бункера горячих материалов. Используется цилиндрический грохот, который, как правило, состоит из 3-х секций с отверстиями сит 6,17 и 45 мм. В результате рассева получают две фракции щебня - 5-15 мм и 15-32 (40) мм - и одну фракцию песка.
Материал, частицы которого по размеру превышают максимальный размер фракции по стандарту, отводится из грохота по лотку в специальный бункер, из которого затем вывозится автомобилями.
Примечание. Производительность сортировочных устройств должна, как правило, превышать максимальную производительность смесителя, чтобы обеспечить его бесперебойную работу при любых рецептурах смеси.
5.11. В целях обеспечения стабильного температурного режима при приготовлении асфальтобетонных смесей, нормальной работы при кратковременных остановках агрегата питания, сушильного барабана и грохота объем расходного бункера горячих материалов должен обеспечивать запас материалов на 1-1,5 часа работы.
При ограниченном объеме расходного бункера горячих материалов требуется более точное предварительное дозирование песка и щебня в агрегатах питания с учетом рецептуры изготавливаемых смесей.
5.12. Необходимость сортировки по фракциям песка и щебня наряду с предварительным дозированием указанных материалов в агрегатах питания вызывается следующим:
дозирование в агрегатах питания имеет точность значительно ниже, чем это требуется для получения качественных асфальтобетонных смесей;
в составе песка и щебня находятся частицы, размеры которых превышают допустимые при приготовлении асфальтобетонных смесей;
количество песчаных фракций (до 5 мм ) превышает требуемое из-за наличия его в более крупных фракциях щебеночного материала;
изменение количества мелких фракций в процессе транспортирования, а также при просушке и нагреве в сушильном барабане, главным образом, происходит в результате работы системы пылеочистки.
5.13. Минеральный порошок (активированный или неактивированный) со склада или с помольной установки или непосредственно из автомобиля-цементовоза по отдельной линии элеватором или пневмотранспортом подается в специальный отсек горячего бункера. Из бункера минеральный порошок, предварительно отдозированный, подается в мешалку.
Пыль уноса из очистных сооружений после двухстадийной сухой очистки поступает в отдельный отсек горячего бункера или в специальную емкость. Дозирование пыли-уноса перед подачей в мешалку может осуществляться раздельно или вместе с минеральным порошком.
5.14. Подготовленные материалы-компоненты асфальтобетонной смеси - поступают на дозирование в соответствии с заданной рецептурой. Точность дозирования составляющих материалов регламентируется в зависимости от вида смеси по табл. 11.
Таблица 11
Точность дозирования материалов
|
Вид смеси |
Погрешность дозирования, % массовая доля |
|||||
|
щебень |
песок |
минеральный порошок |
ПАВ |
битум |
||
|
при введении |
||||||
|
в минеральный материал |
в битум |
|||||
|
Асфальтобетонная, тип А и на щебне из искусственных каменных материалов |
±2 (±1,5) |
±2 |
±2 |
±2 |
±1 |
±1 |
|
Асфальтобетонная и литая всех типов |
±3 |
±3 |
±3 |
±3 |
±1 |
±1,5 |
Примечание 1. Для уменьшения погрешности при дозировании, связанной с пересыпанием материалов, секции бункеров оборудуются затворами, а циферблатные головки весов - специальными контактами предварительной отсечки материалов.
2. В скобках указана точность дозирования щебня из искусственных каменных материалов.
5.15. Перемешивание исходных материалов производится в лопастных мешалках периодического действия. Особое внимание должно быть уделено предварительному перемешиванию минеральных материалов без битума (сухое перемешивание). Только по истечении времени сухого перемешивания в мешалку подается битум. При применении ПАВ, последние подаются в мешалку за 10-15 с до дозирования битума. Нормы продолжительности перемешивания смесей указаны в табл. 12.
Продолжительность перемешивания асфальтобетонных смесей
|
Вид асфальтобетонной смеси |
Тип гранулометрии, фактура поверхности |
Продолжительность перемешивания, c |
Общее время перемешивания, с |
|||
|
сухое |
с битумом |
|||||
|
без ПАВ |
с ПАВ |
без ПАВ |
с ПАВ |
|||
|
Мелкозернистая |
А |
30 |
45 |
20 |
75 |
50 |
|
Б |
30 |
50 |
25 |
80 |
55 |
|
|
В |
35 |
50 |
30 |
85 |
65 |
|
|
Песчаная |
Д |
50 |
60 |
35 |
110 |
85 |
|
Литая: |
|
|
|
|
|
|
|
подача битума под давлением 20 атм и использование минерального порошка: |
|
|
|
|
|
|
|
горячего (100-120 °С) |
I |
10 |
40 |
- |
50 |
- |
|
холодного (20-30 °С) |
20 |
40 |
- |
60 |
- |
|
|
горячего |
II |
10 |
30 |
- |
40 |
- |
|
холодного |
20 |
30 |
- |
50 |
- |
|
|
подача битума самотеком: |
|
|
|
|
|
|
|
горячего |
II |
40 |
60 |
- |
100 |
- |
|
холодного |
60 |
80 |
- |
140 |
- |
|
|
Литая для покрытия тротуаров: |
|
|
|
|
|
|
|
с подачей битума самотеком и использование минерального порошка |
|
|
|
|
|
|
|
горячего |
I |
40 |
60 |
- |
100 |
- |
|
холодного |
II |
60 |
60 |
- |
120 |
- |
|
Мелкозернистая с применением щебня «дорсил» |
|
|
|
|
|
|
|
|
мозаичная |
35 |
50 |
- |
85 |
- |
|
|
ковровая |
30 |
45 |
- |
75 |
- |
|
Крупно- и среднезернистая для плотного асфальтового бетона |
|
|
|
|
|
|
|
|
I |
30 |
300 |
- |
60 |
- |
|
|
II |
20 |
40 |
- |
60 |
- |
|
Крупнозернистая |
пористая |
20 |
35 |
- |
55 |
- |
5.16. Выгрузка готовой смеси производится открытием затвора мешалки. Смесь выгружается в скиповый подъемник или непосредственно в кузов автомобиля-самосвала, очищенный от загрязнений и опрысканный мыльным раствором или эмульсией.
Температура смесей при выгрузке из мешалки указана в табл. 13.
Температура смеси при выпуске
|
Вид смеси |
Температура смеси, °С |
|
|
без ПАВ |
с ПАВ |
|
|
Асфальтобетонная |
140-160 |
120-140 |
|
Асфальтобетонная на щебне «дорсил» |
140-150 |
110-130 |
|
Литая типов: |
|
|
|
I и II (для покрытий тротуаров) |
165-180 (175-185) |
- |
|
I (для покрытий проезжей части) |
220-240 |
- |
|
II |
200-220 (210-230) |
- |
Примечания. 1. В скобках указана температура смеси, укладываемой при температуре наружного воздуха ниже +10 °С осенью, +5 °С весной.
2. Литой асфальт для тротуаров, приготовляемый при температуре наружного воздуха ниже +5 °С, может иметь температуру при выпуске 210 °С.
5.17. Смесь скиповым подъемником направляется в накопительный бункер, который является промежуточным складом для хранения готовых смесей. Его вместимость должна быть, как правило, не менее получасовой производительности смесителя. Бункер должен иметь теплоизоляцию, а также обогрев выгрузочной воронки и затвора. В накопительных бункерах разрешается хранение смесей не более 4 ч.
5.18. Черный щебень для втапливания в слой литого асфальта приготовляется путем смешивания в смесителях в нагретом состоянии одномерного щебня с вязким нефтяным дорожным битумом [24].
Для улучшения сцепления битума с поверхностью щебня рекомендуется применять поверхностно-активные добавки.
Количество битума, необходимое для обработки материалов, устанавливается экспериментальным путем в зависимости от размера фракций щебня. Примерное содержание битума может приниматься в пределах 1,2-1,8 % от массы обрабатываемого щебня.
5.19. Щебень черный горячий изготавливается следующих фракций: 5-10 (3-8) мм; 10-15 мм.
5.20. Температура черного щебня при выпуске из смесителя должна быть в пределах +120¸+140 °С.
5.21. Длительность перемешивания материалов в смесительных установках должна составлять 40-50 с.
5.22. Выпускаемый щебень черный горячий должен быть однородным и одномерным и иметь на поверхности равномерно распределенную пленку битума. Битум не должен стекать с обработанных щебенок, но в то же время должен полностью и равномерно обволакивать их, образуя прочную пленку.
6.1. Покрытия из асфальтобетонной смеси устраивают в сухую погоду: весной при температуре воздуха (при укладке) не ниже +5 °С, а осенью не ниже +10 °С. При температуре воздуха ниже указанных работы осуществляются с соблюдением требований к устройству верхних слоев (слоев износа) из асфальтобетонных смесей - см. далее настоящую «Инструкцию», п. 6.46 и т.д.
6.2. Началу работ по устройству асфальтобетонного покрытия предшествует разработка проекта производства работ или привязка типовой технологической карты к местным условиям производства работ на данном объекте.
В проекте производства работ должны быть представлены:
генеральный план строящегося (реконструируемого) объекта;
технологическая последовательность выполнения работ (или технологическая карта);
схемы движения городского транспорта в период строительства (при наличии движения городского транспорта);
схемы движения транспорта, подвозящего строительные материалы;
места установки ограждений;
места установки светильников (прожекторов) при выполнении работ в вечернее и ночное время;
места, отведенные для заправки механизмов;
места стоянки механизмов в нерабочее время;
календарный график производства работ с указанием сроков, объема работ, подлежащих ежедневному выполнению, и потребного количества механизмов;
пояснительная записка, в которой обосновывается принятая организация и технология работ, указываются мероприятия по обеспечению безопасных условий производства работ, подробно излагаются особые условия объекта.
Проекты производства работ по строительству технически несложных объектов могут состоять из календарного плана производства работ, стройгенплана и краткой пояснительной записки.
6.3. Для составления технологической схемы потока являющейся основной частью технологической карты, предварительно устанавливают потребное количество асфальтоукладчиков и катков, порядок движения асфальтоукладчиков, длину полосы укладки, направление движения потока.
При этом следует руководствоваться следующими положениями:
устройство верхних слоев покрытия (слоев износа) должно производиться, как правило, одновременно таким количеством асфальтоукладчиков, суммарная ширина которых равняется ширине проезжей части;
для исключения переезда автомобилей-самосвалов через край ранее устроенного асфальтобетонного покрытия и обеспечения безопасных условий производства работ направление потока должно приниматься навстречу движения транспорта, подвозящего асфальтобетонную смесь;
при продольном уклоне более 30 ‰ асфальтобетонная смесь должна укладываться снизу вверх (от нижней точки уклона к верхней).
6.4. Для укладки асфальтобетонной смеси должны быть созданы механизированные звенья в составе: асфальтоукладчиков, моторных катков и вспомогательных машин и приспособлений.
Рекомендуется применять асфальтоукладчики на пневмоколесном или гусеничном ходу с шириной укладываемой полосы до 7,5 м с автоматической системой, обеспечивающей ровность покрытия заданного поперечного профиля.
6.5. Для составления проектов организации работ и технологических карт при назначении количества асфальтоукладчиков учитывается их производительность, а также необходимое количество асфальтобетонной смеси, выделяемое на данный объект.
Производительность асфальтоукладчиков может быть определена по формуле:
П = Ту × Кв × а × h × g × V или П1у = Ту × Кв × а × V, (6.1.)
где П (П1у) - производительность, кг/смену (м2/смену);
Ту - продолжительность рабочей смены, с;
Кв - безразмерный коэффициент использования (0,7-0,9);
h - толщина укладываемого слоя, м;
а - ширина полосы, м;
g - плотность асфальтобетонной смеси, кг/м3;
V - скорость движения асфальтоукладчика, м/с.
6.6. Для выполнения работ по устройству верхнего или нижнего слоя покрытия на участке работ выделяют сменную захватку при асфальтировании на всю ширину проезжей части. Длина сменной захватки ориентировочно определяется по формуле:
, (6.2.)
где l - длина сменной захватки, м;
Q - количество асфальтобетонной смеси, выделяемой на объект, кг;
а - ширина проезжей части, м;
с - расход асфальтобетонной смеси, кг/м2 (табл. 14).
Таблица 14
Расход асфальтобетонной смеси
|
Вид асбестоцементной смеси |
Плотность (объемная масса), кг/м3 |
Расход смеси на 100 м2, т, при толщине слоя, мм |
|||||
|
35 |
40 |
45 |
60 |
70 |
80 |
||
|
Крупнозернистая: |
|
|
|
|
|
|
|
|
плотная |
2340 |
- |
- |
- |
14,0 |
16,38 |
18,7 |
|
пористая |
2300 |
- |
- |
- |
13,8 |
16,1 |
18,4 |
|
Мелкозернистая: |
|
|
|
|
|
|
|
|
тип А |
2385 |
8,35 |
9,54 |
10,73 |
- |
- |
- |
|
тип Б |
2370 |
8,29 |
9,48 |
10,66 |
- |
- |
- |
|
тип В |
2340 |
8,19 |
9,36 |
10,53 |
- |
- |
- |
|
Песчаная: |
|
|
|
|
|
|
|
|
тип Д |
2280 |
7,98 |
9,12 |
10,26 |
- |
- |
- |
|
Литая |
2400 |
8,40 |
9,60 |
- |
- |
- |
- |
6.7. Длина полосы, укладываемой за один проход, при использовании 1-го асфальтоукладчика назначается с учетом температуры наружного воздуха, а также возможности одновременного уплотнения двух смежных полос. Возможные пределы изменения этих длин приведены в табл. 15.
Длины полос укладки горячей асфальтобетонной смеси
|
Температура воздуха, °С |
Длина укладываемой полосы, м |
||
|
одним асфальтоукладчиком |
двумя асфальтоукладчиками |
||
|
на защищенных от ветра участках |
на открытых участках |
||
|
5-10 |
30-40 |
25-30 |
60-70 |
|
10-15 |
40-60 |
30-50 |
70-80 |
|
15-20 |
60-80 |
50-70 |
80-100 |
|
20-25 |
80-100 |
70-80 |
100-150 |
|
более 25 |
100-150 |
80-100 |
150-200 |
Для определения длины полосы в пределах сменной захватки можно пользоваться следующей формулой:
(6.3.)
где ly - длина хода асфальтоукладчика, определяемая из условия обеспечения сопряжения новой полосы с ранее уложенной при сохранении его температуры не ниже 80 °С и не ниже 100 °С при устройстве слоев износа из смесей А и Г, м;
t0 - температура асфальтобетонной смеси в момент укладки, °С;
tк - низший предел температуры смеси, при котором еще обеспечивается качественное сопряжение смежных полос, °С;
Тр - продолжительность разворота асфальтоукладчика после окончания укладки полосы, с;
m - интенсивность остывания асфальтобетонной смеси в покрытии, °С/с (для неуплотненной смеси 0,083-0,1 °С/с, для уплотненной - 0,017-0,025 °C/с);
V1 - рабочая скорость асфальтоукладчика, м/с;
V2 - транспортная скорость асфальтоукладчика, м/с.
6.8. Общее число катков устанавливают, исходя из производительности каждого катка, определяемой из формулы:
, (6.4.)
где Пк - производительность катка, м2/с;
а - ширина полосы, м;
А - ширина перекрытия смежных полос укладки, м;
Кк - безразмерный коэффициент использования (0,85-0,90);
n - число проходов катков по одному следу при граничных условиях Vк = 0,68 м/с (2 км/ч) и l = 25-30 м, определяется по формуле:
, (6.5.)
где t - продолжительность уплотнения, с;
l - длина уплотняемой полосы, м;
l1 - длина пути, необходимого для перехода на следующий след, м;
Тп - продолжительность переключения передачи на обратный ход, с (примерно 0,0016 с);
Vк - рабочая скорость катка, м/с.
Производительность определяется по каждому типу катков с учетом проходов. Затем определяется общее количество катков при заданной сменной производительности.
6.9. Необходимое число автомобилей-самосвалов, подвозящих асфальтобетонную смесь для непрерывной работы асфальтоукладчиков, определяют по формуле:
, (6.6.)
где m - грузоподъемность автомобиля-самосвала, кг;
na - число рейсов, совершаемых одним автомобилем-самосвалом, определяемое по формуле
(6.7.)
где L - дальность перевозки асфальтобетонной смеси, м;
Vcp - средняя скорость движения автомобиля-самосвала при пробеге в оба конца, м/с;
T1 - продолжительность выгрузки смеси в асфальтоукладчик и маневрирования на месте укладки смеси, с;
T2 - продолжительность загрузки автомобиля-самосвала на асфальтобетонном заводе с учетом ожидания погрузки, с.
6.10. Бригада укомплектовывается следующими дополнительными механизмами, выполняющими вспомогательные операции: компрессорами с пневмомолотками или лопатками для обрубки краев ранее устроенных полос покрытия и для очистки основания от пыли сжатым воздухом; поливомоечными машинами со щеткой для очистки и промывки основания, а также для обеспечения катков водой для орошения пневматических шин и металлических вальцев; автогудронаторами для доставки и распределения по основанию битумной эмульсии, разогревателями, использующими тепловую энергию инфракрасного излучения для разогрева мест сопряжении полос и исправления дефектных мест.
Кроме того, бригаде выдают следующие основные приборы, приспособления и инвентарь: нивелир и набор визирок для геодезической разбивки и переноса высотных отметок к месту укладки смеси; вибротрамбовки и ручные трамбовки для уплотнения смеси вручную в недоступных для работы катков местах; металлические (из легкого металла) рейки с уровнем, шаблоны для контроля ровности устраиваемого покрытия.
6.11. Число рабочих-асфальтобетонщиков определяется видом и сменным объемом работ, а также производительностью асфальтоукладчика и устанавливается на основании карт организации труда, по каждому трудовому процессу определяется рациональный состав бригады и способы взаимодействия в ней рабочих, обеспечивающих высокие результаты работ при наименьших затратах труда.
При укладке литого асфальта (тип I) в состав проекта производства работ должна включаться циклограмма транспортирования смеси от АБЗ до объекта. В графике производства работ указывается требуемое количество передвижных котлов, время их прибытия на АБЗ, количество рейсов на каждую машину, время начала и окончания работ, количество литого асфальта.
6.12. Устройство асфальтобетонного покрытия производят только после приемки технологического слоя и бетонного основания и установки бортового камня, что оформляется актом на скрытые работы и после проведения подготовительных работ.
Подготовительные работы включают:
при новом строительстве:
обработку поверхности бетонного основания битумной эмульсией (приложение 2) или жидким битумом равномерным слоем не менее, чем за 1 час до укладки смеси. Расход материалов составляет: при обработке жидким битумом - 0,5-0,8 л/м2, при обработке 50-процентной битумной эмульсией - 0,4-0,7 л/м2;
геодезическую разбивку с установкой контрольных маяков и выноской отметок на бортовой камень (верх маяка или отметка должны соответствовать верху покрытия после уплотнения). Нанесение отметок по борту производится намелованным шнуром. Асфальтобетонные или деревянные маяки устанавливаются по визиркам вдоль дороги на бетонном основании, технологическом слое и уплотненном нижнем слое;
проверку соответствия высотных отметок крышек колодцев требованиям проекта и исправление в случае несоответствия;
при ремонте асфальтобетонного покрытия:
очистку основания от пыли и грязи поливомоечными машинами или сжатым воздухом; просушку влажного основания, при этом особое внимание должно уделяться очистке лотка проезжей части;
обработку поверхности старого покрытия битумной эмульсией с расходом 0,3-0,4 л/м2. При разливе эмульсии не следует допускать ее концентрации в пониженных местах;
смазку битумной эмульсией вертикального края ранее уложенных полос асфальтобетона, люков колодцев, трамвайных путей, рельсов и других выступающих элементов на покрытии;
проверку (с помощью геодезических инструментов) ровности старого асфальтобетонного покрытия, продольных и поперечных уклонов, ширины проезжей части улицы (дороги) и правильности установки люков колодцев подземных сооружений. Выравнивание поверхности старого покрытия производится путем укладки асфальтобетонной смеси - крупнозернистой при толщине более 60 мм и мелкозернистой при меньших толщинах. Категорически запрещается выравнивание профиля производить устройством нижнего слоя покрытия переменной толщины. Устройство выравнивающего слоя на больших площадях производится с использованием асфальтоукладчиков, а при малых - асфальтораскладчиков.
Допускается исправление существующего асфальтобетонного покрытия на месте путем его разогрева, выравнивания и повторного использования. Для этой цели могут использоваться механизмы типа репейверов или ремиксеров.
регулировку люков колодцев подземных коммуникаций и приведение их в соответствие с проектной отметкой покрытия; наращивание в случае необходимости колодцев с использованием металлических вкладышей или железобетонных сегментов. При установке дождеприемной решетки учитывать следующее: края решетки должны быть ниже проектной отметки лотка с верховой стороны на 30 мм, а с низовой - на 20 мм; подход к решетке с верховой стороны должен иметь увеличение уклона на 2-3 м, а с низовой - на 0,5 м.
6.13. Транспортирование асфальтобетонной смеси к месту укладки должно, как правило, производиться в автомобилях-самосвалах большой грузоподъемности:
оборудованных устройствами для подогрева кузовов отходящими газами и устройством для укрытия перевозимой смеси;
имеющих подъемное устройство кузовов, обеспечивающее постепенное увеличение угла наклона кузова самосвала с фиксацией его в любом рабочем положении;
имеющих конструкцию подвески кузова, которая создавала бы минимальную вибрацию при движении.
6.14. Доставка асфальтобетонной смеси должна быть ритмичной. При перерывах в доставке смеси или в других случаях, приведших к остановке асфальтоукладчика, последний должен быть освобожден от асфальтобетонной смеси: летом - при перерыве более 30 мин., при пониженных температурах воздуха - более 15 мин. Асфальтоукладчик должен при этом выдвигаться вперед, чтобы обеспечить возможность уплотнения всей уложенной смеси до ее остывания.
6.15. При выгрузке асфальтобетонной смеси автомобиль-самосвал должен останавливаться за 0,5 м перед асфальтоукладчиком строго по оси его движения. Асфальтоукладчик подвигается к автомобилю-самосвалу, пока его направляющие ролики не придут в соприкосновение с задними колесами автомобиля. Асфальтоукладчик двигает автомобиль-самосвал впереди себя до тех пор, пока он не освободится от смеси. При выгрузке смеси бункер асфальтоукладчика должен быть равномерно заполнен.
6.16. Перед загрузкой смеси стенки приемного бункера должны быть тщательно очищены и смазаны. В случае прилипания смеси к стенкам бункера последняя отделяется от него и перемешивается с горячей смесью, находящейся в бункере. Для обеспечения полного освобождения бункера от смеси предусматривается подъем боковых стенок бункера.
6.17. Литые смеси типа I на высоковязких нефтяных битумах с завода к месту укладки транспортируются в специальных передвижных обогреваемых котлах, оборудованных устройством для перемешивания смеси, а смеси типа II - в автомобилях-самосвалах большой грузоподъемностью с утепленными кузовами.
6.18. Перед началом загрузки передвижного котла смесью в нем зажигают форсунки, и производится нагрев его до 180-190 °С. Крышка загрузочного отверстия передвижного котла должна быть открыта не ранее, чем за 5 мин. до загрузки котла литой смесью.
6.19. В процессе транспортирования смесь должна непрерывно перемешиваться, а температура ее в котле поддерживаться на уровне 220-240 °С. Общее время перемешивания смеси в котле должно быть не менее 20 мин.
6.20. Доставка литой смеси к месту укладки должна быть непрерывной и производиться навстречу движению строительного потока. Производительность смесительной установки, количество передвижных котлов и производительность асфальтоукладчика должны быть согласованы между собой.
6.21. Выгрузка литой смеси в приемный бункер асфальтоукладчика должна производиться при наклоне выпускного лотка и одновременной работе лопастной мешалки в котле.
6.22. Работы по приемке автомобилей-самосвалов и выгрузке из них смеси в приемный бункер асфальтоукладчика должны осуществляться под руководством специально выделенного опытного рабочего-сигнальщика, имеющего красную повязку.
6.23. Черный щебень для втапливания в слой литого асфальта должен доставляться на объект в автомобилях-самосвалах до начала распределения смеси в количестве, необходимом для бесперебойной работы, и равномерно распределяться механизмами или вручную в соответствующих объемах по поверхности устраиваемого покрытия.
6.24. Распределение асфальтобетонной смеси производится асфальтоукладчиками, в отдельных случаях при небольших объемах работ и труднодоступных местах вручную.
В момент распределения асфальтобетонной смеси, находящейся в бункере асфальтоукладчика, ее температура должна быть не ниже 120 °С, а при применении смесей с ПАВ - не ниже 100 °С.
6.25. Приступая к распределению смеси, следует придерживаться следующих правил:
асфальтобетонную смесь распределять, как правило, на всю ширину проезжей части дороги с целью ликвидации мест продольного сопряжения - спаек;
установить асфальтоукладчики в исходное положение; плиту установить на край ранее устроенного покрытия или на брус толщиной, соответствующей толщине укладываемого слоя; включить двигатель и приборы разогрева плиты и бункера. Установить в рабочее положение следящую систему;
отрегулировать уплотняющие и выдвигающие органы асфальтоукладчика не только на максимальный уплотняющий эффект, но и на обеспечение однородной фактуры и ровной поверхности. Для нормальной работы асфальтоукладчиков необходимо, чтобы загрузка шнеков была равномерной, исключающей недостаток асфальтобетонной смеси в зоне работы шнека;
установить рабочую скорость асфальтоукладчика в зависимости от вида смеси, ее температуры, толщины слоя и количества поставляемой смеси. Необходимо, чтобы асфальтоукладчик продвигался вперед с постоянной скоростью, без остановок, и объем смеси перед уплотняющими органами был бы постоянным;
толщину укладываемого слоя в неуплотненном состоянии следует принимать с учетом коэффициента уплотнения, равным 1,20-1,30;
ширину полосы укладки с учетом использования уширителей асфальтоукладчика целесообразно назначать кратной ширине проезжей части.
6.26. При использовании двух и более асфальтоукладчиков они должны двигаться уступом с опережением один другого на 10-20 м и с перекрытием смежных полос на 50 мм. Вперед выдвигается укладчик, распределяющий смесь непосредственно у бортового камня в лотке проезжей части. Этот укладчик двигается на расстоянии 100 мм от бортового камня, а образующийся зазор и места, не доступные для механической укладки смеси (колодцы и резкие закругления) заделываются вручную одновременно с работой укладчика. При ручной укладке смесь с лопаты следует не бросать, а укладывать в слой, переворачивая лопату. Движение асфальтоукладчиков должно быть строго прямолинейным.
6.27. В случаях, когда покрытие нельзя устраивать сразу на всю ширину и распределение смеси производится одним асфальтоукладчиком, длина укладываемой полосы устанавливается по п. 6.7. Если температура ранее уложенной смежной полосы ниже требуемой, ее край на ширину до 150 мм следует прогреть с помощью линейки-разогревателя, использующего тепловую энергию инфракрасного излучения.
Линейка-разогреватель позволяет разогревать асфальтобетон слоем 30-40 мм за 2-3 мин до температуры 80-100 °С.
6.28. При сопряжении смежных полос линейку-разогреватель перемещают со скоростью, обеспечивающей нагрев асфальтобетона до температуры 70-80 °С по краю ранее уложенной полосы асфальтобетона, который на ширину 100-150 мм не подвергался уплотнению. Вновь устраиваемая полоса соприкасается в этом случае с разогретым краем ранее устроенной полосы, которая подвергается уплотнению одновременно с новой полосой.
До начала укладки новой полосы вертикальный край ранее уложенного асфальтобетона смазывается битумной эмульсией. При устройстве новой полосы смесь распределяется толщиной слоя с учетом его уменьшения при уплотнении до толщины ранее устроенной полосы.
6.29. При окончании укладки смеси слой ее клинообразно утончается. При возобновлении работ клинообразная часть слоя обрубается вертикально по рейке или шнуру в направлении, перпендикулярном оси дороги.
Толщина покрытия в местах обрубки должна быть не менее проектной. Для образования качественного поперечного стыка в месте обрубки слоя вертикальная грань ранее уложенного слоя смазывается битумной эмульсией, и на это место устанавливается плита асфальтоукладчика. Необходимо, чтобы плита перед началом укладки была прогрета обогревающими устройствами или горячей асфальтобетонной смесью.
Другим способом устройства поперечного шва является укладка в поперечном направлении деревянного бруса по толщине равной толщине уплотненного слоя асфальтобетона. Брус может быть укреплен металлическими штырями. Для смягчения толчков от движущегося транспорта перед брусом укладывается клинообразный упор из асфальтобетонной смеси.
6.30. При укладке асфальтобетонных смесей в два и более слоев продольные швы слоев следует смещать на 100-200 мм, причем продольный шов на верхнем слое должен совпадать с осью дороги.
6.31. Основной слой следует устраивать на всю толщину, чтобы создать монолитную плиту. При многослойной укладке все слои должны быть устроены в течение одной смены. С этой целью рассчитывают оптимальную длину дневной захватки. Каждый последующий слой укладывается только после остывания нижнего до 50 °С при температуре наружного воздуха ниже +10 °С и до 20-30 °С при температуре выше +10 °С.
6.32. После перерыва в работе асфальтоукладчик следует устанавливать так, чтобы выглаживающая плита перекрывала край ранее уложенной полосы на 100-150 мм.
6.33. Если в полосе укладки встречаются выступающие крышки колодцев, водоприемные решетки, выглаживающая плита асфальтоукладчика должна быть поднята. Укладку смеси на пропущенном месте следует производить вручную путем добавления смеси, взятой из приемного бункера.
6.34. Обнаруженные дефекты на поверхности покрытия после распределения смеси, особенно в местах примыкания к упорным брусьям, обрабатываются с помощью специальных ручных трамбовок.
6.35. Уплотнение асфальтобетонной смеси следует начинать при максимально высокой температуре смеси при которой не образуются деформации в процессе укатки (табл. 16).
Таблица 16
Ориентировочная температура асфальтобетонной смеси в начале уплотнения
|
Вид смеси |
Тип |
Температура, °С |
|
Многощебенистая |
А |
130-150 |
|
Среднещебенистая |
Б |
120-140 |
|
Малощебениистая |
В |
100-130 |
|
Песчаная на дробленом песке |
Г |
130-140 |
|
Песчаная на природном песке |
Д |
110-130 |
|
Смеси для нижнего слоя |
- |
120-150 |
6.36. Для уплотнения асфальтобетонной смеси применяются гладковальцевые самоходные катки легкого типа массой 6-8 т; тяжелого типа массой 10-18 т; самоходные катки на пневматических шинах массой 16 и 30 т; виброкатки массой 4 и 8 т.
В зависимости от типа и вида катков и степени предварительного уплотнения смеси рабочими органами асфальтоукладчика надлежит производить: предварительное уплотнение катком массой 6-8 т с гладкими вальцами (до 6 проходов по одному следу), затем катком на пневматических шинах (8-10 проходов), окончательная укатка катком массой 10-18 т с гладкими вальцами (4-6 проходов).
Уплотнение высокощебенистых смесей рекомендуется производить вначале катками на пневматических шинах (10-12 проходов), а затем катком массой 10-18 т с гладкими вальцами (2-4 прохода).
6.37. Рабочая скорость движения катков при уплотнении должна быть в начале уплотнения 0,4-0,55 м/с (1,5-2 км/ч), после 5-6 проходов по одному следу увеличена до 0,83-1,39 м/с (3-5 км/ч) для катков с гладкими вальцами; до 0,55-0,83 м/с (2-3 км/ч) - для вибрационных катков и до 1,39-2,22 м/с (5-8 км/ч) - для катков на пневматических шинах.
6.38. При двухскатном профиле катки должны двигаться по уплотняемому покрытию от краев полосы к середине, а затем от середины к краям, перекрывая каждый след на 200-300 мм. При устройстве покрытий односкатного профиля уплотнение следует начинать с низовой стороны, а на участках улиц и дорог с продольным уклоном более 30 % - производить снизу вверх.
При уплотнении первой полосы необходимо следить, чтобы вальцы катка не приближались менее, чем на 100 мм к кромке, обращенной к оси дороги. Оставшаяся неуплотненная полоса закатывается позже, одновременно с последующей устраиваемой полосой асфальтобетонного покрытия.
Первые проходы при уплотнении следующей полосы необходимо выполнять по продольному сопряжению с ранее уложенной полосой, при этом каток массой 10 т должен двигаться вперед ведущими вальцами.
По окончании укладки (или при вынужденных перерывах в работе) при уплотнении в конце уложенной полосы необходимо следить за тем, чтобы катки заходили на брус, установленный поперек проезжей части.
6.39. При ширине проезжей части более 14 м, а также на площадях и перекрестках улиц уплотнение следует производить по взаимно-перпендикулярным направлениям или по диагонали.
6.40. В процессе уплотнения после первых 2-3 проходов катка следует проверять поперечный уклон и ровность покрытия шаблоном и трехметровой рейкой. Места, не поддающиеся поверхностному исправлению следует вырубать и заменять новым асфальтовым бетоном.
После уплотнения следует произвести отделку поверхности с устранением мелких неровностей, применяя утюги, использующие тепловую энергию инфракрасного излучения.
6.41. В процессе работ по устройству покрытия запрещается:
заправлять катки и асфальтоукладчики на свежеуложенном и перекрываемом асфальтобетонном покрытии. Для заправки выводить механизмы на обочины, боковые выезды или воротные заезды;
останавливать катки на свежеуложенном покрытии. В случае аварийной остановки принять срочные меры к выводу катка из зоны работ;
переключать скорости при резком торможении на уплотненном покрытии;
производить повороты на уплотненном покрытии. Для изменения направления движения катки следует выводить на уплотненную часть покрытия;
оставлять катки на свежеуложенном покрытии по окончании работ.
6.42. Чтобы предотвратить прилипание асфальтобетонной смеси к вальцам катков, их рекомендуется смачивать водой или водным однопроцентным раствором отходов мыловаренной промышленности. Не разрешается применять для этих целей соляровое масло и топочный мазут.
6.43. При устройстве основного слоя асфальтобетонного покрытия следует стремиться к укладке смеси максимально возможной толщины [25, 26, см. 3]. Допускается укладка асфальтобетонной смеси слоем толщиной до 0,22 м (в плотном теле).
6.44. Приготовление, укладка и уплотнение смесей при устройстве слоев толщиной 0,1-0,22 м осуществляют в соответствии с приведенными правилами производства работ и нижеследующими рекомендациями:
для укладки асфальтобетонных смесей следует применять асфальтоукладчики с шириной укладываемой полосы 7,5 м, устраивая основной слой, как правило, одновременно на всю ширину проезжей части;
при укладке одним асфальтоукладчиком полосы шириной 3,3 м длина захвата должна быть не более 60-100 м в зависимости от толщины слоя и температуры наружного воздуха. Подача асфальтобетонной смеси должна быть не менее 60 т/ч на каждый укладчик при ширине укладки 3,5 м;
для предотвращения раскатывания и разрушения кромки укладываемых слоев повышенной толщины должны быть установлены боковые упоры, высота которых должна быть равна толщине уплотненного слоя. Брусья устанавливают на технологический слой и фиксируют их положение с внешней стороны штырями (2 шт. на брус длиной 4-5 м). Упоры следует устанавливать по ходу движения асфальтоукладчиков на 0,4-0,5 длины сменной захватки;
если укладка полосы прерывается на время, большее периода остывания смеси, то заканчивать полосу следует упорным брусом, устанавливаемым перпендикулярно к оси дороги вплотную к слою уложенной асфальтобетонной смеси;
уплотнение слоем толщиной более 0,1 м из крупно- и среднезернистых смесей следует начинать сначала самоходными катками на пневматических шинах (6-8 проходов по одному следу), а заканчивать катками с гладкими вальцами: двуосным массой 10-13 т или трехосным массой 12-15 т (4-6 проходов) или сначала катками массой 8-10 т (2-4 прохода), а затем катками массой 12-15 т (12-20 проходов);
рабочая скорость движения катка на пневматических шинах при первых 2-3 проходах по одному следу не должна превышать 0,55-0,83 м/с (2-3 км/ч); последующие проходы следует производить со скоростью 3,33-4,16 м/с (12-15 км/ч). Давление воздуха в шинах катка в начале укатки должно быть не более 0,3 МПа, а на заключительном этапе уплотнения 0,6-0,8 МПа;
при уплотнении смесей с содержанием щебня более 50 % допустимо использовать вибрационные катки, при этом первые два-три прохода по одному следу каток делает с выключенным вибратором, затем три-четыре прохода с включенным. После работы вибратора доуплотнение и выравнивание поверхности выполняют с помощью тяжелого трехосного катка.
6.45. При устройстве основного слоя асфальтобетонного покрытия толщиной более 0,20 м распределение и уплотнение смеси следует производить в два слоя (части). Для обеспечения монолитности основного слоя устройство нижней части должно опережать устройство верхней части не более, чем на длину захватки, которая принимается с таким расчетом, чтобы температура уплотненной нижней части к моменту начала устройства верхней было бы не ниже 50 °С. В исключительных случаях, когда нет возможности выполнить это условие и когда верхнюю часть устраивают не по свежеуложенной нижней, а с большим разрывом во времени, необходимо перед устройством верхней части основного слоя произвести подготовку нижней части в соответствии с требованием пунктов «Подготовительные работы».
6.46. Настоящий раздел рассматривает особенности устройства слоев износа асфальтобетонных покрытий из смесей с использованием искусственных каменных материалов и литых с использованием высоковязких нефтяных битумов [27, 28, 29].
6.47. Технология производства работ по устройству слоев износа из асфальтобетонных смесей с применением щебня из искусственных каменных материалов предусматривает операции, которые имеют место при строительстве асфальтобетонных покрытий из обычных горячих асфальтобетонных смесей с соблюдением следующих требований, учитывающих особенности материалов;
толщина укладываемого слоя в плотном теле должна быть не ниже 40 мм;
укладка смеси механизированным способом допустима только по свежеуложенному основному или нижнему слою асфальтобетонного покрытия. При капитальном ремонте при укладке слоя износа по старому покрытию допускается применение смесей, обеспечивающих получение мозаичной фактуры поверхности;
выбор уплотняющих механизмов должен производиться с учетом вида смесей. При устройстве покрытий ковровой фактуры в звено уплотняющих механизмов следует включать катки вибрационного действия и катки на пневматических шинах, уменьшающих дробление каменного материала при укатке;
устройство допускается только в сухую погоду.
6.48. Устройство слоя износа из литого асфальта производят только механизированным способом при температуре наружного воздуха не ниже +5 °С.
6.49. Способ и режим распределения смеси определяется типом литого асфальта и предусматривает устройство верхнего слоя покрытия:
без уплотнения материала (тип I);
с уплотнением материала вибротрамбующим брусом асфальтоукладчика (тип II).
В зависимости от этого применяются следующие машины для распределения смеси:
литого асфальта типа I - самоходные асфальтоукладчики для литого асфальта, оборудованные электронной следящей системой, обогреваемыми выглаживающей плитой и приемным бункером, позволяющим производить приемку смеси из передвижных котлов;
литого асфальта типа II - самоходные асфальтоукладчики, оборудованные вибротрамбующей плитой и приемным бункером, позволяющим производить выгрузку смеси из автомобилей-самосвалов большой грузоподъемности.
6.50. Температура смеси в асфальтоукладчике должна быть для литого асфальта типа I - 220-240 °С, типа II - 190-220 °С.
6.51. Перед распределением литого асфальта выглаживающая плита асфальтоукладчика должна быть установлена на край ранее уложенного слоя или на брус, толщина которого соответствует толщине укладываемого слоя. Для предотвращения укладываемого слоя от растекания применяется скользящая опалубка, перемещающаяся за асфальтоукладчиком. При отсутствии ее до начала распределения смеси должны быть установлены в продольном направлении и закреплены упорные деревянные или металлические брусья, состоящие из звеньев общей длиной до 20 м. Высота бруса должна соответствовать проектной толщине укладываемого слоя. По мере остывания уложенного слоя брусья переставляются.
6.52. Распределение смеси, как правило, должно производиться одновременно и непрерывно по всей ширине проезжей части улицы. При работе нескольких асфальтоукладчиков, они должны двигаться уступами с опережением один другого на 25-30 м.
При работе с одним асфальтоукладчиком длина захватки устанавливается из расчета, что край ранее уложенной полосы при устройстве смежной полосы должен иметь температуру 100-130 °С.
6.53. Обнаруженные дефекты на поверхности покрытия после распределения смеси, особенно в местах примыкания к упорным брусьям, обрабатываются вручную с помощью специальных ручных трамбовок.
6.54. Обработка поверхности покрытия производится россыпью по нему черного щебня фракций 3-5(8) или 5-8(10) мм. Россыпь черного щебня производится немедленно после распределения смеси вслед за асфальтоукладчиком равномерным слоем в одну щебенку. Ориентировочный расход черного щебня при смеси тип I - 5-8 кг/м2.
После остывания покрытия до температуры 80-100 °С допускается прикатка распределенного черного щебня ручным катком массой до 30-50 кг. После охлаждения уложенного слоя до температуры наружного воздуха невтопившийся черный щебень должен сметаться.
6.55. Движение автомобильного транспорта по готовому покрытию открывается по достижении покрытием температуры наружного воздуха, но не ранее, чем через 3 часа после завершения работ.
6.56. Для продления строительного сезона допускается производить работы по устройству отдельных конструктивных слоев асфальтобетонного покрытия при температуре воздуха ниже +10 °С (осенью) и +5 °С (весной).
При отрицательных температурах (до -15 °С) устройство асфальтобетонных покрытий производится только в закрытых помещениях и, как исключение, при аварийных (временных), ремонтных дорожных работах.
6.57. Устройство асфальтобетонных покрытий при пониженных температурах воздуха требует соблюдения специальных правил:
иметь заблаговременно (до наступления холодного периода) подготовленное основание;
толщина укладываемых слоев увеличивается на 10 мм, для верхнего слоя принимается не менее 40 мм;
используются асфальтобетонные смеси с увеличенным содержанием битума, то есть с водонасыщением на нижнем допускаемом пределе;
укладка асфальтобетонной смеси производится при слабом ветре;
подача смеси осуществляется интенсивно и ритмично, исключая простой асфальтоукладчика, в атомобилях-самосвалах с утепленными и обогреваемыми кузовами. Смесь укрывается матами или плотными брезентовыми чехлами. Для сохранения требуемой температуры особенно эффективно использовать автомобили-самосвалы большой грузоподъемности.
6.58. Распределение и уплотнение асфальтобетонных смесей производят с соблюдением следующих дополнительных правил:
температура асфальтобетонной смеси при распределении должна быть не ниже 160 °С;
асфальтобетонная смесь должна распределяться только асфальтоукладчиками. Выравнивающая плита должна непрерывно нагреваться, а трамбующий брус включен. При работе одним укладчиком длину захватки следует уменьшить, чтобы новая полоса примыкала к теплой, не остывшей кромке ранее уложенной полосы;
распределять асфальтобетонную смесь следует немедленно, не допуская простоя автомобилей-самосвалов;
уплотнение смеси производить только тяжелыми катками, количество катков по сравнению с летней нормой должно быть увеличено. Желательно применение вибрационных катков и катков на пневматических шинах. Прилипание асфальтобетонной смеси к вальцам катков предотвращают смачиванием их горячей водой или водно-соляной смесью (соотношение соли к воде 1:8-1:10).
температура асфальтобетонной смеси при уплотнении должна быть не ниже 130 °С;
уплотнение слоя уложенной смеси следует вести звеном катков на всю ширину уложенной полосы при скорости движения катка в начале укатки не более 0,55 м/с (2 км/ч), при этом часть катка должна быть оборудована приспособлениями для обогрева вальцов, в частности, вальцы трехосных трехвальцовых катков целесообразно заполнять горячей водой. Количество проходов катка должно составлять не менее 15 по одному следу;
в процессе производства работ основное внимание должно быть уделено качеству устройства и отделки мест сопряжении, устраиваемых полос сопряжения в продольном и поперечном направлениях.
Технический контроль устройства асфальтобетонных покрытий городских улиц и дорог осуществляется в полном соответствии с требованиями утвержденных проектов и действующих нормативно-технических документов.
Технический контроль включает лабораторные определения показателей свойств и качества, методы проведения которых предусмотрены в государственных стандартах: ГОСТ 12801-77 [30], ГОСТ 8269-76 [31], ГОСТ 8735-75 [32], ГОСТ 12784-78 [33], ГОСТ 11501-78, ГОСТ 11512-65 [34], ГОСТ 4.61-80,61-80 [35]. Лабораторные испытания, необходимый объем их проведения на различных этапах технического контроля приведен в табл. 17. В таблицу включены отдельные виды испытаний, методика проведения которых не стандартизирована и, поэтому, приведена в приложении к настоящей «Инструкции».
Лабораторные испытания на различных этапах строительства асфальтобетонных покрытий
|
Наименование показателей |
Лабораторные испытания при |
|||||||
|
подборе смесей |
приготовлении на заводе |
контроле качества покрытия |
||||||
|
вырубки |
образцы |
|||||||
|
конструктивные слои покрытия |
||||||||
|
верхний износа |
основной |
верхний износа |
основной |
верхний износа |
основной |
верхний износа |
основной |
|
|
1 |
2 |
3 |
4 |
5 |
6 |
7 |
8 |
9 |
|
Плотность исходных минеральных материалов, экспериментальная |
+ |
+ |
- |
- |
- |
- |
- |
- |
|
Плотность минерального остова |
+ |
+ |
- |
- |
- |
- |
- |
- |
|
Плотность асфальтобетона: |
|
|
|
|
|
|
|
|
|
экспериментальная |
- |
- |
+ |
+ |
- |
- |
- |
- |
|
расчетная |
+ |
+ |
- |
- |
- |
- |
- |
- |
|
Плотность (объемная масса) |
+ |
+ |
+ |
+ |
+ |
+ |
+ |
+ |
|
Плотность минерального остова |
+ |
+ |
- |
- |
- |
- |
- |
- |
|
Пористость минерального остова |
+ |
+ |
- |
- |
- |
- |
- |
- |
|
Остаточная пористость |
+ |
+ |
- |
- |
- |
- |
- |
- |
|
Водонасыщение |
+ |
+ |
+ |
+ |
+ |
+ |
+ |
+ |
|
Набухание |
+ |
+ |
- |
- |
- |
- |
- |
- |
|
Предел прочности при сжатии при температуре: |
|
|
|
|
|
|
|
|
|
+50 °C |
+ |
- |
+ |
- |
- |
- |
+ |
- |
|
+20 °C |
+ |
- |
+ |
- |
- |
- |
+ |
- |
|
0 °C |
+ |
- |
- |
- |
- |
- |
- |
- |
|
Коэффициент водостойкости |
+ |
- |
- |
- |
- |
- |
- |
- |
|
Коэффициент водостойкости при длительном водонасыщении |
+ |
- |
- |
- |
- |
- |
- |
- |
|
Определение состава асфальтобетонной смеси экстрагированием: |
|
|
|
|
|
|
|
|
|
содержание битума |
- |
- |
+ |
- |
Д |
- |
- |
- |
|
зерновой состав минеральной части |
- |
- |
+ |
- |
Д |
- |
- |
- |
|
Испытания при кратковременных повторных нагрузках: |
|
|
|
|
|
|
|
|
|
изгиб при температуре 0 °С |
- |
+ |
- |
- |
- |
- |
- |
Д |
|
сжатие при температуре +50 °С |
+ |
- |
- |
- |
- |
- |
Д |
- |
|
Удобообрабатываемость |
+ |
Д |
+ |
Д |
- |
- |
- |
- |
|
Вдавливание штампа |
+ |
- |
+ |
- |
- |
- |
Д |
- |
|
Коэффициент безопасности |
Д |
- |
- |
- |
- |
- |
- |
- |
Примечание. Знак «+» означает обязательное определение; знак «-» означает, что данные показатели свойств не определяют; «Д» - дополнительное определение (факультативное в спорных и сомнительных случаях).
7.1. Контроль изготовления смеси на заводе включает: проверку качества материалов, соблюдения запроектированных составов, точности работы дозирующих устройств; температурного режима приготовления минеральных материалов битума и асфальтобетонной смеси; продолжительности перемешивания смеси; температуры и качества готовой асфальтобетонной смеси.
Контроль осуществляется в соответствии со стандартом предприятия (СТП) и картами контроля, разработанными в развитие действующих нормативов.
7.2. В процессе устройства асфальтобетонного покрытия и в период его формирования контролируют:
качество восстановления разрытии;
ровность, плотность и состояние (обработка вяжущим) основания, правильность установки бортовых камней, решеток и крышек люков колодцев подземных сетей;
температуру смеси на всех стадиях устройства покрытия;
ровность и толщину устраиваемого слоя;
режим уплотнения;
качество сопряжения полос асфальтобетонного покрытия;
соответствие поперечного и продольного уклонов проекту.
7.3. При контроле готового покрытия проверяют: толщину слоев и сцепление их с нижележащими; коэффициент уплотнения;
показатели свойств асфальтобетона и параметры сцепных свойств.
7.4. Ширину и поперечный профиль покрытий проверяют через 100 п.м. Ровность покрытия в продольном и поперечном направлении проверяют через 30-50 м. Замеры производят параллельно оси дороги на расстоянии 1-1,5 м от бортового камня.
7.5. Для контроля качества готового асфальтобетонного покрытия пробы (вырубки и керны) берут не ближе 1,5 м от бортового камня. Вырубки отбирают не ранее, чем через 10 суток после окончания уплотнения из расчета: одна вырубка на 3000 м2 покрытия.
8.1. При приемке выполненных работ в соответствии с СНиП III.40-78 производят освидетельствование работ в натуре: контрольные замеры, ознакомление с результатами испытаний строительных материалов и контрольных образцов, записями в журналах производства работ; при необходимости производят дополнительные испытания. При приемке законченных работ по устройству асфальтобетонных покрытий следует руководствоваться допустимыми значениями отклонений от проектных размеров (см. Приложение 2).
8.2. Ровность покрытия в продольном направлении определяют путем регистрации просветов под трехметровой металлической рейкой показаний стрелочного прибора или графической записи для передвижных реек, а в поперечном направлении - путем измерения поперечных уклонов рейкой с уровнем.
Нормативы для оценки ровности асфальтобетонных покрытий приведены в табл. 18 (см. на 47 стр.).
8.3. Оценка коэффициента сцепления шины автомобиля с увлажненной поверхностью покрытия производится специальными динамометрическими приборами (типа ПКРС-2 или ПКРС-2у) или посредством прибора маятникового типа МП-3 или другими приборами, показания которых приведены к показаниям ПКРС, а также по длине тормозного пути или замедлению (отрицательному ускорению) автомобиля модели ГАЗ М-24, движущегося со скоростью 16,6 м/с (60 км/ч). Характеристика покрытия устанавливается по табл. 19.
Нормативы для оценки ровности асфальтобетонных покрытий
|
Категория улиц и дорог и условия строительства |
Количество просветов, %, при измерении |
Относительная длина участков с отклонениями, определяемая по графической записи многоопорных реек ПКР-4 или ПКР-4М, % |
Показатель определяется установкой ПКРС-2 при скорости 8,3 м/с (30 км/ч) |
||||||||||||||
|
рейкой с клином (промерником) |
двухопорной рейкой типа ПКР-1 или ПКР-5 |
||||||||||||||||
|
не менее |
не более |
наибольший |
не менее |
не более |
наибольший |
не менее |
не более |
наибольший |
cредний на участке |
максимальный |
|||||||
|
до |
выше |
до |
выше |
до |
выше |
||||||||||||
|
2 мм |
3 мм |
3 мм |
5 мм |
2 мм |
3 мм |
3 мм |
5 мм |
2 мм |
3 мм |
3 мм |
5 мм |
||||||
|
Скоростные дороги и магистральные улицы и дороги: |
|
|
|
|
|
|
|
|
|
|
|
|
|
|
|
|
|
|
с применением комплектов машин с автоматической системой обеспечения ровности |
90 |
- |
5 |
- |
6 |
74 |
- |
11 |
- |
6 |
85 |
- |
5,5 |
- |
6 |
50-70 |
100 |
|
то же, с применением обычных комплектов машин |
- |
80 |
- |
5 |
10 |
- |
53 |
- |
11,7 |
10 |
- |
65 |
- |
5,5 |
10 |
130-180 |
290 |
|
Улицы и дороги местного значения |
- |
75 |
- |
5 |
10 |
- |
50 |
- |
12,4 |
10 |
- |
57 |
- |
5,5 |
10 |
160-210 |
340 |
Параметры сцепных качеств покрытия
|
Параметры торможения автомобиля |
Характеристика покрытия |
|
|
тормозной путь, м |
Замедление автомобиля, м/c2 |
|
|
менее 14,5 |
более 4,9 |
отвечает требованиям |
|
14,5-19,0 |
4,9-3,7 |
скользкое |
|
более 19,0 |
менее 3,7 |
очень скользкое |
Измерения коэффициентов сцепления производят не ранее, чем через две недели после окончания строительства покрытия.
Необходимые в процессе эксплуатации минимальные значения коэффициентов сцепления на мокром покрытии в зависимости от условий движения должны составлять: для легкого - 0,35; затрудненного - 0,40; опасного - 0,50 (СНиП II-Д.5-72 [36], п. 6.17, табл. 27).
8.4. Степень уплотнения асфальтобетонных покрытий оценивается по данным лабораторных испытаний образцов, взятых из покрытий. Она определяется как отношение плотности образца, взятого из покрытия (вырубки), к плотности переформованного образца, уплотненного стандартизованной нагрузкой.
Коэффициент уплотнения слоя износа асфальтобетонного покрытия должен быть не ниже: из смесей типа А и Б - 0,99; типа В, Г и Д и для нижнего основного слоя - 0,98; из смесей с применением щебня из искусственных каменных материалов при фактуре поверхности ковровой или мозаичной - соответственно 0,99 и 0,97.
Водонасыщение в % по объему для переформованных образцов из покрытия (вырубок или кернов) должно быть из смесей типов: А - 2,5¸4,5; Б - 2¸4; В -2¸3,5; Г - 2¸4; Д - 2¸3,5; для основного и нижнего слоя - 3¸8; для слоя износа при ковровой фактуре поверхности - 2¸5 и при мозаичной - 2¸4.
9.1. В основу настоящего раздела положены материалы, излагаемые в «Правилах по технике безопасности и производственной санитарии при строительстве и ремонте городских дорог¼», М., Стройиздат, 1977, в СНиП III-4-80 «Техника безопасности в строительстве», а также в «Положении об организации работы по охране труда в системе Министерства жилищно-коммунального хозяйства РСФСР», утвержденном приказом по МКХ РСФСР от 22.01.76 № 43.
9.2. К работам по приготовлению смесей и устройству дорожных конструкций из этих смесей допускаются лица, достигшие совершеннолетия, прошедшие медицинский осмотр (приказ МЗ СССР от 30.05.69, № 400), вводный (общий) инструктаж по технике безопасности и инструктаж по технике безопасности на рабочем месте (проводится также при переходе на другую работу и изменении условий труда).
Проведение инструктажа оформляется документально. Кроме инструктажа необходимо не позднее одного месяца со дня поступления на строительство обучить рабочих по утвержденной программе безопасным методам работы. После окончания обучения организуется проверка знаний рабочих с выдачей им удостоверений. Проверка знаний проводится ежегодно.
9.3. К работе на механизмах допускаются лица, имеющие удостоверение о прохождении техминимума и право на управление механизмами.
Рабочие, страдающие кожными и глазными болезнями, не допускаются к работе с поверхностно-активными добавками и активаторами.
Рабочие, занятые на работах по приготовлению и устройству асфальтобетонных покрытий, должны быть обучены безопасным приемам выполнения работ.
9.4. В бытовых помещениях должна быть аптечка с медикаментами и средствами оказания первой помощи пострадавшим, а также бачок с питьевой водой.
9.5. Рабочие должны быть снабжены спецодеждой и защитными приспособлениями (респиратор, защитные очки) в соответствии с действующими нормами.
9.6. Во всех опасных в пожарном отношении местах должны быть установлены щиты с противопожарным инструментом, ящики с сухим песком (не менее 1 м3), совковыми лопатами и огнетушителями.
Запрещается при тушении битума пользоваться водой. Запрещается также курить и пользоваться открытым огнем при обращении с легковоспламеняющимися материалами и жидкостями.
9.7. Складирование материалов и оборудование должно производиться раздельно по видам в соответствии с правилами СНиПа. Минеральные материалы, оборудование следует размещать на площадках, выровненных и уплотненных, а в зимнее время - очищенных от снега и льда. При этом должны быть приняты меры против самопроизвольного смещения (осыпания, раскатывания) материалов.
Штабеля песка, щебня, гравия и других сыпучих материалов должны иметь откосы с крутизной, соответствующей углу естественного откоса для данного вида материала. Угол естественного откоса следует сохранять при каждом изменении количества хранимых материалов.
Расстояние от штабеля до призмы обрушения должно быть не менее 1 м. Между смежными штабелями необходимо оставлять свободные проходы шириной не менее 1 м.
Разрабатывать сыпучие материалы следует только сверху, не допуская ведения работ подкопом.
9.8. При доставке материалов по железной дороге необходимо соблюдать следующие правила:
все операции по разгрузке начинать только после полной остановки подвижного состава. Во избежание ушиба грузом люди должны находиться в стороне от дверей вагонов и бортов платформ при их открывании. Запрещается находиться людям на разгружаемых платформах или в вагонах при разгрузке подвижного состава механизмами. Передвигать передвижной состав можно только после предупреждения работающих на разгрузке и удаления их с пути движения состава;
выгрузка вяжущих (битумов и других жидких материалов), поступающих в цистернах и бункерах, требует соблюдения правил предосторожности.
Паропровод разрешается присоединять только при закрытом вентиле от подающих пар агрегатов. Все соединения паропровода не должны допускать утечки пара.
9.9. При завозе материалов автомобильным транспортом должны соблюдаться следующие правила:
лица, руководящие разгрузкой, не должны подходить к автомобилю до полной его остановки; не разрешается становиться на колеса, залезать в кузов, отдыхать в местах разгрузки;
при разгрузке бортовых автомобилей следует открывать борта, только приняв соответствующие меры предосторожности от ушибов при возможном падении груза и самих открываемых бортов.
9.10. Бочки с грузом более 30 кг грузят и выгружают по лагам с помощью канатов. Необходимо устанавливать бочки пробками вверх и подкладывать под крайние бочки клинья.
9.11. Пылевидные материалы хранятся в силосах, бункерах и других закрытых емкостях. Следует принимать меры против распыления в процессе погрузки, выгрузки и внутрискладского перемещения.
9.12. Все установки АБЗ должны быть обеспечены пылеулавливателями.
9.13. Грохоты для просеивания пылящих материалов, шнеки, элеваторы, сушильные барабаны, независимо от их конструкции, должны быть заключены в плотные кожухи, присоединенные к аспирационной системе.
9.14. Оборудование для обработки и транспортирования пылящих материалов должно быть герметизировано и снабжено аспирирующими устройствами. Установка нового пылевыводящего оборудования должна быть согласована с органами санитарного надзора.
9.15. Аспирационные укрытия, крышки, смотровые люки, кожухи и т.д. должны быть во время работы оборудования постоянно плотно закрыты.
9.16. Осмотр и ремонт смесительных установок следует производить только в холодном состоянии.
9.17. Измерять температуру смеси у смесителей следует в стороне от выпускного отверстия; чистить мешалку от остатков смеси следует только после остановки и остывания установки.
9.18. Для остановки оборудования необходимо:
выработать полностью смесь;
выключить электродвигатель механизма;
вывесить предупредительный плакат.
9.19. При работе смесителей на АБЗ необходимо:
в пульте управления обеспечивать благоприятные санитарные условия;
перед каждой сменой проверять исправность проводки и узлов автоматики, механизмов местного пуска, отдельных механизмов и устройств, механизмов управления (привода) совместно с линией предупреждения об остановке или пуске установки; все механизмы установки пускать в строгой последовательности: от узла выпуска готовой смеси к узлу загрузки материалов;
ремонт или осмотр узлов, работающих под давлением, запретить до прекращения их работы;
силовую и осветительную электропроводку защищать от механических повреждений;
электрорубильники защищать кожухами без прорезей и устанавливать в закрывающиеся ящики.
9.20. По окончании работы необходимо привести в порядок рабочее место, оборудование, инструмент, ограждения, вспомогательные и предохранительные приспособления; необходимо произвести уборку вокруг смесителей.
9.21. Рабочие, обслуживающие машины, должны быть одетыми в спецодежду установленного образца, а также в специальный сигнальный жилет. Спецодежда и спецобувь должны содержаться в опрятном состоянии.
9.22. Перед началом работы следует проверить ручной инструмент, который должен иметь исправные рукоятки, гладкую поверхность и должен быть плотно насажен на металлические части. Конструкция механизированного ручного инструмента должна отвечать требованиям «Санитарных норм и правил при работе с инструментами, механизмами и оборудованием, создающими вибрацию, передаваемую на руки работающих», утвержденных МЗ СССР 13.05.66.
9.23. Установить дорожные сигнальные знаки на расстоянии 10 м от производства работ [37]. При этом следует руководствоваться «Инструкцией по ограждению мест производства работ в условиях уличного движения», утвержденной МКХ РСФСР 05.06.65.
9.24. Место производства работ оградить штакетными барьерами установленного образца, сплошными деревянными щитами ограждения и дорожно-сигнальными переносными знаками или специальными конусами, окрашенными в яркие цвета. Вечером, ночью и во время тумана по внешним контурам ограждений и на дорожно-сигнальных знаках вывешиваются сигнальные красные фонари, свет от которых должен быть виден на расстоянии не менее 100 м.
Стандартные ограждения устанавливают поперек дороги с обеих сторон сплошными рядами, а вдоль дороги-с интервалами 5-10 м. Конусы должны устанавливаться не реже, чем через 3 м.
9.25. При установке бортов в местах кабельных прокладок запрещается работать ломами, клиньями. Грузить и выгружать бортовые камни следует при помощи подъемных механизмов, оборудованных специальными захватами. При необходимости разрешается переносить бортовые камни четырем рабочим при помощи двух специальных клещей. Перемещение их волоком запрещается.
Осадку камней трамбовкой разрешается производить только через деревянную прокладку, удерживаемую на осаживаемом камне специальными клещами.
9.26. Бригадир совместно с общественным инспектором по технике безопасности и прорабом осматривают строительную площадку, выявляют имеющиеся нарушения в работе, наличие открытых люков колодцев, отсутствие необходимого ограждения или другие нарушения правил техники безопасности. Все замеченные нарушения устраняются немедленно, или устанавливается определенный срок. Результаты осмотра строительной площадки заносятся в журнал 3-звеньевого контроля.
9.27. Для приемки асфальтобетонной смеси, а также других материалов на каждом объекте из состава бригады выделяется рабочий-сигнальщик. Сигнальщик должен быть проинструктирован непосредственно на рабочем месте. Содержание инструктажа и фамилия, имя, отчество сигнальщика должны быть записаны в журнале инструктажа рабочих.
9.28. Прибывающие на объект автомобили встречает и сопровождает к месту разгрузки только сигнальщик, который должен иметь красный флажок и нарукавную повязку.
9.29. Для измерения температуры асфальтобетонной смеси, доставляемой с завода, запрещается становиться на подножку двигающегося автомобиля-самосвала.
9.30. Во время разгрузки автомобиля-самосвала запрещается нахождение рабочих у бункера асфальтоукладчика. Запрещается нахождение рабочих между бункером укладчика и автомобилем с асфальтобетонной массой.
9.31. Поднятый кузов автомобиля-самосвала следует очищать от налипших кусков смеси скребком с длинной ручкой. Нельзя ударять по днищу кузова снизу. Рабочим, производящим очистку кузова, следует стоять на земле, а не на колесах или бортах автомобиля-самосвала.
9.32. Запрещается нахождение рабочих на свежеуложенном асфальтобетонном покрытии во время его укатки моторными катками.
9.33. Во время работы выход за зону ограждения места работы категорически запрещается, переходить улицу можно только в установленных для перехода местах.
9.34. Нахождение посторонних лиц в зоне производства работ запрещается.
9.35. Во время перерывов в работе инструмент следует складывать аккуратно и только в зоне ограждения, исключая возможность наезда на него транспорта.
9.36. Необходимо убрать все инструменты, спецодежду и защитные приспособления в специально отведенные для них места, убрать остатки материалов и строймусор в специально отведенное место, не мешающее движению транспорта и пешеходов.
9.37. Следует установить механизмы в безопасной для движения транспорта зоне, а в случае нахождения их на проезжей части - оградить конусами, в вечернее и ночное время обеспечить сигнальным освещением. Запрещается установка катков на проезжей части с уклонами выше 20 ‰.
9.38. Место работы в вечернее или ночное время должно быть освещено. Предупредительные и запрещающие знаки также должны быть освещены так, чтобы их могли видеть водители транспорта.
9.39. Перед началом работы в вечернюю и ночную смены сигнальщик должен быть специально проинструктирован с учетом условий работы в темное время суток.
9.40. При перерывах в работе категорически запрещается отдых на уложенном асфальтобетонном покрытии под катками, в бункерах асфальтоукладчиков, у других механизмов. Отдых при перерывах в работе разрешается только в бытовом помещении.
9.41. Все работающие в вечернее и ночное время механизмы должны быть оборудованы сигнальным освещением, а также иметь звуковой сигнал.
При обосновании конструктивных толщин асфальтобетонных покрытий дорожных одежд с приведенной интенсивностью движения в пределах от 100 до 1000 авт/сутки, когда общая толщина покрытия не превышает 16 см, а доля верхнего слоя (слоя износа) составляет более 20 %, покрытие при расчете следует рассматривать как конструкцию, состоящую из двух материалов, оцениваемых средневзвешенными значениями расчетных параметров (см. формулу 8 ВСН-5-76). При интенсивности движения менее 100 авт/сутки покрытие в конструкции при расчетах рассматривается как однослойное, устраиваемое полностью из песчаной смеси типа Д.
Численные значения расчетных параметров асфальтового бетона слоев износа по типовым составам, разработанным для г. Москвы, приведены в таблице.
Таблица
Расчетные параметры асфальтового бетона
|
Тип (вид) смеси (марка) |
Гранулометрия (ГОСТ, ТУ, ВСН) |
% содержания по массе частиц с размером фр. |
Значение показателей на изгиб при 0 °С |
Коэффициент однородности |
||
|
5-15 (3-10) |
менее 0,071 |
R, МПа |
Е, ГПа |
|||
|
А |
прерывистая |
65 |
8 |
4,5 |
6,0 |
0,70 |
|
|
ГОСТ 9128-76 |
50 |
10 |
5,8 |
9,0 |
0,70 |
|
Б |
непрерывная |
37 |
11 |
6,0 |
9,5 |
0,68 |
|
В |
ГОСТ 9128-76 |
30 |
13 |
7,0 |
12,0 |
0,68 |
|
Д |
|
- |
25* |
9,5 |
13,0 |
0,65 |
|
|
|
- |
16 |
7,5 |
10,0 |
0,65 |
|
Литая |
ТУ-400-24-103-76 |
|
|
|
|
|
|
(I) |
|
(52) |
18 |
6,5 |
8,0 |
0,75 |
|
(II) |
|
(55) |
16 |
6,0 |
9,0 |
0,70 |
|
Цветная |
ВСН-28-76 |
|
|
|
|
|
|
(30) |
|
- |
9 |
3,5 |
6,0 |
0,55 |
|
(60) |
|
- |
10 |
6,2 |
9,0 |
0,55 |
* Состав, выпускаемый по ГОСТ 9128-59.
|
Параметры |
Допуск (±) при использовании комплектов машин |
|
|
без автоматической системы задания вертикальных отметок |
с автоматической системой задания вертикальных отметок |
|
|
Песчаный подстилающий слой: |
|
|
|
ширина слоя, мм |
100 |
100 |
|
толщина слоя, % |
10 |
5 |
|
высотные отметки по оси, мм |
50 |
10 |
|
поперечные уклоны |
0,010 |
0,005 |
|
Технологический слой: |
|
|
|
ширина слоя, мм |
100 |
100 |
|
толщина слоя, % |
10 (но не более 20 мм) |
7 (но не более 15 мм) |
|
высотные отметки по оси, мм |
50 |
10 |
|
поперечные уклоны |
0,01 |
0,005 |
|
просвет (отклонение) под рейкой длиной 3 м, мм |
10 |
5 |
|
Бетонные основания: |
|
|
|
ширина слоя, мм |
50 |
50 |
|
толщина слоя, % |
15 |
10 |
|
высотные отметки по оси, мм |
50 |
10 |
|
поперечные уклоны |
0,010 |
0,005 |
|
просвет (отклонение) под рейкой длиной 3 м, мм |
5 |
3 |
|
разница в уровне поверхности в швах, мм |
3 |
2 |
|
Асфальтобетонные покрытия: |
|
|
|
ширина слоя, мм |
100 |
100 |
|
толщина слоя, % |
10 |
5 |
|
высотные отметки по оси, мм |
50 |
10 |
|
поперечные уклоны |
0,010 |
0,005 |
|
просвет (отклонение) под рейкой длиной 3 м, мм |
5 |
3 |
1. При устройстве дорожных одежд с асфальтобетонным покрытием в качестве пленкообразующего материала или вяжущего используют битумные эмульсии видов и классов, приведенных в табл. 1 [38, 39, 40].
Таблица 1
Виды и классы битумных эмульсий
|
Вид эмульсии |
Класс по смешиваемости с минеральными материалами |
Характер смешиваемости с минеральными материалами зернового состава |
|
|
плотного |
пористого |
||
|
Анионные |
ЭБА-1 |
- |
- |
|
ЭБА-2 |
- |
+ |
|
|
ЭБА-3 |
+ |
+ |
|
|
Катионные |
ЭБК-1 |
- |
- |
|
ЭБК-2 |
- |
+ |
|
|
ЭБК-3 |
+ |
+ |
|
Примечания: 1. Знак плюс - эмульсия смешивается с минеральными материалами; знак минус - не смешивается;
2. Смешиваемость определяется в лабораторных условиях на образцах минерального материала плотного, включающего - щебень-54 %, песок - 40 % и минеральный порошок - 6 %; пористого - щебень - 65 % и песок - 35 %.
2. Битумная дорожная эмульсия представляет собой жидкость темно-коричневого цвета с условной вязкостью при 20 °С не более 35 с, получаемую путем диспергирования битума в воде с добавлением эмульгатора (ПАВ). Массовая доля битума с эмульгатором в эмульсии должна быть 45-55 %.
3. Для приготовления эмульсий применяют нефтяные битумы, те же, что и для приготовления асфальтобетонных смесей; эмульгаторы; воду; щелочи для анионных эмульсий и кислоты для катионных.
4. Вода применяется водопроводная с жесткостью не выше 6 мг-экв/л.
5. В качестве эмульгаторов используют для анионных эмульсий ПАВ типа высших органических кислот или их солей (мыл); для катионных эмульсий - ПАВ типа аминов, диаминов, полиаминов и четвертичных аммониевых солей. Рекомендуемые примерные составы эмульгаторов для эмульсий, содержащих 50 % битума применительно к конкретной технологии приготовления представлены в табл. 2.
Таблица 2
Составы эмульгаторов
|
Вид эмульсии |
Наименование эмульгаторов и щелочных веществ |
Количество, % от массы воды или битума, вводимое |
|
|
в воду |
в битум |
||
|
Анионные |
Сульфитно-спиртовая барда ССБ (или сульфитно-дрожжевая бражка СДБ) |
5,0-7,0 |
- |
|
Талловое масло сырое марок А и Б |
1,5-2,0 |
- |
|
|
Едкий натр (ГОСТ 2263-79) |
1,0 |
- |
|
|
Синтетические жирные кислоты С20 и выше (кубовый остаток) |
- |
3,0 |
|
|
Едкий натр (ГОСТ 2263-79) |
0,4 |
- |
|
|
Катионные |
Битумная присадка БП-3 |
- |
3,0-4,0 |
|
Соляная кислота (ГОСТ 857-78) |
0,7-1,0 |
- |
|
|
Битумная присадка БП-3 |
- |
2,0 |
|
|
Соляная кислота (ГОСТ 857-78) |
0,5-0,7 |
- |
|
|
Амины С17-С20 |
- |
0,3-2,0 |
|
|
Соляная кислота (ГОСТ 857-78) |
1,0 |
- |
|
Примечание. Норма расхода соляной кислоты относится к кислоте 36 %-ной концентрации с плотностью 1179 кг/м3. При наличии кислоты другой концентрации ее количество корректируется в соответствии с замеренной фактической плотностью.
6. Состав эмульсии устанавливается лабораторным подбором с учетом предъявляемых технических требований, приведенных в табл. 3.
Таблица 3
Технические требования к эмульсин
|
Наименование показателей |
Нормы по видам эмульсии |
|||||
|
анионные (ЭБА) |
катионные (ЭБК) |
|||||
|
класс |
||||||
|
1 |
2 |
3 |
4 |
5 |
6 |
|
|
Однородность по остатку на сите с сеткой 0,14, % не более |
0,5 |
|||||
|
Сцепление пленки вяжущего (% поверхности щебня покрытой пленкой вяжущего), не менее |
|
|
|
|
|
|
|
щебень гранитный |
- |
95 |
||||
|
щебень из карбонатных пород |
75 |
- |
||||
|
Устойчивость при хранении по остатку на сите с сеткой 0,14, % не более |
|
|
|
|
|
|
|
через 7 суток |
0,8 |
0,5 |
||||
|
через 30 суток |
1,2 |
0,8 |
||||
|
Устойчивость при транспортировании по времени встряхивания, час, не менее |
2,0 |
|||||
|
Свойства битума (глубина проникания, температура размягчения, растяжимость), выделенного из эмульсии |
Показатели свойств битума должны быть не ниже 85 % от первоначальных значений |
|||||
7. Эмульсии приготовляют на стационарных или полустационарных эмульсионных машинах механического или акустического принципа действия (например, многодисковой диспергатор ЭМ-25, многощелевой диспергатор, акустический диспергатор). Технологический процесс приготовления состоит в диспергировании битума, нагретого до температуры 120-140 °С в водном растворе эмульгатора или щелочного вещества (при введении эмульгатора в битум), имеющего температуру до 70-80 °С и 65-75 °С при использовании соляной кислоты. Сумма этих двух температур не должна превышать 200 °С.
Рекомендуемая область применения эмульсий по видам работ приведена в табл. 4.
Таблица 4
Область применения битумных дорожных эмульсий
|
Класс эмульсий |
Вид работ |
|
ЭБА-1 |
Уход за свежеуложенным цементобетоном и цементогрунтом |
|
Подгрунтовка |
|
|
Укрепление поверхности откосов земляного полотна |
|
|
Устройство поверхностной обработки |
|
|
ЭБА-2 |
Приготовление черного щебня и щебеночных пористых смесей из карбонатных пород |
|
Устройство слоев дорожных одежд способом пропитки |
|
|
ЭБА-3 |
Приготовление эмульсионно-минеральных смесей плотного состава, в том числе грунтовых, с обязательным введением в смесь 1-2 % извести или 2-3 % цемента |
|
Закрепление подвижных песков |
|
|
Обеспыливание |
|
|
Укрепление грунтов верхней части земляного полотна |
|
|
ЭБК-1 |
Устройство поверхностной обработки |
|
ЭБК-2 |
Устройство слоев дорожных одежд способом пропитки |
|
Приготовление черного щебня и пористых щебенистых смесей |
|
|
Устройство поверхностной обработки |
|
|
ЭБК-3 |
Приготовление плотных эмульсионно-минеральных смесей, в том числе грунтовых |
ОБЛАСТЬ РАСПРОСТРАНЕНИЯ, АППАРАТУРА
Настоящая методическими указаниями определена методика проведения реологических испытаний асфальтового бетона при кратковременных воздействиях повторных нагрузок на изгиб и сжатие при температуре 0 °С и +50 °С с целью установления характеристик материала: модуля упругости, предела прочности на растяжение при изгибе и комплексного показателя вязкой деформации. Эти испытания проводятся на механическом рычажном прессе конструкции НИИМосстроя (рис. 1) как при исследовательских работах, так и при подборе составов смеси при проектировании, а также оценке качества материалов, поступающих с карьеров и строительных объектов.
В конструктивном отношении прибор является механическим рычажным прессом. Один рычаг пресса выполнен в виде кольца. По внутренней полке кольца перемещается ролик, насаженный на поводок, который приводится в круговое движение от электродвигателя. При условии, что плечи кольцевого рычага уравновешены относительно оси Z, поводок является балансиром, то есть вращающийся поводок заставляет кольцевой рычаг вращаться относительно оси Z и отклоняться от горизонтального положения в ту или иную сторону. Если проследить движение поводка в направлении, указанном стрелкой, то можно заметить, что в то время, когда ролик поводка находится в точках O1 и О2, то есть на оси Z, рычаг будет находиться в равновесии. При перемещении ролика в направлении от точки O1 к точке О равновесие рычага нарушается, и кольцевой рычаг поворачивается вокруг оси Z. По кинематической схеме пресса поворот кольцевого рычага вызывает наложение нагрузки на испытуемый образец. По мере удаления ролика поводка от точки O1 нагрузка на образец возрастает, так как увеличивается плечо рычага, и в точке О нагрузка достигает максимума. При дальнейшем движении поводка от точки О к точке О2 плечо рычага уменьшается, следовательно уменьшается и нагрузка, передаваемая на испытываемый образец. В точке О2 нагрузка полностью исчезает, и при переходе поводка через точку О2 кольцевой рычаг поворачивается вокруг оси Z в обратную сторону, занимая прежнее равновесное горизонтальное положение на протяжении времени, в течение которого поводок перемещается от точки О2 к точке O1. Таким образом, при одном полном обороте поводка по кольцевому рычагу испытываемый образец проходит следующие фазы напряженного состояния: нагрузка (при движении поводка от точки O1 к точке О), разгрузка (при движении поводка от точки О к точке О2) и отдых (при движении поводка от точки О2 к точке O1).
Полный оборот поводок совершает за 1,85 с (0,75 с - нагрузка, 0,75 с - разгрузка и 0,35 с - отдых). Назовем один полный оборот циклом «нагрузка-разгрузка». Очевидно, что при такой конструкции прибора испытываемый образец может быть подвергнут воздействиям длительной статической нагрузки (поводок останавливается в точке О на длительное время), одиночной циклической нагрузки (поводок совершает один оборот по кольцевому рычагу) и многократной циклической нагрузки (поводок совершает большое количество следующих друг за другом без перерыва оборотов по кольцевому рычагу).

Рис. 1. Кинематическая схема механического рычажного пресса:
I - вал; II - поводок; 1 - ролик; 2 - кольцевой рычаг пресса; 3 - груз, 50¸600 Н; 4 - шарикоподшипник радиальный; 5 - колесо коническое, Z = 30; 6 - колесо коническое, Z = 20, m = 5; 7 - электродвигатель N = 1 кВт, n = 15,8 об/с; 8 - редуктор; 9 - груз, 240 Н; 10 - призма; 11 - рамка; 12 - стол; 13 - штамп; 14, 18, 19 - рычаги; 15 - призма двухопорная; 16 - подушка; 17 - груз, 600 Н; 20 - шарикоподшипник упорный
Конструкция пресса позволяет изменять ступенями величину максимальной нагрузки (положение поводка в точке О), передаваемой на испытываемый образец, за счет изменения массы поводка. Масса поводка изменяется от 0,6 до 9,0 кН с интервалами между смежными нагрузками 0,2 кН. Поводок постоянной массы перемещается по кольцевому рычагу с постоянной скоростью. За каждый цикл усилие, передаваемое от него на образец, изменяется от нуля до какого-то максимального значения.
Нагружение поводка осуществляют съемными грузами, укрепляемыми на поводке кольцевого рычага.
Размер горизонтального опорного стола - 400´400 мм;
перемещение стола в вертикальном направлении - 10 мм;
ход винта со штампом - 6 мм при испытании образцов и 75 мм при установке образцов;
габариты пресса: длина - 1525 мм; ширина - 925 мм; высота - 1800 мм; масса пресса - 707 кг.
Пресс монтируют на бетонном основании или на металлическом постаменте.
В комплект пресса входит набор форм, приспособлений и креплений, позволяющих получать истинные значения измеряемых деформаций, исключая до минимума влияние побочных факторов на абсолютные значения расчетных величин (местное обмятие образцов на опорах, недостаточная жесткость опор и пр.).
Протекание во времени процесса деформации образца под нагрузкой и после снятия ее фиксируется фотозаписью измеряемых деформаций при помощи отраженного светового луча.
ИЗГОТОВЛЕНИЕ ОБРАЗЦОВ
Изготовление образцов-цилиндров размером 71,4 мм производят в металлической форме в соответствии с рекомендациями ГОСТ 12801-77 «Смеси асфальтобетонные, дорожные, аэродромные и асфальтобетон. Методы испытаний».
Изготовление образцов-балочек размером 300´100´40 мм производят в металлических разъемных формах со свободно перемещающимися вкладышами. Смесь уплотняют вибропрессованием на стандартной вибрационной площадке при удельной нагрузке 0,03 МПа в течение 180 с. Ориентировочное количество смеси на один образец-балочку 2,6-2,9 кг при плотности образца 2200 - 2400 кг/м3.
Приготовление образцов-балочек производят следующим образом: форму нагревают и устанавливают на стол вибрационной площадки точно по центру, после чего внутреннюю поверхность формы и вкладыши перед заполнением смесью тщательно протирают тканью, слегка смоченной маслом. Форму загружают смесью, имеющей температуру 130-150 °С, затем смесь равномерно распределяют в форме и «штыкуют» ножом. После этого вставляют вкладыш и производят вибрирование формы со смесью. По окончании вибрирования образец вынимают из формы и хранят на ровной поверхности стола. В случае, если на образцах будут обнаружены дефекты в виде обломков кромок и непараллельности верхней и нижней плоскости, образцы бракуются.
ИСПЫТАНИЕ АСФАЛЬТОВОГО БЕТОНА
Параметры реологических свойств асфальтового бетона при температуре 0 °С определяются методом изгиба образцов-балочек размером 300´100´40 мм с расчетным пролетом 250 мм и при нагружении в центре пролета. Образец подвергается многократному циклическому воздействию нагрузки (возрастающей по периодам), доведенной до разрушающей (рис. 2).

Рис. 2. Характерная фотодиаграмма, полученная при испытании образца асфальтового бетона на изгиб при температуре 0 °С:
Р, P1,¼ - нагрузки, возрастающие по периодам нагружения; f, f1 - упругий прогиб.
Подготовка образцов производится в следующей последовательности: три образца-балочки, приготовленные в соответствии с настоящим приложением, выдерживают при температуре 18-20 °С в течение полутора-двух суток, затем помещают в термостат пресса и выдерживают еще в течение 2-х часов при заданной температуре 0 °С. Обеспечение заданного температурного режима осуществляют с помощью смеси воды с мелко истолченным пищевым льдом с добавкой небольшого количества поваренной соли.
Образец после выдерживания при заданной температуре соединяют с кимографом и приступают к испытанию.
Количество циклов в одном периоде устанавливается, исходя из необходимости уменьшения влияния деформации упругого последействия на величину полной упругой деформации за один цикл. Длительность «отдыха» определяется временем, необходимым для исчезновения обратимых деформаций. Режим испытаний принят следующий: 100 циклов «нагрузка-разгрузка» и 120 с «отдыха». Вначале испытание проводят без установки грузов на поводок. На образец дается 100 циклов «нагрузка-разгрузка», после чего поводок останавливают в положении, обеспечивающем полное снятие нагрузки. В таком состоянии образец выдерживают 120 с. За тем на поводок устанавливают следующий груз, и испытание проводится в той же последовательности. Грузы увеличивают до полного разрушения образца. По разрушению образца определяют разрушающую нагрузку. Фотозапись деформаций проводят при стократном увеличении.
Расчет нормативных параметров асфальтового бетона производят в следующей последовательности:
вначале устанавливается на обратной ветви разгрузки фотодиаграммы при времени 1,1 с и нагрузках (Р), не превышающих 25-30 % от разрушающей нагрузки, величина упругого прогиба;
измеренная на фотодиаграмме величина упругого прогиба делится на коэффициент увеличения (масштаб М*). Зная величину упругой деформации, определяют величину модуля упругости по формуле:
,
где Е - динамический модуль упругости за один цикл «нагрузка-разгрузка», Па;
Р - вертикальная нагрузка на образец, приложенная к середине пролета, Н;
f - упругий прогиб образца-балочки за время 1,1 с, м;
к - безразмерный коэффициент, учитывающий влияние поперечных сил,
;
I - момент инерции поперечного сечения образца-балочки
, м4;
е - пролет балочки, м.
Предел прочности на растяжение при изгибе определяют по формуле:
,
где R - предел прочности на растяжение при изгибе, Па;
Рр - разрушающая нагрузка, Н;
a - ширина сечения, м;
h - высота сечения, м.
Параметры реологических свойств асфальтового бетона при температуре +50 °С определяются испытанием на одноосное сжатие образцов-цилиндров диаметром и высотой 71,4 мм с доведением их до разрушения (рис. 3).
Подготовка образцов производится в следующей последовательности: три образца-балочки, приготовленные в соответствии с рекомендациями ГОСТ 12801-77, выдерживают при температуре 18-20 °С в течение полутора-двух суток, затем помещают в термостат пресса и выдерживают в течение 2-х часов при температуре +50 °С. Температурный режим обеспечивается водой, поступающей в термостат из микротермостата. Колебания температуры в процессе испытаний не должны превышать ±1 °С.
Образец после выдерживания при заданной температуре соединяют с кимографом и приступают к испытанию. Образец подвергается периодическому воздействию циклической нагрузки постоянной величины, соответствующей наибольшему удельному давлению на покрытие с последующей разгрузкой и длительным «отдыхом». Количество циклов «нагрузка-разгрузка» в одном периоде принимается таким, при котором основная часть эластической деформации (упругое последействие) завершена и при продолжении циклической нагрузки начинает преобладать вязкое течение материала. Режим испытаний принимается следующим: при постоянной нагрузке на образец 0,65 МПа дается 20 циклов «нагрузка-разгрузка» и «отдых» 150 с. При таком режиме испытание проводится до полного разрушения образца. Перед началом испытания дается трехкратное нагружение образца для его обмятия. В конце каждого цикла (при «отдыхе») производится подтяжка плиты пресса в целях уменьшения ударных воздействий нагрузки. Фотозапись деформаций производят при масштабе 30Х.
За нормативную величину комплексного показателя вязкой деформации принимается величина остаточной деформации за один цикл «нагрузка-разгрузка» со временем цикла 1,85 с, а также количество циклов «нагрузка-разгрузка», приходящихся на область вязкого течения материала.
Длительность вязкого течения материала определяется по фотодиаграмме испытаний (см. рис. 3) между началом течения и началом разрушения образца. Полная остаточная деформация устанавливается по разности отсчетов между концом (е2) и началом (е1) течения материала. Путем деления полной остаточной деформации на количество циклов «нагрузка-разгрузка» за период течения материала вычисляется остаточная деформация за один цикл (l0), мм.

Рис. 3.
Характерная фотодиаграмма, полученная при испытании образца асфальтового бетона на сжатие
при температуре +50 °С
(l1, l2 - полные остаточные деформации,
соответствующие началу и концу участка вязкого течения материала)
АППАРАТУРА
Металлическая форма для изготовления образцов-кубиков (рис. 4);
прибор для определения глубины вдавливания штампа (рис. 5);
сосуд для термостатирования образцов емкостью 3-5 л;
термометр химический стеклянный с ценой деления шкалы 1 °С по ГОСТ 215-57;
вибрационный стол с частотой 50 кол/с и амплитудой колебаний 0,35-0,4 мм.

Рис. 4. Металлическая форма для приготовления образцов из литого асфальта:
1 - поддон; 2 - форма; 3 - разъемная коробка; 4 - прижимной винт

Рис. 5. Схема прибора для определения глубины вдавливания штампа:
1 - грузы; 2 - индикатор часового механизма; 3 - опорный столик; 4 - шарик; 5 - круглый штамп; 6 - стол прибора; 7 - образец; 8 - форма; 9 - емкость для выдерживания образцов; 10 - шток; 11 - контрольная лампочка; 12 - рукоятка
ИЗГОТОВЛЕНИЕ ОБРАЗЦОВ
Вдавливание штампа определяют на образцах-кубиках размером 70,7´70,7´70,7 мм, остающихся после изготовления в формах. Для изготовления образцов используется разъемная металлическая форма. Перед заполнением смесью форму подогревают (до температуры 120-160 °С), смазывают смесью талька с глицерином.
Способ изготовления и уплотнения образцов выбирают в зависимости от типа литого асфальта. Образцы из литого асфальта типа I уплотняются штыкованием, типа II - штыкованием с последующим вибрированием с пригрузкой.
Методика изготовления образцов следующая: форму закрепляют прижимным винтом и заполняют литым асфальтом (навеска примерно 0,75-0,8 кг), разогретым до температуры 220 °С. Заполнение формы производят послойно в 2-3 слоя, штыкуя ножом или шпателем каждый слой (особенно тщательно по углам формы) так, чтобы в середине образовалось небольшое возвышение. После этого в форму вставляют нагретый верхний вкладыш и слегка прижимают им поверхность уложенной смеси. Затем верхний вкладыш вынимают, и форму со смесью ставят для охлаждения на ровную и горизонтальную площадку.
Изготовление образцов из литого асфальта типа II производится также в металлической форме и в той же последовательности, что и образцов из литого асфальта типа I. После штыкования смеси форму закрепляют на вибрационном столе вместе с установленной разъемной коробкой. В разъемную коробку вставляют пригруз 0,03 МПа и производят виброуплотнение в течение 20 с.
ПОДГОТОВКА ОБРАЗЦА
Образец в форме выдерживают до испытания при комнатной температуре в течение суток. Перед испытанием образец в форме помещается в сосуд для термостатирования и выдерживается в нем в течение 1,5 ч при температуре 40 ± 2 °С.
ИСПЫТАНИЕ ЛИТОГО АСФАЛЬТА
Выдержанный образец устанавливается в термостатирующий сосуд прибора и вместе с ним подводится под шток. В течение всего испытания температура воды в термостатирующем сосуде поддерживается +40 °С. На образец устанавливается штамп площадью 50 мм2. Нагрузка на штамп от штока передается через шарик, установленный на штампе. Подведение штока к шарику осуществляется поворотом рукоятки. Момент соприкосновения штока и шарика фиксируется загоранием контрольной лампочки. В этом положении штока производится установка на О стрелки связанного с ним индикатора часового типа. Дальнейшим поворотом рукоятки на образец через штамп и шарик передается нагрузка от штока. Величина нагрузки, передаваемая штоком, составляет 5,25 кг.
Глубина вдавливания штампа в мм определяется по шкале индикатора после 180 с действия нагрузки. За конечный результат принимается среднее арифметическое двух определений Расхождение между результатами двух определений не должно превышать 15 %.
ОБЛАСТЬ РАСПРОСТРАНЕНИЯ
Настоящими методическими указаниями определена методика определения податливости горячей асфальтобетонной смеси к технологическим операциям в процессе ее использования, то есть ее удобообрабатываемость. Эти испытания проводятся с помощью специального прибора конструкции проф. И. А. Рыбьева (рис. 9) как при исследовательских работах, так и при подборе составов смесей при проектировании.
За характеристику удобообрабатываемости смеси принимается усилие в кг, затрачиваемое на удаление металлического стержня из образца асфальтового бетона, уплотненного вибрированием (или время наполнения ведерка дробью, в с.).

Рис. 6. Общий вид прибора по определению удобообрабатываемости асфальтобетонной смеси:
1 - чашка металлическая цилиндрическая; 2 - усеченный конус; 3 - ведерко; 4 - дробоподатель от прибора Михаэлиса; 5 - вибростолик
ОПИСАНИЕ ПРИБОРА
Прибор состоит из следующих основных частей:
вибростолика с мотором мощностью 0,25 кВт, частотой колебаний 50 кол/с и амплитудой 0,3 мм. На поверхности столика имеются две пластинчатые прижимные пружины для прикрепления чашки;
кронштейна металлического со стрелой по длине примерно 450 мм;
чашки металлической, цилиндрической диаметром 190 мм и высотой 150 мм. К боковым стенкам чашки приварены две дуговые педали. Внутри в центре дна привернут шип квадратного сечения;
конуса усеченного, выполненного из стали. Размеры конуса: высота до шейки - 71 мм; высота вместе с нижним конусом - 80 мм; диаметр нижний в наиболее широком месте 31 мм; диаметр шейки 13 мм; высота шейки 24 мм; диаметр штока 10 мм; высота штока 29 мм; упорный круг 25 мм; толщина упорного круга 4 мм; масса конуса примерно 300 г. Конус на верхнем конце снабжен крючком, ввернутым в шток; внизу имеется центрированный квадратный паз для шипа чашки. Паз переходит в канал, идущий внутри конуса до верха, где выходит наружу;
комплекта плоских кольцевых гирек массой от 25 до 100 г, надеваемых при надобности на шток конуса;
тросика из отожженной мягкой стальной проволоки или шнура из вискозного шелка, длина тросика подбирается по необходимости; на концах тросика - крючки;
роликов шарикоподшипниковых диаметров 15-25 мм, направляющих тросик вдоль стрелы кронштейна; расстояние между роликами 260 мм;
ведерца, масса которого равна примерно массе конуса, а емкость - 1,5 л;
дробоподателя от прибора Михаэлиса, при помощи которого свинцовая дробь высыпается в ведерко; средняя скорость высыпания дроби соответствует 200 г/с (± 10 г), что регулируется при помощи затвора.
Дополнительная аппаратура к прибору: секундомер, термостат или другой нагревательный прибор, весы рычажные на 10 кг с разновесами, термометры на 200 °С или выше - 2 шт.; совок, нож, а также смазка - смесь глицерина с тальком или глицерина с декстрином в массовых соотношениях 1:1.
ПОДГОТОВКА ПРИБОРА К ИСПЫТАНИЮ
Прибор устанавливается в непосредственной близости от розетки, к которой подведен трехфазный ток. Сборка отдельных частей прибора производится в следующей последовательности:
чашка прочно прикрепляется к вибростолу при помощи прижимов и педалей;
тросик протягивается вдоль кронштейна через два направляющих ролика, после чего один конец его соединяется при помощи крючка с конусом, другой с ведерком;
конус при необходимости, чтобы масса его была больше массы ведерца примерно на 100 г, утяжеляется с помощью грузиков; тогда он надежно удерживается в чашке до момента испытания;
дробоподатель заполняется дробью, и проверяется фактическая скорость высыпания дроби в секунду. Средняя скорость, определяемая как отношение фактической массы дроби, высыпавшейся за 15 с, к продолжительности высыпания (15 с), должна быть равна 200 г/с (±10 г), что регулируется отверстием затвора.
ИСПЫТАНИЕ АСФАЛЬТОВОГО БЕТОНА
Испытание на удобообрабатываемость асфальтобетонной смеси производится в следующей последовательности: вначале производится нагрев и смазка конуса, после чего конус устанавливается в вертикальном положении на дно чашки так, чтобы шип входил в паз. Испытуемая масса с заданной температурой 165° или 200 °С (при испытании литого асфальта) накладывается совком по возможности быстрее и равномернее в чашку, вокруг конуса. Для контроля за температурой смеси в чашку опускаются два термометра. Как только средняя температура смеси в чашке снизится на 5 °С, включается прибор. Уложенная смесь с конусом вибрируется на вибростолике в течение 10 с. По истечении 30 с выдержки открывается затвор дробоподателя, и в ведерце равномерно насыпается дробь до тех пор, пока не произойдет полного отрыва конуса из образца асфальтового бетона.
После отрыва конуса из образца ведерце с дробью взвешивается. Масса дроби определяется с точностью до 0,005 кг, а время истечения дроби до полного отрыва конуса - до 0,5 с.
За конечный результат принимается среднее арифметическое трех определений.
ОБЛАСТЬ РАСПРОСТРАНЕНИЯ
Настоящими методическими указаниями определена методика оценки сцепных качеств различных поверхностей с резиной по коэффициенту безопасности, косвенно характеризующему изменение величины коэффициента сцепления при увлажнении исследуемой поверхности.
Коэффициент безопасности определяют на стадии проектирования составов асфальтобетонных смесей при окончательном выборе материала для устройства дорожных асфальтобетонных покрытий с повышенными коэффициентами сцепления.
Эти испытания проводят на маятниковом приборе типа МП-3. Конструктивно прибор выполнен в виде маятника, качающегося на оси. В передней части маятника укреплен башмак, снабженный прокладкой из протекторной резины, которая соприкасается с испытуемой поверхностью на постоянной длине, равной 100 мм. Ось маятника укреплена на раме, опирающейся на исследуемую поверхность тремя установочными винтами. На раме укреплена шкала, градуированная от 0 до 100. В исходном положении стержень маятника располагается горизонтально и удерживается на опоре сбрасывающего механизма. Высота падения маятника постоянна и составляет 250 мм. Высота подъема маятника после прохождения участка трущихся поверхностей определяется по показанию стрелки на шкале. Стрелка приводится в движение маятником при его падении.
ПРИГОТОВЛЕНИЕ ОБРАЗЦОВ
Определение коэффициента безопасности производят на образцах размером 200´200´40 мм, а также на таком же образце, но с втопленным в поверхностный слой образца исследуемым материалом.
Изготовление образцов производят вибропрессованием в металлических формах. Формы - разъемные с вкладышами, свободно перемещающимися при вибрировании смеси (см. раздел «Изготовление образцов» приложения 4 настоящей «Инструкции»).
В случае изготовления образцов с втопленным материалом смесь вначале уплотняют в течение 20 с, пригруз вынимают из формы, и на образец распределяется равномерным слоем исследуемый материал. После этого пригруз вновь устанавливают в форму и производят доуплотнение смеси.
При остывании образцов с поверхности исследуемого материала удаляется слой вяжущего (битума) путем протирания поверхности щеткой, смоченной растворителем (бензином, керосином, бензолом, хлороформом и пр.).
Подготовленные образцы до испытания выдерживаются при температуре 18-20 °С в течение полутора - двух суток, при этом не допускается их деформирование при хранении.
ПОДГОТОВКА ПРИБОРА
Подготовка прибора к испытанию состоит в следующем: с помощью установочных винтов и уровня прибор устанавливают параллельно испытуемой поверхности, при этом добиваются, чтобы длина участка соприкосновения резины и покрытия равнялась 100 мм. Эта длина определяется на приборе следующим образом: резиновая накладка натирается мелом и после прохождения по испытуемой поверхности остается меловой след, по которому измеряется длина пути. На шкале остаются отметки, соответствующие положению маятника при входе и выходе из зоны контакта с испытуемой поверхностью.
ИСПЫТАНИЕ АСФАЛЬТОВОГО БЕТОНА
Испытание образцов производят при температуре 20 °С. Замеры производят на сухой и влажной поверхности образца.
Во время испытания образца на сухой поверхности образца маятник приводят в исходное положение и отпускают. Показанную подвижной стрелкой цифру регистрируют. Испытание повторяется 8-10 раз.
По окончании этого испытания трущуюся поверхность резины и исследуемую поверхность смачивают водой, затем маятник вновь отпускают и отмечают показания прибора.
Определив показатели, характеризующие сцепление покрытия с резиной в сухом и увлажненном состоянии, устанавливают их соотношение. Коэффициент безопасности определяют из выражения:
;
где К - безразмерный коэффициент безопасности;
250 - высота падения маятника, мм;
h1 - высота подъема маятника после прохождения участка соприкосновения резиновой накладки и сухой поверхности покрытия, мм;
h2 - то же, влажной поверхности, мм.
ПОЛИВОМОЕЧНЫЕ МАШИНЫ
|
Показатели |
Единица измерения |
Марка |
||
|
ПМ-130 |
АКПМ-3 |
КПМ-64 |
||
|
Емкость цистерн |
л |
6000 |
6000 |
5150 |
|
Ширина полосы поливки |
м |
15-18 |
15-18 |
14-18 |
|
то же, мойки |
м |
до 8 |
до 8 |
до 7 |
|
Производительность с расходом воды 1 л/м2 |
м2/с |
6,94 |
6,94 |
6,0 |
|
то же, 2 л/м2 |
м2/с |
4,16 |
4,16 |
3,0 |
|
Рабочая скорость |
м/с (км/ч) |
до 5,55 |
до 5,55 |
до 3,33 |
|
Масса машины без воды |
кг |
1760 |
1760 |
1710 |
АВТОГУДРОНАТОРЫ
|
Показатели |
Единица измерения |
Марка |
|||
|
ДС-10 |
ДС-39А |
ДС-53А |
ДС-82 |
||
|
Емкость цистерн |
л |
15000 |
3500 |
6000 |
6000 |
|
Скорость нагрева битума |
град/ч |
10 |
15 |
25 |
15 |
|
Снижение температуры битума |
град/ч |
3-4 |
3-4 |
2 |
3-4 |
|
Система распределения битума: |
|
|
|
|
|
|
ширина распределения |
м |
- |
4 |
4 |
4 |
|
норма разлива |
л/м2 |
- |
0,5-3 |
0,5-3 |
0,5-3 |
|
Скорость движения: |
|
|
|
|
|
|
рабочая |
м/с |
- |
0,97-0,69 |
0,93-0,69 |
0,83-2,64 |
|
|
(км/ч) |
- |
(3,5-2,5) |
(3,3-2,5) |
(3-9,5) |
|
транспортировка |
м/с |
- |
18,8 |
до 22,2 |
19,4 |
|
|
(км/ч) |
- |
(68) |
(80) |
(70) |
|
Габаритные размеры: |
|
|
|
|
|
|
длина |
м |
13,68 |
6,65 |
9,72 |
9,68 |
|
ширина |
м |
2,64 |
2,375 |
2,36 |
2,365 |
|
высота |
м |
3,2 |
2,48 |
2,62 |
2,56 |
|
Масса |
кг |
17345 |
5790 |
8700 |
10500 |
АСФАЛЬТОУКЛАДЧИКИ
|
Показатели |
Единица измерения |
Марка |
||||
|
ДС-1 |
super |
|||||
|
82 |
150 |
200 |
204 |
|||
|
Производительность |
кг/с |
22,2-27,7 |
27,7 |
27,7 |
27,7 |
27,7 |
|
Ширина укладываемой полосы |
мм |
3030-3630 |
2000-4000 |
2000-4500 |
2500-5000 |
2500-7600 |
|
Толщина укладываемого слоя |
мм |
30-1550 |
10-200 |
10-300 |
10-300 |
5-300 |
|
Частота колебаний трамбующего бруса |
удар/с |
23,3-24,2 |
25 |
25 |
30 |
30 |
|
Амплитуда колебаний |
мм |
3,2 |
4 |
4 |
4 |
4 |
|
Давление разглаживающей плиты |
МПа |
0,01-0,0125 |
- |
- |
- |
- |
|
Скорость передвижения рабочая |
м/с |
0,03-0,57 |
0,24-1,63 |
0,03-0,18 |
0,043-0,23 |
0,15-0,275 |
|
|
(км/ч) |
(0,11-2,1) |
(0,87-5,9) |
(0,11-0,65) |
(0,15-0,83) |
(0,54-1,0) |
|
Масса смеси в бункере |
кг |
4500 |
7300 |
10500 |
14000 |
14000 |
АСФАЛЬТОУКЛАДЧИКИ ДЛЯ ЛИТОГО АСФАЛЬТА
|
Показатели |
Единица измерения |
super 82-ГАФ, super 142-ГАФ |
|
Производительность |
кг/с |
9,72 |
|
Ширина укладываемой полосы |
мм |
2500-4500 |
|
Толщина укладываемого слоя |
мм |
20-50 |
|
Рабочая скорость передвижения |
м/с (км/ч) |
0,008-0,202 (0,03-0,73) |
|
Транспортная скорость |
м/с (км/ч) |
0,88-0,55 (3,19-19,8) |
|
Масса смеси в бункере |
кг |
7700 |
КАТКИ
|
Показатели |
Единица измерения |
Марка |
|||||||
|
вибрационный |
статический |
На пневматических шинах |
|||||||
|
ДУ-10А (Д-455А) |
ДУ-47А |
ДУ-50 |
ДУ-48А |
ДУ-9В |
ДУ-49А |
ДУ-31А |
ДУ-29 |
||
|
двухвальцовый |
трехвальцовый |
||||||||
|
1 |
2 |
3 |
4 |
5 |
6 |
7 |
8 |
9 |
10 |
|
Масса: |
|
|
|
|
|
|
|
|
|
|
без балласта |
кг |
1500 |
6000 |
6500 |
10000 |
10300 |
11000 |
8440 |
15300 |
|
с балластом |
кг |
1800 |
8000 |
8000 |
13000 |
18000 |
18000 |
16000 |
30000 |
|
Ширина уплотняемой полосы |
мм |
850 |
1200 |
1800 |
1850 |
1290 |
1290 |
1900 |
2220 |
|
Диаметр вальцов: |
|
|
|
|
|
|
|
|
|
|
ведомого |
мм |
612 |
1000 |
1000 |
1000 |
1300 |
1300 |
- |
- |
|
ведущего |
мм |
- |
- |
1300 |
1600 |
1600 |
1600 |
- |
- |
|
вибрационного |
мм |
725 |
1200 |
- |
- |
- |
- |
- |
- |
|
Ширина вальцов: |
|
|
|
|
|
|
|
|
|
|
ведомого |
мм |
- |
- |
1000 |
1040 |
1290 |
1290 |
- |
- |
|
ведущего |
мм |
- |
- |
500´2 |
530´2 |
1990 |
1290 |
- |
- |
|
Число колес: |
|
|
|
|
|
|
|
|
|
|
передних |
|
- |
- |
- |
- |
- |
- |
3 |
3 |
|
задних |
|
- |
- |
- |
- |
- |
- |
4 |
4 |
|
Давление воздуха в шинах |
МПа |
- |
- |
- |
- |
- |
- |
0,3-0,35 |
0,35-1 |
|
Линейное давление вальцов (с балластом): |
МПа |
- |
- |
4,0 |
7,5 |
6,0 |
3,5 |
- |
- |
|
вибрационного |
|
1,0-1,8 |
- |
- |
- |
- |
- |
- |
- |
|
направляющего |
|
0,7-1,0 |
- |
- |
- |
- |
- |
- |
- |
|
Радиус поворота по внутреннему следу |
м |
- |
- |
3,0 |
3,6 |
4,3 |
4,5 |
- |
- |
|
Скорость передвижения (рабочая) |
км/ч |
1,8; 3,0 |
1,8; 3,35 |
2,73 |
0-6,55 |
8,0-7,8 |
транспортная |
||
|
|
|
|
6,8 |
|
|
|
|
20,5 |
до 23 |
|
Габаритные размеры |
мм |
|
|
|
|
|
|
|
|
|
длина |
|
2800 |
4500 |
4378 |
5200 |
6080 |
6315 |
5300 |
6160 |
|
ширина |
|
980 |
1600 |
1800 |
1850 |
2070 |
2040 |
1970 |
2890 |
|
высота |
|
2200 |
2606 |
2600 |
2600 |
2500 |
3410 |
3200 |
3410 |
|
Изготовитель (завод) |
|
Калининский Стройдормаш |
Рыбинский завод дорожных машин |
Мингечаурский завод дорожных машин |
Орловский завод дорожных машин |
||||
|
Наименование |
Количество; шт. |
|
Передвижной фургон с бытовыми принадлежностями |
1 |
|
Ограждения металлические или деревянные |
10 |
|
Ограждающие конуса |
100 |
|
Предупредительные дорожные знаки |
10 |
|
Сегменты железобетонные |
150 |
|
Шаблон на 15-25 ‰ длиной 3 м |
1 |
|
Нивелир |
1 |
|
Визирки дюралюминиевые (комплект) |
2 |
|
Рейки дюралюминиевые 3-метровые |
2 |
|
Утюги, работающие на жидком топливе или газе |
2 |
|
Тачки металлические |
2 |
|
Аптечка |
1 |
|
Лопаты |
15 |
|
Ломы асфальтовые с лопаточкой |
5 |
|
Грабли металлические |
3 |
|
Трамбовка чугунная 15´15 см |
2 |
|
Термометры на 200-300 °C |
5 |
|
Шнур отбойный длиной 100 м |
1 |
|
Металлические щетки |
3 |
|
Метлы |
20 |
|
Рулетка длиной 10 м |
1 |
|
Метр металлический |
2 |
|
Крючки для открывания бортов самосвалов и люков колодцев |
2 |
1. ВСН-8-62 «Технические правила на устройство в г. Москве дорожных асфальтобетонных покрытий». - М.: Мосоргстрой, 1962.
2. ВСН-4-66 Главмосстроя. «Временные технические указания по устройству в г. Москве дорожных асфальтобетонных покрытий с повышенным коэффициентом сцепления». - М.: Мосоргстрой, 1967.
3. ВСН-5-68 Главмосстроя «Технические указания по проектированию и устройству дорожных асфальтобетонных покрытий на основаниях из битумоминеральных смесей». - М.: Мосоргстрой, 1968 г.
4. Альбом СК 6101-79 «Конструкции дорожных одежд для г. Москвы. Типовые конструкции». - М.: Мосинжпроект, 1979.
5. СНиП II-60-75 «Планировка и застройка городов, поселков и сельских населенных пунктов». - М.: Стройиздат, 1975.
6. ВСН-5-76 Главмосстроя «Инструкция по расчету и конструированию дорожных одежд с асфальтобетонным покрытием». - М.: Мосоргстрой, 1976.
7. ВСН-51-80 «Инструкция по применению тощего бетона в конструкциях дорожных одежд». - М.: Главмосинжстрой, 1981.
8. СНиП III-40-78 «Правила производства и приемки работ. Автомобильные дороги». - М.: Стройиздат, 1979.
9. ГОСТ 9128-76 «Смеси асфальтобетонные дорожные, аэродромные и асфальтобетон». Технические условия.
10. ТУ-400-24-104-76 «Смеси асфальтобетонные с применением щебня «дорсил». - М.: Мосоргинжстрой, 1977.
11. ТУ-400-24-103-76 «Литой асфальт». Технические условия. - М.: Мосоргинжстрой, 1978.
12. ТУ-400-24-107-76 «Смеси асфальтобетонные (горячие) крупно- и среднезернистые для плотного асфальтового бетона». Технические условия. - М.; Мосоргинжстрой, 1977.
13. ТУ-400-24-115-78 «Смеси асфальтобетонные (регенерированные) дорожные». Технические условия. - М.: Главмосинжстрой, 1978.
14. ГОСТ 8267-75 «Щебень из естественного камня для строительных работ». Технические условия.
15. ГОСТ 10260-74 «Щебень из гравия для строительных работ». Технические условия.
16. ГОСТ 8736-77 «Песок для строительных работ». Технические условия.
17. ГОСТ 16557-78 «Порошок минеральный для асфальтобетонных смесей». Технические условия.
18 ТУ-21-38-148-77 «Щебень «дорсил». Технические условия. - М.: ГНИИстекла, 1975.
19. ГОСТ 22245-76 «Битумы нефтяные дорожные вязкие». Технические условия.
20. BCH-59-68 «Инструкция по использованию поверхностно-активных веществ при строительстве дорожных покрытий с применением битумов». - М.: СОЮЗдорНИИ, 1968.
21. СТП-24-80 «Организация производства смесей асфальтобетонных (горячих) дорожных, аэродромных (на примере предприятий Главмосинжстроя)».
22. Каталог продукции, выпускаемой асфальтобетонными заводами треста Мосасфальтстрой. - М.: Мосоргинжстрой, 1978.
23. Прейскурант № 06-12-01 «Оптовые цены на каолин, тальк, асфальт, мрамор и другие виды продукции неметаллорудной промышленности». Госкомитет цен СМ РСФСР. Часть I. Введен в действие с 1 января 1982г.
24. ТУ-400-24-105-76 «Щебень черный горячий». Технические условия. - М .: Мосоргинжстрой, 1977.
25. ВСН-29-76 Главмосинжстроя «Инструкция на использование старого асфальта в конструктивных слоях дорожных одежд». - М.: Мосоргинжстрой, 1977.
26. ВСН-43-78 Главмосинжстроя «Инструкция по устройству дорожных одежд с использованием регенерированного старого асфальта». - М.: Мосоргинжстрой, 1979.
27. ВСН-41-78 Главмосинжстроя «Инструкция на устройство цветных и декоративных покрытий городских улиц и площадей». - М.: Мосоргинжстрой, 1978.
28. ВСН-31-76 Главмосинжстроя «Инструкция на устройство дорожных покрытий из литого асфальта». - М.: Мосоргинжстрой, 1978.
29. ВСН-45-79 Главмосинжстроя «Указания по организации строительства покрытий из литого асфальта». - М.: Мосоргинжстрой, 1979.
30. ГОСТ 12801-77 «Смеси асфальтобетонные дорожные, аэродромные и асфальтобетон». Методы испытаний.
31. ГОСТ 8269-76 «Щебень из естественного камня, гравий и щебень из гравия для строительных работ». Методы испытаний.
32. ГОСТ 8735-75 «Песок для строительных работ». Методы испытаний.
33. ГОСТ 12784-78 «Порошок минеральный для асфальтобетонных смесей». Методы испытаний.
34. ГОСТ 11501-78, ГОСТ 11512-65 «Битумы нефтяные». Методы испытаний.
35. ГОСТ 4.61-80 «Битумы нефтяные». Номенклатура показателей.
36. СНиП II-Д. 5-72 «Автомобильные дороги». Нормы проектирования.
37. ГОСТ 10807-71 «Знаки дорожные».
38. ГОСТ 18659-81 «Эмульсии дорожные битумные».
39. ВСН-115-75 Минтрансстроя «Технические указания по приготовлению и применению дорожных эмульсий». - М.: Транспорт, 1976.
40. ТУ-17-62 (Ж-81) «Технические условия на битумные дорожные эмульсии». - М.: Главмосстрой, 1963.
|
ГОСТЫ, СТРОИТЕЛЬНЫЕ и ТЕХНИЧЕСКИЕ НОРМАТИВЫ. Некоммерческая онлайн система, содержащая все Российские Госты, национальные Стандарты и нормативы. В Системе содержится более 150000 файлов нормативно-технической документации, действующей на территории РФ. Система предназначена для широкого круга инженерно-технических специалистов. Copyright © www.gostrf.com, 2008 - 2026 |