Крупнейшая бесплатная информационно-справочная система онлайн доступа к полному собранию технических нормативно-правовых актов РФ. Огромная база технических нормативов (более 150 тысяч документов) и полное собрание национальных стандартов, аутентичное официальной базе Госстандарта. GOSTRF.com - это более 1 Терабайта бесплатной технической информации для всех пользователей интернета. Все электронные копии представленных здесь документов могут распространяться без каких-либо ограничений. Поощряется распространение информации с этого сайта на любых других ресурсах. Каждый человек имеет право на неограниченный доступ к этим документам! Каждый человек имеет право на знание требований, изложенных в данных нормативно-правовых актах!

  


 

ГОСУДАРСТВЕННЫЙ СТАНДАРТ СОЮЗА ССР

ПЛАСТМАССЫ И ЭБОНИТ

МЕТОД ОПРЕДЕЛЕНИЯ ТЕПЛОСТОЙКОСТИ ПО МАРТЕНСУ

ГОСТ 21341-75
(СТ СЭВ 895-78)

ГОСУДАРСТВЕННЫЙ КОМИТЕТ СССР ПО СТАНДАРТАМ
Москва

СОДЕРЖАНИЕ

ГОСУДАРСТВЕННЫЙ СТАНДАРТ СОЮЗА ССР

ПЛАСТМАССЫ И ЭБОНИТ

Метод определения теплостойкости по Мартенсу

Plastics and ebonite Method of determining the Martens heat resistance temperature

ГОСТ
21341-75*

(СТ СЭВ 895-78)

Взамен
ГОСТ 15089-69 и
ГОСТ 272-41

Постановлением Государственного комитета стандартов Совета Министров СССР от 8 декабря 1975 г. № 3811 срок введения установлен

с 01.01. 1978 г.

Проверен в 1979 г. Срок действия продлен

до 01.01. 1987 г.

Несоблюдение стандарта преследуется по закону

Настоящий стандарт распространяется на пластмассы и эбонит и устанавливает метод определения теплостойкости по Мартенсу.

Стандарт не распространяется на материалы, у которых:

теплостойкость по Мартенсу ниже 313 К (40°С);

кривая зависимости деформации от температуры, получаемая при деформации до 6 мм при помощи дополнительных устройств (индикаторной головки), имеет S-образную форму.

Сущность метода заключается в определении температуры, при которой образец, нагреваемый с постоянной скоростью и находящийся под действием постоянной изгибающей нагрузки, деформируется на заданную величину.

Стандарт соответствует СТ СЭВ 895-78 в части, касающейся пластмасс (см. справочное приложение).

1. МЕТОДЫ ОТБОРА ПРОБ

1.1. Отбор проб, а также режим и способ изготовления образцов должны соответствовать нормативно-технической документации на материал.

1.2. Образцы для испытаний изготовляют формованием, а из готовых изделий и листов - способом механической обработки. При изготовлении образцов резанием показатели их свойств не должны меняться.

1.3. Образцы должны иметь форму брусков, имеющих размеры, указанные в табл. 1.

Таблица 1

мм

Номер образца

Длина

Ширина

Толщина

1

120±2

15±0,5

10+0,5

2

80±1

10±0,2

4+0,2

3

50±0,5

6±0,2

4±0,2

Номер образца указывают в нормативно-технической документации на материал.

1.4. Образцы для испытаний должны быть без вздутий, раковин, заусенцев, сколов, трещин.

1.5. Для испытаний берут три образца.

2. АППАРАТУРА

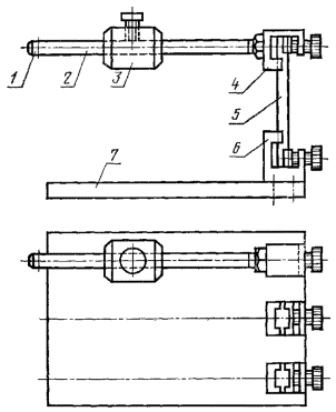
2.1. Прибор для определения теплостойкости по Мартенсу состоит из зажимно-нагрузочного устройства, указателя деформации, термошкафа с системой регулирования и измерения температуры.

Зажимно-нагрузочное устройство

1 - ось указателя деформации; 2 - рычаг; 3 - перемещаемый груз; 4 - верхняя зажимная головка; 5 - образец; 6 - нижняя зажимная головка.

Черт. 1

2.1.1. Зажимно-нагрузочное устройство должно обеспечивать закрепление и нагружение образцов (черт. 1). Схематическое изображение зажимных устройств, установленных на опорной плите для трех образцов, приведено на черт. 2.

Зажимное устройство

1 - ось указателя деформации; 2 - рычаг; 3 - перемещаемый груз; 4 - верхняя зажимная головка; 5 - образец; 6 - нижняя зажимная головка; 7 - опорная плита.

Черт. 2

Каждый образец закрепляют в вертикальном положении в нижней и верхней головках с упорами, с верхней головкой соединен рычаг с перемещаемым грузом. Груз на рычаге устанавливают так, чтобы изгибающее напряжение ось равнялось 5 ± 0,5 МПа.

Вид зажимных головок и упоров для испытания образцов различных размеров приведен на черт. 3-6.

Зажимные головки и упоры должны быть изготовлены из стали.

Верхняя зажимная головка для образца 1

Черт 3

Верхняя зажимная головка для образцов 2 и 3

Черт. 4

Сменный упор для образца 2 для зажимной головки

Черт. 5

Сменный упор для образцов 3 для зажимной головки

Черт. 6

Значения масс перемещаемых грузов и номера чертежей зажимных головок и упоров для испытания образцов разных размеров должны соответствовать указанным в табл. 2.

Таблица 2

Номер образца

Масса перемещаемого груза, кг

Номер чертежа

зажимной головки

упора

1

0,650

3

3

2

0,200

4

5

3

0,100

4

6

Примечания: 1. Нижняя зажимная головка для образцов 1-3 указана соответственно на черт. 3-4.

2. Упор и зажимная головка совмещены и указаны на черт. 3.

2.1.2. Указатель деформации фиксирует перемещение конца рычага на 6,0 ± 0,1 мм.

2.1.3. В термошкаф устанавливают плиту с одним или несколькими зажимными устройствами, рассчитанными соответственно на один или несколько образцов.

Нагревательное устройство и система регулирования температуры должна обеспечивать равномерное повышение температуры воздуха в термошкафу со скоростью 323 ± 5К (50 ± 5°С) в 1 ч, начиная от температуры 298 ± 2К (25 ± 2°С).

Температуру измеряют ртутным термометром с ценой деления шкалы не более 1К (1°С). Независимо от числа испытуемых образцов для измерения температуры используют два термометра и размещают их так, чтобы шарики с ртутью находились в зоне расположения образцов.

Допускается использовать термопары или другие устройства, обеспечивающие необходимую точность. Показания термометров при испытании не должны различаться более чем на 2К, Для уменьшения перепада температур воздух в термошкафу рекомендуется перемешивать при помощи вентилятора.

2.1.4. Прибор для измерения длины, ширины, толщины образцов, обеспечивающий измерение с погрешностью не более 0,1 мм.

3. ПОДГОТОВКА К ИСПЫТАНИЮ

3.1. Перед испытанием образцы пластмасс кондиционируют по ГОСТ 12423-66, образцы эбонита - по ГОСТ 269-66, если в нормативно-технической документации на материал нет других указаний.

3.2. Длину, ширину, толщину образцов измеряют с погрешностью не более 0,1 мм.

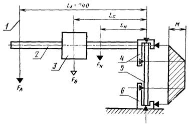
3.3. Положение перемещаемого груза на рычаге - расстояние между центром тяжести перемещаемого груза и продольной осью образца (LG) в миллиметрах вычисляют по формуле:

где b - ширина образца, мм;

S - толщина образца, мм;

FH - нагрузка, создаваемая верхней зажимной головкой с упорами, Н;

lH - расстояние между центром тяжести рычага с верхней зажимной головкой и продольной осью образца, мм;

FA - нагрузка, создаваемая указателем деформации (в некоторых системах приборов FA = 0), Н;

lA - расстояние между продольной осью указателя деформации и продольной осью образца, мм;

FG - нагрузка, создаваемая перемещаемым грузом, Н.

4. ПРОВЕДЕНИЕ ИСПЫТАНИЯ

4.1. Образцы устанавливают в зажимно-нагрузочное устройство и затем помещают его в термошкаф. Сторона образца, на которой были заусенцы, возникшие во время прессования и снятые шлифованием, должна находиться в зоне сжатия. Перед началом испытания образец должен находиться в вертикальном положении, а рычаг зажимного устройства - в горизонтальном.

4.2. После установки в термошкаф зажимно-нагрузочного устройства с образцами устанавливают термометры и включают обогрев с системой регулирования температуры. Температура в термошкафу должна равномерно повышаться на 323 ± 5К (50 ± 5°С) за час. Начальная температура испытания 298 ± 2К (25 ± 2°С).

4.3. В момент, когда деформация достигнет 6 ± 0,1 мм, отмечают показания двух термометров и вычисляют среднее арифметическое значение двух показаний с округлением до целых градусов. Вычисленная температура является теплостойкостью по Мартенсу для данного образца.

4.4. Если на образце после испытания обнаружились трещины, вспучивание, расслоение и другое, испытание считают недействительным и проводят испытание на другом образце.

5. ОБРАБОТКА РЕЗУЛЬТАТОВ

5.1. Теплостойкость по Мартенсу в целых градусах Кельвина определяют как среднее арифметическое значение теплостойкости трех испытуемых образцов.

5.2. Если результаты испытаний трех образцов расходятся более чем на 5 К, испытание повторяют, используя новые образцы. За окончательный результат принимают результат повторного испытания.

Для образцов, у которых при повторном испытании результаты расходятся более чем на 5 К, теплостойкость материала по Мартенсу не вычисляют.

5.3. Результаты испытания записывают в протоколе, который должен содержать:

наименование и марку материала;

наименование предприятия-изготовителя материала;

способ изготовления образцов;

условия кондиционирования образцов;

значения теплостойкости по Мартенсу для каждого образца;

теплостойкость по Мартенсу материала особые замечания;

обозначение настоящего стандарта;

дату испытания;

отбор образцов;

размеры образцов.

ПРИЛОЖЕНИЕ
Справочное

Информационные данные о соответствии ГОСТ 21341-75 (с изменением № 1) и СТ СЭВ 895-78.

Введение ГОСТ 21341-75 соответствует введению и п. 4.3. СТ СЭВ 895-78.

Пункт 1.1. ГОСТ 21341-75 соответствует пункту 2.1, 2.3 СТ СЭВ 895-78.

Пункт 1.2 ГОСТ 21341-75 соответствует пунктам 2.1, 2.3, 2.4 СТ СЭВ895-78.

Пункт 1.3 ГОСТ 21341-75 соответствует пункту 2.2 СТ СЭВ 895-78.

Пункт 1.4 ГОСТ 21341-75 соответствует пункту 2.1 СТ СЭВ 895-78.

Пункт 1.5 ГОСТ 21341-75 соответствует пункту 4.1 СТ СЭВ 895-78.

Раздел 2 ГОСТ 21341-75 соответствует разделу 3 СТ СЭВ 895-78.

Пункт 3.1 ГОСТ 21341-75 соответствует пункту 2.4 СТ СЭВ 895-78.

Пункт 3.2. ГОСТ 21341-75 соответствует пункту 4.2 СТ СЭВ 895-78.

Пункт 3.3. ГОСТ 21341-75 соответствует пункту 3.1.1 СТ СЭВ 895-78.

Раздел 4 ГОСТ 21341-75 соответствует разделу 5 СТ СЭВ 895-78.

Раздел 5 ГОСТ 21341-75 соответствует разделам 6 и 7 СТ СЭВ 895-78.

 

 




ГОСТЫ, СТРОИТЕЛЬНЫЕ и ТЕХНИЧЕСКИЕ НОРМАТИВЫ.
Некоммерческая онлайн система, содержащая все Российские Госты, национальные Стандарты и нормативы.
В Системе содержится более 150000 файлов нормативно-технической документации, действующей на территории РФ.
Система предназначена для широкого круга инженерно-технических специалистов.

Рейтинг@Mail.ru Яндекс цитирования

Copyright © www.gostrf.com, 2008 - 2026