Крупнейшая бесплатная информационно-справочная система онлайн доступа к полному собранию технических нормативно-правовых актов РФ. Огромная база технических нормативов (более 150 тысяч документов) и полное собрание национальных стандартов, аутентичное официальной базе Госстандарта. GOSTRF.com - это более 1 Терабайта бесплатной технической информации для всех пользователей интернета. Все электронные копии представленных здесь документов могут распространяться без каких-либо ограничений. Поощряется распространение информации с этого сайта на любых других ресурсах. Каждый человек имеет право на неограниченный доступ к этим документам! Каждый человек имеет право на знание требований, изложенных в данных нормативно-правовых актах!

  


 

Министерство Внутренних Дел Российской Федерации

Государственная Противопожарная Служба

Нормы пожарной безопасности

Техника пожарная.

Автолестницы и автоподъемники пожарные.

Термины и определения

Fire engineering.
Fire aerial ladders and elevators.
Terms and definitions

НПБ 191-2000

Москва 2000

Разработаны Федеральным государственным учреждением «Всероссийский ордена «Знак Почета» научно-исследовательский институт противопожарной обороны Министерства внутренних дел Российской Федерации» (ФГУ ВНИИПО МВД России) (В.В. Самохвалов, А.М. Петров, Л.С. Черткова).

Внесены и подготовлены к утверждению отделом пожарной техники и вооружения Главного управления Государственной противопожарной службы Министерства внутренних дел Российской Федерации (ГУГПС МВД России).

Утверждены приказом ГУГПС МВД России от 27 сентября 2000 г. № 52.

Дата введения в действие

1 декабря 2000 г.

Вводятся впервые.

1. Область применения

1.1. Настоящие нормы устанавливают термины и определения понятий, относящихся к пожарным автолестницам и пожарным автоподъемникам.

Термины, установленные настоящими нормами, обязательны для применения во всех видах документации и литературы, входящих в сферу действия стандартизации и использующих результаты этой деятельности.

Для каждого понятия установлен один стандартизованный термин. Применение терминов-синонимов стандартизованного термина не допускается. В приложениях даны рисунки, поясняющие некоторые термины, приведенные в настоящих нормах.

Для отдельных стандартизованных терминов приведены в качестве справочных краткие формы, которые разрешается применять в случаях, исключающих возможность их различного толкования.

В случаях, когда в термине содержатся все необходимые и достаточные признаки понятия, определение не приведено.

Стандартизованные термины набраны полужирным шрифтом, их краткая форма - светлым шрифтом.

1.2. Настоящие нормы могут применяться при проведении сертификационных испытаний в Системе сертификации в области пожарной безопасности.

2. Пожарные автомобили

2.1. Пожарная автолестница (автолестница АЛ) * - пожарный автомобиль со стационарной механизированной выдвижной и поворотной лестницей (ГОСТ 12.2.047-86).

2.2. Пожарный автоподъемник (автоподъемник, АПК) * - пожарный автомобиль со стационарной механизированной поворотной коленчатой, телескопической и коленчато-телескопической подъемной стрелой, последнее звено которой заканчивается люлькой (ГОСТ 12.2.047-86).

Коленчатый АПК - с шарнирным соединением колен (приложение 1191-00a приложение 1, рисунок 1.1).

Телескопический АПК - с телескопическим соединением колен (приложение 1, рисунок 1.2).

Коленчато-телескопический АПК - с шарнирно-телескопическим соединением колен (приложение 1, рисунок 1.3).

_________

* Термины приведены для справки.

3. Основные части, элементы конструкций, узлы и механизмы

3.1. Базовое шасси АЛ (АПК) * - шасси автомобиля, на котором монтируются стрелы АЛ (АПК).

3.2. Несущая рама АЛ (АПК) - основание, крепящееся к раме базового шасси, на котором устанавливаются все основные элементы конструкции АЛ (АПК).

3.3. Стрела (комплект колен АЛ, АПК) - основной элемент конструкции, обеспечивающий действия пожарных в пределах рабочего поля движения стрелы (люльки) АЛ (АПК).

3.4. Подъемно-поворотное основание АЛ (АПК) - устройство, обеспечивающее подъем стрелы в вертикальной плоскости и поворот ее относительно вертикальной оси.

3.5. Выносные опоры АЛ (АПК) - устройства, обеспечивающие грузовую устойчивость АЛ (АПК) при работе и предохраняющие рессоры и шины базового шасси от воздействия дополнительных нагрузок, возникающих при работе.

3.6. Люлька АЛ (АПК) - устройство, обеспечивающее удобство и безопасность эвакуации людей и работу пожарных на высоте при тушении пожара, устанавливаемое на вершине стрелы или подвешиваемое к тяговому канату лифтовой системы.

3.7. Лифтовая система (лифт) АЛ (АПК) - устройство, обеспечивающее подъем и опускание люльки вдоль лестницы.

3.8. Ловитель лифтовой системы АЛ (АПК) - устройство, предотвращающее падение (неуправляемое скольжение вниз вдоль лестницы) люльки лифта при обрыве или ослаблении тягового каната лифтовой системы.

3.9. Система блокировки упругой подвески пожарных АЛ (АПК) - устройства, предназначенные для блокировки мостов базового шасси с его рамой.

3.10. Гидравлическая система (основной привод) АЛ (АПК) - силовая группа, гидропривод, система трубопроводов и гидрораспределителей, предназначенных для функционирования механизмов АЛ (АПК), регулирования и поддержания давления рабочей жидкости в необходимых пределах, контроля положения колен и их блокировки.

3.11. Механизм поворота стрелы АЛ (АПК).

3.12. Механизм подъема-опускания стрелы АЛ (АПК).

3.13. Механизм выдвигания-сдвигания стрелы АЛ.

3.14. Механизм установки опор АЛ (АПК).

3.15. Механизм подъема-опускания люльки АЛ.

3.16. Механизм подъема-опускания лифта АЛ.

3.17. Механизм поворота люльки АЛ (АПК).

3.18. Механизм бокового выравнивания АЛ (АПК) - механизм, автоматически устанавливающий подъемно-поворотное основание в горизонтальное положение.

3.19. Аварийный привод АЛ (АПК) - система устройств, предназначенная для приведения АЛ (АПК) из рабочего в транспортное положение в случае неисправности силовой группы гидравлической системы.

3.20. Пульт управления АЛ (АПК) - устройство, обеспечивающее управление и контроль за положением стрелы (люльки) и состоянием основных элементов конструкции при работе АЛ (АПК).

3.21. Основной пульт управления АЛ (АПК) - пульт управления, расположенный на подъемно-поворотном основании.

3.22. Дополнительный пульт управления АЛ (АПК) - пульт управления, расположенный в люльке.

3.23. Ограничитель рабочего поля движения стрелы люльки АЛ (АПК) - устройство, предотвращающее возможность вывода стрелы (люльки) АЛ (АПК) за границу ее рабочего поля.

3.24. Ограничитель грузоподъемности АЛ (АПК) - устройство, автоматически отключающее привод механизмов АЛ (АПК) в случае превышения грузоподъемности стрелы (люльки).

3.25. Счетчик моточасов АЛ (АПК) - устройство, фиксирующее время работы основного привода механизмов АЛ (АПК).

3.26. Ограничитель лобового удара - устройство, автоматически отключающее привод механизмов АЛ (АПК) для предотвращения соприкосновения вершины лестницы или люльки с препятствием.

3.27. Система блокировки упругой подвески автомобиля - устройство, предназначенное для блокировки мостов базового шасси с его рамой.

__________

* Термины приведены для справки.

4. Основные характеристики

4.1. Высота подъема АЛ (АПК) H *, м - расстояние по вертикали от горизонтальной опорной поверхности до верхней ступени лестницы (для АЛ с люлькой и для АПК - до пола люльки).

4.2. Вылет АЛ (АПК) B *, м - расстояние по горизонтали от оси вращения подъемно-поворотного основания до верхней ступени лестницы (для АЛ с люлькой и для АПК - до наружного (внешнего) края пола люльки).

4.3. Длина лестничного марша (лестницы) АЛ L *, м - расстояние от самой нижней до самой верхней ступени лестницы (зависит от степени выдвигания лестницы).

4.4. Угол подъема стрелы АЛ (АПК) a *, ...° - угол между горизонтальной плоскостью и стрелой АЛ (для АПК - нижним коленом стрелы).

__________

* См. приложение 2191-00а Приложение 2.

4.5. Рабочий диапазон подъема стрелы АЛ - угловое перемещение стрелы АЛ в вертикальной плоскости (от минимального до максимального угла подъема).

4.6. Рабочее поле движения стрелы (люльки) АЛ (АПК), м - зона, очерченная вершиной стрелы (внешним краем люльки) при ее маневрировании с максимальными значениями вылета и высоты для соответствующего значения грузоподъемности (приложение 3191-00а Приложение 3).

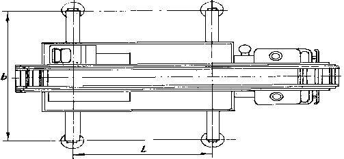
4.7. Ширина опорного контура АЛ (АПК) b, м - расстояние между вертикальными осями двух противоположных относительно продольной оси АЛ (АПК) выносных опор (приложение 4191-00а Приложение 4).

4.8. Длина опорного контура АЛ (АПК) l, м - расстояние между вертикальными осями двух наиболее удаленных друг от друга выносных опор, расположенных по одну сторону от продольной оси АЛ (АПК) (приложение 4).

4.9. Поперечный угол наклона базового шасси АЛ (АПК) в, ...° - угол наклона АЛ (АПК) между горизонтальной поверхностью и задней осью базового шасси АЛ (АПК) (приложение 5191-00а Приложение 5).

4.10. Продольный угол наклона базового шасси АЛ (АПК) g, ...° - угол между горизонтальной поверхностью и продольной осью базового шасси АЛ (АПК) (приложение 6191-00а Приложение 6).

4.11. Время маневра * АЛ (АПК), с - промежуток времени с момента перемещения тумблера (рычага и т. д.), с помощью которого обеспечивается управление соответствующим маневром до момента, когда исполнительный механизм, обеспечивающий выполнение данного маневра, достиг своего предельного положения или соответствующий элемент изделия достиг требуемого положения.

__________

* Маневр - выполнение стрелой АЛ (АПК) определенной операции.

4.12. Одновременный маневр стрелой АЛ (АПК) - одновременное выполнение стрелой АЛ (АПК) двух и более маневров.

4.13. Полная масса АЛ (АПК), кг - масса АЛ (АПК) в полностью заправленном состоянии, укомплектованных пожарно-техническим вооружением, инструментом и запасным колесом с боевым расчетом и водителем.

4.14. Грузоподъемность АЛ (АПК), кг - максимально допустимая масса груза, которым может быть нагружена стрела (люлька) АЛ (АПК) для данного вылета.

4.15. Грузовая статическая устойчивость АЛ (АПК) - способность АЛ (АПК) противодействовать силам, стремящимся ее опрокинуть (масса груза, силы инерции, ветровая нагрузка и т. д.).

4.16. Коэффициент грузовой устойчивости АЛ (АПК) - величина, характеризующая устойчивость АЛ (АПК) при работе и определяемая зависимостью:

К = ,

где Му - суммарный момент от собственной массы АЛ (АПК), удерживающий их от опрокидывания; Мо - суммарный момент от собственной массы части стрелы АЛ (АПК), полезной нагрузки и дополнительных нагрузок (сила инерции, ветровая нагрузка и реакция струи от пожарного ствола).

4.17. Коэффициент поперечной статической устойчивости АЛ (АПК) - величина, определяемая зависимостью:

К = ,

где b - ширина колеи базового шасси АЛ (АПК), м; h - высота центра массы АЛ (АПК) в транспортном положении.

4.18. Устойчивость при движении - способность АЛ (АПК) сохранять устойчивость и управляемость при движении на максимальных скоростях для конкретных дорожных условий.

4.19. Прогиб стрелы АЛ (АПК), м - разность по высоте расположения верхней ступени АЛ без нагрузки и с нагрузкой (для АЛ с люлькой и АПК - разность по высоте расположения пола люльки без нагрузки и с нагрузкой).

4.20. Удельная материалоемкость АЛ (АПК) - отношение сухой массы АЛ (АПК) к произведению высоты АЛ (АПК) на грузовой момент.

4.21. Сухая масса АЛ (АПК) - масса АЛ (АПК) без боевого расчета, водителя, пожарно-технического вооружения, инструмента, запасного колеса и топлива.

5. Нормативные ссылки

В настоящих нормах использован следующий нормативный документ:

ГОСТ 12.2.047-86 Пожарная техника. Термины и определения.

Приложение 1
(справочное)

Рисунок 1.1. Коленчатый АПК

Рисунок 1.2. Телескопический АПК

Рисунок 1.3. Коленчато-телескопический АПК

Приложение 2
(справочное)

Рисунок 2.1. Основные характеристики АЛ:

Н - рабочая высота; В - вылет; L - длина лестницы; a - угол подъема стрелы

Рисунок 2.2. Основные характеристики АПК:

н - рабочая высота; В - вылет; a - угол подъема стрелы

Приложение 3
(справочное)

Рабочее поле движения стрелы (люльки)

Приложение 4
(справочное)

Размеры опорного контура (АПК):

b - ширина опорного контура; L - длина опорного контура

Приложение 5
(справочное)

Поперечный угол наклона АЛ:

b - поперечный угол наклона

Приложение 6
(справочное)

Продольный угол наклона АЛ:

g - продольный угол наклона

Приложение 7
(справочное)

Характеристики для определения грузовой статической устойчивости пожарных АЛ (АПК)

СОДЕРЖАНИЕ

 

 




ГОСТЫ, СТРОИТЕЛЬНЫЕ и ТЕХНИЧЕСКИЕ НОРМАТИВЫ.
Некоммерческая онлайн система, содержащая все Российские Госты, национальные Стандарты и нормативы.
В Системе содержится более 150000 файлов нормативно-технической документации, действующей на территории РФ.
Система предназначена для широкого круга инженерно-технических специалистов.

Рейтинг@Mail.ru Яндекс цитирования

Copyright © www.gostrf.com, 2008 - 2026