Крупнейшая бесплатная информационно-справочная система онлайн доступа к полному собранию технических нормативно-правовых актов РФ. Огромная база технических нормативов (более 150 тысяч документов) и полное собрание национальных стандартов, аутентичное официальной базе Госстандарта. GOSTRF.com - это более 1 Терабайта бесплатной технической информации для всех пользователей интернета. Все электронные копии представленных здесь документов могут распространяться без каких-либо ограничений. Поощряется распространение информации с этого сайта на любых других ресурсах. Каждый человек имеет право на неограниченный доступ к этим документам! Каждый человек имеет право на знание требований, изложенных в данных нормативно-правовых актах!

  


 

ЦНИИпромзданий Госстроя СССР

Рекомендации
по эксплуатации и ремонту кровель
из рулонных материалов

Москва 1986

Рекомендованы к изданию решением секции ограждающих конструкций Научно-технического совета ЦНИИпромзданий Госстроя СССР.

Рекомендации по эксплуатации и ремонту кровель из рулонных материалов/ЦНИИпромзданий. - 2-е изд., испр. и доп. - М.: Стройиздат, 1986.

Содержатся рекомендации по эксплуатации кровель и требования к их конструктивным элементам, применяемым в массовом промышленном строительстве, к материалам, употребляемым для их устройства и ремонта, и к приемам выполнения ремонтных работ.

В приложении приведен перечень оборудования и инструментов для производства работ по устройству и ремонту кровель.

1-е издание вышло в 1969 г.

Для инженерно-технических работников эксплуатационных служб проектных и строительных организаций.

Табл. 3, ил. 4.

Разработаны ЦНИИпромзданий Госстроя СССР (канд. техн. наук М.И. Поваляев и инж. О.К. Михайлова).

1. ОБЩИЕ ПОЛОЖЕНИЯ

1.1. Настоящие рекомендации определяют условия эксплуатации и ремонта кровель, выполняемых из рулонных кровельных материалов, наклеиваемых на мастиках и на вяжущем покровных слоев наплавляемых материалов.

1.2. Срок службы кровель зависит от:

интенсивности эксплуатационных воздействий;

капитальности кровель (в том числе наличия защитных слоев) и соответствия их конструктивных решений требованиям главы СНиП II-26-76 «Кровли»;

соответствия качества применяемых рулонных материалов и кровельных мастик требованиям действующих стандартов и технических условий;

качества изоляционных работ и их соответствия требованиям главы СНиП III-20-74 «Кровли, гидроизоляция, пароизоляция и теплоизоляция»;

своевременного выполнения работ по содержанию и ремонту кровель в соответствии с указаниями настоящих Рекомендаций.

1.3. Для выполнения работ, проведение которых обеспечивает содержание кровель в исправном состоянии, должны производиться плановые освидетельствования кровель - весной после освобождения их от снежного покрова, осенью перед наступлением дождливого периода и внеплановые - после ливневых дождей с сильным ветром, обильных снегопадов и пыльных (или песчаных) бурь с целью выявления опасной перегрузки покрытий против расчетных нагрузок, принятых в проекте, а также во всех случаях появления течи в кровле.

1.4. При освидетельствовании кровель проверяется: состояние защитного слоя, крупнозернистой посыпки, а также наличие запыления (или заиливания) участков кровель;

состояние изоляции у мест примыкания к выступающим конструкциям или инженерному оборудованию и правильность закрепления защитных металлических фартуков и свесов;

состояние изоляции в местах пропуска через кровлю водосточных воронок, оттяжек, ограждений, мачт и т.п.

Для выявления объемов и характера предстоящих работ в случае необходимости может производиться вскрытие отдельных участков кровель.

1.5. По результатам освидетельствования кровель составляется ведомость дефектов с перечнем необходимых работ по содержанию и ремонту кровель. Дирекцией предприятий утверждаются постоянные ответственные исполнители соответствующей квалификации, которые должны вести наблюдение за состоянием кровель и устранять дефекты с учетом настоящих Рекомендаций.

Для обслуживания кровель должны предусматриваться удобные выходы на кровлю.

1.6. Для предупреждения перегрузки несущих конструкций покрытий (выше расчетных нагрузок) должны производиться систематические освидетельствования кровель на участках с повышенным отложением снега, производственной пыли и образованием наледей.

2. ПРАВИЛА ПО ЭКСПЛУАТАЦИИ КРОВЕЛЬ

2.1. Рабочие по уходу за кровлей должны быть обучены безопасным приемам выполнения работ и иметь валяную или резиновую обувь для предупреждения возможного повреждения кровель.

2.2. Для предупреждения повреждений кровель сосредоточенными нагрузками (при установке лестниц, транспарантов, световой рекламы и т.п.) следует устраивать бетонные постаменты, снабженные в необходимых случаях металлическими закладными деталями.

2.3. Для прохода обслуживающего персонала к инженерному оборудованию, установленному на кровлях, должны укладываться деревянные настилы или выполняться защитные слои.

2.4. В тех случаях, когда через кровлю требуется пропускать трубы или другие элементы инженерного оборудования, в несущих плитах (или настилах) делаются отверстия и устанавливаются стаканы с фланцами (либо ограждающий стенки), после чего необходимо устройство переходных наклонных бортиков под углом 45° и высотой не менее 100 мм для наклейки слоев водоизоляционного ковра.

2.5. На участках кровель производственных зданий с постоянной пылеуборкой должен быть выполнен защитный слой из песчаного асфальтобетона, цементно-песчаного раствора или из плитных материалов, укладываемых на цементно-песчаном растворе. От этих участков должны быть проложены ходовые доски для перевозки пыли к приемным шахтам или бункерам с надежными ограждениями.

2.6. Кровли, которые требуется охлаждать слоем воды, с наступлением теплых дней заливаются водой. Определенный уровень воды на кровлях (2,5 - 8 см) должен поддерживаться установкой переливных патрубков в водоприемные воронки на необходимую высоту. В местах подачи воды на кровлю должны быть уложены металлические или деревянные водоотбойные щиты для предохранения защитного слоя от повреждения.

2.7. Для повышения срока службы кровель необходимо:

своевременно выявлять и устранять дефекты в соответствии с пп. 5.1 - 5.5 и табл. 2 настоящих Рекомендаций;

выполнять в процессе эксплуатации профилактические работы по предохранению слоев водоизоляционного ковра от механических повреждений, непосредственного воздействия солнечной радиации и других климатических факторов защитными слоями и покраской;

содержать кровли в чистоте, не допуская размещения на них посторонних предметов.

2.8. С наступлением весеннего периода необходимо убирать с кровель пыль, ил, их освидетельствовать в соответствии с п. 1.4 и осуществлять работы по сохранению работоспособности в соответствии с рекомендациями п. 2.7.

2.9. С наступлением осеннего периода с водонаполненных кровель спускают воду, для этого из водоприемных воронок вынимают переливные патрубки и с участков отложения пыли убирают ил и растительность.

2.10. К наступлению осеннего периода должны быть закончены все работы по ремонту кровель.

Осенью кровли и водоприемные устройства необходимо очистить от листьев, хвои и пыли. Запрещается сметать листья и мусор в водостоки.

2.11. Очистка участков кровель, заносимых снегом, должна производиться для устранения возможной перегрузки несущих конструкций покрытий; при этом следует применять меры против повреждения кровель. Для очистки кровель должны применяться деревянные лопаты или скребковые устройства, а также механизированный способ очистки с использованием снегоочистительной машины типа «Рольба» с перемещением снега ленточными транспортерами. На кровле следует оставлять слой снега толщиной 5 - 10 см.

С плоских бесфонарных кровель, как правило, снег не убирается, кроме аварийных случаев и выполнения срочного ремонта кровель.

Уборка больших наледей с кровель и карнизных участков, не имеющих специальных обогревающих устройств, должна производиться при помощи пара, огневых форсунок и других приспособлений. Применять для этих целей ломы и железные лопаты запрещается.

3. ТРЕБОВАНИЯ К КОНСТРУКЦИЯМ И ДЕТАЛЯМ УСТРОЙСТВА КРОВЕЛЬ

3.1. Кровли из рулонных материалов на уклонах i<10% должны иметь трех- или четырехслойный водоизоляционный ковер и защитный слой, который повышает надежность и долговечность водоизоляционного ковра.

В тех случаях, когда для устройства кровель применяется рубероид, необходимо его наклеивать на антисептированных битумных кровельных мастиках, повышающих гнилостойкость рубероидного водоизоляционного ковра.

Допускается производить наклейку толевых рулонных материалов на битумных кровельных мастиках.

Толщина защитного слоя из гравия на кровлях должна составлять 10 мм, а на кровлях, выполняемых по сгораемым теплоизоляционным материалам, и на кровлях, заполняемых водой, - 20 мм.

Для устройства защитного слоя необходимо предусматривать, как правило, горячую мастику. Толщина мастики должна быть не более 2 мм, а на кровлях, заполняемых водой, - 3 мм.

3.2. Кровли с уклоном до 2,5% должны выполняться с применением легкоплавких кровельных мастик с добавкой антисептирующих веществ (см. табл. 1, примеч. 3).

3.3. Водоизоляционный ковер участков плоских кровель, используемых в качестве площадок для монтажа оборудования, перемещения грузов и других целей, должен иметь защитный слой из бетонных плиток, уложенных по слою цементно-песчаного раствора марки 100, толщиной 20 мм, либо из песчаного асфальтобетона толщиной 25 мм или цементно-песчаного раствора толщиной 20 мм.

Для эксплуатируемых кровель с частым пребыванием людей допускается применение защитных слоев из цементно-песчаного раствора марки 100, толщиной 25 мм с уплотняющими добавками (см. п. 4.3).

Защитные слои из асфальтобетона и цементно-песчаного раствора должны выполняться в виде квадратов с размером стороны не более 1,5 м. Швы (шириной 4 - 6 мм) между этими квадратами, а также между бетонными плитками должны заполняться легкоплавкими кровельными мастиками с повышенным содержанием (до 25%) волокнистого наполнителя.

3.4. Скатные кровли с i³10% должны быть трехслойными; при этом рулонный материал верхнего слоя должен иметь крупнозернистую посыпку. В таких кровлях водоизоляционный ковер подвергается более интенсивному воздействию солнечной радиации, атмосферных факторов и быстрее изнашивается, чем в кровлях со специальным гравийным защитным слоем.

Для повышения долговечности таких кровель рекомендуется применять окрасочные составы (см. раздел 4), которые используют как при устройстве новых кровель, так и при ремонте старых.

3.5. В качестве основания под рулонные кровли могут служить ровные поверхности теплоизоляционных плит (пенопластовые, минераловатные плиты повышенной жесткости и др.), либо плиты из бетона, асбестоцемента, дощатые настилы, выравнивающие стяжки из цементно-песчаного раствора или песчаного асфальтобетона. Прочность теплоизоляционных плит должна быть не менее предусмотренной главой СНиП II-26-76. Толщина выравнивающих стяжек должна быть в среднем 15 мм по плитным утеплителям (при прочности на сжатие у цементно-песчаного раствора 5 МПа и у асфальтобетона не ниже 0,8 МПа при температуре 50°С) и 25 мм по засыпным (при применении цементно-песчаного раствора прочностью на сжатие 10 МПа).

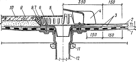
Рис. 1. Расположение слоев рулонной кровли. Общий вид

1 - защитный слой из гравия на мастике; 2 - основной водоизоляционный ковер; 3 - два слоя дополнительного водоизоляционного ковра; 4 - нижний слой дополнительного водоизоляционного ковра с полосовой приклейкой только на вертикальную поверхность панели; 5 - наклонный бортик; 6 - теплоизоляция; 7 - защитные фартуки из оцинкованной кровельной стали; 8, 9 - усиление кровель на участке крайней ендовы и на коньковом участке; 10 - полоса рулонного материала по швам в стяжке; 11 - полосы мастики, наносимые для приклейки нижнего слоя водоизоляционного ковра; 12 - пароизоляция; 13 - стяжка; 14 - полосы 40´3 мм для закрепления защитных фартуков; 15 - герметизирующая мастика

Поверхности оснований под кровлю не должны иметь впадин, бугров и наплывов, мешающих повсеместному плотному склеиванию полотнищ рулонных материалов с основанием и между собой. Ровность основания проверяется контрольной рейкой длиной 3 м; при этом под рейкой может быть не более двух плавно нарастающих просветов глубиной до 5 мм.

Поверхность основания плит из бетона, асбестоцемента или цементно-песчаного раствора должна быть огрунтована:

раствором битума марки БН-90/10 (ГОСТ 6617-76 с изм.) в керосине или соляровом масле в соотношении по массе 1:2 - 1:3 при устройстве кровель из битумных материалов;

раствором каменноугольного пека в бензоле или антраценовом масле в соотношении по массе 1:2 - 1:3 при устройстве кровель из дегтевых материалов.

Поверхность выравнивающих стяжек из асфальтобетона или цементно-песчаного раствора должна разделяться температурно-усадочными швами на участки со сторонами до 4 м и до 6 м; в покрытиях с несущими плитами длиной 6 м эти участки должны быть 3´3 м.

Температурно-усадочные швы в стяжках должны располагаться над торцовыми швами несущих плит и над температурноусадочными швами в слоях монолитной теплоизоляции. Ширина швов в стяжках и между плитами не должна превышать 5 мм.

В случае устройства покрытий с применением комплексных плит повышенной заводской готовности температурно-усадочные швы в основании под кровлю должны устраиваться над торцевыми (поперечными) швами этих плит и совпадать с ними. На швы должны быть наложены полоски шириной не менее 100 мм из рулонного материала, применяемого для устройства кровли, которые склеивают с основанием с одной стороны шва в отдельных местах. Полоски выполняют роль компенсаторов в основании под кровлю (рис. 1).

В тех случаях, когда основанием для устройства кровель служат ровные поверхности сборных плит, полоски из рулонных материалов укладывают по всем швам между плитами.

3.6. В местах примыкания к выступающим конструктивным элементам (стенам, парапетам, деформационным швам, шахтам и др.) должны быть выполнены наклонные бортики из цементно-песчаного раствора, песчаного асфальтобетона или легкого бетона под углом до 45° и высотой не менее 100 мм, при помощи которых осуществляется переход от основной плоскости кровли к выступающей конструкции.

В тех случаях, когда основанием под кровлю служат теплоизоляционные плиты наклонные бортики выполняют из этих же плит и склеивают их только с верхней поверхностью теплоизоляционного слоя.

В тех случаях, когда возможна неодинаковая осадка смежных элементов покрытий, а также несущих конструкций и стен, в покрытии должны устраиваться деформационные швы.

В местах пропуска через кровлю труб должны быть установлены патрубки (из металла, поливинилхлорида или других материалов), опирающиеся на несущие плиты или настилы покрытий.

3.7. Слои основного водоизоляционного ковра должны быть усилены

на участках ендов (в кровлях с i³2,5%) - двумя слоями рулонного кровельного материала (при рулонных кровлях) или двумя слоями мастик, армированных стекломатериалами (при мастичных кровлях), которые должны быть заведены на поверхность ската (от линии перегиба) не менее чем на 750 мм (см. рис. 1);

на карнизных участках кровель - двумя слоями дополнительного ковра по ширине, превышающей ширину сливного фартука, перекрываемого ковром соответственно не менее чем на 150 (нижний) и 250 мм (верхний);

на коньке - одним слоем рулонного материала (при рулонных кровлях) или одним слоем мастики, армированной стеклохолстом или стеклосеткой (при мастичных кровлях) на ширину 0,25 м с каждой стороны от линии перегиба (см. рис.1).

3.8. Для предупреждения возможного образования вздутий изолируемые поверхности должны быть сухими, а слои водоизоляционного ковра склеиваются между собой без пропусков (по всей ширине полотнищ рулонных материалов).

В покрытиях с пароизоляционным слоем и стяжками рекомендуется предусматривать полосовую или точечную приклейку нижнего слоя водоизоляционного ковра (см. рис. 1), при этом все непроклеенные участки должны сообщаться с наружным воздухом в местах примыкания кровли к стенам, карнизам, светоаэрационным и зенитным фонарям, шахтам и др. для выравнивания давления влажного воздуха в полости покрытий с наружным воздухом.

У примыканий к выступающим конструкциям слои основного водоизоляционного ковра должны доходить до верха переходных бортиков.

Примечание. В тех случаях, когда для устройства кровель применяют горячие кровельные мастики, мелкую минеральную посыпку на поверхности рубероида следует смачивать растворителем (керосином, соляровым маслом и др.).

3.9. В местах примыкания к выступающим конструкциям основной водоизоляционный ковер усиливается дополнительным ковром из трех слоев кровельных материалов, которые наклеиваются на кровельных мастиках с повышенной теплостойкостью (см. табл. 1).

Верхний слой дополнительного водоизоляционного ковра должен выполняться из рулонных материалов с крупнозернистой посыпкой.

В местах примыкания к парапетам высотой более 490 мм верхний край дополнительного водоизоляционного ковра должен подниматься над основанием под кровлю не менее чем на 250 мм и надежно закрепляться. К бетонным поверхностям водоизоляционный ковер прикрепляют пристрелкой металлических полос специальными дюбелями не более чем через 600 мм при помощи винтов, заделываемых в панели (см. рис. 1).

Одновременно с дополнительным водоизоляционным ковром к выступающим конструкциям должны закрепляться защитные фартуки из оцинкованной кровельной стали.

Способы крепления защитных фартуков к выступающим конструкциям должны обеспечивать условия, исключающие затекание воды за слои дополнительного водоизоляционного ковра.

Примечание. В тех случаях, когда в летнее время имеется некоторое отставание в устройстве защитных фартуков, необходимо места примыканий, выполненные из битумных рулонных материалов, окрашивать краской БТ-177.

Рис. 2. Примеры решения кровель в местах установки водосточных воронок (покрытия с железобетонными плитами)

слева - при эксплуатируемой кровле; справа - кровля не эксплуатируемая; 1 - основной водоизоляционный ковер; 2 - защитный слой; 3 - слои дополнительного водоизоляционного ковра из мастик, армированных стеклосеткой или стеклотканью; 4 - струевыпрямитель колпака водоприемной воронки; 5 - съемная крышка водоприемного колпака; 6 - накидная гайка с шайбой; 7 -прижимное кольцо; 8 - гравий с размером частиц не менее 15 мм; 9 - цементно-песчаный раствор или кварцевый песок; 10 - бетонные или армоцементные плитки; 11 - зажимной хомут; 12 - чаша водоприемной воронки

3.10. Для предупреждения образования трещин в кровлях вследствие деформаций несущих конструкций и основания должны выполняться компенсирующие полосы из рулонных материалов, укладываемых «насухо» в средних ендовах, на коньковых участках, у примыканий кровель к стенам, карнизам, над швами в стяжках и комплексных плитах (п. 3.6).

У примыканий к стенам эта полоса образуется неприклейкой полотнища нижнего слоя дополнительного водоизоляционного ковра на участке сопряжения с переходным наклонным бортиком и основным ковром (см. рис. 1).

3.11. В кровлях, заполняемых водой, дополнительный рулонный ковер в местах примыканий к выступающим конструкциям должен быть четырехслойным. Его верхний край закрепляется на высоте не менее 300 мм и защищается от затекания воды и воздействия солнечной радиации фартуком из оцинкованной кровельной стали.

3.12. По ендовам скатных кровель i³10% должен быть защитный слой из мелкого гравия, втопленного в кровельную мастику.

3.13. В местах установки водосточных воронок, которые располагаются в пониженной части кровель в средней части пролета между фермами, слои основного и дополнительного водоизоляционных ковров должны заходить на фланец водоприемной чаши.

При установке водоприемных воронок слои водоизоляционных ковров защемляются между фланцами водоприемной чаши и прижимным кольцом.

Основной рулонный ковер в местах установки воронок внутреннего водостока усиливается дополнительным водоизоляционным ковром из двух слоев стеклоткани, укладываемых на горячую или холодную мастику, либо слоем мешковины, пропитанной мастикой.

Для предупреждения разрыва слоев, водоизоляционного ковра у примыкания к фланцу водоприемной чаши при осадке несущих конструкций покрытий водоотводящий патрубок должен соединяться со стояком посредством компенсирующего стыка и надежно закрепляться к несущим плитам покрытий при помощи хомутов (рис. 2).

3.14. В защитных фартуках отдельные заготовки из оцинкованной кровельной стали должны быть соединены между собой одинарным лежащим фальцем и надежно прикреплены к выступающим конструктивным элементам (см. рис. 1).

Обделка деформационных швов должна иметь фальцевое соединение с защитными фартуками, при этом ее уклон к защитным фартукам должен быть не менее 20%.

4. МАТЕРИАЛЫ ДЛЯ УСТРОЙСТВА И РЕМОНТА КРОВЕЛЬ

4.1. Для устройства и ремонта кровель применяют рубероид (ГОСТ 10923-82); гидроизол (ГОСТ 7415-74 с изм.); толь (ГОСТ 10999-76 с изм.); стеклорубероид (ГОСТ 15879-70), которые наклеивают на горячих или холодных мастиках с необходимой теплостойкостью (см. табл. 1) на уклонах до 25%. При больших уклонах необходимо закрепление полотнищ рулонных материалов, как показано на рис. 3.

Рубероид наплавляемый (ТУ 21-27-35-78) применяют для кровель с уклоном более 10% на уклонах 25% и выше его также необходимо закреплять.

Полимерные рулонные материалы на основе бутилкаучука [бутизол (ТУ 38-103301-78), бутерол (ТУ 38-3-005-82), гидробутил, армогидробутил (ТУ 21-27-96-82)] наклеивают на холодных полимерных мастиках [клеящие каучуковые мастики (ГОСТ 24064-80), приклеивающий бутилкаучуковый состав (ТУ 383-034-78), приклеивающая бутилкаучуковая мастика (ТУ 21-27-90-80), клей 88-Н].

Применение полимерных материалов предпочтительно для строительства в северных районах, а также при устройстве однослойного дополнительного водоизоляционного ковра в местах примыканий кровель к выступающим конструкциям вместо традиционных рулонных материалов.

Рис. 3. Пример решения водоизоляционного ковра (уклон св. 25%)

1 - основной водоизоляционный ковер; 2 - нахлестка слоев вышележащего ковра над местом закрепления нижележащего; 3 - стяжка; 4 - теплоизоляция; 5 - антисептированная деревянная доска 40´60 мм; 6 - пароизоляция по цементно-песчаной затирке

Полиэтиленовые (ГОСТ 10354-82), полиэтилентерефталатные (ГОСТ 24234-80) пленки используют в качестве прокладок, укладываемых «насухо» при ремонте кровель в местах образования трещин.

В зависимости от уклонов кровель и районов строительства назначают марки кровельных мастик в соответствии с табл. 1.


Таблица 1

Районы строительства

Мастика

Марки мастик для устройства

участков кровель с уклоном, %

мест примыканий

<2,5

2,5<i<10

10<i<2,5

Севернее: 50° с. ш.

Битумная горячая (ГОСТ 2889-80)

МБК-Г-55

МБК-Г-65

МБК-Г-75

МБК-Г-85

для европейской и

Битумно-резиновая горячая

МБР-Г-55

МБР-Г-65

МБР-Г-75

МБР-Г-85

53° с. ш для азиатской частей СССР

Битумно-бутилкаучуковая горячая (ТУ 21-27-40-83)

МПБП-65

МББГ-70

МББГ-80

МББГ-80

 

Битумная холодная

МБК-Х-65

БМК-Х-65

Не допускается

 

Битумно-латексная кукерсольная

БЛК-Х-65

БЛК-Х-65

»

 

Битумно-кукерсольная холодная

БК-Х-65

БК-Х-65

 

Южнее этих районов

Битумная горячая

МБК-Г-65

МБК-Г-75

МБК-Г-85

МБК-Г-100

 

Битумно-резиновая горячая

МБР-Г-65

МБР-Г-75

МБР-Г-85

МБР-Г-100

 

Битумно-бутилкаучуковая горячая

МББГ-65

МББГ-70

МББГ-80

МББГ-80

 

Битумная холодная

МБК-Х-75

МБК-Х-75

Не допускается

 

Битумно-латексная кукерсольная холодная

БЛК-Х-75

БЛК-Х-75

»

 

Битумно-кукерсольная холодная

БК-Х-75

БК-Х-75

»

Примечания: 1. Цифровые значения в марках мастик обозначают их требуемые значения теплостойкости в град.

2. В качестве битумного вяжущего для мастик марок МБК-Г-65 и МБК-Г-85 целесообразно применять битумы для кровельных мастик марок БНМ-56/60 и БНН-75/35 по ТУ 38.101970-84, не требующие сплавления.

3. Для повышения гнилостойкости обычных рубероидов, применяемых для устройства плоских кровель, в состав горячих битумных кровельных мастик вводят антисептирующие добавки - кремнефтористый (ГОСТ 87-77 с изм.) или фтористый (ГОСТ 2871-75 с изм.) натрий в количестве 3 - 5% от веса битума, при этом в качестве наполнителя следует применять низкосортный асбест. В состав холодных мастик с кукерсольным растворителем вводить специальные антисептирующие добавки не требуется.

4. В качестве добавок в состав горячих битумных мастик вводят гербициды - симазин (ГОСТ 15123-78 с изм.) в количестве 0,3 - 0,5% или аминную (натриевую) соль 2,4Д -  1 - 1,5% от массы битумного вяжущего.

5. При устройстве и ремонте кровель с возможным воздействием щелочной среды в состав кровельных мастик необходимо вводить тонкомолотые наполнители из карбонатных пород (известняка, мела и др.)

6. Холодные битумные мастики, состоящие из смеси битумного вяжущего, растворителя (кукерсольного лака, солярового масла, керосина и др.), полимерных добавок, пылевидного или волокнистого наполнителя, применяют в сочетании с рулонными кровельными материалами, имеющими покровные слои.

Холодные битумные мастики не рекомендуется применять для наклейки полотнищ рулонных материалов на кровлях с уклонами i³10% и для устройства мест примыкания кровель к выступающим конструкциям.

Холодные мастики применяются без подогрева при температуре наружного воздуха до 5°С и с подогревом до 60 - 70°С при более низких температурах воздуха.

7. Холодные мастики на основе кукерсольного лака не рекомендуется применять для устройства защитных слоев.


4.2. Рулонные материалы с крупнозернистой или чешуйчатой посыпкой (например, рубероиды марок РКК-420А, РКК-420Б, РКЧ-350Б) применяют для верхнего слоя кровель с уклоном более 10%, а также верхнего слоя дополнительного водоизоляционного ковра в местах примыканий к выступающим конструкциям.

Верхний слой дополнительного водоизоляционного ковра в местах примыканий кровель может выполняться из рулонных материалов, не имеющих крупнозернистой посыпки; при этом необходимо поверхность такого ковра окрашивать краской БТ-177. Исходными материалами для этой краски служат битумный лак БТ-577 и алюминиевая пудра марок ПАК-2 или ПАК-3 по ГОСТ 5494-71 с изм., взятые в соотношении (90¸85):(10¸15).

4.3. Для устройства и восстановления защитного слоя на плоских и скатных кровлях с уклоном до 10% применяют чистый сухой гравий с размером зерен 5 - 10 мм (ГОСТ 8268-82) по слою дегтевой или битумной мастики толщиной 2 мм.

Примечания: 1. Для устройства защитных слоев кровель необходимо применять антисептированные битумные мастики (см. табл. 1, примеч. 3).

2. Для кровли с применением битумных материалов допускается защита гравием, втопленным в горячую дегтевую мастику.

3. Вместо гравия могут быть использованы каменная крошка и щебень из шлаков фосфорного производства (ТУ 6-25-15-75 или ТУ 65-280-79) с крупностью частиц 5 - 10 мм.

4.4. Для восстановления крупнозернистой посыпки на кровлях с уклоном 10% и более применяют чистый крупнозернистый песок с мелкой галькой-ракушкой (или смесь этих материалов с фракцией зерен 2 - 5 мм) по слою холодной битумной или битумно-бутилкаучуковой мастики.

4.5. Для повышения долговечности скатных кровель (с уклоном 10% и более) рекомендуется применять покровные слои* из пленкообразующих растворов полимерных, битумно-полимерных гидроизоляционных материалов, битумно-латексной эмульсии, холодных битумных эмульсионных мастик.

* Руководство по применению защитных окрасочных составов для повышения долговечности скатных кровель. М.: Стройиздат, 1981.

На кровлях, воспринимающих атмосферные и химические воздействия, рекомендуется применять: эмаль ХП-799 (ТУ 84-818-75), мастику кровелит (ТУ 21-27-78-78), состав на основе наирита НТ (ТУ 38-10-518-70), битумно-хлорсульфополиэтиленовый состав, состоящий из сплава кровельных (ГОСТ 9548-74 с изм.) или дорожных (ГОСТ 22245-76 с изм.) и кровельных битумов с температурой размягчения 68 - 72°С, а также битума марки БНМ 75/35 (ТУ 38.101970-84), хлорсульфополиэтиленового лака марок ХП-734 (ТУ 02-12-47-75), растворителя - ксилола (ГОСТ 9949-76 с изм.) или толуола (ГОСТ 9880-76 с изм.).

На кровлях, воспринимающих атмосферные воздействия, рекомендуется применять крупнозернистую (с размером зерен 2 - 5 мм) посыпку из песка для строительных работ (ГОСТ 8736-77 с изм.), сланцевой, мраморной или каменной крошки по свеженанесенному (еще несформировавшемуся) покровному слою - катионной битумной эмульсии (ТУ 38 УССР 201.401-83), битумно-наиритовому составу, битумно-бутилкаучуковой мастике (ТУ 21-27-39-77).

Примечания: 1. В окрасочные составы на растворителях, применяемые для верхнего отделочного слоя, вводят наполнитель - алюминиевую пудру ПАК-3 или ПАК-4 (ГОСТ 5494-71 с изм.) в количестве 10 - 15% массы вяжущего.

2. Допускается выполнять покровные слои скатных кровель из холодной битумной эмульсионной мастики на твердых эмульгаторах (РСН 295-77 Госстроя УССР), которые сверху дважды окрашивают суспензией алюминиевой пудры в керосине.

4.6. В состав асфальтобетона, применяемого для устройства защитного слоя эксплуатируемых кровель, должны входить (по массе, %):

песок с крупностью зерен от 0,09 - 2 мм .......................................................... 75 - 80

минеральный наполнитель с крупностью зерен до 0,09 мм ........................... 20 - 25

сплав битумов с температурой размягчения 55 - 60°С от

массы минеральной части асфальтобетона ......................................................  8 - 12

Температура асфальтобетона при укладке должна быть не ниже 160°С в летнее и 180°С в зимнее время. Уплотнение асфальтобетона должно производиться катками массой не менее 80 кг.

4.7. В состав цементно-песчаного раствора марки 100, применяемого для устройства защитного слоя эксплуатируемых кровель, следует вводить уплотняющие добавки для уменьшения его проницаемости и повышения морозостойкости. Подвижность (глубина погружения конуса) для раствора марки 100 должна быть не менее 4 - 5 см.

В качестве уплотняющих добавок могут применяться:

кремнийорганические полимеры полигидросилоксанового типа (ГКЖ-94) и типа силиконатов натрия (ГКЖ-10 и ГКЖ-11) в количестве 0,02 - 0,2% (в пересчете на сухое вещество для ГКЖ-10 и ГКЖ-11 или 100% жидкость для ГКЖ-94) от массы цемента;

синтетический стабилизованный латекс СКС-65-ГП (ГОСТ 10564-75 с изм.), вводимый в количестве 20% от массы цемента (около 10% сухого латекса);

хлорное железо (ГОСТ 4147-74 с изм.), вводимое в количестве 1,75% от массы воды затворения.

Примечания: 1. Уплотняющие добавки рекомендуется вводить непосредственно перед укладкой раствора в дело. Раствор приготовляется в количестве, которое можно уложить в течение 1 часа после его замешивания.

2. Для предотвращения образования трещин защитные цементно-песчаные слои после схватывания должны быть разрезаны на квадраты (см. п. 3.3) и на время твердения раствора закрыты полиэтиленовой или поливинилхлоридной пленкой либо рулонными кровельными материалами.

4.8. Для устройства защитных фартуков и отделки карнизных свесов и деформационных швов применяют:

оцинкованную кровельную сталь толщиной 0,5 - 0,8 мм; 0,5 - 0,8 мм;

оцинкованные кровельные гвозди К-3,5´40 (ГОСТ 4030-63 с изм.);

стальные полосы 4´40 мм (ГОСТ 103-76) в случаях пристрелки дюбелями полотнищ дополнительного водоизоляционного ковра к бетонным поверхностям;

герметизирующие мастики марок АМ-0,5 (ТУ 84-246-75); эластосил 11-06 (ТУ 6-02-1142-78); УТ-31 (ГОСТ 13489-79); УТ-32 (ТУ 38-105462-80); бутепрол 2М (ТУ 21-29-58-77); УМС-50 (ГОСТ 14791-79).

5. РЕКОМЕНДАЦИИ ПО РЕМОНТУ КРОВЕЛЬ

5.1. Устранение дефектов в рулонных кровлях должно выполняться с учетом рекомендаций, приведенных в табл. 2, которые относятся к капитально ремонтируемым кровлям и могут быть использованы работниками промышленных предприятий при приемке кровельных работ от подрядных строительных организаций.

5.2. Ремонт кровель должен производиться в возможно короткие сроки. Длительные перерывы в работах не допускаются. К ремонту кровель разрешается приступать только после подготовки необходимых материалов.

К концу рабочей смены ремонтируемый участок должен быть покрыт новыми материалами. При этом должны быть приняты меры, исключающие возможность попадания атмосферных осадков в нижележащие слои покрытия и помещения.

Основные работы по ремонту кровель следует производить в летнее время. В зимнее время может производиться срочный ремонт, вызванный протеканием кровель. Эти участки в случае необходимости должны быть дополнительно отремонтированы в летнее время.

В случае неблагоприятных метеорологических условий устранение дефектов, вызывающих протекание кровель, должно производиться под тентами.

5.3. Работы по ремонту кровель выполняются специально обученными бригадами рабочих, ознакомленными с настоящими Рекомендациями, при этом должны соблюдаться требования главы СНиП III-4-80 «Техника безопасности в строительстве».

Нельзя выполнять ремонтные работы при гололедице и сильном ветре (более 6 баллов).

5.4. При ремонтных работах складирование материалов рекомендуется производить на настилы из досок.

5.5. При необходимости освобождения участков кровель от гравийного защитного слоя вдоль трещин, над вздутиями и тому подобного для выполнения ремонтных работ рекомендуется применять нагреватели площадного типа (например, машина СО-107) и после разогрева поверхности кровли гравий совместно с мастикой снимать посредством шпателей.


Таблица 2

№ п.п.

Дефекты, встречающиеся при освидетельствовании кровель

Основные причины, вызывающие появление дефектов

Рекомендуемые мероприятия по устранению дефектов в кровлях при капитальном и текущем ремонте

 

1

Сквозные трещины в слоях водоизоляционного ковра на основных плоскостях кровель, выполненных по выравнивающим стяжкам

а) Отсутствие температурно-усадочных швов, появление трещин в основании под кровлей;

При капитальном ремонте следует:

 

1) выполнять температурно-усадочные швы в соответствии с требованиями пп. 3.5 и 3.10;

 

2) применять кровельные мастики в соответствии с требованиями табл.1.

б) применение тугоплавких битумов вместо легкоплавких мастик

При текущем ремонте необходимо:

 

1) вдоль трещин освободить водоизоляционный ковер от защитного слоя (или крупнозернистой посыпки) по ширине до 1 м;

 

2) на трещину наложить полоску из рулонного материала шириной 150 - 200 мм и склеить ее в отдельных местах трещины с верхним слоем водоизоляционного ковра по одной стороне;

 

3) произвести сплошную наклейку трех, а на кровлях, заполняемых водой, четырех полотнищ кровельных материалов так, чтобы каждое верхнее полотнище перекрывало нижележащее и склеивалось с основным водоизоляционным ковром на 100 - 150 мм с каждой стороны трещины;

 

 

 

 

4) выполнить защитный окрасочный слой или крупнозернистую посыпку с применением материалов, указанных в разд. 4.

 

Если площадь, где появились трещины в результате применения тугоплавких мастик, не превышает 15 - 20%, необходимо выполнить:

 

работы при текущем ремонте, указанные в пп. 1, 2, 3;

 

по всей площади кровли, предварительно очищенной от гравия, окрасочного слоя или крупнозернистой посыпки, наклеить дополнительный слой рулонного материала с применением мастик, указанных в табл. 1;

 

выполнить защитный окрасочный слой или крупнозернистую посыпку с применением материалов, указанных в разд. 4.

 

Если площадь с трещинами превышает 15 - 20% - выполняется капитальный ремонт.

 

 

Сквозные трещины в слоях водоизоляционного ковра, уложенного по плитным и композиционным утеплителям

Провисание водоизоляционного ковра вследствие больших зазоров, швов между плитами утеплителя, а также скошенных углов

При капитальном ремонте следует:

 

1) зазоры, швы между плитами, превышающие 5 мм, заполнить рейками из плитного утеплителя, скошенные углы заделать утеплителем. При устройстве теплоизоляции из двух слоев плит швы второго слоя не должны совпадать со швами первого слоя;

 

 

 

 

2) выполнить водоизоляционный ковер в соответствии с требованиями СНиП II-26-76.

 

При текущем ремонте необходимо:

 

1) вдоль трещин по ширине 1 м освободить водоизоляционный ковер от защитного слоя или крупнозернистой посыпки;

 

2) отогнуть для удобства работы слои кровельных материалов, расположенных выше трещин;

 

3) заполнить швы рейками из теплоизоляции;

 

4) наклеить отогнутые слои кровельных материалов;

 

5) на трещину наложить полоску из рулонного материала шириной 150 - 200 мм и склеить ее в отдельных местах с одной стороны трещины с верхним слоем водоизоляционного ковра;

 

6) произвести сплошную наклейку трех, а на кровлях, заполняемых водой, четырех полотнищ кровельных материалов так, чтобы каждое верхнее полотнище перекрывало нижележащее и склеивалось с основным водоизоляционным ковром на 100 - 150 мм с каждой стороны трещины;

 

7) выполнить защитный окрасочный слой или крупнозернистую посыпку с применением материалов, указанных в разд. 4.

 

3

Сквозные трещины в слоях водоизоляционного ковра, выполненного по монопанелям

Некачественное крепление монопанелей, отсутствие утеплителя на стыках панелей, зазоры между плитами утеплителя

При капитальном ремонте следует выполнять требования Руководства по применению двухслойных кровельных панелей в покрытиях промышленных зданий (М.: Стройиздат. 1980)

 

При текущем ремонте следует:

 

1) на ширине 600 мм с каждой стороны трещины удалить гравийный слой, расчистить трещину от гравия и мусора;

 

 

 

 

2) разрезать водоизоляционный ковер на расстоянии 200 мм от концов трещины, удлинив трещину, и отогнуть ковер в обе стороны от трещины;

 

3) выполнить дополнительное крепление панелей самонарезающими винтами 6´25 по ТУ 67-72-75, ОСТ 34-1316-77 или комбинированными заклепками ЗК-10 ТУ 67-64-75, ОСТ 34-13-017-78, для чего нужно произвести выемку покровного слоя и теплоизоляции трубчатой фрезой диаметром 35 - 40 мм, отверстия в металле выполняются электрическими и пневматическими сверлами. Для закрепления панелей комбинированными заклепками применяют специальные клещи с удлиненной головкой-захватом, а для установки самонарезающих болтов - пневматические или электрические гайковерты;

 

4) после операции по закреплению и соединению панелей места установки самонарезающих винтов и комбинированных заклепок заполняют теплоизоляцией и гидроизолируют. Для этого используют ранее извлеченную теплоизоляцию либо специально нарезанные по размеру отверстий вкладыши из теплоизоляции, которые устанавливаются в отверстия «насухо» для восстановления кровли;

 

5) при наличии зазоров между панелями шириной более 5 мм необходимо заполнить их на толщину теплоизоляционных плит рейками из пенополиуретана, пенополистирола, асбестовым шнуром или минеральной ватой;

 

 

 

 

6) отогнутый ковер уложить на кровельную мастику и прижать от краев к трещине;

 

7) на трещину уложить насухо два слоя полиэтиленовой пленки шириной 400 - 500 мм, слой пленки перекрыть слоем рубероида шириной 600 - 700 мм, склеив с существующим ковром по ширине 100 мм с каждой стороны;

 

8) наклеить на битумной мастике три слоя рубероида так, чтобы каждое верхнее полотнище перекрывало нижележащее и склеивалось с существующей кровлей на 100 мм с каждой стороны трещины;

 

9) восстановить защитный гравийный или окрасочный слой.

 

4.

Трещины в слоях водоизоляционного ковра у примыканий кровель к стенам

Осадка и прогиб несущих конструкций, отсутствие наклонного переходного бортика

При капитальном ремонте кровель, у которых осадка несущих конструкций продолжается, следует устраивать деформационные швы в соответствии с пп. 3.6; 3.9; 3.10; 3.14 и типовыми проектами серий 2.460-17, 2.460-18.

 

При текущем ремонте необходимо:

 

1) снять или отогнуть для удобства работы защитный фартук и убрать слои кровельных материалов, расположенные выше трещины;

 

2) установить наклонный переходный бортик в соответствии с п. 3.6;

 

3) освободить водоизоляционный ковер от защитного слоя или крупнозернистой посыпки на ширину не менее 750 мм от низа переходного бортика;

 

 

 

 

4) наклеить три слоя рулонных материалов с напуском нижнего края полотнищ на основной водоизоляционный ковер не менее чем на 150 мм;

 

5) установить защитный фартук в соответствии с указаниями пп. 3.9; 3.14;

 

6) восстановить защитный окрасочный слой или крупнозернистую посыпку.

 

5.

Трещины в слоях водоизоляционного ковра у примыканий к трубам

Осадка и прогиб несущих конструкций, покрытий, отсутствие переходного бортика

При капитальном ремонте следует устанавливать патрубки для пропуска труб в соответствии с требованиями п. 3.6 и типовыми проектами серий 2.460-17, 2.460-18.

 

При текущем ремонте необходимо:

 

1) снять защитный фартук, убрать часть кровельных материалов и материалы основания под кровлю, расположенные выше трещины;

 

2) установить патрубок из оцинкованной кровельной стали или поливинилхлорида высотой 250 мм, для кровель, заполняемых водой, 350 мм (считая от основания под кровлю), по периметру трубы (с зазором 20 - 25 мм). Пространство между патрубком и трубой заполнить минераловатным утеплителем;

 

3) установить переходный наклонный бортик (см. п. 3.6);

 

4) освободить водоизоляционный ковер от защитного слоя или крупнозернистой посыпки на ширине до 1 м по периметру от низа переходного бортика;

 

5) наклеить три слоя рулонных материалов с напуском нижнего края полотнищ на основной водоизоляционный ковер на 150 мм (см. рис. 1);

 

6) установить защитный фартук, приварив его к трубе или прикрепив хомутом с последующей герметизацией мастиками (п. 4.8); восстановить защитный окрасочный слой или крупнозернистую посыпку.

 

6.

Трещины в слоях водоизоляционного ковра в местах примыкания кровли по углам фонарей

Разрывы рулонного ковра образуются при воздействии температурных перепадов, т.к. кровли на участках углов фонарей являются местами концентрации напряжений

При капитальном ремонте следует выполнять работы в соответствии с п. 3.10, при этом нижний слой дополнительного водоизоляционного ковра в местах примыканий наклеивается только к вертикальным поверхностям, далее укладывается «насухо».

 

При текущем ремонте необходимо:

 

1) освободить водоизоляционный ковер от защитного слоя или крупнозернистой посыпки на ширину 400 мм с каждой стороны трещины;

 

2) на трещину «насухо наложить полоску полиэтиленовой пленки шириной 150 мм;

 

3) наклеить слои дополнительного водоизоляционного ковра так, чтобы нижний слой перекрывал пленку не менее чем на 100 мм и каждый вышележащий слой перекрывал нижележащий на 100 мм. Верхний слой должен закрепляться;

 

4) восстановить защитный окрасочный слой или крупнозернистую посыпку и защитный фартук.

 

7.

Вздутия под водоизоляционным ковром или же между слоями рубероида (так называемые воздушные и водяные мешки), срыв или отрыв полотнищ водоизоляционного ковра

Попадание влаги между слоями рубероида или в полость покрытия (под водоизоляционный ковер) в процессе строительства и эксплуатации кровель. Вздутия появляются в местах приклейки слоев рубероида по мокрым или запыленным поверхностям и в местах механических повреждений, вызывающих попадание влаги в утеплитель и слои водоизоляционного ковра

При капитальном ремонте следует наклеивать полотнища рулонных материалов с локализованной минеральной посыпкой (см. п. 3.8) по хорошо выровненным поверхностям основания под кровлю (см. п. 3.5).

 

Наклеивать рулонные материалы необходимо по сухим и обеспыленным поверхностям в соответствии с типовым проектом (п. 4 серии 2.460-17 и 2.460-18).

 

При текущем ремонте приемы устранения вздутий зависят от их площади и характера расположений

 

1) В случаях когда вздутия площадью до 0,5 м располагаются под слоями ковра, необходимо:

 

а) в центре вздутия освободить водоизоляционный ковер от защитного слоя или крупнозернистой посыпки на площади 10´10 см;

 

б) заостренной металлической трубкой диаметром 8 мм, имеющей на острие конца 2-3 поперечных отверстия, сделать прокол в водоизоляционном ковре и выпустить влажный воздух из вздутия;

 

в) заклеить место прокола одним слоем рубероида марки РКП-350А (РКП-350Б, РПП-300А. РПП-300Б) на кровельной мастике, покрыть его той же мастикой и восстановить защитный окрасочный слой или крупнозернистую посыпку.

 

При появлении на этом участке повторного вздутия рубероидная полоска снимается и выполняются операции по пп. б, в.

 

Для упрощения ремонта кровель в местах вздутия, расположенных между слоями водоизоляционного ковра, предлагается использовать способ, предложенный авторским свидетельством № 653364*, который заключается в том, что вздутия прокалывают, а в полученные отверстия инъецируют растворитель из расчета 45 - 60 г на 1 м вздутия. Растворитель размягчает мастику, после чего через 3 - 4 часа ремонтируемый участок уплотняют. В качестве растворителя рекомендуется применять уайт-спирит.

 

Для прокалывания вздутий используют такие же заостренные металлические трубки, которые рекомендованы в п. б.

 

2) При вздутиях водоизоляционного ковра большого размера и в местах, где после прокола и прикатки (по п. 1 б, в) не произошло склеивания ковра, а также в местах деформированных вздутий необходимо:

 

а) освободить водоизоляционный ковер от защитного гравийного слоя или крупнозернистой посыпки на участке предполагаемого крестообразного разреза слоев кровли;

 

б) разрезать слои рубероида до паровоздушной полости и отогнуть их в стороны для просушки;

 

в) найти складки, по которым поступает вода к местам вздутий, разрезать их и отогнуть в стороны;

 

г) после высыхания вскрытую поверхность покрыть слоем холодной или горячей кровельной мастики (при применении горячей мастики вскрытую поверхность цементно-песчаной стяжки следует огрунтовать);

 

 

д) отогнутые части вздувшихся полотнищ, а в необходимых случаях и ведущих к ним складок сразу же уложить на кровельную мастику и тщательно прижать от краев к разрезу;

 

е) по местам разреза слоев кровли наклеить полоски рубероида, которые покрываются мастикой;

 

ж) восстановить защитный окрасочный слой или крупнозернистую посыпку.

 

3) При повторных групповых вздутиях водоизоляционного ковра необходимо:

 

а) в центре вздутия на площади 80´80 см кровлю освободить от гравийного защитного слоя или крупнозернистой посыпки;

 

б) сделать крестообразный разрез 20´20 мм во вздувшемся водоизоляционном ковре и отвернуть его;

 

в) по центру крестообразного разреза установить оцинкованный фланец с патрубком, предназначенный для выравнивания упругости водяных паров с наружным воздухом (рис. 4); наклеить на фланец отвернутые слои водоизоляционного ковра и загерметизировать сопряжение с патрубком;

1 - утеплитель; 2 - основание под кровлю; 3 - основной водоизоляционный ковер; 4 - защитный слой из гравия, втопленного в мастику; 5 - гравий (щебень) из теплоизоляционного материала; 6 - стальной оцинкованный фланец с патрубком диаметром 38 мм: 7 - вытяжная пластмассовая трубка с раструбом; 8 - манжета из эластичного материала, наклеенного на холодной каучуковой мастике; 9 - герметизирующая тиоколовая мастика строительного назначения

г) установить вытяжную пластмассовую трубку, наклеить манжету из эластичного материала (бутизола, бутилкора, гидробутила или др.) на каучуковом клее;

 

д) восстановить защитный слой и сделать герметизацию манжеты с вытяжной трубкой.

 

8.

Отслаивание дополнительного водоизоляционного ковра и фартука от выступающих вертикальных участков, примыканий кровель

Полотнища рулонных материалов приклеиваются к неподготовленной выступающей поверхности; отсутствует надежное закрепление верхнего края водоизоляционного ковра и фартука

При капитальном ремонте следует наклеивать полотнища дополнительного водоизоляционного ковра к оштукатуренным и предварительно огрунтованным выступающим вертикальным поверхностям.

 

При текущем ремонте необходимо:

 

1) у примыканий к поверхностям кладки снять защитный фартук; отставший рулонный ковер отогнуть вниз; в выступающей поверхности сделать штрабу и установить деревянные пробки (на высоте не менее 200 мм от основания под кровлю), к которым закрепить антисептированный деревянный брусок; поверхность примыкания ниже деревянного бруска оштукатурить цементно-песчаным раствором и огрунтовать; отогнутую часть водоизоляционного ковра очистить от пыли и огрунтовать; нанести горячую кровельную мастику на вертикальную поверхность примыкания и отвернутую часть водоизоляционного ковра, затем плотно склеить их. Край отогнутого ковра прибить к деревянному бруску. Затем наклеить дополнительный слой рулонного материала; выполнить работы по установке защитных фартуков с закреплением их краев в штрабе (пп. 3.9, 3.14) и заделать цементно-песчаным раствором часть штрабы выше защитного фартука;

 

 

 

 

2) у примыканий к бетонным поверхностям снять защитный фартук; отставший рулонный ковер отогнуть вниз; поверхность примыкания ковра затереть цементно-песчаным раствором; отогнутую часть водоизоляционного ковра, а также поверхность примыкания очистить от пыли и огрунтовать; после высыхания грунтовки нанести горячую мастику на вертикальную поверхность примыкания и отогнутую часть водоизоляционного ковра, затем склеить их; при помощи дюбелей закрепить к бетонной поверхности стальную полосу (пп. 3.9, 4.8); закрепить верхний край защитного фартука на стальной полосе, обрезать край рулонного ковра и загерметизировать мастиками (см. п. 4.8) шов между бетонной поверхностью и защитным фартуком. Мастику окрасить краской БТ-177;

 

3) у примыканий к металлическим вертикальным поверхностям снять защитный фартук; отставший рулонный ковер отогнуть вниз; отогнутую часть водоизоляционного ковра, а также поверхность примыкания очистить от пыли и огрунтовать; после высыхания грунтовки нанести горячую мастику на вертикальную поверхность примыкания и отогнутую часть водоизоляционного ковра, после чего склеить их; закрепить комбинированными заклепками или самонарезающими винтами стальную полосу 4´40 мм по всей длине крепления водоизоляционного ковра и защитного фартука; примыкание защитных фартуков зачеканить герметизирующими мастиками марок АМ-05; эластосил 11-06; УТ-31; УТ-32; бутепрол 2М; УМС-50; сверху мастику окрасить краской БТ-177;

 

 

 

 

4) при сильной изношенности отставшего водоизоляционного ковра (при наличии в нем сквозных трещин, разрывов) необходимо:

 

удалить изношенный ковер и освободить участок кровли от защитного слоя или крупнозернистой посыпки на ширину 350 - 400 мм; выполнить требования (поз. 8 при текущем ремонте, п. 1) таблицы и наклеить слои дополнительного рулонного ковра; установить защитные фартуки в соответствии с пп. 3.9, 3.11.

 

9.

Сползание кровли в местах примыкания к вертикальным поверхностям. Расслаивание полотнищ рулонных материалов и появление в них повреждений

Недостаточная теплостойкость мастик, применяемых для наклейки слоев дополнительного водоизоляционного ковра. Отсутствие крепления водоизоляционного ковра и защитных фартуков

При капитальном ремонте следует применять кровельные мастики, рекомендуемые табл. 1 для мест примыканий, и своевременно выполнить мероприятия, предусмотренные п 3.9.

 

При текущем ремонте следует:

 

1) при небольших, только наметившихся сползаниях мастики:

 

закрепить водоизоляционный ковер; окрасить места примыканий краской БТ-177; выполнить защитные фартуки в соответствии с п 3.9;

 

2) при сползании мастики, расслоении и повреждении полотнищ водоизоляционного ковра (встречающихся в случаях, когда на плоских кровлях места примыканий выполняются с использованием легкоплавких кровельных мастик, применяемых на основных плоскостях кровель) необходимо:

 

 

 

 

освободить от закрепления в верхней части и убрать все отставшие полотнища рулонных материалов совместно со сплывшей вниз мастикой;

 

освободить водоизоляционный ковер у мест примыкания от защитного слоя или крупнозернистой посыпки на ширину 350 - 400 мм;

 

выполнить слои дополнительного водоизоляционного ковра (пп. 3.10 и 3.11) на мастиках с требуемой теплостойкостью, закрепив их в верхней части;

 

выполнить защитный окрасочный слой или крупнозернистую посыпку (в случае, если рулонный материал верхнего слоя не имеет крупнозернистой посыпки) из материалов, приведенных в п. 4.1;

 

установить защитные фартуки в соответствии с требованиями пп. 3.9 и 3.14.

 

10

Сползание полотнищ рулонных материалов защитного битумного или окрасочного слоя на основных плоскостях кровель

Применение битумов или кровельных мастик с недостаточной теплостойкостью, наклейка рулонных материалов вдоль конька кровель

При капитальном ремонте следует применять кровельные мастики с требуемой теплостойкостью (см. табл. 1); наклеивать основные слои водоизоляционного ковра вдоль ската; при этом каждый слой кровли должен поочередно заходить через конек, перекрывая соответствующий слой на другом скате на ширину 0,25 м.

 

При текущем ремонте необходимо:

 

 

 

 

1) после устранения складчатости, вызванной сползанием полотнищ рулонных материалов, произвести окраску водоизоляционного ковра краской БТ-177. Окраска должна периодически возобновляться;

 

2) если краска БТ-177 не дает желаемых результатов, сползающие полотнища снимают и на их место наклеивают рулонные материалы вдоль ската на мастиках с требуемой теплостойкостью (см. табл. 1).

 

11.

Протекание кровель в местах установки водосточных воронок

Отсутствие зажимных хомутов и компенсирующих стыков между водоотводящим патрубком и стояком, герметичного соединения между водоприемной чашей и поддоном

При капитальном ремонте следует выполнять требования п. 3.13 и типовых проектов серий 2460-17; 2.460-18.

 

При текущем ремонте необходимо:

 

1) переделать соединение между водоотводящим патрубком и стояком с компенсирующим стыком и установить зажимные хомуты;

 

2) загерметизировать соединение между водоприемной чашей и поддоном мастиками марок УМС-50 (п. 4.8); перед нанесением мастик места герметизации должны быть высушены, очищены от пыли и огрунтованы;

 

3) наклеить слои дополнительного водоизоляционного ковра и выполнить защитный слой (пп. 3.12 и 3.13)

 

12.

Протекание кровли в местах пропуска через кровлю вентиляционных труб

Отсутствие герметичности в соединении дождезащитных зонтов с трубами

При капитальном ремонте следует выполнять требования СНиП II.26-76 и типовых проектов серий 2.460-17, 2.460-18

 

При текущем ремонте необходимо:

 

1) ослабить хомут, закрепляющий зонт на трубе, и заложить между зонтом и трубой прокладку из атмосферостойкой резины (ГОСТ 7338-77 с изм.); промазать герметиком место соединения зонта с трубой и затянуть хомуты;

 

 

 

 

2) уплотнить герметизирующую мастику, а место соединения трубы с дождезащитным зонтом окрасить краской БТ-177.

 

13.

Протекание кровли в местах пропуска сигнальных трубок

Отсутствие переходных наклонных бортиков либо металлических рамок, заполненных герметиком

При капитальном ремонте следует выполнять требования СНиП II.26-76, типовых проектов серий 2.460-17, 2.460-18

 

При текущем ремонте необходимо:

 

1) освободить водоизоляционный ковер вокруг трубы от гравийного защитного слоя или крупнозернистой посыпки на площади 200´200 мм;

 

2) установить металлическую рамку размером 150´150 мм так, чтобы труба проходила через ее центр, и залить ее герметиком;

 

3) восстановить защитный окрасочный слой или крупнозернистую посыпку.

 

14.

Просадка участков кровель

Применение сжимаемых утеплителей и неармированных выравнивающих стяжек, а также битума, температура которого превышала 120°С, для наклейки рулонного ковра по пенополистирольному утеплителю

При капитальном ремонте следует применять:

 

1) утеплители, не деформирующиеся при воздействии эксплуатационных нагрузок;

 

2) армированные выравнивающие стяжки (п. 3.5) по сжимаемым утеплителям, при этом теплозащитные качества утеплителя должны приниматься с учетом его обжатия под длительно действующей нагрузкой;

 

 

 

 

3) температура битума для наклейки нижнего слоя водоизоляционного ковра не должна превышать 120°С.

 

При текущем ремонте необходимо:

 

при использовании сжимаемых утеплителей:

 

1) снять слои водоизоляционного ковра на просевшем участке, убрать выравнивающую стяжку и добавить слои более жесткого теплоизоляционного материала;

 

2) выполнить стяжку из армированного цементно-песчаного раствора (п. 3.5) по уплотненному теплоизоляционному материалу;

 

3) наклеить слои водоизоляционного ковра так, чтобы каждый из них перекрывал нижележащий и склеивался со старым участком кровли не менее чем на 150 мм;

 

4) выполнить защитный окрасочный слой или крупнозернистую посыпку; при использовании пенополистирольного утеплителя:

 

1) снять слои водоизоляционного ковра на просевшем участке и добавить утеплителя (пенополистирольные плиты, минераловатные плиты повышенной жесткости, плиты теплоизоляционные из пенопласта на основе резольных фенолформальдегидных смол ГОСТ 20915-75);

 

2) наклеить слои водоизоляционного ковра и выполнить защитный слой так же, как указано в пп. 3 и 4.

 

 

 

 

Во избежание оплавления плит температура мастики, наносимой непосредственно на пенополистирольные плиты, не должна превышать 120°С.

 

15.

Гравий защитного слоя полностью втоплен в мастику и не выполняет функций защиты от воздействия солнечных лучей, поверхность кровли черная

Избыточное количество мастики, нанесенной на водоизоляционный ковер для устройства защитного слоя

При капитальном ремонте следует выполнять требования п. 3.2.

 

При текущем ремонте необходимо:

 

1) при возможности дополнительных нагрузок поверх имеющегося защитного слоя насыпать слой гравия;

 

2) если по условиям дополнительных нагрузок не допускается засыпка дополнительного слоя гравия, избыток мастики необходимо удалить и заново выполнить защитный гравийный слой. Для снятия лишней мастики следует использовать металлические скребки с электроподогревом - электрошпатели, выполненные по типу электропаяльников.

 

16.

Потеря крупнозернистой посыпки кровельным материалом

Низкая степень адгезии крупнозернистой посыпки к покровному слою.

При капитальном ремонте рекомендуется применять кровельный рубероид с крупнозернистой посыпкой или посыпкой из сланцевой гали, имеющих высокую степень адгезии к битумному покровному слою.

 

Появление каверн и трещин в покровном слое

Расклинивающее действие воды и выветривание крупнозернистой посыпки. Старение покровного слоя

Для повышения долговечности кровель рекомендуется наносить окрасочные составы по «Руководству по применению защитных окрасочных составов для повышения долговечности скатных кровель». М.; Стройиздат, 1981.

 

 

 

 

При текущем ремонте следует:

 

1) смести отставшую посыпку;

 

2) окрасить водоизоляционный ковер защитным составом холодной, что более предпочтительно, или горячей кровельной мастикой с немедленным втапливанием в нее крупнозернистой посыпки из материалов, приведенных в п. 4.4;

 

3) после высыхания окрасочного состава или мастики излишек крупнозернистой посыпки смести.

 

17.

Продольная и поперечная усадка полотнищ рулонных материалов

Недостаточная пропитка картонной основы рулонных материалов.

При капительном ремонте, если площадь складчатости кровли более 40%, рекомендуется применять новые рулонные кровельные материалы с показателями, не ниже предусмотренных ГОСТами. В этом случае необходимо:

 

Дефекты появляются вместе с потерей крупнозернистой посыпки кровельным материалом

1) складки разрезать и поднявшуюся часть удалить;

 

2) по подготовленной поверхности наклеить кровельный рубероид с крупнозернистой посыпкой или рубероид с пылевидной посыпкой. При применении последнего необходимо выполнить работы по устройству защитного окрасочного слоя и крупнозернистой посыпки.

 

При текущем ремонте необходимо:

 

1) складки разрезать и поднявшиеся части полотнищ отвернуть в стороны;

 

 

 

 

2) после просушивания дефектного места нанести горячую мастику на полость, находящуюся под складкой, и прижать к ней отвернутые части полотнищ;

 

3) после устранения складчатости по поверхности водоизоляционного ковра выполнить работы, предусмотренные при текущем ремонте поз. 16 настоящей таблицы.

 

18.

Появление трещин в битумной окраске

Старение битума под воздействием солнечной радиации и атмосферных факторов, которое происходит особенно интенсивно при применении тугоплавких битумов и при отсутствии защитного слоя

При капитальном ремонте следует применять битумные кровельные мастики (ГОСТ 2889-80), в состав которых входят битумные вяжущие и наполнители.

 

Наполнители повышают прочность и трещиностойкость мастик. Нельзя оставлять битумные мастики не защищенными от воздействия солнечной радиации.

 

При текущем ремонте необходимо:

 

1) битумную окраску, а также трещины очистить от пыли;

 

2) покрыть ремонтируемую поверхность холодной битумной мастикой толщиной 1,5 мм или окрасочным слоем и выполнить по ней посыпку из материалов, приведенных в разд. 4.

 

19.

Вырывы верхнего слоя водоизоляционного ковра

Наличие вздутий с механическими повреждениями по их периметру и воздействие порывов ветрового отсоса

При капитальном ремонте для предупреждения вырывов следует выполнять требования, изложенные в п. 3.9.

 

При текущем ремонте необходимо:

 

1) участок с вырванным верхним полотнищем рулонного материала высушить, очистить от пыли, а прилегающий к нему (примерно на 20 см по периметру) водоизоляционный ковер освободить от крупнозернистой посыпки,

 

2) наклеить полотнище рулонного материала, которое должно перекрывать поврежденный участок и склеиваться с неповрежденной частью водоизоляционного ковра на ширину 10 - 15 см;

 

3) на отремонтированный участок нанести слой кровельной мастики или защитный окрасочный слой и восстановить крупнозернистую посыпку.

 

20.

Механические повреждения кровель в местах перепадов высот

Отсутствие защитного слоя, предохраняющего кровлю от ударов сосулек в местах перепадов высот; небрежное выполнение смежных строительных и монтажных работ, которые приводят к механическим повреждениям кровель

При капитальном ремонте рекомендуется устраивать внутренние водостоки. При наличии перепадов высот и кровель с наружным отводом воды не должно допускаться сбрасывание талой воды с вышерасположенных участков кровель на участки с медленным подтаиванием снега и льда. На участках возможного повреждения кровель необходимо предусматривать специальные защитные слои из гравия, армоцемента, асфальтобетона. На участках примыканий к стенам слои дополнительного водоизоляционного ковра должны иметь подъем на высоту не менее 35 см. Верхний край водоизоляционного ковра закрепляют и защищают в соответствии с п. 3.9.

 

 

 

 

При текущем ремонте необходимо:

 

1) очистить от пыли и освободить от защитного слоя или крупнозернистой посыпки участок вокруг поврежденного места на расстоянии не менее 250 мм и высушить;

 

2) наклеить на поврежденный участок два или три слоя рубероида с таким расчетом, чтобы нижний слой склеивался с поверхностью основного водоизоляционного ковра не менее чем на 100 мм по всему периметру; каждый последующий наклеиваемый слой должен перекрывать нижележащий и склеиваться с основным водоизоляционным ковром не менее чем на 100 мм;

 

3) выполнить защитный слой из гравия, армоцемента или асфальтобетона.

 

21.

Механические повреждения при очистке кровель от снега, наледей, пыли

Небрежное выполнение работ по очистке кровель

При капитальном ремонте рекомендуется устраивать защитные слои, предохраняющие водоизоляционный ковер от механических повреждений (пп. 3.2 и 3.3). Для уменьшения отложений снега следует выполнять покрытия с возможно меньшим количеством фонарей, которые должны располагаться параллельно господствующим в зимнее время ветрам.

 

 

 

 

Для уменьшения отложений пыли на кровлях необходимо предусматривать эффективные средства по улавливанию пыли у источников пылевыделения.

 

При текущем ремонте рекомендуется выполнять работы, приведенные в поз. 20 настоящей таблицы; при этом крупнозернистая посыпка или защитный слой из гравия, втопленного в кровельную мастику, должны соответствовать типам кровель, на которых осуществляется ремонт.

 

22.

Участки кровель, на которых длительное время застаивается вода

Образование микрорельефа вследствие неравномерной осадки несущих конструкций, расположения водосточных воронок на повышенных местах и местах, близких к парапетам и стенам, что создает трудности в выполнении изоляции вокруг воронок и обеспечении слива воды

При капитальном ремонте следует выполнять требования пп. 3.5; 3.13.

 

При текущем ремонте необходимо:

 

1) на пониженных участках, где застаивается вода слоем до 30 мм, выполнить дополнительный слой из гравия на мастике;

 

2) на более низких участках установить дополнительные водосточные воронки.

 

 

* Официальный бюллетень Госкомизобретений «Открытия, изобретения, промышленные образцы, товарные знаки», № 11, стр.107, 1979.


ПРИЛОЖЕНИЕ

Перечень оборудования для производства работ при устройстве и ремонте кровель

№ пп.

Оборудование

Назначение

Техническая характеристика

1.

Машина СО-98А

Для двухсторонней или односторонней очистки от посыпки и перемотки рулонных материалов

Средняя скорость протягивания материалов, м/с - 0,25

Установленная мощность, кВт - 2,2

Габариты, мм - 1250´1450´1180

Масса, кг - 270

2.

Машина СО-99

Для наклейки рулонных материалов на плоских кровлях промышленных зданий, а также для устройства аналогичных кровель

Производительность, м2/ч -  250

Ширина рулонов, мм 1000 -  1025

Расход мастики, л/м2 -  1

Вместимость бака для мастики, л -  100

Рабочая скорость передвижения, м/мин - 12,6

Мощность электродвигателя, кВт - 0,75/1/1

Габариты, мм - 1370´1666´1040

Масса, кг - 370

3.

Машина СО-100А

Для подогрева, перемешивания и транспортирования горячих битумных мастик на кровлю, приготовляемых централизовано и доставляемых к месту производства работ битумовозами

Вместимость, м3 - 1,5

Высота подачи мастики на кровлю, м -  50

Производительность насоса, м3/ч -  6

Установленная мощность, кВт -  60

Габариты, мм - 5260´2400´3430

Масса, кг - 4300

4.

Машина СО-106

Для удаления воды с основания кровли в гражданском и промышленном строительстве при производстве кровельных работ

Производительность, л/мин -  20

Вместимость бака, л -  20

Потребляемая мощность, кВт - 2,2

Длина всасывающего рукава, м -  2

Габариты, мм - 910´535´1000

Масса, кг - 60

5.

Машина СО-107

Для сушки основания кровли и удаления наледи с основания кровли. Машина применяется в строительстве при производстве работ в любых климатических условиях

Производительность, м2/ч:

при сушке основания кровли - 50,

при удалении наледи толщиной 1 - 1,5 мм -  100

Производительность вентилятора, м3/ч -  2000

Расход топлива, л/ч -  20

Вместимость бака, л -  30

Габариты, мм - 1770´945´1150

Масса, кг- 135

6

Машина СО-108

Для раскатки и прикатки рулонных материалов к основанию кровли при устройстве гидроизоляционного ковра кровли в промышленном и гражданском строительстве

Производительность, м2/ч -  400

Максимальная ширина прикатываемого материала, мм -  1025

Количество обслуживаемого персонала, чел. - 1

Габариты, мм - 1065´960

7.

Машина СО-118

Для подачи и нанесения методом распыления связующих и армирующих материалов при мастичных кровлях

Производительность, м3/ч - 1,5

Дальность подачи, м:

по горизонтали -  80

по вертикали -  60

Мощность, кВт - 13,3

Габариты, мм- 6900´2500´2800

Масса, кг -  4150

Обслуживающий персонал, чел. - 2

8.

Агрегат СО-119А и СО-120А

Для перекачки битумных мастик с пылевидным, волокнистым или комбинированным наполнителем

Производительность, м3/ч - 1,5; 6

Давление нагнетания, МПа - 0,7; 1,5

Мощность двигателя, кВт - 2,5; 8,5

Габариты, мм - 710´360´320; 920´520´470

Масса, кг - 90; 200

9.

Машина СО-122А

Для приема битумных мастик, поддержания заданной температуры и для нанесения их на кровлю при устройстве гидроизоляционного ковра, пароизоляции и огрунтовки

Производительность, м3/ч - 0,9

Температура наносимых мастик, °С -  50 -  200

Емкость бака для мастик, л -  90

Потребляемая мощность, кВт - 4,9

Габариты, мм - 1600´85´1100

Масса, кг - 160

10.

Автогудронатор

Транспортирование битумов и мастик

-

Д-251

Д-640

Д-640А

С-447

С-447М

С-953

11.

Подъемник Т-41

Поднятие грузов

-

12.

Битумный котел для хранения мастики

-

СКВ Мосстрой. Чертеж 516.00.00

13.

Компрессор СО-7А

-

-

14.

Контейнер типа «Р» для перевозки, хранения и подачи рубероида

-

СКБ «Кассет-деталь». Чертеж ОР-2042

15.

Бачок для битумной мастики с крышкой

Для переноса мастик по кровле

СКБ Мосстрой. Чертеж 07.00.00

16.

Дифференцированный каток ДК-1

Для прикатки рулонных материалов

-

Примечание. Указанные машины (поз. 1 - 9) разработаны Минским филиалом ВНИИСМИ и выпускаются Волковысским заводом дорожно-строительных машин.

СОДЕРЖАНИЕ

 

 




ГОСТЫ, СТРОИТЕЛЬНЫЕ и ТЕХНИЧЕСКИЕ НОРМАТИВЫ.
Некоммерческая онлайн система, содержащая все Российские Госты, национальные Стандарты и нормативы.
В Системе содержится более 150000 файлов нормативно-технической документации, действующей на территории РФ.
Система предназначена для широкого круга инженерно-технических специалистов.

Рейтинг@Mail.ru Яндекс цитирования

Copyright © www.gostrf.com, 2008 - 2026