Крупнейшая бесплатная информационно-справочная система онлайн доступа к полному собранию технических нормативно-правовых актов РФ. Огромная база технических нормативов (более 150 тысяч документов) и полное собрание национальных стандартов, аутентичное официальной базе Госстандарта. GOSTRF.com - это более 1 Терабайта бесплатной технической информации для всех пользователей интернета. Все электронные копии представленных здесь документов могут распространяться без каких-либо ограничений. Поощряется распространение информации с этого сайта на любых других ресурсах. Каждый человек имеет право на неограниченный доступ к этим документам! Каждый человек имеет право на знание требований, изложенных в данных нормативно-правовых актах!

  


 

ОТРАСЛЕВОЙ СТАНДАРТ

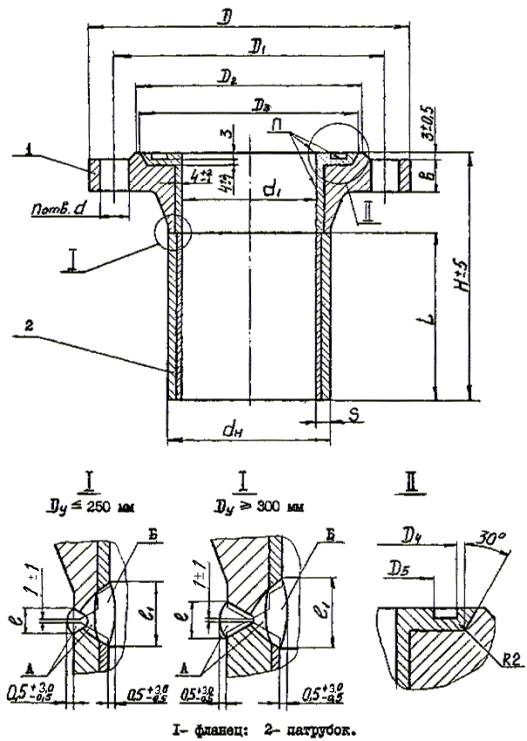
ШТУЦЕРА ИЗ ДВУХСЛОЙНЫХ СТАЛЕЙ
С ПРИВАРНЫМИ ВСТЫК ФЛАНЦАМИ И
НАПЛАВЛЕННОЙ УПЛОТНИТЕЛЬНОЙ ПОВЕРХНОСТЬЮ С ПАЗОМ
НА Р
у 4,0 МПа.

Конструкция и размеры.

ОСТ 26-02-2045-79

ОТРАСЛЕВОЙ СТАНДАРТ

ШТУЦЕРА ИЗ ДВУХСЛОЙНЫХ СТАЛЕЙ
С ПРИВАРНЫМИ ВСТЫК ФЛАНЦАМИ И
НАПЛАВЛЕННОЙ УПЛОТНИТЕЛЬНОЙ ПОВЕРХНОСТЬЮ С ПАЗОМ
НА Ру 4,0 МПа.

Конструкция и размеры.

ОСТ 26-02-2045-79

Впервые

Приказом МИНХИММАШа

от_________________197   г.         №___________                           срок действия

с 01.01. 1981 г.

до 01.01. 1993 г.

(Измененная редакция, Изм. № 1, 2).

1. Настоящий стандарт распространяется на штуцера из двухслойных сталей с приварными встык фланцами и наплавленной уплотнительной поверхностью с пазом на условный проход Ду от 150 до 500 мм, условное давление Ру 4 МПа (40 кгс/см2) и температуру от минус 60 до 560 °С.

(Измененная редакция, Изм. № 1).

2. Конструкция и размеры штуцеров должны соответствовать указанным на чертеже и в таблице.

3. Материал и технические требования и маркировка штуцеров ПО ОСТ 26-02-2053.

(Измененная редакция, Изм. № 2).

(Измененная редакция, Изм. № 1).

А - присадочный материал перлитного класса;

Б - присадочный материал аустенитного класса;

 - по ГОСТ 12821.

(Измененная редакция, Изм. № 1, 2).


Размеры в мм

Dу

D

D1

D2

D3

D4

D5

d1

dн

S

d

n

b

L

H

l,

l1,

Масса, кг

не более

не менее

наплавленного металла

общая

углеродистого

аустенитного

150

300

250

212

212

204

182

145

169

12

26

8

27

120

190

22

26

0,2

2,5

19,8

180

250

22,5

200

375

320

285

270

260

238

200

224

30

12

35

120

210

0,3

3,5

32,7

180

270

36,7

250

445

385

345

323

313

291

252

276

33

39

120

220

4,5

48,0

180

280

52,6

300

510

450

410

376

364

342

301

333

16

16

42

150

270

20

28

0,6

6,5

72,2

210

330

79,7

350

570

510

465

434

422

394

351

383

48

150

270

0,8

7,5

91,8

210

330

100,5

400

655

585

535

486

474

446

398

430

39

54

180

320

0,9

9,0

137,0

240

380

147,0

450

680

610

560

536

524

496

448

484

18

40

20

56

180

320

20

28

1,4

9,5

145,0

270

410

164,0

500

755

670

615

588

576

548

495

535

20

45

58

180

320

22

30

1,8

15,0

178,5

270

410

202,0

(Измененная редакция, Изм. № 1).

Примечание. Ду 450 мм применять только для люка.

Пример условного обозначения штуцера Ду 200 мм на Ру 4,0 МПа, Н = 210 мм, патрубок из стали 09Г2С + 08Х13, фланец из стали 09Г2С:

Штуцер 200-4,0-210-4а-4 ОСТ 26-02-2045

(Измененная редакция, Изм. № 1, 2).


ИНФОРМАЦИОННЫЕ ДАННЫЕ

1. УТВЕРЖДЕН И ВВЕДЕН В ДЕЙСТВИЕ Министерством химического и нефтяного машиностроения СССР от 16.07.1979

2. РАЗРАБОТЧИКИ: А.Ю. Пролесковский, М.И. Байбакова

3. ЗАРЕГИСТРИРОВАН ВНИИКИ ГР № 8138505 от 11.09.1979

4.ССЫЛОЧНЫЕ НОРМАТИВНО-ТЕХНИЧЕСКИЕ ДОКУМЕНТЫ

Обозначение НТД, на которые дана ссылка

Номер пункта, подпункта, перечисления, приложения

ГОСТ 12821-80

2

ОСТ 26-02-2053-79

3

(Введены дополнительно, Изм. № 2).

 




ГОСТЫ, СТРОИТЕЛЬНЫЕ и ТЕХНИЧЕСКИЕ НОРМАТИВЫ.
Некоммерческая онлайн система, содержащая все Российские Госты, национальные Стандарты и нормативы.
В Системе содержится более 150000 файлов нормативно-технической документации, действующей на территории РФ.
Система предназначена для широкого круга инженерно-технических специалистов.

Рейтинг@Mail.ru Яндекс цитирования

Copyright © www.gostrf.com, 2008 - 2026