Крупнейшая бесплатная информационно-справочная система онлайн доступа к полному собранию технических нормативно-правовых актов РФ. Огромная база технических нормативов (более 150 тысяч документов) и полное собрание национальных стандартов, аутентичное официальной базе Госстандарта. GOSTRF.com - это более 1 Терабайта бесплатной технической информации для всех пользователей интернета. Все электронные копии представленных здесь документов могут распространяться без каких-либо ограничений. Поощряется распространение информации с этого сайта на любых других ресурсах. Каждый человек имеет право на неограниченный доступ к этим документам! Каждый человек имеет право на знание требований, изложенных в данных нормативно-правовых актах!

  


 

Федеральный горный и промышленный надзор России (Госгортехнадзор России)

Руководящий документ Госгортехнадзора России

Шифр

Документы, регламентирующие деятельность Управления по котлонадзору и надзору за подъемными сооружениями

РД 10-197-98

Инструкция
по оценке технического состояния
болтовых и заклёпочных соединений
грузоподъёмных кранов

РД 10-197-98

Разработано и внесено Управлением по котлонадзору и надзору за подъемными сооружениями

Утверждено Госгортехнадзором России постановлением № 20 от 31.03.98

Срок ввода в действие с 01.06.98

СОДЕРЖАНИЕ

1. Область применения. 1

2. Список сокращений. 2

3. Термины и определения. 2

4. Общие требования. 2

4.1 Периодичность обследования. 2

4.2 Организация работ по обследованию.. 2

4.3 Основные работы при обследовании. 2

4.3.1 Рассмотрение технической и эксплуатационной документации в объеме. 2

4.3.2 Методы диагностирования БиЗС.. 3

4.4 Оценка остаточного ресурса. 4

4.5 Оформление результатов обследования. 4

Приложение 1 Спецификация и карта осмотра БиЗС кранов типа «Альбатрос» (пример заполнения) 4

Приложение 2 Рекомендуемая форма таблиц-ведомостей БиЗС.. 6

Приложение 3 Классификация повреждений и дефектов БиЗС по контролируемым параметрам и их предельно допустимые значения. 7

Приложение 4 Методика ультразвукового контроля болтов. 8

Приложение 5 Приборы и устройства, применяемые при обследовании болтовых и заклепочных соединений. 12

Приложение 6 Рекомендации по определению количества, расположения и типа БиЗС, подвергаемых дефектоскопии. 13

Приложение 7 Рекомендуемый метод расчета работоспособности и остаточного ресурса БиЗС.. 13

Приложение 8 Ведомость дефектов БиЗС.. 13

Приложение 9 АКТ обследования БиЗС (пример заполнения) 14

Приложение 10 Нормативные ссылки. 16

1. Область применения

Настоящая Инструкция по оценке технического состояния болтовых и заклепочных соединений грузоподъемных кранов*) распространяется на грузоподъемные машины (ГПМ) с истекшим сроком службы.

*) Далее по тексту Инструкция.

Инструкция устанавливает порядок проведения работ по сбору, обработке, систематизации данных, алгоритмы диагностирования с оценкой полноты обнаружения дефектов, методы и средства диагностирования.

Инструкция разработана в развитие Правил устройства и безопасной эксплуатации грузоподъемных кранов (ПБ-10-14-92), Методических указаний по обследованию грузоподъемных машин с истекшим сроком службы (РД 10-112-96) и соответствует требованиям ГОСТ 20415, ГОСТ 14782 и ГОСТ 26266.

Настоящая Инструкция предназначена для специалистов, связанных с эксплуатацией, экспертным обследованием и техническим диагностированием ГПМ.

2. Список сокращений

АСД - автоматический сигнализатор дефектов

БиЗС - болтовые и заклепочные соединения.

БЦО - блок цифрового отсчета

ГПМ - грузоподъемная машина

СО - стандартный образец

НД - нормативная документация

ПЭП - пьезоэлектрический преобразователь

РД - руководящий документ

СОП - стандартный образец предприятия

УЗ - ультразвуковой

УЗК - ультразвуковой контроль

3. Термины и определения

Для настоящей Инструкции используются следующие термины и определения:

Оценка технического состояния (техническое диагностирование) БиЗС - процесс количественного определения технических параметров болтовых и заклепочных соединений с выявлением мест, вида, количественной оценки, величины и причин появления дефектов, а также работоспособности БиЗС.

Дефект БиЗС - каждое отдельное несоответствие болтового и заклепочного соединения требованиям, приведенным в проектной или нормативной технической документации.

Риск - вероятность разрушения БиЗС.

Работоспособное состояние БиЗС - состояние, при котором значение всех параметров болтового и заклепочного соединений, характеризующих способность выполнять заданные функции, соответствует требованиям нормативно-технической документации.

(N) БиЗС - число болтов (заклепок) одного типоразмера в однотипных соединениях той части крановой конструкции, которая в расчетной схеме с достаточной степенью точности считается абсолютно жестким диском.

Болты с контролируемым натяжением - болты, расчетное натяжение которых в проектной документации регламентируется с погрешностью не более 25 % номинальной величины.

Элементы БиЗС - болты, заклепки, гайки, шайбы, стопорные детали, технологические прокладки и части соединяемых деталей металлоконструкции.

4. Общие требования

4.1 Периодичность обследования

Обследование БиЗС проводится в сроки, совмещенные с обследованием ГПМ с истекшим нормативным сроком службы, при этом результаты обследования БиЗС должны учитываться при оценке и прогнозировании технического состояния крана, если иное не оговорено в технической документации ГПМ.

4.2 Организация работ по обследованию

Организация работ по оценке технического состояния БиЗС конструкций ГПМ аналогична требованиям, изложенным в РД-10-112.

4.3 Основные работы при обследовании

Обследование технического состояния БиЗС включает следующие виды работ:

4.3.1 Рассмотрение технической и эксплуатационной документации в объеме:

- паспорта крана;

- инструкции по монтажу и эксплуатации;

- сведений по ремонту БиЗС, если эти работы проводились;

- конструкторской документации по устройству металлоконструкции крана и БиЗС.

В процессе изучения документации составляется спецификация БиЗС составных частей металлоконструкции крана (приложение 1), на которой указано расположение БиЗС на карте осмотра крана, типоразмер БиЗС. Одновременно составляются таблица-ведомость БиЗС (приложение 2), по данным которой определяется их число (N) для каждой из составных частей металлоконструкции. Полученные значения N используют для определения объема выборки при проведении дефектоскопии БиЗС и при определении предельных значений повреждений и дефектов, которые определены из допустимого значения вероятности риска, принятого в краностроении равным 10-4 (см. приложение 3).

4.3.2 Методы диагностирования БиЗС

Проверку качества БиЗС производят следующими методами:

- визуально-инструментальный контроль;

- ультразвуковой контроль.

Рекомендуемые приборы и устройства применяемые при проведении вышеперечисленных измерений, приведены в приложении 5.

4.3.2.1 Визуально-инструментальный контроль

Визуально выявляют дефекты и повреждения по следующим диагностическим признакам:

- отсутствие или разрушение элемента БиЗС;

- дефекты форм БиЗС;

- трещины в металле элементов БиЗС;

- износ (механический - по подтекам ржавчины из под головки или гайки, буртик вокруг элемента БиЗС; коррозионный);

- взаимное смещение элементов БиЗС при пусках и торможениях механизмов крана.

При проведении измерения размеров и положения БиЗС с использованием тестовых нагрузок дефекты и повреждения определяют по следующим диагностическим признакам:

- смещение элементов БиЗС относительно друг друга или от проектного положения (определяется с помощью линейки, штангенциркуля и угольника);

- зазоры между элементами заклепочных и болтовых соединений (определяются с помощью щупов и штангенциркуля);

- смещение элементов БиЗС в результате пластических деформаций или износа этих элементов (определяют с помощью тестовых нагрузок, а именно: отстукиванием молотком на длинной рукоятке и массой от 0,4-0,5 кг или опробованием гаечным ключом для определения проворачивания и ослабления гайки относительно болта);

- износ механический и коррозионный (определяют с помощью щупов, штангенциркуля и толщиномеров; при уменьшении площади сечения элемента БиЗС в результате износа превышающем предельно допустимое значение, измерения производятся с частичной или полной разборкой БиЗС).

Отстукивание производится в следующем порядке: ударяют молотком сбоку по головке болта или заклепке, затем к месту удара приставляют металлический стержень длиной 80-100 мм диаметром 3-5 мм и ударяют молотком с противоположной стороны головки болта (заклепки). Для определения подвижности болта (заклепки) вдоль оси проверку производят двумя молотками - одним выполняют удар по головке, а другой держат прижатым к противоположной стороне болта (заклепки). Ослабление болта (заклепки) сопровождается резким отскоком второго молотка при ударе.

В случае, когда подвижность болта вызывает сомнение, производят опробование путем создания с помощью гаечного ключа крутящего момента М:

М < 0,1R0×d3,

где R0 - величина напряжения затяжки болта, МПа (кг/мм2);

d - диаметр болта, м (мм).

При отсутствии данных в эксплуатационной документации величину напряжения затяжки принимают:

для болтов из легированных сталей R0 = (0,5 ... 0,6)RN;

для болтов из углеродистых сталей R0 = (06 ... 0,7)RN;

для высокопрочных болтов R0 = (0,8 ...1,0)RN.

Здесь RN - нормативное значение предела текучести материала болта, МПа (кг/мм2). Материал болта (класс прочности по ГОСТ 1759.4) устанавливается по эксплуатационной документации или по маркировке на головке болта. В случае отсутствия данных о материале болта необходимо произвести определение химического состава и механических свойств металла.

Обследованию с помощью этого вида измерений подвергаются 100 % БиЗС грузоподъемных машин.

4.3.2.2. Ультразвуковой контроль.

Ультразвуковой контроль проводят с целью выявления трещин в болтах. При УЗК требуется разборка резьбовых соединений. Результаты УЗК подтверждаются исследованиями с применением разрушающих методов и визуального контроля извлеченных болтов.

Количество болтов подвергаемых обязательному УЗК:

- не менее 25 % болтов с контролируемым натяжением от их общего числа в каждом болтовом соединении;

- не менее 25 % количества болтов во фланцевых соединениях, в которых при эксплуатации могут возникнуть растягивающие напряжения;

- не менее 10 % N болтов для БиЗС, в которых обнаружены дефекты.

Рекомендуется проводить 100 % контроль болтов следующих узлов конструкций портальных кранов:

- фланцевые соединения опор с ходовыми тележками крана;

- узлы соединения стяжек опор;

- узлы соединения жесткой оттяжки.

В остальных узлах конструкций портальных кранов (портал, рама кольцевая, башня) достаточно проводить контроль 10 % от общего количества болтов в соединении, но не менее 2-х, наиболее нагруженных. Рекомендации приведены в приложении 6.

При обнаружении хотя бы одного дефектного элемента в результате УЗК, число контролируемых болтов удваивается.

Методика УЗК болтов приведена в приложении 4.

4.4 Оценка остаточного ресурса.

Оценку остаточного ресурса БиЗС выполняют в случаях, оговоренных п. 3.13.1 РД 10-112-96 (Часть 1. Общие положения.) по методике головной организации (например, по методике СТО 24.09-5281-01-93). В приложении 7 приводятся основы методики расчета ресурса БиЗС, основанной на трещиностойкости материала болтов (заклепок),что позволяет использовать с достаточной точностью относительно недорогой метод дефектоскопии (см. приложение 4) без разборки соединения. Вне зависимости от используемого метода расчета следует учитывать выявленные коррозионные повреждения элементов БиЗС (как уменьшение размеров сечений, так и возникновение дополнительных концентраторов напряжений).

4.5 Оформление результатов обследования.

Выявленные дефекты БиЗС должны быть внесены в ведомость дефектов и акт, формы которых даны в приложениях 8, 9. В графе "Рекомендации по устранению дефекта" необходимо указать способ ремонта БиЗС, например:

- ослабленное болтовое соединение подтянуть, момент затяжки болта должен быть ... кг×м;

- заменить дефектные болт, гайку и шайбу на новые по ГОСТ ... , момент затяжки болта должен быть ... кг×м;

- рассверлить изношенное отверстие и установить болт ГОСТ ... по посадке ... ;

- заменить заклепку на болт с контролируемым натяжением;

- разработать проект усиления БиЗС. Ресурс БиЗС после рекомендуемого ремонта должен составлять не менее 80 % соответствующих показателей новых БиЗС.

Приложение 1

Рис. 1.1. Схема расположения узлов с болтовыми соединениями в порталах крана типа «Альбатрос»

Рис. 1.2. Схема расположения узлов с болтовыми соединениями в колонне и жесткой оттяжке крана типа «Альбатрос».

Спецификация болтовых соединений порталов кранов типа «Альбатрос»

Таблица 1.1

Обозначение соединений

Типоразмер болта

Узел (см. рис. 1.1)

Количество

Примечание

d

l

n

тип

узлов

соединений

13

24

90

16

Б

1

4

1

2 болта М16 по посадке

3

20

65

9

Б

2

TGL 12518

3

20

65

48

Б

2

4

1

TGL 2518

9

24

85

16

Б

 

 

2

TGL 12518

1

20

55

6

Б

 

 

2

TGL 12518

1

20

55

10

Б

3

4

2

TGL 12518

1

20

55

16

Б

2

TGL 2518

8

24

75

32

Б

4

4

2

TGL12518

2

20

60

8

Б

1

TGL 12518

3

20

65

48

Б

2

TGL 2518

10

24

100

12

Б

5

2

1

TGL 12518

1

20

55

10

Б

4

TGL 2518

1

20

55

16

Б

6

2

4

TGL 12518

1

20

55

16

Б

7

2

2

TGL 2518

3

20

65

30

Б

2

TGL 2518

1

20

55

38

Б

1

TGL 12518

1

20

55

6

Б

8

2

4

TGL 2518

12

20

85

33

Б*

9

2

1

TGL 13517

7

20

115

12

Б

1

TGL 12518

2

20

60

16

Б

1

TGL 12518

2

20

60

12

Б

1

TGL 12518

4

20

80

16

Б

1

TGL 12518

2

20

60

36

Б

1

TGL 12518

5

20

85

10

Б

1

TGL 12518

Обозначение: d - диаметр болта (мм);

l - длина болта (мм);

n - количество болтов в соединении;

Б - болты с неконтролируемым натяжением;

Б* - болты с контролируемым натяжением.

Приложение 2

Таблицы-ведомости БиЗС крана «Альбатрос». Для портала

Таблица 2.1

J/I

1

2

3

4

5

6

7

8

9

10

11

12

13

6

16

 

 

 

 

 

 

 

 

 

 

 

 

8

 

 

 

 

 

 

 

 

 

 

8

 

 

9

 

 

8

 

 

 

 

 

 

 

 

 

 

10

16

 

 

 

2

2

 

 

 

 

 

 

 

12

 

2

 

 

 

 

2

 

 

4

 

 

 

16

20

2

 

2

 

 

 

 

8

 

 

 

4*

30

 

 

4

 

 

 

 

 

 

 

 

 

 

32

 

 

 

 

 

 

 

4

 

 

 

 

 

33

 

 

 

 

 

 

 

 

 

 

 

2

 

36

 

2

 

 

 

 

 

 

 

 

 

 

 

38

2

 

 

 

 

 

 

 

 

 

 

 

 

48

 

 

4

 

 

 

 

 

 

 

 

 

 

54

 

 

4

 

 

 

 

 

 

 

 

 

 

Ci

54

6

20

2

2

2

2

4

8

4

8

2

4

Ni

652

128

600

32

20

20

24

128

128

48

64

66

64

Для колонны

Таблица 2.2

I/J

1

2

3

3

 

 

6

56

 

2

 

60

2

 

 

Ni

120

112

18

Для жесткой оттяжки

Таблица 2.3

I/J

16

16

2

Ni

32

Обозначено: Сi - количество соединений (Сi общ - 122);

Ni - количество болтов (Ni общ = 2256);

J - порядковый номер типоразмера БиЗС;

I - количество болтов (заклепок) в соединении;

С* - соединение, подвергавшееся ремонту.


Приложение 3

Классификация дефектов болтовых и заклепочных соединении (БиЗС) по нормируемым контролируемым параметрам и их предельно допустимые значения

Обозначение

Дефект повреждения

Контролируемый параметр

ПРЕДЕЛЬНО ДОПУСТИМОЕ ЗНАЧЕНИЕ (КОНТРОЛИРУЕМЫХ) ПАРАМЕТРОВ ПРИ ТЕХНИЧЕСКОМ СОСТОЯНИИ

ИСПРАВНОЕ

РАБОТОСПОСОБНОЕ

З

Б

БФ

БК

З

Б

БФ

БК

1

Отсутствие некоторых БиЗС

П1 - количество отсутствующих болтов (заклепок)

не допускается

не допускается

не допускается

не допускается

0,05 NC

0,05 NC

0,05 NC

0,05 NC

2

Разрушение (обрыв, срез) элементов БиЗС

П2 - количество разрушенных болтов (заклепок)

не допускается

не допускается

не допускается

не допускается

0,05 NC

0,05 NC

0,05 NC

0,05 NC

3

Вращение (от руки) болтов (заклепок)

П3 - количество вращающихся болтов (заклепок)

не допускается

не допускается

не допускается

не допускается

0,05 NC

0,05 NC

0,05 NC

0,05 NC

4

Перемещение болтов (заклепок) под ударами молотка

П4 - количество подвижных болтов (заклепок)

не допускается

не допускается

не допускается

не допускается

0,05 NC

0,05 NC

0,05 NC

0,05 NC

5

Неплотное прижатие головки или уклон оси болтов (заклепок)

П5 - количество деформированных болтов (заклепок)

0,1 NС при i<0,03dS

0,1 NС при i<0,03dS

0,1 NС при i<0,03dS

не допускается

0,2 NС при i<0,03dS

0,2 NС при i<0,03dS

0,2 NС при i<0,03dS

0,05 NС при i<0,03dS

6

Трещины в металле

l - длина в мм

не допускается

не допускается

не допускается

не допускается

3 мм

3 мм

3 мм

3 мм

7

Зазор между деталями

а - расстояние между элементами в мм

0,2 мм на глубину £ 50 мм

0,3 мм на глубину £ 20 мм

0,3 мм на глубину £ 20 мм

0,3 мм на глубину £ 20 мм

0,2 мм на глубину £ 50 мм

1 мм

1 мм

0,3 мм на глубину £ 20 мм

8

Износ поверхности (механический, коррозионный)

П6 - уменьшение сечения в % от F0

не допускается

не допускается

Не допускается

не допускается

5% F0

5% F0

5% F0

не допускается

9

Щелевая коррозия

П9 - max расстояние между элементами пакета

не допускается

не допускается

Не допускается

не допускается

2

2

0,1

не допускается

10

Отсутствие проектного натяжения

П10 -количество болтов у которых 0,9Мрф>1,1Мр

-

-

-

не допускается

-

-

-

0,05 NC

11

Несоответствие мех. параметров материала проектному

П11 - количество непроектных болтов (заклепок)

не допускается

не допускается

не допускается

не допускается

Проверяется расчетом при n>0,1NC

Проверяется расчетом при n>0,1NC

Проверяется расчетом при n>0,1NC

Проверяется расчетом при n>0,05NC

12

Замена не по проекту элементов БиЗС

П12 - количество непроектных болтов (заклепок)

не допускается

не допускается

не допускается

не допускается

Проверяется расчетом при n>0,1NC

Проверяется расчетом при n>0,1NC

Проверяется расчетом при n>0,1NC

Проверяется расчетом при n>0,05NC

Обозначения: dS - толщина соединяемого пакета; Р0 - проектная площадь сечения элемента БнЗС; i - уклон к оси болта (заклепки); МP и МФ - фактический и расчетный момент на ключе; 3 - заклепки; Б - болты с неконтролируемым натяжением; БК - болты с контролируемым натяжением; БФ - болты фланцевых соединений; NС - количество болтов (заклепок) в соединении.


Приложение 4

МЕТОДИКА УЛЬТРАЗВУКОВОГО КОНТРОЛЯ БОЛТОВ

1. Общие положения

1.1. Настоящая методика распространяется на УЗК болтов диаметром 16-32 мм и длиной 60-170 мм.

1.2. Методика предусматривает проведение УЗК эхо-методом прямыми совмещенными ПЭП с рабочий частотой 2,0-2,5 МГц. Контроль проводят контактным способом, перемещая ПЭП вручную.

1.3. Болты, проверенные УЗК и признанные годными, клеймятся личным клеймом дефектоскописта.

2. Организация контроля

2.1. УЗК должны проводить предприятия (организации), имеющие лицензии Госгортехнадзора России на экспертное обследование ГПМ или на контроль неразрушающими (ультразвуковыми) методами металла и сварных соединений.

2.2. Для проведения неразрушающего контроля на предприятии (в организации) рекомендуется создать лабораторию, которая должна удовлетворять требованиям соответствующих НД.

2.3. Места контроля должны быть оснащены средствами защиты от ярких источников света (постов электросварки, резки и т.п.); при контроле на открытом месте в дневное время или при сильном искусственном освещении необходимо принять меры к затемнению экрана дефектоскопа.

В необходимых случаях для обеспечения безопасного и удобного взаимного расположения дефектоскописта, аппаратуры и контролируемого участка конструкции следует устанавливать леса, подмостки, лестницы или использовать люльки.

2.4. Для работы в труднодоступных местах и на высоте в помощь дефектоскописту должен быть выделен вспомогательный персонал.

3. Квалификация персонала

3.1. К руководству работами допускаются специалисты, прошедшие проверку знаний Правил ПБ 10-14-92 в соответствии с Положением о порядке проверки знаний правил, норм и инструкций Госгортехнадзора России.

3.2. К выполнению контроля допускаются дефектоскописты, прошедшие аттестацию в соответствии с Правилами аттестации специалистов неразрушающего контроля, утвержденными Госгортехнадзором России 18.08.92г.

4. Средства контроля

4.1. При контроле следует применять импульсные УЗ дефектоскопы, удовлетворяющие требованиям соответствующих НД; прямые совмещенные ПЭП, удовлетворяющие требованиям ГОСТ 26266. Кроме того дефектоскопы должны иметь глубиномеры и блоки ВРЧ.

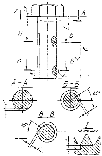
4.2. В качестве СОП используется болт размеры и материал которого соответствуют контролируемым болтам. В СОП изготавливают искусственные отражатели типа пропилов в местах наиболее вероятных разрушений (рис. 2), а именно: под головкой болта, под гайкой и вместе окончания резьбы. Надрезы выполняются на фрезерном станке глубиной 2 мм.

4.3. Для обеспечения проведения УЗК в различных пространственных положениях лаборатория должна иметь набор контактных смазок для создания акустического контакта, включающий трансформаторное масло, глицерин, ЦИАТИМ и смазки.

5. Подготовка к контролю

5.1. Перед началом работы дефектоскопист обязан ознакомиться с конструкцией узлов болтовых соединений, получить схему узлов соединений с указанием порядковых номеров контролируемых болтов, произвести наружный осмотр доступных поверхностей болтов.

5.2. Торец болта, со стороны которого производится контроль, обрабатывается (зачищается шабером, напильником или механизированным инструментом) до образования чистоты поверхности не грубее RZ20 - RZ40. Плоскость подготовленного к контролю торца должна быть перпендикулярна оси болта.

Рис. 2. СОП для настройки ВРЧ, длительности развертки и чувствительности дефектоскопа

5.3. Для обеспечения акустического контакта преобразователя на подготовленную поверхность торца болта перед контролем наносится слой контактной смазки.

5.4. Ежедневно, перед началом работы, дефектоскопист должен проверять у ПЭП мертвую зону по СО-2. Мертвая зона не должна превышать 8 мм.

Примечание. Мертвой зоной считают минимальное расстояние от поверхности ввода до бокового отверстия, эхо-сигнал от него разделяется с зондирующим импульсом на уровне не менее 6 дБ.

6. Настройка аппаратуры

6.1. Настройка дефектоскопов состоит в выполнении следующих операций:

- настройка глубиномера;

- настройка ВРЧ;

- настройка длительности развертки;

- настройка браковочной чувствительности;

- настройка АСД.

6.2. Настройку глубиномера дефектоскопа производят в соответствии с руководством по эксплуатации дефектоскопа. Рекомендуется выполнять настройку по донным эхо-сигналам или эхо-сигналов цилиндрических отражателей стандартных образцов. Допускается применять стандартные образцы международного института сварки (МИС) типа VI (ISO 2400) и (ISO 7963).

6.3. Настройку ВРЧ производят в соответствии с руководством по эксплуатации дефектоскопа по эхо-сигналам, отраженным от трех искусственных отражателей (пропилов) в СОП (рис. 3).

6.4.Длительность развертки экрана дефектоскопа следует настраивать так, чтобы задний фронт данного эхо-сигнала находился на расстоянии 10-15 мм от правого края экрана дефектоскопа (см. рис. 3). Передний фронт строб-импульса дефектоскопа совмещают с передним фронтом эхо-сигнала от ближайшего к ПЭП пропила, задний фронт строб-импульса с задним фронтом эхо-сигнала от пропила наиболее удаленного от ПЭП. Допускается производить настройку длительности развертки дефектоскопа по донным эхо-сигналам стандартных образцов; допускается настройка с помощью БЦО дефектоскопа в соответствии с руководством по его эксплуатации.

6.5. Настройка чувствительности заключается в установлении браковочного уровня чувствительности, на котором производят оценку допустимости дефектов по амплитудам эхо-сигналов. Браковочный уровень на 6 дБ ниже поискового уровня чувствительности.

Рис. 3. Схемы настройки ВРЧ, длительности развертки и чувствительности дефектоскопа

3 - зондирующий импульс; Ц - донный эхо-сигнал; П - эхо-сигнал от пропила

6.6. Настройку чувствительности дефектоскопа производят по пропилам в СОП (рисунок 3). Максимумы эхо-сигналов от пропилов устанавливают равными стандартному уровню.

Примечание: в качестве стандартного уровня эхо-сигнала по экрану дефектоскопа рекомендуется принимать уровень, равный половине высоты экрана дефектоскопа.

6.7. Установленные значения уровня максимума эхо-сигнала на экране дефектоскопа и соответствующие показания аттенюатора определяют браковочный уровень чувствительности.

Поисковый уровень чувствительности устанавливают относительно браковочного в соответствии с требованиями п. 6.5.

6.8. Настройку АСД производят в соответствии с требованиями руководств по эксплуатации дефектоскопов, добиваясь срабатывания звукового и (или) светового индикатора при амплитуде эхо-сигнала, превышающей стандартный уровень.

7. Проведение контроля

7.1. Контроль выполняют в следующей последовательности:

- настраивают глубиномер, ВРЧ и длительность развертки;

- настраивают браковочную чувствительность дефектоскопа;

- устанавливают поисковую чувствительность дефектоскопа;

- производят сканирование.

7.2. При появлении эхо-сигнала от дефекта устанавливают браковочный уровень чувствительности. При этом, если высота эхо-сигнала дефектоскопа не превышает стандартный уровень, восстанавливают поисковый уровень чувствительности и продолжают сканирование.

7.3. Устанавливают браковочный уровень чувствительности и определяют допустимость дефекта по амплитуде эхо-сигнала.

7.4. УЗ колебания могут вводиться в болт как со стороны головки, так и со стороны резьбы в зависимости от конструктивного исполнения болта и удобства проведения измерений. При двухстороннем доступе к болту контроль необходимо выполнять с двух сторон.

Сканирование ведется по всей поверхности ввода УЗ колебаний.

Примечание: 1. При наличии скосов и кривизны контактной поверхности УЗ колебания проходят по телу болта с некоторым наклоном к его оси. В результате перекоса УЗ колебания отражаются не только от торца болта, но и от ниток резьбы, что вызывает появление на экране дефектоскопа ложных сигналов. При перемещении ПЭП по контактной поверхности такие сигналы временами пропадают или несколько смещаются по линии развертки.

2. При контроле болта со стороны головки следует учитывать наличие эхо-сигнала от противоположной поверхности головки и невозможность выявления трещин развивающихся под головкой болта.

8. Характеристики дефектов

8.1. Координата

Положение дефекта относительно ПЭП определяется глубиной его расположения.

Для определения координаты максимальную амплитуду эхо-сигнала устанавливают равной стандартному уровню.

8.2. Амплитуда эхо-сигнала

Амплитуду эхо-сигнала от дефекта оценивают сравнением с амплитудой эхо-сигнала на браковочном уровне чувствительности, как разность показаний аттенюатора соответствующих браковочному уровню и уровню при котором амплитуда эхо-сигнала от дефекта равна стандартному уровню.

9. Оценка качества

9.1. Качество проконтролированных болтов оценивают по двухбальной системе:

балл 1 - неудовлетворительное качество;

балл 2 - удовлетворительное качество.

9.2. Баллом 1 оценивают болты с дефектами, амплитуды эхо-сигналов от которых превышают браковочный уровень чувствительности.

9.3. Баллом 2 оценивают элементы, в которых не обнаружены дефекты, амплитуды эхо-сигналов которых превышают браковочный уровень чувствительности.

10. Оформление результатов контроля

10.1. Результаты контроля каждого элемента должны быть зафиксированы в журналах и заключениях (актах).

10.2. В журнале и заключении должны быть указаны:

- тип ГПМ, объем контроля;

- техническая документация, по которой выполнялся контроль;

- тип и заводской номер дефектоскопа;

- тип и заводской номер ПЭП;

- результаты контроля (с эскизом на котором указаны поврежденные болты);

- дата контроля;

- фамилия, инициалы и подпись дефектоскописта, проводившего контроль;

-уровень, № удостоверения, дата выдачи, наименование организации, выдавшей удостоверенье дефектоскописта;

- фамилия, инициалы и подпись лица ответственного за оформление документации.

10.3. Журналы и копии заключений (актов) должны хранится у владельца ГПМ и организации, выполнившей контроль, не менее 5 лет.

11. Требования безопасности

11.1. При проведении работ по ультразвуковому контролю дефектоскопист должен руководствоваться ГОСТ 12.1.001, ГОСТ 12.2.003, ГОСТ 12.3.002, СНИП III-4-80, Правилами технической эксплуатации электроустановок потребителей и Правилами технической безопасности при эксплуатации электроустановок потребителей.

11.2. При выполнении контроля должны соблюдаться требования Санитарных норм и правил при работе с оборудованием, создающим ультразвук.

11.3. Уровни шума, создаваемого на рабочем месте дефектоскописта не должны превышать допустимых по ГОСТ 12.1.003.

11.4. При организации работ по контролю должны соблюдаться требования пожарной безопасности по ГОСТ 12.004.

11.5. К работам по УЗК допускаются лица, прошедшие инструктаж по технике безопасности с регистрацией в журнале по установленной форме. Инструктаж должен производиться периодически в сроки, установленные приказом по предприятию.

11.6. В случае выполнения контроля на высоте и в стесненных условиях дефектоскописты должны пройти дополнительный инструктаж по технике безопасности согласно положению, действующему на предприятии.

11.7. Запрещается работа под подъемными механизмами, на неустойчивых конструкциях и в местах, где возможно повреждение проводки электропитания дефектоскопов.

11.8. Подключение дефектоскопов к сети переменного тока осуществляют через розетки на специально оборудованных постах. При отсутствии на рабочем месте розеток подключение дефектоскопа к электрической сети должны производить дежурные электрики.

11.9. Дефектоскоп должен быть заземлен голым медным проводом сечением не менее 2,5 мм2.

Приложение 5

Приборы и устройства, применяемые при обследовании болтовых и заклепочных соединений

1. Измерительный инструмент:

измерительные металлические линейки;

рулетка длиной 3 м;

набор щупов N 4 ГОСТ 882-75;

резьбовой шаблон № 2-М60 5о 0 ГОСТ 519-77;

штангенциркуль( ШЦ-1, ШЦ-3 ГОСТ 166-80);

микрометр МВМ со вставками для измерения метрических и дюймовых резьб ГОСТ 4380-86;

коррозионно-метрические скобы (разработка МИСИ, КИСИ).

2. Инструмент для слесарно-сборочных работ:

слесарные стальные молотки (масса молотка без рукоятки 0,4 ... 0,5 кг) ГОСТ 2310-77;

слесарные зубила ГОСТ 7211-72;

ручные буквенные и цифровые клейма ГОСТ 25726-83;

слесарные напильники общего назначения ГОСТ 1465-80;

гаечные ключи коликовые монтажные;

гаечные накидные ключи с удлинителем

накидные молотковые ключи

ключи для нормированной затяжки типа КРМ-120, КРМ-160;

силовые механизмы повышенной точности для затяжки ответственных соединений типа КМП-50, КМП-200;

таррировочный стенд типа СТП-2000 для настройки динамометрических ключей;

ручная шлифовальная машина типа ИЭ-2008, Ш1-178;

круги типа Д, ПП, ПВ (наружный диаметр 150 ... 180 мм);

специальные металлические щетки (радиальная или торцовая с витыми прядями (диаметр 80 ... 150 мм).

3. Оптические приборы и фотоаппаратура:

лупа складная карманная (типа ЛП-1 с увеличением 3 ... 8 5X* 0);

фотоаппарат типа "Зенит" с длиннофокусным объективом;

зрительные трубы или монокуляры (типов ЗРТ-460-20, МП 20X60).

4. Толщиномеры и дефектоскопы:

ультрозвуковые толщиномеры для определения толщин металла (типа Кварц-14, УТ-93П, ТИЦ-100); ультразвуковые дефектоскопы (типа УД2-12, УД11-ПУ).

Приложение 6

Рекомендации по определению количества, расположения и типа болтовых и заклепочных соединений, подвергаемых дефектоскопии.

Заклепочные и болтовые соединения металлоконструкций имеют большое количество однотипных элементов (болтов, заклепок).

По мере увеличения числа поврежденных элементов заклепочных и болтовых соединений возрастает опасность возникновения аварийной ситуации, нагрузка на оставшиеся в исправном состоянии элементы изменяется в зависимости от последовательности отказов отдельных элементов. Болты (заклепки), находящиеся рядом с отказавшими элементами, испытывают повышенную нагрузку, при этом можно выделить некоторый "фронт отказов". По результатам ремонтов заклепочных и болтовых соединений в процессе эксплуатации и предыдущих измерений размещение и направление перемещения этого "фронта отказов" можно определить при известном его положении в начале эксплуатации.

Болты (заклепки) для дефектоскопии выбираются из области, расположенной перед "фронтом отказов" в количестве 10 % N. При выборе болтов следует также учитывать, что более нагруженные болты (заклепки) в соединении наиболее удалены от оси элемента (балки) металлоконструкции.

Обязательной дефектоскопии подвергаются 25 % болтов с контролируемым натяжением (а также фланцевые болтовые соединения, работающие на разрыв) от их общего числа в каждом болтовом соединении.

При обнаружении хотя бы одного дефектного элемента в результате проведенной дефектоскопии, число исследуемых болтов (заклепок) удваивается.

Приложение 7

Рекомендуемый метод расчета работоспособности и остаточного ресурса болтовых и заклепочных соединений

Методика расчета основана на исследовании процесса разрушения, инициированного дефектами материала болта (заклепки), образующимися на разных стадиях "жизненного цикла" болта (заклепки).

Остаточный ресурс болтовых и заклепочных соединений (Т) рассчитывается в циклах нагружения и является функцией:

T=f(l0; lкр; K; r; Gmax; m),

где lкр - размер критической трещины, т.е. приводящей к мгновенному разрушению;

l0 - начальный размер трещины (дефекта);

К - коэффициент интенсивности напряжений;

r - коэффициент асимметрии цикла;

Gmax - напряжение в элементах;

т - показатель степени.

Число циклов нагружения конструкции болтовых и заклепочных соединений коррелируется с машино-часами работы крана на основании справки о загруженности крана. Это позволяет прогнозировать срок службы конструкций болтовых соединений, устанавливать оптимальные сроки профилактических мероприятий.

Приложение 8

ВЕДОМОСТЬ ДЕФЕКТОВ БОЛТОВЫХ СОЕДИНЕНИЙ КРАНА

рег. № ____

Тип грузоподъемной машины

портальный типа "Альбатрос"

Заводской номер

1096911

Регистрационный номер

11363

Изготовлена в (указать год, месяц)

01.1975

Завод-изготовитель

"Кранбау-Эберсвальде", ГДР

Объект, где установлена грузоподъемная машина

причал №1

Организация - владелец грузоподъемной машины

ОАО "ТМТП", г. Туапсе

 

Расположение или условное обозначение узла, соединения

Элемент соединения

Дефект

Заключение

Рекомендации по устранению дефекта

1

Узел 1

Опора 4

Соединение 13

Болт М24´90

Разрушение n2 = 2

Устранить до начала эксплуатации

Заменить на новые

2

Узел 1

Опора 4

Соединение 13

Болт М24´90

Коррозионный износ n8 = 2

Устранить до начала эксплуатации

Заменить на новые

3

Соединение ОПУ с порталом

Болт М27´120

Отсутствует проектное натяжение n11 = 15

Устранить до начала эксплуатации

Подтянуть, момент затяжки 115-125 кгс×м

4

Соединение ОПУ с порталом

Шайба

Разрушение n2 = 6

Устранить до начала эксплуатации

Заменить на новые

Председатель комиссии:

Члены комиссии:

Приложение 9

"УТВЕРЖДАЮ"

АКТ
обследования болтовых соединений элементов металлоконструкций портального крана типа

рег. № ___, зав. № ____

Тип грузоподъемной машины

Портальный типа «Альбатрос»

Заводской номер

1096911

Регистрационный номер

11363

Город (село и т.п.), где установлена грузоподъемная машина

г. Туапсе, Краснодарский край

Объект, где установлена грузоподъемная машина

причал № 1

Организация - владелец грузоподъемной машины

ОАО ""ТМТП""

Комиссия (наименование организации, проводившей обследование, имеющей лицензию Госгортехнадзора России)

Инженерно-консультационный центр "Мысль" по технической безопасности подъемных сооружений при кафедре "Подъемно-транспортные машины и роботы" Новочеркасского государственного технического университета

Номер лицензии

120-02/5406 Госгортехнадзора России

Дата выдачи лицензии

13.02.1997г.

Номер приказа по организации, согласно которому проводилось данное обследование

15

Комиссия провела (указать первичное или повторное) обследование

Первичное

Обследование проводилось в соответствии с требованиями (указать номер нормативного документа)

РД 10-112-96. "Методические указания по проведению обследования кранов с целью определения возможности дальнейшей эксплуатации", изд. 4, ВНИИПТМАШ Инструкция по оценке технического состояния болтовых и заклепочных соединений грузоподъемных кранов (РД-10- 98)

Методы и цель контроля

1. Визуально-измерительный контроль.

2. Ультразвуковая толщинометрия использованием толщиномера ДМ-4 целью определения целостности болта измерением его длины и степени коррозии элементов БиЗС.

3. Ультразвуковая дефектоскопия использованием дефектоскопа УД-2-12 целью определения координат дефектов типа трещины.

Тип и заводской номер толщиномера

ДМ-4 № 365

Тип и заводской номер дефектоскопа

УД-2-12 № 6790

Тип преобразователя дефектоскопа

П111-2,5-К12-002

Частота УЗК, Мгц

2,5

Настройка чувствительности дефектоскопа

контрольный надрез глубиной 2 мм

Номер клейма оператора

7

1. В результате обследования комиссия установила:

Грузоподъемная машина (указать тип)

портальный типа "Альбатрос"

Изготовлена в (указать год, месяц)

01.1975

Завод-изготовитель

"Кранбау-Эберсвальде", ГДР

Грузоподъемность, т

20

имеет паспортную группу классификации (режима)

Тяжелый

Вид выполняемых работ (строительство, складские (и.т.п.).

погрузочно-разгрузочные работы со штучным и сыпучим грузом

фактическая группа классификации (режима)

6 К

Сведения о ранее выполненных ремонтах, болтовых соединении

12.03.96 - замена "призонных болтов стяжки. Сертификат 80054

28.03.96 - замена "призонных" болтов раскосов портала. Сталь 35

2. Произведено обследование болтовых соединений в количестве:

визуально-измерительный контроль.

100 %

методом ультразвуковой толщинометрии

15 %

методом ультразвуковой дефектоскопии

10 %

3. Общее состояние болтовых и заклепочных соединений элементов металлоконструкций на момент проведения обследования (исправное, работоспособное, неработоспособное или неисправное)

работоспособное

4. Общее количество дефектных болтов, заклепок, отмеченных комиссией в Ведомости дефектов:

25

в том числе:

требуют немедленного устранения

23

могут быть устранены в течении 1 месяца

-

могут быть устранены при очередном ППР

-

5. Количество дефектных болтов, заклепок, устраненных владельцем грузоподъемной машины по замечаниям комиссии в ходе проведения обследования:

2

6. ЗАКЛЮЧЕНИЕ КОМИССИИ:

6.1. По результатам проведенного обследования и с учетом устраненных владельцем грузоподъемной машины в ходе выполнения работ дефектов, комиссия СЧИТАЕТ (заполняется нужная строка):

Болтовые и заклепочные соединения элементов металлоконструкций находятся в работоспособном состоянии. Кран рег. № 11363 может эксплуатироваться в паспортном режиме с учетом устранения замечаний, отмеченных в Ведомости дефектов. Следующее обследование провести не позднее (указать месяц и год)

май 1999 г.

Металлоконструкция крана находится в неработоспособном состоянии в следствии повреждений болтовых и заклепочных соединений и подлежит ремонту согласно Ведомости дефектов (поставить плюс)

-

Грузоподъемная машина подлежит списанию (поставить плюс)

-

6.2. Грузоподъемная машина может эксплуатироваться со следующими ограничениями (заполняется при назначении комиссией каких-либо ограничений):

Со снижением грузоподъемности до, т

-

В диапазоне температур от и до, градусов С

-

При эксплуатации крана в обязательном порядке учесть замечания предыдущих обследований (поставить плюс)

+

Следующее обследование провести не позднее (указать месяц и год)

май 1999 г.

Вниманию владельца крана!

1. 3а невыполнение рекомендаций настоящего Акта и неустранение замечаний, отмеченных в Ведомости дефектов, комиссия, проводившая обследование, ответственности не несет.

2 Данный Акт является неотъемлемой частью Паспорта грузоподъемной машины.

Приложения:

1. Ведомость дефектов болтовых соединений крана рег. №.

2. Схема расположения узлов с болтовыми соединениями металлоконструкций портального крана типа "Альбатрос".

3. Спецификация узлов с болтовыми соединениями металлоконструкций портального крана типа "Альбатрос".

4._______________________________________

Председатель комиссии:

Члены комиссии:

Приложение 10

Нормативные ссылки

В настоящей Инструкции использованы ссылки на следующую нормативную документацию:

ПБ-10-14-92. Правила устройства и безопасной эксплуатации грузоподъемных кранов, утвержденные постановлением Госгортехнадзора России от 30.12.92 № 41;

ГОСТ 14782-86. Контроль неразрушающий. Соединения сварные. Методы ультразвуковые;

ГОСТ 20415-82. Контроль неразрушающий. Методы акустические. Общие положения;

ГОСТ 23829-85. Контроль неразрушающий акустический. Термины и определения;

ГОСТ 26266-90. Контроль неразрушающий. Преобразователи ультразвуковые. Общие технические требования;

ГОСТ 12.1.001-89. Система стандартов безопасности труда. Общие требования безопасности;

ГОСТ 12.1.003-83. Система стандартов безопасности труда. Шум. Общие требования безопасности;

ГОСТ 12.2.003-91. Система стандартов безопасности труда. Оборудование производственное. Общие требования безопасности;

ГОСТ 12.3.002-75. Система стандартов безопасности труда. Процессы производственные. Общие требования безопасности;

РД-10-112-96. Методические указания по обследованию грузоподъемных машин с истекшим сроком службы, утверждены постановлением Госгортехнадзора России от 28.03.96 № 12.

 




ГОСТЫ, СТРОИТЕЛЬНЫЕ и ТЕХНИЧЕСКИЕ НОРМАТИВЫ.
Некоммерческая онлайн система, содержащая все Российские Госты, национальные Стандарты и нормативы.
В Системе содержится более 150000 файлов нормативно-технической документации, действующей на территории РФ.
Система предназначена для широкого круга инженерно-технических специалистов.

Рейтинг@Mail.ru Яндекс цитирования

Copyright © www.gostrf.com, 2008 - 2026