Крупнейшая бесплатная информационно-справочная система онлайн доступа к полному собранию технических нормативно-правовых актов РФ. Огромная база технических нормативов (более 150 тысяч документов) и полное собрание национальных стандартов, аутентичное официальной базе Госстандарта. GOSTRF.com - это более 1 Терабайта бесплатной технической информации для всех пользователей интернета. Все электронные копии представленных здесь документов могут распространяться без каких-либо ограничений. Поощряется распространение информации с этого сайта на любых других ресурсах. Каждый человек имеет право на неограниченный доступ к этим документам! Каждый человек имеет право на знание требований, изложенных в данных нормативно-правовых актах!

  


 

ГОСУДАРСТВЕННЫЙ СТАНДАРТ СОЮЗА ССР

НЕФТЕПРОДУКТЫ

МЕТОД ОПРЕДЕЛЕНИЯ СЕРЫ СЖИГАНИЕМ
В КАЛОРИМЕТРИЧЕСКОЙ БОМБЕ

ГОСТ 3877-88
(СТ СЭВ 2874-81)

ГОСУДАРСТВЕННЫЙ КОМИТЕТ СССР ПО СТАНДАРТАМ

Москва

ГОСУДАРСТВЕННЫЙ СТАНДАРТ СОЮЗА ССР

НЕФТЕПРОДУКТЫ

Метод определения серы сжиганием
в калориметрической бомбе

Petroleum products. Determination of sulfur
by calorimetric bomb method

ГОСТ
3877-88

(СТ СЭВ 2874-81)

Срок действия с 01.01.89

до 01.01.94

Несоблюдение стандарта преследуется по закону

Настоящий стандарт устанавливает метод определения массовой доли серы (не менее 0,1 %) в нефтепродуктах, включая смазочные масла с присадками, пластичные смазки, присадки.

Настоящий стандарт не распространяется на нефтепродукты, которые при сжигании образуют серосодержащие, нерастворимые в воде осадки, и на отработанные масла.

Сущность метода заключается в сжигании продукта в калориметрической бомбе в среде кислорода под давлением с последующим определением серы гравиметрически в виде сульфата бария.

1. МЕТОД ОТБОРА ПРОБ

1.1. Отбор проб - по ГОСТ 2517-85.

2. АППАРАТУРА, РЕАКТИВЫ, МАТЕРИАЛЫ

2.1. Установка для определения серы (приложение).

Бомба калориметрическая вместимостью 250 - 500 см3, рассчитанная на давление 10,0 МПа. Внутренняя поверхность бомбы должна быть изготовлена из нержавеющего материала. Допускается применять бомбы другого типа.

Эксикатор 2 - 190, 250 по ГОСТ 25336-82.

Тигель высокий 3, 4 по ГОСТ 9147-80, тигель В-10 по ГОСТ 19908-80 или тигель кварцевый (высота 20 мм, верхний диаметр 20 мм, нижний - 10 мм).

Муфель электрический, обеспечивающий нагревание до (800±20)°С.

Милливольтметр класса 1,5, обеспечивающий проведение измерений в диапазоне 0 - 1600°С, с термоэлектрическим преобразователем типа ТХА.

Щипцы для тиглей длиной приблизительно 350 мм.

Баня водяная.

Плитка электрическая с закрытой спиралью.

Стаканы вместимостью 250, 400, 600 см3 по ГОСТ 25336-82.

Воронки В-56 - 80, В-75 - 110 по ГОСТ 25336-82.

Промывалка вместимостью 500 - 1000 см3 с резиновой грушей.

Весы лабораторные общего назначения типа ВЛА-200 или ВЛР-200 или другие с погрешностью взвешивания не ниже чем для указанных марок.

Цилиндр 1 - 25 или 3 - 25 по ГОСТ 1770-74.

Термостат или сушильный шкаф, обеспечивающий температуру нагрева 100°С.

Секундомер по ГОСТ 5072-79 или аналогичный с погрешностью измерения 0,02 с.

Проволока запальная железная, никелиновая, медная или платиновая диаметром не более 0,5 мм; проволоку разрезают на равные отрезки длиной 60 - 120 мм (в зависимости от устройства внутренней арматуры бомбы и системы запала).

Баллон с кислородом чистотой не менее 98 %.

Кислота соляная по ГОСТ 3118-77, х. ч. или ч. д. а.

Барий хлористый по ГОСТ 4108-72, 10 %-ный раствор.

Серебро азотнокислое по ГОСТ 1277-75, 3 %-ный раствор.

Вода дистиллированная по ГОСТ 6709-72.

Метиловый оранжевый (индикатор), 0,02 %-ный раствор.

Фильтры обеззоленные плотные («синяя лента») диаметром 70 - 90 мм.

Бумага фильтровальная лабораторная по ГОСТ 12026-76.

Натрий углекислый по ГОСТ 83-79, ч. д. а., 5 %-ный раствор.

Масло вазелиновое медицинское по ГОСТ 3164-78, используемое как разбавитель.

Нефрасы С2 - 80/120 и С3 - 80/120 по ГОСТ 443-76 или другой с содержанием серы не более 0,02.

Спирт этиловый ректификованный технический по ГОСТ 18300-87.

Эфир петролейный.

Раствор насыщенный бромной воды: 3 г брома растворяют в 100 г воды.

Допускается использовать реактивы квалификации не ниже указанной в стандарте.

3. ПОДГОТОВКА К ИСПЫТАНИЮ

3.1. При использовании новой бомбы или после ее ремонта внутреннюю часть бомбы и каналы в крышке бомбы тщательно промывают бензином, спиртом (эфиром), высушивают и промывают дистиллированной водой. Перед повторным проведением анализа бомбу промывают горячей дистиллированной водой.

3.2. Проверяют техническое состояние, частей калориметрической бомбы, не допуская забоин на резьбовых соединениях и механических повреждений штуцеров и электрода.

Проверяют герметичность соединений кислородной системы и аппаратуры. Применение углеводородной смазки для соединительных частей аппаратуры при работе со сжатым кислородом запрещается.

3.3. Калориметрические бомбы периодически подвергают гидравлическому испытанию, руководствуясь правилами устройства и безопасной эксплуатации сосудов, работающих под давлением, и указаниями, изложенными в паспорте, прилагаемом к аппарату.

3.4. В тигель помещают образец, взвешенный с погрешностью не более 0,0002 г.

Масса образца указана в табл. 1.

Таблица 1

Массовая доля серы в образце, %

Масса образца, г

Масса масла (разбавителя), г

До 5

От 0,6 до 0,8

0,0

Св. 5

От 0,3 до 0,4

От 0,3 до 0,4

3.5. В бомбу наливают 10 см3 5 %-ного раствора углекислого натрия. Тигель с нефтепродуктом устанавливают в тигель-держатель крышки бомбы.

Отрезают запальную проволоку длиной 60 - 120 мм и закрепляют ее в клеммах двух стержней так, чтобы середина проволоки погружалась в тигель с нефтепродуктом.

Вставляют крышку в стакан бомбы и завинчивают накидную гайку вручную.

Очень осторожно, чтобы не раздуть массу исследуемого нефтепродукта, заполняют бомбу кислородом до давления 2,5 - 4,0 МПа. Давление может быть уточнено по рабочей документации на бомбу. Отсоединяют бомбу от баллона с кислородом и погружают в воду для проверки на герметичность.

Для сжигания образца подключают токоведущий провод к электроду бомбы.

4. ПРОВЕДЕНИЕ ИСПЫТАНИЯ

4.1. Проверяют готовность установки к сжиганию нефтепродукта. Включают ток. Признаком сгорания нефтепродукта является загорание сигнальной лампы и нагревание корпуса бомбы.

4.2. Охлаждают бомбу в течение 10 мин в водяной бане, вынимают и осторожно выпускным клапаном сбрасывают давление до атмосферного в течение 5 мин.

Отвинчивают гайку, вынимают крышку с тиглем-держателем из бомбы, тщательно проверяют на внутренней поверхности корпуса и крышки бомбы отсутствие следов нефтепродукта или сажеобразных отложений.

При наличии сажеобразного налета на внутренней поверхности или арматуре бомбы испытания повторяют, наполняя бомбу кислородом до давления на 0,5 - 1,0 МПа больше предыдущего. Готовят бомбу к новому опыту по пп. 3.1 - 3.3.

При проведении повторного испытания допускается увеличивать давление в соответствии с требованиями, предъявляемыми к сосудам, работающим под давлением. При невозможности повышения давления уменьшают массу испытуемого нефтепродукта.

4.3. При отсутствии налета на внутренней поверхности тщательно промывают горячей дистиллированной водой внутренние части бомбы, в том числе тигель.

4.4. Все промывные воды, объем которых не должен превышать 350 см3, собирают в химический стакан, обращая особое внимание на то, чтобы разбрызгиванием или иным образом не растерять части жидкости из бомбы, и отфильтровывают через бумажный фильтр от присутствующих механических загрязнений (кусочков окалины и т.д.).

Фильтр тщательно промывают дистиллированной водой, а промывные воды присоединяют к фильтрату. Для полноты окисления фильтрата допускается добавлять в него 10 см3 насыщенного раствора бромной воды. В случае получения большего объема промывных вод допускается упаривание до объема 200 см3.

4.5. В полученный фильтрат прибавляют 2-3 капли раствора метилового оранжевого и приливают концентрированную соляную кислоту до слабокислой реакции (рН 5), после чего раствор нагревают до кипения.

К горячему раствору приливают по каплям при помешивании стеклянной палочкой 10 см3 горячего раствора хлористого бария (при этом выпадает в осадок образовавшийся сернокислый барий), после чего стакан с раствором ставят на кипящую водяную баню. Когда станет светлым раствор, проверяют полноту осаждения сульфата, прибавляя к раствору еще несколько капель раствора хлористого бария. Если при этом не образуется муть, осаждение считается полным, в противном случае прибавляют горячий раствор хлористого бария до тех пор, пока вновь прилитая порция не перестанет давать муть.

Стакан нагревают на кипящей бане в течение 2 ч, после чего оставляют его на 2 ч при температуре 60 - 70°С и на 20 - 30 мин при комнатной температуре или оставляют на 12 - 16 ч при комнатной температуре.

4.6. Отстоявшуюся в стакане жидкость фильтруют через беззольный фильтр, сливая раствор на фильтр по стеклянной палочке. Осадок в стакане промывают горячей дистиллированной водой сначала декантацией, затем осадок количественно переносят на фильтр и промывают до полного удаления хлор - ионов.

Для определения полноты удаления хлор - ионов берут в пробирку 3 - 5 см3 фильтрата от последней промывки и добавляют к нему 3-4 капли раствора азотнокислого серебра. Если при этом не выпадает осадок хлористого серебра или образуется только легкая опалесценция, промывку считают законченной.

4.7. Влажный фильтр с осадком сернокислого бария сначала слегка подсушивают, не вынимая из воронки, в сушильном шкафу при температуре до 100°С, а затем фильтр снимают с воронки, складывают вчетверо и помещают в доведенный до постоянной массы фарфоровый тигель, слегка уплотняя его.

Осторожно подогревают тигель (на плитке или горелке), фильтр сначала высушивают, затем обугливают, не давая загореться.

Прокаливают тигель с осадком в муфеле при (800±20)°С до тех пор, пока остаток не станет совершенно белым. После этого тигель переносят на асбест, охлаждают при комнатной температуре в течение 5 мин, помещают в эксикатор, выдерживают 30 мин и взвешивают с погрешностью не более 0,0002 г.

4.8. Одновременно проводят контрольный опыт, используя и применяя все указанные реактивы и масло, не содержащее серу. Выполняют все операции согласно пп. 4.1 - 4.7.

5. ОБРАБОТКА РЕЗУЛЬТАТОВ

5.1. Массовую долю серы (S) в испытуемом нефтепродукте в процентах вычисляют по формуле

где m1 - масса сернокислого бария, полученная при анализе испытуемого нефтепродукта, г;

m2 - масса испытуемого нефтепродукта, г;

m3 - масса сернокислого бария, полученная при проведении контрольного опыта, г;

32,06 - атомная масса серы;

233,42 - молекулярная масса сернокислого бария.

За результат испытания принимают среднее арифметическое результатов двух последовательных определений. Результат следует округлять до второго десятичного знака.

5.2. Сходимость

Два результата определений, полученные одним исполнителем, признаются достоверными (с 95 %-ной доверительной вероятностью), если расхождения между ними не превышают значений, указанных в табл. 2.

Таблица 2

Массовая доля серы, %

Сходимость, %

От 0,1 до 0,5

0,04

Св. 0,5 » 1,0

0,04

»   1,0 » 1,5

0,10

»   1,5 » 2,0

0,14

»   2,0 » 5,0

0,27

ПРИЛОЖЕНИЕ

Рекомендуемое

ОПИСАНИЕ СОСТАВНЫХ ЧАСТЕЙ УСТАНОВКИ

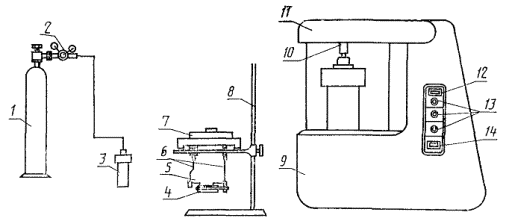
1. Установка для определения серы включает:

1.1. Кислородный баллон с редуктором и кислородоподводящие трубки, рассчитанные на давление не менее 10 МПа.

Допускается вместо редуктора применять вентиль точной регулировки вместе с манометром и предохранительным клапаном.

1.2. Устройство для сжигания нефтепродуктов состоит из металлического корпуса, на котором размещены панель управления сжиганием и стеклянный (металлический) стакан с дистиллированной водой, служащий для определения герметичности бомбы и ее охлаждения.

На дно стакана устанавливают подставку для бомбы с токоведущим проводом и контактом (на черт. 1 не указаны).

На панель выведены кнопки «Сеть», «Запал» и лампы «Сеть», «Готовность», «Запал» для управления сжиганием нефтепродуктов. Устройство для сжигания нефтепродуктов должно быть заземлено.

2. Описание калориметрической самоуплотняющейся бомбы (черт. 2).

2.1. Калориметрическая бомба состоит из металлического стакана, крышки, гайки и уплотнительного кольца. При повышении давления в бомбе уплотнительное кольцо прижимается к стакану и гайке, обеспечивая герметизацию при минимальном давлении 0,3 - 0,4 МПа.

С внешней стороны на крышке бомбы расположен штуцер, предназначенный для наполнения бомбы кислородом и сброса продуктов сгорания после взрыва. Он же является электродом, изолированным от бомбы и предназначенным для подведения электрического тока к запальной проволоке.

УСТАНОВКА ДЛЯ ОПРЕДЕЛЕНИЯ СЕРЫ СЖИГАНИЕМ В БОМБЕ

Кислородная система

Крышка с подставкой

Защитное устройство для сжигания навески нефтепродукта в бомбе

Черт. 1

1 - баллон с кислородом; 2 - редуктор; 3 - калориметрическая бомба; 4 - тигель; 5 - запальная проволока; 6 - держатели тигля и запальной проволоки; 7 - крышка бомбы; 8 - подставка для крышки; 9 - корпус защитного устройства; 10 - клапан для сброса продуктов сгорания; 11 - крышка; 12 - кнопка «сеть»; 13 - сигнальная лампа; 14 - кнопка «запал».

САМОУПЛОТНЯЮЩАЯСЯ КАЛОРИМЕТРИЧЕСКАЯ БОМБА

Черт. 2

1 - колпачок для сброса продуктов сгорания; 2 - золотник; 3 - штуцер; 4 - изолятор; 5 - втулка; 6 - крышка; 7 - уплотнительное кольцо; 8 - гайка специальная; 9 - гайка; 10 - стержень; 11 - тигледержатель; 12 - запальная проволока; 13 - втулка; 14 - тигель; 15 - гайка; 16 - стакан

Роль второго электрода выполняет корпус бомбы.

На внутренней стороне крышки бомбы имеется два стержня-держателя, на одном из которых крепится держатель тигля и запальная проволока.

Второй стержень служит для крепления второго конца запальной проволоки и подвода электричества в ней.

ИНФОРМАЦИОННЫЕ ДАННЫЕ

1.  РАЗРАБОТАН И ВНЕСЕН Министерством нефтеперерабатывающей и нефтехимической промышленности СССР

ИСПОЛНИТЕЛИ

Е.М. Никоноров, д-р техн. наук; В.В. Булатников, канд. техн. наук; В.Д. Милованов, канд. техн. наук (руководители темы); Л.А. Садовникова, канд. техн. наук; Л.Г. Нехамкина, канд. хим. наук; В.А. Воротникова, канд. техн. наук; Т.И. Довгополая

2. УТВЕРЖДЕН И ВВЕДЕН В ДЕЙСТВИЕ Постановлением Государственного комитета СССР по стандартам от 29.06.88 № 2522

3. Срок первой проверки - 1993 г.

4. ВЗАМЕН ГОСТ 3877-49

5. Стандарт полностью соответствует СТ СЭВ 2874-81

6. ССЫЛОЧНЫЕ НОРМАТИВНО-ТЕХНИЧЕСКИЕ ДОКУМЕНТЫ

Обозначение НТД, на который дана ссылка

Номер пункта

ГОСТ 83-79

2.1

ГОСТ 443-76

2.1

ГОСТ 1277-75

2.1

ГОСТ 1770-74

2.1

ГОСТ 2517-85

1.1

ГОСТ 3118-77

2.1

ГОСТ 3164-78

2.1

ГОСТ 4108-72

2.1

ГОСТ 5072-79

2.1

ГОСТ 6709-72

2.1

ГОСТ 9147-80

2.1

ГОСТ 12026-76

2.1

ГОСТ 18300-87

2.1

ГОСТ 19908-80

2.1

ГОСТ 25336-82

2.1

СОДЕРЖАНИЕ

 

 




ГОСТЫ, СТРОИТЕЛЬНЫЕ и ТЕХНИЧЕСКИЕ НОРМАТИВЫ.
Некоммерческая онлайн система, содержащая все Российские Госты, национальные Стандарты и нормативы.
В Системе содержится более 150000 файлов нормативно-технической документации, действующей на территории РФ.
Система предназначена для широкого круга инженерно-технических специалистов.

Рейтинг@Mail.ru Яндекс цитирования

Copyright © www.gostrf.com, 2008 - 2026