Крупнейшая бесплатная информационно-справочная система онлайн доступа к полному собранию технических нормативно-правовых актов РФ. Огромная база технических нормативов (более 150 тысяч документов) и полное собрание национальных стандартов, аутентичное официальной базе Госстандарта. GOSTRF.com - это более 1 Терабайта бесплатной технической информации для всех пользователей интернета. Все электронные копии представленных здесь документов могут распространяться без каких-либо ограничений. Поощряется распространение информации с этого сайта на любых других ресурсах. Каждый человек имеет право на неограниченный доступ к этим документам! Каждый человек имеет право на знание требований, изложенных в данных нормативно-правовых актах!

  


 

ГОСУДАРСТВЕННЫЕ СТАНДАРТЫ СОЮЗА ССР

ВИНТЫ САМОНАРЕЗАЮЩИЕ
С ПОТАЙНОЙ ГОЛОВКОЙ
ДЛЯ МЕТАЛЛА И ПЛАСТМАССЫ

ГОСТ 10619-80*

Государственный комитет СССР по стандартам

МОСКВА - 1986

ГОСУДАРСТВЕННЫЙ СТАНДАРТ СОЮЗА ССР

ВИНТЫ САМОНАРЕЗАЮЩИЕ С ПОТАЙНОЙ ГОЛОВКОЙ ДЛЯ МЕТАЛЛА И ПЛАСТМАССЫ

Конструкция и размеры

Self-tapping countersunk screws
for metals and plastics.
Construction and dimensions

ГОСТ
10619-80*

Взамен
ГОСТ 10619-63,
ГОСТ 11652-65,

в части винтов
с притупленным концом

Постановлением Государственного комитета СССР по стандартам от 30 декабря 1980 г. № 6109 срок введения установлен

с 01.01.82

Несоблюдение стандарта преследуется по закону

1. Настоящий стандарт распространяется на самонарезающие винты с потайной головкой для металла и пластмассы класса точности В с номинальным диаметром резьбы от 2,5 до 8 мм.

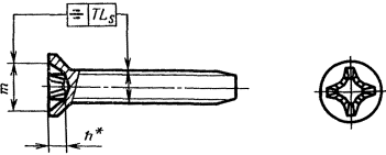
2. Конструкция и размеры винтов должны соответствовать указанным на чертеже и в табл. 1, 2.

Исполнение 1

Исполнение 2

____________

* Размер для справок.

Таблица 1

Размеры в мм

Номинальный диаметр резьбы d

2,5

3

4

5

6

8

Шаг резьбы Р

крупный

1,25

1,75

2,00

2,5

3,5

мелкий

1,0

1,5

1,75

2,0

Диаметр головки D

Номин.

4,7

5,6

7,4

9,2

11,0

14,5

Пред. откл. по h 14

-0,30

-0,36

-0,43

Высота головки k, не более

1,50

1,65

2,20

2,50

3,00

4,00

Ширина шлица п

Номин.

0,6

0,8

1,0

1,2

1,6

2,0

Не менее

0,66

0,86

1,06

1,26

1,66

2,06

Не более

0,80

1,00

1,20

1,51

1,91

2,31

Глубина шлица t

Не менее

0,5

0,6

0,8

1,0

1,2

1,6

Не более

0,73

0,85

1,10

1,35

1,60

2,10

Допуск биения в заданном направлении (2IT14)

0,60

0,72

0,86

Допуск симметричности шлица относительно стержня в диаметральном выражении (2IT14)

0,50

0,60

0,72

Номер крестообразного шлица

1

2

3

Диаметр крестообразного шлица m, не более

2,6

2,8

4,0

4,5

6,5

7,4

Глубина крестообразного шлица, h

1,05

1,25

1,55

2,05

2,45

3,40

Глубина вхождения калибра в крестообразный шлиц

Не более

1,2

1,4

1,8

2,3

3,0

3,9

Не менее

0,9

1,1

1,3

1,8

2,5

3,4

Недовод резьбы, не более

0,8

1,0

Примечание. Крестообразный шлиц - по ГОСТ 10753-80.

Таблица 2

мм

Длина винта l

Номинальный диаметр резьбы d

Номин.

Пред. откл. по js 17

2,5

3

4

5

6

8

6

± 0,75

 

 

-

-

-

-

8

 

 

 

-

-

-

10

 

 

 

 

-

-

12

± 0,90

 

 

 

 

 

-

14

 

 

 

 

 

-

16

 

 

 

 

 

 

(18)

 

 

Стандартные длины

 

20

± 1,05

-

 

 

 

 

 

(22)

-

-

 

 

 

 

25

-

-

 

 

 

 

30

-

-

 

 

 

 

35

± 1,25

-

-

 

 

 

 

40

-

-

-

 

 

 

45

-

-

-

 

 

 

50

-

-

-

-

 

 

Примечание. Длины l, заключенные в скобки, применять не рекомендуется.

Пример условного обозначения:

винта в исполнении 1, диаметром 5 мм, длиной 30 мм, из материала группы 01, без покрытия, с крупным шагом резьбы

Винт 5´30.01 ГОСТ 10619-80

То же, в исполнении 2, диаметром 5 мм, с мелким шагом резьбы, длиной 30 мм, из материала группы 01, с цинковым покрытием толщиной 6 мкм, хроматированным

Винт 2-5´1.5´30.01.016 ГОСТ 10619-80

(Измененная редакция, Изм. № 1).

3. Технические требования, резьба, методы контроля, правила приемки, упаковка и маркировка - по ГОСТ 10618-80.

4. Теоретическая масса винтов указана в справочном приложении 1.

5. (Исключен, Изм. № 1).

ПРИЛОЖЕНИЕ 1

Справочное

Теоретическая масса самонарезающих винтов

Длина винта l, мм

Номинальный диаметр резьбы d, мм

2,5

3

4

5

6

8

Масса 1000 шт. стальных винтов с крупным шагом резьбы, кг »

6

0,20

0,30

-

-

-

-

8

0,26

0,38

0,72

-

-

-

10

0,32

0,46

0,86

1,34

-

-

12

0,37

0,54

1,00

1,56

2,48

-

14

0,43

0,62

1,14

1,78

2,81

-

16

0,49

0,70

1,28

2,00

3,14

4,21

18

0,54

0,78

1,42

2,22

3,47

4,78

20

-

0,86

1,56

2,44

3,80

5,35

22

-

-

1,70

2,66

4,13

5,92

25

-

-

1,91

2,99

4,62

6,77

30

-

-

2,19

3,54

5,43

8,19

35

-

-

2,47

4,09

6,24

9,61

40

-

-

-

4,64

7,05

11,03

45

-

-

-

5,19

7,86

12,45

50

-

-

-

-

8,67

13,87

ПРИЛОЖЕНИЕ 2. (Исключено, Изм. № 1).

 




ГОСТЫ, СТРОИТЕЛЬНЫЕ и ТЕХНИЧЕСКИЕ НОРМАТИВЫ.
Некоммерческая онлайн система, содержащая все Российские Госты, национальные Стандарты и нормативы.
В Системе содержится более 150000 файлов нормативно-технической документации, действующей на территории РФ.
Система предназначена для широкого круга инженерно-технических специалистов.

Рейтинг@Mail.ru Яндекс цитирования

Copyright © www.gostrf.com, 2008 - 2026