Крупнейшая бесплатная информационно-справочная система онлайн доступа к полному собранию технических нормативно-правовых актов РФ. Огромная база технических нормативов (более 150 тысяч документов) и полное собрание национальных стандартов, аутентичное официальной базе Госстандарта. GOSTRF.com - это более 1 Терабайта бесплатной технической информации для всех пользователей интернета. Все электронные копии представленных здесь документов могут распространяться без каких-либо ограничений. Поощряется распространение информации с этого сайта на любых других ресурсах. Каждый человек имеет право на неограниченный доступ к этим документам! Каждый человек имеет право на знание требований, изложенных в данных нормативно-правовых актах!

  


 

ОТРАСЛЕВОЙ СТАНДАРТ

ШТУЦЕРА ИЗ ДВУХСЛОЙНЫХ СТАЛЕЙ
С ПЛОСКИМИ ФЛАНЦАМИ С ПАЗОМ
НА Ру 1,6 и 2,5 МПа.

Конструкция и размеры.

ОСТ 26-02-2043-79

ОТРАСЛЕВОЙ СТАНДАРТ

ШТУЦЕРА ИЗ ДВУХСЛОЙНЫХ СТАЛЕЙ С ПЛОСКИМИ ФЛАНЦАМИ С ПАЗОМ НА Ру 1,6 и 2,5 МПа.

Конструкция и размеры.

ОСТ 26-02-2043-79

Взамен МН 4581-63

Приказом МИНХИММАШа

от _______ 197     г. № ________                    

.

срок действия.

с 01.01.1981 г

до 01.01.1993 г

(Срок действия продлен. Изм. № 2)

Несоблюдение стандарта преследуется по закону

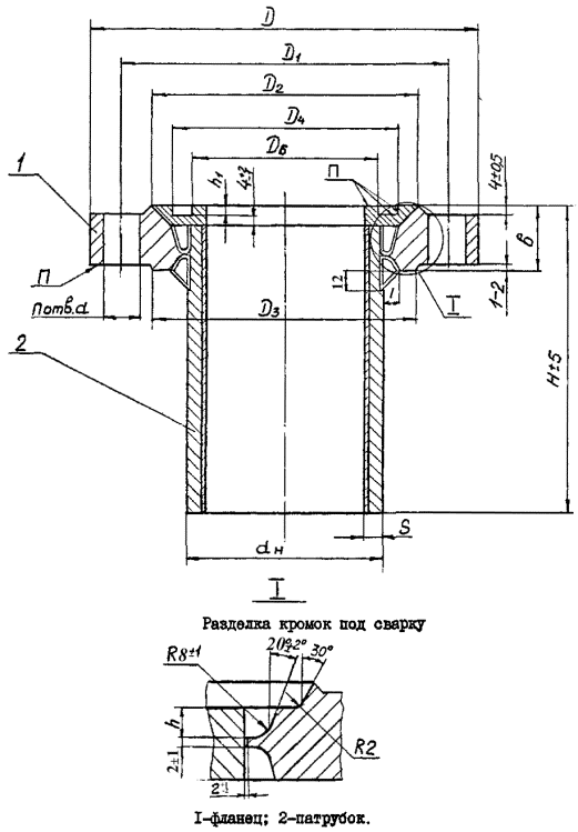
1. Настоящий стандарт распространяется на штуцера из двухслойных сталей с плоскими приварными фланцами с наплавленной уплотнительной поверхностью с пазом на условный проход Ду от 150 до 600 мм, условное давление Ру 1,6 и 2,5 МПа (16 и 25 кгс/см2) и температуру от минус 60 до 475°С.

(Измененная редакция. Изм. № 1)

2. Конструкция и размеры штуцеров должны соответствовать указанным на чертеже и в табл. 1-2.

3. Материал, технические требования и маркировка штуцеров по ОСТ 26-02-2053-79.

(Измененная редакция. Изм. № 1)

Таблица 1

Ру 1,6 МПа (16 кгс/см2)

Размеры в мм

Dy

D

D1

D2

D3

D4

D5

D6

dH

S

d

n

b

l, не более

H

h

h1

Масса, кг

наплавленного металла

общая

Углеродистого

Аустенитного

150

280

240

212

200

204

180

182

159

12

22

8

36

18+4

187

13

3

1,2

0,8

18,4

247

21,0

200

335

295

268

255

260

242

238

219

12

38

187

14

1,9

1,1

24,7

247

28,4

250

405

355

320

305

313

296

291

273

26

40

187

15

2,3

1,3

35,1

247

39,7

300

460

410

370

360

364

348

342

325

208

4

2,7

1,7

43,8

268

49,4

350

520

470

430

420

422

400

394

377

16

42

208

16

3,2

2,3

53,7

268

60,2

400

580

525

482

470

474

452

446

426

30

48

238

19

4

4,0

2,6

71,9

298

79,3

450

640

585

532

530

524

508

496

480

16

20

50

18+4

258

20

5,2

3,4

98,3

318

109,4

500

710

650

585

590

576

560

548

530

33

56

22+4

258

23

6,6

4,4

123,6

318

135,8

600

840

770

685

700

678

660

650

630

39

58

260

5

8,5

7,0

157,0

330

174,0

Примечание. К табл. 1-2. Ду 450 мм применять только для люка.

Таблица 2

Ру 2,5 МПа (25 кгс/см2)

Размеры в мм

Dy

D

D1

D2

D3

D4

D5

D6

dH

S

d

n

b

l, не более

H

h

h1

Масса, кг

наплавленного металла

общая

Углеродистого

Аустенитного

150

300

250

212

200

204

214

182

159

12

26

8

38

18+4

187

14

3

1,5

1,0

21,3

247

24,0

200

360

310

278

260

260

270

238

219

12

40

187

15

2,0

3,0

28,9

247

32,6

250

425

370

335

315

313

323

291

273

30

42

187

16

2,5

1,7

38,4

247

43,0

300

485

430

390

375

364

376

342

325

16

45

208

17

4

2,8

2,2

50,2

268

55,8

350

550

490

450

430

422

434

394

377

33

50

238

20

3,8

2,7

69,5

298

76,0

400

610

550

505

490

474

486

446

426

53

22+4

258

21

4,5

3,2

88,0

318

95,3

450

660

600

555

540

524

536

496

480

16

20

60

22+4

278

25

6,0

3,7

117,7

338

128,8

500

730

660

615

590

576

588

548

530

39

63

278

26

6,8

4,6

145,2

338

157,3

(Таблица 1 и 2 - измененная редакция. Изм. № 1)

Пример условного обозначения штуцера Ду 150 мм на Ру 2,5 МПа, Н=187 мм, патрубок из стали ВСт3сп + 12Х18Н10Т, фланец из стали 20К:

Штуцер 150-2,5-187-1б-2     ОСТ 26-02-2043-79

ИНФОРМАЦИОННЫЕ ДАННЫЕ

1. УТВЕРЖДЕН И ВВЕДЕН В ДЕЙСТВИЕ Министерством химического и нефтяного машиностроения СССР от 16.07.1979

2. РАЗРАБОТЧИКИ: А.Ю. Пролесковский, М.И. Байбакова

3. ЗАРЕГИСТРИРОВАН ВНИИКИ ГР № 8138505 от 11.09.1979

4. ССЫЛОЧНЫЕ НОРМАТИВНО-ТЕХНИЧЕСКИЕ ДОКУМЕНТЫ

Обозначение НТД, на которые дана ссылка

Номер пункта, подпункта, перечисления, приложения

ОСТ 26-02-2053-79

3

(Введены дополнительно. Изм. № 2)

 




ГОСТЫ, СТРОИТЕЛЬНЫЕ и ТЕХНИЧЕСКИЕ НОРМАТИВЫ.
Некоммерческая онлайн система, содержащая все Российские Госты, национальные Стандарты и нормативы.
В Системе содержится более 150000 файлов нормативно-технической документации, действующей на территории РФ.
Система предназначена для широкого круга инженерно-технических специалистов.

Рейтинг@Mail.ru Яндекс цитирования

Copyright © www.gostrf.com, 2008 - 2026