Крупнейшая бесплатная информационно-справочная система онлайн доступа к полному собранию технических нормативно-правовых актов РФ. Огромная база технических нормативов (более 150 тысяч документов) и полное собрание национальных стандартов, аутентичное официальной базе Госстандарта. GOSTRF.com - это более 1 Терабайта бесплатной технической информации для всех пользователей интернета. Все электронные копии представленных здесь документов могут распространяться без каких-либо ограничений. Поощряется распространение информации с этого сайта на любых других ресурсах. Каждый человек имеет право на неограниченный доступ к этим документам! Каждый человек имеет право на знание требований, изложенных в данных нормативно-правовых актах!

  


 

СССР

УТВЕРЖДЕНО

Министерство химического и

нефтяного машиностроения СССР

Заместитель министра

Г. Ф. Шеин

«30» октября 1981г.

ОТРАСЛЕВЫЕ СТАНДАРТЫ

ИЗДЕЛИЯ КРЕПЕЖНЫЕ ДЛЯ СОСУДОВ И АППАРАТОВ
НА ДАВЛЕНИЕ СВЫШЕ 9,81 ДО 98,1 МПа (СВЫШЕ
100 ДО 1000 кгс/см2). ТИПЫ, КОНСТРУКЦИИ И
РАЗМЕРЫ. ОБЩИЕ ТЕХНИЧЕСКИЕ ТРЕБОВАНИЯ

ГНЕЗДА ДЛЯ РЕЗЬБОВЫХ СОЕДИНЕНИЙ СОСУДОВ И АППАРАТОВ НА ДАВЛЕНИЕ СВЫШЕ 9,81 ДО 98,1 МПа (СВЫШЕ 100 ДО 1000 кгс/см2).

Конструкция и размеры.

ОСТ 26-01-142-81

ТЕХНИЧЕСКОЕ УПРАВЛЕНИЕ

Начальник                                                                                                   А. М. Васильев

ВПО «СОЮЗХИММАШ»

Начальник                                                                                                   В. А. Чернов

СОГЛАСОВАНО

НИИХИММАШ

Директор                                                                                                     Н. М. Самсонов

Заместитель директора                                                                             П. Ф. Серб

Начальник БНИОС                                                                                     В. В. Дюкин

ПО УРАЛХИММАШ

Главный инженер                                                                                      Н. К. Глобин

СОГЛАСОВАНО

МИНИСТЕРСТВО ПО ПРОИЗВОДСТВУ МИНЕРАЛЬНЫХ УДОБРЕНИЙ СССР

УПРАВЛЕНИЕ ОБОРУДОВАНИЯ

Заместитель начальника ГИАП                                                               В. Н. Назаров

Главный механик                                                                                       С. А. Тверецкий

УТВЕРЖДЕН И ВВЕДЕН В ДЕЙСТВИЕ приказом ВПО Союзхиммаш от 30.10.81 г. № 173.

ИСПОЛНИТЕЛИ

В. П. Вирюкин (руководитель темы); В. И. Лившиц, канд. техн. наук; В. К. Погодин, канд. техн. наук; В. М. Черемных; Г. Г. Ожегов; Г. Г. Золотенин; Е. Д. Кудрикова; А. В. Тасевич; Л. А. Корчагина; В. Д. Продан.

ОТРАСЛЕВОЙ СТАНДАРТ

ГНЕЗДА ДЛЯ РЕЗЬБОВЫХ СОЕДИНЕНИЙ СОСУДОВ И АППАРАТОВ НА ДАВЛЕНИЕ СВЫШЕ 9,81 ДО 98,1 МПа (СВЫШЕ 100 ДО 1000 КГС/СМ2).

Конструкция и размеры.

ОСТ 26-01-142-81

Взамен

ОСТ 26-1360-75

Приказом Всесоюзного производственного объединения Союзхиммаш № 173 от 30 октября 1981 г. срок действия

с 01.07.1982 г.

до 01.01.1997 г.

Настоящий стандарт распространяется на гнезда для резьбовых соединений сосудов и аппаратов (ОСТ 26-01-138-81 ÷ ОСТ 26-01-144-81), применяемых в химической, нефтехимической и смежных отраслях промышленности на давление свыше 9,81 до 98,1 МПа (свыше 100 до 1000 кгс/см2) и при расчетной температуре стенки сосуда от минус 40 до плюс 420 °С.

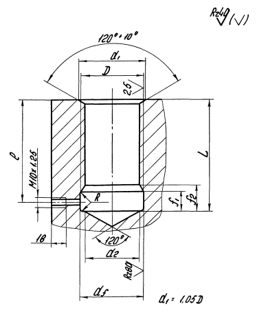
1. Конструкции и размеры гнезд резьбовых должны соответствовать указанным на чертеже и в таблице.

Длина резьбы гнезда установлена из условия отношения временного сопротивления материала шпильки () к временному сопротивлению материала фланца () менее или равного 1,7 (при расчетной температуре), т. е.:

РАЗМЕРЫ ГНЕЗД

мм

Номинальный диаметр резьбы D

Шаг резьбы Р

Глубина гнезда L (Пред. откл. по Н13)

Диаметр проточки df

Диаметр конуса d2

Ширина проточки f1 min

Ширина проточки f2 max

Радиус R

Расстояние до оси отверстия l (Справочное)

56

5,5

105

56,5

48

22

28

2,75

95

60

110

60,5

52

100

64

6

120

64,5

55

24

30

3

110

68

125

68,5

59

115

72

130

72,5

63

120

76

135

76,5

67

125

80

160

80,5

70

45

50

140

85

170

85,5

77

150

90

175

90,5

82

155

95

180

95,5

87

160

100

185

100,5

92

165

105

195

105,5

96

175

110

200

110,5

100

180

115

205

115,5

107

185

120

210

120,5

110

190

125

220

125,5

117

200

130

225

130,5

120

205

140

235

140,5

130

215

150

250

150,5

140

225

160

260

160,5

150

240

170

275

170,5

160

255

180

285

180,5

170

265

190

300

190,5

180

280

200

310

200,5

190

290

Примечания:

1. Допускается не выполнять дренажные отверстия во фланце корпуса сосуда или аппарата высокого давления при условии выполнения центральных осевых отверстий в шпильках.

2. При наличии дренажных отверстий во фланце они должны быть заглушены пробками.

3. В конструкции дна резьбового гнезда допускается глухое отверстие, необходимое из технологических соображений, диаметр и глубина которого определяется заводом-изготовителем.

4. Неуказанные предельные отклонения размеров: отверстия Н14, остальных .

2. Резьба метрическая по ГОСТ 24705-81 (СТ СЭВ 182-75) и ГОСТ 8724-81 (СТ СЭВ 181-75). Профиль резьбы - по ГОСТ 9150-81 (СТ СЭВ 180-75).

Предельные отклонения размеров отверстий под резьбу -по ГОСТ 19257-73.

Предельные отклонения резьб и длины свинчивания - по ГОСТ 16093-81 (СТ СЭВ 640-77). Поля допусков - 7Н.

3. Предельные отклонения от перпендикулярности оси гнезда относительно торца фланца по Х степени точности по ГОСТ 24643-81 (СТ СЭВ 636-77).

2, 3. (Измененная редакция, Изм, № 1).

4. Остальные технические требования по ОСТ 26-01-144-81.

ОТРАСЛЕВОЙ СТАНДАРТ

«Гнезда для резьбовых соединений сосудов и аппаратов на давление свыше 9,81 до 98,1 МПа (свыше 100 до 1000 кгс/см2). Конструкция и размеры».

ИркутскНИИхиммаш

И. О. директора                                                                                         Е. Р. Хисматулин

Заведующий отделом стандартизации                                                   В. И. Королев

Заведующий отделом 5                                                                             В. И. Лившиц

Заведующий отделом 10                                                                           Л. В. Перегудов

Руководитель темы,

старший научный сотрудник                                                                   В. П. Вирюкин

Заведующий лабораторией отдела 5                                                       В. К. Погодин

Главный конструктор отдела 10                                                             В. М. Черемных

Ведущий конструктор                                                                              Г. Г. Ожегов

Младший научный сотрудник                                                                 А. В. Тасевич

МИХМ

Доцент                                                                                                       В. Д. Продан

ПЕРЕЧЕНЬ ССЫЛОЧНЫХ ДОКУМЕНТОВ

ГОСТ 24643-81 (СТ СЭВ 636-77) Отклонения формы и расположения поверхностей. Основные определения, предельные отклонения.

ГОСТ 16093-81 (СТ СЭВ 640-77) Резьба метрическая для диаметров от 1 до 600 мм. Допуски.

ГОСТ 19257-73 Отверстия под нарезание метрической резьбы. Диаметры.

ГОСТ 9150-81 (СТ СЭВ 180-75) Основные нормы взаимозаменяемости. Резьба метрическая. Профиль.

ГОСТ 8724-81 (СТ СЭВ 181-75) Основные нормы взаимозаменяемости. Резьба метрическая. Диаметры и шаги.

ГОСТ 24705-81 (СТ СЭВ 182-75) Основные нормы взаимозаменяемости. Резьба метрическая. Основные размеры.

(Измененная редакция, Изм, № 1).

ИНФОРМАЦИОННЫЕ ДАННЫЕ

1. УТВЕРЖДЕН Министерством химического и нефтяного машиностроения СССР И ВВЕДЕН В ДЕЙСТВИЕ ПРИКАЗОМ Всесоюзного производственного объединения «Союзхиммаш» № 173 от 30 октября 1981 г.

2. ИСПОЛНИТЕЛИ

В. И. Лившиц, канд. техн. наук; В. П. Вирюкин (руководитель темы); В. К. Погодин, канд. техн. наук; Г. Г. Золотенин.

3. Срок первой проверки - 1985 год, периодичность проверки - 5 лет

4. ССЫЛОЧНЫЕ НОРМАТИВНО-ТЕХНИЧЕСКИЕ ДОКУМЕНТЫ

Обозначение НТД, на который дана ссылка

Номер пункта, подпункта, перечисления, приложения

ГОСТ 8724-81

П. 2.

ГОСТ 9150-81

П. 2.

ГОСТ 16093-81

П. 2.

ГОСТ 19257-73

П. 2.

ГОСТ 24643-81

П. 3.

ГОСТ 24705-81

П. 2.

ГОСТ 25347-82

П. 1, примечание 4

ОСТ 26-01-138-81

Вводная часть

ОСТ 26-01-144-81

П. 4.

(Введен дополнительно, Изм. № 2).

ПЕРЕЧЕНЬ ОТРАСЛЕВЫХ СТАНДАРТОВ, С КОТОРЫХ СНИМАЕТСЯ ОГРАНИЧЕНИЕ СРОКА ДЕЙСТВИЯ

Обозначение. Наименование документа

Наименование организации-разработчика

Наименование организации, за которой закрепляется документ в России (до его пересмотра)

Примечания (срок действия)

ОСТ 26-01-139-81.

Шпильки для резьбовых соединений сосудов и аппаратов на давление свыше 9,81 до 98,1 МПа (свыше 100 до 1000 кгс/см2). Типы. Конструкция и размеры

АО «ИркутскНИИхиммаш»

-

до 01.01.97

ОСТ 26-01-140-81.

Гайки для резьбовых соединений сосудов и аппаратов на давление свыше 9,81 до 98,1 МПа (свыше 100 до 1000 кгс/см2). Типы. Конструкция и размеры

АО «ИркутскНИИхиммаш»

-

до 01.01.97

ОСТ 26-01-141-81.

Шайбы для резьбовых соединений сосудов и аппаратов на давление свыше 9,81 до 98,1 МПа (свыше 100 до 1000 кгс/см2). Конструкция и размеры

АО «ИркутскНИИхиммаш»

-

до 01.01.97

ОСТ 26-01-142-81.

Гнезда для резьбовых соединений сосудов и аппаратов на давление свыше 9,81 до 98,1 МПа (свыше 100 до 1000 кгс/см2). Конструкция и размеры

АО «ИркутскНИИхиммаш»

-

до 01.01.97

ОСТ 26-01-143-81.

Колпачки защитные для резьбовых соединений сосудов и аппаратов на давление свыше 9,81 до 98,1 МПа (свыше 100 до 1000 кгс/см2). Конструкция и размеры

АО «ИркутскНИИхиммаш»

-

до 01.01.97

ОСТ 26-01-144-81.

Шпильки, гайки, шайбы, резьбовые гнезда, колпачки защитные для сосудов и аппаратов на давление свыше 9,81 до 98,1 МПа (свыше 100 до 1000 кгс/см2). Общие технические требования. Правила приемки. Методы испытаний. Маркировка

АО «ИркутскНИИхиммаш»

-

до 01.01.97

Директор по научно-техническому

направлению АО «НИИхиммаш»                                                              В. А. Заваров

Начальник отдела стандартизации                                                           И. И. Орехова

 




ГОСТЫ, СТРОИТЕЛЬНЫЕ и ТЕХНИЧЕСКИЕ НОРМАТИВЫ.
Некоммерческая онлайн система, содержащая все Российские Госты, национальные Стандарты и нормативы.
В Системе содержится более 150000 файлов нормативно-технической документации, действующей на территории РФ.
Система предназначена для широкого круга инженерно-технических специалистов.

Рейтинг@Mail.ru Яндекс цитирования

Copyright © www.gostrf.com, 2008 - 2026