Крупнейшая бесплатная информационно-справочная система онлайн доступа к полному собранию технических нормативно-правовых актов РФ. Огромная база технических нормативов (более 150 тысяч документов) и полное собрание национальных стандартов, аутентичное официальной базе Госстандарта. GOSTRF.com - это более 1 Терабайта бесплатной технической информации для всех пользователей интернета. Все электронные копии представленных здесь документов могут распространяться без каких-либо ограничений. Поощряется распространение информации с этого сайта на любых других ресурсах. Каждый человек имеет право на неограниченный доступ к этим документам! Каждый человек имеет право на знание требований, изложенных в данных нормативно-правовых актах!

  


 

ПРАВИТЕЛЬСТВО МОСКВЫ
КОМПЛЕКС АРХИТЕКТУРЫ, СТРОИТЕЛЬСТВА,
РАЗВИТИЯ И РЕКОНСТРУКЦИИ
ГОРОДА

ТЕХНИЧЕСКИЕ РЕКОМЕНДАЦИИ

по устройству дорожных конструкций
с применением асфальтобетона

ТР 103-00

МОСКВА - 2000

Настоящие технические рекомендации представляют собой практическое руководство для дорожно-строительных организаций, выполняющих работы по устройству дорожных конструкций с применением асфальтобетона.

Технические рекомендации разработаны ГУП "НИИМосстрой" (к.т.н Городецкий Л.В., д.т.н. Кононов В.Н. - руководитель работы, с.н.с. Клейман М.И., Якимчикова ТА) при участии УЖКХБ г. Москвы (Павлов Н.В.) и ГУ "Мосстройлицензия" (Емельянов Ю.П., Ким В.А.).

Рекомендации обобщают накопленный за период с 1976 по 2000 гг. опыт проектирования, строительства и эксплуатации городских дорожных конструкций с асфальтобетонными покрытиями, а также данные ГУ "Мосстройлицензия", направленные на повышение роли и ответственности строителей за качество выполняемых работ.

Рекомендации согласованы с институтом "Мосинжпроект", ГУП "Доринвест", ОАО "Асдор".

Правительство Москвы Комплекс архитектуры, строительства, развития и реконструкции города

Технические рекомендации
по устройству дорожных конструкций
с применением асфальтобетона.

ТР 103-00

взамен
ВСН 14-95

1. КОНСТРУКЦИИ, ТЕХНИЧЕСКИЕ ТРЕБОВАНИЯ И НОРМЫ

Настоящие рекомендации предъявляют требования к дорожным конструкциям с асфальтобетонным покрытием, технологии их устройства и устанавливают область применения асфальтобетонных смесей различных типов и видов с учетом принятой классификации улично-дорожной сети г. Москвы.

Типы конструкций с применением асфальтобетона

1.1. Конструкция дорожной одежды с асфальтобетонным покрытием и толщины ее слоев определяются проектом в зависимости от категории улиц и дорог. Разработка проекта осуществляется с учетом альбома типовых конструкций для г. Москвы и действующих СНиП и ТР [2-5].

1.2. Дорожная конструкция образуется в результате устройства друг за другом, снизу вверх отдельных слоев, выполняющих различные функции и соответственно отличающихся друг от друга по виду и качеству применяемых в них материалов. Дорожную одежду укладывают на уплотненное и спланированное земляное полотно.

Разработаны ГУП НИИМосстрой

Утверждены:

Начальник Управления экономической научно-технической и промышленной политики в строительной отрасли

АИ. Воронин

" 3 " апреля 2000 г.

Дата введения в действие

" 3" мая 2000 г

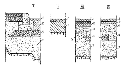
Принципиальные схемы дорожных конструкций с асфальтобетонным покрытием для улиц различных категорий представлены на рисунке 1.

1.3. Конструкции по варианту I и II устраиваются при одностадийном строительстве, а по варианту III и IV - при двухстадийном.

1.4. Дорожная конструкция (вариант I и II) состоит из монолитной асфальтобетонной плиты, укладываемой на технологический щебеночный слой или непосредственно на грунт земляного полотна;

щебеночный слой укладывается по песчаному подстилающему слою. Сверху такая конструкция замыкается слоем износа из асфальтобетона. Расчет таких конструкций производится по методу, изложенному в ВСН 5-92 "Инструкция по расчету и конструированию дорожных одежд с монолитными асфальтобетонными покрытиями" с изм. № 1 от 01.11.96 г.

1.5. Дорожная конструкция (вариант III и IV) состоит из двух- или трехслойного асфальтобетонного покрытия, устраиваемого на основании из укатываемых бетонных смесей марок 75-300 [8]. Бетонное основание укладывается по технологическому слою из щебеночных материалов, укрепленных неорганическими вяжущими. Технологический слой укладывается на песчаный подстилающий слой.

При наличии на бетонном основании трещин и разрушений асфальтобетонное покрытие заменяется бетонным из смесей марки 350-400 [9, 10].

Такие дорожные конструкции рассчитываются по методике, изложенной в ВСН 2-94 (приложение 1).

1.6. Марку, тип и вид асфальтобетона рекомендуется принимать в соответствии с табл. 1.

В асфальтобетонном покрытии на мостах и эстакадах для нижнего слоя применяют только плотный мелкозернистый асфальтобетон типа Б и В. Для верхнего слоя в смесях типа Б используется дробленый песок.

Принципиальные схемы дорожной конструкции с асфальтобетонным покрытием:

Вариант I - асфальтобетонное покрытие на технологическом слое; II - то же, на грунте; III, IV- то же, на бетонном основании:

1 - высокоплотный, плотный асфальтобетон; 2 - плотный, пористый асфальтобетон; 3 - тощий (укатываемый бетон марки 75,100); 4 - пластичный цементобетон марки 200, 300; 5, 6 - технологический слой (щебеночные и гравийные материалы с обработкой или без обработки вяжущими; цементопесчаные смеси); 7 - песчаный подстилающий слой

Рекомендуемая область применения асфальтобетонных смесей с учетом принятой классификации улично-дорожной сети города.

Таблица 1

Категория улиц

Асфальтобетон конструктивного слоя

ГОСТ (марка)

Технические условия (тип)

мелко зернистая

песчаная

к/з

крупнозернистая

песчаная

литая

тип

КП

I

II

III

I

II

III

IV

V

ВП

А

Б

В

Г

Д

Магистральные улицы

 

 

 

 

 

 

 

 

 

 

 

 

 

 

 

Общегородского значения

 

 

 

 

 

 

 

 

 

 

 

 

 

 

 

I класса

I

I

I

-

-

-

-

+

+

-

+

-

-

-

+

II класса

I

I

I

-

I

-

-

+

+

-

+

-

-

-

+

Районного значения

-

-

I

II

I

II

+

+

+

+

+

+

+

+

+

Магистральные улицы центра

 

 

 

 

 

 

 

 

 

 

 

 

 

 

 

Общегородского значения

 

 

 

 

 

 

 

 

 

 

 

 

 

 

 

I класса

I

I

I

-

-

-

-

+

+

-

+

-

-

-

+

II класса

I

I

I

-

I

-

-

+

+

-

+

-

-

-

+

Районного значения

-

-

I

II

I

II

+

+

+

+

+

+

+

+

+

Улицы, дорога и проезды местного значения

 

 

 

 

 

 

 

 

 

 

 

 

 

 

 

Улицы в жилой застройке

-

-

I

II

-

II, III

+

+

+

+

+

+

+

 

+

Улицы и дороги в производственных и коммунально-складских зонах

-

-

I

II

I

II

-

+

+

-

-

-

-

-

+

Проезды в кварталах

-

-

II

II

-

II, III

-

+

+

+

-

-

-

+

+

Улицы и проезды местного значения

 

 

 

 

 

 

 

 

 

 

 

 

 

 

 

Улицы в жилой застройке

-

-

I

II

-

II, III

+

+

+

+

-

-

-

-

+

Проезды в кварталах

-

-

-

-

-

II, III

+

+

+

+

-

-

-

+

+

Определение и требования, предъявляемые к асфальтобетону и технологии приготовления смесей

1.7. Асфальтовый бетон (асфальтобетон) - искусственный строительный конгломерат, образующийся в результате достижения определенной плотности асфальтобетонной смесью, уложенной в конструкцию. Смесь приготовляют смещением в смесительных установках в нагретом состоянии минеральных материалов различной крупности и нефтяного дорожного битума в рационально подобранных соотношениях. В необходимых случаях в смесь вводят добавки ПАВ, полимеров, отсевов дробления (фрезерования) асфальтобетона, резины, серы и прочее.

Асфальтобетон - материал, способный в дорожных одеждах работать самостоятельно, выполняя роль основного (несущего) слоя конструкции при воздействии нагрузок динамического и температурного характера [7]. При положительных температурах асфальтобетон - вязкопластичный материал, при 0 °С - упруго-жесткий с выраженным упругим последействием и высокими численными значениями модуля упругости и предела прочности на растяжение при изгибе. При 0 °С и ниже деформации до момента появления трещин и разрушения в подавляющей части являются упругими, а остаточная деформация, вслед за которой по достижении материалом предела прочности происходит хрупкое его разрушение, составляет около 1 %.

1.8. Основные расчетно-экспериментальные зависимости при оптимальных структурах асфальтобетона представлены в приложении 1, а технические требования - в приложениях 2-6.

1.9. Асфальтобетонные смеси приготовляют в серийно выпускаемых стационарных асфальтобетонных установках, оборудованных смесителями принудительного перемешивания.

1.10. Продолжительность перемешивания смесей устанавливают в зависимости от вида смесей с учетом технических характеристик используемой смесительной установки. Перемешивание должно обеспечивать равномерное распределение всех компонентов смеси и полное обволакивание битумом минеральных зерен. Однородность смеси, оцениваемая коэффициентом вариации предела прочности при сжатии при температуре 50 °С, должна быть не ниже норм, приведенных в таблице 2.

Таблица 2

Наименование показателя

Значение коэффициента вариации для смесей марки

I

II

III

Предел прочности при сжатии при температуре 50 °С

0,16

0,18

0,20

1.11. Битум с добавлением ПАВ, полимеров, разжижителей или структурообразующих компонентов следует перемешивать до получения однородной смеси в отдельной емкости, оборудованной паро- электро- или маслопрогревом.

Битум с добавкой перекачивают в расходную емкость и доводят до рабочей температуры.

1.12. Готовая асфальтобетонная смесь выгружается в накопительный бункер или непосредственно в кузов автомобиля-самосвала, очищенный от загрязнений и обработанный мыльным раствором или эмульсией, для доставки к месту укладки. Время нахождения смеси в накопительном бункере не должно превышать 30 минут, а при использовании смеси на битумах с добавками - 60 минут.

Температура смесей различных типов и видов при выгрузке из мешалки должна приниматься по нормам, указанным в соответствующих технических условиях.

2. ПРАВИЛА ПРОИЗВОДСТВА РАБОТ

Устройство искусственного основания

2.1. Искусственное основание - часть дорожной одежды, непосредственно воспринимающая вертикальные нагрузки и передающая их на грунт земляного полоша. Оно состоит, как правило, из двух слоев: нижний подстилающий и верхний технологический. Задачей подстилающего слоя является отвод всей свободной воды, поступающей в основание в расчетный период, и временное размещение ее в порах дренирующего слоя до начала работы водоотводимых устройств; технологический слой, устраиваемый по подстилающему слою, обеспечивает движение и маневрирование асфальтоукладчика и транспорта, подвозящего дорожно-строительные материалы.

2.2. До начала работ по устройству подстилающего слоя должны быть выполнены все работы, предусмотренные проектом: прокладка подземных коммуникаций, устройство дренажа с засылками и устройство закрытой водосточной сети, вынос, усиление и ремонт существующих подземных коммуникаций, засыпка песчаным грунтом и уплотнение траншей и котлованов, планировка и уплотнение корыта земляного полотна.

2.3. Для устройства подстилающего слоя используются пески, удовлетворяющие требованиям ГОСТ 8736-93, с коэффициентом фильтрации не менее 3 м/сутки. При "чистых" песчаных грунтах земляного полотна с коэффициентом фильтрации более 3 м/сутки подстилающий слой не устраивается.

2.4. Уплотнение подстилающего слоя следует производить при влажности песка, близкой к оптимальной (Wопт), но не более 1,3 Wопт, коэффициент уплотнения подстилающего слоя должен быть не менее 0,98.

2.5. Для устройства технологического слоя применяются: фракционированный щебень, щебеночные, гравийно-песчаные материалы, обработанные и необработанные органическими вяжущими. В конструкциях с использованием бетонных смесей для устройства технологического слоя применяются песчано-цементные смеси.

Рекомендуемый гранулометрический состав щебеночной и гравийно-песчаной смеси приведен в таблице 3. Толщина технологического слоя принимается в пределах от 0,12 до 0,18 м.

Таблица 3

Рекомендуемый зерновой (гранулометрический) состав минеральной части смесей для устройства технологического слоя основания

Вид смеси

Содержание в % зерен минерального материала мельче, мм

40

20

10

5

0,63

0,071

Щебеночная

95-100

40-70

25-45

20-35

5-15

2-5

Гравийно-

90-100

65-85

-

35-50

8-20

2-6

песчаная

95-100

95-100

60-75

40-56

9-21

2-6

2.6. Укладка щебеночной или гравийно-песчаной смеси производится сразу после доставки их на объект. Для исключения расслаивания щебеночной смеси при транспортировании она должна иметь влажность 4-6 % по массе. При использовании гравийно-песчаной смеси в ее составе допускается порядка 2-4 % по массе пылеватых и глинистых частиц.

2.7. При применении фракционированного щебня технологический слой устраивается по принципу щебеночного основания. В этом случае следует применять щебень из осадочных горных пород следующих фракций: 40-70, 10-20 (25) и 3 (5) - 10 (15) мм. Марка щебня по дробимости при сжатии (раздавливании) в цилиндре должна, быть не ниже 600, а по износу (истиранию) в полочном барабане И-III.

Организация работ по устройству асфальтобетонного покрытия

Общие положения

2.8. Покрытия из асфальтобетонной смеси устраивают в сухую погоду: весной при температуре окружающего воздуха не ниже плюс 5 °С и основание не должно быть промерзшим, осенью - не ниже плюс 10 °С и основание не должно быть влажным. При температуре воздуха ниже указанной, работы осуществляются с соблюдением требований, изложенных в п.п. 2.62-2.64 настоящих "Рекомендаций".

2.9. Началу работ по устройству асфальтобетонного покрытия предшествует разработка проекта производства работ или привязка типовой технологической карты к местным условиям производства работ на данном объекте.

В проекте производства работ должны быть представлены:

- генеральный план строящегося или реконструируемого объекта;

- технологическая последовательность выполнения работ (технологическая карта);

- схемы движения городского транспорта в период строительства (при наличии движения городского транспорта);

- схемы движения транспорта, подвозящего строительные материалы;

- места установки ограждений;

- места установки светильников (прожекторов) для выполнения работ в вечернее и ночное время;

- календарный график производства работ с указанием сроков, объема работ, подлежащих ежедневному выполнению, и потребного количества механизмов;

- пояснительная записка, в которой обосновывается организация и технология работ, указываются мероприятия по обеспечению безопасных условий производства работ, подробно излагаются особые условия объекта.

Проекты производства работ по строительству технически несложных объектов могут состоять из календарного плана производства работ, стройгенплана и краткой пояснительной записки.

Подготовительные работы

2.10. Устройство асфальтобетонного покрытия производят только после приемки нижнего и верхнего слоев основания, а также установки бортового камня, что оформляется актом на скрытые работы, и после проведения подготовительных работ.

Подготовительные работы включают:

при новом строительстве

- обработку поверхности основания битумной эмульсией [7] или жидким битумом равномерным слоем не менее чем за 6 часов до укладки смеси. Расход материалов составляет: при обработке жидким битумом - 0,5-0,8 л/м2, при обработке 50 % битумной эмульсией - 0,4-0,7 л/м2 (22);

- геодезическую разбивку с установкой контрольных "маяков" и выноской отметок на бортовой камень (верх маяка или отметка должны соответствовать верху покрытия после уплотнения). Нанесение отметок по борту производится намелованным шнуром. Асфальтобетонные или деревянные "маяки" устанавливаются по визиркам вдоль дороги на бетонном основании или технологическом слое или уплотненном нижнем слое;

- проверку соответствия высотных отметок крышек колодцев требованиям проекта и исправление в случае несоответствия.

при ремонте асфальтобетонного покрытия:

- очистку основания от пыли, грязи поливомоечными машинами или сжатым воздухом; просушку влажного основания, при этом особое внимание должно уделяться очистке лотка проезжей части;

- обработку поверхности покрытия битумной эмульсией с расходом 0,3-0,4 л/м2. При разливе эмульсии не следует допускать ее концентрации в пониженных местах;

- смазку битумной эмульсией вертикального края ранее уложенных полос асфальтобетона, люков колодцев, трамвайных путей, рельсов и других выступающих элементов на покрытии;

- проверку (с помощью геодезических инструментов) ровности ремонтируемого асфальтобетонного покрытия, продольных и поперечных уклонов, ширины проезжей части улицы (дороги) и правильности установки люков колодцев подземных сооружений. Выравнивание поверхности покрытия производится путем укладки асфальтобетонной смеси - крупнозернистой при толщине более 60 мм и мелкозернистой при меньших толщинах. Категорически запрещается выравнивание профиля производить устройством нижнего слоя покрытия переменной толщины. Устройство выравнивающего слоя на больших площадях производится с использованием асфальтоукладчиков, а при малых - асфальтораскладчиков;

- допускается исправление существующего асфальтобетонного покрытия на месте путем его разогрева, выравнивания и повторного использования. Для этой цели могут использоваться механизмы типа репейверов или ремиксеров;

- регулировку люков колодцев подземных коммуникаций и приведение их в соответствие с проектной отметкой покрытия; наращивание, в случае необходимости, колодцев с использованием металлических вкладышей или железобетонных сегментов. При установке дождеприемной решетки учитывается следующее: края решетки должны быть ниже проектной отметки лотка с верховой стороны на 30 мм, а с низовой - на 20 мм; подход к решетке с верховой стороны должен иметь увеличение уклона на расстоянии 2 - 3 м, а с низовой - 0,5 м.

2.11. Для составления технологической схемы потока, являющейся основной частью технологической карты, предварительно устанавливают потребное количество асфальтоукладчиков и катков, порядок движения асфальтоукладчиков, длину полосы укладки, направление движения потока.

При этом следует руководствоваться следующими положениями:

- устройство слоев износа (верхних слоев) покрытия должно производиться, как правило, одновременно таким количеством асфальтоукладчиков, суммарная ширина которых равна ширине проезжей части;

- для исключения переезда автомобилей-самосвалов через край ранее устроенного асфальтобетонного покрытия и обеспечения безопасных условий производства работ, направление потока должно приниматься навстречу движения транспорта, подвозящего асфальтобетонную смесь;

- при продольном уклоне более 30%о асфальтобетонная смесь должна укладываться снизу вверх (от нижней точки уклона к верхней).

2.12. Для укладки асфальтобетонной смеси должны быть созданы механизированные звенья в составе: асфальтоукладчиков, самоходных моторных катков, вспомогательных машин и приспособлений.

Рекомендуется применять асфальтоукладчики на пневмоколесном или гусеничном ходу с шириной укладываемой полосы до 7,5 м с автоматической системой, обеспечивающей ровность покрытия заданного поперечного профиля.

2.13. Для составления проектов организации работ и технологических карт при назначении количества асфальтоукладчиков учитывается их производительность, а также необходимое количество асфальтобетонной смеси на данный объект.

2.14. Для выполнения работ по устройству верхнего или нижнего слоя покрытия на участке работ выделяют сменную захватку при асфальтировании на всю ширину проезжей части.

2.15. Длина полосы, укладываемой за один проход, при использовании одного асфальтоукладчика назначается с учетом температуры наружного воздуха, а также возможности одновременного уплотнения двух смежных полос. Возможные пределы изменения этих длин приведены в таблице 4.

Таблица 4

Длины полос укладки асфальтобетонной смеси

Температура воздуха, °С

Длина укладываемой полосы, м

одним асфальтоукладчиком

двумя асфальтоукладчиками

на защищенных от ветра участках

на открытых участках

5-10

30-40

25-30

60-70

10-15

40-60

30-50

 70-80

15-20

60-80

50-70

80-100

20-25

80-100

70-80

100-150

более 25

100-150

80-100

150-200

2.16. Общее число катков устанавливают, исходя из производительности каждого катка. Производительность определяется по каждому типу катков с учетом проходов, а затем определяется общее количество катков при заданной сменной производительности.

2.17. Бригада укомплектовывается следующими дополнительными механизмами, выполняющими вспомогательные операции: компрессорами с пневмомолотками или лопатками для обрубки краев ранее устроенных полос покрытия и для очистки основания от пыли сжатым воздухом; поливомоечными машинами со щеткой для очистки и промывки основания, а также для обеспечения катков водой для орошения пневматических шин и металлических вальцев; автогудронаторами для доставки и распределения по основанию битумной эмульсии; разогревателями, использующими тепловую энергию инфракрасного излучения для разогрева мест сопряжении полос и исправления дефектных мест.

2.18. Бригаде выдают следующие основные приборы, приспособления и инвентарь: нивелир и набор визирок для геодезической разбивки и переноса высотных отметок к месту укладки смеси; вибротрамбовки и ручные трамбовки для уплотнения смеси вручную в недоступных для работы катков местах; бетонные сегменты; металлические (из легкого металла) рейки с уровнем, шаблоны для контроля ровности устраиваемого покрытия.

2.19. Число рабочих-асфальтобетонщиков определяется видом и сменным объемом работ, а также производительностью асфальтоукладчика и устанавливается на основании карт организации труда по каждому трудовом процессу, устанавливается рациональный состав бригады и способы взаимодействия в ней рабочих, обеспечивающих высокие результаты работ при наименьших затратах труда.

Транспортирование и приемка на объекте асфальтобетонной смеси

2.20. Транспортирование асфальтобетонной смеси к месту укладки должно, как правило, производиться в автомобилях-самосвалах большой грузоподъемности:

а) оборудованных устройствами для подогрева кузовов отходящими газами и тентом для укрытия перевозимой смеси;

б) имеющих подъемное устройство, обеспечивающее постепенное увеличение угла наклона кузова с фиксацией его положения в нескольких местах;

в) имеющих конструкцию подвески, которая создавала бы минимальную вибрацию при движении.

2.21. Доставка асфальтобетонной смеси должна быть ритмичной. При перерывах в доставке смеси или в других случаях, приведших к остановке асфальтоукладчика, последний должен быть освобожден от асфальтобетонной смеси: летом - при перерыве более 30 мин., при пониженных температурах воздуха - более 15 мин. Асфальтоукладчик должен при этом выдвигаться вперед, чтобы обеспечить возможность уплотнения всей уложенной смеси до ее остывания.

2.22. При выгрузке асфальтобетонной смеси автомобиль-самосвал должен останавливаться за 0,5 м перед асфальтоукладчиком строго по оси его движения. Асфальтоукладчик подвигается к автомобилю-самосвалу, пока его направляющие ролики не придут в соприкосновение с задними колесами автомобиля. Асфальтоукладчик двигает автомобиль-самосвал впереди себя до тех пор, пока он не освободится от смеси. При выгрузке смеси бункер асфальтоукладчика должен быть равномерно заполнен.

2.23. Перед загрузкой смесью стенки приемного бункера должны быть тщательно очищены и смазаны. В случае прилипания смеси к стенкам бункера последняя отделяется от него и перемешивается с горячей смесью, находящейся в бункере. Для обеспечения полного освобождения бункера от смеси предусматривается подъем боковых стенок бункера.

Укладка смеси

2.24. Распределение асфальтобетонной смеси производится асфальтоукладчиками при скорости укладки 2-3 км/час (смеси с содержанием щебня более 40 %) и 4-5 км/час (менее 40 % щебня). Уплотняющие рабочие органы работают в режиме: частота оборотов валов трамбующего бруса 1000-1400 об/мин; вала вибратора плиты 2500-3000 об/мин.

В труднодоступных местах при небольших объемах работ допускается укладка смеси вручную.

Распределение асфальтобетонной смеси, находящейся в бункере асфальтоукладчика, производится при ее температуре не ниже 120 °С, а при применении смесей с поверхностно-активными веществами - не ниже 100 °С.

2.25. Приступая к укладке смеси следует придерживаться следующих правил:

а) распределять асфальтобетонную смесь желательно на всю ширину проезжей части дороги с целью ликвидации продольного сопряжения - спаек;

б) установить асфальтоукладчик в исходное положение: плиту установить на край ранее устроенного покрытия или на брус толщиной, соответствующей толщине укладываемого слоя, включить двигатель и приборы разогрева плиты и бункера, установить в рабочее положение следящую систему;

в) отрегулировать уплотняющие и выдвигающиеся органы асфальтоукладчика не только на максимальный уплотняющий эффект, но и на обеспечение однородной фактуры и ровной поверхности. Для нормальной работы асфальтоукладчиков необходимо, чтобы загрузка шнеков была равномерной, исключающей отсутствие асфальтобетонной смеси в зоне работы шнека;

г) установить рабочую скорость асфальтоукладчика в зависимости от вида смеси, ее температуры, толщины слоя и количества поставляемой смеси. Необходимо, чтобы асфальтоукладчик продвигался вперед с постоянной скоростью, без остановок и объем смесей перед уплотняющими органами был постоянным;

д) толщину укладываемого слоя в неуплотненном состоянии следует принимать с учетом коэффициента уплотнения, равным 1,20-1,45;

е) ширину полосы укладки с учетом использования уширителей асфальтоукладчика целесообразно назначать кратной ширине проезжей части.

2.26. При использовании двух и более асфальтоукладчиков они должны двигаться уступом с опережением один другого на 10-20 м и с перекрытием смежных полос на 50 мм. Вперед выдвигается укладчик, распределяющий смесь непосредственно у бортового камня в лотке проезжей части. Этот укладчик двигается на расстоянии 100 мм от бортового камня, а образующийся зазор и места, недоступные для механической укладки смеси (колодцы и резкие закругления) заделываются вручную одновременно с работой укладчика. При ручной укладке смесь с лопаты не следует бросать, а укладывать в слой, переворачивая лопату. Движение асфальтоукладчиков должно быть строго прямолинейным.

2.27. В случаях, когда покрытие нельзя устраивать сразу на всю ширину и распределение смеси производится одним асфальтоукладчиком, длина укладываемой полосы устанавливается по п. 2.12. Если температура ранее уложенной смежной полосы ниже требуемой, ее край на ширину до 150 мм следует прогреть с помощью линейки-разогревателя, использующей тепловую энергию инфракрасного излучения.

Линейка-разогреватель позволяет разогревать асфальтобетон слоем 30-40 мм за 2-3 мин до температуры 80-100 °С.

2.28. При сопряжении смежных полос линейку-разогреватель перемещают со скоростью, обеспечивающей нагрев асфальтобетона до температуры 70-80 °С по краю ранее уложенной полосы асфальтобетона, который на ширину 100-150 мм не подвергался уплотнению. Вновь устраиваемая полоса соприкасается в этом случае с разогретым краем ранее устроенной полосы, который подвергается уплотнению одновременно с новой полосой.

До начала укладки новой полосы вертикальный край ранее уложенного асфальтобетона смазывается битумной эмульсией. При устройстве новой полосы смесь распределяется толщиной слоя с учетом его уменьшения при уплотнении до толщины ранее устроенной полосы.

2.29. При окончании укладки смеси слой ее клинообразно утончается. При возобновлении работ клинообразная часть слоя обрубается вертикально по рейке или шнуру в направлении, перпендикулярном оси дороги.

Толщина покрытия в местах обрубки должна быть не менее проектной. Для образования качественного поперечного стыка в месте обрубки слоя, вертикальная грань ранее уложенного слоя смазывается битумной эмульсией, и на это место устанавливается плита асфальтоукладчика. Необходимо, чтобы плита перед началом укладки была прогрета обогревающими устройствами или горячей асфальтобетонной смесью.

Другим способом устройства поперечного шва является укладка в поперечном направлении деревянного бруса по толщине равного толщине уплотненного слоя асфальтобетона. Брус может быть укреплен металлическими штырями. Для смягчения толчков от движущегося транспорта перед брусом укладывается клинообразный упор из асфальтобетонной смеси.

2.30. При укладке асфальтобетонных смесей в два и более слоев продольные швы слоев следует смещать на 100-200 мм, причем продольный шов на верхнем слое должен совпадать с осью дороги.

2.31. После перерыва в работе асфальтоукладчик следует устанавливать так, чтобы выглаживающая плита перекрывала край ранее уложенной полосы на 100-150 мм.

2.32. Если в полосе укладки встречаются выступающие крышки колодцев, водоприемные решетки, выглаживающая плита асфальтоукладчика должна быть поднята. Укладку смеси на пропущенном месте следует производить вручную путем добавления смеси, взятой из приемного бункера.

2.33. Обнаруженные дефекты на поверхности покрытия после распределения смеси, особенно в местах примыкания к упорным брусьям, обрабатываются с помощью ручных трамбовок.

Уплотнение смеси

2.34. Уплотнение асфальтобетонной смеси следует начинать при максимально высокой температуре смеси, при которой не образуются деформации в процессе укатки (табл. 5).

Таблица 5

Ориентировочная температура асфальтобетонной смеси в начале уплотнения

Вид смеси (содержание щебня, % по массе)

Тип

Температура, °С

Щебеночная (от 50 до 60)

А

130-150

Щебеночная (от 40 до 50)

Б

120-140

Щебеночная (от 30 до 40)

В

100-130

Песчаная на дробленом песке

Г

130-140

Песчаная на природном песке

Д

110-130

Смеси для основного (нижнего) слоя

-

120-150

2.35. Для уплотнения асфальтобетонных покрытий применяют самоходные дорожные катки легкого и тяжелого типа; статического и вибрационного действия; пневмоколесные и комбинированные (Приложение 10).

В зависимости от типа катков, степени предварительного уплотнения смеси рабочими органами асфальтоукладчика надлежит производить: предварительное уплотнение гладковальцовым катком массой 6-8 т (до 6 проходов по одному следу), затем катком на пневматических шинах (8-10 проходов), окончательная укатка гладковальцовым катком массой 10-18 т (4-6 проходов).

Уплотнение многощебенистых смесей рекомендуется производить сначала катками на пневматических шинах (10-12 проходов), а затем гладковальцовым катком массой 10-18 т (2-4 прохода).

2.36. Рабочая скорость движения катков при уплотнении должна быть в начале уплотнения 1,5-2 км/час, после 5-6 проходов по одному следу - 3-5 км/час для гладковальцовых катков, 2-3 км/час - для вибрационных катков и 5-8 км/час - для катков на пневматических шинах.

2.37. При двухскатном профиле катки должны двигаться по уплотняемому покрытию от краев полосы к середине, а затем от середины к краям, перекрывая каждый след на 200-300 мм. При устройстве покрытий односкатного профиля уплотнение следует начинать с низовой стороны, а на участках улиц и дорог с продольным уклоном более 30%о - снизу вверх.

При уплотнении первой полосы необходимо следить, чтобы вальцы катка не приближались менее чем на 100 мм к кромке, обращенной к оси дороги. Оставшаяся неуплотненная полоса закатывается позже, одновременно с последующей устраиваемой полосой асфальтобетонного покрытия.

Первые проходы при уплотнении следующей полосы необходимо выполнять по продольному сопряжению с ранее уложенной полосой, при этом каток массой 10 т должен двигаться вперед ведущими вальцами.

По окончании укладки, или при вынужденных перерывах в работе, при уплотнении в концах уложенной полосы необходимо следить за тем, чтобы катки заходили на брус, установленный поперек проезжей части.

2.38. При ширине проезжей части более 14 м, а также на площадях и перекрестках улиц уплотнение следует производить по взаимоперпендикулярным направлениям или по диагонали.

2.39. В процессе уплотнения после первых 2-3 проходов катка следует проверять поперечный уклон и ровность покрытия шаблоном и трехметровой рейкой. Места, не поддающиеся поверхностному исправлению, следует вырубать и заменять новым асфальтовым бетоном.

После уплотнения следует произвести отделку поверхности с устранением мелких неровностей, применяя утюги, использующие тепловую энергию инфракрасного излучения.

2.40. В процессе работ по устройству покрытия запрещается:

- заправлять катки и асфальтоукладчики на свежеуложенном и перекрываемом асфальтобетонном покрытии. Для заправки следует выводить механизмы на обочины, боковые выезды или воротные заезды;

- останавливать катки на свежеуложенном покрытии. В случае аварийной остановки принять срочные меры к выводу катка из зоны работ;

- переключать скорости при резком торможении на уплотненном покрытии;

- производить повороты на неуплотненном покрытии. Для изменения направления движения катки следует выводить на уплотненную часть покрытия;

- оставлять катки на свежеуложенном покрытии по окончании работ.

2.41. Чтобы предотвратить прилипание асфальтобетонной смеси к вальцам катка, их рекомендуется смачивать водой или водным однопроцентным раствором отходов мыловаренной промышленности. Не разрешается применять для этих целей соляровое масло и топочный мазут.

2.42. Технология производства работ по устройству слоев износа из асфальтобетонных смесей с применением щебня из искусственных каменных материалов предусматривает операции, которые имеют место при строительстве асфальтобетонных покрытий из обычных горячих асфальтобетонных смесей с соблюдением следующих требований, учитывающих особенности материалов:

а) толщина укладываемого слоя в плотном теле должна быть не ниже 40 мм;

б) укладка смеси механизированным способом допустима только по свежеуложенному основному или нижнему слою асфальтобетонного покрытия. При капитальном ремонте, при укладке слоя износа по старому покрытию допускается применение смесей, обеспечивающих получение "мозаичной" фактуры поверхности;

в) выбор уплотняющих механизмов должен производиться с учетом вида смесей. При устройстве покрытий ковровой фактуры в звено уплотняющих механизмов следует включать катки вибрационного действия и катки на пневматических шинах, уменьшающих дробление каменного материала при укатке.

Особенности устройства основного слоя монолитного асфальтобетонного покрытия

2.43. Основной слой устраивается слоями максимально возможной толщины, чтобы создать монолитность плиты. При многослойной укладке все слои должны быть устроены в течение одной смены. С этой целью рассчитывают оптимальную длину дневной захватки. Каждый последующий слой укладывается только после остывания нижнего до 50 °С при температуре наружного воздуха ниже +10 °С и до 20-30 °С при температуре выше +10 °С.

2.44. Приготовление, укладка и уплотнение смесей при устройстве слоев толщиной 0,1-0,22 м осуществляют в соответствии с приведенными выше правилами производства работ и нижеследующими рекомендациями:

а) для укладки асфальтобетонных смесей следует применять асфальтоукладчики с шириной укладываемой полосы 7,5 м, устраивая основной слой, как правило, одновременно на всю ширину проезжей части;

б) при укладке одним асфальтоукладчиком полосы шириной 3,03 м длина захвата должна быть не более 60-100 м в зависимости от толщины слоя и температуры наружного воздуха. Подача асфальтобетонной смеси должна быть не менее 60 т/ч на каждый укладчик при ширине укладки до 3,5 м;

в) для предотвращения раскатывания и разрушения кромки укладываемых слоев повышенной толщины должны быть установлены боковые упоры, высота которых должна быть равна толщине уплотненного слоя. Брусья устанавливают на технологический слой и фиксируют их положение с внешней стороны штырями (2 шт. на брус длиной 4-5 м). Упоры следует устанавливать по ходу движения асфальтоукладчиков с опережением на 0,4-0,5 длины сменной захватки;

г) если укладка полосы прерывается на время, превышающее период остывания смеси, то заканчивать полосу следует упорным брусом, устанавливаемым перпендикулярно к оси дороги вплотную к слою уложенной асфальтобетонной смеси;

д) уплотнение слоем толщиной более 0,1 м из крупнозернистых смесей следует начинать сначала самоходными катками на пневматических шинах (6-8 проходов по одному следу), а заканчивать гладковальцовыми катками двуосными массой 10-13 т или трехосными массой 11-18 т (4-6 проходов), или сначала катками массой 8-10 т (2-4 прохода), а затем катками массой 11-18 т (12-20 проходов);

е) рабочая скорость движения катка на пневматических шинах при первых 2-3 проходах по одному следу не должна превышать 2-3 км/ч; последующие проходы следует производить со скоростью 12-15 км/ч. Давление воздуха в шинах катка в начале укатки должно быть не более 0,3 МПа, а на заключительном этапе уплотнения 0,6-0,8 МПа;

ж) при уплотнении смесей с содержанием щебня более 50 % допустимо использовать вибрационные катки, при этом первые два-три прохода по одному следу каток делает с выключенным вибратором, затем три-четыре прохода с включенным. После работы вибратора доуплотнение и выравнивание поверхности выполняют с помощью тяжелого трехосного катка.

2.45. При устройстве основного слоя асфальтобетонного покрытия толщиной более 0,2 м распределение и уплотнение смеси следует производить в два слоя (части). Для обеспечения монолитности основного слоя устройство нижней части должно опережать устройство верхней части не более чем на длину захватки, которая принимается с таким расчетом, чтобы температура уплотненной нижней части к моменту начала устройства верхней была бы не ниже 50 °С. В исключительных случаях, когда нет возможности выполнить это условие и когда верхнюю часть устраивают не по свежеуложенной нижней, а с большим разрывом во времени, необходимо перед устройством верхней части основного слоя произвести подготовку нижней части в соответствии с требованием пунктов раздела "Подготовительные работы".

Особенности устройства асфальтобетонных покрытий по литьевой технологии

2.46. Устройство конструктивных слоев асфальтобетонных покрытий [13, 24] по литьевой технологии производят механизированным способом без последующего уплотнения смеси (тип смесей I и V), с уплотнением смеси вибротрамбующим брусом асфальтоукладчика (тип смесей II и III) и с уплотнением смеси самоходными гладковальцовыми или вибрационным катками (тип смеси IV).

2.47. Транспортирование смеси к месту производства работ в зависимости от ее типа производится:

а) I и V в специальных передвижных котлах (термос-бункерах), оборудованных лопастной мешалкой и системой подогрева и обеспечивающих в необходимых случаях порционную выгрузку с варьированием скорости выдачи смеси;

б) II, III и IV в автомобилях-самосвалах большой грузоподъемности, как правило, оборудованных утепленными кузовами. Продолжительность транспортировки смеси не должна превышать 30-40 мин.

2.48. При распределении смеси используются:

а) тип I - самоходные асфальтоукладчики для литого асфальтобетона, оборудованные электронной следящей системой, обогреваемой выглаживающей плитой и обогреваемым приемным бункером, позволяющим производить приемку смеси из передвижных котлов;

б) тип II, III - самоходные асфальтоукладчики, оборудованные вибротрамбующей плитой и приемным бункером, позволяющим производить выгрузку смеси из автомобилей-самосвалов большой грузоподъемности.

2.49. При укладке смеси в состав проекта производства работ должна включаться циклограмма транспортирования смеси от АБЗ до объекта. В графике производства работ указывается требуемое количество передвижных котлов (автомобилей-самосвалов), время их прибытия на АБЗ, количество рейсов на каждую машину, время начала и окончания работ, количество смеси.

2.50. Перед началом загрузки передвижного котла смесью, в нем зажигают форсунки и производится нагрев его до 180-190 °С. Крышка загрузочного отверстия передвижного котла должна быть открыта не ранее чем за 5 мин до загрузки котла смесью.

2.51. В процессе транспортирования смесь непрерывно перемешивается, а температура ее в котле поддерживается на уровне 220-240 °С. Общее время перемешивания смеси в котле должно быть не менее 20 мин.

2.52. Доставка смеси к месту укладки должна быть непрерывной и производиться навстречу движению строительного потока. Производительность смесительной установки, количество передвижных котлов и производительность асфальтоукладчика должны быть согласованы между собой.

2.53. Выгрузка смеси в приемный бункер асфальтоукладчика производится при наклоне выпускного лотка и одновременной работе лопастной мешалки в котле.

2.54. Приемка автомобилей-самосвалов и выгрузка из них смеси в приемный бункер асфальтоукладчика осуществляются под руководством специально выделенного опытного рабочего-сигнальщика, имеющего красную повязку.

2.55. Температура смеси в асфальтоукладчике должна быть: для смеси типа I - 220-240 °С, типа II - 210-230 °С.

2.56. Перед распределением литой смеси выглаживающая плита асфальтоукладчика должна быть установлена на край ранее уложенного слоя или на брус, толщина которого соответствует толщине укладываемого слоя. Для предотвращения растекания укладываемого слоя применяется скользящая опалубка, перемещающаяся за асфальтоукладчиком. При отсутствии ее до начала распределения смеси должны быть установлены в продольном направлении и закреплены упорные деревянные или металлические брусья, состоящие из звеньев общей длиной до 20 м. Высота бруса должна соответствовать проектной толщине укладываемого слоя. По мере остывания уложенного слоя, брусья переставляются.

2.57. Распределение смеси, как правило, производится одновременно и непрерывно по всей ширине проезжей части улицы. При работе нескольких асфальтоукладчиков, они должны двигаться уступами с опережением 25-30 м.

При работе с одним асфальтоукладчиком длина захватки устанавливается из расчета, чтобы край уложенной полосы при устройстве смежной полосы имел температуру 100-130 °С.

2.58. Обнаруженные дефекты на поверхности покрытия после распределения смеси, особенно в местах примыкания: к упорным брусьям, обрабатываются вручную с помощью специальных ручных трамбовок.

2.59. Щебень черный горячий для втапливания в покрытие доставляется на объект в автомобилях-самосвалах до начала распределения смеси в количестве, необходимом для бесперебойной работы; равномерно распределяется механизмами или вручную по поверхности устраиваемого покрытия.

2.60. Обработка поверхности покрытия производится россыпью по нему щебня черного горячего фракций 3-5 (8) или 5-8 (10) мм [15]. Россыпь щебня производится немедленно после распределения смеси, вслед за асфальтоукладчиком, равномерным сдоем в одну щебенку. Ориентировочный расход щебня для смеси типа I - 5-8 кг/м2. После остывания покрытия до температуры 80-100 °С допускается прикатка распределенного щебня ручным катком массой до 30-50 кг. После охлаждения уложенного слоя до температуры наружного воздуха невтопившийся щебень должен сметаться.

2.61. Движение автомобильного транспорта по готовому покрытию открывается по достижении покрытием температуры наружного воздуха, но не ранее чем через 3 часа после завершения работ.

Особенности устройства асфальтобетонных покрытий при пониженных температурах наружного воздуха

2.62. Для продления строительного сезона допускается производить работы по устройству отдельных конструктивных слоев асфальтобетонного покрытия при температуре воздуха ниже 10 °С (осенью) и +5 °С (весной).

При отрицательных температурах (до минус 15 °С) устройство асфальтобетонных покрытий производится только в закрытых помещениях и, как исключение, при аварийных (временных) ремонтных дорожных работах.

2.63. Устройство асфальтобетонных покрытий при пониженных температурах воздуха требует соблюдения специальных правил:

а) иметь заблаговременно (до наступления холодного периода) подготовленное основание;

б) толщина укладываемого слоя увеличивается на 10 мм, для верхнего слоя принимается не менее 50 мм;

в) используются асфальтобетонные смеси с увеличенным содержанием битума, то есть с водонасыщением на нижнем допускаемом пределе;

г) укладка асфальтобетонной смеси производится при слабом ветре;

д) подача смеси осуществляется интенсивно и ритмично в автомобилях-самосвалах с утепленными и обогреваемыми кузовами; исключается простой асфальтоукладчика. Смесь укрывается матами или плотными брезентовыми чехлами: для сохранения температуры смеси особенно эффективно использовать автомобили-самосвалы большой грузоподъемности.

2.64. Распределение и уплотнение асфальтобетонных смесей производят с соблюдением следующих дополнительных правил:

а) температура асфальтобетонной смеси при распределении должна быть не ниже 150 °С;

б) асфальтобетонная смесь должна распределяться асфальтоукладчиками. Выравнивающая плита должна непрерывно нагреваться, а трамбующий брус постоянно работать. При работе одним укладчиком длину захватки следует уменьшать, чтобы новая полоса примыкала к теплой, не остывшей кромке ранее уложенной полосы;

в) распределять асфальтобетонную смесь следует немедленно, не допуская простоя автомобилей-самосвалов;

г) уплотнение смеси производить только тяжелыми катками, количество катков по сравнению с летней нормой должно быть увеличено. Желательно применение вибрационных катков и катков на пневматических шинах. Прилипание асфальтобетонной смеси к вальцам катков предотвращают смачиванием их горячей водой или водно-соляной смесью (соотношение соли к воде 1:8-1:10);

д) температура асфальтобетонной смеси при уплотнении должна быть не ниже 130 °С;

е) уплотнение слоя уложенной смеси следует вести звеном катков на всю ширину полосы при скорости движения катка в начале укатки не более (2 км/ч), при этом часть катков должна быть оборудована приспособлениями для обогрева вальцов, в частности, вальцы трехосных трехвальцовых катков целесообразно заполнять горячей водой. Количество проходов катка должно составлять не менее 15 по одному следу;

ж) в процессе производства работ основное внимание должно быть уделено качеству устройства и отделке мест сопряжении в продольном и поперечном направлениях.

3. ТЕХНИЧЕСКИЙ КОНТРОЛЬ КАЧЕСТВА РАБОТ

3.1. Технический контроль асфальтобетонных покрытий городских улиц и дорог осуществляется в полном соответствии с требованиями утвержденных проектов и действующих, нормативно-технических документов.

Технический контроль включает лабораторные определения показателей свойств, методы проведения которых закреплены в государственных стандартах, технических условиях и ведомственных строительных нормах. Режим приготовления образцов из асфальтобетонных смесей и обработка результатов по видам испытаний должны соответствовать требованиям, приведенным в приложениях 7 и 8.

3.2. В процессе устройства асфальтобетонного покрытия и в период его формирования контролируют:

а) качество восстановления разрытий;

б) ровность, плотность и состояние (обработка вяжущими) основания, правильность установки бортовых камней, решеток и люков колодцев подземных сетей;

в) температуру смеси на всех стадиях устройства покрытия;

г) ровность и равномерность толщины устраиваемого слоя с учетом коэффициента уплотнения;

д) режим уплотнения;

е) качество сопряжения полос асфальтобетонного покрытия;

ж) соответствие поперечного и продольного уклонов проекту.

3.3. При контроле готового покрытия проверяют: толщину слоев и сцепление их с нижележащими; коэффициент уплощения; показатели свойств асфальтобетона и параметры сцепных свойств.

3.4. Ширину и поперечный профиль покрытий проверяют через 100 м. Ровность покрытия в продольном и поперечном направлении проверяют через 30-50 м. Замеры производят параллельно оси дороги на расстоянии 1-1,5 м от бортового камня.

3.5. Для контроля качества готового асфальтобетонного покрытия пробы (вырубки и керны) берут не ближе 1,5 м от бортового камня. Пробы отбирают не ранее чем через 3 суток после окончания уплотнения и открытия по нему движения автомобильного транспорта из расчета: одна проба с каждых 3000 м2 покрытия.

4. ПРАВИЛА ПРИЕМКИ

4.1. Покрытие проезжей части не должно иметь просадок, выбоин, иных повреждений, затрудняющих движение транспортных средств. При приемке выполненных работ надлежит произвести освидетельствование работ в натуре: контрольные замеры транспортно-эксплуатационного состояния улиц и дорог, ознакомление с результатами испытаний строительных материалов и контрольных образцов, записями в журналах производства работ и при необходимости производят дополнительные испытания. Сцепление и ровность покрытия оценивают приборами ПКРС, ППК-МАДИ-ВНИИБД, трехметровой рейкой с клином в соответствии с прилагаемыми к ним инструкциями по эксплуатации. Контроль линейных параметров, характеризующих техническое состояние дорог и улиц, следует осуществлять с помощью линейки или рулетки. Контроль других параметров, не имеющих количественной оценки, осуществляется визуально. Предъявление требований к транспортно-эксплуатационному состоянию должно производиться с учетом отнесения улиц и дорог к группам А, Б, В в зависимости от интенсивности движения: А (более 3000 авт/сутки), Б (от 1000 до 3000 авт/сутки), В (менее 1000 авт/сутки).

4.2. Предельно допустимые повреждения покрытия и сроки их ликвидации должны определяться по нормам, приведенным в таблице 6.

Таблица 6

(извлечение из ГОСТ Р 50597-93)

Группа дорог и улиц по их транспортно-эксплуатационным характеристикам

Повреждения на 1000 м2 покрытия, м2, не более

Сроки ликвидации повреждений, сут., не более

для строительного сезона

для весеннего периода

А

0,3

1,5

5

Б

1,5

3,5

7

В

2,5

7,0

10

Предельные размеры отдельных просадок, выбоин и т.п. не должны превышать по длине - 15 см, ширине - 60 см и глубине - 5 см.

4.3. Ровность поверхности покрытия проезжей части должна соответствовать требованиям, приведенным в таблица 7.

Таблица 7

(извлечение из ГОСТ Р 50597-93)

Группа дорог и улиц по их транспортно-эксплуатационным характеристикам

Состояние покрытия по ровности

показатель ровности по прибору ПКРС-2, см/км, не более

число просветов под трехметровой рейкой, %, не более

А

660

7

Б

860

9

В

1200

14

4.4. Коэффициент сцепления покрытия, измеряемый прибором ПКРС-2 (ТУ 78.1.003-86), должен обеспечивать безопасные условия движения с разрешенной правилами дорожного движения скоростью и быть не менее 0,3 при его измерении шиной без рисунка протектора и 0,4 - шиной, имеющей рисунок протектора.

4.5. Время, необходимое для устранения причин, снижающих сцепные качества покрытий в зависимости от вида работ, устанавливают с момента обнаружения этих причин, и оно не должно превышать значений, приведенных в таблице 8.

Таблица 8

(извлечение из ГОСТ Р 50597-93)

Работы по повышению сцепных качеств покрытий

Время, необходимое для выполнения работ, сут., не более

Устранение скользкости покрытия, вызванной выпотеванием битума

4

Очистка покрытия от загрязнений

5

Повышение шероховатости покрытия

15

4.6. Отклонение люков смотровых колодцев относительно уровня покрытия не допускается более 2,0 см, а отклонение решетки дождеприемника относительно уровня лотка более 3,0 см.

Не допускается отклонение верха головки рельсов трамвайных или железнодорожных путей, расположенных в пределах проезжей части, относительно покрытия более 2,0 см. На железнодорожных переездах не допускается возвышение междурельсового настила над верхом рельсов более 3,0 см, а глубина неровностей в покрытии междурельсового пространства (настила) не должна быть более 4,0 см.

4.7. Обочины и разделительные полосы, не отделенные от проезжей части бордюром, не должны быть ниже уровня прилегающей кромки проезжей части более чем на 4,0 см.

Возвышение обочины (разделительной полосы) над проезжей частью при отсутствии бордюра не допускается.

4.8. Состояние разделительных полос по степени деформации и ровности их покрытия должно соответствовать значениям, установленным для покрытий проезжей части. Устранение дефектов разделительной полосы следует осуществлять в течение не более 14 суток с момента обнаружения.

4.9. Повреждение грунтовых обочин (разделительных полос) не должно превышать значений, приведенных в таблице 9.

Таблица 9

(извлечение из ГОСТ Р 50597-93)

Группа дорог по их транспортно-эксплуатационным характеристикам

Повреждения на 1000 м2 покрытия, м2, не более

Глубина повреждений, см, не более

А

5,0

5,0

Б

7,0

7,0

В

15,0

10,0

4.10. Степень уплотнения асфальтобетонных покрытий оценивается по данным лабораторных испытаний образцов, взятых из покрытий. Она определяется как отношение средней плотности образца, взятого из покрытия (вырубки, керна) к средней плотности переформованного образца, уплотненного стандартизованной нагрузкой.

Коэффициент уплотнения слоя износа асфальтобетонного покрытия должен быть не ниже: из смесей высокоплотных и смесей плотных типа А и Б - 0,99; типа В, Г, Д и для нижнего и основного слоев - 0,98; из смесей с применением щебня из искусственных каменных материалов при фактуре поверхности ковровой или мозаичной - соответственно 0,99 и 0,97.

Водонасыщение в % по объему для образцов из покрытий (вырубок или кернов) должно быть не более : из смесей типа высокоплотных - 3,0; плотных А - 5,0; Б, В, Г - 4,5; Д - 4,0; для основного и нижнего слоев - 3,0-8,0.

Если коэффициент уплотнения равен 1, то величина водонасыщения должна быть в пределах норм, приведенных в стандартах.

4.11. При отборе проб измеряют толщину слоев покрытия и визуально оценивают прочность сцепления их между собой и с основанием.

5. ТЕХНИКА БЕЗОПАСНОСТИ И ОХРАНА ТРУДА ПРИ УСТРОЙСТВЕ АСФАЛЬТОБЕТОННЫХ ПОКРЫТИЙ
(основные положения)

5.1. Основу настоящего раздела составляют положения СНиП III-4-90 "Техника безопасности в строительстве" и "Правил по охране труда в дорожном хозяйстве", М., Стройиздат, 1989.

5.2. К работам по устройству дорожных конструкций допускаются лица, достигшие совершеннолетия, прошедшие медицинский осмотр, вводный (общий) инструктаж по технике безопасности и инструктаж по технике безопасности на рабочем месте (проводится также при переходе на другую работу и при изменении условий труда).

Проведение инструктажа оформляется документально.

После инструктажа не позднее одного месяца со дня поступления на строительство необходимо обучить рабочих по утвержденной программе безопасным методам работы. По окончании обучения организуется проверка знаний рабочих с выдачей им удостоверений. Проверка знаний проводится ежегодно.

5.3. К работе на механизмах допускаются лица, имеющие удостоверение о прохождении техминимума и право на управление механизмами.

Рабочие, занятые на работах по устройству асфальтобетонных покрытий, обучаются безопасным приемам выполнения работ.

5.4. В бытовых помещениях должна быть аптечка с медикаментами и средствами оказания первой помощи пострадавшим, а также бачок с питьевой водой.

5.5. Рабочие должны быть снабжены спецодеждой и защитными приспособлениями (респиратор, защитные очки) в соответствии с действующими нормами.

5.6. Во всех опасных в пожарном отношении местах должны быть установлены щиты с противопожарным инструментом.

Запрещается курить и пользоваться открытым огнем при обращении с легковоспламеняющимися материалами и жидкостями.

5.7. Рабочие, обслуживающие машины, должны быть одеты в спецодежду установленного образца, а также в специальный сигнальный жилет. Спецодежда и спецобувь должны содержаться в опрятном состоянии.

5.8. Перед началом работы следует проверить ручной инструмент, который должен иметь исправные рукоятки, гладкую поверхность и должен быть плотно насажен на металлические части. Конструкция механизированного ручного инструмента должна отвечать требованиям "Санитарных норм и правил при работе с инструментами, механизмами и оборудованием, создающими вибрацию, передаваемую на руки работающих, и по ограничению общей вибрации рабочих мест".

5.9. Установить дорожные сигнальные знаки на расстоянии 10 м от места производства работ. При этом следует руководствоваться ГОСТ Р 50597-93.

5.10. Место производства работ оградить штакетными барьерами установленного образца, сплошными деревянными щитами ограждения и дорожно-сигнальными переносными знаками или специальными конусами, окрашенными в яркие цвета. Вечером, ночью и во время тумана по внешним контурам ограждений и на дорожно-строительных знаках вывешиваются сигнальные красные фонари, свет от которых должен быть виден на расстоянии не менее 100 м.

Стандартные ограждения устанавливают поперек дороги с обеих сторон сплошными рядами, а вдоль дороги - с интервалами 5-10 м. Конусы должны устанавливаться не реже чем через 3 м.

5.11. При установке бортов в местах кабельных прокладок запрещается работать ломами, клиньями. Грузить и выгружать бортовые камни следует при помощи подъемных механизмов, оборудованных специальными захватами. При необходимости разрешается переносить бортовые камни четырем рабочим при помощи специальных клещей. Перемещение их волоком запрещается.

Осадку камней трамбовкой разрешается производить только через деревянную прокладку, удерживаемую на осаживаемом камне специальными клещами.

5.12. Бригадир совместно с общественным инспектором по технике безопасности и прорабом осматривают строительную площадку, выявляют имеющиеся нарушения в работе, наличие открытых люков колодцев, отсутствие необходимого ограждения или другие нарушения правил техники безопасности. Все замеченные нарушения устраняются немедленно или устанавливается определенный срок. Результаты осмотра строительной площадки заносятся в журнал 3-звеньевого контроля.

5.13. Для приемки асфальтобетонной смеси, а также других материалов на каждом объекте из состава бригады выделяется рабочий-сигнальщик. Сигнальщик должен быть проинструктирован непосредственно на рабочем месте. Содержание инструктажа и фамилия, имя, отчество сигнальщика должны быть записаны в журнале инструктажа рабочих.

5.14. Прибывающие на объект автомобили встречает и сопровождает к месту разгрузки только сигнальщик, который должен иметь красный флажок и нарукавную повязку.

5.15. Для измерения температуры асфальтобетонной смеси, доставляемой с завода, запрещается становиться на подножку движущегося автомобиля-самосвала.

5.16. Во время разгрузки автомобиля-самосвала запрещается нахождение рабочих у бункера асфальтоукладчика. Запрещается нахождение рабочих между бункером укладчика и автомобилем с асфальтобетонной массой.

5.17. Поднятый кузов автомобиля-самосвала следует очищать от налипших кусков смеси скребком с длинной ручкой. Нельзя ударять по днищу кузова снизу. Рабочим, производящим очистку кузова, следует стоять на земле, а не на колесах или бортах автомобиля-самосвала.

5.18. Запрещается нахождение рабочих на свежеуложенном асфальтобетонном покрытии во время его укатки катками.

5.19. Во время работы выход за зону ограждения места работы категорически запрещается, переходить улицу можно только в установленных для перехода местах.

5.20. Нахождение посторонних лиц в зоне производства работ запрещается.

5.21. Во время перерывов в работе инструмент следует складывать аккуратно и только в зоне ограждения, исключая возможность наезда на него транспорта.

5.22. Все инструменты, спецодежда и защитные приспособления убираются в специально отведенные для них места. Остатки материалов и строительный мусор складируется в специально отведенном месте, не мешающем движению транспорта и пешеходов.

5.23. Установить механизмы в безопасной для движения транспорта зоне, в случае нахождения их на проезжей части оградить конусами, а в вечернее и ночное время обеспечить сигнальным освещением. Запрещается установка катков на проезжей части с уклонами выше 2 %о.

5.25. Перед началом работы в вечернюю и ночную смену сигнальщик должен быть специально проинструктирован с учетом условий работы в темное время суток.

5.26. При перерывах в работе категорически запрещается отдых на уложенном асфальтобетонном покрытии, под катками, в бункерах асфальтоукладчиков, у других механизмов. Отдых при перерывах в работе разрешается только в бытовом помещении.

5.27. Все работающие в вечернее и ночное время механизмы должны быть оборудованы сигнальным освещением, а также иметь звуковой сигнал.

6. ТРЕБОВАНИЕ ОХРАНЫ ОКРУЖАЮЩЕЙ СРЕДЫ

6.1. Асфальтобетонные смеси не образуют токсичных соединений в воздушной среде и в воде, соприкасаясь с другими нетоксичными материалами, при воздействии температуры, давлений, не оказывают отрицательного влияния на окружающую среду.

6.2. Асфальтобетонные смеси, применяемые в дорожных конструкциях, по удельной активности естественных радионуклидов должны соответствовать требованиям ГОСТ 30108-94 [29].

ПРИЛОЖЕНИЯ

ПРИЛОЖЕНИЕ 1
Рекомендуемое

Основные расчетно-экспериментальные зависимости при оптимальных структурах асфальтобетона

Характерные зависимости в системе координат () при оптимальных и неоптимальных структурах асфальтобетона

    или

где

,    

Rtv* - прочность асфальтового вяжущего вещества оптимальной структуры, изготовленного при тех же технологических параметрах (температуре и скорости приложения нагрузки), что и асфальтобетон.

ПРИЛОЖЕНИЕ 2
Обязательное

Технические требования к плотному асфальтобетону для устройства слоев износа (верхних слоев) покрытий улиц и дорог

(извлечение из ГОСТ 9128-97, дорожно-климатическая зона П, г. Москва)

Марк

Наименование показателей

Нормы по типам

Высоко плотные

А

Б

В

Г

Д

I

Пористость минерального остова, % объема (П), не более

19

 

22

 

16

Остаточная пористость, % объема (По)

2,5-5

2,5-5

1-2,5

Водонасыщение, % объема (Wo)

2-5

1,5-4

1,5-4

1-2,5

Предел прочности при сжатии, МПа

 

 

 

 

R50 не менее

1,0

1,2

1,3

1,1

R20 не менее

2,5

2,5

2,5

2,5

R0 не более

11

11

11

11

Водостойкость (Кв), не менее

0,9

0,9

0,95

Водостойкость (Кдл.в.) при длительном водонасыщении, не менее

0,85

0,85

0,9

 

II

Пористость минерального остова, % объема (П), не более

19

22

 

Остаточная пористость, % объема (По)

2,5-5

Водонасыщение, % объема (Wo)

2-5

1,5-4

1-4

Предел прочности при сжатии, МПа

 

 

 

 

 

R50 не менее

0,9

1,0

1,2

1,2

1 3

R20 не менее

2,2

2,2

2,2

2,2

2,2

R0 не более

11

11

11

11

11

Водостойкость (Кв), не менее

0,85

Водостойкость (Кдл.в.) при длительном водонасыщении, не менее

0,75

 

III

Пористость минерального остова, % объема (П), не более

 

19

22

 

Остаточная пористость, % объема (По)

2,5-5

Водонасыщение, % объема (Wo)

1,5-4

1-4

Предел прочности при сжатии, МПа

 

R50 не менее

0,9

1,1

1,0

1,1

R20 не менее

2,0

2,0

2,0

2,0

R0 не более

12

12

12

12

Водостойкость (Кв), не менее

0,75

Водостойкость (Кдл.в.) при длительном водонасыщении, не менее

0,65

ПРИЛОЖЕНИЕ 3
Обязательное

Технические требования к асфальтобетону для нижних слоев покрытий и оснований

(извлечение из ГОСТ 9128-97, дорожно-климатическая зона П, г. Москва)

Наименование показателей

Нормы

 

высокопористые

пористые

щебенистые

песчаные

Зерновой состав минеральной части, размер зерен:

 

 

 

крупнее 5 мм

40-60

40-60

0-10

мельче 0,071 мм

0-8

4-8

4-10

Пористость минерального остова, % по объему, не более

23

24

28

Остаточная пористость , % по объему

5-10

10-18

Водонасыщение, % по объему

5-10

10-18

Предел прочности при сжатии, МПа, при 50 °С, не менее

0,7 (0,5)

Водостойкость (Кв) не менее

0,7 (0,6)

Водостойкость (Кдл.в.) при длительном водонасыщении, не менее

0,6 (0,5)

Примечания: 1) Нормы для смесей марки I, в скобках - II

2) Для крупнозернистого асфальтобетона R50 и Кв не нормируются

ПРИЛОЖЕНИЕ 4
Обязательное

Технические требования к плотному асфальтобетону для устройства основных (нижних) слоев покрытий улиц и дорог

(извлечение из ТУ 400-24-107-91*)

Наименование показателей

Нормы по типам

I

II

III

вид смеси

крупнозернистая

песчаная

Пористость минерального остова, % по объему

15-19

15-19

18-22

Остаточная пористость, % по объему

2-7

2-7

2-7

Водонасыщение, % по объему

1,0-4,5

1,5-6,0

1,0-5,5

Набухание, % по объему, не более

1,0

1,0

1,0

Предел прочности при сжатии, МПа, при 50 °С, не менее

-

-

0,7

Предел прочности на растяжение при изгибе, МПа, при 0 °С, не менее

4,0

3,5

4,5

Модуль упругости, ГПа, при 0 °С, не более

14,0

12,0

15,0

Примечание. Прочность при сжатии нормируется в случаях применения асфальтобетонных, смесей в верхних слоях покрытий улиц и дорог местного значения.

ПРИЛОЖЕНИЕ 5
Обязательное

Технические требования к литому асфальтобетону

(извлечение из ТУ 400-24-158-89*)

Наименование показателей

Нормы по типам

I

II

III

IV

V

Пористость минерального остова, % по объему, не более

20

22

22

22

22

Водонасыщение, % по объему, не более

1,0

1,0

5,0

7,0

0,5

Предел прочности при сжатии, МПа, при температуре 50 °С, не менее

-

1,0

-

0,7

 

Подвижность смеси, мм, при температуре 200° С, не менее

30

25

-

-

30

Глубина вдавливания штампа при температуре 40° С, мм, в пределах

1-6

1-4

-

-

1-10

ПРИЛОЖЕНИЕ 6
Рекомендуемое

Требования к дорожному вязкому нефтяному битуму

Наименование показателей

Нормы

модификации асфальтобетона

1

2

3

4

Глубина проникания иглы, 0,1 мм при температуре, °С:

 

 

 

 

25 (100 г, 5 с), не менее

60-70

45-50

50-60

(110)

0 (200 г, 60 с), не менее

20

10

12

(130)

Температура размягчения по КиШ, °С, не менее

52

55

52

(110)

Растяжимость, см, не менее при температуре, °С:

 

 

 

 

25

50

40

45

50

0

4

3,5

3,5

3,0

Эластичность, %, не менее

-

-

-

75

Температура хрупкости, °С, не выше, минус

15

12

12

20

Температура вспышки, °С, не ниже

230

260

240

240

Индекс пенетрации

от 0 до плюс 1,0

более плюс 2,0

Примечания: 1. Смеси асфальтобетонные, укладываемые механизированным способом, а также по литьевой технологии тип IV;

2. Смеси асфальтобетонные, укладываемые по литьевой технологии тип 1,

3. То же, тип II, III, V;

4. Смеси асфальтобетонные всех модификаций на битуме с добавкой полимера (в скобках показатели свойств в % от исходного битума, обладающего теплостойкостью по КиШ, °С, не ниже 48)

ПРИЛОЖЕНИЕ 7
Обязательное

Режим приготовления образцов из асфальтобетонных смесей

Особенности

Дmax, мм

Образцы

% щебня в смеси

Уплотнение образцов

Браковочные факторы

размеры, мм

F, см2

масса m0, г

режим уплотнения

d

h

способ

давление на образец, МПа

воздействие нагрузки, мин

Формы -

 

 

 

 

 

 

Комбинированный (вибрирование + прессование прессование)

 

 

Образцы деформируются при извлечении (последующие изготовляют после остывания смеси на 5-10° С)

- имеют дефекты кромок

- имеют непараллельность верхней и нижней плоскостей

полые стальные цилиндры

5

50,5

50,5±1,0

20

220-240

менее 50

40,0

±0,5

3±0,1

3±1,0

Приложение нагрузки двустороннее

10

 

 

 

 

 

0,03

3

 

15

71,4

71,4 ±1,5

40

640

 

вибратор:

-3000 кол/мин

-035-045 мм

 

20

 

 

 

670

 

 

 

 

 

 

 

 

 

более 50

 

 

Нагрев формы и вкладышей - 90-100 °С

40

101,0

 101,0 +2,0

80

1900-2000

 

20,0 +0,5

3

Примечания: Если высота образца (ho) не соответствует заданной (h), то требуемую массу смеси для формования образца (т), рассчитывают по формуле:

где      т0 - масса пробного образца, г;

h - требуемая высота образца, мм,

h0 - высота пробного образца, мм.

ПРИЛОЖЕНИЕ 8
Рекомендуемое

Обработка результатов по видам испытаний

Наименование параметров

Размерность

Обработка результатов

точность взвешивания, г

кол-во определ. (средн. арифм.)

допускаемое расхождение параллельных определений

%

точность вычисления параметров

%

Средняя плотность:

 

 

 

 

 

 

 

- асфальтобетона

г/см3

0,01

3

0,02

-

0,01

-

- минеральной части асфальтобетона

-"-

0,01

3

0,02

-

001

-

Истинная плотность:

 

 

 

 

 

 

 

- асфальтобетона и смеси

-"-

-

-

-

-

0,01

-

- минеральной части асфальтобетона и смеси

-"-

-

-

-

-

0,01

-

Пористость минеральной части асфальтобетона

% по объему

-

-

-

-

0,01

01

Остаточная пористость асфальтобетона

-"-

-

-

-

-

-

0,1

Водонасыщение

 

0,01

 

По абсолютной величине

0,5

-

0,1

Набухание

 

0,01

3

параметра

0,2

-

0,1

Предел прочности при сжатии

МПа

 

3

Отдельных образцов

1,0

0,01

0,1

ПРИЛОЖЕНИЕ 9
Справочное

Отечественные асфальтобетоноукладчики для укладки и предварительного уплотнения асфальтобетонных смесей

Модель

Технические характеристики

производительность, т/ч

вместимость бункера, кг

укладываемая полоса

Vраб,

м/мин

ширина, м

толщина, мм

А. Укладчики на гусеничном ходу

ДС-179

250

12000

3,0-7,0

300

1,0-14,0

ДС-189

210

10000

3,0-5,0

200

1,8-8,6

ДС-195

210

10000

3,0-4,5

30-220

1,75-8,57

ДС-199

210

10000

3,0-4,5

220

1,56-7,68

Б. Укладчики на колесном ходу

ДС-181

250

10000

3,0-7,5

300

15,0

ДС-191

250

12000

3,0-4,5

30-300

2,0-10,0

СД-404Б

450

12000

3,0-7,0

300

1,6-5,6

АК-7,5

450

17500

3,0-7,5

300

 

ПРИЛОЖЕНИЕ 10
Справочное

Отечественные самоходные дорожные катки для уплотнения конструктивных слоев дорожной конструкции

Техническая характеристика

Vраб, км/ч

рекомендуемая область использования

модель

масса, кг

ширина уплотняемой полосы, м

основание

покрытие

(слой)

грунтовое

искусственное

нижний

верхний

Катки статического действия

ДУ-47Б-1

6000

1,4

1,9-6,8

-

+

4-

4-

ДУ-63-1

8500

1,7

0-7,0

-

4-

4-

4-

Катки вибрационного действия

ДУ-70

5700

2,0

3,0-6,0

+

+

-

-

ДУ-70-1

кулачковый

6300

 

 

 

 

 

 

ДУ-57А

8800

20200*

2,4

7,0

+

+

-

-

ВГ-1202

12000

2,25

0-5,6

+

+

-

-

ДУ-62А

(ДУ-85)

13000

2,0

6,5

+

-

-

-

ВА-252

2750

1,2

0-5,6

+

+

+

+

ДУ-73

6000

1,4

0-8,0

+

+

+

+

ДУ-54М

1300/

2200*

0,87

1,8-3,0

-

+

+

+

Амкодор

6122

1600

0,9

0-6,0

-

+

+

+

ДУ-72

3800/

5500*

1,08

1,8-5,5

-

+

+

+

ДУ-47БМ

6000

1.4

1,9-6,8

-

+

+

+

ДУ-74

9000

1,7

0-7,0

-

+

+

+

ДУ-63

10500

1,7

0-11,0

-

+

+

+

BA-9W2

11000

2,25

0-6,0

-

+

+

+

Катки пневмоколесные

ДУ-65

12000

1,7

0-8,0

+

+

+

+

Катки вибрационного действия (комбинированные)

ДУ-58А

(ДУ-84)

15000/

16000*

2,0

6,5

+

+

+

-

* Масса катка с балластом

ПРИЛОЖЕНИЕ 11
Справочное

Специализированная техника при строительстве асфальтобетонных покрытий

Модель

Технические характеристики

производительность, м/ч

масса, кг

фрезерование, мм

Vpaб, м/мин

ширина

глубина

Фрезы для холодного фрезерования асфальтобетонного покрытия

ДС-197

180

12000

250-1000

100

10,0

ДЭ-236

-

12000

1000

125

-

Автогудронаторы

 

3

вместимость, л

ширина распределения, м

 

удельная норма розлива, л/м2

ДС-39 Б

-

4000

4,8

-

0,5-2,5

ДС-142Б

-

7500

4,8

-

05-2,5

Автобитумовозы

ДС-138 Б-1

 

10000

 

 

 

АЦБ-12-05

 

12000

 

 

 

ДС-164

 

1800

 

 

 

ППЦБ-12,3

 

12300

 

 

 

ПРИЛОЖЕНИЕ 12
Справочное

Перечень основных нормативных и технических документов, использованных при разработке технических рекомендаций

1. ВСН 14-95. Инструкция по строительству дорожных асфальтобетонных покрытий.

2. Альбом СК 6101-97. Конструкции дорожных одежд для г. Москвы Мосинжпроект, ГУН "НИИМосстрой".

3. МГСН 1.01.98. Временные нормы проектирования и застройки г. Москвы.

4. СНиП 3.06.03-90. Автомобильные дороги.

5. ГОСТ Р 50597-93. Автомобильные дороги и улицы. Требования к эксплуатационному состоянию, допустимому по условиям обеспечения безопасности дорожного движения.

6. ТУ 400-24-150-86. Смеси щебеночные уплотняемые.

7. ВСН 5-92 с изм. №1 и переизд. 96. Инструкция по расчету и конструированию дорожных одежд с монолитными асфальтобетонными покрытиями.

8. ГОСТ 26633-91. Бетоны тяжелые и мелкозернистые. Технические условия.

9. ВСН 2-94. Инструкция по конструкциям и технологии строительства дорог в районах массового жилищного строительства.

10. ВСН 13-95. Инструкция по конструкциям и технологии строительства внутриквартальных дорог.

11. ГОСТ 9128-97. Смеси асфальтобетонные дорожные, аэродромные и асфальтобетон. Технические условия.

12. ТУ 400-24-107-91 с изм. № 1 переизд. 16.02.95. Смеси асфальтобетонные (горячие) и асфальтобетон для монолитных дорожных конструкций. Технические условия.

13. ТУ 400-24-158-89 с изм. № 1, переизд. 16.02.95. Смеси асфальтобетонные литые и литой асфальтобетон. Технические условия.

14. ТУ 400-24-162-89. Смеси асфальтобетонные на искусственных каменных материалах и декоративный асфальтобетон. Технические условия.

15. ТУ 400-24-163-89 с изм. № 1, переизд. 16.02.95. Щебень черный горячий

16. Научные открытия № ОТ-11845 от 01.10.98. Рыбьев И.А "Закон створа" - закономерность соответствия физических свойств и структуры твердого и твердообразного (упруго-вязко-пластичного) материала.

17. ГОСТ 8267-93. Щебень и гравий из плотных горных пород для строительных работ. Технические условия.

18. ГОСТ 8736-93. Песок для строительных работ. Технические условия.

19. ГОСТ 16557-78. Порошок минеральный для асфальтобетонных смесей.

20. ГОСТ 22245-90. Битумы нефтяные дорожные вязкие. Технические условия.

21. ГОСТ 218010-98. Вяжущие полимерно-битумные дорожные на основе блокполимеров типа СБС. Технические условия.

22. ГОСТ 18658-81. Эмульсия битумные дорожные. Технические условия.

23. Пособие по строительству асфальтобетонных покрытий и оснований автомобильных дорог и аэродромов (СНиП 3.06.03-85 и СНиП 3.06-88). СоюздорНИИ, 1991.

24. ВСН 60-97. Инструкция по устройству и ремонту дорожных покрытий с применением литого асфальтобетона.

25. ГОСТ 12801-98. Материалы на основе органических вяжущих для дорожного и аэродромного строительства. Методы испытаний.

26. Сборник нормативных требований к качеству выполнения строительных работ в соответствии с классификатом СНиП II.3. Организация производства и приемка работ. Часть VII. Требования СНиП 3.06.90. Автомобильные дороги. Средства изменения предельных отклонений. Виды, стадии и объемы контроля качества. М, 1995. Мосстройлицензия, АОЗТ ЦНИИОМТП, МАДИ (ТУ)

27. СНиП III-4-90. Техника безопасности в строительстве. Правила по охране труда в дорожном хозяйстве М., Стройиздат, 1989

28. ГОСТ 12.1.005-88 ССБТ, Общие санитарно-гигиенические требования к воздуху рабочей среды

29. ГОСТ 30108-94*. Материалы и изделия строительства. Определения удельной эффективной активности естественных радионуклидов.

СОДЕРЖАНИЕ

1. Конструкции, технические требования и нормы.. 1

Типы конструкций с применением асфальтобетона. 1

Определение и требования, предъявляемые к асфальтобетону и технологии приготовления смесей. 3

2. Правила производства работ. 4

Устройство искусственного основания. 4

Организация работ по устройству асфальтобетонного покрытия. 4

Общие положения. 4

Подготовительные работы.. 5

Транспортирование и приемка на объекте асфальтобетонной смеси. 7

Укладка смеси. 7

Уплотнение смеси. 9

Особенности устройства основного слоя монолитного асфальтобетонного покрытия. 10

Особенности устройства асфальтобетонных покрытий по литьевой технологии. 11

Особенности устройства асфальтобетонных покрытий при пониженных температурах наружного воздуха. 12

3. Технический контроль качества работ. 13

4. Правила приемки. 13

5. Техника безопасности и охрана труда при устройстве асфальтобетонных покрытий (основные положения) 15

6. Требование охраны окружающей среды.. 17

Приложения. 17

Приложение 1 Основные расчетно-экспериментальные зависимости при оптимальных структурах асфальтобетона. 17

Приложение 2 Технические требования к плотному асфальтобетону для устройства слоев износа (верхних слоев) покрытий улиц и дорог. 18

Приложение 3 Технические требования к асфальтобетону для нижних слоев покрытий и оснований. 18

Приложение 4 Технические требования к плотному асфальтобетону для устройства основных (нижних) слоев покрытий улиц и дорог. 19

Приложение 5 Технические требования к литому асфальтобетону. 19

Приложение 6 Требования к дорожному вязкому нефтяному битуму. 19

Приложение 7 Режим приготовления образцов из асфальтобетонных смесей. 20

Приложение 8 Обработка результатов по видам испытаний. 20

Приложение 9 Отечественные асфальтобетоноукладчики для укладки и предварительного уплотнения асфальтобетонных смесей. 21

Приложение 10 Отечественные самоходные дорожные катки для уплотнения конструктивных слоев дорожной конструкции. 21

Приложение 11 Специализированная техника при строительстве асфальтобетонных покрытий. 22

Приложение 12 Перечень основных нормативных и технических документов, использованных при разработке технических рекомендаций. 22

 

 




ГОСТЫ, СТРОИТЕЛЬНЫЕ и ТЕХНИЧЕСКИЕ НОРМАТИВЫ.
Некоммерческая онлайн система, содержащая все Российские Госты, национальные Стандарты и нормативы.
В Системе содержится более 150000 файлов нормативно-технической документации, действующей на территории РФ.
Система предназначена для широкого круга инженерно-технических специалистов.

Рейтинг@Mail.ru Яндекс цитирования

Copyright © www.gostrf.com, 2008 - 2026