Крупнейшая бесплатная информационно-справочная система онлайн доступа к полному собранию технических нормативно-правовых актов РФ. Огромная база технических нормативов (более 150 тысяч документов) и полное собрание национальных стандартов, аутентичное официальной базе Госстандарта. GOSTRF.com - это более 1 Терабайта бесплатной технической информации для всех пользователей интернета. Все электронные копии представленных здесь документов могут распространяться без каких-либо ограничений. Поощряется распространение информации с этого сайта на любых других ресурсах. Каждый человек имеет право на неограниченный доступ к этим документам! Каждый человек имеет право на знание требований, изложенных в данных нормативно-правовых актах!

  


 

МИНИСТЕРСТВО СТРОИТЕЛЬСТВА РОССИЙСКОЙ ФЕДЕРАЦИИ
АКАДЕМИЯ КОММУНАЛЬНОГО ХОЗЯЙСТВА
им. К.Д. ПАМФИЛОВА

ИНСТРУКЦИЯ
ПО ПРОЕКТИРОВАНИЮ, ЭКСПЛУАТАЦИИ
И РЕКУЛЬТИВАЦИИ ПОЛИГОНОВ
ДЛЯ ТВЕРДЫХ БЫТОВЫХ ОТХОДОВ

Москва 1998 г.

Инструкция по проектированию, эксплуатации и рекультивации полигонов твердых бытовых отходов содержит материалы по проектированию, эксплуатации и рекультивации полигонов для твердых бытовых отходов с учетом необходимых материалов по охране окружающей среды.

Разработана отделом санитарной очистки городов и утилизации отходов Академии коммунального хозяйства, кафедрой охраны окружающей среды Пермского государственного технического университета, лабораторией гигиены почвы и промышленных отходов института экологии человека и гигиены окружающей среды им. Сысина Российской академии медицинских наук с использованием действующей инструкции, выполненных научно исследовательских работ и обобщения накопленного отечественного и зарубежного опыта проектирования, строительства, эксплуатации и рекультивации полигонов.

С введением в действие настоящей инструкции утрачивает силу "Инструкция по проектированию и эксплуатации полигонов для твердых бытовых отходов" утвержденная МЖКХ РСФСР 21.08.1981 г.

Инструкция предназначена для работников жилищно-коммунального хозяйства, научных, учебных, проектных, природоохранных организаций и организаций санитарно - эпидемиологического надзора.

Утверждена Министерством строительства Российской Федерации 2 ноября 1996 г.

Согласована Государственным Комитетом Санитарно-эпидемиологического контроля Российской Федерации. Письмо от 10 июня 1996 г. № 01-8/17-11

СОДЕРЖАНИЕ

ПРЕДИСЛОВИЕ. 2

1. ПРОЕКТИРОВАНИЕ ПОЛИГОНОВ.. 2

Состав проекта. 2

Выбор участка под полигон и изыскательские работы.. 2

Расчет вместимости полигона. 4

Схема полигона. 4

Проектирование участка складирования. 5

Хозяйственная зона и инженерные сооружения. 8

Санитарно-защитная зона и система мониторинга. 10

Показатели потребности средств механизации. 12

2. ЭКСПЛУАТАЦИЯ ПОЛИГОНОВ.. 12

Организация работ. 12

Разгрузка машин, доставляющих ТБО.. 13

Складирование отходов на рабочей карте. 13

Сдвигание, уплотнение и изоляция ТБО при траншейной схеме. 16

Контроль соблюдения требований охраны окружающей среды.. 17

Закрытие полигона и передача участка под дальнейшее использование. 18

3. РЕКУЛЬТИВАЦИЯ ТЕРРИТОРИЙ ЗАКРЫТЫХ ПОЛИГОНОВ.. 18

Организация работ. 20

Технология рекультивации. 21

4. ОХРАНА ТРУДА, ТЕХНИКА БЕЗОПАСНОСТИ И ПРОТИВОПОЖАРНЫЕ МЕРОПРИЯТИЯ.. 24

Организация работ. 24

Разгрузочные работы.. 24

Работы по уплотнению ТБО и устройству изолирующего слоя. 24

Санитарная безопасность. 25

Безопасность при проведении технического этапа рекультивации. 26

Безопасность при проведении биологического этапа рекультивации. 26

ПРИЛОЖЕНИЯ.. 27

Приложение 1. 27

Приложение 2. 32

Приложение 3. 34

Приложение 4. 35

Приложение 5. 36

Приложение 6. 36

Приложение 7. 36

Приложение 8. 37

Приложение 9. 37

Приложение 10. 38

Приложение 11. 38

ПРЕДИСЛОВИЕ

К твердым бытовым относятся отходы хозяйственной деятельности населения (приготовления пищи, уборки и текущего ремонта квартир и др.), включая отходы отопительных устройств местного отопления, крупногабаритные предметы домашнего обихода, упаковку, смет с дворовых территорий, улиц, площадей, отходы ухода за зелеными насаждениями и другие.

Удаление твердых бытовых отходов обеспечивает санитарную очистку городов и создает необходимые санитарно-экологические условия существования населенного пункта.

Наиболее распространенными в настоящее время сооружениями по обезвреживанию удаляемых из города ТБО являются полигоны.

Полигоны - комплекс природоохранительных сооружений, предназначенных для складирования, изоляции и обезвреживания ТБО, обеспечивающий защиту от загрязнения атмосферы, почвы, поверхностных и грунтовых вод, препятствующий распространению грызунов, насекомых и болезнетворных микроорганизмов.

Все работы по складированию, уплотнению и изоляции ТБО на полигонах выполняются механизировано.

Настоящая инструкция содержит основные положения, которые следует строго соблюдать при проектировании, эксплуатации и рекультивации полигонов для обеспечения санитарных и экологических требований эффективного использования земельных участков.

Исполнители: Абрамов Н.Ф., Букреев Е.М., Корнеев В.Г., Проскуряков А.Ф. (Академия коммунального хозяйства им.К.Д.Памфилова), Вайсман Я.И., Карманов В.В., Коротаев В.Н., Батракова Г.М. (Пермский государственный технический университет), Русаков Н.В. (Институт экологии человека и гигиены окружающей среды), Федоров Л.Г. (ГП «Экотехпром»), Самойлов В.А., Спасский Б.М. (АО «Шериф- Эколайн»), Разнощик В.В.

1. ПРОЕКТИРОВАНИЕ ПОЛИГОНОВ

Состав проекта

1.1. В состав проекта полигона входят разделы в соответствии со СНиП 11-01-95, среди которых:

- общая пояснительная записка;

- гидрогеологическая записка с обоснованием выбора площадки строительства;

- технологический раздел: расчет емкости, технологическая схема с учетом очередности строительства, продольный и поперечный технологические разрезы, режим эксплуатации, расчет потребности в эксплуатационном персонале, машинах и механизмах, рекомендации по рекультивации участка после закрытия полигона для приема отходов с решением по дегазации;

- раздел "Оценка воздействия на окружающую среду";

- санитарно-защитная зона и система мониторинга;

- архитектурно-строительный раздел;

- санитарно-технический раздел;

- электротехнический раздел;

- основные технико-экономические показатели;

- сводная смета.

Выбор участка под полигон и изыскательские работы

1.2. Полигоны размещаются за пределами городов и других населенных пунктов. Размер санитарно-защитной зоны от жилой застройки до границ полигона 500 м (СНиП 2.07.01-89, табл. 12). Кроме того, размер санитарно-защитной зоны уточняется при расчете газообразных выбросов. Границы зоны устанавливаются по изолинии 1 ПДК, если она выходит из пределов нормативной зоны. Размер зоны менее 500 м не допускается.

1.3. Перед проектированием заказчик с заинтересованными организациями (архитектурно-планировочным управлением, отделом по делам строительства и архитектуры, органами экологии, санэпиднадзора и гидрогеологической службой) определяет район, в котором осуществляется подбор участка для размещения полигона.

По гидрогеологическим условиям лучшими являются участки с глинами или тяжелыми суглинками и грунтовыми водами, расположенными на глубине не менее 2 м. Исключается использование под полигон болот глубиной более 1 м и участков с выходами грунтовых вод в виде ключей, затопляемых паводковыми водами территорий, районов геологических разломов, а также земельных участков, расположенных ближе 15 км от аэропортов.

Под полигоны отводятся отработанные карьеры, свободные от ценных пород деревьев, участки в лесных массивах, овраги и другие территории.

1.4. При отводе участка выдается задание на дальнейшее использование его после закрытия полигона (создание лесопаркового комплекса, устройство открытых складов строительных материалов и тары не пищевого применения и т. п.).

Возможность капитального строительства на участках складирования ТБО определяется в каждом конкретном случае дополнительными исследованиями.

1.5. Площадь участка, отводимого под полигон, выбирается, как правило, из условия срока его эксплуатации не менее 15-20 лет. В табл. 1.1. приведена ориентировочная площадь участка складирования полигона на расчетный срок эксплуатации 15 лет.

1.6. Наиболее экономичны земельные участки, близкие по форме к квадрату и допускающие максимальную высоту складирования ТБО (с учетом заложения внешних откосов 1:4). При благоприятных горно-геологических условиях, заложение откосов может быть увеличено при условии разработки специального проекта и прохождения технической экспертизы в организации - разработчике инструкции. Схематический разрез полигона представлен на рис. 1.

1.7. На выбранном под полигон участке выполняются топографическая съемка, геологические и гидрогеологические изыскания и санитарные исследования. Для проектирования полигона необходимо иметь план всего участка в масштабе 1:1000 с горизонталями через 1 м. План участка хозяйственной зоны, инженерных сооружений и внешних коммуникаций составляется в масштабе 1:500 с горизонталями через 0.5 м (проект внешних сетей большой протяженности может выполняться в масштабе 1:1000).

Рис.1 Схематический разрез полигона ТБО

1 - наружная (окончательная) изоляция; 2 - промежуточная изоляция; 3 - ТБО; 4 - водоупорное основание; Н - высота; н - показатель снижения высоты Ш - ширина; УГВ - уровень грунтовых вод.

Таблица 1.1

Ориентировочная площадь участка складирования ТБО на расчетный срок эксплуатации 15 лет

Средняя численность обслуживаемого населения тыс. чел

Высота складирования ТБО, м

12

20

25

35

45

60

50

6,5

4,5*-5,5

-

-

-

-

100

12,5

8,5

6,5*-7,5

-

-

-

250

31,0

21,

16,0

11,5*-13,5

-

-

500

61,0

41,0

31,0

23,0

1б,5*-20

-

750

91,0

61,0

46,0

34,0

26,0

-

1000

121,0

81,0

61,0

45,0

35,0

27*-31,0

* указана площадь участков в га, по форме близких к квадрату.

Геологические исследования определяют порядок напластования, мощность и состав пород, слагающих основание полигона, коэффициенты фильтрации грунтов всех разностей. Минимальная глубина разведки 10 м. При разнородных грунтах исследования необходимо проводить до водоупорного слоя и углубляться в него на 1 -1.5 м.

Гидрогеологические исследования определяют уровень грунтовых вод (УГВ) и направление их потока. Для расчета водоотводных канав, защищающих полигон от потока поверхностных вод (дождевых и талых), собираются сведения об интенсивности и испаряемости атмосферных осадков и площади их водосбора.

В результате геологических и гидрогеологических изысканий должны быть составлены: план расположения шурфов (скважин), геологические (литологические) профили, заключение гидрогеолога о пригодности намеченного участка под полигон ТБО и рекомендации по инженерной защите окружающей природной среды.

Для полигонов с нагрузкой на основание 10 т/м2 или 100 тыс. т/га проводятся комплексные геологические исследования, включающие более полное изучение гидрогеологических, геофизических, ландшафтно-геофизических и других условий отведения земельного участка с составлением прогноза возможного отрицательного воздействия объекта на природные экосистемы в перспективе (30-50 лет).

С учетом этих материалов заключение о пригодности выбранного участка под устройство полигона ТБО выдают органы охраны природы и санитарно-эпидемиологического надзора города (района, области, края).

Расчет вместимости полигона

1.8. Проектируемая вместимость полигона рассчитывается для обоснования требуемой площади участка складирования ТБО. Расчет ведется с учетом удельной обобщенной годовой нормы накопления ТБО на одного жителя (включающей ТБО из учреждений и организаций), количества обслуживаемого полигоном населения, расчетного срока эксплуатации полигона, степени уплотнения ТБО на полигоне.

С учетом производительности применяемых на полигонах машин и механизмов устанавливается следующая классификация сооружений по годовому объему принимаемых ТБО в тыс. м3/год: 10, 20, 30, 60, 120, 240, 360,800, 1000, 1500, 2000 и 3000.

1.9. Требуемая для отвода площадь участка складирования ТБО определяется делением проектируемой вместимости полигона в м3 на среднюю высоту складирования отходов в метрах с учетом их уплотнения.

Полигоны ТБО, имеющие общую высоту (для полигонов в котлованах и оврагах - глубину) более 20 м и нагрузку на используемую площадь более 100000 Па (10 т/м2, или 100 тыс. т/га), относятся к категории высоконагружаемых полигонов.

1.10. Проектирование полигона ведется на основе плана отведенного земельного участка. Фактическая вместимость полигонов определяется на основе технологических планов и разрезов. Пример расчета дан в приложении 1.

Схема полигона

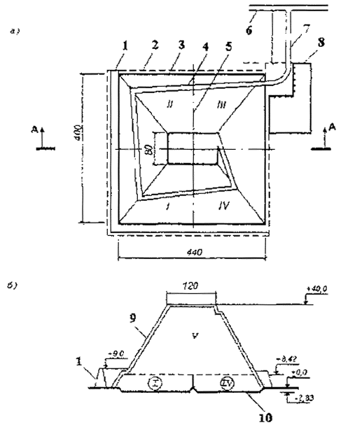
Основными элементами полигона являются: подъездная дорога, участок складирования ТБО, хозяйственная зона, инженерные сооружения и коммуникации. Схема размещения основных сооружений полигона показана на рис. 2.

1.11. Подъездная дорога соединяет существующую транспортную магистраль с участком складирования ТБО. Подъездная дорога рассчитывается на двустороннее движение. Категория и основные параметры подъездной автодороги определяются в соответствии с расчетной интенсивностью движения (автомобилей/сутки).

1.12. Основное сооружение полигона - участок складирования ТБО. Он занимает основную (до 95%) площадь полигона, в зависимости от объема принимаемых ТБО. Участок складирования разбивается на очереди эксплуатации с учетом обеспечения приема отходов в течение 3-5 лет, в составе первой очереди выделяется пусковой комплекс на первые 1-2 года. В первую, вторую и, если позволяет площадь участка, в третью очередь складирования отходов ведется на высоту в 2-3 яруса (высота яруса принимается равной 2,0-2,5 м).

Последующая очередь эксплуатации заключается в увеличении насыпи ТБО до проектируемой отметки. Разбивка участка складирования на очереди выполняется с учетом рельефа местности (см. пп 1.14- 1.19).

Участки складирования должны быть защищены от стоков поверхностных вод с вышерасположенных земельных массивов. Для перехвата дождевых и паводковых вод по границе участка проектируется водоотводная канава.

На расстоянии 1-2 м от водоотводной канавы размещается ограждение вокруг полигона. По периметру на полосе шириной 5-8 м проектируется посадка деревьев, прокладываются инженерные коммуникации (водопровод, канализация), устанавливаются мачты электроосвещения. При отсутствии инженерных сооружений на этой полосе отсыпаются кавальеры грунта для использования его на изоляцию ТБО.

1.13. Хозяйственная зона проектируется на пересечении подъездной дороги с границей полигона, что обеспечивает возможность эксплуатации зоны на любой стадии заполнения полигона ТБО. В хозяйственной зоне размещаются бытовые и производственные сооружения. На участках с конфигурацией, близкой к квадрату, зона проектируется у последней очереди складирования ТБО. На участках вытянутой формы зона размещается по середине длинной стороны. Хозяйственная зона занимает, в зависимости от количества принимаемых полигоном ТБО и специальных требований заказчика, от 5 до 15% от общей площади.

Проектирование участка складирования

1.14. На участке складирования проектируется устройство котлована с целью получения грунта для промежуточной и окончательной изоляции. Средняя глубина котлована, отрываемого в основании полигона, рассчитывается из условия баланса земельных работ и уровня грунтовых вод. Уровень грунтовых вод должен быть на 1 м ниже днища котлована.

Размещение грунта из котлованов первой очереди проектируется в кавальерах по периметру полигона, из котлованов второй очереди грунт подается на изоляцию ТБО и осадков городских сточных вод (ОГСВ) на картах первой очереди.

1.15. Днище котлована проектируется как правило горизонтальным, обеспечивая равномерное распределение фильтрата по всей площади основания полигона. Учитывая рельеф местности и очередность складирования твердых бытовых отходов, участок разбивается на ряд котлованов. На участках с уклоном более 0,5 % проектируется каскад котлованов. Схема высотного размещения котлована в основании полигона показана на рис. 3.

Перепад верхнего и следующих промежуточных котлованов, а также разность отметок оснований двух смежных котлованов должны быть не более 1 м (при большей разности требуется расчет на устойчивость валов). При необходимости по верху промежуточных валов проектируется временная дорога для проезда мусоровозов. На участках, размещаемых в оврагах, каскад котлованов образуется плотинами (см. п. 1.17). Основание котлована должно иметь слой связанного грунта, к которым относятся глины в естественном состоянии с коэффициентом фильтрации не более 10-5 см/с (0,0086 м/сут.) и толщиной не менее 0,5 м.

Для грунтов, характеризующихся коэффициентом фильтрации более 10-5см/с, необходимо предусматривать устройство искусственных непроницаемых экранов:

1. Глиняный экран однослойный, толщиной не менее 0,5 м. Исходная глина ненарушенной структуры должна иметь коэффициент фильтрации не выше 0,001 м/сут. Поверх экрана укладывается защитный слой из местного грунта, толщиной 0,2-0,3 м.

Рис.2 Схема размещения основных сооружений полигона

а - при соотношении длины и ширины полигона менее 1:2; б - то же, при соотношении более 1:3; 1 - подъездная дорога; 2 - хозяйственная зона; 3 - нагорная канава; 4 - забор; 5 - зеленая зона; 6 - грунт для изолирующих слоев; 7 - площадки складирования отходов I, II и III очереди эксплуатации.

2. Грунтобитумный экран, обработанный органическими вяжущими веществами или отходами нефтеперерабатывающей промышленности, толщиной от 0,2 м до 0,4 м, с одной стороны или двойной пропиткой битумной эмульсией, в зависимости от состава отходов и климатических условий.

3. Экран двухслойный из латекса. Экран состоит из планировочного подстилающего слоя толщиной 0,3 м, слоя латекса, промежуточного слоя из песчаного грунта высотой 0,4 м, второго слоя латекса и защитного слоя из мелкозернистого грунта толщиной 0,5 м.

4. Экран из полиэтиленовой пленки, стабилизированной сажей, двухслойный. Двухслойный экран состоит из подстилающего слоя - глинистого грунта толщиной не менее 0,2 м, двух слоев полиэтиленовой пленки, стабилизированной сажей, толщиной 0,2 мм. Между слоями пленки устраивается дренажный слой из крупнозернистого песка, толщиной 0,4 м. На верхний слой пленки укладывается защитный слой (h = 0,5 м) песчаного грунта с частицами максимальной крупности до 5 мм. Допускается применение однослойных искусственных экранов без дренажа фильтрата при благоприятных гидрогеологических условиях участка складирования: уровень грунтовых вод не менее 6 м от поверхности основания рабочих карт; наличие в основании карт суглинков с коэффициентом фильтрации не более 10-3 см/с и мощностью не менее 6 м.

Рис.3 Схема высотного размещения котлована в основании полигона

1 - кавальер грунта для изолирующих слоев; 2 - уровень поверхности участка до разработки котлованов; 3 - горизонтальное основание; 4 - промежуточный вал

Дренажный слой предусматривается для аварийных ситуаций и контроля выхода фильтрата.

При экономическом обосновании возможно создание искусственного противофильтрационного экрана из слоя глины с коэффициентом фильтрации 10-8…10-7см/с. толщиной 0,3-0,4 м.

Использование в качестве противофильтрационных оснований материалов, не оговоренных настоящей инструкцией, возможно только по согласованию с местными органами санэпиднадзора и охраны природы и по экспертному заключению отдела санитарной очистки городов и утилизации отходов Академии коммунального хозяйства им.К.Д. Памфилова.

1.16. Отвод земельного участка под складирование ТБО на территории оврага должен включать его верховья, что гарантирует сбор и удаление талых и дождевых вод более простыми методами. Разработка грунта для изоляции решается с учетом принципов, изложенных в пп. 1.15; 1.17. Участок оврага по длине разбивается, начиная с верховья, на этапы строительства. Каждая очередь строительства с пониженной стороны защищается от оползней земляной плотиной. Схема высоконагружаемого полигона для ТБО по многокаскадной схеме складирования в овраг приведена на рис. 4. Каждая плотина рассчитывается на экстремальные условия с учетом статической устойчивости удерживаемых ТБО, насыщенных водой.

Проект организации складирования ТБО в выработанных карьерах (глубоких котлованах) должен обеспечивать съезд и разгрузку мусоровозов на нижней отметке с послойным заполнением карьера по высоте. Если отведенная под полигон часть карьера не имеет существующего съезда, то земельный участок под складирование ТБО в выработанных карьерах (глубоких котлованах) должен включать площадку для устройства съезда (пандус) в выемке, вне котлована (рис. 5, поз. 1) с уклоном 5%. Участок должен также предусматривать возможность разработки и получения грунта для изоляции ТБО (рис. 5, поз. 4).

Часть пандуса непосредственно в границах карьера проектируется в одном из вариантов: с устройством насыпи из грунта или отходов строительства, и в полунасыпи - полувыемке в откосе котлована.

Рис.4 Высоконагружаемый полигон для твердых бытовых отходов по многокаскадной схеме

а - схематический план; б - схематические продольный и поперечный разрезы, г - уступы в основании с обратным уклоном; 1 - нагорная канава; 2 - подъездная дорога; 3 - земляная плотина; 4 - самотечная канализация фильтрата; 5 - сборно-разборный распределительный филътратопровод; 6 - магистральный напорный фильтратопровод; 7 - насосная станция фильтрата; 8 - хозяйственная зона; 9 - противо-фильтрационный экран; 10 - ограждение; А - первый каскад I очереди складирования твердых бытовых отходов, Б - второй каскад I очереди; В - участок складирования во II очередь; Г - участок складирования отходов на перспективу; 220-250 -условные отметки горизонталей.

1.17. Траншейная схема складирования ТБО предполагает проектирование на участке складирования траншей глубиной 3-6 м и шириной по верху 6-12 м. Траншеи проектируются перпендикулярно направлению господствующих ветров. Грунт из траншей используется для изоляции ТБО. В климатических зонах, где возможно образование фильтрата, основание траншеи должно быть не менее, чем на 0,5 м заглублено в глинистые грунты.

Рис.5 Схема полигона на участке глубоко выработанного карьера

а - разрез полигона по съезду (пандусу) в карьер; б - план части карьера; 1 - трасса съезда (пандуса) в выемке; 2 - верхний изолирующий слой высотой 2,25м и толщиной 1 м (с учетом усадки ТБО); 3 -рабочие слои уплотненных ТБО с промежуточной изоляцией; 4 - участки разработки грунта для обеспечения изоляции; 5 - отрезок трассы съезда в насыпи или в полунасыпи -полувыемке.

Длина одной траншеи должна проектироваться с учетом обеспечения приема ТБО: в период температур свыше 0°С в течение 1-2 мес., в период температур ниже 0°С - на весь период промерзания грунтов. Заложение откосов траншей в грунтах естественной влажности принимается с учетом их устойчивости при динамических нагрузках на бровке в соответствии с п. 9.10 и 9.11 табл. 4 СНиП III-4-80 "Техника безопасности в строительстве", данные которых применительно к полигонам ТБО приведены в табл. 1.2.

Размер участка складирования должен обеспечивать прием ТБО с размещением их в одном ярусе в течении не менее 5 лет. Высотная траншейная схема проектируется с устройством траншей в 2-3 яруса по высоте (рис. 6). Отметка основания траншей 2-го яруса выполняется на 1 м выше отметки основания 1-го яруса. Изолирующим материалом траншей 2-го и 3-го ярусов служит смесь грунта и частично минерализованных ТБО. Санитарные и эксплуатационные условия устройства траншей 2-го и 3-го ярусов приведены в п. 2.9. На рис. 6 представлена траншейная схема в условиях песчаных и супесчаных грунтов.

Траншейная схема применяется для полигонов, принимающих 120 тыс. м3/год ТБО и менее.

1.18. Непосредственное складирование ТБО в воду на болотистых и заливаемых паводковыми водами участках не допускается.

Использованию болотистых и заливаемых паводковыми водами участков должна предшествовать организация подсыпки инертными материалами на высоту, превышающую на 1 м максимальный уровень

поверхностных и паводковых вод. На подсыпке устраивается водоупорный экран.

Таблица 1.2

Заложение откосов траншей в грунтах естественной влажности

При выемке, м

до 3

до 6

Грунт

Угол между направлением откоса и горизонталью, град.

Отношение высоты откоса к основанию

Угол между направлением откоса и горизонталью, град.

Отношение высоты откоса к основанию

Песчаный

45

1:1

45

1:1

Супесь

56

1:0,67

50

1:0,85

Суглинок

63

1:0,5

53

1:0,75

Глина

76

1:0,25

63

1:0,5

Хозяйственная зона и инженерные сооружения

1.19. Хозяйственная зона проектируется для размещения:

административно-бытового корпуса, контрольно-пропускного пункта совместно с пунктом стационарного радиометрического контроля; весовой; гаража и площадки с навесами и мастерскими для стоянки и ремонта машин и механизмов; склада горюче-смазочных материалов; складов для хранения энергоресурсов, строительных материалов, спецодежды, хозяйственного инвентаря и др.; объектов и линий электроснабжения и других сооружений. Территория хозяйственной зоны должна иметь твердое покрытие, освещение и въезд со стороны полигона.

1.20. На крупных полигонах, принимающих свыше 360 тыс. м3/год ТБО и ОГСВ, рассчитанных на срок эксплуатации более 15 лет, водоснабжение обеспечивается из артезианских скважин, проектируемых в составе объекта.

На меньших полигонах, рассчитанных на срок эксплуатации менее 15 лет, по согласованию с органами санэпиднадзора и местными коммунальными органами водоснабжение обеспечивается привозной водой.

1.21. Удаление стоков осуществляется: с использованием городской системы канализации (при наличии канализационного коллектора на экономически оправданном расстоянии), контрольно-регулирующего пруда и пруда испарителя; в засушливых районах можно использовать бессточную схему, при которой стоки отстаиваются в грязеотстойниках и подаются для испарения на поверхность рабочих карт полигона.

1.22. Площадь пруда-испарителя определяется из расчетного стока ливневых вод с площади полигона.

1.23. На выезде из полигона должна быть контрольно-дезинфицирующая зона с устройством железобетонной ванны длиной 8 м, глубиной 0,3 м и шириной 3 м для дезинфекции колес мусоровозов. Ванна заполняется трехпроцентным раствором лизола и опилками.

Рис. 6 Высотная траншейная схема

а - поперечный разрез траншеи 1-го яруса для засыпки ТБО; б - то же, полностью, заполненной ТБО; в - то же, изолированной грунтом, г - поперечный разрез второй траншеи 1-го яруса; д - изолированные траншеи 1-го яруса; с - изолированные траншеи 2-го яруса; 1 - грунт, вынутый при рытье траншей; 2 - траншея; 3 - ТБО; 4 - промежуточная изоляция; 5 - направление заполнения; Вертикальные отметки: 0 - основание траншей 1-го яруса; +0,5 - начало залегания глинистых грунтов; +l - основание траншей 2-го яруса; +2 - поверхности участка до рытья траншей.

1.24. Расход воды на наружное пожаротушение составляет 10 л/с. Сборный железобетонный резервуар или пруд для пожаротушения проектируется емкостью не менее 50 м и определяется местными условиями.

1.25. По периметру всей территории полигона ТБО проектируется ограждение. Ограждение могут заменять: осушительная траншея глубиной более 2 м, вал высотой более 3 м. В ограде полигона у производственно-бытового здания проектируются ворота или шлагбаум.

1.26. Водоотводные канавы рассчитываются на отвод стока с участков, расположенных выше полигона. Расчетный расход ливневых и паводковых вод и параметры водоотводных канав определяются по "Справочнику проектировщика промышленных и гражданских зданий и сооружений транспорта" Промышленный транспорт, Т. 2. Под. ред. А.С. Гельмана. 2-е издание, переработанное и дополненное. М., Стройиздат, 1972.

1.27. Наружное освещение по постоянной схеме предусматривается только для хозяйственной зоны, суточные карты освещаются по временной схеме.

Минимальная освещенность рабочих (суточных) карт принимается 5 лк.

1.28. Картовое складирование (см. пп. 2.4-2.11) предполагает устройство временной дороги к группе карт. Параметры временных дорог принимаются в соответствии со СНиП 2.05.07-85, Табл. 25.

Пример расчета площади и габаритов карт складирования приведен в приложении 1.

Материалом для устройства улучшенного покрытия временных дорог служат: железобетонные плиты, некондиционные строительные изделия, отходы строительства, щебень и другие инертные материалы.

Временную дорогу следует устраивать на 2-2,5 м выше уровня эксплуатируемых карт для обеспечения обслуживания при складировании ТБО по высоте в два яруса (рис. 7). Нижний ярус образуется методом "сталкивания" ТБО под откос высотой 2 м, верхний ярус - методом "надвига" рабочего слоя высотой 2 м снизу вверх (сущность методов изложена в пп. 2.4-2.11). Основание под дорогу выполняется из уплотненных бытовых или строительных отходов. С временной дороги на карту предусматривается съезд.

Санитарно-защитная зона и система мониторинга

1.29. В санитарно-защитной зоне полигона запрещается размещение жилой застройки, скважин и колодцев для питьевых целей. При отсутствии в санитарно-защитной зоне зеленых насаждении или земляных насыпей по периметру полигона устраиваются кавальеры грунта, необходимого для изоляции при его закрытии. Режим санитарно-защитной зоны определяется действующими нормами и правилами.

1.30. Для полигона ТБО разрабатывается специальный проект мониторинга, включающий разделы: контроль состояния подземных и поверхностных водных объектов, атмосферного воздуха, почв и растений, шумового загрязнения в зоне возможного неблагоприятного влияния полигона; система управления технологическими процессами на полигоне, обеспечивающая предотвращение загрязнения подземных и поверхностных водных объектов, атмосферного воздуха, почв и растений, шумового загрязнения выше допустимых пределов в случаях обнаружения загрязняющего влияния полигонов.

Рис.7 Схема размещения временных дорог на полигонах (разрез и план временной дороги на два яруса)

1 - уровень земли (черные отметки); 2 - изоляция второго яруса ТБО; 3 - временная дорога на валу высотой 2 м; 4 - основание котлована и первого яруса ТБО; 5 - промежуточная изоляция 2-го яруса.

Проект мониторинга полигона ТБО разрабатывается по техническому заданию владельца полигона и согласовывается с уполномоченными на это органами.

1.31. Система мониторинга должна включать устройства и сооружения по контролю состояния подземных и поверхностных вод, атмосферного воздуха, почвы и растений, а также шумового загрязнения в зоне возможного влияния полигона.

1.32. По согласованию с гидрогеологической службой, местными органами санэпиднадзора и охраны природы для контроля за состоянием грунтовых вод, в зависимости от глубины их залегания, проектируются контрольные шурфы, колодцы или скважины в зеленой зоне полигона.

Одно контрольное сооружение закладывается выше полигона по потоку грунтовых вод с целью отбора проб воды, на которую не оказывает влияние фильтрат с полигона.

Пробы вод из контрольных шурфов, колодцев и скважин, заложенных выше полигона по течению грунтовых вод, характеризуют их исходное состояние. Ниже полигона по течению грунтовых вод (на расстоянии 50-100 м, если нет опасности загрязнения грунтовых вод за счет других источников) закладывают 1-2 колодца (шурфа, скважины) для отбора проб воды, с целью выявления влияния на них стоков полигона, Колодцы глубиной 2-6 м выполняют из железобетонных труб диаметром 700-900 мм до отметки 0,2 м ниже уровня грунтовых вод (УГВ). Фильтрующее днище состоит из слоя щебня толщиной 200мм. В колодец спускаются по стационарной лестнице. При более глубоком залегании грунтовых вод их контроль осуществляется с помощью скважин. Конструкция сооружений должна обеспечивать защиту грунтовых вод от попаданий в них случайных загрязнений, возможности водоотлива и откачки, а также для удобства взятия проб воды. Объем определяемых показателей и периодичность отбора проб обосновываются в проекте мониторинга полигонов.

1.33. В отобранных пробах обычно определяется содержание аммиака, нитритов, нитратов, гидрокарбонатов, кальция, хлоридов, железа, сульфатов, лития, ХПК, БПК, органического углерода, рН, магния, кадмия, хрома, цианидов, свинца, ртути, мышьяка, меди, бария, сухого остатка и др.

Если в пробах, отобранных ниже по потоку, устанавливается значительное увеличение концентраций определяемых веществ по сравнению с контрольным, необходимо, по согласованию с контролирующими органами, расширить объем определяемых показателей, а в случаях, если содержание определяемых веществ превысит ПДК, необходимо принять меры по ограничению поступления загрязняющих веществ в грунтовые воды до уровня ПДК.

1.34. Выше полигона на поверхностных водоисточниках и ниже полигона на водоотводных канавах также проектируются места отбора проб поверхностных вод. Отобранные пробы исследуются на гельминтологические, бактериологические и санитарно-химические показатели. Если в пробах воды, отобранных ниже по потоку поверхностных вод, устанавливается значительное увеличение концентраций определяемых показателей по сравнению с контролем, необходимо по согласованию с контролирующими органами расширить объем определяемых показателей, а в случаях, если содержание определяемых веществ превышает ПДК, необходимо принять меры по предотвращению поступления загрязняющих веществ в поверхностные водные объекты до уровня ПДК. К сооружениями по контролю грунтовых и поверхностных вод проектируются подъезды для автотранспорта и предусматривается возможность водоотлива или откачки воды перед взятием проб.

1.35. В смете на строительство полигона предусматриваются затраты на устройство пробоотборников для взятия проб воды, применяемых в системе водопроводно-канализационного хозяйства.

1.36. Система мониторинга должна включать постоянное наблюдение за состоянием воздушной среды. В этих целях необходимо ежеквартально производить анализы проб атмосферного воздуха над отработанными участками полигона и на границе санитарно-защитной зоны на содержание соединений, характеризующих процесс биохимического разложения ТБО и представляющих большую опасность. Объем определяемых показателей и периодичность отбора проб обосновываются в проекте мониторинга полигонов и согласовываются с уполномоченными на это органами. Обычно при анализе проб атмосферного воздуха определяют содержание метана, сероводорода, аммиака, окиси углерода, бензола, трихлорметана, четыреххлористого углерода, хлорбензола.

1.37. В случае установления загрязнения атмосферы выше ПДК на границе санитарно-защитной зоны и выше ПДКр.з., на рабочем месте полигона (табл. 1.3 и 1.4), должны быть приняты соответствующие меры, учитывающие характер и уровень загрязнения.

1.38. Система мониторинга должна включать постоянное наблюдение за состоянием почвы в зоне возможного влияния полигона. С этой целью контролируется качество почвы и растений на содержание экзогенных химических веществ (ЭХВ), которые не должны превышать ПДК в почве и, соответственно, не превышать остаточные количества вредных ЭХВ в растительной товарной массе выше допустимых пределов. Объем определяемых ЭХВ и периодичность контроля определяется в проекте мониторинга полигона и согласовывается со специально уполномоченными органами по охране окружающей среды.

Таблица 1.3

ПДК основных загрязняющих веществ, выделяющихся в атмосферу воздуха на полигонах ТБО

Вещество

ПДК, мг/м-1

Максимально разовая

Среднесуточная

Пыль нетоксичная

0,5

0,15

Сероводород

0,08

-

Окись углерода

5,0

3,0

Окись азота

0,4

0,06

Ртуть металлическая

-

0,0003

Метан

-

50,0

Аммиак

0,2

0,04

Бензол

1,5

0,1

Трихлорметан

-

0,03

4-хлористый углерод

4,0

0,7,

Хлорбензол

0,1

0,1

Таблица 1.4

ПДК основных загрязняющих веществ (рабочая зона), выделяющихся в атмосферный воздух на полигонах ТБО в зоне работы персонала

Вещество

ПДКм.р., мг/м3

Пыль нетоксичная

4,0

Сероводород

10,0

Окись углерода

20,0

Окись азота

5,0

Ртуть металлическая

0,01

Метан

-

Аммиак

5,0

Бензол

15,0

Трихлорметан

-

4-хлористый углерод

20,0

хлорбензол

100,0

Показатели потребности средств механизации

1.39. Проектом предусматривается обеспечение полигона средствами механизации согласно показателей, приведенных в приложении 3.

2. ЭКСПЛУАТАЦИЯ ПОЛИГОНОВ

Организация работ

2.1. На полигоне выполняются следующие основные виды работ: прием, складирование и изоляция ТБО.

Учет принимаемых ТБО ведется по объему в неуплотненном состоянии. Отметка о принятом количестве ТБО делается в "Журнале регистрации ТБО", форма журнала приведена в приложении 2.

Категорически запрещается вывоз на полигоны отходов, пригодных к использованию в народном хозяйстве в качестве вторичных ресурсов, а также токсичных, радиоактивных и биологически опасных отходов.

Организация работ на полигоне определяется технологической схемой эксплуатации полигона, разрабатываемой в составе проекта. Технологическая схема представляет собой генплан полигона, определяющий с учетом сезонов года последовательность выполнения работ, размещения площадей для складирования ТБО и разработки изолирующего грунта.

Основным документом планирования работ является график эксплуатации, составляемый на год. Планируется помесячно: количество принимаемых ТБО с указанием № карт, на которые складируются отходы, разработка грунта для изоляции ТБО.

Организация работ на полигоне должна обеспечивать охрану окружающей среды, максимальную производительность средств механизации и технику безопасности.

Примеры составления технологической схемы и графика эксплуатации приведены в приложении 2.

Разгрузка машин, доставляющих ТБО

2.2. На полигоне организуется бесперебойная разгрузка мусоровозов. Прибывающие на полигон мусоровозы разгружаются у рабочей карты. Площадка разгрузки мусоровозов перед рабочей картой разбивается на два участка. Схема разгрузки мусоровозов проведена на рис. 8.

На одном участке разгружаются мусоровозы, на другом работают бульдозеры или катки-уплотнители.

Размещение мусоровозов на площадке разгрузки должно обеспечивать беспрепятственный выезд каждой разгрузившейся машины.

2.3. Продолжительность приема мусоровозов под разгрузку на одном участке площадки принимается равной 1 -2 ч. Минимальная площадь перед рабочей картой с учетом разбивки ее на две части должна обеспечивать одновременно не менее 12% разгрузки мусоровозов, прибывающих в течение рабочего дня. Пример расчета приведен в приложении 2

Складирование отходов на рабочей карте

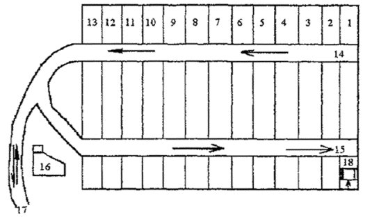
2.4. Выгруженные из машин ТБО складируются на рабочей карте. Не допускается беспорядочное складирование ТБО по всей площади полигона, за пределами площадки, отведенной на данные сутки (рабочие карты). Устанавливаются следующие размеры рабочей карты: ширина 5 м (для траншейных карт - 12 м), длина 30-150 м. Бульдозеры сдвигают ТБО на рабочую карту, создавая слои высотой до 0,5 м. За счет 5-10 уплотненных слоев, создается вал с пологим откосом высотой 2 м над уровнем площадки разгрузки мусоровозов. Вал следующей рабочей карты "надвигают" к предыдущему (складированием по методу "надвига"). При этом методе отходы укладывают снизу вверх. Схема укладки отходов методом "надвига" приведена на рис. 9.

Уплотненный слой ТБО высотой 2 м изолируется слоем грунта 0,25 м. (при обеспечении уплотнения в 3,5 раза и более допускается изолирующий слой толщиной 0,15). Разгрузка мусоровозов перед рабочей картой должна осуществляться на слое ТБО, со времени укладки и изоляции которого прошло более 3 мес. (по мере заполнения карт фронт работ отступает от ТБО, уложенных в предыдущие сутки). Схема очередности заполнения карт методом "надвига" приведена на рис. 10.

Рис.8 Схема разгрузки мусоровозов на полигоне ТБО

а - первая и третья очереди разгрузки ТБО (8-10, 12-14 ч); б - вторая и четвертая очереди разгрузки ТБО (10-12, 14-16 ч); 1 - площадка разгрузки мусоровозов (в соответствии со сменностью); 2 - мусоровозы; 3 -рабочая карта (или траншея складирования); 4 - площадка разгруженных ТБО; 5 - ТБО; 6 - направление работы бульдозеров по сдвиганию ТБО к рабочей карете (траншее); 7 - направление выезда мусоровозов с площадки после разгрузки.

Складирование ТБО методом "сталкивания" осуществляется сверху вниз. Высота откоса должна быть не более 2,5 м. При методе "сталкивания" в отличие от метода "надвита" мусоровозный транспорт разгружается на верхней изолированной поверхности рабочей карты, образованной в предыдущий день. Схема укладки отходов методом "сталкивания" приведена на рис. 11. По мере заполнения карт фронт работ движется вперед по уложенным в предыдущие сутки ТБО. Схема очередности заполнения карт методом "сталкивания" приведена на рис. 12.

2.5. Сдвигание разгруженных мусоровозами ТБО на рабочую карту осуществляется бульдозерами всех типов. Для повышения производительности бульдозеров (на 30-40%) необходимо применять отвалы, имеющие большую ширину и высоту (документация на изменение конструкции отвалов может быть получена в отделе санитарной очистки городов и утилизации отходов Академии коммунального хозяйства). Пример расчета дан в приложении 2.

2.6. Уплотнение уложенных на рабочей карте ТБО слоями по 0,5 м осуществляется тяжелыми бульдозерами массой 14 т и на базе тракторов мощностью 75-100 кВт (100-130 л.с.). Уплотнение слоями более 0,5 м не допускается. Уплотнение осуществляется 2-4 кратным проходом бульдозера по одному месту. Бульдозеры, уплотняющие ТБО, должны двигаться вдоль длиной стороны карты. При 2-кратном проходе бульдозера уплотнение ТБО составляет 570-670 кг/м3, при 4-кратном проходе - 670-800 кг/м3

Для обеспечения равномерной просадки тела полигона необходимо (два раза в год) делать контрольное определение степени уплотняемости ТБО.

Пример расчета площадки рабочей карты и потребности в бульдозерах на операции уплотнения приведен в приложении 2.

2.7. Увлажнение ТБО летом необходимо осуществлять в пожароопасные периоды. Расход воды на полив принимается 10 л на 1 м3 ТБО. Пример расчета по увлажнению отходов приведен в приложении 2.

2.8. Промежуточная и окончательная изоляция уплотненного слоя ТБО осуществляется грунтом. При складировании ТБО на открытых, незаглубленных картах промежуточная изоляция в теплое время года осуществляется ежесуточно, в холодное время года - с интервалом не более трех суток. Слой промежуточной изоляции составляет 0,25 м., при уплотнении ТБ катками КМ - 305 0,75 м. Разработка грунта и доставка его на рабочую карту производится скреперами. Схема подачи грунта для изоляции ТБО на рабочих картах показана на рис. 13.

Нормы времени в часах на разработку и перемещение грунта скреперами приведены в ЕНиР, сб. 2,2-1-14. Оценка дополнительного разравнивания и уплотнение грунта осуществляется по ЕНиР, сб. 2,2-1-15. Работа по изоляции строительными отходами нормируется как грунтом II группы.

В зимний период в качестве изолирующего материала разрешается использовать строительные отходы, отходы производства (отходы извести, мела, соды, гипса, графита и т.д.).

В виде исключения в зимний период допускается применять для изоляции снег, подаваемый бульдозерами с ближайших участков.

В весенний период, с установлением температуры свыше 5° С, площадки, где была применена изоляция снегом, покрываются слоем грунта. Укладка следующего яруса ТБО на изолирующий слой из снега недопустима.

Рис.9 Схема укладки отходов методом "надвига" (снизу вверх)

1 - скрепер, доставляющий грунт; 2 - изолирующий слой; 3 - грунт для изоляции; 4 - бульдозер, уплотняющий ТБО; 5 - бульдозер, транспортирующий ТБО от места выгрузки из мусоровоза к рабочей карте; 6 - мусоровоз на месте выгрузки; 7 - укладка наклонных слоев; 8 - укладка тонких горизонтальных слоев; 9 - выгруженные ТБО

Рис. 10 Схема очередности заполнения карт методом "надвига"

1-12 - нумерация карт с учетом очередности заполнения их ТБО; 14 - временная дорога для выезда разгрузившихся мусоровозов; 15 - временная дорога для прибывающих мусоровозов с ТБО; 16 - хозяйственная зона; 17 - постоянная подъездная дорога к полигону; 18 - поперечная полоса карты с условным показом следа от двух гусениц и направления движения уплотняющего бульдозера.

Рис.11 Схема укладки отходов методом "сталкивания" (сверху вниз)

1 - мусоровоз на месте разгрузки; 2 - изоляция, нанесенная в предыдущий день; 3 - уплотнение отходов на рабочей карте; 4 - изоляция, нанесенная 0,5-1 год назад.

Рис.12 Очередность заполнения карт при работе методом "сталкивания"

1-13 - нумерация карт с учетом очередности их заполнения; 14 - временная дорога для выезда разгрузившихся мусоровозов; 15 - временная дорога для пребывающих мусоровозов; 16 - хозяйственная зона; 17 - постоянная подъездная дорога.

Рис.13 Схема подачи грунта для изоляции ТБО на рабочих картах с помощью скрепера

а - при разработке котлована на второй очереди полигона, б - при разработке кавальеров или холмов; 1 - изолированные карты; 2 - изолируемая карта; 3 -трасса скрепера с грунтом; 4 - временная дорога для мусоровозов; 5 - котлован второй очереди полигона; 6 - скрепер; 7 - карта, заполняемая ТБО; 8 - трасса движения мусоровозов; 9 - кавальер или холм грунта.

Сдвигание, уплотнение и изоляция ТБО при траншейной схеме

2.9. Загрузка ТБО в траншеи осуществляется с послойным уплотнением бульдозерами или катками-уплотнителями, перемещающимися вдоль траншеи. Участок складирования заполняется с превышением над отметкой участка на 1/3 глубины траншеи из-за последующего уплотнения отходов. В траншеях ТБО изолированы в процессе складирования по всему периметру. Изоляцию ТБО сверху, для полигонов этого типа, допускается производить один раз в 5 суток.

По истечении 5 лет (как исключение 3 года) необходимо устройство траншей 2-го яруса по высотной траншейной схеме (см. п. 1.18) при условии получения заключения службами санэпиднадзора, что материал в траншее не привлекает мух и грызунов, а также в подразделениях пожарной охраны о его пожарной безопасности. Для получения указанных разрешений в 2-3 местах делается пробное разрытие.

2.10. Переносные сетчатые ограждения устанавливаются как можно ближе к месту разгрузки и складирования ТБО, перпендикулярно направлению господствующих ветров для задержания легких фракций отходов. Высота ограждений 4-4,5 м. Рама щитов выполняется из легких металлических профилей, обтягивается сеткой с размерами ячеек 40-50 мм. Ширина щитов принимается 1-1,5 м.

Регулярно, не реже одного раза в смену, щиты очищаются от частиц отходов. Размеры участка, защищаемого переносным сетчатым ограждением, должны обеспечивать возможность выполнения работ без перестановки щитов в течение не менее недели.

2.11. Мерный столб (репер) устанавливается на карте для контроля высоты отсыпаемого 2-метрового слоя ТБО. Соблюдение заданной высоты слоя отсыпки обеспечивает равномерность осадки толщи полигона. С помощью репера контролируется степень уплотнения твердых бытовых отходов.

Реперы выполняются в виде деревянного столба или отрезка металлической трубы, швеллера, двутавра. Деления наносятся яркой краской через каждые 0,25 м. На высоте 2 м на бульдозере делается белая черта, являющаяся подвижным репером.

Контроль соблюдения требований охраны окружающей среды

2.12. Основные операции по эксплуатации полигонов показаны на рис. 14. Соблюдение этой последовательности обеспечивает выполнение требований охраны окружающей среды.

2.13. Контроль за загрязнением грунтовых вод осуществляется с помощью взятия проб из контрольных колодцев, скважин или шурфов, заложенных по периметру полигона.

Перед взятием пробы необходимо произвести откачку или водоотлив (вода в контрольных колодцах, скважинах и шурфах застаивается). Необходимо следить, чтобы при этой операции в воду вместе со шлангом или другими материалами не было внесено загрязнение.

При повышении окисляемости грунтовых вод система орошения (рециркуляции) переносится на следующие карты.

2.14. Регулярной очистке подлежат водоотводные канавы, загрязнения из которых могут попасть в поверхностные воды. На участках, где в граничных водоотводных сооружениях постоянно имеется сток, из канав также берут пробы воды на анализы.

2.15. Мастер полигона не реже одного раза в декаду проводит осмотр санитарно-защитной зоны и принимает меры по устранению выявленных нарушений (ликвидация несанкционированных свалок, очистка территории и т.д.)

2.16. Спецавтохозяйство один раз в квартал контролирует правильность заложения внешнего откоса полигона, который, как правило, должен быть 1:4.

Рис.14 Основные технологические операции при эксплуатации полигонов

В период сухой, жаркой погоды полигоны должны быть обеспечены средствами для увлажнения ТБО. На территории полигона категорически запрещается сжигание ТБО и сбор утиля.

2.17. С целью исключения несанкционированного складирования отходов, содержащих радионуклиды, при поступлении на полигон отходы проходят радиационный дозиметрический контроль. Для этих целей используются геологоразведочные поисковые приборы СРП-68-01 или СРП-88Н.

2.18. Промышленные отходы (ПО), допускаемые для совместного складирования с ТБО, должны отвечать следующим требованиям: иметь влажность не более 85%, не быть взрывоопасными, самовоспламеняющимися, самовозгорающимися. Основным санитарным условием является требование, чтобы токсичность смеси промышленных отходов с бытовыми не превышала токсичности бытовых отходов по данным анализа водной вытяжки. Заключение о возможности приема и совместного складирования ПО и ТБО выдается ЦГСЭН на основе анализов лаборатории диагностики полигона, либо анализов ЦГСЭН, проводимых по договорам с предприятиями-поставщиками отходов.

Промышленные отходы IV класса опасности, принимаемые без ограничений в количественном отношении и используемые в качестве изолирующего материала, характеризуются содержанием в водной вытяжке (1л воды на 1 кг отходов) токсичных веществ на уровне фильтрата из твердых бытовых отходов, а по интегральным показателям - биохимической потребности в кислороде (БПК20) и химической потребности в кислороде (ХПК) - не выше 300 мг/л, они должны иметь однородную структуру с размером фракций менее 250 мм.

Промышленные отходы IV и III классов опасности, принимаемые в ограниченном количестве (не более 30% от массы ТБО) и складируемые совместно с бытовыми, характеризуются содержанием в водной вытяжке токсичных веществ на уровне фильтрата из ТБО и значениями БПК20 и ХПК 3400-5000 мг/л.

Перечень промышленных отходов III, IV классов опасности, допускаемых для совместного складирования, приводится в приложении 11.

Закрытие полигона и передача участка под дальнейшее использование

2.19. Закрытие полигона для приема ТБО осуществляется после отсыпки его на проектную отметку, установленную заданием, на высоконагружаемых полигонах со сроком эксплуатации не менее 5 лет допускается превышение проектной отметки на 10%.

Последний слой отходов перед закрытием полигона засыпается слоем грунта с учетом дальнейшей рекультивации. При планировке изолирующего слоя необходимо обеспечивать уклон к краям полигона.

2.20. Устройство изолирующего слоя полигона определяется заданием по его рекультивации.

Укрепление наружных откосов полигона должно проводиться с начала эксплуатации полигона по мере увеличения высоты складирования. Материалом для засыпки наружных откосов полигона служит предварительно снятый при его строительстве растительный грунт.

Для защиты от выветривания или смыва грунта с откосов полигона необходимо производить их озеленение непосредственно после укладки изолирующего слоя. По склонам высаживаются защитные насаждения и устраиваются террасы. Выбор видов деревьев и кустарников определяется местными условиями и приводится в разделе 3 "Рекультивация территорий закрытых полигонов".

2.21. На участках, используемых, в последующем под открытые склады тары непищевого назначения, толщина верхнего изолирующего слоя должна составлять не менее 1,5 м. При использовании рекультивированной территории полигона под выращивание сельскохозяйственной продукции, садово-ягодных растений и лесопосадок толщина верхнего изолирующего слоя может быть изменена в зависимости от вида выращиваемых культур растений. Верхний слой отходов до их укрытия изоляцией должен быть тщательно уплотнен до плотности не менее 750 кг/м3

3. РЕКУЛЬТИВАЦИЯ ТЕРРИТОРИЙ ЗАКРЫТЫХ ПОЛИГОНОВ

3.1. Рекультивация закрытых полигонов - комплекс работ, направленных на восстановление продуктивности и народнохозяйственной ценности восстанавливаемых территорий, а также на улучшение окружающей среды.

Кроме полигонов, на практике встречается большой количество несанкционированных свалок, которые устраивались и эксплуатировались без выполнения каких-либо требований органов санэпиднадзора и охраны природы.

Рекультивация таких свалок требует выполнения большого объема подготовительных работ, а именно:

- проведения комплекса экологических исследований (гидрогеологических, геологических, почвенных, исследования атмосферы, проверки отходов на радиоактивность и т.п.);

- решения вопросов по утилизации отходов, консервации фильтрата, использования биогаза, устройства экранов и т.д.

3.2. Рекультивация проводится по окончании стабилизации закрытых полигонов - процесса упрочнения свалочного грунта, достижения им постоянного устойчивого состояния. Сроки процесса стабилизации приведены в табл. 3.1.

Таблица 3.1

Сроки стабилизации закрытых полигонов для различных климатических зон

Вид рекультивации

Сроки стабилизации закрытых полигонов для различных климатических зон, год

южная

средняя

северная

Посев многолетних трав, создание пашни, сенокосов, газонов

1

2

3

Посадка кустарников, сеянцев

2

2

 

Посадка деревьев

2

2

3

Создание огородов, садов

10

10

15

В конце процесса стабилизации производится завоз грунта автомобильным транспортом для засыпки и планировки образовавшихся провалов.

3.3. Направления рекультивации определяют дальнейшее целевое использование рекультивируемой территории в народном хозяйстве.

Наиболее приемлемы для закрытых полигонов сельскохозяйственное, лесохозяйственное, рекреационное и строительное направление рекультивации.

3.4. Сельскохозяйственное направление рекультивации закрытых полигонов осуществляется в случае расположения полигона в зоне землепользования того или иного сельскохозяйственного предприятия. Оно имеет целью создание, на нарушенных в процессе заполнения полигона землях, пахотных и сенокосно-пастбищных угодий, площадей для поливного высокопродуктивного овощеводства, коллективного садоводства. При осуществлении сельскохозяйственного направления рекультивации выращивание овощей и фруктов, а также коллективное садоводство допускается через 10-15 лет, создание сено косно-пастбищных угодий - через 1-3 года после закрытия полигона.

3.5. Лесохозяйственное направление рекультивации - создание на нарушенных полигонами землях лесных насаждений различного типа. Лесоразведение предусматривает создание и выращивание лесных культур мелиоративного, противоэрозионного, полезащитного, ландшафтно-озеленительного назначения.

3.6. Строительное направление рекультивации закрытых полигонов - приведение территории закрытого полигона в состояние, пригодное для промышленного и гражданского строительства.

Строительное направление осуществляется двумя способами: строительство объектов на территории закрытого полигона без вывоза свалочного грунта и с вывозом свалочного грунта.

Вопрос о капитальном строительстве на закрытых полигонах без вывоза свалочного грунта решается после проведения соответствующих исследований.

Гражданское строительство с подвальными помещениями (жилые здания, детские и лечебно-профилактические учреждения) на территории закрытого полигона без вывоза свалочного грунта не допускается. При вывозе свалочного грунта жилищное строительство может быть разрешено только после проведения соответствующих санитарно-бактериологических исследований.

3.7. Рекультивация полигона выполняется в два этапа: технический и биологический. Технический этап рекультивации включает исследования состояния свалочного тела и его воздействия на окружающую природную среду, подготовку территории полигона (свалки) к последующему целевому использованию. К нему относятся: получение исчерпывающих данных о геологических, гидрогеологических, геофизических, ландшафтно-геохимических, газохимических и других условий участка размещения полигона (свалки), создание рекультивационного многофункционального покрытия, планировка, формирование откосов, разработка, транспортировка и нанесение технологических слоев и потенциально-плодородных почв, строительство дорог, гидротехнических и других сооружений.

Для выработки решений по исключению влияния газохимического загрязнения атмосферы определяют состав и свойства образующегося биогаза, содержания органики, влажность и др. данные. С учетом полученных данных и анализа климатических и геологических условий расположения полигона составляется прогноз образования биогаза и выбирается метод дегазации и конструкция рекультивационного покрытия полигона.

Биологический этап рекультивации включает мероприятия по восстановлению территории закрытых полигонов для их дальнейшего целевого использования в народном хозяйстве. К нему относится комплекс агротехнических и фитомелиоративных мероприятий, направленных на восстановление нарушенных земель. Биологический этап осуществляется вслед за техническим этапом рекультивации.

3.8. Работы по рекультивации закрытых полигонов составляют систему мероприятий, осуществляемых как в период эксплуатации, так и в процессе самого производства работ. Для определения объемов работ, выбора технологии и оборудования в период подготовки к проведению рекультивации производится паспортизация полигона по отчетным данным спецавтохозяйства, комбинатов благоустройства и т.д. по подчиненности, за весь период эксплуатации закрытого полигона.

Организация работ

3.9. Рекультивацию территории закрытого полигона проводит организация, эксплуатирующая полигон, после получения предварительного разрешения на проведение работ в органах санитарно-эпидемиологического надзора и Минприроды (района, города, области, края) с участием предприятия, выполняющего дальнейшее целевое использование земель.

В обязанность спецавтохозяйства и других предприятий по санитарной очистке города входит своевременное проведение рекультивации и передача участка для его дальнейшего целевого использования. Технический этап рекультивации проводится самим предприятием. Биологический этап целесообразно проводить специализированными предприятиями коммунального, сельскохозяйственного или лесохозяйственного профиля за счет средств предприятия, проводящего рекультивацию.

3.10. Для проведения рекультивации разрабатывается проектно-сметная документация. Обязательной документацией проекта являются:

- исходный план полигона на начало рекультивации;

- генплан полигона после рекультивации;

- схема перемещения свалочного грунта;

- технология проведения рекультивации;

- пояснительная записка, в которой отражается характеристика:

свалочного грунта на всю глубину;

почв и пород, завозимых для рекультивации;

материалов и технических изделий, применяемых в системе дегазации;

- качественный и количественный подбор ассортимента растений и удобрений;

- сметы на проведение работ.

3.11. Основными исходными данными для проведения рекультивации являются:

- год открытия полигона;

- год закрытия полигона;

- вид вывозимых отходов (бытовые, промышленные, строительные);

- расстояние от полигона до ближайших градостроительных объектов, в км;

- общая площадь отчуждения, га;

- общий объем накопления отходов, тыс. м3;

- объем поступления отходов по годам эксплуатации, тыс. м3;

- высота слоя отходов, м;

- в т.ч. над уровнем земли, м;

- верхний слой изолирующего материала (грунт, шлак, строительные отходы и т.д.)

- толщина верхнего слоя изоляции, м;

- местность, на которой расположен полигон (лес, болото, поле, овраг, карьер, селитебная зона, район новостройки и т.д..);

- ведомственная принадлежность прилежащих земель;

- предполагаемое использование данной территории в дальнейшем;

- расстояние от места погрузки растительного грунта до закрытого полигона, км;

- самозарастание полигона, %;

- вид растений;

- вид кустарников;

- вид деревьев;

- густота травостоя, %;

- возраст деревьев, лет.

Технология рекультивации

3.12. Технологическая схема рекультивации закрытых свалок без переработки свалочного грунта приведена на рис. 15. По данной схеме производится выполаживание откосов (1) бульдозером (2), погрузка и доставка автотранспортом растительного грунта и потенциально плодородных земель (4), которые разравниваются бульдозером (5) по поверхности полигона (6), чем создается рекультивационный слой (7) и закачивается технический этап. В дальнейшем проводится биологический этап (8) и осуществляется одно из выбранных направлений рекультивации (9).

3.13. К процессам технического этапа рекультивации относятся стабилизация тела полигона, выполаживание и террасирование, сооружение системы дегазации, создание рекультивационного многофункционального покрытия, передача участка для проведения биологического этапа рекультивации. Технический этап рекультивации закрытых полигонов включает следующие операции:

- завоз грунта для засыпки трещин и провалов, его планировка;

- создание откосов с нормативным утлом наклона. Операции производятся сверху вниз при высоте полигона над уровнем земли более 1,5 м;

- строительство дренажных (газотранспортных) систем дегазации;

Рис.15 Технологическая схема рекультивации закрытых свалок без переработки свалочного грунта

1 - выположенный откос свалки; 2, 5 - бульдозер; 3 - автотранспорт; 4 - насыпная почва; 6 - закрытая свалка; 7 - рекулътивационный слой закрытой свалки; 8 - биологический этап рекультивации; 9 - рекреационное, сельскохозяйственное, лесохозяйственное направление рекультивации.

- погрузка и транспортировка материалов для устройства многофункционального покрытия;

- планировка поверхности;

- укладка и планировка плодородного слоя.

Оборудование, используемое при проведении технического этапа, приведено в приложении 4.

Материалы и технические изделия, предусматриваемые для сооружения систем дегазации, должны соответствовать требованиям государственных стандартов или технических условий.

Конструкции и применяемые материалы газовых скважин должны обеспечить их надежную эксплуатацию без капитальных ремонтов и замены основных узлов в течение 15 лет.

Для промежуточных и магистрального газопроводов должны применяться трубы из полиэтилена низкого давления с маркировкой "ГАЗ", изготовленные в соответствии с ТУ 6-19-051-538-85 типа "Т".

Соединительные детали (втулки под фланцы, переходы, отводы, тройники и др.) для полиэтиленовых труб предусматриваются по ТУ-6-19-051-539-85.

При выборе запорной арматуры следует учитывать условия ее эксплуатации по давлению газа и температуре.

При отсутствии полиэтиленовых труб могут быть применены стальные трубы. Стальные трубы должны быть прямошовные, спиральношовные или бесшовные, изготовленные из хорошо сваривающейся стали, содержащей не более 0,25% углерода, 0,056% серы и 0,046% фосфора.

Защиту труб от коррозии необходимо предусматривать в соответствии с требованиями ГОСТ 9.015-74.

3.14. В случае, если полигон выступает над уровнем земли выше 1,5 м, производится его выполаживание и при необходимости (для высотных полигонов) террасирование.

Выполаживание производится бульдозером сверху вниз перемещением свалочного грунта с верхней бровки полигона на нижнюю путем последовательных заходок. Технологическая схема выполаживания откоса свалок показана на рис. 16.

При рекультивации высотных полигонов производится совместное террасирование и выполаживание поверхности полигонов (рис. 17). Террасирование производится через 10-12 м высоты полигона. Ширина террасы 5-7 м.

Нормативный угол откоса устанавливается в зависимости от целевого использования и имеет следующие уклоны:

- для возделывания сельскохозяйственных культур, в т.ч. в полеводстве не более 2-3;

- для лугов и пастбищ не более 5-7,

- для садов не более 11;

- для посадки леса (кустарников и деревьев) не более 18;

- для организации зон отдыха, лыжных горок и т.д. не более 25-30.

3.15. Верхний рекультивационный слой закрытых полигонов состоит из слоя подстилающего грунта и насыпного слоя плодородной почвы.

В качестве искусственного подстилающего слоя (слабопроницаемое покрытие) применяются: плотные суглинки и глины толщиной слоя не менее 200 мм и с коэффициентом фильтрации не более 10-3см /с; песчаное основание толщиной не менее 150 мм, связанное битумом III-IV категории; другие нетоксичные материалы, имеющие коэффициент фильтрации 10-3см/с.

Использование материалов, не оговоренных настоящей инструкцией в качестве слабопроницаемого покрытия при рекультивации, возможно только со согласованию с отделом санитарной очистки и утилизации отходов Академии коммунального хозяйства им. К. Д. Памфилова и местными органами санэпиднадзора и охраны природы.

Данные верхнего рекультивационного слоя приведены в табл. 3.2

Плодородные земли на закрытые полигоны завозятся из мест временного складирования почвенного грунта или других возможных мест их образования. Завоз плодородных земель производится автотранспортом. Планировка поверхности до нормативного угла наклона производится бульдозером.

3.16. По окончании технического этапа участок передается для проведения биологического этапа рекультивации закрытых полигонов. Биологический этап рекультивации продолжается 4 года и включает следующие работы: подбор ассортимента многолетних трав, подготовку почвы, посев и уход за посевами. Ассортимент многолетних трав дан в приложении 5.

3.17. В первый год проведения биологического этапа производится подготовка почвы, включающая в себя дискование на глубину до 10 см, внесение основного удобрения в соответствии с нормой, приведенной в приложении 6, с последующим боронованием в 2 следа и предпосевное прикатывание.

Рис.16 Технологическая схема выполаживания откоса свалок

1b.п. - приращение горизонтальной проекции линии откоса; a - угол естественного откоса отходов; a1 - угол откоса после выполаживания; В - берма безопасности; в - ширина горизонтальном поверхности свалки; Н - высота свалки отходов.

Рис.17 Технологическая схема террассирования и выполаживания закрытой свалки

1b.п. - приращение горизонтальной проекции линии откоса; a - угол естественного откоса отходов; a1 - угол откоса после выполаживания; bтр - ширина горизонтальной поверхности террасы; h1, h2, - высота яруса; Н - высота свалки отходов.

3.18. Затем производится раздельно-рядовой посев подготовленной травосмеси. Травосмесь состоит из двух, трех и более компонентов. Подбор трав для травосмеси должен обеспечивать хорошее задернение территории рекультивируемого полигона, морозо- и засухоустойчивость, долговечность и быстрое отрастание после скашивания.

В приложении 7 приведены нормы высева семян трав. При посеве травосмеси из двух компонентов норма высева снижается на 35%, а при посеве трехкомпонентной травосмеси - на 50% от нормы высева по видам трав. Указанные нормы высева трав для северной зоны увеличивают в 2 раза.

Глубина заделки семян 1 -1 ,25 см, а крупных семян - 3-4 см. Расстояние между одноименными рядками 45 см, а между общими рядками 22,5 см.

Таблица 3.2

Высота верхнего рекультивационного слоя

Вид рекультивации

Высота рекультивационного слоя, см

высота подстилающего слоя, см

высота насыпного слоя плодородной почвы по зонам, см

южная

средняя

северная

1

2

3

4

5

Посев многолетних трав

15-20

15

15

15

Пашня

15-20

25-30

20-25

15-20

Огороды

15-20

30-35

25-30

20-25

Луга

15-20

10-15

10-15

10-15

Сады*

20-25

Кустарники

20

25-30

20-25

15-20

Деревья*

20-25

* В числителе - высота слоя в посадочной яме, в знаменателе - высота слоя на рекультивируемом участке.

3.19. Уход за посевами включает в себя полив из расчета обеспечения 35-40% влажности почвы, повторность полива зависит от местных климатических условий, скашивание на высоте 10-15 см и подкормку минеральными удобрениями в соответствии с нормой подкормки с последующим боронованием на глубину 3-5 см (см. приложение 6).

3.20. В последующем на 2, 3 и 4 годы выращивания многолетних трав производится их подкормка азотными удобрениями в весенний период, бронирование на глубину 3-5 см, скашивание на высоту 5-6 см и подкормка полным минеральным удобрением из расчета 140-200 кг/га с последующим боронованием на глубину 3-5 см и поливом из расчета 200 куб. м/га при одноразовом поливе.

3.21. Перечень основного технологического оборудования, применяемого для проведения биологического этапа рекультивации приведен в приложении 8.

3.22. Через 4 года после посева трав территория рекультивируемого полигона передается соответствующему ведомству для осуществления сельскохозяйственного, лесохозяйственного или рекреационного направлений работ для последующего целевого использования земель.

4. ОХРАНА ТРУДА, ТЕХНИКА БЕЗОПАСНОСТИ И ПРОТИВОПОЖАРНЫЕ МЕРОПРИЯТИЯ

Для каждого полигона с учетом "Правил по технике безопасности и производственной санитарии при уборке городских территорий" (М., Стройиздат, 1978) и местных условий должна быть разработана инструкция по технике безопасности и охране труда. Эта инструкция должна включать основные положения, приведенные ниже.

4.1. Организация работ:

- въезд и проезд машин по территории полигона осуществляется по установленному на данный период маршрутам;

- разгрузку мусоровозов, складирование изолирующего материала (грунт, шлак, строительные отходы), работу бульдозера по разравниванию и уплотнению ТБО или устройству изолирующего слоя на полигонах производить только на картах, отведенных на данные сутки. В зоне работы бульдозеров запрещается присутствие людей и производство каких-либо других работ;

- присутствие посторонних на территории полигона запрещается .

4.2. Разгрузочные работы:

- транспортное средство, поставленное под разгрузку, должно быть надежно заторможено;

- при размещении автомобилей на разгрузочной площадке друг за другом расстояние между транспортными средствами (в глубину) должно быть не менее 2 м, а между стоящими рядом (по фронту) - не менее 4 м;

- устройство разгрузочных площадок на уплотненных бульдозером ТБО без изолирующего сдоя не допускается;

- расстояние от внешнего откоса до разгружаемых автомобилей должно быть не менее 10 м;

- освещенность разгрузочных площадок в темное время суток должна обеспечивать нормальные условия производства работ (не менее 5 лк.)

4.3. Работы по уплотнению ТБО и устройству изолирующего слоя:

при перемещении ТБО бульдозером под откос выдвижение ножа за край откоса запрещается, а расстояние от края гусеницы до края насыпи должно быть не менее 2,0 м;

- во избежание воспламенения бытовых отходов от выхлопных газов на выхлопную трубу бульдозера следует устанавливать искрогаситель. Бульдозер должен быть укомплектован огнетушителем;

- перед тем как сойти с бульдозера, машинист должен поставить рычаг переключения передачи в нейтральное положение и опустить отвал на землю;

- чтобы не обжечь руки и лицо кипятком и паром, пробку горловины водяного радиатора следует открывать только по истечении некоторого времени после остановки работы двигателя;

- для осмотра, технического обслуживания и ремонта бульдозера необходимо установить его на горизонтальной площадке, отвал опустить на землю, выключить двигатель. При необходимости осмотра снизу отвал следует опустить на надежные подкладки;

- находиться под поднятым отвалом бульдозера, удерживаемым штоками гидравлических цилиндров или канатом блочной системы, запрещается;

- запрещается допускать к техническому обслуживанию и устранению неисправностей бульдозера посторонних лиц;

- категорически запрещается до глушения двигателя находится в пространстве между трактором и рамой бульдозера, между трактором и отвалом или под трактором;

- поднимать тяжелые части бульдозера необходимо только исправными домкратами и талями. Применять ваги и другие средства, не обеспечивающие должной устойчивости, запрещается;

- регулировать механизмы бульдозера должны два человека, из которых один находится у регулируемого механизма, а другой - на рычагах управления. Особое внимание должно быть уделено безопасности в моменты включения муфты сцепления и рукояток управления;

- кабина и рычаги управления должны быть чистыми и сухими. Запрещается загромождать кабину посторонними предметами;

- при работе в ночное время бульдозеры должны быть оборудованы: лобовым и общим освещением, обеспечивающим достаточную видимость пути, по которому перемещается машина, видимость фронта работ и прилегающих к нему участков; освещением рабочих органов и механизмов управления; задним сигнальным светом.

4.3.1. Инструкция по технике безопасности должна содержать нормы выдачи спецодежды, производственной одежды, спецжиров, продолжительность отпусков, периодичность прохождения инструктажа по технике безопасности.

4.3.2. Каждый полигон должен иметь журнал по технике безопасности и охране труда, в который заносятся все рекомендации проверяющих организаций и данные о проведении инструктажей и занятий с персоналом объекта.

4.3.3. На полигоне должны быть разработаны конкретные меры по пожарной безопасности. Для выполнения повседневных работ, надзора за первичными средствами пожаротушения и организации тушения назначается ответственный за пожарную безопасность на полигоне.

Полигоны должны быть обеспечены первичными средствами пожаротушения из расчета на 500 кв. м площади два пенных огнетушителя. В периоды особой пожароопасности целесообразно дежурство поливомоечных машин. Необходим запас песка для целей пожаротушения на территории хозяйственной зоны. При загорании гудрона, используемого для гидроизоляции основания полигона, тушение осуществляется только с помощью песка.

Персонал полигона инструктируется о правилах пожарной безопасности при эксплуатации склада горюче-смазочных материалов и передвижной теплушки (в зимний период).

На видном месте хозяйственной зоны должна быть вывешена инструкция о порядке действия персонала при возникновении пожара, способы оповещения пожарной охраны города.

4.4. Санитарная безопасность

4.4.1. Медицинское обслуживание персонала полигона включает:

установление по согласованию с ЦГСЭН периодичности медицинского обследования персонала, указания о необходимости осуществления профилактических противостолбнячных прививок, необходимость подготовки одного из рабочих по программе сандружинников.

Персонал полигона должен быть обеспечен специальной одеждой, обувью и средствами индивидуальной защиты (респиратор). Персонал должен строго соблюдать правила личной гигиены и техники безопасности.

4.4.2. Согласно письму Минздрава РСФCР от 7.07.77 № 1739-77 плодородный слой полигона после рекультивации должен отвечать следующим санитарным показателям:

- санитарное число составляет 0,98-100;

- колититр должен соответствовать 0,1 - 1;

- яйца гельминтов отсутствуют;

- число личинок и куколок мух на 0,25 кв. м поверхности рекультивационного слоя полигона представлено единичными экземплярами.

4.4.3. Государственный санитарный контроль за выполнением санитарных требований осуществляется органами и службами санитарно-эпидемиологического надзора, обслуживающими территорию расположения полигона.

4.5. Безопасность при проведении технического этапа рекультивации

4.5.1. Рекультивация закрытых полигонов проводится в соответствии с "Правилами по технике безопасности и производственной санитарии при уборке городских территорий" (М, Стройиздат, 1978 г.)

4.5.2. Рекультивируемые территории закрытых полигонов должны иметь размеры, обеспечивающие нормальный фронт работ для нужного числа автомашин.

Освещенность рекультивируемых территорий в темное время суток должна обеспечивать нормальные условия производства работ.

При размещении транспортных средств на рекультивируемой территории друг за другом расстояние между ними (в глубину) должно быть не менее 2м, а между стоящими рядом (по фронту) - не менее 4 м.

Если автотранспорт устанавливают для разгрузки вблизи внешнего откоса, то расстояние от этого откоса до транспорта должно быть не менее 10м. Автотранспорт, поставленный под разгрузку, должен быть надежно заторможен ручным тормозом с включением низшей передачи или заднего хода.

В местах разгрузочных работ запрещается находиться лицам, не имеющим прямого отношения к производству этих работ.

4.5.3. Работы по планировке рекультивируемой территории выполняются бульдозером.

При перемещении грунта бульдозером под откос выдвижение ножа за край откоса запрещается, а расстояние от края гусеницы до края насыпи должно быть не менее 2,0 м.

Остальные требования по уплотнению ТБО и устройству изолирующего слоя изложены в п. 4.3 работы.

4.5.4. Для лиц, работающих на рекультивируемых полигонах, должны быть оборудованы санитарно-бытовые помещения. Состав санитарно-бытовых помещений, их размеры оборудование определяется характером производства и должны соответствовать требованиям СНиП II-92-76 "Вспомогательные здания и помещения промышленных предприятий".

Для оказания первой помощи, при травмах и несчастных случаях на каждом полигоне при проведении рекультивации, должна быть аптечка с запасом медикаментов и перевязочных материалов.

4.5.5. Рекультивируемый полигон должен быть обеспечен первичными средствами пожаротушения из расчета на 10000 кв. м площади два пенных огнетушителя. Необходим запас песка для целей пожаротушения на территории хозяйственной зоны.

Для выполнения повседневных работ, надзора за первичными средствами пожаротушения и организации тушения назначается ответственный за пожарную безопасность на полигоне. На видном месте хозяйственной зоны должна быть вывешена инструкция о порядке действия персонала при возникновения пожара.

4.6. Безопасность при проведении биологического этапа рекультивации

4.6.1. Находиться на машинно-тракторном агрегате во время его работы и на участке производства работ разрешается только лицам, связанным с обслуживанием и выполнением технологического процесса.

Прицепка к трактору и навеска сельскохозяйственных орудий на трактор или самоходное шасси должны производиться лицами, обслуживающими данный агрегат, с применением инструмента и подъемных приспособлений, гарантирующих безопасное выполнение этих операций.

Трактористу надо вести трактора при малых оборотах двигателя, без рывков, внимательно смотреть назад и все время держать ногу на педали или руку на рычаге главной муфты сцепления.

Соединять прицепную серьгу трактор с прицепным устройством машины можно только тогда, когда трактор остановлен и передача выключена.

4.6.2. При механической обработке почвы очистку рабочих органов проводят при остановленном агрегате, опущенных рабочих органах и в рукавицах с применением специально приспособленных чистиков. Управлять рабочими органами, переводить их в рабочее или транспортное положение как у навесных, так и у прицепных машин можно только из кабины трактора.

4.6.3. Для безопасности работы на посевных, посадочных и уборочных машинах необходима их техническая исправность, наличие защитных кожухов над зубчатыми, цепными и карданными передачами, исправные сиденья, рабочие площадки и подножные доски, поручни, перила со стороны спины сеяльщика, лопатки и крючки для очистки сошников, высевающих аппаратов и разравнивания семян.

Каждая сеялка в агрегате обслуживается одним сеяльщиком; заправка сеялок семенами и удобрениями проводится механизированным способом, ручная заправка проводится только при остановленных агрегатах.

Смену и заточку ножей косилок, жаток проводят в рукавицах и, в зависимости от условий и применяемых приспособлений, в защитных очках.

4.6.4. К работе с удобрениями допускаются лица не моложе 18 лет, прошедшие инструктаж с проверкой знаний по технике безопасности и производственной санитарии при обращении с соответствующими видами удобрений и способами оказания первой доврачебной помощи при отравлении и других несчастных случаях.

При загрузке, транспортировке и внесении удобрений необходимо, чтобы пыль от них не попадала на работающих, кабину трактора и автомашины.

Запрещается водителю, трактористу и другим лицам во время погрузки удобрений находиться в кабине и на подножках, а также производить техническое обслуживание и ремонт автомашин и тракторов.

Водитель, тракторист должен следить за погрузкой с расстояния, гарантирующего от попадания на него удобрений.

Удобрения не должны возвышаться над верхними краями бортов кузова разбрасывателя.

Во время погрузки в кузов автомашин разбрасывателя минеральных удобрений рабочие органы грейферных и фронтальных погрузчиков должны проходить сбоку или сзади автомашины (трактора).

Для предотвращения распыливания удобрений при разбрасывании в ветреную погоду на разбрасыватель должны навешиваться ветрозащитные устройства.

Разбрасывание удобрений вручную с движущегося транспортного средства запрещается. Между рабочим, находящимся в кузове, и трактористом или шофером должна быть установлена двусторонняя сигнализация.

Для защиты глаз от пылевидных материалов должны использоваться очки закрытого типа, герметичные, марки ПО-2 с резиновой полумаской или очки закрытого типа со скрытыми вентиляционными отверстиями С-1, С-5, С-35.

Для защиты органов дыхания от минеральных удобрений работающие должны использовать противопылевые респираторы: типа "Лепесток", У-2К и "Астра-2". При повышенной влажности воздуха (дождь, туман) следует пользоваться респираторами типа 2-2К и "Астра-2".

Для защиты при работе с минеральными удобрениями следует использовать спецодежду, рукавицы "РК", резиновые сапоги.

ПРИЛОЖЕНИЯ

Приложение 1

Пример расчета емкости и площади полигона

Исходные данные:

Расчетный срок эксплуатации Т=20 лет. Годовая удельная норма накопления ТБО с учетом жилых зданий и непромышленных объектов на год проектирования У1=1,1 м3/чел/год. Количество обслуживаемого населения на год проектирования Н1=250 тыс. чел, прогнозируется через 20 лет с учетом близко расположенных населенных пунктов Н2=350 тыс. чел. Высота складирования ТБО, предварительно согласованная с архитектурно-планировочным управлением, Нп=40 м.

1. Расчет проектной вместимости полигона ТБО

Вместимость полигона Ет на расчетный срок определяется по формуле:

         (1)

где У1 и У2 - удельные годовые нормы накопления ТБО по объему на 1-ый и последний годы эксплуатации, м3/чел.год;

Н1 и Н2 - количество обслуживаемого полигоном населения на 1-ый и последний годы эксплуатации, чел;

Т - расчетный срок эксплуатации полигона, лет;

К1 - коэффициент, учитывающий уплотнение ТБО в процессе эксплуатации полигона на весь срок Т;

К2 - коэффициент, учитывающий объем наружных изолирующих слоев грунтов (промежуточный и окончательный).

Определим значение параметров, отсутствующих в исходных данных. Удельная годовая норма накопления ТБО по объему на 2-ой год эксплуатации определяется из условия ее ежегодного роста по объему на 3% (среднее значение по РФ 3-5%).

У2=1,1´(1,03)´20=1,1´1,805=1,99 м3/чел.год

Коэффициент К1 учитывающий уплотнение ТБО в процессе эксплуатации полигона за весь срок Т (если Т=15 лет), принимаем по таблице П. 1.1, с учетом применения для уплотнения бульдозера массой 14т - К1=4.

Коэффициент К2, учитывающий объем изолирующих слоев грунта в зависимости от общей высоты, принимаем по таблице П. 1.2 К2=1,18.

Проектируемая вместимость полигона Ет составит:

Ет=(1,1+1,99)´(250000+350000)´20´1,18(4,4)=2734650 м3

2. Расчет требуемой площади земельного участка полигона

Площадь участка складирования ТБО определяется по формуле:

Фу.с=3 Е:Нп

где 3 - коэффициент, учитывающий заложение внешних откосов 1:4;

Нп - высота полигона, равна 40 м. Площадь земельного участка полигона составляет:

Фу.с=3´2734650:40=205099м2=20,5 га

Таблица П.1.1

Значение коэффициента К1, учитывающего уплотнение ТБО в процессе эксплуатации полигона

Масса бульдозера или катка, т

Полная проектируемая высота полигона, м

К1

3-6

20....30

3

12-14

менее 10

3,7

12-14

20....30

4

20-22

50 и более

4,5

Примечание: Значения К1 приведены при соблюдении послойного уплотнения ТБО, оседания в течение не менее 5 лет и плотности ТБО в местах сбора р1 =200 кг/м3.

Таблица П.1.2

Значение коэффициента К2,  учитывающего объем изолирующих слоев

Общая высота, м

5,25

7,5

9,75

12...15

16...49

40...50

более 50

К2

1,37

1,27

1,25

1,22

1,2

1,18

1,16

Примечание: При обеспечении работ по промежуточной и окончательной изоляции полностью за счет грунта, разрабатываемого в основании полигона, К2=1. В табл. П.1.2. слой промежуточной изоляции принят 0,25 м. При применении катков Км-305 допускается слой промежуточной изоляции 0,15 м.

Требуемая площадь полигона составит:

Ф=1,1´Фу.сдоп.,                                                             (2)

где 1,1 - коэффициент, учитывающий полосу вокруг участка складирования;

Фдоп. - площадь участка хозяйственной зоны и площадки мойки контейнеров.

Ф=1,1´20,5+1,0=23,6 га

3. Расчет фактической вместимости полигона

Полигон проектируется на плоском рельефе. Фактически отведенная площадь участка составила 22,3 га, в том числе собственно под полигон 21,7 га и 0,6 га под подъездную дорогу от автомагистрали длиной 0,5 км. Грунт в основании полигона на 2 м глубины состоит из легких суглинков, далее идут тяжелые суглинки и грунтовые воды на глубине 3,5 м.

Принимается решение полностью обеспечить потребности в грунте для промежуточной и окончательной изоляции за счет рытья котлована в основании полигона.

Реальный участок складирования ТБО в проекте имеет прямоугольную форму длиной 440 м, шириной 400 м (Рис. П.1.1). Все размеры на рис. П.1.1 указаны в метрах.

Рис.П.1.1 План и разрез высоконагруженного полигона на плоском рельефе

а - план, б - разрез по А-А; I-V - очереди строительства и эксплуатации полигона; 1 - кавальер грунта; 2 - граница полигона; 3 - граница участка складирования ТБО; 4 - временная дорога на участке складирования; 5 - граница очередей эксплуатации; 6 - существующая автомагистраль; 7 - подъездная дорога; 8 - хозяйственная зона; 9 - верхний изолирующий слой; 10 - котлован в основании полигона.

Высота полигона Н определяется из условия заложения внешних откосов 1:4 и необходимости иметь размеры верхней площадки, обеспечивающие надежную работу мусоровозов и бульдозеров:

Н=Ш:8-н,                                                          (3)

где Ш - ширина участка складирования ,м;

8 - двойное заложение откосов (4х2);

н - показатель снижения высоты полигона, обеспечивающий оптимальные размеры плоской верхней площадки, м.

Минимальная ширина верхней площадки определяется удвоенным радиусом разворота мусоровозов и соблюдением правила размещения мусоровозов не ближе 10 м от откоса:

Шв=9´2+10´2=38 м

Для удобства работ на верхней площадке принимаем ее ширину равной 80 м.

Показатель снижения высоты будет:

н=80:8=10 м

Высота полигона составит:

Н=400:8-10=40 м

Фактическая вместимость полигона с учетом уплотнения рассчитывается по формуле усеченной пирамиды:

                                                (4)

где С1 и С2 - площади основания и верхней площадки, м2

Примечание: вместимость котлована в основании полигона не учитывается, так как весь грунт из него идет на изоляцию ТБО. В этих условиях Еф равно Бу - объему уплотненных ТБО.

Для верхней плоской площадки составляет:

440-40´8=120 м

Ширина верхней площадки будет:

400-40´8=80 м

По формуле (4) рассчитываем фактическую вместимость:

Еф=(440´400+120´80+400´440´120´80)´40=(176000+9600+41160)х40=3023467 м3

Потребность в изолирующем материале определяется по формуле:

В=Ву(1-1/К2)                                                              (5)

Для изоляции 3023467 м3 уплотненных ТБО потребуется грунт в объеме:

Вг=33023467(1-1/К2)=3023467(1-1/1,18)=453520 м3

В рассматриваемых условиях Вг - емкость котлована. Средняя проектируемая глубина котлована в основании полигона определяется по формуле:

Нк=1,1´Вг1,

где 1,1 - коэффициент, учитывающий откосы и картовую схему котлована;

Нк=1,1´453520:176000,0=2,83 м

Площадь участка складирования разбивается на четыре очереди эксплуатации с габаритами 200´220 м и площадью 44000 м2 - 4,4 га.

Каждая из этих очередей эксплуатируется с учетом укладки пяти рабочих слоев ТБО (2 м ТБО и 0,25 м грунта). Общая высота составит:

2´5+0,25´5=11,25м

В том числе над поверхностью земли (черных отметок) высота насыпи за каждую очередь составит;

11,25-2,83=8,42 м.

Объем котлована одной очереди будет:

153520:4=113380м3

Наращивание высоты с отметки 9 м до 39 м и окончательную изоляцию слоем 1 м условно можно считать пятой очередью эксплуатации. Срок эксплуатации каждой очереди в среднем 4 года.

Грунт из котлована I очереди складируется в кавальер для его использования при окончательной изоляции полигона. Кавальер размещается по внешней границе I, III и IV очередей. Длина кавальера составляет:

410+475=885 м.

Площадь поперечного сечения кавальера будет:

113380:885=128,1м2

Кавальер имеет форму трапеции с шириной основания 24 м, шириной по верху 4,5 м и высотой 9 м. Площадь поперечного сечения составляет:

(4,5+24) ´9:2= 128,25м2

Площадь, занимаемая кавальером грунта, составляет:

885´24=21240 м2=2,1 га

Планировка хозяйственной зоны с примыкающими к ней сооружениями приведена на рис. П.1.2

Рис.П.1.2 План хозяйственной зоны и примыкающих сооружений

1 - подъездная дорога; 2 - ограждение полигона; 3 - площадка для складирования сборно-разборных временных дорог; 4 - трансформаторная подстанция; 5 - административно-бытовое здание; 5" - окно конторского помещения; 6 - транспортный поток прибывающих машин; 6" - то же убывающих машин; 7 - ворота полигона; 8 - грязеотстойник; 9 - площадка для дезинфекции; 10 - противопожарный резервуар; 11 - навес (помещение) для машин и механизмов; 12 и 13 - ворота и ограждение хозяйственной зоны; 14 - склад ГСМ.

Планировка хозяйственно-бытового здания представлена на рис. П.1.3. Здание состоит из двух блоков, разделенных стенкой, имеющей газопароизоляцию. Основной вход в здание запроектирован с территории зоны, что ограничивает посещение его водителями мусоровозов и грузчиками. Второй выход является запасным на случай пожара.

Рис.П.1.3 План производственно-бытового здания

1 - мужской гардероб и душ; 2 - сушилка спецодежды; 3 - санузел; 4, 5 - комнаты мастера и начальника; 6 - конторское помещение; 7 - тамбур; 8 - комната отдыха и приема пищи; 9 - лаборатория; 10 - сторожевая охрана; 11- кладовая; 12 - женский гардероб и душ.

По другую сторону подъездной дороги, напротив производственного бытового здания, размещается площадка дезинфекции мусоровозов. Взаимное размещение зоны и дезинфекционной площадки обеспечивает выезд машин на площадку и выезд после дезинфекции с территории полигона без пересечения транспортного потока прибывающих на полигон мусоровозов.

В засушливых районах для сбора и обезвреживания фильтрата, как исключение, может применяться бессточная схема. По этой схеме осветленный в грязеотстойниках фильтрат самотеком подается на насосную станцию. С целью удешевления системы в насосной станции монтируется один песковой насос, резервный насос (второй) предусматривается сметой, но хранится на складе.

Насосной станцией в летний период стоки перекачиваются в сборно-разборную систему трубопроводов. Из перфорированных труб обеспечивается дождевание или разлив по поверхности покрытых промежуточной изоляцией рабочих карт полигона. Распределение фильтрата принимается из расчета до 30 м3 в сутки воды на участок площадью 1 га в течение 6 месяцев в году. Схема сооружений дана на рис. П.1.4.

Для полигонов, организуемых на срок менее 6 лет, и полигонов, принимающих менее 120 тыс. м3 ТБО в год, функции производственно-бытового здания выполняют изготавливаемые промышленностью типовые передвижные вагоны. Их характеристика приведена в табл. П.1.3.

Рис.П.1.4 Схема подачи стоков на поверхность карт полигона

1 - разборные перфорированные трубы; 2- стойки; 3 - промежуточная изоляция, 4 - коллектор вдоль карт; 5 - напорный трубопровод; 6 - ТБО; 7 - водоупорный вал (кромка котлована); 8 - насосная станция; 9 - насос; 10 - всасывающий патрубок; 11 - стоки; 12 - подающий трубопровод фильтрата; 12 - дренажная траншея; 14 - водоупорное основание полигона; 15 - направление потока фильтрата.

Для полигонов, находящихся на значительном расстоянии от существующей магистральной дороги, самостоятельная часть подъездной дороги выделяется в отдельный объект, строящийся при долевом участии заинтересованных организаций, размещающихся вдоль этой дороги.

Таблица П.1.3

Типовые передвижные вагоны.

Назначение

Завод - изготовитель

Контора на 3 рабочих места
Помещение для обогрева на 12 чел, с сушилкой для спецодежды

Пеновский деревообделочный комбинат
(172770, г. Пенза)

Пункт питания на 10 мест
Гардероб - душевая на 9 мужчин
Гардероб - душевая на 7 женщин с гигиенической кабиной

Калининской обл.
Вышневолокский ДОК
(171110, г. Вышний Волочек, Калининской обл.)

Приложение 2

Пример организации эксплуатации полигона

1. Журнал регистрации ТБО

Форма

Дата приема ТБО

Владелец транспорта

№ машины

№ маршрута

Количество доставляемых ТБО

м3

т

1

2

3

4

5

6

2. Технологическая схема эксплуатации

График эксплуатации полигона, принимающего 1 тыс. м3 ТБО в сутки в течение одного года, дан в таблице П.2.1.

Таблица П.2.1

График эксплуатации полигона

Месяц

Планируемый прием ТБО

Изоляция грунтом

Особенности технологии

карта №

объем тыс. м3

карта разработки №

изолируемая карта №

объем тыс. м3

Январь

1

30

-

-

 

Изоляция снегом

февраль

2

26

-

-

 

то же

Март

3

26

-

-

 

-

Апрель

4

40

-

-

 

Увеличение поступления отходов за счет работ по благоустройству

Май

5

30

13

1, 2, 5

4

Грунт разрабатывается скрепером

Июнь

6

26

13

3, 4, 6

4

тоже

Июль

7

26

13

7

1,3

-

Август

8

28

14

8

1,4

-

Сентябрь

9

28

14

9

1,4

-

Октябрь

10

30

14

10

1,5

-

Ноябрь

11

35

14

11

1.5

Изоляция грунтом

Декабрь

12

26

-

-

-

Изоляция снегом

3. Организация разгрузки ТБО

Объем ТБО, принимаемых у рабочей карты за рабочий день Ор.д=1000 м3/сут. ТБО доставляются мусоровозами, вмещающими 24 м3, каждому мусоровозу для разгрузки требуется площадка 50м2.

Объем ТБО, разгружаемых одновременно, определяется по формуле:

Ос=0,125Ор.д.,                                                     (1)

где 0,125 - коэффициент, определяющий минимальную площадь разгрузки мусоровозов.

Объем ТБО составит:

Ос.=0,125´1000=125 м3

На участке площадки одновременно будут разгружаться:

125:24=5 мусоровозов

Площадь участка разгрузки составит:

50´5=250 м2

Общая площадь участка перед рабочей картой, где осуществляется разгрузка, будет:

250´2=500 м2

4. Организация рабочей карты

Плотность поступающих на полигон ТБО - Р1=200 кг/м3, плотность ТБО после уплотнения бульдозерами - Рп=670 кг/м3, высота уплотненного слоя ТБО на карте 2 м.

Расчет требуемой площади рабочей карты Фр.к. осуществляется по формуле:

                                                        (2)

Фр.к.=1000 200:(2´670)= 150 м2

Принимается рабочая карта шириной 5м и длиной 30 м. Участок перед рабочей картой, где осуществляется разгрузка, принимается той же длины 30 м и шириной 500:30=17 м.

5. Расчет потребности в бульдозерах

На сдвиге разгруженных мусоровозами ТБО на рабочую карту работает бульдозер на базе трактора, мощностью 74 кВт (100 л.с.). Перемещение ТБО осуществляется на расстояние 5+17=22 м. С учетом дополнительных маневров и откоса у рабочей карты принимаем расстояние перемещения 30 м.

Производительность бульдозеров по сдвиганию ТБО на рабочую карту соответствует показателям по грунту 1 группы ЕНиР, сб. 2.

Норма времени на 1000 м3 ТБО согласно ЕНиР, (сб. 2, §2-1-15) будет:

0,53+0,46´2=1,45 ч

Производительность бульдозера составит:

100:1,24=69 м3

На сдвигание доставляемых за сутки ТБО потребуется рабочее время в количестве:

1000:69=14,5 ч

При фактическом времени работы за сутки Тс=11,5 ч потребность в бульдозерах составит 14,5´11,5=1,3 шт.

На технологической операции по уплотнению ТБО на рабочей карте работает бульдозер массой 14 т, с эксплуатационной скоростью С=3000м/ч и с шириной гусениц 0,5 м. Уплотнение осуществляется 4-кратным проездом:

У1=(0,5+0,5):4=0,25 м.

Длина рабочей карты Д=30 м, ширина Шр=5 м, ширина откоса шр=4 м, толщина слоя формируемого уплотнения а=0,25 м. Фактически продолжительность работы бульдозеров на уплотнении Тс=11,5 ч, коэффициент, учитывающий потери рабочего времени за смену, равен 0,65.

Потребность в бульдозерах на технологической операции уплотнения определяется по формуле:

                                              (3)

Бу=30´(5+4)´670´2:(3000´0,65´0,25´200´0,25´11,5)=1,3 шт.

Общее количество бульдозеров, учитывая работы на технологической операции по промежуточной изоляции рабочей карты грунтом слоем 0,25 м, принимаем 3 шт.

6. Определение потребности в воде для увлажнения ТБО

Влажность принимаемых на полигон ТБО - 33%, их необходимо увлажнить до 38%, т.е. на 5%.

На 1000 кг ТБО необходимо подать воды:

1000´0,05=50 л.

На 1 м3 ТБО плотностью Р=200 кг/м3 подается воды:

50х0,2=10 л.

Общий расход воды на увлажнение 1000 м3 ТБО за сутки составит 1000´10=10000 л/сут= 10 м3/сут

Приложение 3

Нормы потребности в машинах и оборудовании для полигонов ТБО

Таблица П.3.1

Нормы потребности в бульдозерах и катках-уплотнителях (ед.) при разравнивании бытовых отходов и формировании изоляционного слоя

Годовой объем отходов, поступающих на полигон, тыс. м3

Бульдозеры мощностью, кВт (л. с.)

Катки-уплотнители КМ-305

легкие

средние

тяжелые

5-60 (68-82)

60-70 (82-96)

90-120 (144-163)

30

-

1

-

-

60

1

1

-

-

120

2

1

-

-

180

-

-

2-3

-

240

-

-

3

-

360

-

-

-

2

800

-

-

-

4

1000

-

-

6

2

1500

-

-

 

8

2000

-

-

9

4

3000

-

-

-

16

Таблица П.3.2

Нормы потребности в экскаваторах (ед.) при добыче грунта для создания изоляционных слоев

Годовой объем отходов, поступающих на полигон, тыс. м3

Емкость ковша, м3

0,25

0,5

0,63-0,65

1

180

1

-

-

-

240

1

-

-

-

360

1

-

-

-

800

-

1

-

-

1000

-

1

-

-

1500

-

-

1

-

2000

-

-

2

-

3000

-

-

-

2

Таблица П.3.3

Нормы потребности в автосамосвалах (ед.) при работе с экскаваторами с разной емкостью ковша и различной дальностью транспортировки грунта для создания изоляционных слоев

Годовой объем отходов, поступающих на полигон, тыс. м3

Грузоподъемность самосвала, т

0,25 м3

0,5м3

0,65 м3

3

5 км

10 км

15 км

5 км

10 км

15 км

5 км

10 км

15 км

5 км

10 км

15 км

180

5,25-5,8

1

1

2

-

-

-

-

-

-

-

-

-

7-8

 

 

 

 

 

 

 

 

 

 

 

 

240

5,25-5,8

1

2

2

-

-

-

-

-

-

-

-

-

7-8

 

 

 

 

 

 

 

 

 

 

 

 

360

5,25-5,8

1

2

3

-

-

-

-

-

-

-

-

-

7-8

 

 

 

 

 

 

 

 

 

 

 

 

800

5,25-5,8

3

3

4

-

-

-

-

-

-

-

-

-

7-8

2

2

4

2

4

5

-

-

-

-

-

-

10

-

-

3-4

-

3

-

-

-

-

-

-

-

1000

5,25-5,8

3

6

8

-

-

-

-

-

-

-

-

-

7-8

3

5

6

3

4

6

-

-

-

-

-

-

10

2

3

5

2

3

4

-

-

-

-

-

-

1500

7-8

-

-

-

4

6

9

4

6

9

-

-

-

10

-

-

-

3

4

6

3

4

6

-

-

-

2000

7-8

-

-

-

5

8

11

5

8

11

-

-

-

10

-

-

-

4

6

8

4

6

8

-

-

-

3000

7-8

-

-

-

-

-

-

7

12

17

7

12

17

10

-

-

-

-

-

-

5

8

13

5

8

12

Приложение 4

Основное технологическое оборудование, используемое при рекультивации закрытых полигонов

Наименование технологических операций

Тип оборудования

Краткая техническая характеристика

Примечания

Модель

Базовая машина (мощность)

Производительность, м3

Емкость, м3

Дальность транспортирования 1500-2500м

Выполаживание откосов отвалом

бульдозер

ДЗ-42

ДТ-75

44,8

-

Террасирование откосов бульдозером (для высотных полигонов)

бульдозер

ДЗ-43

ДТ-75

44,8

-

Погрузка и доставка на рекультивируемую территорию плодородных или потенциально плодородных земель

экскаватор

ЭО-4321

-

-

0,65

Их укладка и планировка

бульдозер

ДЗ-17

Т-130

44,8

-

автотранспорт

КрАЗ-2566

240 л.с.

32-26,5

5,5-8,3

Приложение 5

Ассортимент многолетних трав для биологического этапа рекультивации закрытых полигонов

Южная                                      Средняя                                   Северная

Донник белый                           Ежа сборная                            Волоснец сибирский

Костер безостный                    

Клевер белый                            Клевер красный                      Клевер красный

Люцерна желтая                       Мятлик луговой                      Мятлик луговой

Люцерна синегибридная         Мятлик обыкновенный          Мятлик обыкновенный

Овсяница бороздчатая              Овсяница красная                   Овсяница луговая

Овсяница луговая                      Полевица белая

Рейграс пастбищный                Пырей бескорневищный

Эспарцет песчаный                  Тимофеевка луговая               Тимофеевка луговая

Приложение 6

Нормы внесения удобрений при рекультивации

Минеральные удобрения

Нормы внесения действующего вещества, кг/га

Основное допосевное внесение

Подкормка

Азотные

-

40-60

Фосфорные

60-90

60-80

Калийные

60-80

40-60

Древесная зола

400-800

-

Приложение 7

Нормы высева семян многолетних трав

Наименование видов трав                                      Норма высева, кг/га

Клевер белый                                                                         10-12

Клевер красный                                                                     19-20

Костер безостный                                                                  35-38

Донник                                                                                   30-31

Люцерна желтая                                                                    15-18

Эспарцет песчаный                                                                 75

Волоснец сибирский                                                             23-25

Житник гребенчатый                                                            23-25

Регнерия волокнистая                                                             44

Пырей бескорневищный                                                         38

Пырей сизый                                                                            25

Овсяница красная                                                                  28-31

Овсяница луговая                                                                  29-31

Рейграс пастбищный                                                             31-35

Тимофеевка луговая                                                              15-18

Мятлик луговой                                                                     19-25

Полевица белая                                                                      14-19

Ежа сборная                                                                           18-19

Приложение 8

Основное технологической оборудование, применяемое при биологическом этапе рекультивации

Технологическая операция

Тип оборудования

Модель

Базовая машина (мощность), л. с.

Кол-во, ед. шт.

Рассев удобрений

Разбрасыватель минеральных удобрений

РУМ-8

Беларусь КО-705

1

Основная обработка почвы

Плуг комбинированный лесной

ПКЛ-70

Беларусь КО-705

1

Боронование

Борона зубовая

ШБ-2,5

Беларусь КО-705

1

Посев многолетних трав

Сеялка универсальная для лесопитомников

СЛТ-3,6

Беларусь КО-705

1

Прикатывание

Каток гладкий

ЭКВГ-1,4

Беларусь КО-705

1

Полив

Поливомоечная машина

КО-002

ЗиЛ-130

1

Копка траншей

Канавокопатель

ЛКН-600

Беларусь КО-705

1

Посадка саженцев

Лесопосадочная машина для саженцев

МЛУ-1-1

Беларусь КО-705

1

Уход за саженцами

Культиватор ротационный лесной

КРЛ-1

ЗиЛ-130

1

Полив саженцев

Поливомоечная машина

КО-002

 

1

Приложение 9

Перечень примышленных отходов IV класса опасности, принимаемых на полигоны твердых бытовых отходов без ограничения и используемых в качестве изолирующего материала

Код группы и вида   Вид отхода

отходов

1.24.01                       Алюмосиликатный шлам СБ-г-43-6

1.36.02.1                    Асбестоцементный лом

1.36.02.2                    Асбокрошка

1.39.01                       Бентонита отходы

1.31.01                       Шрафит отработанный производства карбида кальция

1.39.02                       Гипсосодержащие отходы производства витамина В-6

1.39.03                       Известь-кипелка, известняк, шламы после гашения

1.39.04                       Мела химически осажденного твердые отходы

1.39.05                       Окись алюминия в виде отработанных брикетов (при производстве АlСl3)

1.39.06                       Окись кремния при производстве ПВХ и АlСl3

1.39.07                       Паранита отходы

1.39.08                       Плав солей сульфата натрия

1.39.09                       Селикагель (из адсорберов осушки нетоксичных газов)

1.24.02                       Селикагеля производства шлам с фильтр-прессов (содержит глину и кремнизем)

1.24.03                       Соды гранулированный шлам

1.24.04                       Содово-цементного производства отходы дистилляции в виде СаS04

1.29.00                       Формовочные стержневые смеси, не содержащие тяжелых металлов

1.24.05                       Химводоочистки и умягчения воды шламы

1.27.01                       Хлорид-натриевые осадки сточных вод производства лаковых эпоксидных смол

1.39.10                       Хлорная известь нестандартная

1.36.02.3                    Шиферного производства твердые отходы

1.39.1                         Шлаки ТЭЦ, работающих на угле, торфе, сланцах или бытовых отходах

1.39.12                       Шлифовальные материалы

Приложение 10

Перечень промышленных отходов III и IV классов опасности, принимаемых на полигоны твердых бытовых отходов в ограниченном количестве и складируемых совместно (нормативы на 1000 м3 твердых бытовых отходов)

Код группы и вида отходов

Вид отходов

Предельное количество промышленных отходов тонн на 1000м3 ТБО

1.24.6

Кубовые остатки производства уксусного ангидрида

3

1.39.13

Резита отходы (отвержденная смола)

3

1.39.14

Твердые отходы производства вспенивающихся полистирольных пластиков

10

Отходы производства электроизоляционных материалов

1.39.15

Гетинакс электротехнический листовой Ш-8,0

10

1.39.16

Липкая лента ЛСНПЛ-0,17

3

1.39.17

Полиэтиленовая трубка ПНП

10

1.39.18

Стеклянная ткань Э2-62

3

1.39.20

Текстолит электротехнический листовой Б-16,0

 

1.39.21

Фенопласт 03-010-02

10

Твердые отходы суспензионного, эмульсионного производства

1.39.22

Сополимеров стирола с акрилонитрилом или метилметакрилатом

3

1.39.23

Полистирольных пластиков

3

1.39.24

Акрилонитрилбутадиенстирольных пластиков

10

1.39.25

Полистиролов

3

Приложение 11

Перечень промышленных отходов IV-III классов опасности, принимаемых в ограниченных количествах и складируемых с соблюдением особых условий

Код группы и вида отходов

Вид отхода

Предельное кол-во промышленных отходов на 1000 м3 ТБО

Особые условия складирования на полигоне или подготовки на промышленных предприятиях

1

2

3

4

1.39.26

Активированный уголь производства витамина В-6

3

Укладка слоем не более 0,2 м

1.39.27

Ацетобутилацетат целлюлозы отходы

3

Прессование в кипы размером не более 0,3´0,3м в увлажненном состоянии

1.39.28

Древесные и опилочностружечные отходы

10

Не должны содержать опилки, идущие на посыпание полов в производственных помещениях

1.21.6

Лоскут хромовый

3

Укладка слоем не более 0,2 м

1.39.29

Невозвратная деревянная и бумажная тара

10

Не должны включать промасленную бумагу

1.39.30

Обрезь кожезаменителей

3

Укладка слоем не более 0,2 м

1.39.31

Отбельная земля

3

Затаривание в мешки в увлажненном состоянии

 

Предельная суммарная нагрузка по приложениям №№ 8 и 9

100

 

Примечание: Вырубка резины и прочие резиноотходы могут приниматься без количественных ограничений при наличии специально открываемых для них в грунте траншей с последующей засыпкой.

 




ГОСТЫ, СТРОИТЕЛЬНЫЕ и ТЕХНИЧЕСКИЕ НОРМАТИВЫ.
Некоммерческая онлайн система, содержащая все Российские Госты, национальные Стандарты и нормативы.
В Системе содержится более 150000 файлов нормативно-технической документации, действующей на территории РФ.
Система предназначена для широкого круга инженерно-технических специалистов.

Рейтинг@Mail.ru Яндекс цитирования

Copyright © www.gostrf.com, 2008 - 2026