|
|
|
МИНИСТЕРСТВО АВТОМОБИЛЬНЫХ ДОРОГ РСФСР РУКОВОДСТВО
МОСКВА «ТРАНСПОРТ» 1982
ВВЕДЕНИЕПропускная способность зависит от большого числа факторов: дорожных условий (ширины проезжей части, продольного уклона, радиуса кривых в плане, расстояния видимости и др.), состава потока автомобилей, наличия средств регулирования, погодно-климатических условий, возможности маневрирования автомобилей по ширине проезжей части, психофизиологических особенностей водителей и конструкции автомобилей. Изменение из этих факторов приводит к существенным колебаниям пропускной способности в течение суток, месяца, сезона и года. При частом расположении помех на дороге происходят значительные колебания скорости, приводящие к появлению большого числа автомобилей, движущихся в группах, а также снижению средней скорости всего потока. На пропускную способность маршрута в целом существенно влияет время, затрачиваемое на преодоление узких мест отдельных участков дороги. Продолжительность этого времени может меняться от нескольких десятков секунд на регулируемых пересечениях до нескольких минут на затяжных подъемах и железнодорожных переездах. Увеличение этого времени может резко изменить пропускную способность и создать заторы, а также увеличить протяжение участка, на котором сказывается влияние затора на режим движения автомобилей. Поэтому снижение продолжительности преодоления узких мест позволяет улучшить условия движения не только в их зоне, но и в целом по дороге, повысить ее пропускную способность. Определение пропускной способности необходимо не только для выявления участков, требующих улучшения условий движения, но и для оценки экономичности и удобства движения всего потока автомобилей по маршруту, выбора эффективных средств организации движения. Любая дорога может работать при загрузках различной интенсивности. При этом предельной будет интенсивность, соответствующая пропускной способности дороги. Эффективность транспортной работы дороги может характеризоваться как пропускной способностью, так и интенсивностью, при которой движение по дороге наиболее экономично и оптимально по условиям работы водителя. Пропускная способность автомобильных дорог может быть повышена: 1) проектированием сочетания элементов плана и продольного профиля, не вызывающих резкого изменения скоростей; 2) назначением ширины проезжей части, позволяющей разделить поток автомобилей по составу (дополнительные полосы на подъемах, на пересечениях в одном уровне) и обеспечивающей оптимальную загрузку, при которой движение происходит с достаточно высокими скоростями; 3) повышением ровности покрытия и его сцепных качеств; 4) реконструкцией пересечений в одном уровне (например, устройство разных типов канализированных пересечений) или устройством пересечений о разных уровнях; 5) выбором средств регулирования, обеспечивающих рациональный режим движения; 6) снабжением водителей полной информацией об условиях движения по маршруту; 7) улучшением работы дорожно-эксплуатационной службы, особенно зимой. Существенное увеличение пропускной способности дорог можно достигнуть путем повышения динамических качеств автомобилей, особенно их приемистости (возможности быстро набирать скорость с места), и мастерства водителей. Повышая пропускную способность, можно добиться и увеличения скоростей с одновременным обеспечением безопасности движения. Это будет способствовать значительному повышению производительности автомобильного транспорта. Учитывая сложность определения пропускной способности и ее зависимость от большого числа факторов, в Руководстве приведены не только общий метод оценки пропускной способности, но и методы, позволяющие детальнее учитывать условия движения на наиболее сложных участках дорог. Раздел 1
|
|||||||||||||||||||||||||||||||||||||||||||||||||||||||||||||||||||||||||||||||||||||||||||||||||||||||||||||||||||||||||||||||||||||||||||||||||||||||||||||||||||||||||||||||||||||||||||||||||||||||||||||||||||||||||||||||||||||||||||||||||||||||||||||||||||||||||||||||||||||||||||||||||||||||||||||||||||||||||||||||||||||||||||||||||||||||||||||||||||||||||||||||||||||||||||||||||||||||||||||||||||||||||||||||||||||||||||||||||||||||||||||||||||||||||||||||||||||||||||||||||||||||||||||||||||||||||||||||||||||||||||||||||||||||||||||||||||||||||||||||||||||||||||||||||||||||||||||||||||||||||||||||||||||||||||||||||||||||||||||||||||||||||||||||||||||||||||||||||||||||||||||||||||||||||||||||||||||||||||||||||||||||||||||||||||||||||||||||||||||||||||||||||||||||||||||||||||||||||||||||||||||||||||||||||||||||||||||||||||||||||||||||||||||||||||||||||||||||||||||||||||||||||||||||||||||||||||||||||||||||||||||||||||||||||||||||||||||||||||||||||||||||||||||||||||||||||||||||||||||||
|
Вид дороги |
Категория рельефа по СНиПу |
Кр в зависимости от категории дороги |
||||
|
I |
II |
III |
IV |
V |
||
|
Подходы к крупным городам |
1 |
0,80 |
0,92 |
0,99 |
1,00 |
1,00 |
|
2 |
0,75 |
0,87 |
0,95 |
0,99 |
1,00 |
|
|
3 |
0,65 |
0,77 |
0,86 |
0,94 |
1,00 |
|
|
Дороги промышленных зон и районов |
1 |
0,90 |
0,96 |
0,99 |
1,00 |
1,00 |
|
2 |
0,80 |
0,90 |
0,97 |
1,00 |
1,00 |
|
|
3 |
- |
0,79 |
0,90 |
0,96 |
1,00 |
|
|
Дороги сельскохозяйственных районов |
1 |
- |
0,90 |
0,98 |
1,00 |
1,00 |
|
2 |
- |
0,85 |
0,92 |
0,97 |
1,00 |
|
|
3 |
- |
- |
- |
0,93 |
0,98 |
|
|
Дороги курортных районов |
1 |
0,71 |
0,82 |
0,92 |
0,98 |
1,00 |
|
2 |
0,65 |
0,77 |
0,87 |
0,95 |
0,99 |
|
|
3 |
0,55 |
0,68 |
0,80 |
0,90 |
0,95 |
|
Принимают во внимание погодно-климатические условия, условия формирования интенсивности движения на дороге, характеристик рельефа местности; интенсивность и состав движения.
1.26. Расчетная пропускная способность
, (1.7)
где kр - коэффициент перехода от теоретической пропускной способности к расчетной; Рт - теоретическая пропускная способность, легковых авт/ч.
Значения коэффициентов kр приведены в табл. 1.1.
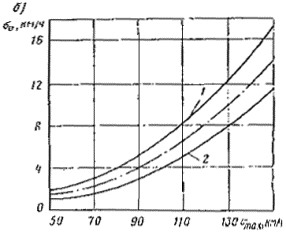
1.27. Пропускная способность зависит от скорости движения, обеспечиваемой дорогой (рис. 1.5).
1.28. Состояние потока автомобилей и условия движения на дороге характеризуются уровнем удобства движения, являющимся комплексным показателей экономичности, удобства и безопасности движения. Основными характеристиками уровней удобства являются: коэффициент загрузки движения z, коэффициент скорости с, коэффициент насыщения движением r.
Коэффициент загрузки движением
, (1.8)
где N - интенсивность движения (существующая пли перспективная), легковых авт/ч;
P - практическая пропускная способность, легковых авт/ч.
Коэффициент скорости движения
, (1.9)
где vz - средняя скорость движения при рассматриваемом уровне удобства, км/ч; v0 - скорость движения в свободных условиях при уровне удобства А, км/ч.
Коэффициент насыщения движением
, (1.10)
где qz - средняя плотность движения при рассматриваемом уровне, авт/км; qmax - максимальная плотность движения, авт/км.
1.29. Различают четыре уровня удобства движения на дорогах, характеристика которых приведена в табл. 1.2.
Таблица 1.2
|
Уровень удобства движением |
z |
с |
r |
Характеристика потока автомобилей |
Состояние потока |
Эмоциональная загрузка водителя |
Удобство работы водителя |
Экономическая эффективность работы дороги |
|
А |
<0,2 |
>0,9 |
<0,1 |
Автомобили движутся в свободных условиях, взаимодействие между автомобилями отсутствует |
Свободное |
Низкая |
Удобно |
Неэффективная |
|
Б |
0,2-0,45 |
0,7-0,9 |
0,1-0,3 |
Автомобили движутся группами совершается много обгонов |
Частично связанное |
Нормальная |
Мало удобно |
Мало эффективная |
|
В |
0,45-0,7 |
0,55-0,7 |
0,3-0,7 |
В потоке еще существуют большие интервалы между автомобилями, обгоны затруднены |
Связанное |
Высокая |
Неудобно |
Эффективная |
|
Г-а |
0,7-1 |
0,4-0,55 |
0,7-1,0 |
Сплошной поток автомобилей, движущихся с малыми скоростями |
Насыщенное |
Очень высокая |
Очень неудобно |
Неэффективная |
|
Г-б |
£1 |
£0,4 |
1,0 |
Поток движется с остановками, возникают заторы |
Плотное насыщенное |
То же |
То же |
То же |
Уровень удобства А
1.30. Уровень удобства А соответствует условиям, при которых отсутствует взаимодействие между автомобилями. Водители свободны в выборе скоростей максимальные скорости на горизонтальном участке более 70 км/ч. Максимальная интенсивность движения не превышает 20% от пропускной способности.
1.31. Скорость практически не снижается с ростом интенсивности движения (рис. 1.6).
1.32. По мере увеличения загрузки число дорожно-транспортных происшествий несколько уменьшается (рис. 1.7), но практически все они имеют тяжелые последствия.
Уровень удобства Б
1.33. При уровне удобства Б проявляется взаимодействие между автомобилями, возникают отдельные группы автомобилей, увеличивается число обгонов. При верхней границе уровня Б число обгонов наибольшее. Максимальная скорость на горизонтальном участке составляет примерно 80% от скорости в свободных условиях, максимальная интенсивность - 50% от пропускной способности.
1.34. Скорости движения быстро снижаются по мере роста интенсивности (рис. 1.6).
1.35. Число дорожно-транспортных происшествий увеличивается с ростом интенсивности движения (рис. 1.7).
Уровень удобства В
1.36. При уровне удобства В происходит дальнейший рост интенсивности движения, что приводит к появлению колонн автомобиле». Число обгонов сокращается по мере приближения интенсивности к предельной для данного уровня. Максимальная скорость на горизонтальном участке составляет 70% от скорости в свободных условиях; отмечаются колебания интенсивности движения в течение часа. Максимальная интенсивность составляет 75% от пропускной способности.
1.37. С ростом интенсивности движения скорости снижаются незначительно (см. рис. 1.6).
1.38. Общее число дорожно-транспортных происшествий увеличивается с ростом интенсивности движения (см. рис. 1.7).
Уровень удобства Г
1.39. Уровень удобства Г разделяют на два подуровня (Г-а и Г-б), которые характеризуют изменение движения плотного потока автомобилей при интенсивности, близкой и равной пропускной способности.
Уровень удобства Г-а
1.40. При уровне удобства Г-а создается колонное движение с небольшими разрывами между колоннами. Обгоны отсутствуют. Между проходами автомобилей в потоке преобладают интервалы меньше 2 с. Наибольшая скорость составляет 50-55% от скорости в свободных условиях. Максимальная интенсивность движения равна пропускной способности; наблюдается значительное колебание интенсивности в течение часа.
1.41. Скорости движения с ростом интенсивности меняются незначительно (рис. 1.6).
1.42. Число дорожно-транспортных происшествии непрерывно увеличивается (рис. 1.7) и начинает несколько снижаться при интенсивности движения, близкой к пропускной способности.
Уровень удобства Г-б
1.43. При уровне удобства Г-б автомобили движутся непрерывной колонной с частыми остановками; скорость в периоды их движения составляет 35-40% от скорости в свободных условиях, а при заторах равна нулю. Интенсивность меняется от нуля до интенсивности, равной пропускной способности.
1.44. Число дорожно-транспортных происшествий уменьшается по сравнению с другими уровнями. Снижаются также их тяжесть и величина потерь.

Рис. 1.6. Изменение средней скорости с ростом загрузки дороги

Рис. 1.7. Изменение аварийности с ростом загрузки дороги
Таблица 1.3
|
Число полос движения (в оба направления) |
Средние скорости движения потока автомобилей, км/ч |
Число дорожно-транспортных происшествий на 1 млн. авт-км |
|
2 |
v = 52 - (0,019 - 0,00014рл)N + 0,22рл |
a=0,1922×10-2N-0,0633×10-4N-2+0,014×10-6N3 |
|
4 |
v = 59- (0,011 - 0,00012рл)N + 0,21рл |
а =0,45+0,62×10-4N |
|
6 |
v = 62- (0,008 - 0,00010рл)N + 0,20 рл |
а =0,38+1,6×10-4N |
|
8 |
v = 64- (0,006 - 0,00008рл)N + 0,19рл |
а =0,36+0,58×10-4N |
Примечание. Приведенные в табл. 1.3 формулы применены при z³0,8; pл - для легковых автомобилей в потоке, %; N - интенсивность движения в обоих направлениях. авт/ч.
1.45. При расчетах оптимального уровня удобства (см. приложение 2) средние скорости v и среднюю аварийность а следует вычислять с учетом рекомендаций табл. 1.3.
Более детальный расчет скоростей и других характеристик транспортных потоков может быть выполнен с помощью ЭВМ (см. приложения 15, 16, 17 и 18).
1.46. Уровни удобства, характеризующие изменение взаимодействия автомобилей в транспортном потоке, следует использовать для обоснования числа полос движения как на всей дороге, так и на ее отдельных участках (в первую очередь на тех, где в дальнейшем будет затруднена реконструкция: большие мосты, участки, проходящие через плотную застройку; участки с высокими насыпями и др.); для обоснования ширины полосы отвода; при разработке стадийных мероприятий по повышению пропускной способности; для выбора средств регулирования движения (см. раздел 6); при установлении предельной интенсивности для рассматриваемой категории дорог с учетом района ее проложения и движения на ней.
1.47. Уровень удобства движения может меняться по длине дороги и для каждого участка в течение суток, месяца, года. Расчеты следует проводить на оптимальный уровень удобства (средний для всей дороги или ее участка).
1.48. При проектировании и эксплуатации дорог необходимо обеспечивать оптимальный уровень удобства движения дороги каждой категории. Рекомендуемые уровни удобства движения для разных дорог приведены в табл. 1.4. Порядок расчета оптимального уровня удобства в приложении 2.
Таблица 1.4
|
Тип автомобильной дороги |
zопт |
Рекомендуемый уровень удобства |
Критерий определения zопт |
|
|
новое проектирование |
реконструкция |
|||
|
Подъезды к аэропортам, морским и речным причалам |
0,2 |
0,5 |
А |
минимизация времена сообщения |
|
Внегородские автомобильные магистрали (дороги I категории) |
0,45 |
0,6 |
Б |
минимум приведенных затрат |
|
Входы в города, обходы и кольцевые дороги вокруг больших городов |
0,55 |
0,65 |
В |
То же |
|
Автомобильные дороги II-III категорий |
0,65 |
0,7 |
Г |
» |
|
Автомобильные дороги IV категории |
0,7 |
0,75 |
Г |
» |
2.1. При оценке практической пропускной способности в конкретных дорожных условиях рекомендуется использовать уравнение:
, (2.1)
где В - итоговый коэффициент снижения пропускной способности, равный произведению частных коэффициентов (см. п. 2.4) b=b1, b2, b3, … - b15; Рmах - максимальная практическая пропускная способность, легковых авт/ч (см. п. 2.3).
2.2. При оценке практической пропускной способности в реальных дорожных условиях для целей организации движения следует пользоваться уравнением:
, (2.2)
где w - коэффициент, зависящий от загрузки встречной полосы движения (w=1,3 при малой загрузке встречной полосы z£0,4; w=1 при равном распределении интенсивности по встречным полосам; w=0,99 при высокой загрузке встречной полосы z³0,4), a - коэффициент, зависящий от дорожных условий и типа дорог; v0 - скорость движения в свободных условиях на рассматриваемом участке, км/ч; qmax=L/l - максимальная плотность движения на рассматриваемом участке, авт/км; L - длина участка; l - интервал между автомобилями.
Максимальную плотность смешанного транспортного потока устанавливают с учетом интервалов между автомобилями и их габаритов. Для удобства определения qmax следует ввести средний расчетный интервал lрасч, представляющий собой сумму дистанций между автомобилями и длину участка, занимаемого передним автомобилем.
При разнородном составе потока средний интервал следует определять с учетом возможного сочетания стоящих друг за другом автомобилей:
, (2.3)
где рл, рг,. ра - фактическая вероятность появления легкового, грузового автомобиля и автомобильного поезда (определяют по данным учета движения или задают составом движения); lла, lлг, lаг - интервалы между типами автомобилей с учетом их длины.
Таблица 2.1
|
Тип задних автомобилей |
lрасч, м, для автомобилей |
||
|
легковых |
грузовых |
автопоездов |
|
|
Легковые |
7,3 |
9,3 |
13,2 |
|
Грузовые |
9,0 |
9,7 |
14,1 |
|
Автопоезда |
13,0 |
14,2 |
17,3 |
Таблица 2.2
|
Автомобильная дорога |
Ширина, м |
b1 |
|
|
полосы |
проезжей части |
||
|
Многополосная |
£3,0 |
- |
0,9 |
|
3,5 |
- |
0,96 |
|
|
³3,75 |
- |
1,0 |
|
|
Двухполосная |
- |
6,0 |
0,85/0,54* |
|
- |
7,0 |
0,9/0,71* |
|
|
- |
7,5 |
1,0/0,87* |
|
*В знаменателе приведены коэффициенты при наличии снежного наката на полосе движения.
2.3. При расчетах следует исходить из следующей максимальной практической пропускной способности (Рmax легковых авт/ч):
Однополосные дороги, имеющие разъезды.... 800 в оба направления
Двухполосные дороги....................................... 2000 » » »
Трехполосные »............................................ 4000 » » »
Автомобильные магистрали, имеющие
4 полосы............................................................. 2000
по одной полосе
То же, 6 полос 2200 » » »
», 8 » 2300 » » »
2.4. Значения коэффициента b1 приведены в табл. 2.2. Коэффициент b2 имеет следующие значения:
Ширина обочины, м...... 3,75 3,0 2,50 2,0 1,5
b2...................................... 1,0 0,97 0,92 0,8 0,7
Коэффициенты b3-b5 приведены в табл. 2.3-2.5. Коэффициенты b6-b8 имеют следующие значения:
Расстояние видимости, м................... <50 50-100 100-150 150-250 50-350................................................................. >350
b6........................................................... 0,68 0,73 0,84 0,80 0,98 1,0
Радиус кривой в плане, м................... <100 100-250 250-450 450-690 >600
b7........................................................... 0,85 0,90 0,96 0,99 1,0
Ограничение скорости знаком, км/ч. 10 20 30 40 50 60
b8........................................................... 0,44 0,76 0,88 0,96 0,98 1,0
Таблица 2.3
|
Расстояние от кромки проезжей части до препятствия, м |
b3 при ширине полосы движения, м |
|||||
|
Боковые помехи с одной стороны |
Боковые помехи с обеих сторон |
|||||
|
2,5 |
1,0 |
1,0 |
0,98 |
1,0 |
0,98 |
0,96 |
|
2,0 |
0,99 |
0,99 |
0,95 |
0,98 |
0,97 |
0,93 |
|
1,5 |
0,97 |
0,95 |
0,94 |
0,96 |
0,93 |
0,91 |
|
1,0 |
0,95 |
0,90 |
0,87 |
0,91 |
0,88 |
0,85 |
|
0,5 |
0,92 |
0,83 |
0,80 |
0,88 |
0,78 |
0,75 |
|
0 |
0,85 |
0,78 |
0,75 |
0,82 |
0,73 |
0,70 |
Таблица 2.4
|
Количество автопоездов в потоке, % |
b4 при числе легких и средних грузовых автомобилей, % |
||||
|
10 |
20 |
60 |
60 |
70 |
|
|
1 |
0,99 |
0,98 |
0,94 |
0,90 |
0,86 |
|
5 |
0,97 |
0,96 |
0,91 |
0,88 |
0,84 |
|
10 |
0,95 |
0,93 |
0,88 |
0,85 |
0,81 |
|
15 |
0,92 |
0,90 |
0,85 |
0,82 |
0,78 |
|
20 |
0,90 |
0,87 |
0,82 |
0,79 |
0,76 |
|
25 |
0,87 |
0,84 |
0,79 |
0,76 |
0,73 |
|
30 |
0,84 |
0,81 |
0,76 |
0,72 |
0,70 |
Примечание. Коэффициент b4 на подъемах не учитывают, так как состав движения учтен при определении коэффициента b5.
Таблица 2.5
|
Продольный уклон, ‰ |
Длина подъема, м |
b5, при количестве автомобильных поездов в потоке, ‰ |
Продольный уклон, ‰ |
Длина подъема, м |
b5, при количестве автомобильных поездов в потоке, ‰ |
||||||
|
2 |
5 |
10 |
15 |
2 |
5 |
10 |
15 |
||||
|
20 |
200 |
0,98 |
0,97 |
0,94 |
0,89 |
50 |
200 |
0,90 |
0,85 |
0,80 |
0,74 |
|
500 |
0,97 |
0,94 |
0,92 |
0,87 |
500 |
0,86 |
0,80 |
0,75 |
0,70 |
||
|
800 |
0,96 |
0,92 |
0,90 |
0,84 |
800 |
0,82 |
0,76 |
0,71 |
0,64 |
||
|
30 |
200 |
0,96 |
0,95 |
0,93 |
0,86 |
60 |
200 |
0,83 |
0,77 |
0,70 |
0,63 |
|
500 |
0,95 |
0,93 |
0,91 |
0,83 |
500 |
0,77 |
0,71 |
0,64 |
0,55 |
||
|
800 |
0,93 |
0,90 |
0,88 |
0,80 |
800 |
0,70 |
0,63 |
0,53 |
0,47 |
||
|
40 |
200 |
0,93 |
0,90 |
0,86 |
0,80 |
70 |
200 |
0,75 |
0,68 |
0,60 |
0,55 |
|
500 |
0,91 |
0,88 |
0,83 |
0,76 |
500 |
0,63 |
0,55 |
0,48 |
0,41 |
||
|
800 |
0,85 |
0,85 |
0,80 |
0,72 |
800 |
|
|
|
|
||
Значения коэффициента b9 приведены в табл. 2.6.
Таблица 2.6
|
Число автомобилей, поворачивающих налево, % |
Тип пересечения |
|||||
|
Т-образное |
четырехстороннее |
|||||
|
b6 при ширине проезжей части основной дороги, м |
||||||
|
7,0 |
7,5 |
10,5 |
7,0 |
7,5 |
10,5 |
|
|
Необорудованное пересечение |
||||||
|
0 |
0,97 |
0,98 |
1,00 |
0,94 |
0,95 |
0,98 |
|
20 |
0,85 |
0,87 |
0,92 |
0,82 |
0,83 |
0,91 |
|
40 |
0,73 |
0,75 |
0,83 |
0,70 |
0,71 |
0,82 |
|
60 |
0,60 |
0,62 |
0,75 |
0,57 |
0,58 |
0,73 |
|
80 |
0,45 |
0,47 |
0,72 |
0,41 |
0,41 |
0,70 |
|
Частично оборудованное
пересечение с островками |
||||||
|
0 |
1,0 |
1,0 |
1,0 |
0,98 |
0,99 |
1,0 |
|
20 |
0,97 |
0,98 |
1,0 |
0,98 |
0,97 |
0,99 |
|
40 |
0,93 |
0,94 |
0,97 |
0,91 |
0,92 |
0,97 |
|
60 |
0,87 |
0,88 |
0,93 |
0,84 |
0,85 |
0,93 |
|
80 |
0,87 |
0,88 |
0,92 |
0,84 |
0,85 |
0,92 |
|
Полностью канализированное пересечение |
||||||
|
0 |
1,0 |
1,0 |
1,0 |
1,0 |
1,0 |
1,0 |
|
20 |
1,0 |
1,0 |
1,0 |
1,0 |
1,0 |
1,0 |
|
40 |
1,0 |
1,0 |
1,0 |
1,0 |
1,0 |
1,0 |
|
60 |
1,0 |
1,0 |
1,0 |
1,0 |
1,0 |
1,0 |
|
80 |
0,97 |
0,98 |
0,99 |
0,95 |
0,97 |
0,98 |
Коэффициенты b10 и b14 имеют следующие значения:
Обочины имеют то же покрытие, что и проезжая часты.................................. 1,0
Обочины укреплены: щебнем с краевой полосой из бетонных плит; щебнем без краевой полосы.................................................................................................................................. 0,99
засевом трав........................................................................................................... 0,95
Неукрепленные обочины в сухом состоянии..................................................... 0,90
Скользкие, покрытые грязью обочины............................................................... 0,45
b11
Шероховатое асфальто- или цементобетонное, черное щебеночное покрытие............................................................................................................................. 1,0
Асфальтобетонное покрытие без поверхностной обработки........................... 0,91
Сборное бетонное покрытие................................................................................ 0,80
Булыжная мостовая............................................................................................... 0,42
Грунтовая дорога без пыли, сухая....................................................................... 0,90
То же, размокшая.................................................................................................. 0,1-03
b12
Площадка отдыха, бензозаправочные станции или остановочные площадки с полным отделением от основной дороги и наличием специальной полосы для въезда...................................................................................................................................... 1,0
То же, при наличии только отгона ширины....................................................... 0,98
» , при отсутствии полосы и отгона............................................................. 0,80
» , без отделения от основной проезжей части........................................... 0,64
b13
Осевая разметка..................................................................................................... 1,02
Краевая и осевая разметки................................................................................... 1,06
Разметка полос на подъемах с дополнительной полосой................................. 1,50
То же, на четырехполоснои дороге..................................................................... 1,23
» , на трехполосной дороге 1,30
Двойная осевая разметка...................................................................................... 1,12
Знак ограничения скорости.......................................................................... b14»b8, b14
Указатели полос движения.................................................................................. 1,10
Значения коэффициента b15 приведены в табл. 2.7.
Таблица 2.7
|
Число автобусов в потоке, % |
b15 при числе легковых автомобилей в потоке, % |
|||||
|
70 |
60 |
40 |
30 |
20 |
10 |
|
|
1 |
0,82 |
0,76 |
0,74 |
0,72 |
0,70 |
0,68 |
|
5 |
0,80 |
0,75 |
0,72 |
0,71 |
0,69 |
0,66 |
|
10 |
0,77 |
0,73 |
0,71 |
0,69 |
0,67 |
0,65 |
|
15 |
0,75 |
0,71 |
0,69 |
0,67 |
0,66 |
0,64 |
|
20 |
0,73 |
0,69 |
0,68 |
0,66 |
0,64 |
0,62 |
|
30 |
0,70 |
0,66 |
0,64 |
0,63 |
0,61 |
0,60 |
Приведение различных транспортных средств к легковым автомобилям производят с помощью коэффициента (СНиП II-Д.5-72):
Легковые автомобили............................................................................................. 1,0
Мотоциклы с коляской........................................................................................... 0,75
» и мопеды.............................................................................................. 0,5
Грузовые автомобили грузоподъемностью до 2 т................................................ 1,5
То же, 6т................................................................................................................... 2,0
» 8 т................................................................................................................... 2,5
» 14т.................................................................................................................. 3.0
» свыше 14 т.............................................................................................................. 3,5
Автопоезда грузоподъемностью до 6 т................................................................. 2,5
То же, 12 т................................................................................................................. 3,0
» 20 т................................................................................................................. 4,0
» 30 т................................................................................................................. 5,0
» 30 т ................................................................................................................ 6.0
Автобусы .................................................................................................................. 3,5
2.5. Промежуточные значения коэффициентов, приведенных в п. 2.4, определяют интерполяцией.
2.6. Для оперативной проверки практической пропускной способности участков двухполосных дорог, имеющих сочетание геометрических элементов, рекомендуется уравнение:
, (2.4)
где b-ширина проезжей части, м: i - продольный уклон, ‰ (0£i£50‰); R -радиус кривой в плане, м (400 м£R£1000 м); nл-число легковых автомобилей в потоке, доли единицы.
2.7. При проектировании пропускную способность участка подъема двухполосных дорог с дополнительной полосой определяют как сумму пропускных способностей двух полос с учетом распределения потока по полосам на подъем:
. (2.5)
Пропускная способность дополнительной (правой) полосы па подъеме
. (2.6)
Пропускная способность основной (левой) полосы при наличии дополнительной полосы на подъеме
. (2.7)
2.8. Проектируя реконструкцию двухполосных дорог в трехполосные и разрабатывая мероприятия по улучшению транспортно-эксплуатационных качеств существующих трехполосных дорог, следует исходить из максимальной практической пропускной способности трехполосных дорог и перспективного роста интенсивности движения потока автомобилей. При этом к основным требованиям, предъявляемым к проектам реконструкции, следует относить обеспечение соответствия ширины проезжей части после реконструкции реальной интенсивности движения в настоящее время и на расчетную перспективу, с учетом характера ожидаемого транспортного потока, при минимальных капитальных затратах.
2.9. Пропускная способность трехполосных дорог зависит от интенсивности и структуры транспортного потока, неравномерности их распределения по направлениям, а также от методов организации движения.
2.10. Максимальная практическая пропускная способность трехполосной дороги может быть при следующих дорожных условиях: прямолинейный горизонтальный участок; расстояние видимости с учетом обгона не менее 700 м; проезжая часть размечена на три полосы движения (ширина каждой 3,75 м); укрепленные обочины шириной 3 м; покрытие сухое, ровное и шероховатое; транспортный поток состоит только из легковых автомобилей; интенсивность движения в преобладающем направлении превышает интенсивность встречного потока не менее чем в 2 раза; боковые препятствия отсутствуют, погодные условия благоприятные. В этих условиях наиболее полно используются все полосы проезжей части трехполосной дороги.
2.11. При расчетах в зависимости от методов организации движения нужно исходить из следующей максимальной практической пропускной способности трехполосных дорог в оба направления: трехполосное движение - 4000 авт/ч, реверсивное движение по средней полосе - 4200 авт/ч.
2.12. Для расчета максимальной пропускной способности отдельных участков трехполосных автомобильных дорог и получения дополнительных коэффициентов снижения пропускной способности, необходимых при оценке эффективности мероприятий по повышению их транспортно-эксплуатационных качеств, в реальных дорожных условиях следует пользоваться уравнениями:
при организации трехполосного движения
; (2.8)
при организации реверсивного движения по средней полосе
, (2.9)
где a - коэффициент, учитывающий влияние дорожных условий на пропускную способность; av - коэффициент, учитывающий влияние длины перегона между пересечениями и примыканиями на скорость автомобилей; aN - коэффициент, учитывающий влияние неравномерности распределения интенсивности движения по направлениям на степень загруженности средней полосы трехполосной дороги; aр - коэффициент, учитывающий распределение автомобилей по ширине проезжей части при организации реверсивного движения; v0 - скорость свободного движения, км/ч; qmax - максимальная плотность потока на одной полосе, авт/км.
Расчетные значения коэффициента a:
Разметка трехполосная трехполосная с реверсивной полосой
Пределы a . 0,19-0,23 0,20-0,25
Расчетное значение a 0,20 0,22
Расчетные значения av при разной длине перегона между пересечениями и примыканиями:
L, км................... ³3 2 1,5 1,0 0,5 0,5
av....................... 1,0 0,98 0,96 0,92 0,88 0,80
Степень загрузки движением средней полосы при трехполосной разметке проезжей части зависит от неравномерности распределения интенсивности и состава движения по направлениям, характеризуемой коэффициентом kN, который определяется как отношение интенсивности движения автомобилей преобладающего направления к интенсивности встречного движения.
Значения коэффициента aN для практических расчетов
kN............................................... 1 ³2
aN............................................... 1 1,18
При промежуточных значениях коэффициента kN aN следует определять интерполяцией.
Коэффициент aр зависит от состава преобладающего транспортного потока:
Легковые автомобили, %........ <26 25-30 60-75 >75
aр............................................... 1,64 1,75 1,69 1,92
qmax определяют в рассматриваемых дорожных условиях по методике, изложенной в п. 2.2.
2.13. Для определения пропускной способности трехполосных дорог в разных условиях введены дополнительные коэффициенты снижения максимальной пропускной способности. Они установлены на основе измерения средней величины свободных скоростей автомобилей и максимальной плотности движения на одних и тех же участках трехполосных дорог с различными дорожными условиями.

Рис. 2.1. Номограмма для оценки пропускной способности трехполосных дорог с различными проектными решениями:
I - организация двухполосного движения; II - организация трехполосного движения; III - организация трехполосного движения с реверсивной полосой; IV - реконструкция трехполосной дороги в четырехполосную автомобильную магистраль
Каждый дополнительный коэффициент характеризует изменение пропускной способности конкретных участков, имеющих ширину проезжей части 10,5-12 м, с различными методами организации по сравнению с максимальной пропускной способностью трехполосной дороги в благоприятных дорожных условиях (см. п. 2.11).
Значения дополнительных коэффициентов снижения максимальной способности даны в табл. 2.8-2.14. Верхний индекс в обозначениях коэффициентов b(т) означает трехполосную дорогу.
Частные коэффициенты снижения пропускной способности, отражающие влияние расстояния видимости, радиусов кривых в плане, продольного уклона, укрепления обочин, типов покрытии, планировки пересечении, примыкании и сооружений, обслуживающих движение, состава потоков автомобилей, знаков и указателей на пропускную способность трехполосных дорог, берут из п. 2.4 коэффициенты b3; b4; b5; b6; b8;: b13; b15.
2.14. Итоговый коэффициент снижения пропускной способности трехполосных дорог в характерных дорожных условиях определяется перемножением частных коэффициентов по формуле (2.1).
2.15. При разработке проекта организации движения с учетом интенсивности и состава встречных потоков, а также обеспечения минимальных суммарных приведенных затрат пропускную способность трехполосных дорог оценивают с помощью номограммы (рис. 2.1).
Влияние на пропускную способность ширины обочин показано в табл. 2.8, а разметки - в табл. 2.9.
Таблица 2.8
|
Ширина проезжей части и вид разметки |
|
||||||
|
3,5 |
3,0 |
2,5 |
2,0 |
1,5 |
1,0 |
0,5 |
|
|
10,5 м, осевая разметка |
1,0 |
0,99 |
0,95 |
0,92 |
0,90 |
0,87 |
0,82 |
|
10,5-12,0 м, разметка на три полосы |
1,0 |
0,97 |
0,93 |
0,90 |
0,88 |
0,85 |
0,80 |
Таблица 2.9
|
Ширина проезжей части, м |
|
||
|
трехполосной |
двухполосной |
отсутствует |
|
|
11,25-12,0 |
1,0 |
0,88 |
0,75 |
|
10,5 |
0,96 |
0,85 |
0,72 |
Влияние ровности покрытия на пропускную способность:
Ровность, см/км........ <200...... 200-400 400-600 600-800 800
................................... 1,0 0,93 0,82 0,70 0,60
Влияние стоящих на обочине транспортных средств на пропускную способность показано в табл. 2.10.
Влияние неподвижных боковых препятствий (опор путепроводов, телеграфных столбов, мачт светильников, растущих на обочинах деревьев) на пропускную способность:
Расстояние до кромки проезжей части, м...... 4,0 3,0 2,5 2,0 1,5 1,0
........................................................................ 1,0 0,94 0,89 0,85 0,81 0,75
Влияние наличия и месторасположения
пешеходных дорожек относительно проезжей части на пропускную способность
:
![]()
В 10 м от кромки проезжей части................................................................................. 1,0
В 5 м » » » :
При наличии пешеходного ограждения....................................................................... 1,0
» его отсутствии............................................................................................................................................... 0,92
На обочине............................................................................................................................................... 0,83
Таблица 2.10
|
Расстояние от кромки проезжей части до препятствия, м |
Боковые помехи с одной стороны |
Боковые помехи с обеих сторон |
||||
|
|
||||||
|
две |
три |
три с реверсивной полосой |
две |
три |
три с реверсивной полосой |
|
|
2,5 |
1,0 |
1,0 |
1,0 |
1,0 |
0,94 |
0,98 |
|
2,0 |
1,0 |
0,99 |
0,98 |
0,99 |
0,97 |
0,95 |
|
1,5 |
0,98 |
0,96 |
0,95 |
0,97 |
0,94 |
0,90 |
|
1,0 |
0,96 |
0,92 |
0,90 |
0,93 |
0,86 |
0,85 |
|
0 |
0,91 |
0,88 |
0,77 |
0,85 |
0,80 |
0,70 |
|
-0,5 |
0,86 |
0,75 |
0,70 |
0,80 |
0,70 |
0,62 |
|
-1,0 |
0,81 |
0,70 |
- |
0,74 |
0,63 |
- |
Примечание. Коэффициенты вычислены относительно Pmax при соответствующей разметке проезжей части.
Влияние условии освещенности проезжей части на пропускную способность показано в табл. 2. 11.
Таблица 2.11
|
Условия освещенности |
|
||
|
трехполосной |
осевой |
отсутствие |
|
|
Днем |
1,0 |
0,68 |
0,75 |
|
Освещена |
0,93 |
0,82 |
0,70 |
|
Не освещена |
0,86 |
0,75 |
0,65 |
Примечание. Коэффициенты вычислены относительно Pmax при трехполосной разметке в дневное время.
2.16. На автомобильных дорогах с многополосной проезжей частью движение по полосам распределяется неравномерно, пропускную способность следует оценивать путем расчета пропускной способности каждой полосы в отдельности с учетом состава потока.
2.17. Общая пропускная способность автомобильной магистрали
, (2.10)
где Р1, Р2, Р3, ..., Рn - пропускная способность первой, второй и т. д. полос, авт/ч, определяемая по формуле (2.11).
2.18. Пропускная способность отдельной полосы:
, (2.11)
где k - коэффициент приведения смешанного потока автомобилей к потоку легковых автомобилей;
;
b1 - коэффициент, учитывающий радиус кривоq в плане; b2 - коэффициент, учитывающий влияние пересечении в разных уровнях (табл. 2.12); b - ширина полосы, м (6=3¸3,75 м); р - количество тяжелых автомобилей и автобусов, % (p=£30%); i-продольный уклон, % (0£i£40%); n1 - количество (в долях единицы) транспортных средств различных типов; ycj - коэффициент приведения к легковому автомобилю отдельных типов транспортных средств (см. п. 2.4).
Таблица 2.12
|
Вид сопряжения съезда с автомобильной магистралью |
Интенсивность движения на съезде, % от интенсивности по магистрали |
b2 полосы |
|
|
правой |
левой |
||
|
Переходно-скоростные полосы, отделенные от основной проезжей части разделительной полосой |
10-25 |
0,95 |
1,0 |
|
25-40 |
0,90 |
0,95 |
|
|
Только переходно-скоростные полосы |
10-25 |
0,88 |
0,95 |
|
25-40 |
0,83 |
0,90 |
|
|
Съезды без переходно-скоростных полос |
10-25 |
0,80 |
0,90 |
|
25-40 |
0,75 |
0,80 |
|
2.19. Коэффициент b1 в формуле (2.11) следует учитывать только при определении пропускной способности левой полосы на кривой. Коэффициент b1, отражающий влияние кривой в плане, рекомендуется принимать равным 0,85, если радиус менее 1000 м, и 1 при больших радиусах.
2.20. Определяя пропускную способность полосы и используя коэффициенты ycj, и пi (формула 2.11), необходимо учитывать особенности распределения автомобилей разного типа по полосам при интенсивности движения, близкой к пропускной способности. Данные о распределении автомобилей на четырехполосной магистрали, полученные из наблюдений, приведены в табл. 2.13. При ином, чем указано в таблице, составе следует прибегать к интерполяции. Необходимо также учитывать, что тяжелые автомобили и автомобильные поезда движутся, как правило, по правой полосе.
Таблица 2.13
|
Число легковых автомобилей, % от общей интенсивности движения |
Состав потока на правой полосе, % |
Состав потока на левой полосе, % |
||
|
Легковые автомобили |
Грузовые автомобили |
Легковые автомобили |
Грузовые автомобили |
|
|
20 |
7-10 |
90-93 |
30-35 |
65-70 |
|
40 |
21-30 |
70-76 |
50-55 |
45-50 |
|
60 |
38-45 |
65-62 |
65-70 |
30-35 |
|
80 |
74-84 |
16-26 |
80-85 |
15-20 |
2.21. Пропускная способность автомобильных дорог наиболее заметно снижается в периоды действия неблагоприятных погодно-климатических факторов: дождей, снегопадов, гололеда, тумана и др. Это объясняется тем, что такие факторы существенно влияют на состояние дороги, автомобиля и водителя, на взаимодействие автомобиля с дорогой и восприятие водителем дороги и окружающей обстановки. В результате снижается скорость, увеличиваются интервалы в транспортном потоке и, как следствие, снижается пропускная способность, образуются заторы и остановки.
Поэтому пропускную способность обязательно проверяют для состояния дороги и условий погоды в наиболее трудные периоды года - зимний и осенне-весенний.
2.22. В зависимости от категории и народнохозяйственного значения дороги, содержания, климата района при оценке пропускной способности могут быть приняты следующие расчетные состояния поверхности дороги.
а) Зимний период:
1) слой рыхлого снега на покрытии и обочинах лежит только во время снегопада и метелей в перерывах между проходами снегоочистительных машин;
2) проезжая часть чистая, уплотненный снег и лед имеются на прикромочных полосах, а рыхлый снег на обочинах;
3) на проезжей части слой плотного снежного наката, на обочинах рыхлый снег;
4) поверхность дороги покрыта гололедом;
5) покрытие влажное, имеется рыхлый слой снега и льда, растворенного хлоридами.
Характерные условия погоды: снегопад без ветра или с ветром скоростью до 3 м/с, метель (низовая, верховая, общая), сильный ветер.
Схемы 1, 4 и 5 - расчетные для дорог I-III категорий, 2 и 3 - для дорог III и IV категорий.
6) Осенне-весенний переходный период:
1) вся поверхность дороги мокрая, чистая;
2) проезжая часть мокрая, чистая, прикромочные полосы загрязнены;
3) проезжая часть мокрая, загрязненная.
Схема 1 является расчетной для дорог I и II категорий с обочинами, укрепленными на всю ширину каменными материалами, обработанными минеральным или органическим вяжущим.
Схема 2 относится к дорогам с обочинами, укрепленными каменными материалами на всю ширину или краевые полосы, схема 3 - к дорогам без укрепленных обочин и краевых полос.
2.23. Пропускную способность полосы движения двухполосных дорог с учетом их состояния и погодно-климатических условий следует определять по формуле (2.2).


Рис. 2.2. Зависимость среднеквадратичного отклонения от максимальной скорости:
а - для двухлолосных дорог; б - для автомобильных магистралей; 1 - максимальное значение; 2 - минимальное значение
2.24. Средняя скорость свободного движения для расчета пропускной способности с учетом состояния дороги и погодно-климатических условий
, или
, (2.12)
где vф max - максимально возможная по динамическим характеристикам или условиям безопасности скорость легкового автомобиля в расчетных условиях погоды на данном элементе дороги; vэ max - максимальная скорость в эталонных условиях движения на данном участке дороги, но не более vp км/ч; sv - среднее квадратичное отклонение скорости движения свободного транспортного потока, км/ч; принимают по данным рис. 2.2. для скорости:
; (2.13)
, (2.14)
Кp.с - коэффициент обеспеченности расчетной скорости.
За эталонный принят горизонтальный прямой участок с сухим, чистым, шероховатым покрытием и укрепленными обочинами. За эталонные условия погоды принято сухое летнее время, с температурой воздуха 20°С, при отсутствии дождя, ветра и тумана.
Для упрощения расчетов vэ mах можно принять равной 120 км/ч, после чего весь расчет пропускной способности при неблагоприятных условиях погоды и неблагоприятном состоянии дорог сводится к определению vф mах и Кp.с.
2.25. Коэффициент, учитывающий влияние загрузки движением встречной или попутной полос в различных погодно-климатических условиях:
Условия эталонные нормальные трудные
Кр.с 1 0,75-1 0,75
w для двухполосных дорог 0,9 0,8 0,7
w для многополосных дорог 0,9 0,9 0,8
2.26. Коэффициент a, учитывающий дорожные условия и максимально возможную или максимально допустимую скорость: для двухполосных дорог со встречным движением
; (2.15)
для многополосных дорог с попутным движением:
при максимальных скоростях до 110 км/ч
; (2.16)
при максимальных скоростях от 110 до 150 км/ч
. (2.17)
2.27. Фактическую максимально возможную или максимально допустимую скорость легкового автомобиля при проектировании новых дорог можно определить аналитическим путем исходя из схем расчета, требований к геометрическим параметрам и транспортно-эксплуатационным характеристикам. Основной задачей при этом является обязательный учет влияния метеорологических факторов на дорогу, взаимодействия автомобиля с дорогой и восприятия водителем условий движения.
2.28. Для определения пропускной способности дорог vф mах можно определить расчетом или по данным наблюдений за скоростями свободного движения легковых автомобилей в неблагоприятных условиях погоды на всех характерных участках дороги при всех расчетных скоростях.
2.29. Максимально возможную скорость в период снегопада или при наличии снега на горизонтальных участках или на подъемах определяют из основного уравнения движения, подставляя в него соответствующие значения сопротивления качению и коэффициента сцепления (см. рис. 2.3).
Максимально допустимую скорость на спуске определяют из условия торможения перед внезапно возникшим препятствием на покрытии, а коэффициент обеспеченности расчетной скорости находят исходя из равенства остановочных путей при эталонном состоянии и покрытии, характерном для расчетного периода.
Значения коэффициентов обеспеченности расчетной скорости при различных состояниях покрытия и на участках с различными продольными уклонами приведены на рис. 2.4.

Рис. 2.3. Зависимость коэффициентов сцепления j и сопротивления качению f от толщины неуплотненного снега А на покрытии


Рис. 2.4. Влияние продольного уклона и состояния покрытия на скорость движения:
a - на подъеме; б - на спуске; 1 - сухое чистое покрытие f = 0,015; 2 - слой рыхлого снега h=25 мм. f =0,02; 3 - уплотненный слой снега f = 0,04; 4 - слой рыхлого снега h=20 мм; f =0,09; 5 - то же, h=40 мм, f =0,10; 6 - то же, h=80 мм; f =0,15; 7 - то же, h=10 мм; f =0,17; 8 - гололед на покрытии; f =0,09; 9 - сухое чистое, j=0,5¸0,6; 10 - мокрое чистое, j =0,4; 11 - мокрое, j- 0,3; 12 - снежный накат, j =0,2; 13 - гололед j =0,1

Рис. 2.5. Схема для расчета ширины укрепления
2.30. Максимально допустимую скорость при различных сочетаниях параметров проезжен части, краевых укрепленных полос и обочин в зависимости от их состояния и метеорологических условий, можно определить из схемы расчета требуемой ширины укрепленной поверхности дороги (рис. 2.5).
Коэффициент обеспеченности расчетной скорости для двухполосных дорог:
. (2.18)
Для дороги 1 категории с двумя проезжими частями
, (2.19)
где В1ф - ожидаемая фактическая ширина дороги в неблагоприятные периоды с учетом ее уменьшения за счет загрязнения прикромочных полос, образования на них снежного наката, льда и т. д.; В1э - проектная ширина проезжей части дороги м;
. (2.20)
Ожидаемая фактическая ширина укрепленной поверхности
, (2.21)
где К - ширина полосы загрязнения (табл. 2.14)
Значения максимальных возможных скоростей и коэффициентов обеспеченности расчетных скоростей в зависимости от фактически используемой для движения ширины укрепленной поверхности дороги приведены на рис. 2.6.
Таблица 2.14
|
Тип укрепления обочин. |
К, м, в период |
|
|
зимний |
осенне-весенний |
|
|
Покрытие асфальтобетонное, цементо-бетонное или обработанное вяжущим |
- |
- |
|
Слои щебня, гравия |
0,2-0,3 |
0,1-0,2 |
|
Засев трав |
0,2- 0,5 |
0,1-0,2 |
|
Без укрепления |
0,2-0,5 |
0,1-0, |
|
Бордюр высотой |
3h-8h |
3h |
Примечание. На участках дорог, где имеются помехи для выполнения работ по содержанию, применяют максимальные значения К. К таким участкам относят подходы к мостам и путепроводам, участки над трубами, места установки ограждения, надолб, направляющих столбиков и др.


Рис. 2.6. Влияние ширины укрепления на скорость:
а - для двухполосных дорог: б - для автомобильных магистралей;
1- ВАЗ-2103 + ВАЗ-2103; 2 - ГАЗ-24 + ГАЗ-24; 3 - ЗИЛ-130 + ВАЗ-2103; 4 - ЗИЛ-130 + ГАЗ-24; 5 - ЗИЛ-130 + ЗИЛ-130
2.31. Максимально допустимую скорость на кривых в плане определяют по условиям устойчивости автомобиля при движении по покрытию, находящемуся в состоянии, характерном для расчетного периода с учетом воздействия бокового ветра,
, (2.22)
где j2=(0,6¸0,8) j - поперечное сцепление; iв - поперечный уклон виража; - коэффициент, учитывающий боковое воздействие ветра.
v, м/с 20 30 40 50
q для автомобилей:
ГАЗ-24 «Волга», ВАЗ-2103
«Жигули», «Москвич-412» 0,010 0,022 0,040 0,063
ЗАЗ-966 «Запорожец», РАФ-977Д 0,013 0,029 0,063 0,081
2.32. Определяя расчетную скорость ветра, учитывают положение дороги на местности, ее защищенность, а также порывистость ветра:
, (2.23)
где k1 - коэффициент, учитывающий положение дороги на местности; k2 - коэффициент, учитывающий переход от показаний флюгера (измерении на метеостанциях) к высоте центра боковой поверхности автомобиля на дороге; k3 - коэффициент, учитывающий порывистость ветра (1,7 - для порывистого и 1,9 - крайне порывистого ветра; vф -скорость ветра по флюгеру на высоте 10 м повторяемостью 1 раз в год (по данным ближайшей метеостанции, может быть также принята по картам зонирования расчетного ветра).
Форма рельефа и положение дороги на местности:..................................... k1
Открытое ровное место.................................................................................... 1
Вершины открытых возвышенностей:
>50 м........................................................................................................... 1,2-1,1
<50 м........................................................................................................... 1,1
Наветренные склоны крутизной 3-10°:
верхняя часть.............................................................................................. 1,0-1,1
средняя........................................................................................................ 1,0
нижняя........................................................................................................ 0,2-1,0
Параллельные ветру склоны крутизной 3-10°:
верхняя часть.............................................................................................. 0,9-1,0
средняя........................................................................................................ 0,8-0,9
нижняя........................................................................................................ 0,7-0,8
Подветренные склоны крутизной 3-10°:
верхняя и средняя части............................................................................ 0,8-0,9
нижняя часть.............................................................................................. 0,6-0,7
Дно долин, оврагов, лощин, глубоких выемок:
продуваемых ветром.................................................................................. 1,0-1,1
непродуваемых........................................................................................... 0,6-0,7
замкнутых ................................................................... 0,3 0,2 0,25 0,9 0,95
Высота центра боковой поверхности автомобиля над уровнем земли, м....................................................................................... 8....................................................................................... 6....................................................................................... 4....................................................................................... 2....................................................................................... 0
k2.......................................................................................... 0,6
2.33. Коэффициент обеспеченности расчетной скорости, зависящий от радиуса кривой в плане, расчетного состояния покрытия и расчетной скорости ветра, можно определить по графикам (рис. 2.7).




Рис. 2.7. Влияние радиуса кривой R в плане, состояния покрытия и скорости ветра на скорость автомобиля:
a - сухое чистое покрытие j=0,6; б - мокрое чистое покрытие j=0,4; в - слой рыхлого снега или снежный накат на покрытии Ф=0,3; г - гололед на покрытии j=0,12; 1 - скорость ветра 0-5 м/с; 2 - 20 м/с; 3 - 30 м/с; 4 - 40 м/с; 5 - 50 м/с

Рис 2.8. Влияние коэффициента сцепления j на снижение расчетных скоростей:
а - по схеме торможения одиночного автомобиля; б - по схеме торможения встречных автомобилей; 1 - 750; 2 - 300; 3 - 200; 4 - 175; 5 - 100; 6 - 750; 7 - 350; 8 - 300; 9 - 200; 10 - 150; 11 - 100
2.34. Влияние поверхности покрытия на обеспеченность расчетной скорости определяют исходя из равенства тормозных путей автомобиля, сцепных качеств покрытия и расстоянии видимости, принятых за эталонные покрытия в состояниях, характерных для неблагоприятных периодов, (рис. 2.8). По этому же графику можно определить влияние гололеда и метеорологической видимости на скорость Кр.с.
2.35. Расстояния видимости при тумане можно взять из климатических справочников. Для случая снегопада ее можно определить расчетом исходя из установленных в метеорологии зависимостей между интенсивностью снегопада и метеовидимостью (рис. 2.9). При этом видимость определяется по нижней границе балла, а интенсивность снегопада принимается по данным ближайшей метеостанции для повторяемости 1 раз в год.
2.36. Боковое воздействие ветра на скорость автомобиля на прямых участках определяют, сравнивая допустимое отклонение траектории движения автомобиля при заданной ширине полосы движения с фактическим.
Допустимое отклонение (м):
, (2.24)
где b - ширина полосы движения многополосной автомобильной магистрали, м; с -допустимое приближение автомобиля к границе полосы движения (принимается 0,2-0,3); т - ширина кузова автомобиля, м.
Фактическое отклонение (м):
, (2.25)
где а1 - коэффициент, учитывающий скорость автомобиля; a2 - коэффициент, учитывающий конструктивные характеристики автомобиля и скорость ветра; t - время реакции водителя на порыв ветра.

Рис. 2.9. Зависимость метеорологической дальности видимости от интенсивности осадков:
1 и 2 -нижняя к верхняя граница балла видимости

Рис. 2.10. Влияние скорости ветра на обеспеченность расчетной скорости:
1, 2, и 3 - время реакции водителя (соответственно 1; 1,5 и 2 с)
Коэффициент а1 для разных скоростей автомобиля:
Скорость, км/ч................ 50 60 70 80 90 100 110 120 130
а1...................................... 0,13 0,15 0,2 0,3 0,6 0,95 1,22 1,42 1,67
Коэффициент а2 для расчетного автомобиля:
Скорость ветра, м/с........ 10 20 30 40 50
а2...................................... 0,3 0,55 0,65 0,75 0,80
Скорость ветра определяют с учетом указаний п. 2.32. Максимально допустимую скорость по условиям безопасности движения определяют из равенства доп, а Кр.с может быть принят по рис. 2.10.
2.37. По изложенной методике определяют максимальные скорости и коэффициенты обеспеченности расчетной скорости при разных состояниях дорог и воздействия основных метеорологических факторов.
Для наиболее ответственных дорог или участков эти показатели могут быть определены для случаев совместного воздействия ряда метеорологических факторов.
Примеры расчета пропускной способности дорог с учетом влияния погодно-климатических факторов даны в приложении 4.
2.38. Совместное влияние элементов дороги на пропускную способность оценивают путем перемножения частных коэффициентов снижения пропускной способности. На участках подъемов с продольным уклоном до 20‰ учитывают все коэффициенты, а с продольным уклоном больше 20‰ учитывают все коэффициенты, кроме b3.
2.39. Каждый элемент дороги, снижающий пропускную способность, имеет зону влияния, в пределах которой изменяются режим движения потоков автомобилей и пропускная способность. При построении графика изменения пропускной способности нужно использовать следующие протяжения зон влияния в каждую сторону от рассматриваемого элемента (в м):
Населенные пункты.............................................................................. 300
Участки подъемов длиной до 200 м................................................... 350
То же, больше 200 м............................................................................. 650
Кривые в плане радиусом больше 600 м............................................ 100
То же, меньше 600 м............................................................................. 250
Участки с ограниченной видимостью меньше 100 м....................... 150
То же, 100-350 м................................................................................... 100
» , больше 350 м.............................................................................. 50
Пересечения в одном уровне............................................................... 600
2.40. Графики изменения пропускной способности вдоль дороги (см. рис. 2.11) строят в следующем порядке (см. приложение 5):
а) выделяют однородные элементы дороги и зоны их влияния;
б) выписывают значения частных коэффициентов снижения пропускной способности (п. 2.4);

Рис. 2.11. Линейный график изменения пропускной способности и коэффициента загрузки на участке:
------ двухполосной дороги до реконструкции; ______ после реконструкции двухполосной дороги в трехполосную
в) вычисляют пропускную способность по формуле (2.1);
г) вычисляют пропускную способность в физическом количестве автомобилей, учитывая состав потока автомобилей и используя коэффициенты, приведенные в пп. 2.4 и 2.41;
д) строят график изменения пропускной способности вдоль дороги. Пример построения графика приведен в приложении 1.
2.41. Пропускная способность Рф в физическом количестве автомобилей с учетом формулы (2.1):
, (2.26)
где nj - количество (в долях единицы) транспортных средств разных типов; ycj - коэффициенты приведения (см. п. 2.4) соответственно для легковых автомобилей, мотоциклов, грузовых автомобилей, автомобильных поездов и автобусов.
2.42. Над графиком пропускной способности строят график изменения коэффициента загрузки каждого участка (см. рис. 2.11).
Коэффициент загрузки определяют как отношение интенсивности движения (расчетной или существующей) к пропускной способности, выраженной в физических единицах.
2.43. При разработке проектов новых дорог следует пересматривать (в первую очередь с точки зрения увеличения числа полос движения) участки, где коэффициент загрузки превышает величины zопт, приведенные в табл. 1.4.
2.44. На основе данных об уровнях удобства движения и коэффициентах загрузки разрабатывают мероприятия по улучшению условий движения в соответствии с рекомендациями, приведенными, в разделе 6.
2.45. Для окончательного выбора мероприятий по улучшению условий движения график изменения пропускной способности анализируют совместно с графиком коэффициентов аварийности и коэффициентов безопасности, построенных в соответствии с рекомендациями СНиП 11-Д.5-72 и ВСН 35-76. Минавтодора РСФСР.
2.46. Оптимальный коэффициент загрузки служит основой для определения числа полос движения и ширины полосы отвода, выявления участков заторов1 (узких мест), установления очередности реконструкции отдельных участков.
Наиболее подробный анализ с учетом оптимального уровня загрузки следует проводить на участках (или элементах) дорог, дальнейшая реконструкция которых будет затруднена: участки с плотной застройкой, большие мосты и подходы к ним, извилистые участки в горной местности, затяжные подъемы с высокими насыпями и т.д.
1 Под участками заторов подразумеваются участки, где z³1,0.
3.1. При выборе планировки пересечения в одном уровне необходимо обеспечивать такой же уровень удобства движения, как и на всей дороге. Величины предельных загрузок движением пересечений приведены в табл. 3.1.
Таблица 3.1
|
Уровень удобства движения на главной дороге |
Коэффициент загрузки |
Загрузка второстепенной дороги |
|
|
предельно допустимая |
оптимальная |
||
|
А |
<0,2 |
0,11Ргл |
0,09Ргл |
|
Б |
0,2-0,45 |
0,22Ргл |
0,17Ргл |
|
В |
0,45-0,7 |
0,37Ргл |
0,28Ргл |
|
Г-а |
0,7-1 |
0,56Ргл |
0,42Ргл |
|
Г-б |
£1 |
0,56Ргл |
0,42Ргл |
Примечания. 1. Ргл - практическая пропускная способность главной дороги в рассматриваемых дорожных условиях.
2. Коэффициент загрузки и уровень удобства движения на главной дороге определяют по методике, изложенной в разделе 4.

Рис. 3.1. Номограмма для определения пропускной способности пересечений;
1 - простое пересечение; 2 - направляющие островки на второстепенной дороге; 3 - направляющие островки на обеих дорогах с разметкой проезжей части; 4 - пересечение в разных уровнях
3.2. Планировку пересечений в одном уровне с учетом обеспечения наименьшей загрузки основной дороги следует принимать с учетом рекомендаций рис. 3.1.
3.3. Пропускная способность пересечений в одном уровне в конкретных условиях
при А + В + С = 1,
где Nгл - интенсивность движения по главной дороге, авт/ч; l=Nгл/3600; A, B, С - коэффициенты, характеризующие различные части потока (A - свободно движущиеся автомобили; В - частично связанные; С - связанная часть потока автомобилей); A=xме-xп - для участков подъемов; xм - коэффициент, учитывающий количество медленно движущихся автомобилей в потоке (табл. 3.2); xп - коэффициент, учитывающий крутизну уклона и длину подъема (см. табл. 3.3); Dtгр - граничный интервал, принимаемый водителем и определяемый по рис. 3.2; dt - интервал между выходами автомобилей из очереди на второстепенной дороге определяют в зависимости от состава движения:
Доля легковых автомобилей в потоке, %.......... 0 20 50 100
dt, с........................................................................ 2,4 3,2 3,7 4,2
Для населенных пунктов А определяют по рис. 3.3, а В=f(А) по (рис. 3.4);
b1, b2, b3 - коэффициенты, характеризующие плотность потока автомобилей;
b1=j(A) определяют по графику (рис. 3.5), b2=3,5 и b3=5,7 (для двухполосных дорог).
Расчет по уравнению (3.1) позволяет определить пропускную способность не всего пересечения, а лишь одного направления движения со второстепенной дороги, пересекающего или вливающегося в главный поток.
Полная пропускная способность определится как сумма пропускных способностей по всем направлениям.
Таблица 3.2
|
К, % |
xм при расстоянии от подъема, м |
||||||
|
£100 |
500 |
1000 |
1500 |
2000 |
3000 |
4000 и более |
|
|
0 |
1,0 |
1,0 |
1,0 |
1,0 |
1,0 |
1,0 |
1,0 |
|
10 |
0,64 |
0,72 |
0,78 |
0,82 |
0,85 |
0,88 |
0,83 |
|
20 |
0,46 |
0,54 |
0,61 |
0,68 |
0,71 |
0,75 |
0,77 |
|
30 |
0,36 |
0,43 |
0,50 |
0,58 |
0,62 |
0,68 |
0,70 |
|
40 |
0,27 |
0,34 |
0,43 |
0,51 |
0,55 |
0,61 |
0,65 |
Примечание. К медленно движущимся относят автомобили, скорость которых на 10-15 км/ч меньше средней для всего потока. Количество таких автомобилей определяется по материалам измерения скоростей на дороге.

Рис. 3.2. Изменение граничного промежутка времени для левого поворота в зависимости от интенсивности движения по главной дороге:
1 - простое пересечение: 2 - канализированное пересечение; интенсивность движения по главной дороге Nгл=250¸500 авт/ч; интенсивность движения поворачивающие налево автомобилей Nл=40¸90 авт/ч; _____ - Dtгр 85% обеспеченности; ------ - Dtгр 50% обеспеченности

Рис. 3.3. Влияние населенного пункта на распределение интервалов в потоке в зависимости от состава движения при расстоянии от населенного пункта:
1 - 0 м; 2 - 200 м; 3 - 400 м; 4 - 600 м; 5 - 1000 м; 6 - 1500 мм; К - доля медленно движущихся автомобилей в потоке
Таблица 3.3
|
Уклон, ‰ |
xп при длине подъема, м |
Уклон, ‰ |
xп при длине подъема, м |
||||||
|
50 |
100 |
200 |
300 |
50 |
100 |
200 |
300 |
||
|
£20 |
0 |
0 |
0 |
0 |
60 |
0,05 |
0,10 |
0,17 |
0,30 |
|
30 |
0 |
0 |
0,02 |
0,04 |
70 |
0,09 |
0,12 |
0,19 |
0,34 |
|
40 |
0 |
0,02 |
0,05 |
0,12 |
80 |
0,11 |
0,15 |
0,24 |
0,42 |
|
50 |
0,02 |
0,06 |
0,11 |
0,19 |
|
|
|
|
|
3.4. Для упрощения расчета все поворачивающие потоки на пересечении приводят к одному условному потоку. Ввиду того что основным параметром, определяющим пропускную способность пересечения, является граничный промежуток времени, приведение осуществляется путем сопоставления этого показателя для разных направлении. Значения коэффициентов приведения yпр при разных планировочных решениях даны в табл. 3.4.

Рис. 3.4. Зависимость между коэффициентами А и В

Рис. 3.5. Зависимость между коэффициентами А и В1
Таблица 3.4
|
Тип пересечения |
Схема планировки |
Коэффициент приведения yпр |
|||
|
Левый поворот с дороги |
Прямое пересечение |
Правый поворот |
|||
|
главной |
второстепенной |
||||
|
Простое необорудованное пересечение; R= 10 м |
|
1,1 |
1,1 |
1,0 |
0,62 |
|
Необорудованное пересечение; 10 м <R <25 м |
|
1,0 |
1,0 |
1,0 |
0,45 |
|
Разделительный и направляющие островки на второстепенной дороге, правоповоротные съезды с переходными кривыми или коробовые кривые; главная дорога не оборудована |
|
1,0 |
0,85 |
0,9 |
0,27 |
|
То же, переходно-скоростные полосы на главной дороге (не полное, канализированное) |
|
1,0 |
0,85 |
0,9 |
0,1 |
|
То же, разделение встречных потоков на главной дороге |
|
0,9 |
0,65 |
0,7 |
0,1 |
|
То же, левоповоротные островки на главной дороге с переходно-скоростными полосами (канализированное пересечение) |
|
0,60 |
0,65 |
0,70 |
0,1 |
|
То же, переходно-скоростные полосы для левого поворота на главной дороге |
|
0,60 |
0,6 |
0,2 |
0, |

Рис. 3.6. Изменение граничного промежутка времени для правого поворота при различных радиусах съездов:
1 - R=10-13 м; 2 - R=15 м; 3 - R=25 м; 4 - R=50 м; 5 - R=50 м имеются переходно-скоростные полосы

Рис. 3.7. Номограмма для определения пропускной способности нерегулируемых пересечений в одном уровне:
1 - теоретическая; 2 - максимальная практическая; 3 - практическая. Сплошные линии - необорудованные пересечения, штриховая - канализированные
3.5. Интенсивность движения приведенного потока на второстепенной дороге:
. (3.2)
Предельное значение приведенной интенсивности движения, т. е. суммарная интенсивность на второстепенной дороге:
для необорудованных пересечений
; (3.3)
для канализированных пересечений
где Nвт, Nгл - интенсивность движения на второстепенной и главной дороге; yпр - коэффициент приведения; h - доля поворачивающего движения; Рп - пропускная способность правого поворота с второстепенной дороги, определяемая по формуле (3.1) при значении Dtгр для правого поворота, принимаемом по рис. 3.6; Nmax - пропускная способность пересечения в одном уровне.
3.6. Коэффициент загрузки движением
, (3.5)

Рис. 3.8. Номограмма для определения практической пропускной способности пересечении в одном уровне
3.7. На основе номограмм (рис. 3.7, 3.8) определяют предельные интенсивности движения для некоторых типов пересечении в одном уровне. Пример расчета пропускной способности пересечения приведен в приложении 6.
3.8. Пропускная способность кольцевого пересечения зависит от размера геометрических элементов плана пересечения, параметров транспортного потока и организации движения на въезде на кольцо.
Для одной и той же планировки кольцевого пересечения более высокая пропускная способность достигается при организации движения с преимущественным правом проезда по кольцу.
3.9. Пропускная способность кольцевого пересечения - предельная интенсивность движения па всех его въездах.
Пропускная способность въезда на кольцевое пересечение - максимальное число автомобилей, которое может въехать на пересечение за единицу времени при заданной интенсивности движения на кольце и наличии постоянной очереди автомобилей на въезде.
3.10. Для оценки пропускнон способности кольцевых пересечении необходимы данные об интенсивности и составе движения, о распределении потоков по направлениям в часы пик.
3.11. Пропускная способность въезда на кольцевое пересечение зависит, главным образом, от числа полос движения на въезде, формы въезда, интенсивности движения на кольце, состава движения.
Пропускная способность въезда на кольцевое пересечение с учетом реальных дорожных условий (авт/ч):
; (3.6)
, (3.7)
где kс - коэффициент, учитывающий состав движения; lI - коэффициент приведения i-го типа транспортного средства к легковому автомобилю для кольцевых пересечений; mi - число (в долях единицы) транспортных средств разных типов; п - число типов транспортных средств; Nк - интенсивность движения на кольце, легковых авт/ч; А и Б - коэффициенты, характеризующие планировку въезда, зависят от числа полос движения на подходе n1 и на въезде п2 (табл. 3.5); С - коэффициент, учитывающий влияние диаметра центрального островка Dц.о на пропускную способность въезда на кольцевое пересечение:
Dц.о.......................... 15-20 40-50 80 125 160 200
С............................. 0,94 1 0,9 0,84 0,79 0,75
Таблица 3.5
|
n1 |
п2 |
Nк легковых авт/ч |
А |
Б |
n1 |
п2 |
Nк легковых авт/ч |
А |
Б |
|
1 |
1 |
£2240 |
1500 |
0,67 |
1 |
3 |
£1б00 |
1800 |
0,31 |
|
2 |
2 |
£5130 |
2630 |
1,04 |
|
|
³1600 |
3200 |
1,18 |
|
1 |
2 |
£1400 |
1800 |
0,45 |
2 |
3 |
£1100 |
2900 |
0,91 |
|
|
|
>1400 |
2630 |
1,01 |
|
|
>1100 |
3200 |
0,18 |
Число полос движения на въезде
, (3.8)
где В - ширина въезда, м; b1 - ширина полосы движения на въезде, м (b1=3,75¸4 м).
Коэффициент приведения l1 к легковому автомобилю для кольцевых пересечении с учетом типа автомобиля:
Легковые.......................................................................................................................... 1,0
Грузовые малой грузоподъемности.............................................................................. 1,4
» средней............................................................................................................ 1,7
» большой........................................................................................................... 2,3
Автобусы.......................................................................................................................... 2,9
Автомобильные поезда.................................................................................................. 3,5
3.12. По по формуле 3.6 определяют максимальную пропускную способность въезда, которая может быть достигнута при наличии постоянной очереди автомобилей, ожидающих въезда в зону слияния. Такой режим работы кольцевого пересечения приводит к большим народнохозяйственным потерям из-за простоев автомобилей и грузов и поэтому экономически нецелесообразен. Следовательно, необходимо определить экономически эффективную загрузку движением кольцевых пересечений.
3.13. Коэффициентом загрузки въезда называют отношение фактической интенсивности движения автомобилей на въезде к пропускной способности данного въезда в конкретных дорожных условиях
, (3.9)
где Nв - фактическая или перспективная интенсивность движения на въезде, авт/ч; Рв - максимальная пропускная способность въезда в реальных дорожных условиях (по формуле 3.6), авт/ч.
Исходя из условий эффективной работы автомобильной дороги в целом оптимальный коэффициент загрузки движением на въездах кольцевых пересечении zопт=0,65.
Коэффициент загрузки движением, соответствующий режиму практической пропускной способности въезда, zпр=0,85.
3.14. Практическая пропускная способность въезда на кольцевое пересечение
. (3.10)
3.15. При проектировании дороги необходимо оценивать пропускную способность не только отдельного въезда, но и кольцевого пересечения в целом. Пропускную способность каждого въезда на кольцевое пересечение определяют при фиксированной интенсивности движения на кольце.
Увеличение интенсивности движения на одном из въездов до его пропускной способности (Nв=Рв) приведет к росту интенсивности на кольце перед другими въездами, и пропускная способность других въездов уменьшится. Поэтому пропускная способность всего кольцевого пересечения будет меньше пропускных способностей въездов.
Пропускную способность всего кольцевого пересечения определяют при следующих допущениях: прирост интенсивности на всех въездах одинаков; состав движения и распределение потока по направлениям на всех въездах остаются постоянными.
Если хотя бы на одном въезде z³0,65, кольцевое пересечение достигло (или превысило при z>0,65) экономически эффективную загрузку движением и на данном въезде следует провести мероприятия по повышению пропускной способности.
Если на всех z<0,65, то можно оценить запас пропускной способности каждого въезда.
3.16. Запас пропускной способности въезда определяют из условия возрастания интенсивности движения на данном въезде (Nв) до ее пропускной способности (Рв) при равномерном увеличении интенсивности движения на всем кольцевом пересечении:
, (3.11)
, (3.12)
где x - - коэффициент запаса пропускной способности въезда, который показывает, во сколько раз может увеличиться интенсивность движения на въезде до достижения пропускной способности. Остальные обозначения прежние.
Коэффициент х рассчитывают для каждого въезда при zопт=0,65. Из всех х выбирают наименьший xmin (соответствует наиболее загруженному въезду).
Полная пропускная способность кольцевого пересечения, соответствующая экономически эффективной загрузке движением (zопт=0,65),
. (3.13)
где Nв - фактическая интенсивность движения на въезде, авт/ч; i - номер въезда; n - число въездов.
3.17. Аналогично можно определить пропускную способность кольцевого пересечения, соответствующую режиму практической пропускной способности въезда (при zпр=0,85).
3.18. Расчет пропускной способности кольцевых пересечений выполняют в такой последовательности:
1) на основе данных об интенсивности, о составе движения, распределении потоков по направлениям в часы пик составляют сводную таблицу интенсивностей на кольцевом пересечении (см. приложение 7);
2) составляют картограмму интенсивности на кольцевом пересечении (рис. 3.9);
3) для каждого въезда определяют коэффициенты kс, с, А и Б и вычисляют пропускную способность въезда на кольцевое пересечение по формуле (3.6);


Рис. 3.9. Картограмма интенсивности движения:
а - распределение по направлениям; б - распределение по кольцу
4) определяют коэффициент загрузки движением каждого въезда по формуле (3.9);
5) коэффициенты загрузки движением сравнивают с коэффициентом zопт= 0,65. Если хотя бы на одном въезде z³0,65, необходимы мероприятия по повышению пропускной способности въезда (см. табл. 6.1), если на всех въездах z<0,65, рассчитывают пропускную способность всего кольцевого пересечения.
3.19. На многополосных автомобильных дорогах в качестве первого этапа возможно устройство пересечений в одном уровне с отнесенным левым поворотом, которые при правильной планировке имеют ряд преимуществ по сравнению с крестообразными и кольцевыми пересечениями в одном уровне. При таких пересечениях снижение скорости по главной дороге наименьшее по сравнению с другими видами пересечений в одном уровне.
3.20. Пропускная способность одного направления движения на пересечении в одном уровне с отнесенным левым поворотом не зависит от другого направления, так как все направления разделены и отсутствует их взаимное влияние.
3.21. Пропускная способность данного направления (участка слияния, участков переплетения или разворота)
, (3.14)
где N - интенсивность движения одной полосы основной дороги, в которую вливается поток автомобилей второстепенной дороги, легковых авт/ч; 7=3600 с; Dtгр - граничный интервал времени, зависящий от интенсивности движения, вида маневра и планировки пересечения, dt - минимальный интервал между автомобилями, выполняющими маневр, с. Если сливаются потоки автомобилей с примыкающей дороги. N принимают для крайней правой полосы главной дороги; если переплетаются, N принимают для левой полосы; при развороте с пересечением потоков автомобилей по главной дороге принимают суммарную интенсивность по обеим полосам. Для участка разворота:
а) с пересечением потоков (т. е. с остановкой)
N2-1 - легковых авт/ч........................................ 600 800 1000
с................................................................ 9,7 9,0 8,2
б) с непрерывным движением
Nлев, легковых авт/ч......................................... 200 500 800
................................................................. 4,0 3,8 3,5
Примечания. 1.
- при слиянии потока
второстепенной дороги с потоком автомобилей на главной дороге.
2.
- при пересечении
потока второстепенной дороги с потоком автомобилей на главной дороге.
N1, легковых авт/ч, по правой полосе..................... 400 600 800 1000
при переплетении потоков автомобилей, Dtгр, c... 4,1 3,6 3,3 3,0
Длина участка от места примыкания
дороги до участка разворота, м................... 200 300 400 500 600
Dtгр, c.............................................................. 6,0 4,1 3,9 3,5 3,2
3.22. Минимальные интервалы между автомобилями, выполняющими маневр, принимают: dt=2,2 с - при развороте с остановкой; dt=2,5 с - при развороте с непрерывным движением; dt=2,6 с - при слиянии с примыкающей дороги на главную; dt=3,3 с - при переплетении потоков автомобилей.
3.23. Для оценки пропускной способности каждого направления движения автомобилей на пересечении в одном уровне с отнесенным левым поворотом следует пользоваться графиком (рис. 3.10).

Рис. 3.10. Зависимость пропускной способности каждого направления движения от интенсивности на главной дороге:
1 - участок разворота с остановкой; 2 - участок переплетения при L=200 м; 3 - то же, при L=300 м; 4 - участок слияния; 5-участок переплетения при L=500 м; 6 - участок разворота с непрерывным движением; L - расстояние от места примыкания дороги до участка разворота
3.24. При проектировании пересечений в одном уровне на многополосных дорогах с отнесенным левым поворотом рекомендуется ориентироваться на следующие коэффициенты загрузки:
zгл zвт
0,2 0,3-0,4
0,2-0,45 0,25-0,1
0,45-0,7 0,05
3.25. Наличие пересечений в одном уровне с отнесенным левым поворотом на четырехполосных дорогах влияет на пропускную способность автомобильной магистрали. Для оценки пропускной способности автомобильной магистрали на участках, где расположены пересечения в одном уровне с отнесенным левым поворотом, по методике, изложенной в пп. 2.16-2.20, рекомендуется пользоваться коэффициентами снижения пропускной способности, приведенными в табл. 3.6. В приложении 8 даны примеры расчета пропускной способности пересечений с отнесенным левым поворотом.
3.26. Определение фактической пропускной способности железнодорожных переездов и факторов, оказывающих влияние на ее уменьшение, является решающим условием для назначения сроков и степени реконструкции переездов, мероприятий, повышающих их пропускную способность.
Пропускная способность железнодорожных переездов зависит от скорости автомобилей, интенсивности движения по железной дороге, состояния покрытия, размеров геометрических элементов на подходах к переездам, средств регулирования движением, числа пересекаемых путей, состава движения по автомобильной и железной дорогам и т. д.
Таблица 3.6
|
Тип пересечения или примыкания |
Число разворачивающихся автомобилей, % |
|||
|
20 |
40 |
60 |
80 |
|
|
Необорудованное пересечение |
0,86 |
0,8 |
0,63 |
0,48 |
|
Частично оборудованное пересечение с переходно скоростными полосами на участке примыкания |
0,92 |
0,9 |
0,85 |
0,78 |
|
Полностью канализированное пересечение с прерывным движением на участке разворота (т. е. с остановкой) |
0,98 |
0,95 |
0,90 |
0,85 |
|
Полностью канализированное пересечение с непрерывным движением |
1,0 |
0,98 |
0,96 |
0,93 |
3.27. Расчет пропускной способности железнодорожных переездов основан па определении скорости движения автомобилей; распределения интервалов между следующими друг за другом автомобилями; распределения интервалов между автомобилями при разъезде очереди; плотности движения автомобилей.
3.28. Пропускную способность железнодорожных переездов необходимо оценивать для двух случаев:
железнодорожный переезд большую часть времени открыт для движения автомобилей;
железнодорожный переезд продолжительное время закрыт для движения автомобилей.
3.29. Пропускная способность железнодорожного переезда, который большую часть открыт для проезда автомобилей:
, (3.15)
где v0 - скорость свободного движения на железнодорожном переезде (табл. 3.7); q0 - плотность движения при скорости v0 (табл. 3.7); q - текущая величина плотности движения, авт/км.
при q³q0, (3.16)
и
(3.17)
при q>q0.
3.30. Пропускная способность регулируемых железнодорожных переездов зависит от продолжительности закрытия и открытия переезда, интервала между автомобилями при разъезде из очереди.
Максимальная пропускная способность полосы движения в течение одного открытия переезда
, (3.15)
где dti - интервал между автомобилями при разъезде очереди, с; k - число автомобилей в очереди; tзел - продолжительность открытия переезда, с.
3.31. Ориентировочные значения пропускной способности полосы движения для железнодорожных переездов с различным числом путей приводятся в табл. 3.8.
3.32. На пропускную способность железнодорожных переездов влияют дорожные условия, на подходах к переездам: кривые в плане, подъемы и спуски, ровность покрытия.
Таблица 3.7
|
Число пересекаемых железнодорожных путей |
v0, км/ч |
v0, км/ч |
qmах, авт/км |
|
1 |
50 |
15 |
80-85 |
|
2 |
40 |
25 |
80-85 |
|
3 |
35 |
40 |
80-87 |
|
³4 |
20 |
50 |
85-90 |
Таблица 3.8
|
Число пересекаемых железнодорожных путей |
Максимальная пропускная способность полосы движения, авт/ч, при 100% автомобилей |
|
|
легковых |
грузовых |
|
|
1 |
1500 |
900 |
|
2 |
1200 |
700 |
|
3 |
900 |
660 |
|
4 |
800 |
540 |
Таблица 3.9
|
Число железнодорожных путей |
|
Число железнодорожных путей |
|
|
1 |
0,93 |
3 |
0,66 |
|
2 |
0,82 |
4 |
0,54 |
Таблица 3.10
|
Характеристика ровности проезжей части |
Число железнодорожных путей |
|
|
Хорошая |
1 |
0,98 |
|
2 |
0,98 |
|
|
Удовлетворительная |
1 |
0,80 |
|
2 |
0,87 |
|
|
Неудовлетворительная |
1 |
0,66 |
|
2 |
0,69 |
Таблица 3.11
|
Интенсивность движения по железной дороге, поездов/ч |
Число железнодорожных путей |
||||||||||||||
|
1 |
2 |
3 |
4 |
||||||||||||
|
Число легковых автомобилей в потоке, % |
|||||||||||||||
|
100 |
70 |
50 |
100 |
70 |
50 |
100 |
70 |
50 |
100 |
70 |
50 |
||||
|
0 |
1,00 |
1,00 |
1,00 |
1,00 |
1,00 |
1,00 |
1,00 |
1,00 |
1,00 |
1,00 |
1,00 |
1,00 |
|||
|
5 |
0,81 |
0,80 |
0,80 |
0,76 |
0,76 |
0,75 |
0,78 |
0,76 |
0,71 |
0,77 |
0,77 |
0,77 |
|||
|
10 |
- |
- |
- |
0,59 |
0,59 |
0,58, |
0,75 |
0,56 |
0,55 |
0,56 |
0,56 |
0,56 |
|||
|
15 |
- |
- |
- |
0,42 |
0,42 |
0,42 |
0,41 |
0,41 |
0,41 |
0,41 |
0,42 |
0,42 |
|||
|
20 |
- |
- |
- |
- |
- |
- |
0,30 |
0,30 |
0,29 |
0,30 |
0,30 |
0,30 |
|||
|
25 |
- |
- |
- |
- |
- |
- |
- |
- |
- |
0,20 |
0,19 |
0,19 |
|||
|
30 |
- |
- |
- |
- |
- |
- |
- |
- |
- |
0,15 |
0,15 |
0,15 |
|||
|
35 |
- |
- |
- |
- |
- |
- |
- |
- |
- |
0,11 |
0,11 |
0,11 |
|||
Таблица 3.12
|
Радиус кривой в плане, м |
|
Радиус кривой в плане, и |
|
||
|
50 |
100 |
50 |
100 |
||
|
200 |
0,98 |
0,99 |
50-75 |
0,85 |
0,89 |
|
100-150 |
0,92 |
0,93 |
30-35 |
0,75 |
0,78 |
Таблица 3.13
|
Угол пересечения, град |
|
|||
|
1 |
2 |
3 |
4 |
|
|
30 |
0,89 |
0,78 |
0,74 |
0,71 |
|
30-45 |
0,95 |
0,88 |
0,83 |
0,82 |
|
45-60 |
0,96 |
0,94 |
0,89 |
0,84 |
|
60-75 |
0,97 |
0,97 |
0,96 |
0,95 |
|
75-90 |
0,99 |
0,98 |
0,98 |
0,98 |
|
90 |
1,00 |
1,00 |
1,00 |
1,00 |
Пропускная способность железнодорожных переездов в разных дорожных условиях (авт/ч):
, (3.19)
где Рд - пропускная способность
полосы движения, авт/ч;
,
...
- коэффициенты снижения пропускной способности,
учитывающие состав движения, характеристики железнодорожных переездов к
дорожные условия в зоне переезда. :
3.33. Коэффициенты снижения пропускной способности приведены в табл. 3.9-3.13.
4.1. Пропускная способность пересечений в разных уровнях определяется пропускной способностью съездов. Основными факторами, влияющими на пропускную способность съездов транспортных развязок, являются: возможность влияния автомобилей в основной поток при выходе со съезда и размеры геометрических элементов съезда.
Пропускную способность съездов, имеющих различные планировочные решения участков слияния, оценивают по табл. 4.1, составленной для случая, когда количество тяжелых автомобилей в транспортном потоке не превышает 10-15%.
4.2. На многополосных дорогах основным считается поток автомобилей на правой внешней полосе. Интенсивность движения в местах слияния следует определять, учитывая следующие факторы: распределение интенсивности движения по съездам в соответствии с картограммой; распределение интенсивности движения по полосам проезжей части многополосной дороги. Для четырехполосных автомобильных магистралей это распределение следующее:
Общая интенсивность движения
в одном направлении,
авт/ч 200 403 600 800 1000 1200 1400 1600 1800 2000 2200
Интенсивность по внешней
правой полосе,
авт/ч 180 310 410 510 600 700 800 900 1000 1010 1190
Таблица 4.1
|
Уровень удобства на главной дороге |
Интенсивность движения на правой полосе главной дороги, авт/ч |
Пропускная способность съезда, авт/ч |
|
|
при наличии переходно-скоростной полосы |
без переходно-скоростной полосы |
||
|
А |
100 |
900 |
850 |
|
300 |
350 |
660 |
|
|
Б |
500 |
800 |
500 |
|
700 |
750 |
450 |
|
|
В |
900 |
700 |
350 |
|
Г |
1000 |
600 |
250 |
Таблица 4.2
|
Уровень удобства движения на съезде |
z |
Скорость на правой полосе четырехполосной магистрали в зоне съезда, % от скорости на пересечении |
|
|
съезды с переходно-скоростными полосами |
съезды без переходно-скоростных съездов |
||
|
А |
<0,2 |
90-100 |
80-90 |
|
Б |
0,2-0,45 |
85-90 |
60-70 |
|
В |
0,45-0,7 |
70-80 |
40-50* |
|
Г-а |
0,7-1,0 |
45-55 |
30-40** |
|
Г-б |
0; 1,0 |
35-10 |
15-25*** |
*Наблюдаются остановки отдельных автомобилей на внешней полосе, обгоны затруднены.
**Наблюдаются кратковременные заторы на внешней полосе и остановки отдельных автомобилей на внутренней полосе.
*** Наблюдаются заторы на обеих полосах движения.
Промежуточные значения определяют интерполяцией.
4.3. Назначая уровень удобства движения на пересечениях, следует учитывать, что с ростом интенсивности на съезде и приближении ее к пропускной способности съезда условия движения на главной дороге и пересечении ухудшаются (табл. 4.2).
4.4. Увеличения пропускной способности участков примыкания съездов можно достигнуть, применяя переходно-скоростные полосы или выделяя отдельные полосы на главной дороге.
Устройство дополнительных полос на съездах существенного эффекта не дает, так как в зоне слияния они работают как однополосные. Однако на съездах длиннее 300 м, расположенных на подъеме с уклоном более 30‰. дополнительная полоса целесообразна для повышения пропускной способности и удобства движения быстроходных автомобилей.
4.5. Пропускная способность съездов пересечений - в разных уровнях, выходные участки которых имеют зоны слияния потоков автомобилей, определяется в такой последовательности:
устанавливают по формуле (3.1) максимальную интенсивность движения на
съезде
из условий
возможности вливания в основной поток интенсивностью Nmах*;
*В формуле
(3.1) обозначение Рп соответствует
, Nгл соответствует N0.
устанавливают пропускную
способность съезда Рс по
формуле (2.1), используя соответствующие планировке съезда размеры частных
коэффициентов, учитывая влияние геометрических элементов съезда и состава
потока автомобилей па съезде. При этом в формуле
(2.1) за Рmах
принимают значение, рекомендуемое в п. 2.3;
для одной полосы четырехполосной автомагистрали сравнивают Nmах и Рс. Если Рс
оказалось больше
, за пропускную способность съезда принимают
. Когда Рс меньше
, за пропускную способность съезда принимают Рс,
так как в этих случаях пропускная способность съезда ограничивается не участком
слияния потоков, а участками с кривыми, подъемами и т. д.
4.6. Пропускная способность съездов, выходные участки которых не являются зонами слияния потоков, а представляют собой участки перехода к дополнительной полосе проезжей части главной дороги, определяется как пропускная способность одной полосы движения (Рmах=200 легковых авт/ч) с учетом значений четных коэффициентов снижения пропускной способности согласно пп. 2.4 и 2.5.

Рис. 4.1. Зависимость граничного интервала времени от интенсивности движения по основной полосе:
1 - вливание после остановки, 85% обеспеченности; 2 - то же, 50%; 3 - скорость вливающихся автомобилей 25- 35 км/ч, 85% обеспеченности; 4 - вливание с полосы ускорения, 85% обеспеченности

Рис. 4.2. Влияние угла вливания на граничный промежуток времени:
1 - вливание в основной поток после предварительной остановки, N0=150 авт/ч; 2 - то же, без остановки, N0=150 авт/ч: 3 - то же, N0=300 авт/ч; 4 - то же, N0=150 авт/ч
4.7. Граничный промежуток времени Dtгр при вливании определяют по графикам (рис. 4.1 и 4.2).
Для левоповоротных съездов
пересечений типа полный клеверный лист, не имеющих переходно-скоростных полос,
коэффициент А определяют в зависимости от интенсивности движения
на смежном
левоповоротном съезде, по которому едут автомобили, уходящие с главной дороги (табл. 4.3).
Для левоповоротных съездов пересечений типа полный клеверный лист, имеющих переходно-скоростные полосы, коэффициент А принимают равным:
Тяжелые автомобили в основном потоке, %.............. 10-15 20-25 30-35
А...................................................................................... 0,60 0,56 0,48
В табл. 4.4 приведены данные о размере коэффициента А для следующих случаев: левоповоротные съезды пересечений всех типов, за исключением пересечений типа полный клеверный лист; правоповоротные съезды пересечений всех типов.
Другие коэффициенты и параметры, входящие в формулу (3.1), определяют:
коэффициент В - по графику рис. 4.3; коэффициент С=1-(А+В); b1 - по графику рис. 4.4; b2=1,8; b3=3,0; dt принимают равной 3,2 с, когда легковых автомобилей в потоке на съезде более 60%, и 3,6 с, если их менее 50%.
Таблица 4.3
|
Интенсивность движения, авт ч |
Коэффициент А при наличии на основной полосе тяжелых автомобилей, % |
|||
|
10-15 |
15-20 |
20-25 |
25-30 |
|
|
100 |
0,70 |
0,67 |
0,62 |
0,60 |
|
150 |
0,63 |
0,59 |
0,55 |
0,52 |
|
200 |
0,59 |
0,55 |
0,48 |
0,45 |
|
250 |
0,57 |
0,51 |
0,45 |
0,40 |
|
³300 |
0,53 |
0,48 |
0,42 |
0,38 |
Примечание. Промежуточные значения определяют интерполяцией (то же, для данных табл. 4.4).

Рис. 4.3. Зависимость между коэффициентами А и В для дорог с четырьмя полосами движения
4.8. Для оценки пропускной способности петель левоповоротных съездов пересечении типа полный клеверный лист из условий возможности вливания используют график (рис. 4.5).
Таблица 4.4
|
Расстояние от предыдущего съезда, м |
Коэффициент А* при |
Расстояние от предыдущего съезда, м |
Коэффициент А* при |
||
|
отсутствии переходно-скоростных полос |
наличии переходно-скоростных полос |
отсутствии переходно-скоростных полос |
наличии переходно-скоростных полос |
||
|
200 |
0,57-0,63 |
0,77-0,88 |
800 |
0,83-0,91 |
0,90-0,96 |
|
400 |
0,63-0,70 |
0,82-0,92 |
1000 |
0,87-0,92 |
0,90-0,96 |
|
600 |
0,72-0,82 |
0,87-0,96 |
1200 |
0,88-0,93 |
0,90-0,96 |
*Меньшее значение коэффициента соответствует присутствию к потоке на основной полосе 20-25% тяжелых автомобилей, большая - 10-15%.
4.9. Если радиусы кривых в плане на съездах пересечений в разных уровнях меньше 30 м, пропускную способность определяют с учетом кривизны с помощью номограмм (рис. 4.6-4.9).

Рис. 4.4. Зависимость коэффициента b1 от коэффициента А

Рис. 4.5. Пропускная способность петель левоповоротных съездов пересечения клеверный лист:
1 - теоретическая пропускная способность, А =1; 2 - практическая пропускная способность. А=0,4; 3 - практическая пропускная способность, А=1

Рис. 4.6. Номограмма для определения пропускной способности съездов без переходно-скоростных полос при рR=0,06¸0,08

Рис. 4.7. Номограмма для определения пропускной способности съездов с переходно-скоростной полосой перед съездом при рR=0,06¸0,08

Рис. 4.8. Номограмма для определения пропускной способности за съездом при рR=0,06¸0,08
Рис. 4.9. Номограмма для определения пропускной способности съездов с переходно-скоростными полосами с обеих сторон съезда при рR=0,06¸0,08
Кривизна рR:
для съездов с постоянными радиусами, в плане
, (4.1)
или
; (4.2)
для съездов любой конфигурации
. (4.3)
где R - радиус съезда, м; a - угол поворота, радианы: L - длина съезда, м.
4.10. Пропускную способность пересечения в целом определяют как сумму пропускных способностей отдельных съездов.
4.11. На участке примыкания въезда к автомобильной магистрали коэффициент загрузки движением устанавливают отдельно для каждой полосы автомобильной магистрали. На ее внешней полосе коэффициент загрузки движением определяют из соотношения
, (4.4)
где
интенсивность
движения на правой (внешней) полосе магистрали, авт/ч; Nc - интенсивность движения на
съезде, авт;ч;
-пропускная
способность первой (внешней) полосы магистрали, авт/ч.
4.12. Коэффициент загрузки съезда движением определяют как отношение интенсивности движения на внешней полосе магистрали, в которую вливаются автомобили съезда, к пропускной способности этой полосы
. (4.5)
4.13. При определении значений
, zв
и zc - по известной
интенсивности движения на крайней правой полосе второстепенной дороги
и интенсивности на
съезде следует использовать номограммы, представленные на рис. 4.6-4.9.
4.14. В табл. 4.5 приведены характеристики условий движения на съездах пересечений и разных уровнях при разных уровнях удобства движения на съезде. В приложении 10 даны примеры расчета пропускной способности пересечений и разных уровнях.
Таблица 4.5
|
Уровень удобства движения на съезде |
zc |
Характеристика движения потока автомобилей на съезде |
Состояние потока автомобилей на съезде |
Удобство работы водителя на выходе со съезда |
|
А |
0,2 |
Движение автомобилей по съезду свободное. Задержек автомобилей при выходе со съезда нет |
Свободное |
Удобно |
|
Б |
0,2-0,45 |
Автомобили движутся по съезду группами (2-3 автомобиля). Выход со съезда при наличии переходно-скоростной полосы происходит сходу, без переходно-скоростной полосы - затруднен |
Частично связанное |
Малоудобно |
|
В |
0,45-0,7 |
На съезде постоянно находится группа автомобилей. Интервалы между автомобилями незначительны. Выход со съезда сходу возможен только при наличии переходно-скоростной полосы |
Связанное |
Неудобно |
|
Г |
0,7-1,0 |
Большая часть съезда заполнена автомобилями. Поток движется с остановками, возникают заторы. Выход автомобиля со съезда сходу невозможен |
Плотное насыщенное |
Очень неудобно |
|
£1,0 |
Весь съезд заполнен автомобилями, очередь автомобилей выходит на второстепенную дорогу. Затор. Возможен выход со съезда одиночных автомобилей |
То же |
То же |
5.1. Участки дороги в пределах малых населенных пунктов сельского типа характеризуются пониженной пропускной способностью вследствие влияния следующих факторов: неорганизованного движения пешеходов через дорогу, наличия близкой застройки, автомобилей и автобусов, стоящих на обочине или на специальных площадках, включения в состав потока сельскохозяйственных машин и т. д.
5.2. Связь между скоростью и плотностью движения для участков дорог в пределах малых населенных пунктов сельского типа описывают уравнением
. (5.1)
В табл. 5.1 приведены параметры формулы (5.1) для участков с различной протяженностью населенного пункта и при расстоянии от кромки проезжей части по линии застройки 15-20 м.
1К малым отнесены населенные пункты сельского типа, насчитывающие до 1 тыс. жителей и имеющие линейную однорядную форму застройки (деревни-улицы).
Таблица 5.1
|
Длина участка в пределах населенного пункта, км |
v0 |
|
g |
|
0,3-0,7 |
68,71 |
2,15 |
4,80 |
|
0,7-1,25 |
64,37 |
2,03 |
4,85 |
|
1,25-1,75 |
60,20 |
1,89 |
4,90 |
|
1,75-2,25 |
55,90 |
1,75 |
5,00 |
Таблица 5.2
|
Интенсивность движения пешеходов в часы пик, чел-ч |
К1 при числе легковых автомобилей в потоке, % |
||
|
100 |
70 |
50 |
|
|
<100 |
4,00 |
1,00 |
0,90 |
|
100-200 |
0,95 |
0,90 |
0,80 |
|
200-300 |
0,90 |
0,80 |
0,70 |
|
300-400 |
0,80 |
0,70 |
0,60 |
5.3. При определении пропускной способности участков в пределах малых населенных пунктов сельского типа максимальную плотность потока автомобилей можно принимать равной максимальной плотности на двухполосной дороге (см. п. 2.2).
5.4. Для дорог с проезжей частью шириной 7-7,5 м и обочинами не уже 3 м свободная скорость автомобилей v0 в населенных пунктах, расположенных на прямолинейных горизонтальных участках, может быть получена расчетным путем
, (5.2)
где L - длина участка в пределах населенного пункта (0,5£L£2,5 км); l - расстояние от кромки проезжей части до линии застройки м (5£L£25 км).
5.5. На снижение пропускной способности и скоростей автомобилей большое влияние оказывают пешеходы, переходящие проезжую часть. Пешеходный переход является «узким» местом дороги в пределах населенного пункта. Скорость автомобилей на пешеходном переходе
, (5.3)
где Nп - интенсивность движения пешеходов в часы «пик», чел-ч; N - интенсивность движения автомобилей, авт/ч; v0 - свободная скорость движения в населенном пункте, км/ч.
Зависимость (5.3) применима для наиболее характерного пешеходного потока (18-20% детей, 50-60% взрослых, 20-35% пожилых людей).
5.6. Для пешеходных переходов, где наблюдается изменение процентного соотношения пешеходов по группам, необходимо пользоваться зависимостью
, (5.4)
где Nдет - интенсивность движения детей через дорогу; Nвзр - то же, взрослых людей; Nст - то же, пожилых людей.
5.7. На снижение скорости автомобилей в населенных пунктах оказывают влияние стоянка автомобилей и ее планировочное решение:
Снижение скорости, км/ч
Стоянка удалена от кромки проезжей части, подъезды к ней оборудованы переходно-скоростными полосами.............................................................................................. практически нет
Стоянка удалена от кромки проезжей части, подъезды к ней не оборудованы переходно-скоростными полосами .............................................................................................. 10-20
Стоянка отсутствует, автомобили стоят на обочине .............................................................................................. 20-40
Примеры расчета пропускной способности дорог в пределах населенных пунктов даны в приложении 11.
5.8. Скорость автомобилей на участках в пределах населенных пунктов сельского типа, имеющих кривые в плане
, (5.5)
где K=1000/R; R - радиус кривой в плане (50>R>100 м).
5.9. Пропускная способность автомобильной дороги в пределах малого населенного пункта сельского типа, расположенного на прямом горизонтальном участке,
, (5.6)
где k1 - коэффициент, учитывающий влияние пешеходного перехода; k2 - коэффициент, учитывающий влияние стоянки у пункта обслуживания; k3 - коэффициент, учитывающий влияние кривой в плане.
Пропускная способность участка в пределах малого населенного пункта сельского типа может быть определена в первом приближении по графику (рис. 5.1).
5.10. При определении пропускной способности участка дороги в зоне пешеходного перехода в формуле (5.6) используют коэффициент снижения пропускной способности (табл. 5.2.).
Пропускная способность изменяется на расстоянии 50 м в каждую сторону от пешеходного перехода.
5.11. Инженерное оборудование пешеходных переходов повышает пропускную способность участков дороги. Так, для зоны пешеходного перехода в разных уровнях значение коэффициента снижения пропускной способности равно 1.
5.12. При определении пропускной способности участка дороги в зоне стоянки автомобилей в формуле (5.6) используют коэффициент k2.
Пропускная способность изменяется на расстоянии 50 м в каждую сторону от границы стоянки автомобилей у пункта обслуживания.
k2
Стоянка удалена от кромки, проезжей части, имеются переходно-скоростные полосы 1,0
Стоянка оборудована за счет уширения обочины 0,8
Оборудованной стоянки нет 0,6
Примечание. Если оборудованная стоянка расположена с одной стороны проезжей части и не запрещен левый поворот, необходимо коэффициент уменьшить в 1,5 раза.
5.13. При определении пропускной способности участка дороги, расположенного на горизонтальной кривой, следует пользоваться коэффициентом снижения, представленным в табл. 5.3.

Рис. 5.1. Зависимость пропускной способности дороги от длины населенного пункта и расстояния края проезжей части до линии застройки:
5…>25 - расстояние до застройки, м
Таблица 5.3
|
Длина населенного пункта, км |
k2 при радиусе горизонтальной кривой, м |
||||
|
100 |
100-250 |
250-450 |
450-600 |
500 |
|
|
0,3-0,7 |
0,81 |
0,89 |
0,95 |
0,96 |
0,97 |
|
0,7-1,25 |
0,84 |
0,92 |
0,97 |
0,98 |
0,98 |
|
1,25-1,75 |
0,96 |
0,94 |
097 |
1,0 |
1,0 |
|
1,75-2,25 |
0,88 |
0,95 |
0,98 |
1,0 |
1,0 |
|
2,25-2,75 |
0,90 |
0,96 |
1,0 |
1,0 |
1,0 |
5.14. Пропускная способность мостовых переходов зависит от конструкции и состояния проезжей части мостов и подходов к ним.
На мостовых переходах изменяется режим движения автомобилей, что вызывает снижение средней скорости движения, увеличение плотности потока и в итоге приводит к снижению пропускной способности таких участков дорог.
5.15. Пропускная способность полосы движения на мостовом переходе зависит от дорожных условий: длины моста (для больших мостов), состояния дорожного покрытия; продольного уклона и радиусов кривых в плане на подходах к мосту; продольного профиля моста; расстояния видимости; присутствия придорожных строений на подходах к мосту. В значительной степени на фактическую пропускную способность влияют: состав транспортного потока; наличие средств регулирования дорожного движения; наличие пересечении в одном уровне на подходах к мосту и т. д.
5.16. Пропускную способность мостов и подходов к ним следует определять раздельно. Пропускную способность подходов к мостам необходимо оценивать как для участков автомобильных дорог, согласно рекомендациям раздела 3.
5.17. Пропускная способность полосы движения моста, расположенного на прямой в плане и при продольном уклоне менее 10‰,
, (5.7)
где Г - габарит моста, м (Г7¸Г13); L - длина моста, м (100<L<300 м).
При определении пропускной способности моста состав движения следует учитывать в соответствии с п. 2.4.
5.18. Пропускная способность мостов, расположенных на кривых в плане и имеющих продольные уклоны более 10 ‰,
, (5.8)
где Р - пропускная способность полосы движения с учетом влияния кривых в плане, продольного уклона и состава движения (определяется по рекомендациям раздела 2); kм - коэффициент снижения пропускной способности полосы движения моста (табл. 5.4).
Таблица 5.4
|
L, м |
kм при габарите моста |
||||
|
Г-7 |
Г-8 |
Г-9 |
Г-11,5 |
Г-13 |
|
|
100 |
0,562 |
0,625 |
0,75 |
0,812 |
0,937 |
|
200 |
0,475 |
0,60 |
0,72 |
0,812 |
0,937 |
|
300 |
0,375 |
0,562 |
0,68 |
0,812 |
0,937 |

Рис. 5.2. Номограмма для определения коэффициентов снижения пропускной способности полосы движения на больших автодорожных мостах
Коэффициенты снижения пропускной способности для промежуточных значении длины мостов определяют по номограмме (рис. 5.2).
5.19. Практическая пропускная способность полосы движения большого моста
, (5.9)
где Р - пропускная способность полосы движения на мосту и в зоне его влияния, авт/ч; v0 - скорость движения автомобилей в свободных условиях, км/ч; qmах - максимальная плотность движения, авт/км.
Скорость движения автомобилей v0 и максимальную плотность потока на мосту следует определять в соответствии с разделом 2.
Примеры расчета пропускной способности мостовых переходов даны в приложении 12.
5.20. Скорость легковых автомобилей на большом автодорожном мосту длиной 100-300 м в свободных условиях движения
, (5.10)
где Г - габарит моста, м (Г7¸Г13); L - длина моста, м (100-300 м).
5.21. К придорожным сооружениям обслуживания, предназначенным для обеспечения нормальных условий труда и отдыха водителей и пассажиров, относят: стоянки, автозаправочные станции, площадки отдыха и др.
5.22. Интенсивность съезжающих автомобилей определяется долей часовой интенсивности движения по основной дороге, которая для площадок отдыха, видовых площадок, стоянок у придорожных магазинов составляет 0,01-0,05, а для придорожных предприятий питания, автозаправочных станций, комплексов обслуживания 0,05-0,1.
5.23. Пропускная способность участков автомобильных дорог, находящихся в зонах влияния сооружений обслуживания,
, (5.11)
где Р - пропускная способность полосы автомобильной дороги, определяемая согласно п. 2.4; Кс.о - коэффициент снижения пропускной способности в зоне сооружения обслуживания (табл. 5.5).
Примеры расчета пропускной способности дорог в зоне сооружений обслуживания даны в приложении 13.
5.24. Дороги в горной местности подразделяют на: равнинные, предгорные и горные, причем среди горных следует выделять горно-долинные и перевальные участки, что обусловлено своеобразием элементов горного рельефа.
Таблица 5.5
|
Тип площадки |
Наличие переходно-скоростных полос |
Кс.о при доле съезжающих на стоянку автомобилей от часовой интенсивности движения по основной дороге |
|
|
0,01-0,05 |
0,05-0,1 |
||
|
С отделением от проезжей части |
Есть |
0,96 |
0,94 |
|
Нет |
0,84 |
0,80 |
|
|
Без отделения от проезжей части |
Есть |
0,80 |
0,79 |
|
Нет |
0,76 |
0,74 |
|
Горно-долинные участки дорог характеризуются стесненностью и извилистостью в плане, небольшими продольными уклонами, в большинстве случаев они проложены по дну ущелий вдоль водотоков.
Перевальные участки дорог обладают значительной разностью отметок от дна долин до вершин и гребней. Они сильно извилисты в плане, зачастую имеют продольные уклоны и серпантины.
5.25. Расчет пропускной способности горных дорог при их проектировании выполняют на основе коэффициентов снижения пропускной способности
, (5.12)
где bг - итоговый коэффициент снижения пропускной
способности (см. пп. 5.27 и 5.28);
-максимальная пропускная способность,
авт/ч (см. п. 5.26).
Пропускную способность дорог или участков в равнинных и предгорных районах определяют в соответствии с рекомендациями раздела 2.
5.26. При расчетах по формуле (5.12) рекомендуется исходить из следующих величин максимальной пропускной способности:
двухполосные горно-долинные участки дорог - 2000 легковых авт/ч (в обоих направлениях);
перевальные участки дорог 1800 легковых авт/ч (в обоих направлениях).
5.27. Итоговый коэффициент снижения пропускной способности для горно-долинных участков:
, (5.13)
где
- частные коэффициенты снижения пропускной способности,
учитывающие влияние различных факторов; учитывает влияние ширины полосы
движения:
Ширина полосы движения, м........................ 3,0 3,50 ³3,75
..................................................................... 0,82 0,94 1,0
учитывает ширину обочин:
Ширина обочин, м............................ 0,5 1,0 1,5 2,0 2,5
...................................................... 0,72 0,78 0,86 0,90 0,98
учитывает
расстояние видимости:
Расстояние видимости, м..... 30....... 40 50 50-80 80-100 ³100
........................................... 0,61.... 0,63 0,65 0,67 0,69 см. разд. 2
учитывает совместное влияние углов поворота трассы и
радиусов кривых и плане (табл. 5.6);
учитывает тип
дорожного покрытия:
Тип дорожного покрытия Усовершенств. Усовершенств. Переходное Низший
капитальное облегченное
1,0 0,93 0,82 0,66
учитывает
влияние продольного уклона:
Продольный уклон, ‰............................................. 20 30 40 50
на подъем........................................................... 1,0 0,99 0,80 0,68
» спуск................................................................ 1,0 1,1 1,2 1,25
5.28. Итоговый коэффициент снижения пропускной способности для перекальных участков
, (5.14)
где
- частные
коэффициенты снижения пропускной способности для перевальных участков,
учитывающие влияние определенных факторов;
учитывает влияние
продольного уклона и высоты над уровнем моря (табл. 5.7);
учитывает влияние числа кривых в плане:
Число кривых на 1 км......... 3-4 4-6 6-9 9-12 12-15
........................................ 0,90 0,86 0,84 0,80 0,75
Таблица 5.6
|
Радиус кривой в плане, м |
|
||||||
|
6-15 |
15-31 |
30-45 |
45-60 |
60-75 |
75-90 |
>90 |
|
|
30 |
- |
- |
0,70 |
0,67 |
0,65 |
0,63 |
0,60 |
|
50 |
- |
0,78 |
0,72 |
0,69 |
0,67 |
0,65 |
0,62 |
|
75 |
- |
0,80 |
0,74 |
0,71 |
0,69 |
0,67 |
0,64 |
|
100 |
0,90 |
0,81 |
0,76 |
0,72 |
0,70 |
0,69 |
0,65 |
|
150 |
0,93 |
0,83 |
0,78 |
0,74 |
0,72 |
0,711 |
0,67 |
|
200 |
0,94 |
0,85 |
0,79 |
0,76 |
0,74 |
0,73 |
- |
|
300 |
0,97 |
0,87 |
0,82 |
0,79 |
0,77 |
- |
- |
Таблица 5.7
|
Высота над уровнем моря, м |
|
|||||
|
20 |
40 |
60 |
80 |
100 |
120 |
|
|
1000 |
1,0 |
0,95 |
0,84 |
0,70 |
0,55 |
0,45 |
|
2000 |
0,99 |
0,94 |
0,82 |
0,68 |
0,53 |
0,42 |
|
3000 |
0,85 |
0,81 |
0,77 |
0,59 |
0,47 |
0,38 |
учитывает
расстояние между серпантинами и длину вставки между смежными кривыми в плане:
Среднее расстояние, м >500 300-500 300-200 200-100 100-80 70 60 50 40
.................................... 1,0 0,95 0,86 0,80 0,74 0,71 0,68 0,66.......................................... 0,60
учитывает
влияние радиуса кривой в плане:
Радиус, м.............................. 100 100-80 80-60 60-40 40-20 20
........................................ 0,85 0,74 0,66 0,53 0,45 0,40
5.29. Для оценки пропускной способности дорог в горной местности, находящихся в эксплуатации, следует применять формулу
, (5.15)
где g - коэффициент, учитывающий пространственное расположение кривых в плане; w - коэффициент, зависящий от загрузки встречной полосы (w=1,1 при z³0,4); при равномерном распределении интенсивности по встречным полосам w=0,9; при высокой загрузке встречной полосы (w=0,70 при z³0,4); a - эмпирический коэффициент, равный 0,15;. V0 - скорость движения в свободных условиях (определяют по формулам (5.16), (5.17) и табл. 5.8); qmах - максимальная плотность на рассматриваемом участке (qmах=85 авт-км).
Если смежные кривые в плане находятся на расстоянии l>200 м при загрузке z³0,45, необходимо в формулу (5.15) вводить коэффициент g=0,70 (при 50£l£100); g=0,80 (при 100£l£200 м), v0 - скорость движения в свободных условиях, км/ч.
, (5.16)
где S
- расстояние видимости, м; iпр
- продольный уклон, ‰; iв
- уклон виража, ‰; В - ширина проезжей части, м; b - ширина обочин, м;
- условная плавность;
R - радиус
кривой в плане, м; a
- угол поворота трассы, град.
Если нет данных для использования формулы (5.16) при продольных уклонах менее 30‰, применяют формулы:
для
внутренних кривых в плане
(5.17)
» внешних » » »
(5.18)
где
; a
- угол поворота трассы, град; R - радиус кривой в плане, м.
Примеры расчета пропускной способности дорог в горной местности даны в приложении 14.
Таблица 5.8
|
Высота над уровнем моря, м |
Уравнение |
|
1000 |
|
|
2000 |
|
|
3000 |
|
6.1. Стадийные мероприятия, направленные на повышение пропускной способности и улучшение условий движения, рекомендуется назначать с учетом требуемого уровня удобства движения. Для каждого уровня удобства следует выбирать мероприятия, позволяющие перейти к более низкому коэффициенту загрузки дороги движением. Наиболее ответственный этап проектирования - выбор числа полос движения.
6.2. На горизонтальных участках, кроме увеличения числа полос, рекомендуется осуществить мероприятия, обеспечивающие более равномерный режим движения:
Уровень удобства движения
А...... разметка проезжей части, установка знаков, устройство краевой полосы
Б...... укрепление обочин, устройство кривой полосы, поверхностной обработки устройство обгонных участков протяжением не меньше 300 м
В...... уширение проезжей части на 2 м, устройство обгонных участков поверхностной обработки, запрещение обгонов в отдельные часы, устройство реверсивной полосы
Г...... устройство дополнительной полосы движения для обгона, устройство реверсивной полосы
6.3. Участки подъемов существенно влияют на пропускную способность. Стадийные мероприятия позволяют существенно повысить удобство и безопасность движения при каждом уровне удобства:
Уровень удобства движения
А...... устройство осевой разметки, установки знаков и ограждений и направляющих столбиков
Б...... уширения в верхней и нижней частях подъема на 2 м с разметкой и укреплением обочин в этих пестах
В...... на затяжных подъемах устройство дополнительной полосы, начиная с середины подъема, в пределах вертикальной выпуклой кривой и за подъемом. На подъемах протяжением меньше 300 м - устройство дополнительной полосы на всю длину подъема
Г...... устройство дополнительной полосы на всю длину затяжного подъема
6.4. Кривые в плане характерны тем, что водители по-разному оценивают условия проезда по ним. Вид мероприятия для повышения пропускной способности кривых в плане радиусом менее 400 м:
Уровень удобства движения
А...... разметка проезжей части, установка знаков, ограждений и направляющих столбиков
Б...... уширение проезжей части с разметкой, обеспечение фактической видимости 600-700 м
В...... устройство разделительного островка
Г...... увеличение радиуса кривой
Примечание. Предусмотрено, что все кривые имеют виражи.
6.5. Основное мероприятие на пересечениях в одном уровне - канализирование движения с помощью разметки или островков. Последовательность улучшения условий движения выбирают на основе уровня удобства движения:
Уровень удобства движения
А...... осевая разметка
Б...... островки на второстепенной дороге
В...... полностью канализированное пересечение
Г...... устройство пересечения в разных уровнях
6.6. Повышать пропускную способность и улучшать условия движения на кольцевых пересечениях следует стадийно с учетом коэффициента загрузки движением въездов кольцевых пересечений.
Основное мероприятие по повышению пропускной способности на кольцевом пересечении - увеличение числа полос на въезде на пересечение.
Последовательность совершенствования планировки въезда (рис. 6.1) выбирают на основе коэффициента загрузки движением по табл. 6.1.
6.7. Основное мероприятие по увеличению пропускной способности отдельных съездов на пересечениях в разных уровнях - устройство пешеходно-скоростных полос и выделение дополнительной полосы на главной дороге, что повышает пропускную способность всего пересечения:
Уровень удобства движения
А...... разметка проезжей части и устройство знаков
Б...... установка знака «Остановка обязательна» или светофора, регулирующего въезд на автомагистраль
В...... устройство переходно-скоростной полосы
Г...... увеличение числа полос движения
Таблица 6.1
|
Интенсивность движения на въезде в часы пик, авт/ч |
Основная схема планировки въезда (рис. 6.1) |
zв |
Мероприятие по повышению пропускной способности въезда на кольцевое пересечение |
|
£350 |
1 |
0,2 |
Разметка проезжей части на въезде |
|
0,2-0,65 |
То же |
||
|
0,65 |
Устройства въезда по схеме 2 (см. рис. 6.1) |
||
|
350<Nв<500 |
2 |
0,2 |
Разметка проезжей части на въезде |
|
0,2-0,65 |
Разметка на въезде, установка знака «Направление движения по полосам» на Г-образной раме над въездом. При устройство въезда по схеме 2а (см. рис. 6.1) |
||
|
0,65 |
Устройство въезда по схеме 3 (см. рис. 6.1) |
||
|
500<Nв<700 |
3 |
<0,2 |
Разметка проезжей части на въезде |
|
0,2-,65 |
Разметка на въезде, установка знака «Направление движения по полосам» на Г-образной раме над въездом. |
||
|
>0,65 |
При a³0,3 устройство съезда по схеме 3а (см. рис. 6.1) |
||
|
Nв>700 |
|
|
Устройство пересечения в разных уровнях |

Рис. 6.1. Схемы, показывающие последовательность совершенствования планировки въезда на кольцевое пересечение с целью повышения пропускной способности
Повысить пропускную способность пересечения можно также его реконструкцией по типу полного клеверного листа. Пропускная способность пересечения типа полный клеверный лист ограничивается межпетлевым участком, где взаимодействуют левоповоротные потоки. В этих случаях пропускную, способность можно повысить лишь посредством устройства одного или нескольких прямых или полупрямых левоповоротных съездов.
6.8. Участки с ограниченной видимостью в продольном профиле характерны не только низкими скоростями движения, но и высокой аварийностью. Мероприятия по улучшению условий движения на них можно выполнять стадийно:
Уровень удобства движения
А........ осевая разметка с уширением каждой полосы на 1 м
Б......... устройство островка в пределах вертикальной кривой и укрепление обочин
В, Г.... увеличение радиуса вертикальной выпуклой кривой
6.9. Увеличение загрузки дороги влияет на режим движения автомобилей в зоне автобусных остановок. Степень их оборудованности может оказывать решающее влияние на уровень удобства движения по дороге. Выбор планировки с учетом уровня удобства позволит обеспечить желаемые удобства и безопасность движения, повысить пропускную способность дороги:
Уровень удобства движения
А........ простой карман без отгонов ширины с площадкой для пассажиров
Б......... устройство отгонов ширины с учетом плавного торможения
В........ устройство разделительного островка
Г........ установка ограждений для пешеходов, увеличение длины отгона с учетом встраивания в поток и увеличение протяжения участка разгона автобуса
6.10. На извилистых участках горных дорог (см. п. 5.24) необходимо предусматривать стадийные мероприятия по улучшению условий движения с учетом уровней удобства движения:
Уровень удобства движения
А........ устройство разметки проезжей части, установка знаков, ограждений, направляющих столбиков, аварийных съездов
Б......... то же, а также устройство срезок видимости, увеличение радиусов кривых, уширение проезжей части
В, Г.... перестройка сильно извилистых, опасных участков со спрямлением участков трассы, устройство коротких тоннелей и эстакад
6.11. Применение технических средств и методов организации движения должно решаться с учетом требуемого уровня удобства на дороге (табл. 6.2).
Таблица 6.2
|
Уровень удобства движения |
Рекомендуемые средства регулирования |
Расположение знаков и указателей |
|
А |
Разметка проезжей части, предупреждающие дорожные знаки и направляющие устройства |
Сбоку от дороги |
|
Б |
Знаки и разметка, ограничивающие маневр и предупреждающие об изменении дорожных условий. Направляющие стрелы, световые информационные указатели рекомендуемых скоростей, многопозиционные знаки |
Сбоку от дороги с дублированием на противоположной стороне дороги |
|
В |
Разметка проезжей части, дублируемая знаками, направляющие стрелы, знаки, островки, светофоры, многопозиционные знаки |
Сбоку от дороги с дублированием около крупных пересечений над проезжей частью |
|
Г |
Знаки, рекомендующие дистанции движения, автоматизированные системы регулирования, меняющие режим работы светового табло с указанием скоростей и полос движения, знаки, дублирующие разметку |
Над проезжей частью с установкой перед ними дублирующих указателей и знаков сбоку от дороги, освещение основных указателей |
6.12. Для обеспечения достаточно высокой пропускной способности дорог обязательной составной частью проекта должны быть проекты расстановки дорожных знаков и разметки проезжей части.
6.13. Своевременное проведение указанных мероприятий, очередность которых как во времени, так и вдоль дороги, должна устанавливаться на основе линейного графика пропускной способности и коэффициента загрузки, позволит повысить пропускную способность, обеспечить на дороге безопасность и удобство движения. При проектировании новых дорог и разработке проекта реконструкции существующих дорог необходимо технико-экономическое обоснование мероприятий в соответствии с указаниями приложении 2 и 3 настоящего Руководства.
Пропускную способность отдельных участков автомобильных дорог измеряют, чтобы определить возможность пропуска колонн автомобилей, получить дополнительные коэффициенты снижения пропускной способности, а также оценить эффективность мероприятий по повышению пропускной способности. При этом могут быть использованы два способа: на основе измерения скоростей движения и плотности потока; ежеминутный подсчет проходящих автомобилей в течение часа.
Первый способ можно применить для оценки пропускной способности полосы движения. При этом пропускная способность
, (1)
где а - эмпирический коэффициент [см. формулы (2.15)-(2.17)]; v0 - скорость движения в свободных условиях, км/ч; qmах - максимальная плотность потока, авт/км.
Скорость движения в этом случае измеряют с помощью секундомера по методике, изложенной в ВСН 25-76 Минавтодора РСФСР, или радиолокатора. Измеряют скорости только одиночных автомобилей при низкой интенсивности движения.
Максимальную плотность qmах определяют путем организации с помощью работников ГАИ кратковременного затора на рассматриваемом участке автомобильной магистрали.
При использовании второго способа осуществляют непосредственный подсчет автомобилей, проходящих через рассматриваемый элемент дороги. Этот способ удобен при оценке пропускной способности многополосных дорог, пересечений в разных уровнях.
В случаях сравнительно низкой интенсивности движения на рассматриваемом участке дороги устраивают кратковременный затор. Подсчет автомобилей ведут в момент рассасывания затора.
При создании искусственного затора следует учитывать, что образование очереди автомобилей длиной 350 м в одном направлении происходит за 25 мин при интенсивности 300 авт/ч, за 15 мин, если интенсивность 400 авт/ч, и за 10 мин, когда она равна 600 авт/ч.
1. От оптимальной загрузки зависят размеры расчетной интенсивности движения, обеспечивающей минимальные затраты на перевозку грузов и пассажиров по автомобильным дорогам с заданными техническими параметрами, а также оптимальную эмоциональную загрузку водителей.
2. Показатели оптимальной загрузки дорог движением необходимо учитывать при их проектировании и реконструкции, установлении границ использования средств организации движения и обоснования категории дорог исходя из того, что изменение строительных затрат обеспечивает дороге различные технические параметры. Работа дороги эффективна при оптимальной загрузке, следовательно, нужно назначать дороге такие технические параметры, которые обеспечивают уровень ее загрузки. Назначение числа полос движения на дорогах I категории нужно решать с учетом обеспечения оптимальной загрузки движением.
Размеры требуемых капиталовложений в строительство дороги зависят от степени ее совершенства (принятой категории) и рельефа, а эксплуатационные затраты, кроме того, определяются интенсивностью движения, поэтому показатель оптимальной загрузки будет иметь различные пределы для каждого из возможных сочетаний этих факторов.
3. С ростом интенсивности движения на дороге возрастает степень ее загрузки. Обеспечение в процессе эксплуатации оптимальной загрузки сопряжено со стадийным изменением технических характеристик дороги (ширины проезжей части, радиусов кривых, расстояния видимости и пр.) и ее оборудования или применением средств организации движения.
4. Оптимальную загрузку устанавливают на основе технико-экономических расчетов, рассматривая варианты, характеризуемые различной предельной интенсивностью движения, определяющей срок эксплуатации дороги при данном ее техническом состоянии.
5. Показатель экономической эффективности:
при
(2)
и
; (3)
; (4)
; (5)
, (6)
где
- средневзвешенное (за срок службы
наиболее долговечного варианта) приращение себестоимости перевозок для
сравниваемого варианта по отношению к себестоимости перевозок по базовому
варианту; с0 - показатель себестоимости единицы транспортной работы
для варианта, вычисленный как средневзвешенный за срок службы Тсло,
определяемый временем наступления продольного насыщения эталонного варианта
дороги автомобилями при заданной загрузке ее движением;
то же, по i-му
варианту, вычисленный как средневзвешенный за период Тслi, определяемый
наступлением заданной загрузки дороги движением; rtр -
коэффициент приведения разновременных затрат расчетного года tр,
определяемого с учетом значения Тcл.mаx
пo
варианту с наибольшей долговечностью; Енп - норматив
для приведения разновременных затрат (Енп=0,08); Dki -
приращение удельных приведенных капитальных затрат (капиталоемкости) по каждому
из i вариантов; k0прив -
соответственно, удельные капиталовложения по i-му и базовому вариантам; Тcл.mаx - срок службы для
наиболее долговечного варианта, лет; Тслi -срок службы для i-го варианта; ki - удельная
величина единовременных затрат по каждому из i вариантов; сi - себестоимость
перевозок по i-му
варианту; L.mаx - вариант с
наибольшей длиной; Li -
протяжение i-го
варианта сравниваемых проектных решений;
- доля
нетоварных перевозок и грузов, предназначенных для долгосрочного хранения в
общем объеме перевозок (
=0,4).
6. Оптимальную загрузку дороги следует обосновывать вариантными вычислениями. За базовый рекомендуется принимать вариант с коэффициентом загрузки 0,2-0,3. Сравниваемые варианты должны иметь диапазон изменения коэффициента загрузки до 0,9-1 с интервалом через 0,05-0,1 (рис. 1).

Рис. 1. Зависимость между интенсивностью движения I и коэффициентом загрузки II участка дороги:
А - изменение интенсивности в процессе эксплуатации; Б - изменение коэффициентов загрузки дороги; Тсл.э- срок службы эталонного варианта, лет; Тсл1, ; Тсл2, … Тсл6,- срок службы 1, 2 .... 6 вариантов, характеризуемых различным предельно допустимым в процессе эксплуатации коэффициентом загрузки дороги
7. Ввиду того, что каждый вариант характеризуется сроком службы Тсл1; Тсл2, Тсл3, Тслi (рис. 1), при расчетах показателя эффективности (см. п. 4.5) нужно пользоваться сопоставимыми сравнительными характеристиками. Для этого следует: показатели себестоимости перевозок по вариантам определять как средневзвешенное значение за срок службы наиболее долговечного варианта: при расчетах удельные капиталовложения приводят к варианту с наибольшим сроком службы.
8. Расчет показателей, входящих в формулы (1-6), рекомендуется выполнять в соответствии с рекомендациями «Руководства по технико-экономическому обоснованию и выбору вариантов трасс автомобильных дорог»1.
1 Руководство по технико-экономическому обоснованию и выбору вариантов трасс автомобильных дорог. Минавтодор РСФСР. М.. Транспорт. 1953.
9. При определении удельных капиталовложений допускается использовать номограммы (рис. 2-4), учитывая характер ежегодного прироста интенсивности движения на дороге.
10. Качественная сторона технико-экономических расчетов зависит от наличия достаточно подробных исходных стоимостных показателей. Для определения оптимальной загрузки элементов автомобильных дорог непригодна система средних показателей. Расчетные показатели должны учитывать конкретные дорожные условия. Влияние дорожных условий на режим движения автомобилей главным образом проявляется через изменение скоростей и количество дорожно-транспортных происшествий. Таким образом, влияние дорожных условий на автотранспортные расходы целесообразно учитывать через скорость движения. В наибольшей мере поставленным требованиям удовлетворяют показатели себестоимости, с помощью которых можно охватить все возможные случаи. При этом необходимо пользоваться показателями себестоимости автомобиле-километра (авт-км).
11. Расчетные показатели себестоимости по вариантам рекомендуется определять, используя расчетный год, т. е. год, для которого интенсивность движения (с учетом закона ее изменения и срока службы каждого варианта) имеет среднее значение за срок службы рассматриваемого варианта Тслi.
12. При известных скоростях транспортных потоков и составе движения показатели транспортной составляющей себестоимости допускается определять по данным рис. 5. Расчетные значения себестоимости Св (коп/авт-км) для транспортного потока рекомендуется определять суммированием по типам подвижного состава:
, (7)
где Сji - себестоимость перевозок (транспортная составляющая) для j-го типа Подвижного состава, коп/авт-км: пj - количество автомобилей j-го типа в транспортном потоке, доли единицы.

Рис. 2. Номограмма для определения удельных капиталовложений при ежегодном линейном приросте интенсивности движения (Кст - приведенная за Тсл(1) стоимость строительства одной полосы проезжей части, тыс. руб./км)

Рис. 3. Номограмма для определения удельных капиталовложении при ежегодном приросте интенсивности движения по геометрической прогрессии (сложным процентом с постоянными темпами роста)

Рис. 4. Номограмма для определения удельных капиталовложений Кi: при ежегодном приросте интенсивности движения по геометрической: прогрессии с убывающими темпами роста

Рис. 5. Номограмма для определения себестоимости 1 авт-км транспортной работы:
1 - тяжелые грузовые с прицепами и полуприцепами; 2 - средние грузовые с прицепами и полуприцепами; 3 - тяжелые грузовые; 4, 5 - средине грузовые; 6 - легковые грузовые; 7 - микроавтобусы, легковые автомобили; gr - коэффициент использования грузоподъемности; bп - коэффициент использования пробега
13. Определяя оптимальную загрузку дороги движением, технико-экономические расчеты рекомендуется вести в такой последовательности:
а) в соответствии с исходной и перспективной интенсивностью движения определить интенсивность движения на каждый год и построить график ее изменения по годам (см. рис. 1);
б) назначить варианты проектных решений с различными величинами предельной загрузки и на основании графика изменения интенсивности движения вычислить сроки функционирования каждого варианта до расчетного состояния;
в) для каждого варианта определить исходные показатели (расчетный год, капитальные затраты, скорость движения потока автомобилей в расчетном году, суммарную грузовую работу и пр.);
г) вычислить удельные капитальные затраты и себестоимость перевозки по вариантам;
д) рассчитать показатели эффективности по формуле (1). Определить эффективный вариант, характеризуемый значением Ексi=mах.
Если принятые для сравнения варианты не охватывают всего диапазона значений, нужно использовать графическую интерполяцию для определения оптимального варианта, характеризующего экономически целесообразную загрузку дороги движением при ее заданных параметрах.
В целях улучшения обслуживания населения и обеспечения транспортных связей крупных промышленных центров в Московской обл. запроектирована автомобильная дорога М - П. Большой перспективный объем грузо- и пассажироперевозок предопределил высокую интенсивность движения и значительные капиталовложения в строительство. В этих условиях возникает задача и выбраны конструктивные параметры дороги, обеспечивающие эффективную ее работу в течение 20-летней перспективы, в соответствии с которой п. 1.10 СНиП II-Д.5-72 требует назначать элементы плана продольного и поперечного профилей. Дорога проходит в равнинной местности и сложностей для выбора элементов плана и продольного профиля не возникает. Поэтому основные направления экономного расходования средств заключаются в выборе элементов поперечного профиля. Такие решения обосновывают с использованием понятия об оптимальной загрузке дороги движением.
Исходные данные для расчета оптимальной загрузки:
Протяжение автомобильной дороги................................................................. 28 км
Год завершения строительства ......................................................................... 1080 г.
Расчетный перспективный год.......................................................................... 2000 г.
Перспективная интенсивность движения на наиболее загруженном перегоне равна 65 -100 авт./сут, в том числе по типам подвижного состава:
авт./сут %
Автобусы............................................................................................. 2600 4,0
Легковые автомобили........................................................................ 31200 47,7
Легкие грузовые (до 2т)..................................................................... 9100 13,9
Средние грузовые (до 5 т) ................................................................. 9800 16,0
Тяжелые грузовые (до 8 т)................................................................. 8100 12,4
».............. » (более 8т) 4600 7,0
Перспективные показатели работы дороги:
Грузооборот, млн. т-км...................................................................................... 933,0
Пассажирооборот, млн. пасс.-км...................................................................... 726,0
Транспортная работа, млн. авт.-км................................................................... 575,7
Среднее значение интенсивности движения, авт./сут.................................... 56560
6. Среднее значение коэффициента ежегодного прироста интенсивности движения (при росте интенсивности по закону сложных процентов) равно 1,09.
Расчетная интенсивность движения в год ввода дороги в эксплуатацию (1981 г.):
На наиболее загруженном перегоне, авт./сут.................................................. 12800
Среднее значение по дороге, авт./сут............................................................... 11000
Эксплуатационные показатели подвижного состава (табл. 1). Основные технические решения. По расчетной интенсивности в соответствии с СНиП II-Д5-72 автомобильная дорога должна быть отнесена к I категории с восемью полосами движения. Она проектируется для скоростного движения, поэтому ширину разделительной полосы необходимо принять равной 6 м.
Ширина обочин - 3,75 м с краевыми полосами по 0,75 м. Тип дорожного покрытия - усовершенствованное капитальное. По обеим сторонам дороги в пределах обочин предусмотрены остановочные полосы шириной по 2,25 м с черным покрытием. Бровка земляного полотна укрепляется грунтощебнем толщиной 24 см. Со стороны разделительной полосы запроектированы укрепительные полосы шириной 1 м. Одежда краевых полос принята по типу основной дороги. Для удобства и безопасности движения предусмотрены освещение дороги ночью и технологическая связь.
Дорога проходит по густонаселенным районам, поэтому пересечения с железными и автомобильными дорогами в соответствии с требованиями СНиПа запроектированы в разных уровнях. Габариты мостов и путепроводов приняты по СНиП II-Д.5-72.
Сметная стоимость строительства дороги в существующих ценах определена в размере 82,6 млн. руб. при стоимости 1 км 2,95 млн. руб.
Предлагаемые решения по снижению стоимости строительства. В данном случае снижение стоимости строительства возможно за счет уменьшения числа полос проезжей части и ширины земляного полотна. Это позволит сократить затраты на искусственные сооружения благодаря уменьшению длины труб, ширины мостов и путепроводов. Технически приемлемые в данных условиях решения и сметная стоимость строительства дороги приведены в табл. 2.
Такие варианты дороги с шириной проезжей части 43,5 м, 6 и 4 полосами движения, а также шириной 36 м и 4 полосами предусматривают возможность дальнейшего увеличения ширины проезжей части за пределами 20-летней перспективы.
Определение показателей для технико-экономических расчетов.
1. Пропускная способность для каждого из предусмотренных в в табл. 2 технических решений определена в соответствии с разделом 2 Руководства. Результаты расчета представлены в табл. 3.
Таблица 1
|
Показатель |
Тип автомобиля |
||
|
Грузовой |
Легковой |
Автобус |
|
|
Коэффициент использования пробега |
0,65 |
0,85 |
0,95 |
|
Коэффициент использования грузоподъемности (вместимости) |
0,93 |
0,50 |
0,60 |
|
Средняя грузоподъемность |
5,0 |
- |
- |
|
» пассажировместимость |
- |
4 |
28 |
|
Ширина земляного полотна, м |
Сметная стоимость строительства 1 км пороги, тыс. руб., при числе полос движения |
||
|
8 |
6 |
4 |
|
|
43,5 |
2950 |
2741,2 |
2539,2 |
|
36,0 |
- |
2510,3 |
2321,4 |
|
28,5 |
- |
- |
2117,6 |
|
Ширина земляного полотна |
№ варианта |
Число полос движения |
Максимальная пропускная способность, легковых авт/ч |
b3 |
b13 |
b14 |
Практическая пропускная способность, легковых авт/ч |
Коэффициент загрузки движением |
||
|
на 1980 г, |
Средний для дороги в расчете на 1999г. |
|||||||||
|
на наиболее загруженном перегоне |
средний для дороги |
|||||||||
|
43,5 |
1 |
8 |
14400 |
0,85 |
1,23 |
1,1 |
16580 |
0,50 |
0,44 |
0,24 |
|
|
2 |
6 |
10800 |
0,85 |
1,23 |
1,1 |
12435 |
0,67 |
0,59 |
0,32 |
|
|
3 |
4 |
7200 |
0,85 |
1,23 |
1,1 |
8290 |
1,01 |
0,88 |
0,48 |
|
|
4 |
6 |
10800 |
0,85 |
1,23 |
1,1 |
12435 |
0,67 |
0,59 |
0,32 |
|
36,0 |
5 |
4 |
7200 |
0,85 |
1,23 |
1,1 |
8290 |
1,01 |
0,88 |
0,48 |
|
28,5 |
6 |
4 |
7200 |
0,85 |
1,23 |
1,1 |
8290 |
1,01 |
0,88 |
0,45 |
На пропускную способность влияют (наряду с числом полос движения) такие факторы, как состав движения (коэффициент b3), разметка проезжей части и оборудование дороги указателями полос движения (коэффициенты b13 и b14), предусмотренные в проекте дороги.
2. При расчете приведенной интенсивности движения и уровней загрузки для вариантов приведенную интенсивность движения определяют, используя данные о составе движения и коэффициенты приведения (см. п. 4).
Приведенная интенсивность движения в первый год эксплуатации дороги:
для наиболее загруженного перегона N1 = 0,76×12800 (0,04×3,5 + 0,477×1 + 0,139×1,5 + 0,15×2 + 0,124×2,5 + 0,07×3,5) = 1635 легковых авт/ч;
среднее значение для дороги N1=0,76×11000×1,681=1405 легковых авт/ч. Приведенная интенсивность движения перспективного 2000 г.:
для наиболее загруженного перегона N20 = 0,076×65400×1,681=8355 легковых авт/ч.
среднее значение для дороги N20=0,076×57200×1,681=7307 легковых авт/ч.
Коэффициенты загрузки дороги движением в перспективном 2000 г., вычисленные по формуле (1.8), для каждого варианта приведены в табл. 3. Для наиболее загруженного перегона они меняются от 0,5 до 1,01. В среднем для дороги изменения составляют 0,44-0,88.
Относительно высокие величины коэффициентов загрузки для вариантов, имеющих по четыре полосы движения, указывают на необходимость перестройки дороги в шестиполосную к 2000 г.
3. Технический срок службы сравниваемых вариантов, учитывая специфику поставленной задачи, принимаем для всех случаев 20 лет.
4. Расчетный год для определения технических и экономических показателей сравниваемых вариантов определяем по формуле, учитывающей характер ежегодного прироста интенсивности. Вычисленные за этот год показатели являются средневзвешенными за 20 лет. Для всех рассматриваемых вариантов расчетный год одинаков:
лет
Таким образом, для рассматриваемых вариантов расчетным является 1993 г.
5. Показатели, характеризующие среднее значение загрузки дороги в пределах 20-летней перспективы:
средневзвешенная за 20 лет интенсивность движения на дороге N13 = 11000×1,0913-1=30939 авт./сут;
приведенная интенсивность движения на дороге расчетного 1993 г. П13 = 0,076×30939×1,681=3953 легковых авт/ч;
коэффициенты загрузки дороги в расчетном 1993 г. (см. табл. 3) изменяются в диапазоне 0,24-0,48 и характеризуют среднюю загрузку проектируемой дороги в течение рассматриваемой перспективы 20 лет.
6. Расчеты удельных капиталовложений, скоростей транспортных потоков, числа дорожно-транспортных происшествий и составляющих себестоимости перевозки, выполненные с учетом рекомендации «Руководства по технико-экономическому обоснованию и выбору вариантов трасс автомобильных дорог» и соответствующих разделов данного Руководства, приведены в табл. 4.
7. Составляющая себестоимости от дорожио-транспортных происшествий
коп/авт-км.
коп/авт-км.
Число дорожно-транспортных происшествий на многополосных дорогах
, аварий/млн,
авт-км.
Интенсивность движения расчетного года Nрi, приходящаяся на две полосы движения для каждого рассматриваемого варианта, приведена в табл. 4.
С учетом представленных сведений число дорожно-транспортных происшествий на автомобильной дороге будет следующим:
при вариантах с четырьмя полосами движения-1,045 аварий/млн. авт-км;
при вариантах с шестью полосами движения - 0,0997 аварий/млн. авт-км;
при варианте с восемью полосами движения-0,973 аварий/млн, авт-км.
|
Вариант |
Счетная стоимость строительства, тыс. руб. |
Интенсивность движения, авт./су т |
Удельные капиталовложения на 1 авт-км, коп. |
Расчетная стоимость транспортного потока, км/ч |
Число ДТП, аварий/млн. авт-км |
Себестоимость перевозки 1 авт-км, коп. |
Показатель экономической эффективности |
|||||
|
1 км дороги |
одной полосы проезжей части |
в 1991 г. на одну полосу |
в 1993 г. на две полосы |
Дорожная составляющая |
Составляющая от ДТП |
Транспортная составляющая |
Суммарная |
|||||
|
1 |
2950,0 |
368,8 |
1375 |
7735 |
1,791 |
43,0 |
0,973 |
0,146 |
1,078 |
11,06 |
12,284 |
0,688 |
|
2 |
2741,2 |
456,9 |
1833 |
10313 |
1,717 |
38,84 |
0,997 |
0,124 |
1,340 |
11,72 |
13,184 |
0,798 |
|
3 |
2539,2 |
634,8 |
2750 |
15469 |
1,769 |
29,36 |
1,045 |
0,101 |
1,994 |
14,34 |
16,340 |
0,037 |
|
4 |
2510,3 |
418,4 |
1833 |
10313 |
1,614 |
38,84 |
0,997 |
0,124 |
1,340 |
11,72 |
13,184 |
2,26 |
|
5 |
2321,4 |
580,4 |
2750 |
15469 |
1,666 |
29,36 |
1,045 |
0,101 |
1,934 |
14,31 |
16,345 |
0,074 |
|
0 |
2117,6 |
529,4 |
2750 |
15469 |
1,558 |
29,36 |
1,045 |
0,101 |
2,142 |
14,31 |
16,559 |
- |
Влияние элементов автомобильных дорог на потери от дорожно-транспортных происшествий учитывают при помощи коэффициента
МДi=K1 K2 … K7
где K1, K2, K4 и K5 - учитывают соответственно влияние ширины проезжей части продольного уклона, видимости в плане и радиуса кривых в плане (для данного примера принимаются равными 1);
коэффициент K2 учитывает влияние ширины обочин на, вероятное число дорожно-транспортных происшествий (при ширине обочины Воб=3,75 м K2=3,831-1,527Воб+0,193В2об=0,82);
коэффициент K6
учитывает влияние скорости транспортного потока и определяется по следующей
формуле и при скоростях, приведенных в табл. 4, для каждого варианта (
).
Значения K6 для вариантов с четырьмя, шестью и восемью полосами движения соответственно равны 4,47; 6,60 и 7,60.
Коэффициент K7 учитывает влияние числа полос движения. Для варианта с четырьмя полосами K7=0,85, с шестью - 0,42, восемью - 0,30. Тогда:
при четырех полосах движения Мдi= 1×0,82×1×1×1×4,47×0,85=3,12;
при шести полосах движения Мдi =1×0,82×1×1×1×6,6×0,42=2,27;
при восьми полосах движения Мдi =1×0,82×1×1×1×7,6×0,3=1,87.
При средних потерях от одного дорожно-транспортного происшествия на расчетный год Пр=6590 руб. и показателе, учитывающем изменение тяжести дорожно-транспортных происшествий в различных дорожных условиях Мтк=1 и 0,9 составляющая себестоимости от дорожно-транспортных происшествий по вариантам:
при четырех полосах движения (вариант № 6): Спi= 1,045- 6590 1,0 3,12- 10-= =2,148;
при четырех полосах движения Спi= 1,045×6590×0,9×3,12×10-4= 1,935;
при шести полосах движения Спi= 0,997×6590×0,9×2,27×10-4=1,340;
при восьми полосах движения Спi= 0,973×6590×0,9×1,87×10-4=1,078.
8. Составляющая себестоимости, учитывающая расходы автомобильного транспорта на перевозку грузов и пассажиров, может быть найдена по графику (см. рис. 5 приложения 2). Среднее значение транспортной составляющей себестоимости для транспортного потока, коп/авт-км
,
где Саi - значения показателей, определяемых по графику в зависимости от скорости движения транспортных потоков по вариантам для каждого типа автомобилей в транспортном потоке; nj - число автомобилей каждого типа в транспортном потоке, доли единицы.
Расчеты для каждого варианта: при шести полосах движения Са = 22,5×0,04 + 7,5×0,477 + 10,5×0,139 + 12,0×0,15 + 18×0,124 + 25×0,07 = 11,72 коп/авт-км;
при восьми полосах движения Са = 22×0,04 + 7×0,477 + 10×0,139 + 11,5×0,15 + 17×0,124 + 23×0,07 = 11,06 коп/авт-км;
при четырех полосах движения Са = 25×0,04 + 10×0,477 + 12×0,139 + 16×0,15 + 20,5×0,124 + 27,5×0,07 = 14,31 коп/авт-км.
9. Оптимальный вариант, обеспечивающий оптимальную загрузку дороги движением, рекомендуется определять расчетом. В качестве базового принимаем вариант 6, имеющий наихудшие транспортно-эксплуатационные показатели. Тогда показатели экономической эффективности по вариантам:
1)![]()
2) ![]()
3)
;
4)
5)![]()
Таким образом, в данных условиях эффективным вариантом является строительство автомобильной дороги с 6 полосами движения и шириной земляного полотна 36 м. Коэффициент загрузки дороги движением, который для данного решения следует охарактеризовать как оптимальный, в перспективном 1999 г. составит 0,59, а на наиболее загруженном участке - 0,67.
Пример 1. Исходные данные: прямолинейный горизонтальный участок двухполосной дороги; состав движения; легковые автомобили - 20%; грузовые - 65%; автопоезда - 15%. Проезжая часть покрыта плотным слоем снежного наката (коэффициент сцепления равен 0,3); слабый туман (видимость встречного автомобиля 350 м); загрузка дороги движением равномерная в обоих направлениях.
Пропускную способность полосы движения определяют по формуле 2.2.
Kрc определяют по рис. 2.4,б для коэффициента сцепления 0,3 и видимости встречного автомобиля 350 м: Kрc =0,6.
Максимальную скорость в эталонных условиях vэ мах принимают равной 120 км/ч (в соответствии с п. 2.24).
Максимальную скорость в фактических условиях вычисляют по формуле (2.13) vф мах=Kр.cvэ мах=0,6×120=72 км/ч.
Среднее квадратичное отклонение определяют по рис. 2.2,а для vф мах= 72 км/ч: sv=8,5 км/ч.
Среднюю скорость движения определяют по формуле (2.12) v0= vф мах -3sv =72-3×8,5=46,5 км/ч.
Коэффициент w=0,7 в соответствии с п. 2.25.
Коэффициент a вычисляют по формуле (2.15): a=0,65-0,00425 vф мах= 0,65-0,0045×72=0,326.
Максимальная плотность для заданного состава движения qmах=85.
Подставляя полученные значения в формулу (2.2) пропускной способности, получим: Р=0,7×0,326 ×46,5 ×85=902 авт/ч.
Пример 2. Исходные данные: прямолинейный участок двухполосной дороги со спуском в 40‰. Состав движения: легковые автомобили - 20%; грузовые - 65%, автопоезда - 15%. Проезжая часть мокрая (j=0,45), состояние погоды - ясно; загрузка дороги движением равномерная в обоих направлениях.
Пропускную способность полосы движения рассчитывают по формуле (2.2).
Крс определяют по рис. 2.4,б для коэффициента сцепления 0,45 и продольного уклона 40‰: Kрc =0,8.
Максимальную скорость в эталонных условиях v0 max принимают равной 120 км/ч (в соответствии с п. 2.24).
Максимальную скорость в фактических условиях вычисляют по формуле (2.13): vф мах=0,8×120=96 км/ч.
Среднее квадратичное отклонение скорости определяют по рис. 2.2,а для vф мах =108 км/ч; sv=12 км/ч.
Среднюю скорость движения определяют по формуле (2.12) v0=96-3×12=60 км/ч.
Коэффициент w=0,8 в соответствии с п. 2.25.
Коэффициент a определяют по формуле (2.16): a=0,65-0,00425×96=0,242.
Максимальная плотность для заданного состава движения qmах=85.
Подставляя полученные значения в формулу (2.2), получаем: Р =0,8× 0,242×60×85=987 авт/ч.
Пример 3. Исходные данные: прямолинейный участок автомобильной магистрали с подъемом 20‰; состав движения: легковые автомобили - 20%; грузовые - 65%; автопоезда - 15%. Проезжая часть покрыта слоем рыхлого снега (j=0,2), состояние погоды - сильный снегопад; загрузка дороги движением равномерная в обоих направлениях.
Пропускную способность полосы движения рассчитывают по формуле (2.2).
Kрс определяют по рис. 2.6,б (для f=0,10 и h=40 мм при продольном уклоне 20‰); Kрс=0,40.
Максимальную скорость в эталонных условиях принимают равной 120 км/ч (в соответствии с п. 2.24).
Максимальную скорость в фактических условиях вычисляют по формуле (2.13) vф mах=0,40×120=48 км/ч.
Среднее квадратичное отклонение определяют по рис. 2.2, б для vф mах =48 км/ч; sv==1,8 км/ч.
Среднюю скорость движения определяют по формуле (2.12) v0=48-3×1,8= =42,6 км/ч.
Коэффициент w=0,8 в соответствии с п. 2.25.
Коэффициент a вычисляют по формуле (2.16): a=0,68-0,005×48=0,44.
Максимальная плотность qmах=85 авт-км.
Подставляя полученные значения в формулу (2.2). Получаем Р=0,8×0,44×42,6.85=1274 авт/ч.
Пример 4. Исходные данные: горизонтальный участок двухполосной дороги на кривой в плане R=400 м; состав движения: легковые автомобили - 20%; грузовые - 65%; автопоезда - 15%. Проезжая часть покрыта слоем снежного наката (j=0,2); загрузка дороги движением равномерная в обоих направлениях; состояние погоды - ясно, скорость ветра 5 м/с.
Пропускную способность полосы движения рассчитывают по формуле (2.2).
Крс определяют по рис. 2.7,в; для снежного наката на покрытии с коэффициентом сцепления 0,2 и скоростью ветра 5 м/с при R=400 м Крс=0,8.
Максимальную скорость в эталонных условиях vэ mах принимают равной 120 км/ч (в соответствии с п. 2.24).
Максимальную скорость в фактических условиях определяют по формуле (2.13): vф mах =0,8×120=96 км/ч.
Среднее квадратичное отклонение определяют по рис. 2.2,а для vф mах =96 км/ч: sv= 12 км/ч.
Среднюю скорость движения определяют по формуле (2.12): v0=96-3×12= =60 км/ч.
Коэффициент a принимают в соответствии с п. 2.25: w=0,8.
Коэффициент a определяют по формуле (2.15): a=0,65-0,425×96=0,242.
Максимальная плотность для заданного состава движения qmах=85 авт-км. Подставляя полученные значения в формулу (2.2), получаем Р=0,8×0,242×60×85=987 авт/ч.
Пример 5. Исходные данные: прямолинейный участок двухполосной дороги; состав движения: легковые автомобили - 20%; грузовые - 65%; автопоезда - 15%; ширина проезжей части 7,5 м (по 0,25 м от кромки - обледенелые прикромочные полосы); состояние погоды - ясно; загрузка дороги движением равномерная в обоих направлениях.
Пропускную способность полосы движения рассчитывают по формуле (2.2).
Kрс определяют по рис. 2.6,а для чистой проезжей части шириной 7 м и при обледенении прикромочной полосы по 0,25 м от кромки для схемы ЗИЛ-130+ВАЗ-2103: Kрс=0,7.
Максимальную скорость в эталонных условиях vэ mах принимают равной 120 км/ч.
Максимальную скорость в фактических условиях вычисляют по формуле (2.13) vф mах =0,7×120=84 км/ч.
Среднее квадратичное отклонение определяют по рис. 2.2,а для vф mах =84 км/ч: sv=10 км/ч.
Среднюю скорость движения определяют по формуле (2.12) v0=84-3×10=54 км/ч.
Коэффициент w= 0,7 в соответствии с п. 2.25.
Коэффициент a вычисляют по формуле (2.15): a=0,65-0,00425×84=0,293.
Максимальная плотность qmах=85 авт/ч.
Подставляя полученные значения в формулу (2.2), получаем: Р=0,7×0,293×54×85=941 авт/ч.
С целью оценки изменения пропускной способности и коэффициента загрузки после реконструкции двухполосной дороги в трехполосную возьмем план участка, рассмотренного в предыдущем примере при тех же интенсивностях и составе движения (см. рис. 2.11).
При реконструкции проезжая часть и обочины уширены соответственно до 11,25 и 3,5 м за счет подсыпки земляного полотна; проведено частичное исправление трассы увеличением радиусов трех кривых в плане до 450, 350 и 500 м. На этих участках старая проезжая часть отведена под стоянки транспортных средств. Смягчен продольный уклон до 40‰ на участке подъема, длина подъема и спуска уменьшена до 300 м. На протяжении всего участка срезан кустарник, вырублены деревья, удалены заборы, в результате чего обеспечено расстояние видимости не менее 350 м. Ширина проезжей части моста после реконструкции превышает ширину проезжей части дороги на 5 м с каждой стороны. Пешеходные дорожки в населенном пункте и на мосту отделены от проезжей части с помощью ограждений. Все пересечения оборудованы островками и переходно-скоростными полосами клиновидной формы. На протяжении участка нанесена трехполосная разметка проезжей части и установлены дорожные знаки, указатели числа полос и направлений. Минимальная скорость движения на участке после реконструкции составляет 60 км/ч.
На основании этих данных и методики, изложенной в приложении 1, построены линейные графики изменения пропускной способности и коэффициента загрузки на участке трехполосной дороги (см. рис. 2.11).
При этом максимальная пропускная способность в соответствии с п. 2.11 принята равной 4000 авт/ч.
Пример 1. Исходные данные для расчета пропускной способности пересечения в одном уровне: пересечение необорудованное, суммарная интенсивность движения по главной дороге Nгл=240 авт/ч, радиусы съездов равны 10 м, продольный уклон главной дороги 25‰, длина подъема 200 м. Доля медленно движущихся автомобилей составляет 15%. Распределение интенсивности по направлениям: nл=15%; nпр=35%.
1. Параметры функции распределения автомобилей в транспортном потоке по главной дороге определяют по формуле 3.3.
По табл. 3.2 xм=0,55, так как расстояние от подъема равно 0; по табл. 3.3: x=0,01 при длине подъема 200 м и уклоне 25‰. A=0,55 e-0,01; A=0,55×1,01005==0,56.
Параметр В определяют по рис. 3.4; В=0,27 A+В+С=1, С==1-0,56-0,27=0,17.
Коэффициент b1 определяют по рис. 3.5 с учетом А: b1=0,68.
Параметр tгр определяют по рис. 3.6. При заданной интенсивности движения Dtгр=13,8с.
Пропускная способность пересечения в приведенных единицах

Предельная интенсивность движения по второстепенной дороге (см. формулу (3.3)
![]()
Следовательно, при заданной интенсивности движения по главной дороге наибольшая суммарная интенсивность движения по второстепенной дороге составляет 830 авт/ч.
Пример 2. Исходные данные для расчета пропускной способности канализированного пересечения в одном уровне: Nгл=540 авт/ч, продольный уклон главной дороги 5‰, расстояние до подъема протяжением 200 м и уклоном 40‰ составляет 750 м, доля медленно движущихся автомобилей в потоке 20%; nл=0,4; nпр=15; Nгл=180 авт/ч. A=xме-xп; xм=0,57; xп=0,05; А=0,55; В=0,24; С =0,21 b1=0,67 Dtр=11,6 с;

![]()
Следовательно, при заданных условиях движения и планировке пересечения на главную дорогу со второстепенной может выйти 330 авт/ч.
Пример 1. Оценить пропускную способность кольцевого пересечения, по которому получены данные по интенсивности движения и распределению потоков по направлениям (картограмму интенсивностей движения см. на рис. 3.9). Состав движения: легковые автомобили - 22%; грузовые малой грузоподъемности - 18%; средней грузоподъемности - 30%; большой грузоподъемности - 16%; автобусы - 6%, автопоезда - 8%. Диаметр центрального островка Dц.о=46 м. Пересекающиеся дороги - двухполосные II категории. Все въезды на кольцевом пересечении однополосные (n1= n2=1).
Для всех въездов определяют коэффициенты состава движения kс по формуле (3.7): kс=1×0,22+1,4×0,18+1,7×0,3+2,3×0,16+2,9×0,06+3,5×0,08=1,8.
Для всех въездов n1= n2=1; по табл. 3.6 находим: А=1500; Б=0,67. При Dц.о=46 м; С=1.
Пропускная способность въезда на кольцевое пересечение
![]()
Расчет ведется в табличной форме (табл. 1).
Сравнение коэффициентов загрузки движением на въездах с zопт=0,65 показывает (см. табл. 1), что на въездах 1 и 3 загрузка движением превышает экономически эффективный уровень, а на въезде 1 близка к режиму практической пропускной способности.
Для повышения пропускной способности данного кольцевого пересечения въезды 1 и 2 необходимо уширить до двухполосного.
При уширении наиболее загруженного въезда 1 до двухполосного будем иметь n1=1; n2=2; С=1; А= 1800; Б= 0,45. Отсюда:
![]()
![]()
Выводы. 1. Данное кольцевое пересечение работает в режиме, близком к практической пропускной способности, что приводит к большим потерям времени автотранспортом.
Для улучшения условий движения необходимо уширить въезды 1 и 3 до двух полос (см. табл. 6.1).
|
№ въезда |
кс |
С |
А |
Б |
Nк.прив легковых авт/ч |
Рв, авт/ч |
Nв, авт/ч |
z |
|
1 |
1,80 |
1,00 |
1500 |
0,67 |
706 |
570 |
456 |
0,80 |
|
2 |
1,80 |
1,00 |
1500 |
0,67 |
738 |
559 |
352 |
0,63 |
|
3 |
1,80 |
1,00 |
1500 |
0,67 |
661 |
587 |
396 |
0,67 |
|
4 |
1,80 |
1,00 |
1500 |
0,67 |
698 |
574 |
358 |
0,62 |
Примечание. Значения Nк.прив получены по картограмме интенсивностей движения (см. рис. 3.9) с учетом коэффициентов kc. Для каждого въезда определяют коэффициент загрузки движения (см. табл. 1).
|
№ въезда |
KС |
С |
n1 |
n2 |
A |
Б |
Nк.прив легковых авт/ч |
Рв, авт/ч |
Nв, авт/ч |
z |
|
1 |
1,8 |
0,95 |
1 |
2 |
1800 |
0,45 |
441 |
845 |
320 |
0,38 |
|
2 |
1,8 |
0,95 |
1 |
1 |
1500 |
0,67 |
540 |
601 |
180 |
0,30 |
|
3 |
1,8 |
0,95 |
1 |
2 |
1800 |
0,45 |
577 |
858 |
260 |
0,30 |
|
4 |
1,8 |
0,95 |
1 |
1 |
1500 |
0,67 |
432 |
639 |
240 |
0,38 |
2. При дальнейшем росте интенсивности движения для обеспечения высокой пропускной способности и эффективной работы кольцевого пересечения необходимо уширение до двух полос движения и въездов 2 и 4 (см. табл. 6.1).
Пример 2. Определить пропускную способность проектируемого кольцевого пересечения. Пересекающиеся дороги II и III категорий. Диаметр центрального островка Dц.о=25 м. Перспективная интенсивность движения на въездах: Ni=320, N2= 180; N3=260; N4=240 авт/ч. На всех въездах распределение потоков по направлениям «право», «прямо» и «лево» соответственно 0,25; 0,5; 0,25. Коэффициент состава движения kс=1,8. Число, полос движения на всех подходах n=1, на въездах 1 и 3 (дорога II категории) n=2, на въездах 2 и 4 (дорога III категории) n2=1.
Выполним расчет Nк перед каждым въездом:
Nкi =(0,5+0,25) +0,25 N3=240×0,75+260×0,25=245 авт/ч;
Nк1прив=245×1,80=441 легковых авт/ч;
Nк2=N1(0,5+0,25) +0,25 N4 = 320×0,75+240×0,25=300 авт/ч;
Nк2прив=300×16,0=540 легковых авт/ч;
Nк3 = N2 (0,5+0,25)+0,25 N1 = 180×0,75+320×0,25=215 авт/ч;
Nк3прив =215×1,80=387 легковых авт/ч;
N4 = N3(0,5+0,25)+0,25 N2=260×0,75×0,25=240 авт/ч;
Nк4прив =240×1,8=432 легковых авт/ч.
Строим картограмму интенсивностей движения (аналогично примеру 1).
Для въездов 1 и 3 n1=1; n2=2; для въездов 2 и 4 n1= n2=1.
Значения A и Б принимаем по табл. 3.5.
Для въездов 1 и 3 A=1800, Б=0,45. Для въездов 2 и 4 (при n1= n2=1) А=1500; Б=0,67.
При Dц.о=25 м по табл. 5.5 с учетом интерполяции С=0,95.
Пропускная способность въездов
.
Расчет ведется в табличной форме (табл. 2).
Затем для каждого въезда
определяем коэффициент загрузки движением (табл. 2)
.
На всех въездах z<0,65.
Коэффициент запаса пропускной способности каждого въезда до достижения оптимальной загрузки движением zопт=0,65 получим по формуле (3.12):
![]()
![]()
![]()
![]()
Следовательно, хmin=1,51.
Коэффициент запаса пропускной способности до достижения режима практической пропускной способности въезда при zпр=0,85 составляет хmin =1,82.
Пропускная способность всего кольцевого пересечения определяется по формуле (3.13) и для рассматриваемого подъемного пересечения составит: при z=0,65; Pкп=1,51(320-180+260+240)=1510 авт/ч; при z=0,85; Ркп= 1,82(320+180+260+240) =1820 авт/ч.
Пример 1. Определить пропускную способность участка разворота с остановкой автомобилей на многополосной дороге при следующих условиях. Интенсивность движения по главной дороге в одном направлении Nгл=1000 легковых авт/ч. Интенсивность движения по второстепенной дороге в часы пик 200 легк. авт/ч. Суммарная интенсивность движения левоповоротных и правоповоротных потоков 120 легковых авт/ч, через участок разворота проходит 60 легковых авт/ч. Минимальные интервалы времени между автомобилями, выполняющими маневр разворота с остановкой, dt=2,2 с. Граничный интервал времени при 85% обеспеченности Dtгр=8,2 с (табл. 3.8).
Используя формулу (3.14), определяем пропускную способность участка разворота:
легковых
авт/ч.
Таким образом, участок, на котором автомобили выполняют маневр разворота с остановкой, может пропустить 249 легковых автомобилей за 1 ч.
Пример 2. Определить пропускную способность участка переплетения. Интенсивность движения по главной дороге 1400 авт/ч в одном направлении. Минимальные интервалы времени между автомобилями, выполняющими маневр переплетения, dt=3,3 с.
Граничный интервал времени 85% обеспеченности Dtгр=3,9 с (длина участка от места примыкания дороги до участка разворота 400 м). Интенсивность движения по крайней левой полосе
легковых авт/ч.
Пропускная способность участка переплетения определяется по формуле (3.14)
легковых авт/ч.
Пример 1. Автомобильная дорога II категории пересекает однопутную железную дорогу. Ширина проезжей части 7,5 м. Автомобильная дорога на подходах к переезду имеет прямые горизонтальные участки. Железнодорожный переезд большую часть времени открыт. Интенсивность движения по железной дороге не превышает 1-2 поезда/ч.
Расчет пропускной способности переезда осуществляют в такой последовательности.
1. Определяют свободную скорость автомобилей через переезд: v0=45 км/ч.
2. Устанавливают, что легковых автомобилей в потоке 50% и через переезд проходит 1 поезд в 1 ч.
3. По результатам обследования определяют, что плотность движения автомобилей - равна 20 авт-км.
Из табл. 3.7 берут значения q0 и qmах, которые соответственно равны 15 и 80 авт-км.
4. По результатам измерений ровности определяем, что она является хорошей.
5. Из табл. 3.9-3.3
находят коэффициенты снижения пропускной способности:
= 0,93;
= 0,98;
= 0,96;
=1;
= 1.
Пропускную способность железнодорожного переезда для первого случая определяют по формуле (3.17):
авт/ч.
Если нельзя получить данные экспериментальным путем, пропускную способность железнодорожного переезда определяют по формуле (3.19), используя данные табл. 3.9-5.3. Для данного примера пропускная способность Рж.п переезда равна 1300 авт/ч.
Коэффициенты снижения пропускной
способности
;
;
;
;
приведены в п. 3.32.
Подставляя все значения, получим Рж.п= 1300(0,93×0,98×0,96×1×1)= 1144 авт/ч.
Пример 2. Автомобильная дорога III категории с проезжей частью шириной 7,5 м пересекает двухпутный железнодорожный переезд.
Обследованиями установлено:
1) интенсивность движения по железной дороге 8 поездов/ч, легковых автомобилей в потоке 30%;
пропускная способность полосы движения автомобилей дороги вне зоны переезда равна 1300 авт/ч;
2) ровность дорожного покрытия удовлетворительная;
3) участок дороги в зоне переезда имеет кривую в плане радиусом 200 м, расположенную в 100 м от переезда;
4) угол пересечения
автомобильной дороги с железной равняется 60°. Из табл. 3.10-3.13
коэффициенты снижения пропускной способности
= 0,87;
= 0,62;
= 0,99;
= 0,97.
Пропускная способность железнодорожного переезда по формуле (3.19) Рж.п =1300 (0,87×0,62.×0,99×0,97) =673 авт/ч.
Пример 1. Определить пропускную способность правоповоротного съезда пересечения по типу полного клеверного листа, имеющего полосу ускорения. Радиус съезда 125 м, продольный уклон на подъеме съезда 30‰, длина подъема 200 м, расстояние видимости 200 м; легковых автомобилей - 20%, тяжелых (автопоездов) в потоке на съезде - 10%. Дорожные условия на главной дороге: интенсивность движения по основной полосе - 600 авт/ч, тяжелых автомобилей - 12%, расстояние от предыдущего съезда, на котором нет переходно-скоростной полосы - 600 м.
Для этих условий коэффициент А равен 0,82 (табл. 4.3); по графику (рис. 4.3) коэффициент В=0,18; D= 12(A+B) =0, по графику (рис. 4.4) коэффициент b=0,91; Dtгр=3 с, dt =3,6 с.
Параметр распределения
![]()
Максимальная интенсивность движения на съезде, из условия вливания в основной поток

По формуле (2.1) с учетом положения п. 2.4 устанавливают пропускную способность съезда: Рс=Рmaxy4y5y6=1800×0,93×0,90×0,9= 1355 авт/ч.
Пропускная способность съезда определяется условиями вливания в основной поток Рс>Nс и составляет 795 авт/ч.
Пример 2. Определить пропускную способность левоповоротного съезда №1 пересечения по типу полного клеверного листа, не имеющего переходно-скоростных полос. Схема распределения интенсивности движения по основным полосам и смежному левоповоротному съезду № 2 представлена на рис. 1.
Радиус въезда № 1 равен 75 м, продольный уклон на подъеме этого съезда 20‰, длина подъема 200 м и в потоке на съезде легковых автомобилей - 20%; тяжелых - 10%; расстояние видимости - 175 м. В основном потоке 18% тяжелых автомобилей.
Из табл. 4.3 коэффициент А для приведенных условий равен 0,51, Dtгр, согласно графику на рис. 4.1 (кривая 1), равен 6,4 с; dt =3,6 с.
В соответствии с графиками (рис. 4.3 и 4.4) коэффициенты В=0,33; b1=0,71; D=1-(A+В)=0,16.
Параметр распределения ![]()
Максимальная интенсивность движения на съезде из условия вливания в основной поток:

По формуле (2.1) с учетом положений п. 2.4 устанавливают пропускную способность съезда: Рc=Рmaxy4y5y6=1800×0,94×0,9×0,85=1260 авт/ч.
Пропускная способность съезда определяется условиями вливания в основной поток (Рc>Nс) и составляет 515 авт/ч.

Рис. 1. Схема распределения потоков на пересечении в разных уровнях

Рис. 2. Схема распределения потоков автомобилей при наличии левоповоротного съезда
Пример 3. Определить пропускную способность съезда и участка въезда на автомобильную магистраль. Запроектированный левоповоротный съезд пересечения типа клеверный лист имеет следующие геометрические параметры: R=30 м; a =275°.
Переходно-скоростных полос перед
съездом и за ним не предусмотрено. Основные дороги запроектированы
четырехполоснымн. Легковых автомобилей в составе движения 30%. Интенсивность
движения на внешних полосах пересекающихся дорог (рис. 2): Nвт=550 авт/ч;
=400 авт/ч; Nс =250 авт/ч.
По внутренней полосе на участке
въезда на автомобильную магистраль
= 350 авт/ч.
Условная плавность закругления определяется по формуле (4.1): aрад=275°×0,017453=4,8;
![]()
Предельную величину интенсивности движения на съезде принимают равной перспективной интенсивности движения (Nс=250 авт/ч) и определяют при этом условии предельную интенсивность движения на внешней полосе участка въезда. Для этого используют номограмму на рис. 4.6 (пунктирные линии).
При максимальной плотности
движения на внешней полосе перед съездом
=480 авт/ч.
Пример 1. Населенный пункт А расположен на прямом горизонтальном участке автомобильной дороги, длина застройки L=0,6 км, расстояние от кромки проезжей части до линии застройки l=8 м, сооружения обслуживания отсутствуют, интенсивность движения на пешеходном переходе в часы «пик» Nп=70 чел/ч. Для всех рассматриваемых далее примеров принято, что ширина проезжей части автомобильной дороги 7,5 м, ширина обочины 2,5-3 м, интенсивность движения автомобилей N=1200 авт/ч.
Свободная скорость движения в населенном пункте А по формуле (5.2) v=57,28×8,1×0,6+2,3×8-0,38×0,6×8=72,64 км/ч.
Скорость движения автомобилей в зоне пешеходного перехода по формуле (5.3) vп=25,4-0,06×70-0,008×1200+0,38×72,64=39,2 км/ч.
Пропускная способность участка дороги в пределах населенного пункта А в первом приближении можно определить по графику (рис. 5.2). Она составит Рнп=1750 авт/ч. Точнее вычисляют по формуле (5.6): Рнп=(1968,8-487,5×0,6+11,2 ×8+7,5×0,6×8)×1=1801,9 авт/ч. Коэффициент k1=1 берут из табл. 5.2.
Определим пропускную способность участка дороги в пределах населенного пункта, аналогичного населенному пункту А, но с расстоянием от кромки проезжей части до линии застройки l==20 м:
Рнп = (1968,8-487,5×0,6+11,2×20+7,5×0,6×20)×1=1990,3 авт/ч.
Пример 2. Населенный пункт В расположен на прямом горизонтальном участке автомобильной дороги, длина застройки L=1,65 км, расстояние от кромки проезжей части до линии застройки l=12 м. В населенном пункте имеется стоянка у сооружения обслуживания, оборудованная за счет уширения обочины, расположенная с двух сторон дороги. Интенсивность движения пешеходов через дорогу на первом переходе Nп=120 чел/ч, на втором Nп=210 чел/ч. Второй пешеходный переход находится у стоянки автомобилей.
k1=0,8 (по табл. 5.2) и k2=0,7 (см. п. 5.12); изменение пропускной способности наблюдается на расстоянии 50 м в каждую сторону от пешеходного перехода.
k2=0,8 (п. 5.12); изменение пропускной способности наблюдается на расстоянии 50 м в каждую сторону от границы стоянки автомобилей.
Пропускную способность участка дороги в пределах населенного пункта В определяют (формула 5.6) в три этапа:
1) участок вне зоны пешеходного перехода и стоянки у сооружения обслуживания;
2) участок первого пешеходного перехода;
3) участок стоянки автомобилей и второго пешеходного перехода.
Для первого участка Рнп=(1968,8-487,5×1,65+211,2×12+7,5×1,65×12)×1 = =1447,32 авт/ч.
Для второго участка Рнп=(1968,8-487,5×1,65+11,2×12+7,5×1,65×12)×0,8= 1157,86 авт/ч.
Для третьего участка Рнп=(1968,8-487,5×1,65+11,2×12+7,5×1,65×12)×0,7× 0,8=810,5 авт/ч.
Пример 1. Рассчитать пропускную способность большого мостового перехода. Исходные данные: ширина проезжей части на подходе к мосту 7,5 м, ширина проезжей части моста 7 м; длина моста 100 м. Подходы к мосту горизонтальные и прямолинейные; мост горизонтальный и прямолинейный. Загрузка встречной полосы движения более 0,8.
Пропускную способность полосы движения моста рассчитывают по формуле (5.7): Рм=420+43×7-2,285×100+0,257×7×100=680 авт/ч.
Пропускную способность полосы движения на подходе к мосту определяют по формуле (2.4): Р=413+27×7,5-4,07×0+434,6×1=1050 легковых авт/ч.
Ввиду того что полученное значение пропускной способности поста (680 авт/ч) меньше пропускной способности на подходе (1050 авт/ч), пропускную способность мостового перехода принимают равной пропускной способности моста (680 авт/ч).
Пример 2. Определить пропускную способность мостового перехода. Исходные данные: ширины проезжей части моста 8 м, длина моста 200 м. Мост имеет продольный уклон 20‰, расположен на кривой в плане с R=800 м, ширина проезжей части на подходе 8 м, продольный уклон 30‰ и на подходе к мосту имеется кривая в плане R=600 м. Загрузка встречной полосы более 0,8.
Пропускную способность полосы движения моста определяют согласно пункту 2.22 по формуле (5.8), пропускную способность полосы движения (Р) согласно пункту 5.23 по формуле (2.4) Р=413+27×8-4,07×20+0,65×800+434,6×1=818,4 легковых авт/ч.
По табл. 5.6 для данного моста коэффициент снижения пропускной способности kм=0,6.
Затем по формуле (5.9) рассчитывают пропускную способность моста Р =818,4×0,6=419 легковых авт/ч.
Пропускную способность полосы движения на подходе к мосту определяют по формуле (2.4): Р=413+27×8-4,07×30+0,065×600+43,46=980 легковых авт/ч.
Полученное значение пропускной способности моста (Pм=491 легк. авт/ч) меньше пропускной способности подхода, поэтому пропускную способность мостового перехода принимают равной пропускной способности моста (491 легковых авт/ч).
Пример 3. Определить пропускную способность моста, находящегося в эксплуатации. Исходные данные: ширина проезжей части моста 9 м; длина моста 150 м. Состав потока: легковые автомобили - 50%; грузовые - 28%; автопоезда - 22%.
Пропускную способность полосы
движения моста оценивали согласно п.
5.24. Для этой цели измерили скорости автомобилей на мосту согласно
пп. 2.2-2.4
Руководства. Результаты измерения скоростей автомобилей на мосту показали, что
средняя скорость легковых автомобилей 58 км/ч, грузовых - 42 км/ч и автопоездов
- 40 км/ч. Среднюю скорость автомобилей (
) с учетом состава движения определяют по формуле
=58×0,5+42×0,28+40×0,22=50 км/ч.
Согласно пп. 2.2-2.4 определяют максимальную плотность потока автомобилей; согласно п. 2.2 находят максимальную плотность потока автомобилей. Для этой цели согласно п. 2.2 рассчитывают средний интервал lрасч по формуле (2.3) для наблюдаемого на мосту состава движения lрасч=0,52×7,3+0,5×0,28×9,3+0,5×0,22×13,2+0,28×0,5×9+0,282×9,7+0,28×0,22×14,1+0,22×0,5×13+0,22×0,28×14,2+0,222×17,8=10,608 м.
По формуле 3.4 определяют максимальную плотность
Затем, согласно п. 5.24, по формуле (5.9), рассчитывают пропускную способность полосы движения на мосту: Р=0,101×49,56×94,26=470 авт/ч.
Исходные данные: горизонтальный участок двухполосной автомобильной дороги с проезжей частью шириной b=7,5 м, радиус кривой в плане R=1000 м, легковых автомобилей в составе движения 40% (n=0,4). На данном участке расположено придорожное предприятие питания. Стоянка не отделена от проезжей части, переходно-скоростные полосы отсутствуют.
Расчет пропускной способности полосы движения с учетом сочетания основных элементов дороги выполняют по формуле (2.4): P=413+27×7,5-4,07×0+0,065×1000+434,6×0,4=855 авт/ч.
Пропускную способность полосы движения с учетом размещения придорожного предприятия питания определяют согласно п. 5.23 и табл. 5.5: Рс.о=855×0,74=633 авт/ч.
Пример 1. Определить пропускную способность участка горной дороги, находящегося в эксплуатации.
Исходные данные: угол поворота трассы 30°, радиус внешней кривой в плане 100 м; за кривой вставка длиной 120 м; загрузка встречной полосы z>0,45; плотность q=80 авт-км.
Согласно формуле (5.15) определяют исходные данные в следующем порядке:
1) коэффициент w=0,7 (в соответствии с п. 2.25);
2) скорость свободного движения определяют согласно формуле (5.18) v =69,25 I-0,192= 69,25×3-0,192= 56,07 км/ч;
3) ввиду того что длина прямой равна 120 м, вводят дополнительный коэффициент, учитывающий пространственное расположение трассы согласно п. 5.26 (g=0,80);
4) эмпирический коэффициент a=0,15;
5) подставляя полученные данные в формулу Р=0,7×0,80×0,15×56,07×80=377 авт/ч.
Пример 2. Определить пропускную способность перевального участка горной дороги.
Исходные данные: участок с продольным уклоном 60‰, на километр приходятся пять кривых в плане; радиус кривой 80 м; высота 2000 м над уровнем моря; до следующей смежной кривой 300 м.
Из табл. 5.8, 5.9, 5.10, 5.11 находят коэффициенты
снижения пропускной способности:
=0,82;
=0,86;
=0,95;
= 0,66.
Определяют пропускную способность по формуле (5.13) Р=0,82×086×0,66×0,95×1800= 796 авт/ч.
С помощью комплекса программ для имитационной модели движения транспортных потоков на дорогах с двумя полосами можно определить такие характеристики потоков автомобилей: распределение скоростей разных типов автомобилей в потоке; потери времени быстро движущихся автомобилей; продолжительность посадки; число быстро движущихся автомобилей в очереди и количество обгонов, характеризующих свободу маневрирования; среднюю плотность потока. Эти показатели можно получить как для отдельных участков дороги, так и для всего маршрута.
1Программа может быть получена па кафедре проектирования дорог МАДИ.
В данном комплексе рассмотрены двухполосные автомобильные дороги, полосы которой разбиты на определенное число однородных участков, каждый из них характеризуется допустимой скоростью, разрешением или запретом обгона, наличием знаков и т. д. Диапазон возможных скоростей автомобилей разбит на заданное число полуинтервалов, нахождение скорости в том или ином полуинтервале влияет на решения, принимаемые водителем при изменении режима движения своего автомобиля.
Имитационный комплекс реализован на алгоритмическом языке ФОРТРАН и функционирует под управлением ДОС ЕС ЭВМ. Для эксплуатации комплекса необходимо задать начальные условия имитации движения и исходные данные:
1) массивы, описывающие элементы маршрута, по которому будут произведены имитационные эксперименты,
2) массивы, описывающие взаимосвязи и типы автомобилей, участвующие в имитационных экспериментах,
3) массивы, определяющие условия и параметры совершения обгонов;
4) массивы, описывающие обработанные результаты имитационных экспериментов.
Время работы комплекса зависит от заданных интенсивности движения, числа и длин участков дороги, по которым производится имитационный эксперимент.
Имитационный комплекс программ для моделирования на ЭВМ движения плотных транспортных потоков с учетом наличия средств управления движением и геометрических элементов дороги можно использовать для определения пропускной способности автомобильных дорог, исследования характеристик движения плотных транспортных потоков, режима движения колонны автомобилей различной длины.
1Программа может выть получена на кафедре проектирования дорог МАДИ.
В данном комплексе рассмотрен участок двухполосной автомобильной дороги, по которому движется колонна из N автомобилей по одной полосе без обгона. Поток состоит из п типов автомобилей. Учет влияния водительского состава на режим колонного движения позволил выделить три группы водителей (опытные, средней квалификации и неопытные). Для каждой группы характерно индивидуальное время реакции на изменение дорожных условий.
Имитационный комплекс построен с применением унифицированного имитационного моделирования на основе агрегатов. Автомобили плотного потока движутся друг за другом, соблюдая безопасную дистанцию, зависящую от скорости, видимости, погодных условий, типа автомобиля, квалификации водителя.
Имитационный комплекс реализован на алгоритмическом языке ПЛ/1 и функционирует под управлением ДОС ЕС ЭВМ.
Для эксплуатации комплекса необходимо задать начальные условия имитации движения и данные:
1) массив всех типов автомобилей, которые могут принять участие в имитационном эксперименте;
2) массив, описывающий элементы маршрута, по которому будет произведен имитационный эксперимент;
3) массив, описывающий взаимосвязи и типы автомобилей, участвующих непосредственно в данном имитационном эксперименте;
4) вектор, описывающий параметры взаимосвязей автомобилей.
Время работы комплекса зависит от числа автомобилей и элементов автомобильной дороги, участвующих в моделировании, а также от длины элементов дороги, по которым производится имитационный эксперимент.
1Программа может быть получена па кафедре проектирования дорог МАДИ или на кафедре экономики и организации строительства Рижского политехнического института.
Комплекс программы имитационного моделирования движения, транспортных потоков по четырехполосной автомобильной магистрали предназначен для определения ее транспортно-эксплуатационных показателей. С помощью имитационною комплекса можно определить: коэффициент загрузки и пропускную способность каждой полосы движения и всей автомобильной магистрали, грузопровозную и пассажиропровозную способности дороги, время сообщения, количество быстродвижушихся автомобилей в транспортном потоке и потери времени ими, число автомобилей в очередях и группах, стоимость проезда, расход топлива и другие транспортно-эксплуатационные качества в зависимости от поставленной задачи.
Имитационный комплекс построен в виде агрегативной системы, состоящей из трех взаимодействующих подсистем, описываемых схемой кусочно-непрерывного агрегата: движение автомобилей по первой (внешней) полосе, движение автомобилей по второй (внутренней) полосе, поиск возможности совершения маневра смены полосы и совершения этого маневра.
Имитационный комплекс реализован на алгоритмическом языке ФОРТРАН-IV и функционирует под управлением ДОС ЕС ЭВМ.
Для эксплуатации комплекса необходимы исходные данные и начальные условия:
1) массивы, описывающие характеристики автомобильной магистрали - длину участков, возможные запреты смены полосы, общую протяженность;
2) массивы, описывающие состав движения, скорости как по каждой полосе, так и при смене полосы;
3) массивы, описывающие расстояния между автомобилями при их взаимодействии;
4) массивы, описывающие расстояния, принимаемые водителями при смене полосы;
5) массивы, описывающие грузовые, пассажирские, топливные, стоимостные и другие экономические показатели.
Задают также интенсивность движения, продолжительность моделирования, количество автомобилей на полосах, время первоначального появления автомобилей и другие показатели.
Результаты имитационного моделирования печатаются в виде таблиц или по заданному формату во время моделирования или по окончании заданного времени моделирования.
2Программа может быть получена на кафедре проектирования дорог МАДИ.
Программа предназначена для оценки транспортно-эксплуатационных качеств автомобильных дорог как проектируемых, так и существующих, позволяет определять для различных участков дорог их пропускную способность, коэффициенты загрузки движением, коэффициенты аварийности, ожидаемое количество дорожно-транспортных происшествий, величину потерь народного хозяйства от них. Программа составлена на языке АЛГОЛ-60 применительно к транспорту типа ТА-1м.
Алгоритмом программы предусмотрены:
1) ввод исходных данных в виде параметров уравнений и таблиц для определения частных коэффициентов аварийности, коэффициенте тяжести, коэффициентов снижения пропускной способности, размера потерь от одного происшествия; массивов, показывающих изменение отдельных характеристик дорожных условии, по длине дороги; данных об интенсивности и составе движения для различных участков;
2) расчет положения границ участков, однородных по дорожным условиям и интенсивности движения; значений частных коэффициентов аварийности, итогового коэффициента аварийности, частных и итогового коэффициентов тяжести, количестве дорожно-транспортных происшествий и потерь от них для каждого однородного участка; общего размера потерь от дорожно-транспортных происшествий для всей дороги; пропускной способности и коэффициента загрузки;
3) выдача результатов расчета в виде таблиц итоговых коэффициентов аварийности, потерь от дорожно-транспортных происшествий, пропускной способности и коэффициентов загрузки дороги движения.
Выявление опасных участков и участков заторов возможно непосредственно по таблицам результатов или путем их использования для построения линейных графиков коэффициентов загрузки или аварийности.
СОДЕРЖАНИЕ
|
ГОСТЫ, СТРОИТЕЛЬНЫЕ и ТЕХНИЧЕСКИЕ НОРМАТИВЫ. Некоммерческая онлайн система, содержащая все Российские Госты, национальные Стандарты и нормативы. В Системе содержится более 150000 файлов нормативно-технической документации, действующей на территории РФ. Система предназначена для широкого круга инженерно-технических специалистов. Copyright © www.gostrf.com, 2008 - 2026 |