Крупнейшая бесплатная информационно-справочная система онлайн доступа к полному собранию технических нормативно-правовых актов РФ. Огромная база технических нормативов (более 150 тысяч документов) и полное собрание национальных стандартов, аутентичное официальной базе Госстандарта. GOSTRF.com - это более 1 Терабайта бесплатной технической информации для всех пользователей интернета. Все электронные копии представленных здесь документов могут распространяться без каких-либо ограничений. Поощряется распространение информации с этого сайта на любых других ресурсах. Каждый человек имеет право на неограниченный доступ к этим документам! Каждый человек имеет право на знание требований, изложенных в данных нормативно-правовых актах!

  


 

ПРАВИТЕЛЬСТВО МОСКВЫ

КОМПЛЕКС ПЕРСПЕКТИВНОГО
РАЗВИТИЯ ГОРОДА

ТЕХНИЧЕСКИЕ РЕКОМЕНДАЦИИ ПО ТЕХНОЛОГИИ УПЛОТНЕНИЯ ГРУНТА ПРИ ОБРАТНОЙ ЗАСЫПКЕ КОТЛОВАНОВ, ТРАНШЕЙ, ПАЗУХ

ТР 73-98

МОСКВА - 1998

«Технические рекомендации по технологии уплотнения грунта при обратной засыпке котлованов, траншей, пазух» разработаны кандидатами технических наук В. М. Гольдиным, Л. В. Городецким, инженером В. Ф. Деминым (лаборатория дорожного строительства НИИМосстроя) при участии Мосстройлицензии.

В Технических рекомендациях обобщен опыт строительных организаций ХК «Главмосстроя», АО «Мосинжстроя» по уплотнению грунта при засыпке котлованов, траншей, пазух, а также разрытии проезжей части дороги.

Технические рекомендации согласованы с АО «Мосинжстрой» трестом Гордорстрой, проектным институтом «Мосинжпроект».

Правительство Москвы Комплекс перспективного развития города

Технические рекомендации по технологии уплотнения грунта при обратной засыпке котлованов, траншей, пазух

ТР 73-98

1. ОБЩИЕ ПОЛОЖЕНИЯ

1.1. Технические рекомендации распространяются на работы по уплотнению грунта при обратной засыпке котлованов, траншей, пазух после прокладки подземных инженерных сетей, устройства фундаментов возводимых зданий.

1.2. Технические рекомендации распространяются также на работы по уплотнению грунта после восстановительного ремонта подземных инженерных сетей в зоне проезжей части дороги.

1.3. Уплотнение грунта следует производить в соответствии со СНиП 3.02.01-87 «Земляные сооружения, основания и фундаменты» и ВСН 52-96 «Инструкция по производству земляных работ в дорожном строительстве и при устройстве подземных инженерных сетей».

1.4. Характеристики, термины и определения грунтов используются в соответствии с ГОСТ 25100-95 «Грунты. Классификация».

2. ТЕХНОЛОГИЯ УПЛОТНЕНИЯ ГРУНТА ПРИ ОБРАТНОЙ ЗАСЫПКЕ КОТЛОВАНОВ

2.1. Разрешение на обратную засыпку грунтом котлованов дается комиссией, состоящей из производителя работ, заказчика и автора проекта, одновременно с составлением акта на скрытые работы.

Разработаны НИИМосстроем

Утверждены:

Первый заместитель руководителя Комплекса перспективного развития города

В .Е. БАСИН

«24» сентября 1998 г

Дата введения в действие

Внесены Управлением развития Генплана

«1» января 1999 г

2.2. Требуемая плотность грунта при засыпке котлованов назначается проектом на основании данных исследования грунта методом стандартного уплотнения, при котором устанавливается его оптимальная влажность и максимальная плотность, которая должна быть не менее 0,95.

2.3. Для определения основных свойств грунта необходимо руководствоваться техническим заключением Мосгоргеотреста об инженерно-геологических условиях участка строительства.

2.4. Уплотнение грунта следует производить, когда его естественная влажность является оптимальной. В таблице 2.1 приводятся оптимальные влажности грунтов и допустимые отклонения влажности (коэффициент «переувлажнения»).

Таблица 2.1.

Наименование грунта

Оптимальная влажность, %

Коэффициент «переувлажнения»

Пески пылеватые, супеси легкие крупные

8 - 12

1,35

Супеси легкие и пылеватые

9 - 15

1,25

Супеси тяжелые пылеватые, суглинки легкие и легкие пылеватые

12 - 17

1,15

Суглинки тяжелые и тяжелые пылеватые

16 - 23

1,05

Определять естественную влажность грунтов следует по ГОСТ 5180-84.

2.5. При недостаточной влажности связных грунтов (содержание глинистых частиц более 12 %) их следует увлажнять в местах разработки, а увлажнять несвязные грунты (содержание глинистых частиц менее 3 %) можно и в отсыпаемом слое. При избыточной влажности грунта следует производить его подсушивание.

2.6. Засыпку грунта или песка под основание полов по дну готового котлована подземной части здания осуществляют стреловыми кранами, оборудованными грейферами, с разравниванием грунта по дну котлована и уплотнением трамбовками.

2.7. Машины и механизмы для уплотнения грунтов следует выбирать с учетом свойств и состояния уплотняемого грунта (влажности, однородности, гранулометрического состава), требуемой степени уплотнения, объемов работ и темпов их выполнения (п. 2.9, табл. 4.1). Расстановка машин для обратной засыпки котлованов производится в соответствии с проектом производства работ по строительству конкретного здания.

2.8. Обратная засыпка котлованов производится стреловыми кранами, оборудованными грейферами, экскаваторами типа ЭО-2621В-3, ЭО-3123, ЭО-4225 и др. послойно.

2.9. Уплотнение засыпаемого грунта в котлованах производится гидромолотами типа СП-62, СП-71, «РАММЕР», виброплитами ДУ-90, ДУ-91, электротрамбовками ИЭ-4502А. На рис. 2.1 представлена схема засыпки грунта под полы в подвале здания.

2.10. Средняя толщина отсыпаемого слоя грунта при применении гидромолотов и виброплит должна быть для: песка - 70 см; супеси и суглинков - 60 см; глины - 50 см. При применении электротрамбовок типа ИЭ-4502А толщина отсыпаемого слоя должна быть не более 25 см.

2.11. Для достижения плотности уплотняемого грунта до К = 0,95 время уплотнения по одному следу гидромолотами должно быть 15 секунд. При применении виброплит и электротрамбовок число проходов (ударов) должно быть 3 - 4. Каждый последующий проход (удар) уплотняющей машины должен перекрывать след предыдущей на 10 - 20 см.

2.12. Выполненные работы по уплотнению грунта предъявить авторскому и техническому надзорам и составить акт на скрытые работы.

3. ТЕХНОЛОГИЯ УПЛОТНЕНИЯ ГРУНТА ПРИ ОБРАТНОЙ ЗАСЫПКЕ ПАЗУХ

3.1. До начала обратной засыпки грунтом пазух должны быть закончены следующие работы: монтаж конструкций подземной части зданий; уборка строительного мусора; гидроизоляция; дренаж.

3.2. Требуемая плотность песчаного грунта при засыпке пазух должна быть не менее К = 0,98.

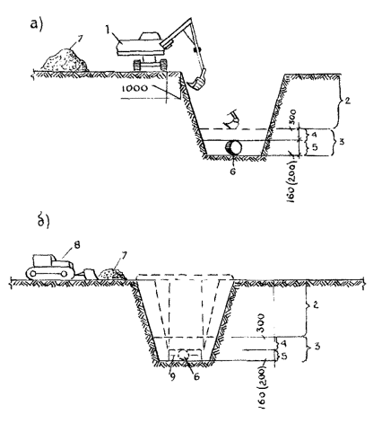
Рис. 2.1. Схема засыпки грунта под полы в подвале здания:

а) сборные фундаменты, б) свайные фундаменты;

1 - сборный фундамент с установленной колонной; 2 - зона уплотнения грунта ручными электротрамбовками; 3 - зона уплотнения грунта механическими трамбовками; 4 - стена здания; 5 - железобетонный ростверк; 6 - забитая свая. В - принимать по табл. 3.1

3.3. Засыпка пазух производится послойно экскаваторами, экскаваторами-планировщиками, бульдозерами. При этом толщина слоя для песка должна быть не более 70 см; для супеси и суглинка - 60 см, для глины - 50 см.

3.4. Уплотнение засыпаемого грунта в пазухах осуществляется гидромолотами типа СП-62, СП-71, «РАММЕР», виброплитами ДУ-90, ДУ-91.

3.5. Для достижения плотности уплотняемого грунта до К = 0,98 время уплотнения по одному следу должно быть 20 секунд.

3.6. Грунт уплотняют, начиная с зон возле конструкций здания, а затем двигаются в направлении к краю откоса, при этом каждый последующий проход трамбующей машины должен перекрывать след предыдущей на 10 - 20 см (рис. 3.1).

3.7. При работе по уплотнению грунта вблизи конструкций возводимого здания, мест ввода коммуникаций и других труднодоступных мест должны применяться электротрамбовки типа ИЭ-4505, ИЭ-4502А. При этом толщина отсыпаемого слоя должна быть не более 25 см и количество проходов - не менее 4.

3.8. Отметки верхнего слоя уплотняемого грунта должны строго соответствовать проекту.

3.9. Выполненные работы предъявить авторскому и техническому надзору и составить акт на скрытые работы.

3.10. Рекомендуемые машины и механизмы для уплотнения грунта при обратной засыпке котлованов и пазух в стесненных местах указаны в табл. 3.1.

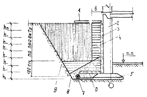
Рис. 3.1. Схема обратной засыпки пазухи котлована:

1 - отмостка; 2 - стена здания; 3 - вертикально установленная керамзитобетонная плита; 4 - зона уплотнения грунта вручную; 5 - фундаментная плита; 6 - горизонтально уложенная керамзитобетонная плита; 7 - дренажная труба; 8 - граница засыпки дренажа песком; 9 - слои грунта, уплотняемые легкими механическими трамбовками; п.п. - пол подвала; h1 - hn - толщина отсыпаемого слоя грунта принимается до 0,25 м

Примечание. Керамзитобетонные плиты могут быть заменены полимерными материалами согласно ВСН 35-95 «Инструкция по технологии применения полимерных фильтрующих оболочек для защиты подземных частей зданий и сооружений от подтопления грунтовыми водами».

Таблица 3.1.

Тип и марка уплотняющих машин и механизмов

Масса уплотняющих машин и механизмов (m), кг

Соотношение масс строительных конструкций (М) и уплотняющих машин и механизмов (т), кг

М £ m

М £ 5 m

М £ 10 m

Минимальное расстояние от уплотняющих машин и механизмов до строительных конструкций b и толщина отсыпаемого слоя грунта ho, см

b

ho

b

ho

b

ho

Гидромолоты (навесные на экскаваторы):

 

 

 

 

 

 

 

ГПМ-120

275

25

50

20

40

20

30

ГПМ-150

345

25

50

20

40

20

30

ГПМ-300

1033

50

70

30

70

20

60

СП-71 А

750

50

70

30

70

20

60

СП-71

750

50

70

30

70

20

60

СП-62

2100

60

90

40

90

20

80

Пневмомолоты (навесные на экскаваторы):

 

 

 

 

 

 

 

ПН-1300

350

30

50

20

50

20

30

ПН-1700

450

35

60

20

60

20

40

ПН-2400

500

40

70

20

70

20

50

Трамбовки электрические:

 

 

 

 

 

 

 

ИЭ-4504

160

20

50

5

35

5

35

ИЭ-4502А

80

10

40

5

25

5

25

3.11. Минимальное расстояние от уплотняющих машин и механизмов до строительных конструкций, а также толщина отсыпаемого слоя грунта над конструкциями должны уточняться проектом производства работ.

4. ТЕХНОЛОГИЯ УПЛОТНЕНИЯ ГРУНТА ПРИ ОБРАТНОЙ ЗАСЫПКЕ ТРАНШЕЙ

4.1. Обратная засыпка траншей инженерных коммуникаций производится после проведения испытаний их и оформления акта, выполнения изоляции стыков, каналов, ниш и получения разрешения на проведение обратной засыпки.

4.2. Засыпку траншей для подземных коммуникаций грунтом необходимо осуществлять вслед за прокладкой трубопроводов и сетевых устройств, также необходимо принимать меры против сдвига их по оси и против повреждений трубопроводов и их изоляции. Схема уплотнения грунта при обратной засыпке траншей, схема организации работ по засыпке траншей и схема обратной засыпки траншей показаны на рис. 4.1, 4.2, 4.3 соответственно.

4.3. Засыпка траншей с уложенными подземными коммуникациями производится в два приема. Сначала засыпаются и подбиваются вручную пазухи и присыпаются трубопроводы на высоту над верхом трубопровода не менее 0,2 м с тщательным послойным ручным трамбованием, а в зимний период времени для труб керамических, асбестоцементных и полиэтиленовых - 0,5 м. Затем остальная часть траншеи засыпается путем осторожного сбрасывания грунта бульдозерами.

4.4. Послойное уплотнение засыпки трубопроводов выполняется преимущественно пневматическими, моторными, электрическими трамбовками, а также методом виброуплотнения.

4.5. Пазухи между трубой и стенками траншеи засыпаются послойно экскаваторами-планировщиками ЭО-3532А, экскаваторами ЭО-2621В, ЭО-3123, ЭО-4225 и др.; толщина слоя должна быть не более 0,25 м. Уплотнение производится равномерно с двух сторон электрическими трамбовками типа ИЭ-4502А.

4.6. При уплотнении грунта над коммуникациями толщина защитного слоя должна быть не менее 0,25 м для металлических и железобетонных труб и не менее 0,4 м для керамических, асбестоцементных и пластмассовых труб. Защитный слой над коммуникациями также уплотняется электрическими трамбовками.

4.7. При прокладке кабельных линий траншеи должны иметь снизу подсыпку, а сверху - засыпку слоем мелкой земли, не содержащей камней, строительного мусора. Толщина слоя песка для подсыпки и толщина слоя засыпки должна быть не менее 0,1 м.

Рис. 4.1. Схема уплотнения грунта при засыпке траншей:

1 - зона над трубопроводом, где уплотнение грунта запрещается; 2, 3 - толщина слоя грунта, уплотненного ручными механизмами; 4 - слой грунта, уплотненного ручным немеханизированным инструментом; 5 - слои грунта, уплотненные механическими трамбовками ( принимается до 0,25 м); h1,2,3 - толщина уплотняемого слоя, уплотнение производить одновременно с двух сторон

Примечание. Ручной немеханизированный инструмент - лопата, совок, деревянные трамбовки; ручные механизмы - площадочные вибраторы, электротрамбовки, механические трамбовки

Рис. 4.2. Схема организации работ по засыпке траншей:

а) экскаватором-планировщиком; б) бульдозером;

1 - экскаватор-планировщик; 2 - обратная засыпка грунта бульдозером; 3 - обратная засыпка грунта экскаватором-планировщиком; 4 - разравнивание грунта экскаватором-планировщиком; 5 - разравнивание грунта вручную; 6 - поливинилхлоридная труба; 7 - грунт для обратной засыпки; 8 - бульдозер; 9 - канализационный колодец

Расстояние от линии откоса траншеи до начала отвала грунта по бровке траншеи должно быть не менее 0,7 м при глубине траншеи до 3 м и не менее 1,0 м при глубине траншеи более 3 м

Рис. 4.3. Схема обратной засыпки траншей:

а) телефонная канализация; б) бесканальная тепловая сеть;

1 - слои грунта, уплотняемые ручными электротрамбовками; 2 - слои грунта, засыпаемые и уплотняемые вручную; 3 - пластмассовые трубы; 4 - дренажная труба (трубофильтр или др.); 5 - трубопроводы; I - слои грунта, уплотняемые легкими механическими трамбовками; II - слои грунта, уплотняемые ручными электротрамбовками; III - слои грунта, засыпаемые и уплотняемые вручную

4.8. При засыпке трубопроводов, проложенных в траншеях с уклоном более 20°, необходимо принять меры против сползания грунта и размыва его ливневыми водами. Способ укрепления должен быть указан в проекте производства работ.

4.9. При прокладке труб из полиэтилена выравнивается дно траншеи, а в скальных грунтах необходимо устраивать подушку из рыхлого грунта толщиной не менее 0,1 м без включения камней, щебня и др.

4.10. Засыпку трубопроводов из полиэтилена необходимо производить в самое холодное время суток лишь после их предварительного испытания на плотность.

4.11. Дальнейшая засыпка грунта над уложенными трубопроводами производится экскаваторами, экскаваторами-планировщиками, бульдозерами послойно с толщиной слоя 0,7 м для песка, 0,6 м для супеси и суглинков, 0,5 м для глины. Послойное уплотнение грунта производится гидромолотами и виброплитами.

4.12. Обратная засыпка траншеи грунтом при помощи бульдозера представлена на рис. 4.4. Из рисунка видно, что площадь отвала, из которого забирают грунт, разбивается на отдельные, последовательно разрабатываемые участки. Бульдозер подходит к краю отвала с его торца под некоторым углом, забирает грунт на участке I и после перемещения его в траншею проходит к следующему участку II. Грунт с участков II, IV, VI перемещают в траншею поперечными проходами бульдозера, а с участков I, III, V, VII - косыми. Такой способ работ сокращает длину проходов груженого бульдозера и улучшает условия набора грунта.

Рис. 4.4. Обратная засыпка траншей грунтом при помощи бульдозера:

1 - бульдозер; 2 - трубопровод

4.13. При прохождении трассы вдоль строений, заборов, зеленых насаждений засыпка траншей производится вручную с послойным трамбованием засыпки через 0,2 м.

4.14. Траншеи и котлованы на участках пересечения с существующими или проектируемыми дорогами должны засыпаться на всю глубину песком и уплотняться до Куп - 0,98.

4.15. Уплотнение верхних слоев на 1,0 - 1,2 м от поверхности может производиться прицепными катками к тракторам Т-150 (СД-801) и самоходными разного типа массой 6 - 15 т (ДУ-47Б, ДУ-64, ДУ-58А и др.)

4.16. В местах пересечения траншей с действующими подземными коммуникациями (трубопроводами, кабелями и др.), проходящими в пределах глубины траншей, проектом должны быть предусмотрены устройства, обеспечивающие неизменяемость положения и сохранность коммуникаций на период производства работ и эксплуатации. Если такие устройства не предусмотрены, обратная засыпка траншей должна производиться в следующем порядке: подсыпка под действующие коммуникации выполняется песком по всему поперечному сечению траншеи на высоту до половины диаметра трубопровода (кабеля) или его защитной оболочки с послойным уплотнением; вдоль траншеи размер подсыпки по верху должен быть больше на 0,5 м с каждой стороны трубопровода (кабеля) или его защитной оболочки, а крутизна откосов подсыпки должна быть 1 : 1.

4.17. Выполненные работы по уплотнению грунта предъявить авторскому и техническому надзорам и составить акт на скрытые работы.

4.18. Засыпку и уплотнение котлованов, траншей, пазух, над которыми должны сооружаться рельсовые пути для установки башенных кранов, следует производить аналогично устройству основания из насыпного грунта.

4.19. Насыпной грунт земляного полотна следует укладывать слоями с обязательным послойным уплотнением. Толщина слоев определяется применяемыми машинами и механизмами для уплотнения грунта.

4.20. Плотность (объемный вес скелета) грунта земляного полотна в г/м3 должна быть не менее для: мелких и пылевидных песков - 1,7; супесей - 1,65; суглинков - 1,6; глины - 1,5.

4.21. При устройстве рельсовых путей с деревянными полушпалами плотность грунта должна проверяться через каждые 12,5 м, а при устройстве путей с железобетонными балками - под каждой балкой.

4.22. Результаты проверки необходимо заносить в акт сдачи рельсового пути в эксплуатацию.

4.23. Рекомендуемые машины и оборудование для обратной засыпки котлованов, траншей, пазух, уплотнения грунта приведены в табл. 4.1.

Таблица 4.1.

Наименование машин, оборудования

Марка, тип

Выполнение технологических процессов

Экскаваторы с гидроприводом

ЭО-2621В-3

ЭО-4245

ЭО-4225А

ЭО-3123 и др.

Обратная засыпка котлованов, траншей, пазух

Гидромолоты к экскаваторам

«Ронсон»

«Раммер-700»

«Раммер-1600»

СП-62; СП-71

Уплотнение грунта в котлованах, траншеях, пазухах

Виброплиты

ДУ-90; ДУ-91

 

Электротрамбовки

ИЭ-4502А ИЭ-4505

 

Бульдозеры

ДЗ-42; ДЗ-162-1; ДЗ-190 и др.

Обратная засыпка котлованов, траншей, пазух

Экскаваторы-планировщики

ЭО-3532А

УДС-114

Обратная засыпка и распределение грунта в траншеях и пазухах

Катки

ДУ-54М ДУ-47Б ДУ-64 ДУ-58А и др.

Уплотнение верхних слоев грунта траншей

Примечание. Потребность в машинах определяется проектом производства работ в зависимости от конструктивных решений сооружений, объемов работ и продолжительности их выполнения.

4.24. При отрицательной температуре воздуха уплотнение грунта обратной засыпки в траншеях должно осуществляться до достижения коэффициента уплотнения 0,98.

4.25. Время уплотнения грунта в зависимости от температуры воздуха указано в табл. 4.2.

Таблица 4.2.

Температура воздуха, °С

- 5

- 10

- 20

- 30

Время начала смерзания грунта, мин

90 - 120

60 - 90

40 - 60

20 - 30

4.26. Для послойного уплотнения обратных засыпок рекомендуются следующие способы:

для несвязных грунтов - вибрирование и вибротрамбование;

для малосвязных грунтов - укатка, трамбование, вибротрамбование, вибрирование;

для связных грунтов - укатка, трамбование, вибротрамбование и комбинированный.

4.27. Уплотнение грунта в стесненных условиях при засыпке мест извлечений элементов шпунтовых ограждений следует производить с применением специальных уплотняющих средств статического, виброударного или ударного действия, позволяющих получить на всю глубину коэффициент уплотнения не менее 0,98.

4.28. Процесс уплотнения засыпаемого грунта в местах разборки элементов шпунтовых соединений следует осуществлять установками, оснащенными приборами, контролирующими степень послойного его уплотнения.

4.29. В условиях г. Москвы могут применяться установки типа: статического зондирования С-832, статического и динамического действия УГБ-IBCM, динамического действия ЦБП-15м.

5. ТЕХНОЛОГИЯ УПЛОТНЕНИЯ ГРУНТА ПОСЛЕ ВОССТАНОВИТЕЛЬНОГО РЕМОНТА ПОДЗЕМНЫХ ИНЖЕНЕРНЫХ СЕТЕЙ В ЗОНЕ ПРОЕЗЖЕЙ ЧАСТИ ДОРОГИ

5.1. Восстановительный ремонт осуществляется после разрытия на проезжей части, связанного с ремонтом, прокладкой и перекладкой подземных сооружений, а также разрушений, вызванных стихийными или другими явлениями. Работы по восстановительному ремонту могут выполняться с учетом последующего переустройства, поэтому восстановительный ремонт делится на: первичный (временный); повторный (окончательный).

5.2. Временный восстановительный ремонт ограничивается коротким сроком его проведения и его окончательного осуществления.

Административные органы города следят за этим и должны принимать необходимые меры к проведению в сжатые сроки окончательного восстановительного ремонта дорожных покрытий. В Москве ежегодно проводится большое количество разрытий участков проезжей части улиц, и качественное их восстановление необходимо.

5.3. Зона работ, связанная с разрытием и восстановлением проезжей части дороги, должна быть ограждена.

Вид ограждений, их освещенность в ночное время, установка знаков регулирования движения городского транспорта в каждом конкретном случае определяется ГАИ г. Москвы.

5.4. Объединение административно-технических инспекций г. Москвы выдает ордер на производство работ по ликвидации разрытий с указанием сроков окончательного восстановления дорожного покрытия.

5.5. Обратная засыпка траншей производится после укладки трубопроводов, проведения испытания их с оформлением акта и получения разрешения на проведение обратной засыпки. Засыпка траншеи должна производиться с принятием мер против повреждения трубопроводов и их изоляции от сбрасываемого песка, а также против смещения трубопроводов с оси и включает в себя следующие этапы:

засыпка и уплотнение песка в приямках под стыковые соединения;

подбивка пазух между трубой и дном траншеи;

засыпка, разравнивание и уплотнение песка в пазухе между трубой и стенками траншеи;

засыпка, разравнивание и уплотнение защитного слоя и верхних слоев.

5.6. Подбивка пазух между трубой и дном траншеи производится ручными трамбовками. Пазухи между трубой и стенками траншеи засыпаются послойно экскаваторами, бульдозерами, толщина слоя должна быть не более 25 см, уплотнение производится равномерно с двух сторон электрическими трамбовками. При уплотнении песка над коммуникациями толщина защитного слоя должна быть не менее 25 см для металлических и железобетонных труб и не менее 40 мм для керамических, асбестоцементных и пластмассовых труб. Защитный слой над коммуникациями также уплотняется электрическими трамбовками и вибраторами. Дальнейшая засыпка песка производится экскаваторами, бульдозерами послойно с толщиной слоя до 30 см и уплотняется самоходными катками массой 6 - 15 т.

5.7. Уплотненное песчаное основание в летнее время обильно заливается водой, и после впитывания воды в песок и удаления излишней воды по продольному уклону траншеи производится дополнительное уплотнение самоходными катками по 4 - 6 проходов по одному следу. Такая технология засыпки и уплотнения песка позволяет получить коэффициент уплотнения грунта в траншее в пределах 0,98 - 1,0. По уплотненному песчаному основанию в пределах разрытия устраивается дорожное основание, по которому укладывается покрытие из асфальтового бетона. В зимнее время года верхний слой толщиной 10 - 15 см песчаного основания устраивается из горячего песка. На рис. 5.1 представлена схема работ по восстановлению дорожной конструкции.

1. Укладка труб и проверка стыковых соединений. Проведение испытаний трубопроводов. Акт на проведение обратной засыпки.

2. Уплотнение песка немеханизированными инструментами.

3. Уплотнение песка ручными инструментами.

4. Послойное уплотнение песка оптимальной влажности механическими трамбовками, катками

5. Восстановление дорожного основания.

6. Восстановление покрытия дороги.

7. Существующая дорога.

Рис. 5.1. Последовательность работ по восстановлению дорожной конструкции

5.8. На магистральных улицах общегородского и районного значения траншеи засыпаются песком и уплотняются согласно пунктам 5.5, 5.6, 5.7 настоящих рекомендаций. Верхний же слой засыпаемой траншеи на глубину 30 - 40 см должен выполняться из щебеночных смесей заводского изготовления, состав которых представлен в табл. 5.1.

Таблица 5.1.

Тип смеси

Содержание в смеси частиц (% массы), проходящих через сито с размером отверстий, мм

70

40

20

10

5

0,63

не менее 0,05

Крупнозернистая I

80 - 100

40 - 50

20 - 30

15 - 25

12 - 20

5 - 10

0 - 3

То же II

85 - 100

60 - 70

40 - 50

30 - 40

20 - 30

5 - 15

0 - 5

Среднезернистая I

-

85 - 100

40 - 50

20 - 30

15 - 25

7 - 10

1 - 5

То же II

-

-

85 - 100

60 - 70

40 - 50

15 - 20

2 - 5

Щебеночная смесь уплотняется самоходными катками до коэффициента уплотнения 1,0.

5.9. Восстановление дорожной конструкции следует производить из таких же материалов, из каких была дорожная конструкция до разрытия.

6. КОНТРОЛЬ КАЧЕСТВА УПЛОТНЕНИЯ

6.1. При устройстве траншей, котлованов и пазух должен быть организован контроль за качеством уплотнения грунтов в процессе производства работ и после их окончания.

В процессе выполнения работы должна производиться проверка вида применяемого грунта и правильность его отсыпки, степени плотности и влажности и равномерности уплотнения грунта.

6.2. Вид применяемых грунтов устанавливается путем определения гранулометрического состава и числа пластичности.

6.3. Контроль степени плотности и влажности грунта производится посредством испытания образцов грунта. Эта проверка производится по отсыпанным слоям на глубинах 0,3; 0,5; 0,9; 1,2; 1,5 м от верха шурфа. Места шурфов намечаются: в траншеях - по оси траншеи через каждые 50 м; в пазухах котлованов - по периметру фундаментов через каждые 50 м, но не менее одного по торцам здания; в основаниях под полы - на 100 м2 один шурф.

6.4. Степень плотности грунта контролируется путем сопоставления плотности образца, взятого без нарушения структуры из насыпи или траншеи, с оптимальной плотностью данного грунта, полученной методом стандартного уплотнения. Степень плотности грунта определяется коэффициентом уплотнения «К». Методики определения коэффициента уплотнения «К» (метод стандартного уплотнения СоюзДорНИИ, метод режущих колец, плотномер конструкции МГП «Кондор») представлены в приложениях 1; 2; 3.

6.5. При совместной работе нескольких строительных организаций на строительном объекте контроль за качеством уплотнения грунта возлагается на генерального подрядчика и технический надзор заказчика.

6.6. С целью качественного уплотнения песка в траншеях, попадающих в зону проезжей части дороги, центральная дорожная лаборатория Объединения административно-технических инспекций г. Москвы или лаборатория дорожного строительства НИИМосстроя определяют коэффициент уплотнения песка и дают разрешение на работы по восстановлению дорожной конструкции.

7. ТРЕБОВАНИЯ БЕЗОПАСНОСТИ

7.1. При производстве работ необходимо соблюдать требования СНиП III-4-80 «Техника безопасности в строительстве», СНиП 3.02.01-87 «Земляные сооружения, основания и фундаменты» и ВСН 52-96 «Инструкция по производству земляных работ в дорожном строительстве и при устройстве подземных инженерных сетей».

7.2. К работам по уплотнению грунтов допускаются лица, достигшие 18 лет, прошедшие медицинское освидетельствование, специальное обучение, вводный инструктаж и инструктаж на рабочем месте по технике безопасности.

7.3. Все применяемые машины, приспособления должны иметь паспорта и инвентарные номера, по которым они записываются в специальные журналы учета и периодических осмотров. К управлению строительными машинами и к работе с приспособлениями допускаются специально обученные рабочие и обслуживающий персонал.

7.4. Места работ на улицах, проездах, во дворах, а также в местах, где происходит движение людей или транспорта, должны быть ограждены защитными ограждениями. На ограждении необходимо устанавливать предупредительные надписи и знаки, а в ночное время место производства работ должно быть освещено.

7.5. Лица, допускаемые к управлению ручными электрическими машинами, должны иметь II квалификационную группу по технике безопасности.

7.6. При производстве работ пользоваться только исправным оборудованием и приспособлениями.

7.7.Производство земляных работ в зоне действующих подземных коммуникаций следует осуществлять под непосредственным руководством прораба или мастера, а в охранной зоне кабелей, находящихся под напряжением, или действующего газопровода, кроме того, под наблюдением работников электро- или газового хозяйства.

При разгрузке грунта располагать автомобиль-самосвал не ближе чем на расстоянии 1 м от бровки траншеи.

7.8. Не допускать присутствия людей, а также производства других работ в зоне действия землеройных машин.

7.9. Односторонняя засыпка пазух у свежевыложенных подпорных сетей и фундаментов допускается после осуществления мероприятий, обеспечивающих устойчивость конструкции при принятых условиях, способах и порядке засыпки.

7.10. Систематически контролировать состояние откосов траншей, а при появлении трещин принимать меры против обрушения грунта.

7.11. Систематически проверять качество уплотнения грунтов. Вблизи конструкций все работы выполнять только в светлое время суток.

7.12. Спуск рабочих в котлован (траншею) и их подъем должен осуществляться по лестницам, установленным на границе опасной зоны для прохода людей при работе машин.

8. ОХРАНА ОКРУЖАЮЩЕЙ СРЕДЫ

8.1. Необходимо осуществлять мероприятия и работы по охране окружающей природной среды согласно «Правилам организации подготовки и производства земляных и строительных работ в г. Москве» (Постановление Правительства Москвы № 207 от 17 марта 1998 г.).

8.2. Запрещается применение для уплотнения грунта оборудования, являющегося источником выделения вредных веществ в атмосферный воздух и повышенных уровней шума и вибрации.

8.3. Все участки территории, где производятся уплотнения грунта, - в траншеях, котлованах, пазухах - должны быть ограждены согласно стройгенплану или схеме работ.

8.4. На строительной площадке должны быть размещены бытовые и подсобные помещения для рабочих и ИТР в соответствии с нормативными требованиями. Следует оборудовать места для складирования материалов, конструкций, изделий и инвентаря, а также для установки строительной техники.

8.5. В зоне производства работ по уплотнению грунта должна быть произведена срезка и складирование растительного слоя грунта в специальные отведенные места, сохраняемые деревья должны быть ограждены.

8.6. Производственные и бытовые стоки, образующиеся на строительной площадке, должны очищаться и обезвреживаться в порядке, предусмотренном проектом организации строительства и проектом производства работ.

8.7. После прокладки подземных инженерных сетей, засыпки грунтом траншей, котлованов, пазух и последующего его уплотнения до требуемой плотности, поверхность земли должна соответствовать отметкам, указанным в проекте производства работ.

8.8. Вся территория, на которой производились работы по уплотнению грунта в траншеях, котлованах и пазухах, должна быть озеленена.

8.9. Для засева газона следует применять смеси трав, в частности, смесь гребенника обыкновенного, мятлика лугового, райграса английского и красной овсянницы.

8.10. Для озеленения объекта значительное внимание должно уделяться выбору вида растения для зеленых насаждений. При этом следует учитывать климатические, почвенные и гидрологические условия района посадки, а также особенности его планировки и застройки. В условиях г. Москвы чаще всего следует применять деревья с густой кроной: липы, березы, клены, тополя, лиственницы, а также плодовые деревья: яблони, вишни, груши; из кустарниковых пород следует использовать акацию, жасмин, сирень и др.

8.11. На улицах, проездах и тротуарах, имеющих усовершенствованное дорожное покрытие, траншеи и котлованы разрабатываются в скреплениях и засыпаются послойно песком.

Эти работы выполняются в присутствии представителей технического надзора эксплуатационных организаций, дорожных служб и авторского надзора проектных организаций.

ПРИЛОЖЕНИЕ 1

Определение плотности грунтов методом зондирования с помощью удлиненного ударника

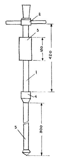
1. Метод зондирования может применяться при определении плотности песчаного и супесчаного грунтов в полевых условиях.

2. Метод основан на сопротивлении грунта погружению в него стандартного штампа круглого сечения диаметром 16 мм. Штамп задавливают с помощью ударов гири с высоты 300 мм.

Рис. 1. Ударник удлиненный для определения плотности грунта методом зондирования

3. Степень плотности грунта определяется в интервале оптимальной влажности или близкой к ней.

4. Ударник (рис. 1) состоит из стержня с концевым штырем (штампом) длиной 250 мм (1), направляющего стержня длиной 900 мм (2), гири массой 2,5 кг (3), ограничительного кольца (4), винта (5) и рукояти (6).

5. Испытание грунта производится следующим образом. На выровненную поверхность грунта вертикально устанавливают ударник. Затем поднимают гирю до ограничительного кольца и свободно ее сбрасывают. Так повторяют столько ударов, сколько потребуется для погружения ударника на глубину 250 мм. При этом подсчитывают общее число ударов.

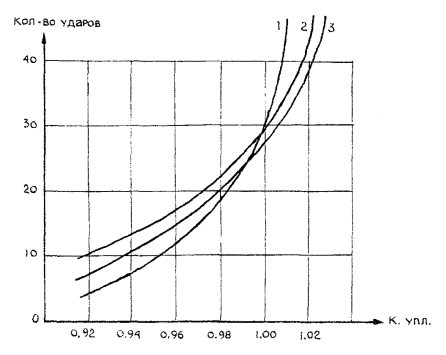
По тарировочному графику (рис. 2) для данного вида грунта находят точку, соответствующую полученному числу ударов при полном заглублении концевого штыря удлиненного ударника. Из этой точки проводят вертикальную линию до пересечения с кривой, после чего на вертикальной оси находят объемную массу скелета грунта (плотность грунта).

Рис. 2. Тарировочные графики зависимости числа ударов от степени плотности грунтов в пределах их оптимальной влажности:

а) для песчаных грунтов; б) для супесчаных грунтов

ПРИЛОЖЕНИЕ 2

Контроль за уплотнением насыпи методом режущих колец

Основной контроль за уплотнением насыпи в процессе производства работ производится путем сравнения объемного веса скелета грунта, отобранного из насыпи (gск.), с оптимальной плотностью (gск. оп.).

Отбор проб и определение объемного веса скелета грунта в насыпи производится при помощи грунтоотборника (рис. 1), состоящего из нижней части с режущим кольцом и ударника.

Рис. 1. Грунтоотборник:

а - нижняя часть грунтоотборника; б - режущее кольцо (отдельно); в - ударник с подвижным грузом

При отборе пробы грунта на его зачищенную поверхность ставят грунтоотборник в собранном виде и ударником забивают его в грунт. Затем крышку и промежуточное кольцо нижней части отборника снимают, режущее кольцо окапывают, осторожно вынимают вместе с грунтом, грунт срезают ножом вровень с нижними и верхними краями кольца. Кольцо с грунтом взвешивают с точностью до одного грамма и объемный вес влажного грунта в насыпи определяют по формуле:

где G1 - масса кольца, г;

G2 - масса кольца с грунтом, г;

V - обжим кольца, см3.

Это испытание производится трехкратно.

Также трехкратно определяют влажность испытываемого образца грунта путем высушивания навески в 15 - 20 г, взятой из каждого кольца с грунтом, до постоянной массы.

Объемный вес скелета грунта насыпи определяется по формуле:

где Wвл. - весовая влажность грунта в долях единицы.

Полученный объемный вес скелета в насыпи сопоставляют с оптимальной плотностью этого же грунта. Коэффициент К, характеризующий степень уплотнения грунта в насыпи, определяют по формуле:

ПРИЛОЖЕНИЕ 3

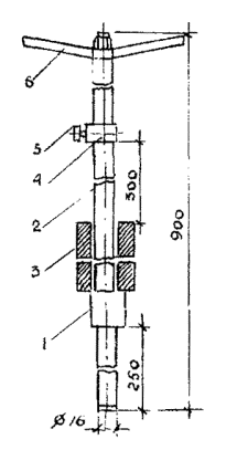
Динамический плотномер ДПУ «Кондор» универсальный для определения качества уплотнения грунта

1 Универсальный динамический плотномер ДПУ «Кондор» предназначен для оперативного контроля качества уплотнения грунта при строительстве автомобильных дорог, аэродромов и других инженерных сооружений.

2. Плотномер ДПУ применим в случаях песчаных, супесчаных и суглинистых грунтов, содержащих не более 25 % твердых частиц крупнее 2 мм.

3. При использовании настоящего плотномера для экспресс-контроля качества дорожно-строительных работ требуется, в соответствии со СНиП 2.06.03-85, не менее 10 % всех измерений проводить стандартными методами, в частности для грунтов - весовым способом с отбором проб кольцами (ГОСТ 5180-84).

Технические данные плотномера

Масса прибора в упаковке, кг                                                                   5

Масса груза, кг                                                                                            2,5

Высота падения груза, мм                                                                         300

Параметры заостренного стрежня:

l, мм                                                                                                              300

a, град                                                                                                          60

Глубина контролируемого слоя грунта, мм                                             100 - 300

Пределы измерения плотности                                                                 (0,84 - 1,02) Ку

Погрешность измерения плотности                                                         ± 0,01 Ку

Конструкция и подготовка к работе

Основу прибора ДПУ для контроля плотности грунта (рис. 1) составляет рабочая часть, в которую входят направляющая штанга (1) с рукоятью (2), перемещающийся по штанге груз (3) и наковальня (4), по которой наносятся удары падающего груза (3).

При контроле плотности грунта, в наковальню (4) вместо ограничителя завинчивается стержень с коническим наконечником (5).

Рис. 1. Прибор ДПУ для контроля плотности грунта

Контроль плотности грунта

1. Плотномер собирается согласно схеме (рис. 1), когда в наковальню завинчивается стержень с коническим наконечником.

2. Устанавливается вид применяемого грунта на основании определения гранулометрического состава (ГОСТ 12536-79) для несвязного грунта, а в случае связного грунта дополнительно и числа пластичности (ГОСТ 5180-84).

3. На контролируемом объекте разравнивается площадка размером не менее 30×30 см, посредине которой проводится первая пенетрация. Пенетрометр устанавливается строго вертикально к поверхности грунта и ударами гири стержень загоняется в грунт на глубину 10 или 20 см в зависимости от толщины отсыпанного слоя грунта. Затем стержень забивается уже с определением числа ударов на глубину 20 или 30 см. Для получения осредненного значения плотности пенетрация повторяется еще в двух-трех местах на расстоянии не менее 10 - 15 см от первоначального места зондирования.

4. Коэффициент уплотнения несвязных грунтов определяется по графику 1 по среднестатистическому из 3 - 4 определений, а для связных грунтов по графику 2.

В последнем случае, при возможном изменении влажности от оптимального значения, необходимо установить естественную влажность грунта путем высушивания образца в температурном шкафу (термостате) для получения более точных значений плотности. Влажность при этом должна выражаться в относительных величинах , где Wo - оптимальная влажность грунта, определенная по методу стандартного уплотнения СоюзДорНИИ.

График 1. Определение коэффициента уплотнения несвязных грунтов:

Песок средней крупности и крупный (1), песок пылеватый (2)

График 2. Определение коэффициента уплотнения супесей

СОДЕРЖАНИЕ

1. Общие положения. 1

2. Технология уплотнения грунта при обратной засыпке котлованов. 1

3. Технология уплотнения грунта при обратной засыпке пазух. 2

4. Технология уплотнения грунта при обратной засыпке траншей. 4

5. Технология уплотнения грунта после восстановительного ремонта подземных инженерных сетей в зоне проезжей части дороги. 8

6. Контроль качества уплотнения. 9

7. Требования безопасности. 9

8. Охрана окружающей среды.. 10

Приложение 1 Определение плотности грунтов методом зондирования с помощью удлиненного ударника. 11

Приложение 2 Контроль за уплотнением насыпи методом режущих колец. 12

Приложение 3 Динамический плотномер дпу «кондор» универсальный для определения качества уплотнения грунта. 13

 

 




ГОСТЫ, СТРОИТЕЛЬНЫЕ и ТЕХНИЧЕСКИЕ НОРМАТИВЫ.
Некоммерческая онлайн система, содержащая все Российские Госты, национальные Стандарты и нормативы.
В Системе содержится более 150000 файлов нормативно-технической документации, действующей на территории РФ.
Система предназначена для широкого круга инженерно-технических специалистов.

Рейтинг@Mail.ru Яндекс цитирования

Copyright © www.gostrf.com, 2008 - 2026