|
|
|
ПРАВИТЕЛЬСТВО МОСКВЫ РЕКОМЕНДАЦИИ Раздел 1 ОБЩИЕ ПОЛОЖЕНИЯ 2000
«Рекомендации по проектированию объектов малого предпринимательства в г. Москве. Раздел 1. Общие положения» разработаны ГУП МНИИТЭП при участии ГУП «Институт общественных зданий» Госстроя РФ в соответствии с техническим заданием, согласованным Департаментом поддержки и развития малого предпринимательства Правительства Москвы и Москомархитектурой. Руководитель разработки - М.С.Кривошеев (ГУП МНИИТЭП), исполнители - Л.И.Орлова (ГУП МНИИТЭП), А.М.Гарнец, Л.А.Смывина (ГУП ИОЗ). Редакционная комиссия: Ю.П.Григорьев (председатель), А.П.Зобнин, (Москомархитектура), В.К.Крышталев (Департамент поддержки и развития малого предпринимательства), В.А.Максименко, В.Ф.Савинкин, С.И.Прижижецкий (ГУП МНИИТЭП), Л.Ф.Страшнова (ГУП НИиПИ генплана г.Москвы). Согласованы с УГПС ГУВД г. Москвы, Департаментом поддержки и развития малого предпринимательства Правительства Москвы, Москомархитектурой. Подготовлены к утверждению и изданию Управлением перспективного проектирования и нормативов Москомархитектуры (Л.А.Шалов, Ю.Б.Щипанов). Утверждены и ведены в действие Указанием Москомархитектуры от 20.11.2000г., № 49. СОДЕРЖАНИЕ ВведениеВажнейшими условиями эффективности работы малого предприятия (далее МП) является правильное градостроительное размещение, формирование экономически и функционально оправданного планировочного решения. Допущенные в данных вопросах ошибки приводят к потери эффективности МП. Их устранение требует, как правило, весьма значительных финансовых затрат и не всегда практически осуществимо. В постановлении Правительства Москвы от 16.09.97 № 683 «О проектных предложениях по развитию малого предпринимательства в «спальных» районах города Москвы» отмечено, что предоставляемые помещения не в полной мере отвечают потребностям малого предпринимательства, требуют дополнительных затрат на приспособление, не всегда подходят под размещение малых производств по своему масштабу. Комплексный учет требований и условий при проектировании МП не менее важен, чем при проектировании крупных предприятий, тогда как существующая нормативно-методическая база строительного проектирования в целом ориентирована на крупные предприятия и не отражает специфики проектирования и строительства объектов малого предпринимательства. Рекомендации по проектированию объектов малого предпринимательства в г. Москве (далее Рекомендации) содержат - применительно к тематике конкретных разделов - положения по наиболее актуальным и важным вопросам проектирования МП, связанные с их типологической спецификой и учитывающие ошибки и упущения начального этапа проектирования объектов малого предпринимательства. В работе использованы ранее выполненные научным отделением ГУП МНИИТЭП исследования, а также примеры из отечественного и зарубежного практического опыта размещения МП, формирования архитектурно-планировочных, функционально-технологических и инженерных проектных решений. 1. ОБЩИЕ СВЕДЕНИЯ1.1. Критерии и виды деятельности МПСогласно статье 3 федерального закона «О государственной поддержке малого предпринимательства в Российской Федерации»* от 14.06.95 № 88-ФЗ установлено, что к МП относятся предприятия, в уставном капитале которых доля участия собственности Российской Федерации и субъектов Российской Федерации, муниципальной собственности, общественных и религиозных организаций, благотворительных и иных фондов не превышает 25%, доля, принадлежащая одному или нескольким физическим лицам, не являющихся субъектами малого предпринимательства, также не превышает 25%, средняя численность работников МП составляет: × в промышленности, строительстве и на транспорте - до 100 человек; × в научно-технической сфере и сельском хозяйстве - до 60 человек; × в оптовой торговле - до 50 человек; × в розничной торговле и бытовом обслуживании населения - до 30 человек; × в остальных отраслях и при осуществлении других видов деятельности - до 50 человек. * В столице действует также Закон г. Москвы «Об основах малого предпринимательства в Москве» от 28.06.98, №14. Малое предпринимательство развивается практически во всех отраслях экономики столицы. Примерный перечень видов деятельности МП, являющихся приоритетными для Москвы и соответствующими ее народнохозяйственной специализации, приведен в Приложении 1. Перечень составлен на основе Общероссийского классификатора видов экономической деятельности, продукции и услуг ОК-004, объединяет 650 основных видовых категорий МП по 43 отраслевым и 168 функционально-технологическим направлениям развития малого предпринимательства. 1.2. Структура РекомендацийУчитывая широкие отраслевые границы развития МП в Москве, в основу формирования структуры Рекомендаций положен принцип раздельного изложения двух групп положений: × общего и однотипного характера - распространяющихся на проектирование практически всех объектов малого предпринимательства и составляющих раздел 1 «Общие положения» (представлен настоящим выпуском): × частного характера - распространяющихся на проектирование отдельных объектов малого предпринимательства, имеющих для города особо важное значение и составляющих раздел 2 «Здания и помещения» (касающийся проектирования массовых и наиболее эффективных типов зданий и помещений для МП) и раздел 3 «Предприятия и учреждения» (касающийся функционально-планировочных и технологических вопросов проектирования конкретных видов МП). Разделы 2 и 3 формируются из отдельных тематических выпусков, состав и очередность разработки которых может уточняться по ходу развития документа. В полном виде структура Рекомендаций приведена в Приложении 2. 1.3. Область примененияРекомендации предназначены для использования проектными и инвестиционными организациями, отраслевыми и территориальными органами управления Правительства Москвы в качестве нормативно-методического дополнения к действующим градостроительным, строительным, противопожарным, санитарно-гигиеническим, технологическим нормам и правилам, сила действия которых не изменяется. Рекомендации рассчитаны также на руководителей МП, специалистов, интересующихся вопросами оптимизации развития малого предпринимательства, совершенствования проектирования и строительства МП. Положения Рекомендаций распространяются на проектирование вновь создаваемых и реконструкцию (перепланировку) существующих МП, их зданий, территорий и помещений в г. Москве независимо от организационно-правовой формы, отраслевой принадлежности и вида деятельности. Рекомендации могут применяться при проектировании субмалых предприятий*, которые, хотя и находятся вне законодательно установленных рамок малого предпринимательства, но имеют в силу своего масштаба много общего с МП в градостроительной и функционально-планировочной организации. Положения Рекомендаций не распространяются на МП мобильные, подземные, во временных павильонах, а также МП, применяющие труд лиц со сниженной работоспособностью, и участки трудовой деятельности на дому. Проектирование таких видов МП должно осуществляться по специальным заданиям на проектирование. * Субмалые предприятия - пространственно обособленные структурные единицы крупных и средних предприятий (или их составляющие), совпадающие с МП по численности персонала и площади помещений: филиалы, территориальные центры сервисного обслуживания, представительства и др. 2. ОСНОВНЫЕ ПРИНЦИПЫ РАЗМЕЩЕНИЯ МАЛЫХ ПРЕДПРИЯТИЙ2.1. Совместимость с окружающей городской средойПо условиям размещения в системе города различаются следующие группы МП (рис.1): 2.1.1. Группа А, включающая предприятия потребительского рынка и услуг (розничная торговля, общественное питание; услуги: бытовое обслуживание населения, услуги медицинские, оздоровительные, образовательные, досуговые, по ведению домашнего хозяйства, туристический бизнес и др.), не создающие для города особых санитарных и экологически проблем. Успешность работы данных предприятий целиком зависит от объема притока посетителей. Поэтому городские центры, планировочные и транспортные узлы, концентрирующие массовые потоки населения, являются наилучшими местами их расположения. Важным условием эффективного размещения МП в системе городских центров и узлов является учет потребительского спроса и уровня рыночной иерархии МП: × массовые типы предприятий, предлагающие повседневно необходимые товары и услуги, располагаются преимущественно в районных центрах; × предприятия, ориентированные на удовлетворение эпизодического, избирательного спроса, на эксклюзивный ассортимент товаров и услуг, - в системе общегородского центра (в примагистральных зонах, в городских узлах и специализированных центрах, в центральном ядре), как имеющего наилучшую транспортно-временную доступность. При этом не исключается размещение массовых типов МП - в качестве дополняющих и сопутствующих единиц обслуживания - в общегородском центре. Размещение МП, ориентированных на избирательный спрос, в районных центрах по условиям достаточности притока посетителей, как правило, нецелесообразно. 2.1.2. Группа Б, включающая предприятия коммерческой, правовой, информационной сферы, рекламного и издательского дела, страховой и проектно-конструкторской деятельности, по работе с недвижимостью, по финансовому посредничеству и др., являющиеся среди МП наиболее «чистыми» в санитарном и экологическом отношениях (хотя и несущими такую немаловажную для города проблему, как парковка машин). Рис. 1 Принципиальная схема распределения основных групп МП в системе функционально-планировочных образований
1) Согласно п.2.1.3. 2) Дополнительно к нормируемому уровню. Примечание: Нормируемые показатели по объектам торгово-бытового обслуживания распространяются также и на крупные предприятия Ареалы функционирования МП обычно распространяются на территорию всего города и внутри группы почти не ранжируются. Важнейшие общие требования - хорошая транспортно-временная доступность и градостроительная репрезентативность местоположения. Поэтому наиболее предпочтительно размещение таких МП в системе общегородского центра и прилегающих к нему территорий. × на жилой территории допускается размещение МП не выше V класса вредности* площадью до 200 кв.м. каждое при условии полной локализации возможных отрицательных воздействий производства на окружающую среду в границах помещения (участка) МП. Ограничены также суммарные объемы размещения: по микрорайону - до 50 человек при общей площади занимаемой территории до 0,5 га; по жилому району - до 500 человек при общей площади территории до 5,0 га; × на территориях многофункциональных и специализированных городских центров - МП не выше V класса вредности при условии полной локализации возможных отрицательных воздействий производства на окружающую среду в границах МП и в пределах суммарной численности работающих до 500 человек при общей площади занимаемой территории до 0,5 га; × в городских зонах общественной застройки - МП не выше V класса вредности при условии полной локализации возможных отрицательных воздействий производства на окружающую среду в границах МП и в пределах суммарной численности работающих до 10 тыс. человек при общей площади территории до 5,0 га; (на примагистральных территориях - до 0,5 га); × на территориях производственных и коммунальных зон - МП III-V классов вредности в пределах суммарной численности работающих до 10 тыс. человек и общей площади территории (до 200 га). * По классификации, установленной СанПиН 2.2.1/2.1.1-597-96 «Санитарно-защитные зоны и санитарная классификация предприятий, сооружений и иных объектов». 2.2. Опережающее развитие фонда помещений для МП2.2.1. Необходимым условием успешного развития малого предпринимательства (особенно в период его становления) является опережающее развитие фонда нежилых помещений для МП (далее фонда), т.к. превалирующая масса МП начинает свою деятельность не с возведения собственных зданий, а с отыскания и приспособления имеющихся нежилых помещений. Связывание на длительный срок значительных финансовых средств при их повсеместной недостаточности у МП, высокая плата за кредит (объективно большая, чем для крупных предприятий), дефицитность городских земельных ресурсов, градостроительная и экономическая неэффективность мелкообъемного строительства перед современными интегрированными формами - основные причины, ограничивающие ведение МП строительства собственных зданий. 2.2.2. В целях развития МП, обеспечения их необходимыми по размещению и планировке помещениями рекомендуется разработка Территориальных схем развития Фонда (ТСР). Для данной территории (округ, район) ТСР должна дать ответы на следующие главные вопросы: × состояние Фонда; × объем и структура (по типам) недостающих площадей; × их размещение в планировке и застройке данной территории; × предложения по механизму инвестирования развития Фонда. 2.2.3. ТСР рекомендуется разрабатывать в составе проектов планировки и застройки района (округа, планировочного образования), на основе действующих программ развития малого предпринимательства (городских, местных, отраслевых) с учетом максимального использования ресурсного и функционально-технологического потенциала данной территории для развития МП, обеспечивая минимизацию удельных затрат на развитие Фонда, повышение эксплуатационных качеств помещений на основе применения эффективных проектных решений. 2.2.4. Разработку ТСР целесообразно вести поэтапно: × Этап 1. Составление технического задания на разработку ТСР. × Этап 2. Сбор сведений и анализ развития малого предпринимательства и нежилых помещений для МП. × Этап 3. Формирование модели развития фонда. × Этап 4. Составление ТСР. 2.2.5. Примерное содержание этапов и принципиальная схема их взаимосвязи приведены на рис. 2. Рис. 2 Блок-схема разработки ТСР 2.2.6. ТСР разрабатывается как документ индикативного типа, из чего следует: × сроки реализации проектных решений определяются как прогнозные; × очередность и относительный порядок реализации проектных решений может уточняться с учетом складывающейся экономической конъюнктуры и инвестиционных возможностей. 2.2.7. ТСР рекомендуется разрабатывать с расчетным сроком реализации до 10 лет. Через 2-3 года отдельные положения ТСР целесообразно корректировать. 2.3. Пространственная концентрация МП2.3.1. При размещении МП рекомендуется предусматривать их концентрацию в функционально и планировочно значимых точках города. Примерами архитектурно организованной и неорганизованной концентрации МП в г. Москве могут служить «кусты» МП у станций метро, около крупных торговых предприятий и транспортных узлов. Зарубежный опыт дает, кроме того, примеры концентрации МП на районном уровне: вблизи крупных научных* и промышленных** центров. 2.3.2. В пространственной концентрации МП принципиальное значение имеет не сам факт сосредоточения предприятий в одном месте, а его роль в увеличение потоков посетителей с пропорциональным увеличением доходности; включении предприятий в кооперационные цепочки; в возможности применения экономичных интегрированных архитектурных решений с размещением на участках, обеспечивающих наилучшую пространственно-временную доступность; повышении «оживленности» и репрезентативности прилегающего пространства), что позволяет рассматривать сосредоточенную («кустовую») форму размещения МП как основную. * На территориях, прилегающих к научным центрам формируются так называемые «научные парки», привлекающие малый инновационный бизнес для проведения НИОКР и коммерсализации их результатов. Например, в окрестностях Кембриджа действует почти триста высокотехнологичных фирм, разрабатывающих и производящих электронно-вычислительную технику, системы прикладных программ, прецизионное измерительное оборудование, специальные приборы и инструменты в области биотехнологии, другую наукоемкую продукцию. Представление о масштабе «кустования» наукоемких МП говорит количество созданных «научных парков»: в Великобритании - 40, в Нидерландах - 45, в ФРГ -60. ** «Кустовые» образования из десятков и сотен МП сформировались, например, вокруг промышленных центров северной Италии с установлением технологических цепочек и кооперационных связей между МП и крупными предприятиями. Роль и место МП в таких цепочках можно видеть на примере одной из 80 мелких фирм мебельного профиля, действующих вокруг г. Лахти, деревообрабатывающего центра Финляндии. При численности работающих в 5 человек предприятие, оснащенное высокопроизводительным переналаживаемым оборудованием, является единственным в округе производителем деревянных ножек для мебели, поставляя их как мелким, так и самым крупным мебельным предприятия города. 2.3.4. Формирование состава МП в «кустовых» образованиях, даже при исходной заданности (например по ТСР), процесс перманентный, варьирующийся во времени под влиянием развития экономической и градостроительной ситуаций, действия большого числа факторов. 2.3.5. По составу МП различаются следующие типы «кустовых» образований: × специализированные, например, торговые, деловые, производственные; × многопрофильные (характерны для районных центров обслуживания); × функционально завершенные (характерны для центров обслуживания, формируемых в новых районах города); × функционально незавершенные (характерны для «кустовых» образований МП, создаваемых для доукомплектования сетей обслуживания населения в районах со сложившейся застройкой. 2.3.6. В зависимости от положения в системе планировочно-транспортного каркаса города рекомендуется придерживаться следующих направлений формирования состава МП в «кустовых» образованиях: × в районных центрах - сосредотачиваются преимущественно массовые типы предприятий группы А; × в центрах и транспортных узлах районного значения - предприятия группы А, рассчитанные на относительно избирательный потребительский спрос, а также некоторые предприятия группы Б и отдельные экологически «чистые» предприятия группы В; × в системе общегородского центра - предприятия группы А, рассчитанные на высокий избирательный потребительский спрос и группы Б. 2.3.7. В производственных и коммунальных зонах состав «кустовых» образований МП формируется с учетом их удаленности от жилой застройки и возможностей развития МП на базе установления хозяйственных связей с крупными близлежащими предприятиями *. * Направлениями установления таких связей являются: производство и сбыт полуфабрикатов, деталей, заготовок; оказание услуг по линии вспомогательного производства и технического обслуживания; использование побочных продуктов и отходов производства. 2.3.8. «Кустовые» образования МП могут принимать различные пространственные формы: компактную, линейную, расчлененную (рис. 3), располагаться в одном или в нескольких пространственных уровнях. 2.3.9. Общими принципами формирования планировочных решений «кустовых» образований МП, являются: × высокая плотность застройки; устройство «торговых» улиц с блокированным (без разрывов) односторонним или двусторонним размещением МП обслуживающего профиля; × разделение функциональных потоков, в первую очередь потоков посетителей и грузового автотранспорта; × создание развитой инженерной и планировочной инфраструктуры, включая обеспечение МП всеми необходимыми инженерными подводками, устройство автостоянок (отдельно для легкового и грузового транспорта), рекреации для посетителей, озеленение, установка указателей и других малых архитектурных форм**; ** Состав благоустройства, следует рассчитывать только на кратковременное пребывание посетителей. Зеленые насаждения предусматриваются в объеме, учитывающим реальные возможности ухода за ними. × обозреваемость «кустового» образования со стороны городских магистралей, визуальная «прозрачность» расположения отдельных предприятий; × применение (по градостроительным условиям) вертикального зонирования с размещением МП по обслуживанию населения на нижних уровнях, а офисов и производств - на вышележащих; × защитно-охранное обеспечение; применение ограждающих конструкций, малых архитектурных форм, элементов благоустройства в противовандальном исполнении. Примеры планировки «кустовых» образований приведены на рис. 4-6.
а Компактная б Расчлененная в Линейная Рис. 3 Схемы размещения «кустовых» образований МП на городских магистралях
Рис. 4 Принципиальные планировочные схемы
«кустовых» образований МП а, б «Кустовые» образование МП по обслуживанию населения 1 модули МП 2 хозяйственный бокс 3 «торговая улица» 4 автостоянка для посетителей МП 5 киоск 6 хоздвор 7 стоянка машин персонала МП в «Кустовое образование» МП производственного назначения 1 модули МП 2 многоэтажная стоянка;
а «Кустовое» образование в исторически сложившейся городской застройке б «Кустовое» образование в новом городском районе 1 модули МП 2 универсальный магазин 3 здание для офисов 4 «торговая улица» 5 автостоянка 6 хоздвор 7 подземный грузовой проезд Рис. 5 Примеры планировки «кустовых»
образований МП по обслуживанию населения.
1 модули МП 2 здание для офисов и учреждений обслуживания 3 автостоянка 4 территория промышленного района Рис. 6 Пример планировки «кустового» образования МП производственного
назначения в промышленном районе города. 3. ВЫБОР ТИПА ЗДАНИЯ, ПОМЕЩЕНИЯОсновными типами зданий и помещений для МП являются: × отдельные здания (на одно предприятие), в т.ч. пристраиваемые к зданиям иного назначения; × помещения, встраиваемые в здания иного назначения; × многомодульные здания (на группу МП «под одной крышей»). Данная классификация распространяется как на новое строительство, так и на реконструкцию (приспособление) существующих зданий и помещений. 3.1. Отдельные здания3.1.1. Отдельные здания применяются, как правило, для условий точечного размещения МП (п. 2.3.3.), имеющих общую площадь от 50-100 до 2000-3000 кв.м (рис 7-9). 3.1.2. Решение о строительстве отдельного здания для МП принимается на основе сопоставления преимуществ такого типа здания (большая свобода в организации функционально-технологических процессов, упрощение последующей продажи здания с целью получения прибыли, возможность поэтапного расширения предприятия на одной площадке) с его недостатками (худшие удельные технико-экономические показатели по расходу городских земель, стоимости строительства и эксплуатации) по сравнению со значительно более крупными зданиями многомодульного типа (раздел 3.3). Следует также учитывать, что здания малой площади (особенно до 100 кв.м) сравнительно быстро морально устаревают и трудно поддаются модернизации. Препятствием в достижении технико-экономической эффективности отдельных зданий МП, сопоставимой с многомодульными зданиями и размещением МП во встроенных помещениях, является малая площадь МП, не позволяющая назначать рациональные габариты зданий, повышать их этажность. 3.1.3. Для повышения эффективности точечного размещения МП целесообразно их блокирование со зданиями иного назначения, что подтверждается опытом возведения небольших 2-х этажных пристроек к торцам жилых домов во многих районах города для размещения предприятий обслуживания. При этом необходимо учитывать, что требования норм проектирования жилых зданий накладывают определенные ограничения на величину и функциональное назначение пристраиваемого МП. Рис. 7 Магазин промышленных товаров повседневного спроса торговой площадью 120 кв.м. Типовой проект IХ-26-7. МНИИТЭП а - фасад; б - план Рис. 8 Магазин по реализации отходов производства и изделий из них Типовой проект IХ-21-14Б. МНИИТЭП а - фасад; б - план
Рис. 9 Пекарня мощностью 2,4 т/12 час с торговым залом площадью 120 кв.м. Типовой проект ХIV-2 МНИИТЭП а - фасад; б - план
3.2. Помещения для встроенного размещения МП3.2.1. Помещения для встроенного размещения МП предусматриваются при проектировании жилых, общественных, производственных зданий, многофункциональных комплексов и иных строительных объектов, располагаемых в определенных, преимущественно узловых, точках городской территории. Встроенное размещение применяется, как правило, для МП площадью от 10-15 до 250-300 кв.м. 3.2.2. Помещения для встроенного размещения МП располагаются, как правило, на уровне первого этажа. Возможно также их размещение (в соответствии с действующими нормами) в цокольном, подвальном, верхнем этажах. Каждый из видов размещения имеет свои функциональные достоинства и недостатки (рис.10). В местах с высокой концентрацией пешеходно-транспортных потоков помещения для встроенного размещения МП могут занимать несколько нижних этажей «здания-носителя». 3.2.3. Формирование состава встраиваемых МП зависит от местоположения «здания-носителя», градостроительного ранга прилегающей территории, а также от функционального назначения «здания-носителя». 3.2.4. На жилых территориях превалирующим типом «здания-носителя» встроенных МП являются жилые здания. Применительно к строительству многоэтажных жилых домов массовых серий встраивание МП снимает проблему заселения первых этажей, не пользующихся спросом у населения, а также приближает к потребителю получение отдельных видов услуг. К встроенному размещению предприятий в жилых зданиях нормы проектирования предъявляют достаточно жесткие требования. Установленные нормативные параметры воздушной среды, шума, вибрации, уровня электромагнитных полей (ЭМП) таковы, что без осуществления специальных объемно-планировочных, конструктивных, инженерно-технических и технологических решений в жилые дома массовых серий могут встраиваться, в основном, предприятия обслуживания непроизводственного типа и офисы. Ряд нормативных ограничений к встраиванию МП в жилые здания касается требований пожарной безопасности, санитарно-гигиенических требований, режима работы, устройства и размещения загрузочных, технологического оснащения. Рекомендуемые типы МП по функциональному назначению в многоэтажных жилых зданий для массового строительства приведены на рис.11. Современные планировочные и инженерные решения обеспечивают возможность встраивания в жилые дома также отдельных «проблемных» МП (по шуму, вибрации, неприятным запахам и др.), обеспечивая соблюдение необходимых параметров жилой среды. Однако, осуществление таких решений (например, устройство подземной загрузки, прокладка через вышележащие этажи дополнительных вентиляционных каналов и др.) вызывает, как правило, значительное общее удорожание строительства. Рис. 10 Преимущества и недостатки размещения встроенных МП Рис. 11. Рекомендуемые типы МП в многоэтажных жилых зданиях для массового строительства 3.2.5. В узловых точках общегородского центра «зданиями-носителями» МП могут быть не только жилые, но и общественные здания: гостиницы, поликлиники, объекты культуры, здания проектных и административных учреждений, многофункциональные комплексы и другие объекты. 3.3. Многомодульные здания3.3.1. Многомодульные здания - особая форма пространственной концентрации МП, предусматривающая предоставление предприятиям необходимых им площадей в виде функционально автономных модулей (помещений, блоков, секций и др.), интегрированных в единый крупный многоэтажный или одноэтажный строительный объем. Различаются многомодульные здания малой площади (300-2000 кв.м), средней (2000-5000 кв.м), крупной (5000-10000 кв.м), сверхкрупной (более 10000 кв.м). 3.3.2. Многомодульные здания являются приоритетным типом зданий для МП. В силу своего масштаба они значительно экономичнее отдельных мелких зданий в строительстве, в эксплуатации, по расходу городских земель и, как следствие этого, характеризуются более низкими ставками арендной платы, что имеет немаловажное значение для рентабельности бизнеса. Высокая интенсивность использования территории, выразительный внешний вид оправдывают размещение многомодульных зданий на самых престижных точках транспортно-планировочного каркаса города, что также имеет большое значение для МП. На единицу площади многомодульных зданий приходится многократно меньшая поверхность наружных ограждений, чем у мелких отдельных зданий, что уменьшает стоимость строительства и затраты на отопление. Такие здания лучше приспособлены для применения эффективных систем управления отопительно-вентиляционным оборудованием, вторичного использования тепла, что отвечает проводимой политике по экономии энергии и водных ресурсов. Интенсивность использования территории при строительстве отдельных зданий составляет в среднем 0,3-0,4 тыс.кв.м общей площади/га, тогда как в многомодульных зданиях она как минимум в 2 раза больше. В отдельных случаях она может достигать 40-50 тыс.кв.м/га. Преимуществом многомодульных зданий, значение которого постоянно возрастает, является возможность обеспечения МП на экономичной, кооперированной основе комплексом деловых услуг (включая услуги секретаря, доступ в Интернет), предоставление помещений для переговоров, выставок, других общих вспомогательных помещений. 3.3.3. Многомодульные здания различаются по назначению (составу МП), функционально-планировочной структуре, этажности и по ряду других параметров. Примеры отдельных типов многомодульных зданий - по рис. 12-15. 3.3.4. Базовым принципом формирования состава МП в многомодульных зданиях является функциональная совместимость предприятий, исключение серьезных отрицательных воздействий со стороны одних предприятий на работу других. 3.3.5. В соответствии с принципом функциональной совместимости выработались следующие типы многомодульных зданий по составу МП: (а) специализированные и многофункциональные комплексы торгово-бытового обслуживания - для предприятий группы А; (б) «бизнес-центры»* - для предприятия(тий) группы Б; (в-1) «техноцентры»** - для предприятия(тий) группы В инновационного профиля; (в-2) многомодульные производственные здания - для предприятий группы В промышленного, ремесленного и складского типов; (г) «бизнес-инкубаторы»*** - для размещения предприятий различных групп на ограниченный период (обучение, становление деятельности). * «бизнес-центры» - здания и комплексы зданий, характеризующиеся развитым составом помещений и служб, связанных с обеспечением деловой деятельности, и высоким уровнем предоставляемых услуг. ** «техноцентры» - здания и комплексы зданий, оборудованные специальными инженерными системами для проведения НИОКР и имеющие службы и помещения поддержки деловой деятельности. *** «бизнес-инкубаторы» - здания и комплексы зданий, имеющие помещения для обучения предпринимательству (повышения квалификации), а также помещения для размещения МП, предоставляемые, как правило, на льготных условиях и3 период их становления (1-2 года). 3.3.6. Под влиянием ряда факторов может оказаться целесообразным создание многомодульных зданий с углубленной специализацией состава МП. Например, размещение в многомодульном здании предприятий по производству продуктов питания полностью исключает размещение в этом здании каких-либо иных предприятий. Другими причинами, побуждающими к углублению специализации состава МП могут быть, например, целесообразность установления кооперационных и технологических цепочек между предприятиями, усиление торговой гравитации (что, например, наблюдается, в создании специализированных центров по торговле строительными материалами, одеждой, бытовой техникой). Рис. 12 Многомодульное здание для офисов и предприятий «хай-тек» Предпроектное предложение НИиПИ генплана г. Москвы для района Марьино а Фасад б План типового этажа 1 - модули для офисов; 2 - модули для предприятий «хай-тек»; 3 -вспомогательные помещения; 4 - техническое помещение; 5 - секретарь; 6 - буфет; 7 - туалет; 8 - бытовые помещения
Рис. 13 Многомодульное здание «Центр ремесел».
Рис. 14 Здание для офисов на 1000 работающих. а Фасад; б План типового этажа
Рис. 15 Многомодульное здание офисного типа со встроенными МП по
обслуживанию населения и жилыми помещениями на верхнем уровне (Англия) 1 модуль для МП торгово-бытового назначения 2 модуль для офисов 3 складской модуль 4 гаражный бокс 5 хоздвор 6 жилое помещение 7 загрузочная площадка 8 зона транспортировки грузов 9 вход в офисы 10 рампа
Рис. 15 Многомодульное здание для малых промышленных предприятий (Англия) а - общий вид; б - план 5 этажа; в - план 3 и 4 этажей; г - план 2 этажа; д - план 1 этажа 1 - модуль для МП 2 – санузел 3 - вспомогательное помещение 4 - электрощитовая
3.3.7. Не исключается размещение в многомодульных зданиях некоторых непрофильных групп МП. При соответствующем техническом решении и градостроительном обосновании в нижние этажи зданий типов (б) и (в-2) могут встраиваться МП торгово-бытового обслуживания. В целях создания новых рабочих мест по месту жительства, повышения интенсивности использования городских земель возможно использование верхних этажей зданий типа (а), создаваемых в районных центрах, для размещения отдельных «чистых» МП производственного типа. Небольшие «бизнес-инкубаторы» могут встраиваться в многомодульные здания всех типов, в т.ч. с целью использования находящиеся там МП в качестве учебно-демонстрационной базы. 4. ОСОБЕННОСТИ ФОРМИРОВАНИЯ ФУНКЦИОНАЛЬНО-ПЛАНИРОВОЧНОЙ СТРУКТУРЫ МП4.1. Сокращение основных и вспомогательных функциональных процессов4.1.1. Общей чертой эффективно работающих МП является сокращение по сравнению с крупными предприятиями основных и вспомогательных функциональных процессов, связанное с обеспечением рационального использования технологического оборудования, рабочего времени персонала, площади помещений, а также с развитием специализации МП*, их вовлечения в систему контрактинга, предусматривающего договорную поставку широкой номенклатуры необходимых конкурентоспособных услуг и продукции (обычно полуфабрикатов и деталей) от других предприятий**. * Например, в системе общественного питания - это разного рода кафе-закусочные, работающие с использованием полуфабрикатов и готовых продуктов. В промышленности данная тенденция проявляется в развитии МП с предметной, подетальной и функциональной специализацией. ** Пример формирования основных функциональных процессов на МП, работающих в системе контрактинга показывает финская фирма «Хунекалутуоте» (70 человек), специализирующаяся на производстве мягкой мебели (диваны и кресла). На фирме осуществляется всего три группы целевых процессов: 1) дизайн и конструирование, 2) раскрой обивочного и подстилающего материала и 3) сборка. Все элементы и детали производят по чертежам фирмы предприятия-поставщики, которых у фирмы более ста. 4.1.2. В управлении МП упраздняются промежуточные звенья, многие управленческие функции совмещаются. Например, на МП производственного типа с числом занятых порядка 100 человек функции управления осуществляют, как правило 8-10 человек: руководитель МП, заместитель по экономике и финансам, технический руководитель (главный инженер), заместитель по организации и планированию производства, по общим вопросам, по снабжению и сбыту, руководители участков (2-4 мастера); на МП из 10 человек - 1-2 человека (не считая бухгалтера). 4.1.3. В зависимости от величины МП отдельные виды обслуживания персонала, за исключением санитарно-гигиенического, предусматриваются в сокращенном виде (питание в комнатах приема пищи) или не предусматривается совсем (медицинское обслуживание, обучение). 4.1.4. Сокращаются или исключаются процессы по ремонту и техническому обслуживанию оборудования и инженерно-технических систем, по транспортному обслуживанию, по изготовлению тары, технологической оснастки и др. Эти функции обычно осуществляются специализированными обслуживающими фирмами (чаще всего это также МП). 4.1.5. При размещении МП в многомодульных зданиях ряд их функций может перейти к общим вспомогательным службам: общественного питания, санитарно-гигиенического обслуживания, технического сопровождения функций управления (услуги секретаря, переговорные и др.). Применительно к малым магазинам такая возможность показана на рис.17, а в общем виде - на рис.18. 4.2. Пространственная интеграция функциональных процессов4.2.1. Характерной особенностью рациональной функционально-планировочной структуры МП является компактность, в т.ч. на основе сокращения функциональных процессов (разд.4.1.) и, в особой степени, - пространственной интеграции этих процессов, совмещения отдельных функций в одном помещении (основное производство, место руководителя, хранение одежды персонала и др.) или в блоках помещений (санитарно-гигиенический блок - уборная совместно с душевой кабиной, умывальной, курительной и др.), рис.19. 4.2.2. Интегрируются в первую очередь процессы малой интенсивности, для которых создание мелких помещений невыгодно экономически и неудобно с точки зрения эксплуатации. Причинами, побуждающими к размещению в общем помещении различных функциональных процессов, могут быть требования непосредственного наблюдения и контроля, необходимость более оперативной связи между процессами, условия освещения и вентиляции и т.п. Рис. 17 Планировочные схемы магазина игрушек с торговым залом площадью 50 м2 а При изолированном размещении б При размещении по типу «магазин в магазине» 1 Торговый зал 2 Касса 3 Зона хранения и подготовки товаров к продаже 4 Комната персонала 5 Уборная 6 Витрина 7 Тамбур Рис. 18 Примерные схемы инфраструктурного обеспечения МП в многомодульном и отдельном зданиях Рис. 19. Примеры пространственной интеграции функциональных процессов МП а Дизайн-бюро. США 1 - вестибюль; 2 - секретарь; 3 - переговорная/обеденное помещение; 4 - кухня; 5 - туалет; 6 - рабочая комната дизайнеров; 7 - руководитель; 8 - кладовая б
Продовольственный магазин-кафе «бистро». 1 - магазин; 2 - обеденный зал; 3 - кухня; 4 - административное помещение; 5 - холодильная камера; 6 - кладовая; 7 - витрина
4.2.3. Рекомендуется размещать в общем помещении функциональные процессы следующих видов: а) однотипные основные процессы; б) разнотипные основные процессы одной и той же санитарной группы и взрыво-пожароопасной категории; в) основные непроизводственные процессы и хранение уличной одежды в закрытых шкафах; г) основные производственные процессы (относящиеся по санитарной характеристике к группам 1а, 1б, за исключением пожаро- и взрывоопасных производств категорий А и Б) и хранение уличной и рабочей одежды в закрытых шкафах установленного типа при численности работающих до 20 человек; д) холлы, обеспеченные пожарными эвакуационными выходами, и: - хранение уличной и рабочей одежды в закрытых шкафах при общем числе мест хранения до 20 для МП без производства и с производствами, относящимися по санитарной характеристике к группам 1а, 1б; - буфеты самообслуживания - до 20 мест; - рабочее место секретаря (до двух мест). В зоне видимости секретаря целесообразно предусматривать хранение уличной одежды персонала и посетителей в открытых альковах на вешалах; е) целевые непроизводственные процессы (за исключением связанных с непосредственным обслуживанием или приемом посетителей) и буфеты самообслуживания (до 10 мест), которые следует отделять от рабочих мест экранами или группами декоративных цветов); ж) «чистое» и «грязное» гардеробное обслуживание (до 15 человек в максимальную смену на производствах, относящихся по санитарной характеристике к группам II и IIIа) с взаимно противоположным расположением закрытых шкафов с «чистой» и «грязной» одеждой; 4.2.4. Места для кратковременного отдыха (кресла, секции диванов) предусматриваются в буфетах самообслуживания, холлах (вестибюлях), также в специально выделенных зонах при рабочих местах из расчета одно место на 10 работающих в максимальную смену. 4.2.5. Уборные рекомендуется предусматривать, как правило, со шлюзами, используемыми для установки умывальников и для курения. 4.2.5. В МП с производственными процессами 1а, 1б, II рекомендуется объединять уборные, умывальные, закрытые душевые кабины (до 4-х) в общие блоки. 4.2.6. Могут быть использованы другие возможности планировочного интегрирования функциональных процессов, в т.ч. с не совпадающими санитарными и гигиеническими параметрами внутренней среды, по согласованию с Центром Госсанэпиднадзора в г. Москве и УГПС ГУВД г. Москвы, учитывая возможность применения технических и планировочных мероприятий по снижению уровня возможных отрицательных воздействий. Например, в небольших прачечных процессы стирки, отжима, сушки, глажения и мелкого ремонта белья располагаются обычно в общем помещении, не вызывая неудобств, хотя эти процессы и относятся к различным санитарным группам. 4.2.7. Функциональные процессы, являющиеся источниками шума, вибрации, выброса в атмосферу вредных и пахнущих веществ, с большими выделениями тепла, пыли, влаги, пожаро- и взрывоопасные и др., должны быть отделены от остальных функциональных процессов. 4.2.8. Для создания компактной планировки следует рационально использовать не только площадь пола, но и весь объем помещений, применять приемы хранения материалов, изделий, документации и т.п. на всю высоту помещения: по ярусам, на антресолях, в штабелях. 4.3. Гибкость планировки4.3.1. Важнейшим качеством планировки МП является ее гибкость (трансформируемость), быстрая приспособляемость к новым функциональным требованиям и с наименьшими затратами. Диапазон функциональных изменений, отражающихся на планировке МП, весьма широкий: от замены отдельных единиц оборудования до полной смены профиля предприятия, что вызывает соответствующие изменения в составе, площади и расположении помещений, параметрах их микроклимата, а в отдельных случаях, при соответствующих обоснованиях, и в строительных конструкциях и инженерном оборудовании. 4.3.2. При благоприятных условиях развития отдельные МП переходят в категорию средних и крупных предприятий (опыт создания и развития таких фирм, как «Sony», «Аррlе», «Intel», «Compaq» подтверждает такую возможность), при неблагоприятных - некоторая часть МП прекращает свое существование (до 10% от общей численности в год) при одновременном появлении новых МП. Связанный с этим переход помещений от одних предприятий к другим сопряжен с материальными затратами, выведением помещений из режима эксплуатации на период работ по приспособлению под новые функции. Учитывая, что преобладающая часть закрытий МП приходится на начальный период их развития (до 2-3-х лет с начала деятельности), а малое предпринимательство в России само в целом находится в стадии формирования, повышение планировочной гибкости объектов малого предпринимательства является реальной мерой по сокращению безвозвратных материальных затрат на перепланировку помещений, по снижению общего дефицита площадей для МП. Рис. 20 Виды переставных внутренних ограждений для разделения пространства в общем помещении 4.3.3. Для создания гибкой (т.е. легко и быстро трансформируемой) планировки конкретного МП важно установить на предпроектной и проектной стадиях какие именно функциональные изменения могут реально возникнуть на данном объекте в обозримом будущем. Независимо от функциональной специфики объектов общими принципами гибкой планировки являются: × оптимальные шаги и пролеты опорных несущих конструктивных элементов и минимальное количество стационарных перегородок; × применение легких сборно-разборных перегородок, а где это функционально допустимо - экранов, барьеров, элементов мебели, цветников, дающих ощущение изолированности, за счет которых при необходимости всегда можно легко трансформировать помещение (рис.20); × объединение структурообразующих элементов - лестниц, лифтов, основных каналов вертикальных инженерных коммуникаций, санитарно-гигиенических помещений и др. - в компактные блоки (зоны); × возможность вариативной планировки помещений (от кабинетной до зальной) на основе указанных выше приемов, а также соответствующего расположения основных коммуникационных элементов (входов, лестниц, лифтов, загрузочных); × гибкое решение электрических и санитарно-технических систем, предусматривающее равномерное расположение в рабочих зонах выводов силовых линий, а также каналов вентиляции, водоснабжения и канализации, обеспечение возможности переустановки технологического и установки дополнительного инженерного оборудования. 5. ТРЕБОВАНИЯ К СТРОИТЕЛЬНЫМ ПАРАМЕТРАМ ЗДАНИЙ5.1. Строительные параметры зданий (помещений) для МП (высота этажа, шаги и пролеты несущих конструкций, нагрузки на конструкцию пола определяются заданиями на проектирование с учетом характера производственных процессов, применяемого оборудования и требований норм проектирования соответствующих типов зданий и помещений. 5.2. Для целей предпроектных разработок рекомендуется различать следующие основные группы МП*. Рекомендуемая высота этажа - 3,0 м. Высоту помещений встроенных в жилые здания, согласно МГСН 3.01-96, п.3.37 допускается принимать равной высоте жилых помещений. По условиям организации функциональных процессов возможно применение практически любой конструктивной схемы, в т.ч. панельных - с широким и узким шагом (до 3 м). 5.2.2. Предприятия, с рабочими местами площадью 6-5 м2 в нормативной нагрузкой на конструкцию пола до 6,0 КПа (торговля, общественное питание, бытовое обслуживание, техническое обслуживание и ремонт оргтехники, отдельные промышленные предприятия: швейные, текстильно-галантерейные, художественных промыслы, изготовление печатей, декоративно-оформительские работы, «отверточные» производства и др.). Рекомендуемая высота этажа - 3,0 м (по условиям вентиляции может быть увеличена до 3.3-3,6 м). Особенностью предприятий является применение напольных тележек для перевозки грузов, наличие при рабочих местах площадей оперативного хранения. Отдельные единицы оборудования нередко составляются в крупные на плане блоки, а сам функциональный процесс часто имеет поточную организацию. Поэтому для таких предприятий следует применять каркасную конструктивную схему с сеткой колонн не менее 6х6 м; возможно и применение панельных систем, но с шагом не менее 6 м. 5.2.3. Предприятия, с рабочими местами площадью 15-20 м2 и нормативной нагрузкой на конструкцию пола 6,0-10,0 КПа (по производству различной мелкой утвари из кожи, дерева, металла, по ремонту крупногабаритной бытовой техники, мини-типографии, научное приборостроение, предприятия по приготовлению салатов, закусок, полуфабрикатов для системы общественного питания булочно-кондитерские, и др.). Требуемая высота этажа - 3,3-3,6 м*. Пространственная конфигурация производственного процесса диктует применение только каркасной конструктивной схемы, с сеткой колонн 6х6, 9х6 м. * По пп. 5.2.1.-5.2.4. указана высота этажа «от пола до пола» или от пола до верхней отметки несущей конструкции покрытия. По п. 5.2.5. указана высота помещения от пола до низа несущей конструкции покрытия (перекрытия). 5.2.4. Предприятия с рабочими местами площадью 20-30 м2 и нормативной нагрузкой на конструкцию пола 10,0-25,0 КПа (изготовление строительных столярных изделий, мебели, изделий из пластмасс, типографии, картонажные производства; изготовление фурнитуры, метизов, комплектующих деталей из металла, художественная керамика, оптовые склады, производство мясных и рыбных продуктов, фасовочные производства и др.). В производственных помещениях устанавливается достаточно мощные вентиляционные системы, в т.ч. местные отсосы. Для перемещения грузов применяются не только тележки, но и тельферы, штабелеры. Поэтому требуемая высота этажа - не менее 4,2-4,8 м. Конфигурации производственных процессов отвечает применение укрупненной сетки колонн 9х6 и 12х6 м. Производственные процессы характеризуются применением тяжелого оборудования. В качестве подъемно-транспортных средств используются электропогрузчики, кран-балоки и др. Требуемая высота этажа - 4,8-6,0 м и выше. Сетка колонн – 12х6, 18х6. 6. ИНЖЕНЕРНОЕ ОБЕСПЕЧЕНИЕ6.1. МП обеспечиваются хозяйственно-питьевым, противопожарным и горячим водоснабжением, канализацией, отоплением, вентиляцией, электрооборудованием, электроосвещением, а также (по заданию на проектирование) - водостоками, кондиционированием воздуха и аварийной противодымной вентиляцией. 6.2. Инженерное оборудование объектов малого предпринимательства проектируется с учетом их назначения и в соответствии с действующими строительными нормами и правилами, СанПиН, нормами пожарной безопасности, включая: × СНиП 2.04.01-85 «Внутренний водопровод и канализация»; × СНиП 2.04.05-91* «Отопление, вентиляция и кондиционирование»; × СНиП 2.04.09-94 «Пожарная автоматика зданий и сооружений»; × СНиП 2.01.02- «Противопожарные нормы»; × МГСН 2.01-99 «Энергосбережение в зданиях»; × ВСН 59-88 «Электрооборудование жилых и общественных зданий»; × ПУЭ; × СНиП и МГСН по видам зданий. 6.3. Дополнительные требования по инженерному оборудованию объектов малого предпринимательства устанавливаются в задании на проектирование. Приложение 1Примерный перечень видов деятельности МП в г. МосквеРазработан на основе «Общероссийского классификатора видов экономической деятельности, продукции и услуг» ОК-004 Содержание А. Озеленение и лесопарковое хозяйство D. Обрабатывающая промышленность Н. Гостиницы и общественное питание I. Услуги транспорта, складского хозяйства и связи К. Операции с недвижимым имуществом и арендой; деятельность исследовательская и коммерческая N. Здравоохранение и социальные услуги О. Услуги коммунальные, информационные, досуговые Р. Услуги по ведению домашнего хозяйства
Приложение 2
Структура
|
|||||||||||||||||||||||||||||||||||||||||||||||||||||||||||||||||||||||||||||||||||||||||||||||||||||||||||||||||||||||||||||||||||||||||||||||||||||||||||||||||||||||||||||||||||||||||||||||||||||||||||||||||||||||||||||||||||||||||||||||||||||||||||||||||||||||||||||||||||||||||||||||||||||||||||||||||||||||||||||||||||||||||||||||||||||||||||||||||||||||||||||||||||||||||||||||||||||||||||||||||||||||||||||||||||||||||||||||||||||||||||||||||||||||||||||||||||||||||||||||||||||||||||||||||||||||||||||||||||||||||||||||||||||||||||||||||||||||||||||||||||||||||||||||||||||||||||||||||||||||||||||||||||||||||||||||||||||||||||||||||||||||||||||||||||||||||||||||||||||||||||||||||||||||||||||||||||||||||||||||||||||||||||||||||||||||||||||||||||||||||||||||||||||||||||||||||||||||||||||||||||||||||||||||||||||||||||||||||||||||||||||||||||||||||||||||||||||||||||||||||||||||||||||||||||||||||||||||||||||||||||||||||||||||||||||||||||||||||||||||||||||||||||||||||||||||||||||||||||||||
|
Рекомендации по проектированию объектов малого предпринимательства |
|||||
|
Раздел 1 |
ОБЩИЕ ПОЛОЖЕНИЯ |
||||
|
Состав глав раздела: |
Краткое содержание раздела: |
||||
|
1. Критерии малого предприятия. Порядок предоставления и использования помещений, зданий и земельных участков для размещения малых предприятий. 2. Размещение объектов малого предпринимательства (далее - ОМП в системе города 3. Типы зданий и помещений для малых предприятий 4. Основные функционально-планировочные элементы малых предприятий 5. Требования к инженерному обеспечению и оборудованию 6. Конструктивные параметры зданий и помещений |
Раздел содержит базовую справочную информацию по основным вопросам проектирования ОМП, а именно: · размещение малых предприятий различных типов в жилой и коммунальной зонах с учетом требований экологии, градостроительной иерархии, транспортных связей, выявления резервов территории и возможности приспособления существующих зданий и помещений выводимых (закрывающихся) предприятий для размещения ОМП; · типы зданий и помещений для малых предприятий; · формирование состава и габаритных характеристик функционально-планировочных элементов ОМП (основные рабочие, складские и санитарно-бытовые помещения, контактные зоны с посетителями, помещения управления, коридоры, рампы и др.); · требования к инженерному обеспечению ОМП; · назначение конструктивных параметров зданий ОМП; · систематизированное описание порядка и условий обустройства ОМП с приведением (в приложении) соответствующих нормативных актов, принятых Правительством Москвы; · перечень функционально-отраслевых групп малых предприятий |
||||
|
Рекомендации по проектированию объектов малого предпринимательства |
|||||
|
Раздел II |
ЗДАНИЯ И ПОМЕЩЕНИЯ |
||||
|
Состав выпусков: (уточняется перечнями НИОКР Москомархитектуры по согласованию с Департаментом поддержки и развития малого предпринимательства) |
Краткое содержание выпусков: |
||||
|
Выпуск II-1 Помещения для малого предпринимательства в жилых домах массовых серий |
· размещение жилых зданий с нежилыми помещениями в планировочной структуре района, квартала; планировка прилегающего участка (подъезд, загрузка, стоянки; установка рекламы); · границы типов малых предприятий, размещаемых в нежилых помещениях жилых зданий массовых серий, с учетом соблюдения нормативных требований, а также конструктивных решений и инженерного оборудования конкретных типов зданий (в т.ч. при применении дополнительных технических решений); · схемы компоновки помещений (в т.ч. с учетом реконструктивных работ в возведенных зданиях); состав помещений и планировочные решения отдельных массовых типов предприятии; · требования к инженерному оборудованию |
||||
|
Выпуск II-2 Многомодульные здания. (Деловые центры, инкубаторы малого предпринимательства, техноцентры) |
· виды многомодульных зданий и области их применения; · размещение многомодульных зданий в системе города; · формирование состава предприятий; · формирование состава помещений социально-бытовой и инженерной инфраструктуры; · формирование функционально-планировочных решений. Состав и размерные характеристики модулей. Примеры эффективных проектных решений многомодульных зданий; · требования к инженерному оборудованию |
||||
|
Рекомендации по проектированию объектов малого предпринимательства |
|||||
|
Раздел III |
ПРЕДПРИЯТИЯ И УЧРЕЖДЕНИЯ |
||||
|
Состав выпусков: (уточняется перечнями НИОКР Москомархитектуры по согласованию с Департаментом поддержки и развития малого предпринимательства) |
Краткое содержание раздела: |
||||
|
1 |
2 |
||||
|
Выпуск III-1 Малые объекты медицинского обслуживания населения Выпуск III-2 Малые учебно-воспитательные учреждения. Курсы Выпуск III-3 Малые предприятия розничной торговли Выпуск III-4 Малые предприятия общественного питания Выпуск III-5 Малые предприятия бытового обслуживания Выпуск III-6 Малые досуговые предприятия Выпуск III-7 Малые офисы Выпуск III-8 Художественные промыслы и ремесла. Творческие мастерские и студии Выпуск III-9 Малые предприятия по производству продуктов питания Выпуск III-10 Малые предприятия по деревообработке и Производству мебели |
· функционально-технологические и размерные границы предприятий данного вида деятельности; · типологическая характеристика предприятий (воздушная среда, шум, вибрация, уровень ЭМП, пожароопасность, грузооборот, инженерные нагрузки и др.); · размещение предприятий в системе города. На основе учета типологических характеристик предприятий даются рекомендации по их размещению в системе функционального зонирования и транспортных связей города, по планировке прилегающих территорий; · применение рациональных типов зданий и помещений для размещения предприятий; укрупненные технико-экономические показатели основных применяемых типов зданий и помещений; · формирование состава и площади помещений предприятий; даются предложения и приводятся примеры интегрированной компоновки функционально-планировочных элементов (без выделения ряда элементов в отдельные помещения) для нижнего размерного ряда предприятий; · требования к планировочному решению предприятия; выявление рациональных планировочных схем на основе анализа проектных решений; · требования к конструктивным решениям и внутренней отделке; · инженерное оборудование |
||||
3.1. Минимальные размеры офисных рабочих мест (м)
а «конторка» в производственном помещении
б мастер
в специалист
г руководитель
д секретарь


3.2. Размеры мебели и проходов в офисном помещении (мм)

3.3. Основные типы и размеры гардеробного оборудования (мм)
а Гардероб открытого хранения уличной одежды с индивидуальными шкафчиками на 10 мест
б Секционные шкафы для закрытого хранения уличной одежды на 3, 2, 1 место
в Гардеробная стойка передвигающаяся для хранения уличной одежды на 10-12 мест
г Гардеробная стойка на 6-10 мест
д Вешалки-кронштейны на 10 и 4 места
е Шкаф комбинированный с отделением для закрытого хранения уличной одежды на 3 места
ж Гардероб открытого хранения уличной и рабочей одежды с индивидуальными шкафчиками на 10 мест
з Секционные шкафы для закрытого хранения уличной и рабочей одежды на 3 и 2 места

3.4. Оборудование и планировка обеденных помещений
а Расстановка столов и ширина проходов (мм)
б Обеденное помещение с кухней-стенкой
в Обеденное помещение с изолированной кухней

г Кухня-стенка для обеденного помещения на 16 п.м. (мм)
1 - индивидуальные шкафчики; 2 - стаканы; 3 - горячая вода; 4 -кофе; 5 - чистая посуда; 6 - приспособление для раскупоривания бутылок; 7 - бумага; 8 - холодильник; 9 - приборы; 10 - раковины; 11 - пустая посуда; 12- охлаждаемое отделение; 13 - отбросы; 14 -холодильный агрегат; 15 - салфетки; 16 - использованная посуда

3.5. Схемы организации производственных процессов
|
«СИСТЕМА МАСТЕРСКИХ» |
|
|
Производственный процесс не имеет стационарной пространственной организации. Передвижения персонала, материалов, продукции по типу «взад-вперед». |
|
|
Применение: |
|
|
предприятия по ремонту малогабаритных изделий, творческие художественные мастерские (ковка, керамика) и др. |
|
|
ПРОЦЕСС СО СТАЦИОНАРНЫМ ПОЛОЖЕНИЕМ ИЗДЕЛИЯ |
|
|
Основная часть производственного процесса происходит без изменения (или с небольшими изменениями) положения изделия. В процессе работы к изделию подносят необходимые материалы, инструменты, механизмы. |
|
|
Применение: |
|
|
мастерские по выполнению монументальных художественных работ, предприятия по ремонту крупногабаритных изделий. |
|
|
«ГРУППОВАЯ ОРГАНИЗАЦИЯ» |
|
|
Однотипные процессы и оборудование группируются и пространственно фиксируются по функциональному признаку в виде участков, отделений, линий. |
|
|
Применение: |
|
|
предприятия с относительно замкнутым технологическим циклом, производящие продукцию крупными партиями. |
|
|
ПОТОЧНАЯ ЛИНИЯ |
|
|
Оборудование и рабочие места размещаются по ходу изготовления продукции. |
|
|
Применение: |
|
|
предприятия, специализирующиеся на сборке (реже производстве) однотипной продукции крупными партиями. |
3.6. Оборудование складских помещений
а Основные
виды оборудования (мм)
1 - стеллаж; 2 - шкаф

б Размеры проходов (мм)
|
|
ручная загрузка |
|
ручная загрузка с использованием подставки |
|
|
ручная загрузка с использованием тележки ручной |
|
|
загрузка с использованием вильчатого погрузчика |
|
|
установка грузов на поддонах с использованием ручной тележки с гидроподъемом |
3.7. Оборудование для уборки мусора и сбора непищевых отходов (мм)
а Контейнер для сбора отходов и ветоши
б Мусоросборник с мешком из полиэтилена
в Комбинированный шкаф с отделением для мусоросборника

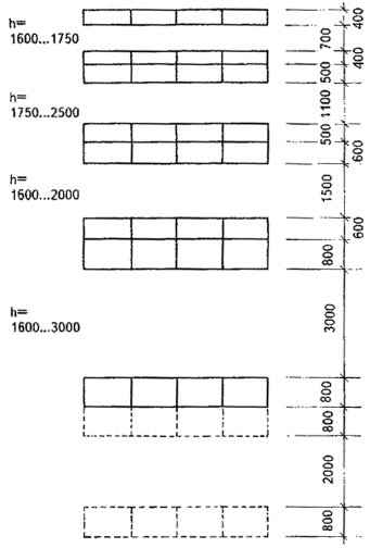
3.8. Функциональные требования к габаритам коридоров (мм)


использование малых ручных тележек

использование вилочного погрузчика с гидроподъемом

использование вилочного электропогрузчика
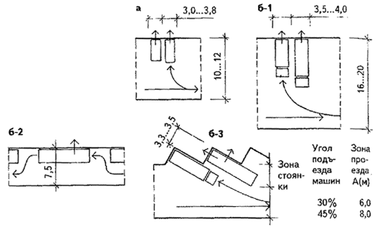
3.9. Загрузочные устройства и рампы
а Габариты подъезда машин малой грузоподъемности (м)
б-1, б-2, б-3, Габариты подъезда; машин средней грузоподъемности (м)

в Рампа для машин малой грузоподъемности (м)
г Рампа для машин средней грузоподъемности (м)
д Загрузочное устройство для машин с опускающимся задним бортом (м)
е Загрузочное устройство с выравнивающей площадкой на 1 машиноместо (м)

3.10. Устройство открытых стоянок легковых машин
а Расстояние от стоянки до ближайших зданий (А)

|
Вид здания вблизи стоянки |
А(м) |
|
|
Количество машиномест |
||
|
£10 |
11...50 |
|
|
Фасады жилых домов и торцы с окнами |
10 |
15 |
|
Торцы жилых домов без окон |
10 |
10 |
|
Школы, детские учреждения |
15 |
25 |
|
Лечебные стационарные учреждения |
25 |
50 |
б Планировочные схемы и основные размеры стоянок (под углом заезда машин 0°, 30°, 45°, 60°. 90° (мм)

Статья 17
ИМУЩЕСТВЕННАЯ ПОДДЕРЖКА СУБЪЕКТОВ МАЛОГО ПРЕДПРИНИМАТЕЛЬСТВА
17.1. Аренда и приобретение в собственность нежилых помещений для нужд субъектов малого предпринимательства осуществляется в соответствии с законодательством Российской Федерации по вопросам приватизации, законодательными и нормативными актами города Москвы.
Для облегчения условий аренды и приобретения в собственность нежилых помещений исключительно для нужд субъектов малого предпринимательства Правительство Москвы:
- организует и проводит для них открытые целевые конкурсы по продаже прав на аренду нежилых помещений и земельных участков;
- организует и проводит для них открытые конкурсные торги по продаже незавершенных строительством объектов таким образом, чтобы субъекты малого предпринимательства могли на основе объединения средств совместно приобретать указанные объекты в собственность.
17.2. Отраслевые и территориальные органы управления города Москвы обеспечивают формирование целевого фонда нежилых помещений для размещения субъектов малого предпринимательства и развития его инфраструктуры (далее - целевой Фонд).
Целевой Фонд формируется за счет объектов незавершенного строительства, изъятия площадей у арендаторов, пользующихся ими незаконно или заключивших договор аренды на пользование ими требований действующего законодательства, государственного (муниципального) имущества, отчуждаемого в процессе приватизации государственных (муниципальных) предприятий.
Объем Целевого фонда должен составлять не менее 30 процентов от учтенного объема площадей всех указанных выше объектов.
Субъектам малого предпринимательства, арендующим помещения, входящие в целевой Фонд нежилых помещений, могут предоставляться льготы в части арендной платы.
В состав целевого Фонда могут включаться нежилые помещения, занимаемые субъектами малого предпринимательства на условиях договоров аренды и субаренды, заключенных в установленном порядке с собственниками и балансодержателями.
Балансодержателям и собственникам, добровольно предоставляющим принадлежащие им нежилые помещения субъектам малого предпринимательства под цели и на условиях, предусмотренных целевым фондом, по решению органов власти города Москвы могут предоставляться налоговые и иные льготы. Порядок предоставления льгот и использования на конкурсной основе нежилых помещений целевого Фонда определяется Положением, утверждаемым Мэром Москвы по представлению уполномоченного органа, ответственного за проведение единой политики, направленной на поддержку и развитие малого предпринимательства в городе.
|
ГОСТЫ, СТРОИТЕЛЬНЫЕ и ТЕХНИЧЕСКИЕ НОРМАТИВЫ. Некоммерческая онлайн система, содержащая все Российские Госты, национальные Стандарты и нормативы. В Системе содержится более 150000 файлов нормативно-технической документации, действующей на территории РФ. Система предназначена для широкого круга инженерно-технических специалистов. Copyright © www.gostrf.com, 2008 - 2026 |